JP2022106901A - 不規則に離間したトウ房を有する掃除用品 - Google Patents
不規則に離間したトウ房を有する掃除用品 Download PDFInfo
- Publication number
- JP2022106901A JP2022106901A JP2022076017A JP2022076017A JP2022106901A JP 2022106901 A JP2022106901 A JP 2022106901A JP 2022076017 A JP2022076017 A JP 2022076017A JP 2022076017 A JP2022076017 A JP 2022076017A JP 2022106901 A JP2022106901 A JP 2022106901A
- Authority
- JP
- Japan
- Prior art keywords
- tufts
- cleaning
- rows
- longitudinal axis
- space
- Prior art date
- Legal status (The legal status is an assumption and is not a legal conclusion. Google has not performed a legal analysis and makes no representation as to the accuracy of the status listed.)
- Granted
Links
Images
Classifications
-
- A—HUMAN NECESSITIES
- A47—FURNITURE; DOMESTIC ARTICLES OR APPLIANCES; COFFEE MILLS; SPICE MILLS; SUCTION CLEANERS IN GENERAL
- A47L—DOMESTIC WASHING OR CLEANING; SUCTION CLEANERS IN GENERAL
- A47L13/00—Implements for cleaning floors, carpets, furniture, walls, or wall coverings
- A47L13/10—Scrubbing; Scouring; Cleaning; Polishing
- A47L13/16—Cloths; Pads; Sponges
-
- A—HUMAN NECESSITIES
- A47—FURNITURE; DOMESTIC ARTICLES OR APPLIANCES; COFFEE MILLS; SPICE MILLS; SUCTION CLEANERS IN GENERAL
- A47L—DOMESTIC WASHING OR CLEANING; SUCTION CLEANERS IN GENERAL
- A47L13/00—Implements for cleaning floors, carpets, furniture, walls, or wall coverings
- A47L13/10—Scrubbing; Scouring; Cleaning; Polishing
- A47L13/20—Mops
-
- A—HUMAN NECESSITIES
- A47—FURNITURE; DOMESTIC ARTICLES OR APPLIANCES; COFFEE MILLS; SPICE MILLS; SUCTION CLEANERS IN GENERAL
- A47L—DOMESTIC WASHING OR CLEANING; SUCTION CLEANERS IN GENERAL
- A47L13/00—Implements for cleaning floors, carpets, furniture, walls, or wall coverings
- A47L13/10—Scrubbing; Scouring; Cleaning; Polishing
- A47L13/20—Mops
- A47L13/22—Mops with liquid-feeding devices
-
- A—HUMAN NECESSITIES
- A47—FURNITURE; DOMESTIC ARTICLES OR APPLIANCES; COFFEE MILLS; SPICE MILLS; SUCTION CLEANERS IN GENERAL
- A47L—DOMESTIC WASHING OR CLEANING; SUCTION CLEANERS IN GENERAL
- A47L13/00—Implements for cleaning floors, carpets, furniture, walls, or wall coverings
- A47L13/10—Scrubbing; Scouring; Cleaning; Polishing
- A47L13/20—Mops
- A47L13/24—Frames for mops; Mop heads
- A47L13/254—Plate frames
- A47L13/256—Plate frames for mops made of cloth
-
- B—PERFORMING OPERATIONS; TRANSPORTING
- B32—LAYERED PRODUCTS
- B32B—LAYERED PRODUCTS, i.e. PRODUCTS BUILT-UP OF STRATA OF FLAT OR NON-FLAT, e.g. CELLULAR OR HONEYCOMB, FORM
- B32B5/00—Layered products characterised by the non- homogeneity or physical structure, i.e. comprising a fibrous, filamentary, particulate or foam layer; Layered products characterised by having a layer differing constitutionally or physically in different parts
- B32B5/02—Layered products characterised by the non- homogeneity or physical structure, i.e. comprising a fibrous, filamentary, particulate or foam layer; Layered products characterised by having a layer differing constitutionally or physically in different parts characterised by structural features of a fibrous or filamentary layer
Landscapes
- Cleaning Implements For Floors, Carpets, Furniture, Walls, And The Like (AREA)
Abstract
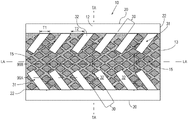
【解決手段】掃除用品10は、トウ繊維の房15を有する。これらの房15の少なくとも一部は、隣接する房15から不均等に離間しており、標的表面からの塵の回収及び保持力の改善を提供する。これらの房15は、隣接する列30から不均等に離間している列30に配置されてもよい。この掃除用品10は、前駆体シート13から房間のスペース31を切り抜き、前駆体シート13をキャリアシート12に取り付けることによって作製されてもよい。この掃除用品は、房15を有する前駆体シート13を別個の部分に切断することによって作製されてもよい。これらの別個の部分は、キャリアシート12に結合される。
【選択図】図1
Description
A.長手方向軸を有する掃除用品であって、
不織布キャリアシートと、
当該キャリアシートに接合された複数の離散的に離間配置されたトウ繊維の房であって、当該房は離間した列に配置され、当該列は、当該長手方向軸のプラスマイナス45度以内に配向され、かつ隣接する列からあるスペースで離間しており、各当該スペースはある幅を有し、当該少なくともいくつかの当該スペースの当該幅は等しくない、複数の離散的に離間配置されたトウ繊維の房と、
を含む、掃除用品。
B.当該列内の当該房が同じサイズである、段落Aに記載の掃除用品。
C.当該房が両側に互い違いに配置されており、当該列が、当該長手方向軸に近づくにつれて、非単調的に房間がテーパ状になっている、段落A及びBに記載の掃除用品。
D.当該スペースが当該長手方向軸を遮らない、段落A、B及びCに記載の掃除用品。
E.当該スペースが当該長手方向軸を横切る、段落A~Dのいずれか一項に記載の掃除用品。
F.当該長手方向軸に平行な2つの長手方向縁部を有し、かつ、当該長手方向軸をそれぞれ横切るストリップを更に含む、段落A~Eのいずれか一項に記載の掃除用品。
G.長手方向軸及びそれに垂直な横断方向軸を有する掃除用品であって、
不織布キャリアシートと、
当該キャリアシートに接合された複数の離散的に離間配置されたトウ繊維の房であって、当該房は離間した列に配置され、当該列は、当該横断方向軸のプラスマイナス45度以内に配向され、かつ隣接する列からあるスペースで離間しており、
列がヘリンボーンパターンに配置されている、複数の離散的に離間配置されたトウ繊維の房と、
を含む、掃除用品。
H.当該列が実質的に一定の幅である、段落Gに記載の掃除用品。
I.当該列が実質的に一定の幅であり、かつ当該長手方向軸上に配置された房を更に含む、段落G及びHに記載の掃除用品。
J.当該列が実質的に一定の幅であり、当該スペースが実質的に一定の幅である、段落G、H、及びIに記載の掃除用品。
K.当該列の間の当該スペース内に接着剤を更に含む、段落G、H、I及びJに記載の掃除用品。
L.長手方向軸、それに垂直な横断方向軸、一対の離間した長手方向縁部、及び一対の離間した横断方向縁部を有する掃除用品であって、
不織布キャリアシートと、
当該キャリアシートに接合された複数の離散的に離間配置されたトウ繊維の房であって、当該房は離間した列に配置され、当該列は、ある列幅を有し、かつ当該長手方向軸又は当該横断方向軸のうちの1つに実質的に平行に配向されており、各当該列は、隣接する列から、あるスペース幅を有するスペースによって離間配置され、当該スペース幅は少なくとも0.5cmである、複数の離散的に離間配置されたトウ繊維の房と、
を含む、掃除用品。
M.当該列が当該横断方向軸に実質的に平行であり、各当該列が当該長手方向軸に平行な幅を有し、当該スペース幅が少なくとも1cmであり、当該スペースが当該横断方向縁部の間に実質的に延在する、段落Lに記載の掃除用品。
N.当該列が当該長手方向軸に実質的に平行であり、各当該列が当該長手方向軸に平行な幅を有し、当該スペースが直線状であり、当該スペースが当該横断方向縁部の間に実質的に延在する、段落Lに記載の掃除用品。
O.当該列が当該横断方向軸に実質的に平行であり、各当該列が当該長手方向軸に平行な幅を有し、複数の当該列の当該幅は、少なくとも2つの隣接する房によって画定され、当該列間の当該スペースは、房による中断を伴わずに当該長手方向縁部の両方を横切る、段落L及びMに記載の掃除用品。
P.当該列が当該長手方向軸に実質的に平行であり、各当該列が、当該横断方向軸に平行な幅を有し、当該列の間の当該スペースは、当該横断方向縁部を横切る、段落L及びNに記載の掃除用品。
Q.当該長手方向軸に実質的に平行に配置された2つの当該列を含み、当該列が該長手方向軸の両側にそれぞれ1つずつ配置され、それによって当該長手方向軸が房を含まない、段落L、N、及びPに記載の掃除用品。
R.当該長手方向軸に実質的に平行に配置された少なくとも2つの当該列を含み、当該列が当該長手方向軸の両側にそれぞれ1つずつ配置され、当該長手方向軸が房を含まず、当該列及びそれらの間の当該スペースが実質的に相互に等しい幅を有する、段落L、N、P、及びQに記載の掃除用品。
S.当該長手方向軸に実質的に平行に配置された少なくとも2つの当該列を含み、当該列が当該長手方向軸の両側にそれぞれ1つずつ配置され、それによって当該長手方向軸が房を含まず、当該列の外側に配置されかつ当該房を含まない外側の三等分部を更に含む、段落L、N、P、Q、及びRに記載の掃除用品。
T.当該長手方向軸に実質的に平行に配置された少なくとも2つの当該列を含み、当該列が当該長手方向軸の両側にそれぞれ1つずつ配置され、当該長手方向軸が房を含まず、当該列の間の当該スペースに接着剤を更に含む、段落L、N、P、Q、R及びSに記載の掃除用品。
Claims (15)
- 長手方向軸LA、それに垂直な横断方向軸TA、2つの離間した長手方向縁部20、及び2つの離間した横断方向縁部22を有する掃除用品10であって、
不織布キャリアシート12と、
該キャリアシート12に接合された複数の離散的に離間配置されたトウ繊維の房15であって、該房15は離間した列30に配置され、隣接する列30からあるスペース31で離間していることを特徴とし、各該スペース31はある幅を有し、該少なくともいくつかの該スペース31の該幅は等しくない、複数の離散的に離間配置されたトウ繊維の房15と、
を含む、掃除用品10。 - 前記列30内の前記房15が同じサイズである、請求項1に記載の掃除用品10。
- 前記房15が両側に互い違いに配置されており、前記列30が、前記長手方向軸LAに近づくにつれて、非単調的に房15間がテーパ状になっている、請求項1又は2のいずれか一項に記載の掃除用品10。
- 前記列30がヘリンボーンパターンに配置されている、請求項1~3のいずれか一項に記載の掃除用品10。
- 前記列30は、ある列幅を有し、かつ前記長手方向軸LA又は前記横断方向軸TAのうちの1つに実質的に平行に配向されており、各該列30は、隣接する列30から、あるスペース幅を有するスペース31によって離間配置され、該スペース幅は少なくとも0.5cmである、請求項1又は2に記載の掃除用品10。
- 前記列30が前記横断方向軸TAに実質的に平行であり、各該列30が前記長手方向軸LAに平行な幅を有し、前記スペース幅が少なくとも1cmであり、該スペース31が前記横断方向縁部22の間に実質的に延在する、請求項1又は2のいずれか一項に記載の掃除用品10。
- 前記列30が前記横断方向軸TAに実質的に平行であり、各該列30が前記長手方向軸LAに平行な幅を有し、複数の該列30の該幅は、少なくとも2つの隣接する房15によって画定され、該列30間の前記スペース31は、該房15による中断を伴わずに前記長手方向縁部20の両方を横切る、請求項6に記載の掃除用品10。
- 前記列30が前記長手方向軸LAに実質的に平行であり、各前記列30が、該長手方向軸LAに平行な幅を有し、前記スペース31が直線状であり、該スペース31が、前記横断方向縁部22の間に実質的に延在する、請求項1又は2に記載の掃除用品10。
- 前記長手方向軸LAに実質的に平行に配置された2つの前記列30を含み、該列30が該長手方向軸の両側にそれぞれ1つずつ配置され、それによって該長手方向軸LAが房15を含まない、請求項1、2又は8のいずれか一項に記載の掃除用品10。
- 前記列30及びその間の前記スペース31が、実質的に相互に等しい幅を有する、請求項9に記載の掃除用品10。
- 前記列30が実質的に一定の幅である、請求項1、2、又は4のいずれか一項に記載の掃除用品10。
- 前記長手方向軸LA上に配置された房15を更に含む、請求項1~11のいずれか一項に記載の掃除用品10。
- 前記スペース31が実質的に一定の幅である、請求項11に記載の掃除用品10。
- 前記列30の間の前記スペース31内に接着剤32を更に含む、請求項1~13のいずれか一項に記載の掃除用品10。
- 前記長手方向軸LAに平行な2つの長手方向縁部20を有し、かつ、該長手方向軸をそれぞれ横切るストリップ17を更に含む、請求項1~14のいずれか一項に記載の掃除用品10。
Applications Claiming Priority (4)
| Application Number | Priority Date | Filing Date | Title |
|---|---|---|---|
| US15/700,396 | 2017-09-11 | ||
| US15/700,396 US11950737B2 (en) | 2017-09-11 | 2017-09-11 | Cleaning article with irregularly spaced tow tufts |
| JP2020509477A JP2020531125A (ja) | 2017-09-11 | 2018-09-11 | 不規則に離間したトウ房を有する掃除用品 |
| PCT/US2018/050371 WO2019051457A1 (en) | 2017-09-11 | 2018-09-11 | CLEANING ARTICLE HAVING IRREGULARLY SPACED STACKING TUBES |
Related Parent Applications (1)
| Application Number | Title | Priority Date | Filing Date |
|---|---|---|---|
| JP2020509477A Division JP2020531125A (ja) | 2017-09-11 | 2018-09-11 | 不規則に離間したトウ房を有する掃除用品 |
Publications (2)
| Publication Number | Publication Date |
|---|---|
| JP2022106901A true JP2022106901A (ja) | 2022-07-20 |
| JP7593965B2 JP7593965B2 (ja) | 2024-12-03 |
Family
ID=63686151
Family Applications (2)
| Application Number | Title | Priority Date | Filing Date |
|---|---|---|---|
| JP2020509477A Pending JP2020531125A (ja) | 2017-09-11 | 2018-09-11 | 不規則に離間したトウ房を有する掃除用品 |
| JP2022076017A Active JP7593965B2 (ja) | 2017-09-11 | 2022-05-02 | 不規則に離間したトウ房を有する掃除用品 |
Family Applications Before (1)
| Application Number | Title | Priority Date | Filing Date |
|---|---|---|---|
| JP2020509477A Pending JP2020531125A (ja) | 2017-09-11 | 2018-09-11 | 不規則に離間したトウ房を有する掃除用品 |
Country Status (5)
| Country | Link |
|---|---|
| US (1) | US11950737B2 (ja) |
| EP (1) | EP3681364B1 (ja) |
| JP (2) | JP2020531125A (ja) |
| CA (1) | CA3073076C (ja) |
| WO (1) | WO2019051457A1 (ja) |
Families Citing this family (3)
| Publication number | Priority date | Publication date | Assignee | Title |
|---|---|---|---|---|
| US11903542B2 (en) | 2018-04-03 | 2024-02-20 | The Procter & Gamble Company | Cleaning article with double bonded tow tufts |
| US12082760B2 (en) * | 2018-04-03 | 2024-09-10 | The Procter & Gamble Company | Cleaning article with irregularly spaced tow tufts |
| US11375867B2 (en) * | 2018-04-03 | 2022-07-05 | The Procter & Gamble Company | Cleaning article with differential sized tow tufts |
Citations (7)
| Publication number | Priority date | Publication date | Assignee | Title |
|---|---|---|---|---|
| JPH10258009A (ja) * | 1997-03-18 | 1998-09-29 | Masahiro Kataoka | 清掃用具 |
| JP2007077372A (ja) * | 2005-09-16 | 2007-03-29 | Duskin Co Ltd | 抗アレルゲン性界面活性剤、それを利用した物品及び清掃用繊維製品 |
| JP2008539952A (ja) * | 2005-05-09 | 2008-11-20 | エス.シー. ジョンソン アンド サン、インコーポレイテッド | 液体リザーバと交換可能な不織布パッドとを備えた装置を利用した清掃方法 |
| JP2009153910A (ja) * | 2007-12-27 | 2009-07-16 | Kao Corp | 清掃用シート |
| US20100036346A1 (en) * | 2008-08-08 | 2010-02-11 | John Lee Hammons | Regionalized Topsheet |
| WO2010029902A1 (ja) * | 2008-09-09 | 2010-03-18 | Yamada Kikuo | 清掃シート |
| JP2014150963A (ja) * | 2013-02-07 | 2014-08-25 | Uni Charm Corp | 清掃具 |
Family Cites Families (95)
| Publication number | Priority date | Publication date | Assignee | Title |
|---|---|---|---|---|
| US823725A (en) | 1905-09-09 | 1906-06-19 | Henry A Hayden | Duster. |
| US3477084A (en) * | 1967-09-11 | 1969-11-11 | Kimberly Clark Co | Oil impregnated creped waddingsynthetic fiber wipe |
| CA1075416A (en) | 1977-07-29 | 1980-04-15 | Veit J. B. Bastian | Hand duster |
| US5518801A (en) | 1993-08-03 | 1996-05-21 | The Procter & Gamble Company | Web materials exhibiting elastic-like behavior |
| JP3208306B2 (ja) | 1995-11-17 | 2001-09-10 | ユニ・チャーム株式会社 | 使い捨て拭き取り用具 |
| US5888006A (en) | 1996-11-26 | 1999-03-30 | The Procter & Gamble Company | Cleaning implement having a sprayer nozzle attached to a cleaning head member |
| US6777064B1 (en) | 1997-05-23 | 2004-08-17 | The Procter & Gamble Company | Cleaning sheets, implements, and articles useful for removing allergens from surfaces and methods of promoting the sale thereof |
| JP2001527454A (ja) | 1997-05-23 | 2001-12-25 | ザ、プロクター、エンド、ギャンブル、カンパニー | 掃除シートとして有用な三次元構造体 |
| US6143393A (en) | 1997-12-16 | 2000-11-07 | Uni-Charm Corporation | Cleaning product and production process therefor |
| TW394679B (en) | 1997-12-16 | 2000-06-21 | Uni Charm Corp | Cleaning article and its manufacturing method |
| JP3642944B2 (ja) | 1998-03-19 | 2005-04-27 | ユニ・チャーム株式会社 | 長繊維を利用した清掃用物品 |
| US6941199B1 (en) | 1998-07-20 | 2005-09-06 | The Procter & Gamble Company | Robotic system |
| JP3558892B2 (ja) | 1998-09-24 | 2004-08-25 | ユニ・チャーム株式会社 | 清掃用シート |
| US5988920A (en) | 1998-11-30 | 1999-11-23 | The Procter & Gamble Company | Cleaning implement having a protected pathway for a fluid transfer tube |
| US6842936B2 (en) | 1998-12-01 | 2005-01-18 | The Procter & Gamble Company | Adapter plates for cleaning implement |
| US7182537B2 (en) | 1998-12-01 | 2007-02-27 | The Procter & Gamble Company | Cleaning composition, pad, wipe, implement, and system and method of use thereof |
| BR0005255A (pt) | 1999-03-05 | 2001-01-09 | Uni Charm Corp | Folha composta e método de fabricação da mesma |
| JP3943753B2 (ja) | 1999-04-13 | 2007-07-11 | ユニ・チャーム株式会社 | 使い捨ての汚れ拭き取り用具の製造方法 |
| JP2000296084A (ja) | 1999-04-13 | 2000-10-24 | Uni Charm Corp | 使い捨て拭き取り用具およびその製造方法 |
| JP2000296085A (ja) | 1999-04-13 | 2000-10-24 | Uni Charm Corp | 使い捨ての汚れ拭き取り用具およびその製造方法 |
| CA2388870A1 (en) | 1999-11-18 | 2001-05-25 | The Procter & Gamble Company | Home cleaning robot |
| US20020042962A1 (en) | 2000-02-24 | 2002-04-18 | Willman Kenneth William | Cleaning sheets comprising a polymeric additive to improve particulate pick-up and minimize residue left on surfaces and cleaning implements for use with cleaning sheets |
| US6550092B1 (en) * | 2000-04-26 | 2003-04-22 | S. C. Johnson & Son, Inc. | Cleaning sheet with particle retaining cavities |
| US6481515B1 (en) | 2000-05-30 | 2002-11-19 | The Procter & Gamble Company | Autonomous mobile surface treating apparatus |
| CN1184922C (zh) | 2000-07-10 | 2005-01-19 | 尤妮佳股份有限公司 | 清扫物品 |
| DE10042671C5 (de) | 2000-08-31 | 2010-04-15 | Düpro AG | Saugreinigungswerkzeug mit birnenförmiger Turbinenkammer |
| JP3678637B2 (ja) | 2000-09-01 | 2005-08-03 | ユニ・チャーム株式会社 | 連続フィラメントの開繊方法および開繊装置 |
| EP1212972B1 (en) * | 2000-10-13 | 2015-12-09 | Kao Corporation | Cleaning sheet for cleaning a piled surface |
| JP3628606B2 (ja) | 2000-10-13 | 2005-03-16 | 花王株式会社 | 清掃用シート |
| JP4083978B2 (ja) | 2000-12-27 | 2008-04-30 | ユニ・チャーム株式会社 | 清掃用物品 |
| US6810305B2 (en) | 2001-02-16 | 2004-10-26 | The Procter & Gamble Company | Obstruction management system for robots |
| US20030044569A1 (en) | 2001-06-25 | 2003-03-06 | The Proctor & Gamble Company | Disposable cleaning sheets comprising a plurality of protrusions for removing debris from surfaces |
| US20030171051A1 (en) * | 2002-03-08 | 2003-09-11 | 3M Innovative Properties Company | Wipe |
| US20040121686A1 (en) | 2002-08-29 | 2004-06-24 | The Procter & Gamble Company | Low density, high loft nonwoven substrates |
| US7682686B2 (en) | 2002-12-20 | 2010-03-23 | The Procter & Gamble Company | Tufted fibrous web |
| US7838099B2 (en) | 2002-12-20 | 2010-11-23 | The Procter & Gamble Company | Looped nonwoven web |
| US7410683B2 (en) | 2002-12-20 | 2008-08-12 | The Procter & Gamble Company | Tufted laminate web |
| DE60336589D1 (de) | 2002-12-27 | 2011-05-12 | Kao Corp | Reinigungsblatt |
| US7137169B2 (en) | 2003-01-10 | 2006-11-21 | Royal Appliance Mfg. Co. | Vacuum cleaner with cleaning pad |
| US7560398B2 (en) | 2003-07-18 | 2009-07-14 | 3M Innovative Properties Company | Cleaning wipe and method of manufacture |
| US7536743B2 (en) | 2003-09-03 | 2009-05-26 | The Procter & Gamble Company | Multi-surfaces cleaning implement |
| JP2007526035A (ja) | 2004-02-12 | 2007-09-13 | ザ プロクター アンド ギャンブル カンパニー | 表面を洗浄するための洗浄器具および基材 |
| US7431524B2 (en) | 2004-02-24 | 2008-10-07 | Avet-Usa, Inc. | Advanced data controlled cleaning system |
| JP4447944B2 (ja) | 2004-03-17 | 2010-04-07 | ユニ・チャーム株式会社 | 清掃用シートおよび清掃用シートの製造方法 |
| WO2005099549A1 (ja) | 2004-04-01 | 2005-10-27 | Yamada, Chiyoe | 清掃具用シート及び清掃具 |
| US7870635B2 (en) | 2004-04-01 | 2011-01-18 | Kikuo Yamada | Cleaning tool sheet and cleaning tool |
| US7579062B2 (en) | 2004-06-21 | 2009-08-25 | The Procter & Gamble Company | Hydroxyl polymer web structures comprising a tuft |
| US7291359B2 (en) | 2004-08-18 | 2007-11-06 | 3M Innovative Properties Company | Method and apparatus for making an adhesive cleaning sheet |
| JP4688455B2 (ja) | 2004-09-09 | 2011-05-25 | ユニ・チャーム株式会社 | 掃除用具 |
| JP4785369B2 (ja) | 2004-11-16 | 2011-10-05 | ユニ・チャーム株式会社 | 清掃用物品 |
| US7891898B2 (en) | 2005-01-28 | 2011-02-22 | S.C. Johnson & Son, Inc. | Cleaning pad for wet, damp or dry cleaning |
| WO2006070502A1 (ja) | 2004-12-27 | 2006-07-06 | Yamada, Chiyoe | 清掃具およびその製造方法 |
| US7566671B2 (en) * | 2005-01-28 | 2009-07-28 | S.C. Johnson & Son, Inc. | Cleaning or dusting pad |
| US8851776B2 (en) | 2005-01-28 | 2014-10-07 | S. C. Johnson & Son, Inc. | Amphiphile surface treatment for a cleaning pad for improved dust adhesion |
| US7389156B2 (en) | 2005-02-18 | 2008-06-17 | Irobot Corporation | Autonomous surface cleaning robot for wet and dry cleaning |
| EP2145573B1 (en) | 2005-02-18 | 2011-09-07 | iRobot Corporation | Autonomous surface cleaning robot for wet and dry cleaning |
| TWI264299B (en) | 2005-10-17 | 2006-10-21 | Ya-Jing Yang | Dust-collecting fabric structure |
| WO2007102254A1 (ja) | 2006-03-09 | 2007-09-13 | Kao Corporation | 清掃用物品並びにその起毛方法及びその製造方法 |
| US20070212157A1 (en) | 2006-03-13 | 2007-09-13 | Hoadley David A | Fringeless cleaning or dusting pad |
| US8410005B2 (en) | 2006-03-30 | 2013-04-02 | The Procter & Gamble Company | Stacks of pre-moistened wipes with unique fluid retention characteristics |
| US7803726B2 (en) | 2006-08-07 | 2010-09-28 | The Procter & Gamble Company | Duster system for damp and dry dusting |
| US20080028560A1 (en) | 2006-08-07 | 2008-02-07 | Nicola John Policicchio | Duster system for damp and dry dusting |
| JP4709105B2 (ja) | 2006-09-12 | 2011-06-22 | ユニ・チャーム株式会社 | 清掃体及び清掃用具 |
| US8528151B2 (en) | 2007-02-06 | 2013-09-10 | S.C. Johnson & Son, Inc. | Cleaning or dusting pad with attachment member holder |
| CN101662977B (zh) | 2007-02-13 | 2012-04-18 | 山田大作 | 清扫用片 |
| JP5048375B2 (ja) | 2007-03-30 | 2012-10-17 | ユニ・チャーム株式会社 | 清掃体及び清掃用具 |
| JP5048376B2 (ja) | 2007-03-30 | 2012-10-17 | ユニ・チャーム株式会社 | 清掃体及び清掃用具 |
| JP5235478B2 (ja) | 2007-04-27 | 2013-07-10 | 花王株式会社 | 清掃用シート |
| US8161594B2 (en) | 2007-07-02 | 2012-04-24 | The Procter & Gamble Company | Plural sided cleaning implement |
| US8793832B2 (en) | 2007-12-28 | 2014-08-05 | Kikuo Yamada | Cleaning sheet |
| US8225453B2 (en) | 2007-12-28 | 2012-07-24 | Kikuo Yamada | Cleaning sheet |
| KR101585636B1 (ko) | 2008-04-16 | 2016-01-14 | 가오 가부시키가이샤 | 청소용 시트 및 그 제조방법 |
| US8186898B2 (en) | 2008-08-22 | 2012-05-29 | The Procter & Gamble Company | Plural nozzle cleaning implement |
| EP2397059B1 (en) | 2009-02-13 | 2014-07-16 | Kao Corporation | Cleaning sheet |
| US8161001B2 (en) | 2009-05-07 | 2012-04-17 | Bmc Software, Inc. | Relational database page-level schema transformations |
| FI20095800A0 (fi) | 2009-07-20 | 2009-07-20 | Ahlstroem Oy | Nonwoven komposiittituote, jolla on korkea selluloosapitoisuus |
| US8578564B2 (en) | 2009-11-05 | 2013-11-12 | The Procter & Gamble Company | Handle for removable cleaning implement |
| JP4852659B2 (ja) | 2009-12-02 | 2012-01-11 | ダイワボウホールディングス株式会社 | 不織布及びその製造方法、並びに拭き取り材 |
| CA2685904C (en) | 2009-12-04 | 2013-05-14 | The Procter & Gamble Company | Cleaning article with non-planar element in place of strips |
| JP5421765B2 (ja) | 2009-12-28 | 2014-02-19 | 花王株式会社 | 清掃シート |
| US20120060312A1 (en) | 2010-09-13 | 2012-03-15 | 3M Innovative Properties Company | Cleaning tool |
| DE102010054009B4 (de) | 2010-12-09 | 2014-03-06 | Carl Freudenberg Kg | Reinigungseinrichtung |
| US9204775B2 (en) | 2011-04-26 | 2015-12-08 | The Procter & Gamble Company | Scrubbing strip for a cleaning sheet, cleaning sheet used therewith, and method of making |
| KR20140035396A (ko) | 2011-05-16 | 2014-03-21 | 쓰리엠 이노베이티브 프로퍼티즈 컴파니 | 스펀본디드 웨브를 포함하는 세척 와이프 |
| JP5713504B2 (ja) | 2011-06-22 | 2015-05-07 | 山田 菊夫 | 清掃シートおよび清掃具 |
| USD674949S1 (en) | 2011-11-03 | 2013-01-22 | Georgitsis Anthony C | Lighting system |
| US9198553B2 (en) | 2012-03-09 | 2015-12-01 | The Procter & Gamble Company | Cleaning article with upstanding elastic panel |
| US8893345B2 (en) * | 2012-03-09 | 2014-11-25 | The Procter & Gamble Company | Cleaning article with apertured sheet and tow fibers |
| US8756746B2 (en) | 2012-03-09 | 2014-06-24 | The Procter & Gamble | Cleaning article with elastically contracted sheet |
| JP6323981B2 (ja) | 2013-02-07 | 2018-05-16 | ユニ・チャーム株式会社 | 清掃具 |
| US9339165B2 (en) | 2013-03-26 | 2016-05-17 | The Procter & Gamble Company | Replaceable cleaning pads for cleaning device |
| WO2014205015A1 (en) | 2013-06-18 | 2014-12-24 | The Procter & Gamble Company | Laminate cleaning implement |
| DE102013013036A1 (de) | 2013-08-05 | 2015-02-05 | Georg Harms | Profil-Reiniger mit verschachteltem A-Borsten-Feld und Umrahmungs-Borsten-Feld |
| WO2017192985A1 (en) | 2016-05-05 | 2017-11-09 | The Procter & Gamble Company | Topsheets integrated with heterogenous mass layer |
| US11253128B2 (en) | 2017-09-11 | 2022-02-22 | The Procter & Gamble Company | Cleaning article with differential pitch tow tufts |
-
2017
- 2017-09-11 US US15/700,396 patent/US11950737B2/en active Active
-
2018
- 2018-09-11 WO PCT/US2018/050371 patent/WO2019051457A1/en not_active Ceased
- 2018-09-11 JP JP2020509477A patent/JP2020531125A/ja active Pending
- 2018-09-11 EP EP18779173.6A patent/EP3681364B1/en active Active
- 2018-09-11 CA CA3073076A patent/CA3073076C/en active Active
-
2022
- 2022-05-02 JP JP2022076017A patent/JP7593965B2/ja active Active
Patent Citations (7)
| Publication number | Priority date | Publication date | Assignee | Title |
|---|---|---|---|---|
| JPH10258009A (ja) * | 1997-03-18 | 1998-09-29 | Masahiro Kataoka | 清掃用具 |
| JP2008539952A (ja) * | 2005-05-09 | 2008-11-20 | エス.シー. ジョンソン アンド サン、インコーポレイテッド | 液体リザーバと交換可能な不織布パッドとを備えた装置を利用した清掃方法 |
| JP2007077372A (ja) * | 2005-09-16 | 2007-03-29 | Duskin Co Ltd | 抗アレルゲン性界面活性剤、それを利用した物品及び清掃用繊維製品 |
| JP2009153910A (ja) * | 2007-12-27 | 2009-07-16 | Kao Corp | 清掃用シート |
| US20100036346A1 (en) * | 2008-08-08 | 2010-02-11 | John Lee Hammons | Regionalized Topsheet |
| WO2010029902A1 (ja) * | 2008-09-09 | 2010-03-18 | Yamada Kikuo | 清掃シート |
| JP2014150963A (ja) * | 2013-02-07 | 2014-08-25 | Uni Charm Corp | 清掃具 |
Also Published As
| Publication number | Publication date |
|---|---|
| CA3073076C (en) | 2023-01-24 |
| JP2020531125A (ja) | 2020-11-05 |
| US20190075994A1 (en) | 2019-03-14 |
| JP7593965B2 (ja) | 2024-12-03 |
| CA3073076A1 (en) | 2019-03-14 |
| WO2019051457A1 (en) | 2019-03-14 |
| EP3681364A1 (en) | 2020-07-22 |
| US11950737B2 (en) | 2024-04-09 |
| EP3681364B1 (en) | 2021-11-10 |
Similar Documents
| Publication | Publication Date | Title |
|---|---|---|
| JP7597851B2 (ja) | 異なるピッチのトウ房を有する掃除用品 | |
| US12201253B2 (en) | Cleaning article with differential sized tow tufts | |
| JP7593965B2 (ja) | 不規則に離間したトウ房を有する掃除用品 | |
| US10730081B2 (en) | Method of making a cleaning article having cutouts | |
| US11045061B2 (en) | Method of making a tufted laminated cleaning article | |
| JP2023012483A (ja) | 不規則に離間したトウ房を有する掃除用品 | |
| JP6969000B2 (ja) | 房のある積層体掃除用品の製造方法 |
Legal Events
| Date | Code | Title | Description |
|---|---|---|---|
| A521 | Request for written amendment filed |
Free format text: JAPANESE INTERMEDIATE CODE: A523 Effective date: 20220511 |
|
| A621 | Written request for application examination |
Free format text: JAPANESE INTERMEDIATE CODE: A621 Effective date: 20220511 |
|
| A131 | Notification of reasons for refusal |
Free format text: JAPANESE INTERMEDIATE CODE: A131 Effective date: 20230711 |
|
| A521 | Request for written amendment filed |
Free format text: JAPANESE INTERMEDIATE CODE: A523 Effective date: 20231005 |
|
| A131 | Notification of reasons for refusal |
Free format text: JAPANESE INTERMEDIATE CODE: A131 Effective date: 20231114 |
|
| A521 | Request for written amendment filed |
Free format text: JAPANESE INTERMEDIATE CODE: A523 Effective date: 20240129 |
|
| A131 | Notification of reasons for refusal |
Free format text: JAPANESE INTERMEDIATE CODE: A131 Effective date: 20240416 |
|
| A521 | Request for written amendment filed |
Free format text: JAPANESE INTERMEDIATE CODE: A523 Effective date: 20240701 |
|
| TRDD | Decision of grant or rejection written | ||
| A01 | Written decision to grant a patent or to grant a registration (utility model) |
Free format text: JAPANESE INTERMEDIATE CODE: A01 Effective date: 20241022 |
|
| A61 | First payment of annual fees (during grant procedure) |
Free format text: JAPANESE INTERMEDIATE CODE: A61 Effective date: 20241121 |
|
| R150 | Certificate of patent or registration of utility model |
Ref document number: 7593965 Country of ref document: JP Free format text: JAPANESE INTERMEDIATE CODE: R150 |
