JP2021136853A - 電源装置 - Google Patents

電源装置 Download PDF

Info

Publication number
JP2021136853A
JP2021136853A JP2020034353A JP2020034353A JP2021136853A JP 2021136853 A JP2021136853 A JP 2021136853A JP 2020034353 A JP2020034353 A JP 2020034353A JP 2020034353 A JP2020034353 A JP 2020034353A JP 2021136853 A JP2021136853 A JP 2021136853A
Authority
JP
Japan
Prior art keywords
battery pack
power supply
battery
battery packs
circuit
Prior art date
Legal status (The legal status is an assumption and is not a legal conclusion. Google has not performed a legal analysis and makes no representation as to the accuracy of the status listed.)
Pending
Application number
JP2020034353A
Other languages
English (en)
Inventor
裕司 喜嶋
Yuji Kijima
裕司 喜嶋
恭嗣 中野
Yasushi Nakano
恭嗣 中野
晃洋 小林
Akihiro Kobayashi
晃洋 小林
Current Assignee (The listed assignees may be inaccurate. Google has not performed a legal analysis and makes no representation or warranty as to the accuracy of the list.)
Koki Holdings Co Ltd
Original Assignee
Koki Holdings Co Ltd
Priority date (The priority date is an assumption and is not a legal conclusion. Google has not performed a legal analysis and makes no representation as to the accuracy of the date listed.)
Filing date
Publication date
Application filed by Koki Holdings Co Ltd filed Critical Koki Holdings Co Ltd
Priority to JP2020034353A priority Critical patent/JP2021136853A/ja
Publication of JP2021136853A publication Critical patent/JP2021136853A/ja
Pending legal-status Critical Current

Links

Images

Classifications

    • YGENERAL TAGGING OF NEW TECHNOLOGICAL DEVELOPMENTS; GENERAL TAGGING OF CROSS-SECTIONAL TECHNOLOGIES SPANNING OVER SEVERAL SECTIONS OF THE IPC; TECHNICAL SUBJECTS COVERED BY FORMER USPC CROSS-REFERENCE ART COLLECTIONS [XRACs] AND DIGESTS
    • Y02TECHNOLOGIES OR APPLICATIONS FOR MITIGATION OR ADAPTATION AGAINST CLIMATE CHANGE
    • Y02EREDUCTION OF GREENHOUSE GAS [GHG] EMISSIONS, RELATED TO ENERGY GENERATION, TRANSMISSION OR DISTRIBUTION
    • Y02E60/00Enabling technologies; Technologies with a potential or indirect contribution to GHG emissions mitigation
    • Y02E60/10Energy storage using batteries

Landscapes

  • Secondary Cells (AREA)
  • Battery Mounting, Suspending (AREA)
  • Charge And Discharge Circuits For Batteries Or The Like (AREA)

Abstract

【課題】複数の電池パックを装着した場合の使いやすさを向上する電源装置を提供する。
【解決手段】電源装置において、複数の電池パックBT1〜BT4が同時に装着可能な複数の電池パック装着部を有する電源ボックス2と、一端側が電源ボックス2に接続されるとともに他端側が外部の電動工具50に装着可能なアダプタ6と、を備える。電源ボックス2は、複数の電池パックの少なくともいずれかを充電するための充電回路及び複数の電池パックの少なくともいずれかからアダプタ部を介して直流を放電するための放電回路と、複数の電池パックのそれぞれを充電回路に接続するか又は放電回路に接続するかを切り替える制御部と、を備える。
【選択図】図4

Description

本発明は、複数の電動工具用電池パックが同時に装着可能な電源装置本体を備える電源装置に関する。
下記特許文献1は、直流電源装置に関する。この直流電源装置は、電池パックを充電可能であると共に、アダプタを介してコードレス工具に電力供給可能である。コードレス工具を駆動するときは充電が停止され、コードレス工具が停止しているときに電池パックが充電される。
特開2000−184614号公報
特許文献1の電源装置は、複数の電池パックを装着することを考慮していない。そのため、複数の電池パックを装着した場合の使いやすさの観点で改善の余地があった。
本発明の目的は、複数の電池パックを装着した場合の使いやすさを向上させた電源装置を提供することである。
本発明のある態様は、電源装置である。この電源装置は、
複数の電池パックが同時に装着可能な複数の電池パック装着部を有する電源装置本体と、
一端側が前記電源装置本体に接続されるとともに他端側が外部の電気機器に装着可能なアダプタ部と、
前記複数の電池パックの少なくともいずれかを充電するための充電回路と、
前記複数の電池パックの少なくともいずれかからアダプタ部を介して直流を放電するための放電回路と、
前記複数の電池パックのそれぞれを前記充電回路に接続するか、又は、前記放電回路に接続するか、を切り替える制御部と、を備える。
前記複数の電池パックを前記複数の電池パック装着部のそれぞれに装着した状態で、前記充電回路により前記複数の電池パックの内の一部の電池パックを充電しながら、前記放電回路により他の電池パックから放電可能にし、前記アダプタ部を介して前記外部の電気機器に直流を供給可能に構成してもよい。
前記充電回路は、電池パックを一つずつ充電してもよい。
前記充電回路は、複数の電池パックを同時に充電可能であってもよい。
前記放電回路は、複数の電池パックから同時に放電可能であってもよい。
前記放電回路は、前記複数の電池パックを直列接続して同時に放電可能であってもよい。
前記電池パックは、複数のセルユニットを有し、前記複数のセルユニットを直列接続と並列接続又は独立状態とに切替え可能であって、
前記放電回路は、前記複数のセルユニットを並列接続した状態で前記複数の電池パックを直列接続して同時に放電可能であってもよい。
前記複数の電池パックにおいて、充電する電池パック及び放電する電池パックの少なくとも一方は切り替え可能に構成されてもよい。
前記アダプタ部は、異なる電圧を出力可能であってもよい。
前記放電回路は、前記複数の電池パックを前記複数の電池パック装着部のそれぞれに装着した状態で、前記複数の電池パックの接続状態を切り替えるための複数の第1スイッチを備え、
前記充電回路は、前記複数の電池パックを前記複数の電池パック装着部のそれぞれに装着した状態で、充電する電池パックを切り替えるための複数の第2スイッチを備えてもよい。
前記制御部は、前記複数の電池パックを前記複数の電池パック装着部のそれぞれに装着した状態で、放電中の第1の電池パックが前記電池パック装着部から外された場合、他の第2の電池パックから放電するように前記第1スイッチを制御するよう構成してもよい。
前記第1の電池パックが前記電池パック装着部から外される前の状態で、前記第2の電池パックは前記充電回路により充電されていた電池パックであってもよい。
前記制御部は、前記複数の電池パックを前記複数の電池パック装着部のそれぞれに装着した状態で、充電中の第2の電池パックが前記電池パック装着部から外された場合、他の第1の電池パックを充電するように前記第2スイッチを構成してもよい。
前記第2の電池パックが前記電池パック装着部から外される前の状態で、前記第1の電池パックは前記放電回路により放電されていた電池パックであってもよい。
前記制御部は、前記複数の電池パックを前記複数の電池パック装着部のそれぞれに装着した状態で、充電中又は放電中の第1又は第2の電池パックが前記電池パック装着部から外された場合、全ての電池パックの充電及び放電を停止するように前記第1及び第2スイッチを制御するよう構成してもよい。
なお、以上の構成要素の任意の組合せ、本発明の表現を方法やシステムなどの間で変換したものもまた、本発明の態様として有効である。
本発明によれば、複数の電池パックを装着した場合の使いやすさを向上させた電源装置を提供することができる。
本発明の実施の形態に係る電源装置1の構成図。 電源装置1の電源ボックス2の正面図。 電源ボックス2の斜視図。 電源装置1のアダプタ6を電動工具50に接続し、電源ボックス2に電池パックBT1〜BT4を接続したシステムの構成図。 電池パックBT1を直接接続した電動工具50の側面図。 電源ボックス2の充電に係る構成の回路ブロック図。 電源ボックス2の放電に係る構成の回路ブロック図。 電源装置1の動作の一例を示すフローチャート。 アダプタ6を定格入力電圧が18Vの電動工具に接続した場合の各種状態に応じた電源ボックス2の動作例をまとめた表。 アダプタ6を定格入力電圧が36Vの電動工具に接続した場合の各種状態に応じた電源ボックス2の動作例をまとめた表。 電池パックBT1と電動工具50の相互接続状態の回路ブロック図。
以下において、各図面に示される同一または同等の構成要素、部材等には同一の符号を付し、適宜重複した説明は省略する。実施の形態は、発明を限定するものではなく例示である。実施の形態に記述されるすべての特徴やその組み合わせは、必ずしも発明の本質的なものであるとは限らない。
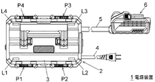
本実施の形態は、電源装置1に関する。図1に示すように、電源装置1は、電源装置本体としての電源ボックス2と、アダプタ6と、を備える。電源ボックス2は、電池パック装着部としてのポートP1〜P4を有する。図4に示すように、ポートP1〜P4には、電池パックBT1〜BT4を同時に装着(接続)可能である。電源ボックス2のハウジング3の上面の4つの角部にはそれぞれ、状態表示部としてのLEDL1〜L4が設けられる。LEDL1〜L4は、自身の点灯状態により、ポートP1〜P4に装着された電池パックBT1〜BT4の充電状況等を作業者に報知する。
電源ボックス2のハウジング3の側面から、商用電源等の外部交流電源に接続するための電源コード4が延びる。電源ボックス2は、電源コード4からの供給電力により、ポートP1〜P4に装着された電池パックBT1〜BT4を充電できる。ハウジング3の側面からケーブル5が延びる。ケーブル5の先端にアダプタ6が設けられる。図4に示すように、アダプタ6は、電気機器としての電動工具50の電池パック接続部に、電池パックに替えて着脱可能に装着できる。アダプタ部はケーブル5とアダプタ6を含んで構成され、アダプタ部の一端側(ケーブル5)が電源ボックス2に接続され、アダプタ部の他端側(アダプタ6)が外部の電気機器に接続される。ケーブル5及びアダプタ6を経由して、電源ボックス2に装着した電池パックBT1〜BT4の一部(1個又は2個)から電動工具50に直流電力を供給できる。電動工具50の定格入力電圧は36Vである。図示は省略したが、アダプタ6は、定格入力電圧が18Vの電動工具の電池パック接続部にも着脱可能に装着できる。
電池パックBT1〜BT4は、互いに同構造の電動工具用電池パックである。図4及び図5に示すように、電池パックBT1は、セルユニット11a、11bを有する。以下、一例として、セルユニット11a、11bはそれぞれ、リチウムイオン二次電池セル等の電池セルを5個直列接続したものとする。また、一セルあたりの定格出力電圧は3.6V、セルユニット11a、11bの定格出力電圧はそれぞれ18Vとする。
セルユニット11a、11bの相互接続状態は、電池パックBT1を装着した相手方の端子構造に応じて、直列接続と並列接続との間で切り替えられる。また、電池パックBT1が電動工具等に接続されず単独の状態では、セルユニット11a、11bは互いに独立した状態となる。電池パックBT1は、上側正極端子41と、上側負極端子44と、下側正極端子42と、下側負極端子43と、を有する。上側正極端子41は、セルユニット11aの正極端子に接続される。上側負極端子44は、セルユニット11aの負極端子に接続される。下側正極端子42は、セルユニット11bの正極端子に接続される。下側負極端子43は、セルユニット11bの負極端子に接続される。
図4に示すように、ポートP1は、充電側正極端子C+と、充電側負極端子C−と、を有する端子部を備える。充電側正極端子C+は、電池パックBT1の上側正極端子41及び下側正極端子42に接続され、両端子間を短絡する。充電側負極端子C−は、電池パックBT1の上側負極端子44及び下側負極端子43に接続され、両端子間を短絡する。充電側正極端子C+及び充電側負極端子C−により、セルユニット11a、11bは互いに並列接続とされる。すなわち、電池パックをポートに装着するとセルユニット11a及び11bは自動的に互いに並列接続される。セルユニット11a、11bが互いに並列接続のとき、電池パックBT1の定格出力電圧は18Vとなる。ポートP2〜P4は、ポートP1と同じ端子構造(端子部)を有する。
図5に示すように、電動工具50は、工具側正極端子61と、工具側負極端子62と、ショートバー63と、を有する。工具側正極端子61は、電池パックBT1の上側正極端子41に接続される。工具側負極端子62は、電池パックBT1の下側負極端子43に接続される。ショートバー63は、電池パックBT1の下側正極端子42及び上側負極端子44に接続され、両端子間を短絡する。ショートバー63により、セルユニット11a、11bは互いに直列接続とされる。セルユニット11a、11bが互いに直列接続のとき、電池パックBT1の定格出力電圧は36Vとなる。
このように、電池パックBT1〜BT4は、定格出力電圧が18Vと36Vの間で可変である。こうした電池パックを、以下「可変電池パック」とも表記する。ポートP1〜P4には、可変電池パックの他に、定格出力電圧が18Vに固定された電池パック(以下「非可変電池パック」とも表記)も接続できる。非可変電池パックは、セルユニット11aと同様のセルユニットを一つだけ有するものや、セルユニット11a、11bを並列にして共通の正極端子及び負極端子に接続したものである。なお、可変電池パックBT1〜BT4は定格入力電圧が36Vの電動工具50に直接装着することができるが、非可変電池パックは当該電動工具50に直接装着することはできない。しかしながら、非可変電池パックは電源ボックス2に装着することができるため、非可変電池パックによって電源装置1を介して電動工具50を駆動することができる。
図4に示すように、アダプタ6は、第1正極端子M1+と、第1負極端子M1−と、第2正極端子M2+と、第2負極端子M2−と、を有するアダプタ側端子部を備える。なお、第2正極端子M1+及び第2負極端子M2−は第2端子部に相当する。第1正極端子M1+は、工具側正極端子61に接続される。第1負極端子M1−は、工具側負極端子62に接続される。第2正極端子M2+及び第2負極端子M2−は、ショートバー63に接続され、互いに短絡される。工具側正極端子61、工具側負極端子62、ショーバー63は機器側端子部に相当する。
図6は、電源ボックス2の充電に係る回路構成を示す。整流回路80は、例えばダイオードブリッジであり、外部交流電源79からの供給電流を整流する。整流回路80の出力端子間に、トランス81及びFET等のスイッチング素子82が設けられる。スイッチング素子82のオンオフは、スイッチング制御回路83によって制御される。整流平滑回路84は、トランス81の二次側の出力電流を整流、平滑する。トランス81、スイッチング素子82、及び整流平滑回路84は、充電回路を構成する。12V電源85は、整流平滑回路84の出力電圧を冷却ファン78の動作用の電圧(例えばDC12V)に変換する。ファン制御回路86は、冷却ファン78の駆動を制御する。
電圧フィードバック回路87は、整流平滑回路84の出力電圧を検出し、スイッチング制御回路83にフィードバックする。シャント抵抗88は、整流平滑回路84からポートP1〜P4への出力電流(充電電流)の経路に設けられる。電流フィードバック回路89は、シャント抵抗88の両端の電圧により充電電流を検出し、スイッチング制御回路83にフィードバックする。電流検出回路91は、シャント抵抗88の両端の電圧により充電電流を検出し、マイコン90にフィードバックする。過充電検出回路92は、充電対象電池パックの電圧を検出し、当該電池パックが過充電か否かを検出する。AC検出回路75は、トランス81の二次側の電圧により、外部交流電源79の接続の有無を検出し、マイコン90にフィードバックする。
マイコン(マイクロコントローラ)90は、電源ボックス2の制御部として機能する。マイコン90は、スイッチング制御回路83を制御し、整流平滑回路84の出力電圧及び出力電流が、充電対象電池パック(ポートP1〜P4に接続された電池パックのうち現在充電電流の供給対象となっている電池パック)の状態や種別に応じた適正値となるように制御する。また、マイコン90は、ファン制御回路86を制御し、冷却ファン78の駆動を制御する。
トランス98及びスイッチング制御回路99は、整流回路80の出力端子間に設けられる。電源100、101は、トランス98の二次側に設けられる。電源100は、スイッチング制御回路83の動作電圧を供給する。電源101は、マイコン90の電源電圧(例えばDC5V)を供給する。電圧フィードバック回路87、電流フィードバック回路89、マイコン90、及び電源100と、スイッチング制御回路83と、の間の接続は、フォトカプラ等を用いることで、トランス81、98の一次側と二次側との絶縁を確保できる。
ポートP1〜P4にそれぞれ設けられた充電側正極端子C+(以下「C+端子」とも表記)及び充電側負極端子C−(以下「C−端子」とも表記)は、充電電流供給用の端子である。LS端子は、電池パックの温度を示す温度検出信号を電池パックから受信するための端子である。T端子は、電池パックの種別(定格出力電圧等)を示す識別信号を電池パックから受信するための端子である。
ダイオードD1〜D4は、整流平滑回路84からポートP1〜P4への電流経路にそれぞれ設けられ、電流の逆流を防止する。選択手段としてのリレー等のスイッチSW1〜SW4は、整流平滑回路84からポートP1〜P4への電流経路にそれぞれ設けられる。スイッチSW1〜SW4は第2のスイッチに相当し、マイコン90の制御により、ポートP1〜P4のいずれに接続された電池パックが充電対象電池パックであるかに応じて、択一的にオンされる。電圧検出回路94a〜94dは、ポートP1〜P4に接続された各電池パックの電圧を検出し、マイコン90にフィードバックする。過電圧検出回路95a〜95dは、ポートP1〜P4に接続された各電池パックから出力された過電圧信号を検出し、マイコン90にフィードバックする。なお、LS端子は温度検出信号と過電圧信号とを受信できるよう構成されている。温度検出回路96a〜96dは、ポートP1〜P4に接続された各電池パックの温度を検出し、マイコン90にフィードバックする。電池パック識別回路97a〜97dは、ポートP1〜P4に接続された各電池パックの種別を検出し、マイコン90にフィードバックする。マイコン90は、充電対象電池パックを切り替える度に、充電対象電池パックの種別(定格出力電圧等)及び状態(電圧や温度)を検出する。
図7は、電源ボックス2の放電に係る回路構成を示す。図7において、電動工具50の図示は簡略化している。電動工具50のより具体的な構成例は、図11に示される。図7において、リレー等のスイッチSW5〜SW14は、放電回路を構成し第1スイッチに相当する。SW5〜SW14は、マイコン90の制御により、ポートP1〜P4のいずれに接続された電池パックが放電対象電池パックであるかに応じて、選択的にオンされる。
スイッチSW14は、ポートP1のC+端子とアダプタ6の第1正極端子M1+との間に設けられる。スイッチSW5は、ポートP2のC+端子とアダプタ6の第1正極端子M1+との間に設けられる。スイッチSW6は、ポートP3のC+端子とアダプタ6の第1正極端子M1+との間に設けられる。スイッチSW7は、ポートP4のC+端子とアダプタ6の第1正極端子M1+との間に設けられる。
スイッチSW8は、ポートP1のC−端子と、ポートP2のC+端子と、の間に設けられる。スイッチSW9は、ポートP2のC−端子と、ポートP3のC+端子と、の間に設けられる。スイッチSW10は、ポートP3のC−端子と、ポートP4のC+端子と、の間に設けられる。スイッチSW11は、ポートP1のC−端子と、ポートP4のC−端子と、の間に設けられる。スイッチSW12は、ポートP2のC−端子と、ポートP4のC−端子と、の間に設けられる。スイッチSW13は、ポートP3のC−端子と、ポートP4のC−端子と、の間に設けられる。
ポートP1〜P4に接続された電池パックのうち1つのみから放電する場合には、以下のようにする。ポートP1に接続された電池パックから放電する場合、スイッチSW14、SW11をオンにする。ポートP2に接続された電池パックから放電する場合、スイッチSW5、SW12をオンにする。ポートP3に接続された電池パックから放電する場合、スイッチSW6、SW13をオンにする。ポートP4に接続された電池パックから放電する場合、スイッチSW7をオンにする。このように、マイコン90は、ポートP1〜P4に接続された電池パックのうちの任意の1つを選択して放電させることができる。
ポートP1〜P4に接続された電池パックのうち2つから放電する場合は、以下のようにする。ポートP1、P2に接続された2つの電池パックを直列接続して当該2つの電池パックから放電する場合、スイッチSW14、SW8、SW12をオンにする。ポートP2、P3に接続された2つの電池パックを直列接続して当該2つの電池パックから放電する場合、スイッチSW5、SW9、SW13をオンにする。ポートP3、P4に接続された2つの電池パックを直列接続して当該2つの電池パックから放電する場合、スイッチSW6、SW10をオンにする。
図示は省略するが、ポートP1のC−端子と、ポートP3のC+端子と、の間を接続するスイッチを設ければ、ポートP1、P3に接続された2つの電池パックを直列接続して当該2つの電池パックから放電することができる。ポートP1のC−端子と、ポートP4のC+端子と、の間を接続するスイッチを設ければ、ポートP1、P4に接続された2つの電池パックを直列接続して当該2つの電池パックから放電することができる。ポートP2のC−端子と、ポートP4のC+端子と、の間を接続するスイッチを設ければ、ポートP2、P4に接続された2つの電池パックを直列接続して当該2つの電池パックから放電することができる。このように、マイコン90は、ポートP1〜P4に接続された電池パックのうちの任意の2つを選択し、選択した2つの電池パックを直列接続して放電させることができる。
ポートP1、P2に接続された2つの電池パックを並列接続して当該2つの電池パックから放電する場合、スイッチSW14、SW11、SW5、SW12をオンにする。ポートP1、P3に接続された2つの電池パックを並列接続して当該2つの電池パックから放電する場合、スイッチSW14、SW11、SW6、SW13をオンにする。ポートP1、P4に接続された2つの電池パックを並列接続して当該2つの電池パックから放電する場合、スイッチSW14、SW11、SW7をオンにする。ポートP2、P3に接続された2つの電池パックを並列接続して当該2つの電池パックから放電する場合、スイッチSW5、SW12、SW6、SW13をオンにする。ポートP2、P4に接続された2つの電池パックを並列接続して当該2つの電池パックから放電する場合、スイッチSW5、SW12、SW7をオンにする。ポートP3、P4に接続された2つの電池パックを並列接続して当該2つの電池パックから放電する場合、スイッチSW6、SW13、SW7をオンにする。このように、マイコン90は、ポートP1〜P4に接続された電池パックのうちの任意の2つを選択し、選択した2つの電池パックを並列接続して放電させることができる。
ポートP4のC−端子と、アダプタ6のM1−端子と、の間に、シャント抵抗74が設けられる。電流検出回路76は、シャント抵抗74の両端の電圧により、電源ボックス2からの放電電流、すなわち電動工具50への供給電流を検出し、マイコン90にフィードバックする。マイコン90は、電流検出回路76からの信号により、電源ボックス2からの放電電流に加え、電動工具50のトリガスイッチ52のオンオフも検出する。トリガスイッチ52がオンされれば電池パックと電動工具との間で閉回路が形成され、閉回路に放電電流が流れる。従って、放電電流の有無を検出することによってトリガスイッチ52のオンオフを検出することができる。電源73は、ポートP1〜P4のいずれかに接続した電池パックの電圧から、マイコン90の電源電圧(例えばDC5V)を生成する。
ショートバー検出回路77は、アダプタ6の第2負極端子M2−の電圧により、アダプタ6を接続した電動工具がショートバーを有するか否かを検出する。定格入力電圧が36Vの電動工具(以下「36V工具」とも表記)は、図4に示すように、アダプタ6のM2+端子及びM2−端子間を短絡するショートバー63を有する。定格入力電圧が18Vの電動工具(以下「18V工具」とも表記)は、図4のC+端子及びC−端子と同様の形状の正極端子と負極端子を有する。この正極端子と負極端子は、アダプタ6の第1正極端子M1+及び第2正極端子M2+間を短絡すると共に、第1負極端子M1−及び第2負極端子M2−間を短絡する。よって、アダプタ6の第2負極端子M2−の電圧は、アダプタ6が36V工具に接続されているか18V工具に接続されているかによって異なる。マイコン90は、ショートバー検出回路77の出力信号により、アダプタ6が接続された電動工具の定格入力電圧を検出できる。
図8は、電源装置1の動作の一例を示すフローチャートである。このフローチャートに記載の処理と並行して、マイコン90は、ポートP1〜P4の状態、並びに電源ボックス2が外部交流電源に接続されているか否かを随時確認している。ポートP1〜P4の状態は、電池パックの接続の有無、並びに接続された電池パックの放電可否及び充電可否を含む。放電可否及び充電可否は、電池パックの残容量(過放電か否か及び満充電か否か)の他に、電池パックの異常有無にも影響される。充電よりも放電を優先する場合、放電中の電池パックは充電不可能な電池パックと判断する。放電よりも充電を優先する場合、充電中の電池パックは放電不可能な電池パックと判断する。
マイコン90は、アダプタ6が電動工具に接続されているか否かを検出する(S1)。アダプタ6が電動工具に接続されている場合(S1のYes)、マイコン90は、当該電動工具の定格入力電圧を検出する(S2)。電動工具の定格入力電圧は、上述したように、ショートバー63の有無をショートバー検出回路77で検出することにより検出する。なお、ステップS1もショートバー検出回路77で検出している。アダプタ6が電動工具に接続されると、アダプタ6の第2正極端子M2+と第2負極端子M2−に、定格入力電圧が36Vの電動工具の場合はショートバー63が、定格入力電圧が18Vの電動工具の場合は第1正極端子M1+及び第1負極端子M1−に接続される端子と同じ正極端子及び負極端子が接続されるため、ショートバー検出回路77へ入力される信号が変化する。マイコン90は、この信号の変化を検出することで電動工具への接続を検出することができる。定格入力電圧が18Vの場合は(S2のYes)、放電可能な電池パックが1個以上(S4のYes)、かつアダプタ6に接続された電動工具のトリガスイッチがオンであれば(S5のYes)、マイコン90は、放電可能な電池パックのうちの1個から当該電動工具に放電する制御を行う(S6)。ステップS2において電動工具の定格入力電圧が36Vの場合(S2のNo)、放電可能な電池パックが2個以上(S8のYes)、かつアダプタ6に接続された電動工具のトリガスイッチがオンであれば(S9のYes)、マイコン90は、放電可能な電池パックのうちの2個から当該電動工具に放電する制御を行う(S10)。
ステップS1においてアダプタ6に電動工具が接続されていない場合(S1のNo)、ステップS4、S8において放電可能な電池パックの個数が不足の場合(S4のNo、S8のNo)、ステップS5、S9において電動工具のトリガスイッチがオフの場合(S5のNo、S9のNo)、即ち電池パックがポートに接続された状態で電動工具が駆動していない場合、又はステップS6、S10における放電制御中において、充電可能な電池パックがある場合(S13のYes)、即ち放電に関与していない電池パックがある場合、マイコン90は、充電制御を行う(S14)。マイコン90は、電池パックがポートに接続されたことを検出して自動的に充電を開始する。充電制御は、例えば、電池パックを1個ずつ満充電にする制御、複数の電池パックを同時(並行して)に充電する制御、充電対象電池パックを繰り返し切り替えながら、複数の電池パックを段階的に充電する制御、のいずれかである。なお、可変電池パックの場合、ポートに接続されている状態ではセルユニット11a及び11bは並列に接続されているため電池パックの定格出力電圧は18Vとなっている。そのため、S8において、放電可能な電池パックが1個の場合、アダプタ6の出力電圧は36Vにはならないため、36V工具を駆動することができない。
また、電動工具の接続検出(S1)に代えてトリガスイッチのオンオフの検出(S5、S9)を行ってもよい。この場合、ステップS4及びステップS8の後にはステップS6及びステップS10が実行される。電動工具に接続されているか否かの判断は、電動工具が駆動しているか否か(トリガスイッチがオンか否か)を検出することで行う。マイコン90は、トリガスイッチがオンされ、シャント抵抗74及び電流検出回路76によって放電電流が検出された場合に電動工具に接続されている(電動工具が駆動している)と判断する(S1のYes)。なお、アダプタ6が電動工具に接続されているだけで電動工具が駆動していない場合(放電電流が流れていない場合)には、電動工具に接続されていないと判断する(S1のNo)。
また、ステップS6において、電池パック1個から放電するようにしたが、放電可能な電池パックが2個以上ある場合には、それらを並列に接続して放電してもよい。この場合、電源ボックス2に手動スイッチを設け、作業者が作業内容や使用する電動工具に応じて任意に1個放電と並列放電とを切り替え可能とすればよい。或いは、ショートバー検出回路77や18V工具の判別回路によって、1個の電池パックで駆動する第1の18V工具と、2個の電池パック(互いに並列接続した2個の電池パック)でも駆動可能な第2の18V工具と、を判別できるようにし、接続された電動工具に応じて自動的に切り替えるようにしてもよい。なお、電池パックが1個の状態で第2の18V工具が接続された場合でも18V工具を駆動可能とすれば使い勝手をよくすることができる。
図9は、アダプタ6を18V工具に接続した場合の各種状態に応じた電源ボックス2の動作例を示す。図10は、アダプタ6を36V工具に接続した場合の各種状態に応じた電源ボックス2の動作例を示す。これらの図の例では、アダプタ6に接続した電動工具のトリガスイッチがオンの場合、放電が優先され、放電しながら、充電可能な電池パックがあれば充電も並行して行う動作となっている。また、全てのポートP1〜P4に電池パックが接続されている必要はなく、いずれかのポートに電池パックが1個でも接続されていれば18V工具を駆動することができる。また、放電及び充電のいずれも、ポート番号の小さいところから順に対象としている。放電している電池パックが所定の放電停止条件、例えば電池パックの電圧または残容量が所定値以下になると、放電対象電池パック(ポートP1〜P4に接続された電池パックのうち現在充電電流の供給対象となっている電池パック)を、別の放電可能な電池パックに切り替える。充電している電池パックが満充電になると、充電対象電池パックを、別の充電可能な電池パックに切り替える。なお、ポートP1〜P4のうちの一部に電池パックが装着されていない場合でも、他のポートに装着した電池パックから放電可能であり、また他のポートに装着した電池パックを充電可能である。
図9に示す18V工具装着時の動作例を具体的に説明する。ここで、18V工具は1つの電池パックで駆動可能なものとする。まず、ポートP1のみに電池パックBT1が接続され、電源ボックス2が外部交流電源79(AC電源)に接続された状態について説明する。
18V工具のトリガスイッチがオンされた場合(ケース1)、マイコン90は図7に示すスイッチSW14及びSW11をオン(導通)させる。これにより、ポートP1のC+端子(電池パックBT1の正極端子)、スイッチSW14、アダプタ6の第1正極端子M1+、トリガスイッチ(スイッチ回路)、モータ51、アダプタ6の第1負極端子M1−、スイッチSW11、及びポートP1のC−端子(電池パックBT1の負極端子)を介して閉回路(放電回路)が形成される。その結果、ポートP1に接続された電池パックから放電電流が流れ、18V工具を駆動することができる。
一方、18V工具のトリガスイッチがオンされていない場合(ケース2)、ポートP1に接続された電池パックBT1から放電せずに充電を行うべく、マイコン90は図6に示すスイッチSW1をオン(導通)させる。これにより、充電回路(整流平滑回路84等)、ダイオードD1、スイッチSW1、ポートP1の充電側正極端子C+、電池パックBT1、ポートP1の充電側負極端子を介して閉回路(充電回路)が形成される。その結果、ポートP1に接続された電池パックBT1が充電される。
次に、ポートP1のみに電池パックBT1が接続され、電源ボックス2が外部交流電源79(AC電源)に接続されていない状態について説明する。
18V工具のトリガスイッチがオンされた場合(ケース3)、上記ケース1と同様、ポートP1に接続された電池パックBT1から放電電流が流れ、18V工具を駆動することができる。
一方、18V工具のトリガスイッチがオンされていない場合(ケース4)、ポートP1に接続された電池パックBT1から放電せず、更に外部交流電源79によって電池パックBT1を充電することができない。そのため、電源装置1は電池パックBT1の放電及び充電を行わない(出力しない)。
次に、ポートP1及びP2にそれぞれ電池パックBT1及びBT2が接続され、電源ボックス2が外部交流電源79(AC電源)に接続された状態について説明する。
18V工具のトリガスイッチがオンされた場合(ケース5)、マイコン90は図7に示すスイッチSW14及びSW11をオン(導通)させると共に、図6に示すスイッチSW2をオン(導通)させる。これにより、ケース1と同様、ポートP1に接続した電池パックBT1と18V工具により放電回路が形成され18V工具を駆動することができる。同時に、ケース2と同様、充電回路(整流平滑回路84等)、ダイオードD2、スイッチSW2、ポートP2の充電側正極端子C+、電池パックBT2、ポートP2の充電側負極端子を介して閉回路(充電回路)が形成される。その結果、ポートP2に接続された電池パックBT2が充電される。すなわち、ポートP1に接続された電池パックBT1を放電しつつ、ポートP2に接続された電池パックBT2を充電することができる。言い換えると、複数の電池パックが同時に接続された状態では一部の電池パックを放電しつつ、同時に別の電池パックを充電することができる。なお、番号が小さいポートに接続された電池パックを放電用としたが、どの電池パックを放電用又は充電用とするかは任意であり、番号が大きいポートに接続された電池パック、或いは、残容量が大きい電池パックを放電用としてもよい。また、放電又は充電の途中で放電用と充電用の電池パックを切り替えてもよい。この場合、充電中の電池パックが満充電になった場合、放電中の電池パックの電圧(残容量)が所定値以下になった場合等に切り替えればよい。
一方、18V工具のトリガスイッチがオンされていない場合(ケース6)、ポートP1に接続された電池パックBT1から順に充電を行うべく、マイコン90は図6に示すスイッチSW1をオン(導通)させる。これにより、ケース2と同様に電池パックBT1が充電される。電池パックBT1が満充電になったら、マイコン90は図6に示すスイッチSW1をオフ(遮断)し、スイッチSW2をオン(導通)させる。これによりポートP2に接続された電池パックBT2が充電される。電池パックBT2が満充電になったら、マイコン90はスイッチSW2をオフ(遮断)し、電池パックの充電を終了する。なお、複数の電池パックを充電する場合、1個の電池パックが満充電になったら次の電池パックを充電する方法ではなく、電池パックが接続されたポートに対応するスイッチSW1〜SW4を同時にオン(導通)してポートに接続された電池パックを同時に充電する方法や、満充電になる前にスイッチSW1〜SW2のオンとオフを切り替えて複数の電池パックを少しずつ段階的に充電する方法でもよい。
次に、ポートP1及びP2にそれぞれ電池パックBT1及びBT2が接続され、電源ボックス2が外部交流電源79(AC電源)に接続されていない状態について説明する。
18V工具のトリガスイッチがオンされた場合(ケース7)、マイコン90はまず図7に示すスイッチSW14及びSW11をオン(導通)させる。これによりケース1と同様に電池パックBT1が放電される。そして電池パックBT1が所定の放電停止条件を満たすと、例えば電池パックBT1の電圧が過放電閾値以下になると、マイコン90はスイッチSW14及びSW11をオフ(遮断)させると共にスイッチSW5及びSW12をオン(導通)させる。これにより電池パックBT1の放電が停止されると共に電池パックBT2が放電される。なお、放電する電池パックの順番や切替タイミングは任意に設定可能である。させる。
一方、18V工具のトリガスイッチがオンされていない場合(ケース8)、ポートP1及びP2に接続された電池パックBT1及びBT2から放電せず、更に外部交流電源79によって電池パックBT1及びBT2を充電することができない。そのため、電源装置1は電池パックBT1及びBT2の放電及び充電を行わない(出力しない)。
他のポートに電池パックが1個または2個接続された場合は同様に制御すればよい。また、電池パックが3個または4個接続された場合も同様である。外部交流電源79に接続されてトリガスイッチがオンされた場合には、1個の電池パックを放電し、残りの電池パックを充電すればよく、また、トリガスイッチがオフの場合には、複数の電池パックを順番に又は同時に充電すればよい。一方、外部交流電源79に接続されておらずトリガスイッチがオンされた場合には、放電する電池パックが接続されたポートに対応する放電用のスイッチSWをオン(導通)させ、残りの電池パックが接続されたポートに対応する充電用のスイッチSWをオン(導通)させればよく、また、トリガスイッチがオフの場合には、いずれの電池パックも充電及び放電を行わないようにすればよい。
また、18V工具が2つの電池パックを並列接続させて駆動可能な場合、ケース1〜4については同様に制御すればよい。ケース5については、マイコン90はスイッチSW14、SW11、SW5、SW12をオン(導通)させて、2つの電池パックBT1及びBT2を同時に放電させる(ケース5−1)。ケース6については上記と同様に制御すればよい。ケース7についてはケース5―1と同様である。3個以上の電池パックが同時に接続されている場合に18V工具を駆動するには、外部交流電源79に接続されていれば、2つの電池パックを放電しつつ残りを充電すればよい。外部交流電源79に接続されていなければ、放電する電池パックを任意のタイミング(例えば放電時間や残容量に基づく)で切り替えればよい。
図10に示す36工具装着時の動作例を具体的に説明する。まず、ポートP1のみに電池パックBT1が接続された状態について説明する。電池パックBT1は定格出力電圧が18Vであるため定格入力電圧が36Vの36V工具を正確に駆動することができない。そのため、外部交流電源79の接続の有無及び36V工具のトリガスイッチ52のオンオフにかかわらず電池パックBT1を放電することはない。
電源ボックス2が外部交流電源79(AC電源)に接続され、且つ、36V工具のトリガスイッチがオンされた場合(ケース9)、又は、36V工具のトリガスイッチがオフの場合(ケース10)、マイコン90は図6に示すスイッチSW1をオンさせ、電池パックBT1を充電する。
一方、電源ボックス2が外部交流電源79(AC電源)に接続されず、且つ、36V工具のトリガスイッチがオンされた場合(ケース11)、又は、36V工具のトリガスイッチがオフの場合(ケース12)、電源ボックス2は電池パックBT1の充電も放電も行わない。
次に、ポートP1及びP2にそれぞれ電池パックBT1及びBT2が接続され、電源ボックス2が外部交流電源79(AC電源)に接続された状態について説明する。
36V工具のトリガスイッチ52がオンされた場合(ケース13)、マイコン90は図7に示すスイッチSW14、SW8及びSW12をオンさせる。これにより、電池パックBT1と電池パックBT2が直列接続され、2つの電池パックBT1及びBT2と36V工具の間で放電回路が形成され36V工具を駆動することができる。
一方、36V工具のトリガスイッチ52がオンされていない場合(ケース14)、ケース6と同様、ポートP1に接続された電池パックBT1から順に充電を行うべく、マイコン90は図6に示すスイッチSW1をオンさせ、電池パックBT1を充電する。電池パックBT1が満充電になったら、マイコン90は図6に示すスイッチSW1をオフし、スイッチSW2をオンさせ、電池パックBT2を充電する。電池パックBT2が満充電になったら、マイコン90はスイッチSW2をオフし、電池パックの充電を終了する。なお、複数の電池パックを充電する場合の充電方法は上記の通りである。
次に、ポートP1及びP2にそれぞれ電池パックBT1及びBT2が接続され、電源ボックス2が外部交流電源79(AC電源)に接続されていない状態について説明する。
36V工具のトリガスイッチ52がオンされた場合(ケース15)、マイコン90はケース13と同様に制御する。
一方、36V工具のトリガスイッチ52がオンされていない場合(ケース16)、ケース12と同様、電源ボックス2は電池パックBT1及びBT2の充電も放電も行わない。
次に、ポートP1〜P3にそれぞれ電池パックBT1〜BT3が接続され、電源ボックス2が外部交流電源79(AC電源)に接続された状態について説明する。
36V工具のトリガスイッチ52がオンされた場合(ケース17)、マイコン90はまず図7に示すスイッチSW14、SW8及びSW12をオンさせる。これにより、電池パックBT1と電池パックBT2が直列接続され、2つの電池パックBT1及びBT2と36V工具の間で放電回路が形成され36V工具を駆動することができる。同時にマイコン90は図6に示すスイッチSW3をオンさせ、放電していない電池パックBT3を充電する。この状態で、電池パックBT1が所定の放電停止条件を満たすと、電池パックBT1を充電すると共に電池パックBT2及びBT3を放電させる。マイコン90は、スイッチSW14、SW8及びSW12をオフすると共に、スイッチSW5、SW9及びSW13をオンする。これにより電池パックBT2及びBT3を放電することができる。同時にマイコン90はスイッチSW3をオフすると共に、スイッチSW1をオンする。これにより電池パックBT1を充電することができる。なお、その後、電池パックBT2が所定の放電停止条件を満たした場合には、同様にして、電池パックBT3及びBT1を放電させ、電池パックBT2を充電させればよい。
一方、36V工具のトリガスイッチ52がオンされていない場合は(ケース18)、ケース14と同様、電池パックBT1、BT2、BT3の順に充電するよう、マイコン90はスイッチSW1〜3のオン及びオフを制御する。充電方法は上記の通りである。
次に、ポートP1〜P3にそれぞれ電池パックBT1〜BT3が接続され、電源ボックス2が外部交流電源79(AC電源)に接続されていない状態について説明する。
36V工具のトリガスイッチ52がオンされた場合(ケース19)、ケース17と同様、マイコン90はスイッチSW14、SW8及びSW12をオンさせ、電池パックBT1が所定の放電停止条件を満たすと、電池パックBT1の放電を停止させ、電池パックBT2及びBT3を放電させるべく、マイコン90はスイッチSW14、SW8及びSW12をオフすると共に、スイッチSW5、SW9及びSW13をオンする。
一方、36V工具のトリガスイッチ52がオンされていない場合(ケース20)、ケース16と同様、電源ボックス2は電池パックBT1及びBT2の充電も放電も行わない。 なお、電池パックが接続されるポートが異なっている場合や、全てのポートに電池パックが接続されている場合も同様に制御すればよい。また、電池パックが4個接続された場合も同様である。外部交流電源79に接続されてトリガスイッチがオンされた場合には、1個の電池パックを放電し、残りの電池パックを充電すればよく、また、トリガスイッチがオフの場合には、複数の電池パックを順番に又は同時に充電すればよい。一方、外部交流電源79に接続されておらずトリガスイッチがオンされた場合には、放電する電池パックが接続されたポートに対応する放電用のスイッチSWをオン(導通)させ、残りの電池パックが接続されたポートに対応する充電用のスイッチSWをオン(導通)させればよく、また、トリガスイッチがオフの場合には、いずれの電池パックも充電及び放電を行わないようにすればよい。
図9では、ポートのいずれか1つに電池パックが接続され、アダプタ6に電動工具が接続されていない状態又はアダプタ6に接続した電動工具のトリガスイッチがオンされていない状態では電池パックを充電するが、その状態でトリガスイッチがオンされると充電を停止して放電を開始する構成としている。図10についても同様である。すなわち、図9及び図10では充電よりも放電が優先される構成としているが、充電を優先させてもよい。
また、放電を優先する場合、図9において、ケース1の状態で電池パックBT1がポートP1から外された場合、マイコン90はオンしていたスイッチSW14及びSW11をオフにし、電池パックがポートに接続されていない状態となるため充電も放電も行わない。また、ケース5の状態で電池パックBT1がポートP1から外された場合、マイコン90はポートP2の電池パックBT2を充電から放電に切り替えるようスイッチSWを制御する。図10についても同様に、放電中の電池パックがポートから外された場合には充電中の電池パックを放電に切り替えて使用する。放電中の電池パック以外、例えば充電中の電池パックがない場合には放電を停止するようマイコン90はスイッチSWを制御する。すなわち、放電中の電池パックがポートから外された場合には、別の電池パック例えば充電中の電池パックを放電用に切り替えて使用すればよい。充電中の電池パックが複数ある場合には、ポート番号の小さい電池パックから放電させてもよいし、残容量(電圧)が高い電池パックから放電させてもよい。また、放電中に新しい電池パックがポートに接続されると、マイコン90は充電用のスイッチSWをオンさせ充電を開始させる。
充電を優先した場合も同様、充電中の電池パックがポートから外されたら、放電中の電池パックを充電に切り替える。或いは放電中の作業が終了するまで(トリガスイッチがオフするまで)放電した後に充電に切り替えてもよい。
また、放電中又は充電中の電池パックがその途中でポートから外された場合、全ての充電及び放電を一旦停止し、その後、残った電池パックを充電するか、放電するかを作業者が選択できるようにしてもよい。この場合、ハウジング3にどちらの制御を優先するかを選択するためのスイッチを設ければよい。または、複数の電池パックがある場合にはどの電池パックを放電又は充電するかを選択できるようにしてもよい。または、一旦停止してから残った電池パックで電動工具を動作可能であれば放電を行ってもよいし、残った電池パックでは個数が足りず電動工具の動作ができないのであれば充電を行ってもよい。すなわち、放電又は充電の途中でポートから電池パックが外された場合には、残りの電池パックで放電又は充電を行うようにすればよく、放電又は充電の途中で新たな電池パックが接続された場合には、充電を開始する、又は、放電用の電池パックと代えて放電するようにしてもよい。この際、制御部によって自動的に切り替えてもよいし作業者が手動で切り替えてもよい。
図11は、電動工具50(36V工具)及び電池パックBT1を互いに接続した状態のブロック図である。電池パックBT1及び電動工具50はそれぞれ、図5に示した各端子の他に、LS端子、V端子、T端子、及びLD端子を備える。電池パックBT1及び電動工具50の同名の端子同士が互いに電気的に接続される。
電池パックBT1において、セル電圧監視IC12は、セルユニット11a、11bの各々の電池セルの電圧を監視し、少なくとも1つの電池セルの電圧が所定値以下になると、過放電と判断し、制御部(電池側制御部)15に過放電検出信号を送信する。なお、セルユニット毎にセル電圧監視ICを設けてもよい。セルユニット11aには電流検出用の抵抗R1が直列接続される。電流検出回路14は、抵抗R1の両端の電圧によりセルユニット11aの出力電流を検出し、制御部15に検出結果を送信する。電源回路13は、セルユニット11aの出力電圧からセル電圧監視IC12及び制御部15の電源電圧VDD1を生成する。電池電圧検出回路16は、上側正極端子41の電圧を検出し、制御部15に検出結果を送信する。残容量表示手段17は、例えばLEDであり、制御部15の制御により電池パックBT1の残容量を使用者に表示(報知)する。セル温度検出手段18は、セルユニット11a、11bの近傍に配置されたサーミスタTHの電圧により電池セルの温度を検出し、制御部15に検出結果を送信する。残容量表示スイッチ19は、使用者が残容量表示手段17への残容量表示を指示するためのスイッチである。
電池パックBT1は、電動工具50から送信されるシリアル通信信号(デジタル信号)を制御部15に受信させるための経路を成すシリアル通信用受信回路31と、サーミスタTHの一端のアナログ電圧(電池セルの温度情報)を電動工具50に送信するための経路を成す温度情報送信回路32と、を有する。電池パックBT1のLS端子は、第1切替回路21を介して、シリアル通信用受信回路31及び温度情報送信回路32のいずれかに択一的に接続される。第1切替回路21は、一端がLS端子に接続され、制御端子がV端子に接続され、V端子から入力される信号に応じて、他端がシリアル通信用受信回路31及び温度情報送信回路32のいずれかに択一的に接続される。ここでは、V端子からの信号がローレベルのとき、第1切替回路21の他端はシリアル通信用受信回路31に接続され、V端子からの信号がハイレベルのとき、第1切替回路21の他端は温度情報送信回路32に接続される。サーミスタTHの一端は、第1切替回路21の他端に接続される。サーミスタTHの他端とグランドとの間に、FET等のスイッチング素子Q1が設けられる。第3切替回路23は、一端がV端子に接続され、制御端子が制御部15に接続され、制御部15から入力される信号に応じて、他端がスイッチング素子Q1の制御端子(ゲート)及びサーミスタTHの一端(第1切替回路21の他端)に択一的に接続される。
電池パックBT1は、識別抵抗Raの一端のアナログ電圧(電池パックBT1の識別情報)を電動工具50に送信するための経路を成す識別情報送信回路35と、制御部15から電動工具50に向けたシリアル通信信号(デジタル信号)を送信するための経路を成すシリアル通信用送信回路36と、を有する。電池パックBT1のT端子は、第2切替回路22を介して、識別情報送信回路35及びシリアル通信用送信回路36のいずれかに択一的に接続される。第2切替回路22は、一端がT端子に接続され、制御端子が制御部15に接続され、制御部15から入力される信号に応じて、他端が識別情報送信回路35及びシリアル通信用送信回路36のいずれかに択一的に接続される。識別抵抗Raの一端は、第2切替回路22の他端に接続される。識別抵抗Raの他端とグランドとの間に、識別抵抗Rb及びFET等のスイッチング素子Q2が並列接続される。スイッチング素子Q2の制御端子(ゲート)は、V端子に接続される。V端子から入力される信号がハイレベルのとき、スイッチング素子Q2はオンとなり、識別抵抗Rbには電流が流れない。V端子から入力される信号がローレベルのとき、スイッチング素子Q2はオフとなり、識別抵抗Rbに電流が流れる。
電池パックBT1において、LD端子とグランドとの間には、FET等のスイッチング素子Q3が設けられる。スイッチング素子Q3の制御端子(ゲート)は、制御部15に接続される。制御部15から制御端子に入力される信号がハイレベルのとき、スイッチング素子Q3はオンとなり、同信号がローレベルのとき、スイッチング素子Q3はオフとなる。
電動工具50において、駆動源となるモータ51は、ブラシレスモータである。モータ51は、ブラシ付きモータであってもよい。インバータ回路65は、周知のとおり三相ブリッジ接続されたFETやIGBT等のスイッチング素子からなり、モータ51に駆動電流を供給する。各スイッチング素子のスイッチング制御(例えばPWM制御)は、マイクロコントローラ等の制御部55(機器側制御部)によって行われる。モータ51の駆動電流は、抵抗R5によって電圧に変換され、当該電圧を受信した電流検出回路54によって検出され、制御部55に送信される。インバータ回路65の温度は、インバータ回路65の近傍に配置されたサーミスタ等の温度検出素子66によって電圧に変換され、インバータ温度検出回路67によって検出され、制御部55に送信される。
トリガスイッチ52は、インバータ回路65と直列接続される。スイッチ状態検出回路53は、トリガスイッチ52のインバータ回路65側の端子電圧によりトリガスイッチ52のオンオフを検出し、制御部55に検出結果を送信する。制御部55は、トリガスイッチ52がオンになると、インバータ回路65の各スイッチング素子を制御し、モータ51に駆動電流を供給する。電源回路56は、プラス端子61からの入力電圧(電池セルの出力電圧)から制御部55の動作電圧VDD2を生成する。電池電圧検出回路57は、プラス端子61の電圧により電池セルの出力電圧を検出し、制御部55に検出結果を送信する。なお、トリガスイッチ52はインバータ回路65と直列接続される必要はなく、制御部15に接続されてトリガ信号を制御部15に送信する構成であってもよい。
電動工具50において、制御部55は、LS端子、V端子、T端子、及びLD端子にそれぞれ接続する端子を有する。抵抗R6の一端は、電源ラインに接続される。抵抗R6の他端とグランドとの間に、抵抗R7及びFET等のスイッチング素子Q6が直列接続される。抵抗R6及び抵抗R7の相互接続点は、LS端子に接続される。スイッチング素子Q6の制御端子(ゲート)は、制御部55に接続される。抵抗R8は、電源ラインとT端子との間に設けられる。抵抗R9は、電源ラインとLD端子との間に設けられる。
電動工具50の制御部55は、V端子を介して電池パックBT1に送信する信号により、LS端子の機能を切り替えることができる。具体的には、制御部55は、V端子からハイレベルの信号を送信すると、第1切替回路21の他端の接続先が温度情報送信回路32となり、第1切替回路21及びLS端子を介して、サーミスタTHの一端の電圧を受信することができる。なお、電池パックBT1の制御部15は、通常時は第3切替回路23の他端の接続先をスイッチング素子Q1の制御端子としているため、V端子の信号がハイレベルのときはスイッチング素子Q1はオンとなり、サーミスタTHの一端(温度情報送信回路32)には電池セルの温度に応じたアナログ電圧が出力される。また、V端子の信号がハイレベルのときは、スイッチング素子Q2はオンとなり、T端子の電圧は、電動工具50の電源電圧VDD2を抵抗R8及び抵抗Raで分圧した第1識別電圧となる。
一方、制御部55は、V端子からローレベルの信号を送信すると、第1切替回路21の他端の接続先がシリアル通信用受信回路31となり、LS端子を介して電池パックBT1の制御部15にシリアル通信信号を送信することができる。シリアル通信信号は、スイッチング素子Q6のオンオフにより作成される。また、V端子の信号がローレベルのときは、スイッチング素子Q2はオフとなり、T端子の電圧は、電動工具50の電源電圧VDD2を、抵抗R8と、抵抗Ra及び抵抗Rbの直列合成抵抗と、で分圧した第2識別電圧となる。制御部55は、第1及び第2識別電圧の双方を基に、電池パックBT1の情報を得ることができる。
電池パックBT1の制御部15は、第2切替回路22の他端の接続先を切り替えることにより、T端子の機能を切り替えることができる。具体的には、制御部15は、第2切替回路22の他端の接続先をシリアル通信用送信回路36とすれば、第2切替回路22及びT端子を介して、電動工具50に、シリアル通信信号を送信することができる。一方、制御部15は、第2切替回路22の接続先を識別情報送信回路35とすれば、第2切替回路22及びT端子を介して、電動工具50に、識別抵抗Raの一端のアナログ電圧を出力することができる。
電動工具50から電池パックBT1に送信されるシリアル通信信号の中身は、例えば、電動工具50の種類や型番、過放電停止の通知、過放電表示の指示、異常検出用の閾値(例えば過放電閾値、過電流閾値、電池セルの高温保護閾値)、残量表示の表示閾値(残容量表示を切り替える閾値)、エラーログ、使用履歴情報、電池パックBT1に要求する情報などである。なお、電動工具50から電池パックBT1に、全ての情報を送信してもよいし、電池パックBT1から要求された情報のみを送信してもよい。電池パックBT1から電動工具50に送信されるシリアル通信信号の中身は、例えば、電池パックBT1の種類や型番、電池セルの種別、エラーログ、使用履歴情報、電動工具50に要求する情報などである。なお、電池パックBT1から電動工具50に、全ての情報を送信してもよいし、電動工具50から要求された情報のみを送信してもよい。シリアル通信では、識別抵抗Ra、Rbの電圧よりも、電池パックBT1の識別情報を、より多く乃至より詳細に通知することができる。シリアル(デジタル)通信は、一方の制御部(マイコン)から出力するハイ信号又はロー信号を、他方の制御部(マイコン)へ入出力することで、一方の信号を他方に出力するものである。
電池パックBT1の制御部15は、電池パックBT1が充電装置に接続されていて充電停止条件が満たされた場合に、第3切替回路23の他端の接続先をサーミスタTHの一端(第1切替回路21の他端)とする。充電器は充電中にV端子の信号をハイレベルとしているため、第1切替回路21の他端の接続先は温度情報送信回路32である。したがって、V端子の信号(ハイレベル)は、第3切替回路23、第1切替回路21及びLS端子を介して、充電器に送信され、充電停止の旨が通知されることになる。
電池パックBT1の制御部15は、過電流、過放電、及び電池セルの異常高温のいずれかを検出すると、スイッチング素子Q3をターンオンする。これにより、LD端子の電圧が電動工具50の電源電圧VDD2からグランド電位に低下し、制御部55に放電禁止の旨が通知される(異常検出信号が送信される)ことになる。
本実施の形態によれば、下記の効果を奏することができる。
(1) ポートP1〜P4に接続された電池パックのうちの一部の電池パックを充電しながら他の電池パックから直流を放電可能としており、使いやすさを向上させることができる。
(2) 放電対象電池パックが所定の放電停止条件を満たすと、例えば電池パックの電圧が所定値以下になると、放電対象電池パックを別の放電可能な電池パックに切り替えるため、アダプタ6を接続した電動工具の連続使用可能時間を長くでき、使いやすさを向上させることができる。
(3) アダプタ6は、36V工具及び18V工具に択一的に装着可能であり、使いやすさを向上させることができる。
(4) ポートP1〜P4はそれぞれ、接続された電池パックのセルユニット11a、11bを並列接続とする端子構造を有するため、充電回路は定格出力電圧18Vに対応したもので足り、構造を簡易化できる。その一方で、36V工具に対して2個の電池パックを直列接続状態として36Vを出力でき、使いやすさを向上させることができる。また、電源ボックス2内に複数の電池パックの接続状態を切り替えるスイッチSW5〜14を配置したので、アダプタ6内に配置する場合と比較して、作業者への負担を低減することができる。
(5) アダプタ6を接続した電動工具のトリガスイッチがオフになると、当該電動工具に放電していた電池パックを充電対象電池パックとして直ちに充電を開始することができ、使いやすさを向上させることができる。
以上、実施の形態を例に本発明を説明したが、実施の形態の各構成要素や各処理プロセスには請求項に記載の範囲で種々の変形が可能であることは当業者に理解されるところである。以下、変形例について触れる。
電源ボックス2において、電池パックを接続可能なポートの数は、4つに限定されず、任意の複数個でよい。セルユニット11a、11bにおける電池セルの直列接続数、電池セル1つあたりの定格出力電圧、1つの電池パックにおけるセルユニットの数など、実施の形態で具体的に示した数値は一例であり、適宜変更が可能である。セルユニット11a、11bは、互いに並列接続されることに替えて又は加えて、互いに独立状態、すなわち互いに接続されない状態とされることが可能であってもよい。電源ボックス2は、セルユニット11a、11bを互いに直列接続とする端子構造であってもよい。電源ボックス2は、セルユニット11a、11bを互いに直列接続した状態の複数の電池パックを並列接続して直流電圧を出力可能であってもよい。
1 電源装置、2 電源ボックス、3 ハウジング、4 電源コード、5 ケーブル、6アダプタ、11a、11b セルユニット、12 セル電圧監視IC、13 電源回路、14 電流検出回路、15 制御部(電池側制御部)、16 電池電圧検出回路、17 残容量表示手段、18 セル温度検出手段、19 残容量表示スイッチ、21 第1切替回路、22 第2切替回路、23 第3切替回路、31 シリアル通信用受信回路、32 温度情報送信回路、35 識別情報送信回路、36 シリアル通信用送信回路、41 上側正極端子、42 下側正極端子、43 下側負極端子、44 上側負極端子、50 電動工具、51 モータ、52 トリガスイッチ、53 スイッチ状態検出回路、54 電流検出回路、55 制御部(本体側制御部)、56 電源回路、57 電池電圧検出回路、58 LEDライト、59 ライト点灯スイッチ、61 工具側正極端子、62 工具側負極端子、63 ショートバー、65 インバータ回路、66 温度検出素子、67 インバータ温度検出回路、73 電源、74 シャント抵抗、76 電流検出回路(トリガオンオフ検出回路)、77 ショートバー検出回路、78 冷却ファン、79 交流電源、80 整流回路、81 トランス、82 スイッチング素子、83 スイッチング制御回路、84 整流平滑回路、85 12V電源、86 ファン制御回路、87 電圧フィードバック回路、88 シャント抵抗、89 電流フィードバック回路、90 マイコン(制御部)、91 電流検出回路、92 過充電検出回路、94a〜94d 電圧検出回路、95a〜95d 過電圧検出回路、96a〜96d 温度検出回路、97a〜97d 電池パック識別回路、98 トランス、99 スイッチング制御回路、100 電源、101 電源、BT1〜BT4 電池パック、L1〜L4 LED、P1〜P4 ポート、SW1〜14 スイッチ。

Claims (15)

  1. 複数の電池パックが同時に装着可能な複数の電池パック装着部を有する電源装置本体と、
    一端側が前記電源装置本体に接続されるとともに他端側が外部の電気機器に装着可能なアダプタ部と、
    前記複数の電池パックの少なくともいずれかを充電するための充電回路と、
    前記複数の電池パックの少なくともいずれかからアダプタ部を介して直流を放電するための放電回路と、
    前記複数の電池パックのそれぞれを前記充電回路に接続するか、又は、前記放電回路に接続するか、を切り替える制御部と、を備えた電源装置。
  2. 前記複数の電池パックを前記複数の電池パック装着部のそれぞれに装着した状態で、前記充電回路により前記複数の電池パックの内の一部の電池パックを充電しながら、前記放電回路により他の電池パックから放電可能にし、前記アダプタ部を介して前記外部の電気機器に直流を供給可能に構成した、請求項1に記載の電源装置。
  3. 前記充電回路は、電池パックを一つずつ充電する、請求項1又は2に記載の電源装置。
  4. 前記充電回路は、複数の電池パックを同時に充電可能である、請求項1又は2に記載の電源装置。
  5. 前記放電回路は、複数の電池パックから同時に放電可能である、請求項1から4のいずれか一項に記載の電源装置。
  6. 前記放電回路は、前記複数の電池パックを直列接続して同時に放電可能である、請求項5に記載の電源装置。
  7. 前記電池パックは、複数のセルユニットを有し、前記複数のセルユニットを直列接続と並列接続又は独立状態とに切替え可能であって、
    前記放電回路は、前記複数のセルユニットを並列接続した状態で前記複数の電池パックを直列接続して同時に放電可能である、請求項6に記載の電源装置。
  8. 前記複数の電池パックにおいて、充電する電池パック及び放電する電池パックの少なくとも一方は切り替え可能に構成される、請求項1から7のいずれか一項に記載の電源装置。
  9. 前記アダプタ部は、異なる電圧を出力可能である、請求項1から8のいずれか一項に記載の電源装置。
  10. 前記放電回路は、前記複数の電池パックを前記複数の電池パック装着部のそれぞれに装着した状態で、前記複数の電池パックの接続状態を切り替えるための複数の第1スイッチを備え、
    前記充電回路は、前記複数の電池パックを前記複数の電池パック装着部のそれぞれに装着した状態で、充電する電池パックを切り替えるための複数の第2スイッチを備える、請求項1から9のいずれか一項に記載の電源装置。
  11. 前記制御部は、前記複数の電池パックを前記複数の電池パック装着部のそれぞれに装着した状態で、放電中の第1の電池パックが前記電池パック装着部から外された場合、他の第2の電池パックから放電するように前記第1スイッチを制御するよう構成した、請求項10に記載の電源装置。
  12. 前記第1の電池パックが前記電池パック装着部から外される前の状態で、前記第2の電池パックは前記充電回路により充電されていた電池パックである、請求項11に記載の電源装置。
  13. 前記制御部は、前記複数の電池パックを前記複数の電池パック装着部のそれぞれに装着した状態で、充電中の第2の電池パックが前記電池パック装着部から外された場合、他の第1の電池パックを充電するように前記第2スイッチを構成した、請求項10に記載の電源装置。
  14. 前記第2の電池パックが前記電池パック装着部から外される前の状態で、前記第1の電池パックは前記放電回路により放電されていた電池パックである、請求項13に記載の電源装置。
  15. 前記制御部は、前記複数の電池パックを前記複数の電池パック装着部のそれぞれに装着した状態で、充電中又は放電中の第1又は第2の電池パックが前記電池パック装着部から外された場合、全ての電池パックの充電及び放電を停止するように前記第1及び第2スイッチを制御するよう構成した、請求項10に記載の電源装置。
JP2020034353A 2020-02-28 2020-02-28 電源装置 Pending JP2021136853A (ja)

Priority Applications (1)

Application Number Priority Date Filing Date Title
JP2020034353A JP2021136853A (ja) 2020-02-28 2020-02-28 電源装置

Applications Claiming Priority (1)

Application Number Priority Date Filing Date Title
JP2020034353A JP2021136853A (ja) 2020-02-28 2020-02-28 電源装置

Publications (1)

Publication Number Publication Date
JP2021136853A true JP2021136853A (ja) 2021-09-13

Family

ID=77661933

Family Applications (1)

Application Number Title Priority Date Filing Date
JP2020034353A Pending JP2021136853A (ja) 2020-02-28 2020-02-28 電源装置

Country Status (1)

Country Link
JP (1) JP2021136853A (ja)

Citations (5)

* Cited by examiner, † Cited by third party
Publication number Priority date Publication date Assignee Title
JP2003173822A (ja) * 2001-12-07 2003-06-20 Matsushita Electric Ind Co Ltd 充放電システムおよびその使用方法
JP2011097766A (ja) * 2009-10-30 2011-05-12 Makita Corp 電力供給装置
JP2011218510A (ja) * 2010-04-12 2011-11-04 Makita Corp バッテリパックを電源とする電動工具とそのアダプタ
JP2017112802A (ja) * 2015-12-18 2017-06-22 パナソニックIpマネジメント株式会社 充放電ユニット、及びこれを用いた電源ユニット、充放電システム、電源システム
JP2019004631A (ja) * 2017-06-16 2019-01-10 工機ホールディングス株式会社 電池パック及び電池パックを用いた電気機器

Patent Citations (5)

* Cited by examiner, † Cited by third party
Publication number Priority date Publication date Assignee Title
JP2003173822A (ja) * 2001-12-07 2003-06-20 Matsushita Electric Ind Co Ltd 充放電システムおよびその使用方法
JP2011097766A (ja) * 2009-10-30 2011-05-12 Makita Corp 電力供給装置
JP2011218510A (ja) * 2010-04-12 2011-11-04 Makita Corp バッテリパックを電源とする電動工具とそのアダプタ
JP2017112802A (ja) * 2015-12-18 2017-06-22 パナソニックIpマネジメント株式会社 充放電ユニット、及びこれを用いた電源ユニット、充放電システム、電源システム
JP2019004631A (ja) * 2017-06-16 2019-01-10 工機ホールディングス株式会社 電池パック及び電池パックを用いた電気機器

Similar Documents

Publication Publication Date Title
US20230402855A1 (en) Series-connected battery packs, system and method
US7932694B2 (en) Battery charger operable for selective one of a plurality of power supplies
JP2021136854A (ja) 電源装置及びシステム
US9337677B2 (en) Electric power tool powered by battery pack and adapter therefor
US6566843B2 (en) DC power source unit with battery charging function
CN105322611B (zh) 电池组以及用于控制电池组的方法
US20140009857A1 (en) Power supply device
US7592781B2 (en) Charger control circuit with automatic polarity selection
US11637433B2 (en) Battery pack and electrical apparatus
US20150123615A1 (en) Lithium battery pack and system for charging the same
GB2354892A (en) Method of discharge for plurality of series connected rechargeable batteries
JP2010225283A (ja) 電池パック
WO2011034201A1 (en) Battery pack and power tool using the same
US20150311730A1 (en) Charging Device
JP2023507485A (ja) エネルギー供給装置を備えた電動加工装置
JP5500337B2 (ja) 電池パックを充電する充電装置
US11664543B2 (en) Power supply device and system comprising power supply device and electric tool
WO2014050152A1 (en) Battery charger and battery pack
US5438252A (en) Power supply control module for a battery control system of an appliance, and a battery equipped with such a module
JP2010200561A (ja) 充電装置
JP2021136853A (ja) 電源装置
JP2014073020A (ja) 電池パック及び充電装置
JP7072479B2 (ja) バッテリパック
GB2447318A (en) A Lithium Battery pack and system for charging the same
WO2015166907A1 (ja) 電池パック及び充電装置

Legal Events

Date Code Title Description
A621 Written request for application examination

Free format text: JAPANESE INTERMEDIATE CODE: A621

Effective date: 20220930

A977 Report on retrieval

Free format text: JAPANESE INTERMEDIATE CODE: A971007

Effective date: 20230524

A131 Notification of reasons for refusal

Free format text: JAPANESE INTERMEDIATE CODE: A131

Effective date: 20230711

A02 Decision of refusal

Free format text: JAPANESE INTERMEDIATE CODE: A02

Effective date: 20240109