JP2020201014A - 冷却装置 - Google Patents
冷却装置 Download PDFInfo
- Publication number
- JP2020201014A JP2020201014A JP2019109723A JP2019109723A JP2020201014A JP 2020201014 A JP2020201014 A JP 2020201014A JP 2019109723 A JP2019109723 A JP 2019109723A JP 2019109723 A JP2019109723 A JP 2019109723A JP 2020201014 A JP2020201014 A JP 2020201014A
- Authority
- JP
- Japan
- Prior art keywords
- radiator
- cooling device
- wavelength
- angle
- infrared rays
- Prior art date
- Legal status (The legal status is an assumption and is not a legal conclusion. Google has not performed a legal analysis and makes no representation as to the accuracy of the status listed.)
- Granted
Links
Images
Classifications
-
- E—FIXED CONSTRUCTIONS
- E04—BUILDING
- E04B—GENERAL BUILDING CONSTRUCTIONS; WALLS, e.g. PARTITIONS; ROOFS; FLOORS; CEILINGS; INSULATION OR OTHER PROTECTION OF BUILDINGS
- E04B1/00—Constructions in general; Structures which are not restricted either to walls, e.g. partitions, or floors or ceilings or roofs
- E04B1/62—Insulation or other protection; Elements or use of specified material therefor
- E04B1/74—Heat, sound or noise insulation, absorption, or reflection; Other building methods affording favourable thermal or acoustical conditions, e.g. accumulating of heat within walls
- E04B1/76—Heat, sound or noise insulation, absorption, or reflection; Other building methods affording favourable thermal or acoustical conditions, e.g. accumulating of heat within walls specifically with respect to heat only
-
- F—MECHANICAL ENGINEERING; LIGHTING; HEATING; WEAPONS; BLASTING
- F24—HEATING; RANGES; VENTILATING
- F24F—AIR-CONDITIONING; AIR-HUMIDIFICATION; VENTILATION; USE OF AIR CURRENTS FOR SCREENING
- F24F1/00—Room units for air-conditioning, e.g. separate or self-contained units or units receiving primary air from a central station
- F24F1/0007—Indoor units, e.g. fan coil units
- F24F1/009—Indoor units, e.g. fan coil units characterised by heating arrangements
- F24F1/0093—Indoor units, e.g. fan coil units characterised by heating arrangements with additional radiant heat-discharging elements, e.g. electric heaters
-
- F—MECHANICAL ENGINEERING; LIGHTING; HEATING; WEAPONS; BLASTING
- F24—HEATING; RANGES; VENTILATING
- F24F—AIR-CONDITIONING; AIR-HUMIDIFICATION; VENTILATION; USE OF AIR CURRENTS FOR SCREENING
- F24F5/00—Air-conditioning systems or apparatus not covered by F24F1/00 or F24F3/00, e.g. using solar heat or combined with household units such as an oven or water heater
Landscapes
- Engineering & Computer Science (AREA)
- Physics & Mathematics (AREA)
- Architecture (AREA)
- Chemical & Material Sciences (AREA)
- Combustion & Propulsion (AREA)
- Mechanical Engineering (AREA)
- General Engineering & Computer Science (AREA)
- Acoustics & Sound (AREA)
- Life Sciences & Earth Sciences (AREA)
- Sustainable Development (AREA)
- Electromagnetism (AREA)
- Civil Engineering (AREA)
- Structural Engineering (AREA)
- Cooling Or The Like Of Electrical Apparatus (AREA)
- Building Environments (AREA)
- Devices For Blowing Cold Air, Devices For Blowing Warm Air, And Means For Preventing Water Condensation In Air Conditioning Units (AREA)
- Shielding Devices Or Components To Electric Or Magnetic Fields (AREA)
Abstract
Description
図1は、本実施形態の冷却装置1を建物の屋根に設置した使用例を表す図である。図2は、本発明の第1実施形態に係る冷却装置1を示す図である。
図2に示すように、本実施形態に係る冷却装置1は、収容部2と、放射体3と、を有して構成される。本実施形態に係る冷却装置1は、例えば建物の冷房装置として用いられる。具体的には、例えば、図1に示すように建物の屋根等に設置されて上空へ向けて放射冷却を行う。
図3に示すように、大気中の赤外線の透過率は赤外線の波長によって異なり、例えば8〜13μmの波長の赤外線は大気には吸収されにくく、大部分が透過される。このような大気を透過可能な波長域は、大気の窓と呼ばれる。したがって、8〜13μmの波長の赤外線を水平よりも上方に向けて放射すれば、熱エネルギーを効率よく宇宙空間に放出することができる。
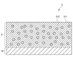
放射体3は、例えば図4に示すように、ポリマー層31と、金属反射層32とからなる。ポリマー層31は、複数の誘電体粒子311を分散媒312中に分散させて構成される。誘電体粒子311の粒径や材質、あるいは分散媒の物性を適当に選択することで、所望の波長選択性が得られる。
分散媒312は、8〜13μmの波長の赤外線を透過させうる材料で構成することが好ましい。大気の窓から熱エネルギーを効率よく宇宙空間に放出させるためである。
波長選択性を有する構造としては、例えば、本実施形態の放射体の他、MIM(metal-insulator-metal)構造、キャビティ構造も利用することができる。
放射体3の形状により、放射の効率が変化する。すなわち、放射体3に凹凸構造を設けることで、放射体3の表面積を増大させて、放出する熱エネルギーの量を増加させることができる。ただし、凹凸構造を有することによって、自身から放射された赤外線を再吸収してしまうことも考えられる。そのため放射体3は、表面積を増大させつつ、自身から放射された赤外線を再吸収する量が少なくなるような形状および構成であることが好ましい。
赤外線は放射体3上の各点から放射状に放射される。図6(a)に示すように、面34aから放射される赤外線は、そのまま空気中に向けて進む成分Aと、対向する面34bに向けて進む成分Bが存在する。放射体3の谷部33の向かい合う面34a、34bの波長選択性が同じ場合には、成分Bは対向する面34bに吸収される。
同様に、図8および図9中に示す角度θ1α,θ2α,...(α=a,b)は、放射体3の面34a上の点1,2,...から放射される赤外線の角度成分群が、放射体3の面34aとなす角度のうち、空気中に放射されない赤外線成分の最大の角度を示す。このうち、図8は面34aから面34bに対して放射する成分を示し、図9は面34bから反射して面34aに入射する成分を示す。ここで、面34aをn分割する点を点1,2,...nとすると、nを大きくするほど面34aからの放射を精度よく考慮できる。図8および9では、面34aを5分割し、点1から5までの5点について図示している。
上述したように、図6の平面内で考えれば、放射体3の面積項はL/cosθで表される。よってθの増加に伴って、面積項は1/cosθ倍となるから、0°<θ<90°において図10に示すように増加していく。またθ=0のときの面積項を1とする。
θ=0°、すなわち放射体3が凹凸構造を有しない平面構造である場合、放射体3から放射された赤外線はすべて空気中に放出されることとなる。したがって、θk=0°であり、角度項は180°/180°=1である。
これは、式(1)で表される赤外線総量Pを計算したものであり、図10および11に示す面積項および角度項を掛け合わせたものに比例する。角度項はn=5として幾何光学の原理に基づき、入射角と反射角が等しくなる点を算出した。また、θ=0°、すなわち放射体3が凹凸構造を有しない平面構造である場合の放射量を1とする。
冷却装置1を建物過密である都市部で導入すれば、ヒートアイランド現象の緩和にも繋がる可能性がある。さらには、本実施形態の冷却装置1を用いて、蓄冷システムとしてもよい。
図13は、本発明の第2実施形態に係る放射体103を表す図である。
本発明の第2実施形態に係る冷却装置101は、第1実施形態と比較して、放射体3の形状が異なる。第2実施形態に係る放射体103は、放射体3の蛇腹構造が、前記所定方向に直交する方向にも山部と谷部が交互に連続して配置されて構成される。すなわち、四角錐が連続して並ぶ形状となる。これにより、放射体3の表面積が増大するため、冷却効率がさらに向上する。また図13下部には、線分X1X2を通り四角錐の底面に垂直な面における、放射体103の断面を示している。
図14は、本発明の第3実施形態に係る放射体203を表す図である。
本発明の第3実施形態に係る冷却装置201は、第2実施形態に係る放射体103において、四角錐でなく四角錐台が並んで構成される。この形態においても、凹凸構造を有しない場合と比較して放射体の表面積が増大するため、冷却効率が向上する。また図14下部には、線分Y1Y2を通り四角錐台の上面および底面に垂直な面における、放射体203の断面を示している。
なお、第1実施形態において蛇腹構造の連続する方向に台形が連続して並ぶような構成としても、同様な効果が得られる。
2 収容部
3,103,203 放射体
31 ポリマー層
311 誘電体粒子
312 分散媒
32 金属反射層
33 谷部
34a,b 谷部の向かい合う面
35 山部
4 熱交換チューブ
5 大気の窓
6 建物
7 太陽光発電パネル
10 冷却システム
Claims (8)
- 特定波長の電磁波を選択的に放射可能であるとともに、表面に凹凸構造を有する放射体を備える、冷却装置。
- 前記凹凸構造は、山部と谷部が所定方向に交互に連続して配置された構造であり、
前記谷部を構成するとともに対向する2つの面は、それぞれ異なる波長選択性を有する、請求項1に記載の冷却装置。 - 前記凹凸構造は、山部と谷部が所定方向に交互に連続して配置された構造であり、
前記谷部を構成するとともに対向する2つの面は、同一の波長選択性を有し、
前記2つの面が前記所定方向に延びる面に対してなす角の大きさは同一であり、前記なす角の大きさは75°以上90°未満である、請求項1に記載の冷却装置。 - 前記2つの面のうち少なくとも一方の面から放射される電磁波の波長は、大気の透過率がゼロより大きい波長領域を一部含む、請求項2または3に記載の冷却装置。
- 前記2つの面から放射される電磁波の波長は、ともに大気の透過率がゼロより大きい波長領域を一部含む、請求項2〜4のいずれかに記載の冷却装置。
- 前記放射体は、ポリマー層と、前記ポリマー層に積層される金属反射層と、を有して構成され、
前記ポリマー層は、分散媒と、前記分散媒に分散される複数の誘電体粒子と、を有し、
前記誘電体粒子は、二酸化ケイ素、炭酸カルシウム、炭化ケイ素、酸化亜鉛、二酸化チタンおよびアルミナからなる群より選択される少なくとも1種からなる、請求項1〜5のいずれかに記載の冷却装置。 - 前記分散媒は、4−メチル−1−ペンテンポリマー、4−メチル−1−ペンテンコポリマー、ポリフッ化ビニルおよびポリエチレンテレフタレートからなる群より選択される少なくとも1種からなる、請求項6に記載の冷却装置。
- 屋外に設置されるとともに、
前記放射体は、宇宙空間に向けて水平よりも上方に放射するよう設置される、請求項1〜7のいずれかに記載の冷却装置。
Priority Applications (2)
| Application Number | Priority Date | Filing Date | Title |
|---|---|---|---|
| JP2019109723A JP6733010B1 (ja) | 2019-06-12 | 2019-06-12 | 冷却装置 |
| PCT/JP2020/012374 WO2020250536A1 (ja) | 2019-06-12 | 2020-03-19 | 冷却装置 |
Applications Claiming Priority (1)
| Application Number | Priority Date | Filing Date | Title |
|---|---|---|---|
| JP2019109723A JP6733010B1 (ja) | 2019-06-12 | 2019-06-12 | 冷却装置 |
Related Child Applications (1)
| Application Number | Title | Priority Date | Filing Date |
|---|---|---|---|
| JP2020049725A Division JP2020201031A (ja) | 2020-03-19 | 2020-03-19 | 冷却装置 |
Publications (2)
| Publication Number | Publication Date |
|---|---|
| JP6733010B1 JP6733010B1 (ja) | 2020-07-29 |
| JP2020201014A true JP2020201014A (ja) | 2020-12-17 |
Family
ID=71738628
Family Applications (1)
| Application Number | Title | Priority Date | Filing Date |
|---|---|---|---|
| JP2019109723A Expired - Fee Related JP6733010B1 (ja) | 2019-06-12 | 2019-06-12 | 冷却装置 |
Country Status (2)
| Country | Link |
|---|---|
| JP (1) | JP6733010B1 (ja) |
| WO (1) | WO2020250536A1 (ja) |
Cited By (1)
| Publication number | Priority date | Publication date | Assignee | Title |
|---|---|---|---|---|
| KR20240071570A (ko) * | 2022-11-16 | 2024-05-23 | 주식회사 휴비스 | 도전성 폴리에스테르 복합섬유 및 그의 제조방법 |
Families Citing this family (2)
| Publication number | Priority date | Publication date | Assignee | Title |
|---|---|---|---|---|
| JP7474216B2 (ja) * | 2021-03-22 | 2024-04-24 | 大阪瓦斯株式会社 | 放射冷却式遮光装置 |
| BE1030564B1 (nl) * | 2022-05-25 | 2024-01-03 | Patrick Brants | Klimaatreguleringssysteem voor een gebouw |
Citations (8)
| Publication number | Priority date | Publication date | Assignee | Title |
|---|---|---|---|---|
| JP2002090080A (ja) * | 2000-09-12 | 2002-03-27 | Takeo Saito | マイクロ複合放物面集光(cpc)型放射冷却器 |
| JP2005047486A (ja) * | 2003-07-16 | 2005-02-24 | Nissan Motor Co Ltd | 内装吸放熱構造 |
| JP2005527775A (ja) * | 2002-05-28 | 2005-09-15 | ラトス、ゴードン | 放射エネルギー・ポンプ装置及び方法 |
| JP2012122648A (ja) * | 2010-12-07 | 2012-06-28 | Ishinoyu Co Ltd | 室内環境調整システム |
| JP2016188715A (ja) * | 2015-03-30 | 2016-11-04 | イムラ・ジャパン株式会社 | 放射冷却装置および冷却光利用システム |
| WO2017151514A1 (en) * | 2016-02-29 | 2017-09-08 | The Regents Of The University Of Colorado, A Body Corporate | Radiative cooling structures and systems |
| JP2018526599A (ja) * | 2015-06-18 | 2018-09-13 | ザ トラスティーズ オブ コロンビア ユニヴァーシティ イン ザ シティ オブ ニューヨーク | 放射冷却および加熱用のシステムならびに方法 |
| JP2020053285A (ja) * | 2018-09-27 | 2020-04-02 | 株式会社Lixil | 輻射ヒーター及び輻射ヒーターシステム |
-
2019
- 2019-06-12 JP JP2019109723A patent/JP6733010B1/ja not_active Expired - Fee Related
-
2020
- 2020-03-19 WO PCT/JP2020/012374 patent/WO2020250536A1/ja not_active Ceased
Patent Citations (8)
| Publication number | Priority date | Publication date | Assignee | Title |
|---|---|---|---|---|
| JP2002090080A (ja) * | 2000-09-12 | 2002-03-27 | Takeo Saito | マイクロ複合放物面集光(cpc)型放射冷却器 |
| JP2005527775A (ja) * | 2002-05-28 | 2005-09-15 | ラトス、ゴードン | 放射エネルギー・ポンプ装置及び方法 |
| JP2005047486A (ja) * | 2003-07-16 | 2005-02-24 | Nissan Motor Co Ltd | 内装吸放熱構造 |
| JP2012122648A (ja) * | 2010-12-07 | 2012-06-28 | Ishinoyu Co Ltd | 室内環境調整システム |
| JP2016188715A (ja) * | 2015-03-30 | 2016-11-04 | イムラ・ジャパン株式会社 | 放射冷却装置および冷却光利用システム |
| JP2018526599A (ja) * | 2015-06-18 | 2018-09-13 | ザ トラスティーズ オブ コロンビア ユニヴァーシティ イン ザ シティ オブ ニューヨーク | 放射冷却および加熱用のシステムならびに方法 |
| WO2017151514A1 (en) * | 2016-02-29 | 2017-09-08 | The Regents Of The University Of Colorado, A Body Corporate | Radiative cooling structures and systems |
| JP2020053285A (ja) * | 2018-09-27 | 2020-04-02 | 株式会社Lixil | 輻射ヒーター及び輻射ヒーターシステム |
Cited By (1)
| Publication number | Priority date | Publication date | Assignee | Title |
|---|---|---|---|---|
| KR20240071570A (ko) * | 2022-11-16 | 2024-05-23 | 주식회사 휴비스 | 도전성 폴리에스테르 복합섬유 및 그의 제조방법 |
Also Published As
| Publication number | Publication date |
|---|---|
| WO2020250536A1 (ja) | 2020-12-17 |
| JP6733010B1 (ja) | 2020-07-29 |
Similar Documents
| Publication | Publication Date | Title |
|---|---|---|
| US12061056B2 (en) | Radiative cooling with solar spectrum reflection | |
| US11408689B2 (en) | Structures for radiative cooling | |
| WO2020250536A1 (ja) | 冷却装置 | |
| CA1251253A (en) | High-efficiency task heater | |
| US20100206523A1 (en) | Internal cooling system for a radome | |
| US11162712B2 (en) | Solar light utilization apparatus and solar light utilization system | |
| US4716882A (en) | Solar heat collector | |
| JP2020201031A (ja) | 冷却装置 | |
| JP2020193799A (ja) | 建築物用冷却装置および建築物用冷却システム | |
| KR102560227B1 (ko) | 냉온열 복합 생산 유닛 | |
| US20220307730A1 (en) | Devices and methods for concentrated radiative cooling | |
| JP5170538B2 (ja) | 熱線トランス | |
| JP2013104615A (ja) | 遠赤外線放射および/または吸収装置および室内環境調整システム | |
| KR101484019B1 (ko) | 태양광 집열기능이 구비된 블라인드 | |
| JP3209975U (ja) | 屋根構造 | |
| JPS6062515A (ja) | 放射冷却壁,屋根材 | |
| JPS61119948A (ja) | 太陽熱集熱器 | |
| RU2119632C1 (ru) | Отражатель теплового излучения | |
| CN115468212A (zh) | 一种基于高温热源定向辐射的追踪人体采暖设备 | |
| JPS5819014B2 (ja) | 太陽熱コレクタ−用ヒ−トパイプ | |
| JPH0139198B2 (ja) | ||
| CN112344571A (zh) | 一种腔式光子晶体选择性吸收辐射器 | |
| JPS5833463B2 (ja) | シユウネツソウチ | |
| JP2001194011A (ja) | 3次元複合放物面集光(cpc)型集熱器 | |
| JPS608656A (ja) | 太陽熱集熱器 |
Legal Events
| Date | Code | Title | Description |
|---|---|---|---|
| A621 | Written request for application examination |
Free format text: JAPANESE INTERMEDIATE CODE: A621 Effective date: 20191216 |
|
| A871 | Explanation of circumstances concerning accelerated examination |
Free format text: JAPANESE INTERMEDIATE CODE: A871 Effective date: 20191216 |
|
| A975 | Report on accelerated examination |
Free format text: JAPANESE INTERMEDIATE CODE: A971005 Effective date: 20200110 |
|
| A131 | Notification of reasons for refusal |
Free format text: JAPANESE INTERMEDIATE CODE: A131 Effective date: 20200121 |
|
| A521 | Request for written amendment filed |
Free format text: JAPANESE INTERMEDIATE CODE: A523 Effective date: 20200319 |
|
| TRDD | Decision of grant or rejection written | ||
| A01 | Written decision to grant a patent or to grant a registration (utility model) |
Free format text: JAPANESE INTERMEDIATE CODE: A01 Effective date: 20200609 |
|
| A61 | First payment of annual fees (during grant procedure) |
Free format text: JAPANESE INTERMEDIATE CODE: A61 Effective date: 20200708 |
|
| R150 | Certificate of patent or registration of utility model |
Ref document number: 6733010 Country of ref document: JP Free format text: JAPANESE INTERMEDIATE CODE: R150 |
|
| S111 | Request for change of ownership or part of ownership |
Free format text: JAPANESE INTERMEDIATE CODE: R313111 |
|
| R350 | Written notification of registration of transfer |
Free format text: JAPANESE INTERMEDIATE CODE: R350 |
|
| LAPS | Cancellation because of no payment of annual fees |
