JP2020184896A - 海苔脱水スポンジ用洗浄装置 - Google Patents

海苔脱水スポンジ用洗浄装置 Download PDF

Info

Publication number
JP2020184896A
JP2020184896A JP2019090036A JP2019090036A JP2020184896A JP 2020184896 A JP2020184896 A JP 2020184896A JP 2019090036 A JP2019090036 A JP 2019090036A JP 2019090036 A JP2019090036 A JP 2019090036A JP 2020184896 A JP2020184896 A JP 2020184896A
Authority
JP
Japan
Prior art keywords
seaweed
sponge
lattice
dehydration sponge
movable plate
Prior art date
Legal status (The legal status is an assumption and is not a legal conclusion. Google has not performed a legal analysis and makes no representation as to the accuracy of the status listed.)
Granted
Application number
JP2019090036A
Other languages
English (en)
Other versions
JP6653781B1 (ja
Inventor
伸行 西
Nobuyuki Nishi
伸行 西
美隆 赤井
Yoshitaka Akai
美隆 赤井
Current Assignee (The listed assignees may be inaccurate. Google has not performed a legal analysis and makes no representation or warranty as to the accuracy of the list.)
AKAI KOSAKUSHO KK
Original Assignee
AKAI KOSAKUSHO KK
Priority date (The priority date is an assumption and is not a legal conclusion. Google has not performed a legal analysis and makes no representation as to the accuracy of the date listed.)
Filing date
Publication date
Application filed by AKAI KOSAKUSHO KK filed Critical AKAI KOSAKUSHO KK
Priority to JP2019090036A priority Critical patent/JP6653781B1/ja
Priority to KR1020190092957A priority patent/KR102359835B1/ko
Application granted granted Critical
Publication of JP6653781B1 publication Critical patent/JP6653781B1/ja
Publication of JP2020184896A publication Critical patent/JP2020184896A/ja
Active legal-status Critical Current
Anticipated expiration legal-status Critical

Links

Images

Classifications

    • BPERFORMING OPERATIONS; TRANSPORTING
    • B08CLEANING
    • B08BCLEANING IN GENERAL; PREVENTION OF FOULING IN GENERAL
    • B08B3/00Cleaning by methods involving the use or presence of liquid or steam
    • B08B3/04Cleaning involving contact with liquid
    • B08B3/041Cleaning travelling work
    • B08B3/042Cleaning travelling work the loose articles or bulk material travelling gradually through a drum or other container, e.g. by helix or gravity
    • AHUMAN NECESSITIES
    • A23FOODS OR FOODSTUFFS; TREATMENT THEREOF, NOT COVERED BY OTHER CLASSES
    • A23LFOODS, FOODSTUFFS OR NON-ALCOHOLIC BEVERAGES, NOT OTHERWISE PROVIDED FOR; PREPARATION OR TREATMENT THEREOF
    • A23L17/00Food-from-the-sea products; Fish products; Fish meal; Fish-egg substitutes; Preparation or treatment thereof
    • A23L17/60Edible seaweed
    • BPERFORMING OPERATIONS; TRANSPORTING
    • B08CLEANING
    • B08BCLEANING IN GENERAL; PREVENTION OF FOULING IN GENERAL
    • B08B3/00Cleaning by methods involving the use or presence of liquid or steam
    • B08B3/04Cleaning involving contact with liquid
    • B08B3/10Cleaning involving contact with liquid with additional treatment of the liquid or of the object being cleaned, e.g. by heat, by electricity or by vibration
    • B08B3/102Cleaning involving contact with liquid with additional treatment of the liquid or of the object being cleaned, e.g. by heat, by electricity or by vibration with means for agitating the liquid

Landscapes

  • Life Sciences & Earth Sciences (AREA)
  • Marine Sciences & Fisheries (AREA)
  • Zoology (AREA)
  • Health & Medical Sciences (AREA)
  • Nutrition Science (AREA)
  • Chemical & Material Sciences (AREA)
  • Engineering & Computer Science (AREA)
  • Food Science & Technology (AREA)
  • Polymers & Plastics (AREA)
  • Edible Seaweed (AREA)
  • Accessory Of Washing/Drying Machine, Commercial Washing/Drying Machine, Other Washing/Drying Machine (AREA)
  • Cleaning By Liquid Or Steam (AREA)

Abstract

【課題】 従来の構成によっては、汚れた海苔脱水スポンジを内部まで完全に洗浄することはできず、衛生上の問題が生ずる恐れがあった。【解決手段】 本発明に係る構成は、洗浄槽2と、海苔脱水スポンジ挿入空間2jと、前記海苔脱水スポンジ挿入空間の一端面を形成し、前記海苔脱水スポンジ挿入空間を狭める方向及び広げる方向に移動自在に設けられてなり、格子枠9bと格子9c9dとを有してなる可動板9と、駆動手段と、を備え、前記可動板は、前記海苔脱水スポンジ挿入空間を狭める方向に移動しながら、前記格子が前記海苔脱水スポンジ挿入空間に挿入された前記海苔脱水スポンジの一部分と圧接して、前記格子により形成されてなる貫通格子空間9eから前記海苔脱水スポンジ内部の水を排出させる動作と、その後前記海苔脱水スポンジ挿入空間を広げる方向に移動する動作と、を繰り返すことを特徴とする。【選択図】 図5

Description

本発明は、海苔の製造工程において生海苔の脱水に使用した海苔脱水スポンジの洗浄に用いられる、海苔脱水スポンジ用洗浄装置に関する。
従来の海苔脱水スポンジ用洗浄装置としては、特許文献1に記載された海苔生地脱水用スポンジ洗浄機があるが、その機構の概略は、スポンジを洗浄するための洗浄槽と、洗浄槽にスポンジとともに貯留した洗浄水を撹拌するための撹拌機構と、洗浄槽に洗浄水を供給するための洗浄水供給機構と、洗浄槽から洗浄水を排出するための洗浄水排出機構と、撹拌機構、洗浄水供給機構、洗浄水排出機構を制御するための制御装置とを具備するものである。
実登第3162604号公報 実開昭57−184791号公報
従来技術は、洗浄槽内に設けられた撹拌翼の回動により、洗浄槽内の洗浄水を撹拌し、該撹拌による水流の力によりスポンジの洗浄を行うものであった。
しかし、従来技術によっては、生海苔の脱水工程においてスポンジ内部に入り込んだ海苔屑等を十分にスポンジの外に排出し、スポンジを十分に洗浄することは困難であった。
そのため、汚れた海苔脱水スポンジを内部まで完全に洗浄することはできず、該海苔脱水スポンジを再度海苔の脱水に使用することで、衛生上の問題が生ずる恐れがあった。
また、ローラーを用いて洗浄した場合には、ローラーがスポンジ表面の全体を押圧しながら移動するため、スポンジ表面に摩耗や擦り切れが生じ、洗浄工程を繰り返すことによる海苔脱水スポンジの寿命の低下を促進するという課題があった。
そこで、上記課題を解決する手段として本発明に係る海苔脱水スポンジ用洗浄装置は、海苔の製造工程において生海苔を脱水するために用いられる海苔脱水スポンジを洗浄するために使用される海苔脱水スポンジ用洗浄装置であって、水を貯留可能な洗浄槽と、前記洗浄槽の内部であって、前記海苔脱水スポンジが挿入可能に形成されてなる海苔脱水スポンジ挿入空間と、前記海苔脱水スポンジ挿入空間の一端面を形成し、前記海苔脱水スポンジ挿入空間を狭める方向及び広げる方向に移動自在に設けられてなり、格子枠と格子枠内に形成されてなる格子とを有してなる可動板と、前記可動板を移動させる駆動手段と、を備え、前記可動板は、前記海苔脱水スポンジ挿入空間を狭める方向に移動しながら、前記格子が前記海苔脱水スポンジ挿入空間に挿入された前記海苔脱水スポンジの一部分と圧接して、前記格子により形成されてなる貫通格子空間から前記海苔脱水スポンジ内部の水を排出させる動作と、その後前記海苔脱水スポンジ挿入空間を広げる方向に移動する動作と、を繰り返すことを特徴とする。
前記海苔脱水スポンジは、海苔の製造工程において、海苔簀の上に広げられた生海苔に対して押し付けて生海苔を脱水するために用いられるスポンジである。一般に海苔脱水スポンジは、海苔簀と略同形状の比較的厚さの薄い四角柱形状となっている。
しかし、本発明に係る海苔脱水スポンジ用洗浄装置は、前記形状の海苔脱水スポンジのみならず、前記貫通格子空間よりも大きさの大きい海苔脱水スポンジであれば使用することができ、本発明の効果を奏する。
前記海苔脱水スポンジ挿入空間は、前記洗浄槽の中に形成されてなり、その一端面を前記可動板によって形成されてなる。
前記海苔脱水スポンジ挿入空間には、前記海苔脱水スポンジを挿入することができ、前記海苔脱水スポンジ挿入空間に挿入された前記海苔脱水スポンジは、前記可動板の移動動作によって、その一部分が前記可動板と圧接して押し洗いがなされる。
また、前記海苔脱水スポンジ挿入空間には、前記海苔脱水スポンジを1若しく複数挿入することができる。
前記可動板は、前記洗浄槽内に配設されてなり、前記格子枠と前記格子とを有してなる。また、前記格子の隙間及び前記格子と前記格子枠との隙間には、前記貫通格子空間が形成されてなる。
なお、ここで、格子とは、縦方向及び横方向に形成された桟に限られるものではなく、例えば、斜めに交わる桟や、桟と桟との間に多角形状の貫通格子空間を形成する構成、桟と桟との間に、円や楕円形状を形成する構成等にすることができる。
前記駆動手段は、前記可動板を、前記海苔脱水スポンジ挿入空間を狭める方向及び広げる方向に移動させることができる。
また、ここでの可動板の移動方向は、略水平方向、略鉛直方向、斜め方向その他の様々な方向とすることができる。
前記駆動手段には例えばシャフトネジなど種々の手段を用いることができ、動力源としては、モーターや手回し機構などを採用することができる。
前記駆動手段を駆動させることで、前記可動板は、予め設定されたストロークで前記海苔脱水スポンジ挿入空間を狭める方向へと移動し、その後、前記海苔脱水スポンジ挿入空間を広げる方向に移動する。
前記貫通格子空間は、前記可動板を構成する前記格子を構成する部材同士の隙間に形成されてなる。一例を示すと、格子が縦及び横に形成されてなる場合は、複数の縦桟と複数の横桟との間には、可動板の厚み方向に貫通して形成されてなる複数の空間が生ずる。前記複数の空間のそれぞれが前記貫通格子空間である。
なお、ここで、前記貫通格子空間には、前記格子と前記格子枠との間において、可動板の厚み方向に貫通して形成されてなる空間も含むこととする。
また、前記貫通格子空間の幅は、前記格子を構成する桟の幅と比較して十分に広くなっている。このため、前記可動板の前記移動動作により、該可動板の前記格子と前記海苔脱水スポンジの一部分とが圧接して、前記海苔脱水スポンジが押縮められた際、スポンジ内部の水を前記貫通格子空間から十分に排出することができる。
本発明に係る上記構成によれば、前記可動板が前記海苔脱水スポンジ挿入空間を狭める方向に移動するのに伴って、水が貯留された前記洗浄槽の内部において前記可動板と前記海苔脱水スポンジの一部分とが圧接する。そのまま前記可動板が前記海苔脱水スポンジ挿入空間を狭める方向に移動し続けると、前記海苔脱水スポンジは前記洗浄槽の壁面に当接し、該壁面と前記可動板とによって押縮められる。
この時、汚水を内部に吸収していた前記海苔脱水スポンジは、内部に蓄えていた汚水を前記海苔脱水スポンジの外部へと放出する。ここで、前記可動板は前記格子枠と前記格子とから形成されていることにより、前記海苔脱水スポンジ表面の一部分とのみ当接している。これにより、前記海苔脱水スポンジと前記可動板とが当接していない前記貫通格子空間から、容易に汚水が前記海苔脱水スポンジの外部へと放出され、前記海苔脱水スポンジが押し洗いされる。
この構成によれば、前記格子によって部分的に押縮められた前記海苔脱水スポンジは、前記海苔脱水スポンジの内部から前記貫通格子空間に向って水を押し出すため、前記海苔脱水スポンジの内部に付着した汚れを従来よりも効果的に除去することができる。
これに対し、例えば前記海苔脱水スポンジ表面の全体に圧接して押し洗いを行っても、前記海苔脱水スポンジ内部の水は前記海苔脱水スポンジの外縁から押し出されるだけである。そのため、前記海苔脱水スポンジの中央部分の内部に付着した汚れを前記海苔脱水スポンジの外へ排出して除去することは難しい。
なお、前記海苔脱水スポンジは、前記可動板の移動動作によって生じる水流によって、前記海苔脱水スポンジ挿入空間内で前記可動板の移動方向とは異なる方向へと僅かにずらすことができる。
これにより、前記海苔脱水スポンジと前記可動板とが圧接する部分が、圧接する度に異なる部分となり、効果的に前記海苔脱水スポンジの押し洗いが可能となる。
さらに、前記可動板が前記格子枠と前記格子とから形成されていることにより、前記海苔脱水スポンジの一部分と前記可動板とが圧接して、前記海苔脱水スポンジを押した際に、前記貫通格子空間が水の逃げ道となるため、本発明に係る海苔脱水スポンジ用洗浄装置にかかる負荷を軽減することができる。
また、前記可動板の移動方向に沿って前記可動板を2以上設けるとともに、隣り合う前記可動板の移動動作の周期を半周期ずつずらした場合には、一定時間内の前記海苔脱水スポンジの一部分と前記可動板とが圧接する動作回数を2倍とすることができ、より高速な前記海苔脱水スポンジの洗浄が可能となる。
また、本発明に係る海苔脱水スポンジ用洗浄装置は、前記洗浄槽から水を完全に排出した状態で、前記駆動手段を駆動して前記可動板の移動動作をさせることで、前記海苔脱水スポンジの一部分と前記可動板とが圧接し、前記海苔脱水スポンジが押縮められ、前記海苔脱水スポンジ内部に吸収されていた水を排出し、前記海苔脱水スポンジを脱水することができる。
また、本発明に係る海苔脱水スポンジ用洗浄装置は、前記洗浄槽の内部に、前記海苔脱水スポンジ挿入空間の他端面を形成するように前記可動板と平行に固設されてなる固定板を備え、前記固定板は、前記固定板の枠を形成してなる固定板格子枠と、前記固定板格子枠内において格子に形成されてなる固定板格子と、を有してなり、前記可動板は、前記海苔脱水スポンジ挿入空間を狭める方向に移動しながら、前記格子と前記固定板格子とが前記海苔脱水スポンジ挿入空間に挿入された前記海苔脱水スポンジの一部分と圧接して、前記貫通格子空間と前記固定板格子により形成されてなる固定板貫通格子空間とから前記海苔脱水スポンジ内部の水を排出させる動作と、その後前記海苔脱水スポンジ挿入空間を広げる方向に移動する動作と、を繰り返すこととしても良い。
前記固定板は、前記洗浄槽の内部に配設されてなり、前記海苔脱水スポンジ挿入空間の他端面を形成するように、前記可動板と平行に固設されてなる。また、前記固定板格子枠と前記固定板格子とを有してなり、前記固定板格子の隙間及び前記固定板格子と前記固定板格子枠との隙間には、前記固定板貫通格子空間が形成されてなる。
また、前記固定板貫通格子空間の幅は、前記固定板格子の幅と比較して十分に広くなっている。このため、前記可動板の前記移動動作により、該可動板の前記格子と前記海苔脱水スポンジの表面の一部分とが圧接して、前記可動板と前記固定板とにより前記海苔脱水スポンジが押縮められた際、前記海苔脱水スポンジと部分的に圧接する固定板は、スポンジ内部の水を前記固定板貫通格子空間から十分に排出することができる。
なお、ここで、固定板格子とは、縦方向及び横方向に形成された桟に限られるものではなく、例えば、斜めに交わる桟や、桟と桟との間に多角形状の固定板貫通格子空間を形成する構成、桟と桟との間に、円や楕円形状の固定板貫通格子空間を形成する構成等にすることができる。
本発明に係る上記構成によれば、前記可動板が前記海苔脱水スポンジ挿入空間を狭める方向に移動するのに伴って、水が貯留された前記洗浄槽の内部において前記可動板と前記海苔脱水スポンジの一部分とが圧接する。この際、前記可動板から圧力を受けた前記海苔脱水スポンジは、前記可動板に対して反対の方向即ち固定板の方向へ移動する。そのまま前記可動板が前記海苔脱水スポンジ挿入空間を狭める方向に移動し続けると、前記海苔脱水スポンジは、前記固定板に当接し、該固定板と前記可動板とによって押縮められる。
この時、汚水を内部に吸収していた前記海苔脱水スポンジは、内部に蓄えていた汚水を前記海苔脱水スポンジ外部へと放出する。ここで、前記可動板は前記格子枠と前記格子とから形成されていることにより、前記海苔脱水スポンジ表面の一部分とのみ当接している。また同様に、前記固定板は前記固定板格子枠と前記固定板格子とから形成されていることにより、前記海苔脱水スポンジ表面の一部分とのみ当接している。これにより、前記海苔脱水スポンジと前記可動板とが当接していない前記貫通格子空間と、前記海苔脱水スポンジと前記固定板とが当接していない前記固定板貫通格子空間とから前記海苔脱水スポンジの内部に蓄えられた水が前記海苔脱水スポンジの外部へと放出される。
さらに、前記可動板が前記格子枠と前記格子とから形成されていること、及び、前記固定板が前記固定板格子枠と前記固定板格子とから形成されていることにより、前記海苔脱水スポンジの一部分と前記可動板及び前記固定板が圧接して、前記海苔脱水スポンジを押縮めた際に、前記貫通格子空間と前記固定板貫通格子空間とが水の逃げ道となるため、本発明に係る海苔脱水スポンジ用洗浄装置にかかる負荷を軽減することができる。
また、前記可動板と前記固定板とを有してなる構成にあっても、前記洗浄槽から水を完全に排出した状態で、前記駆動手段を駆動して前記可動板の移動動作をさせることで、前記海苔脱水スポンジの一部分と前記可動板とが圧接し、同様に、前記海苔脱水スポンジの一部分と前記固定板とが圧接し、前記可動板及び前記固定板により前記海苔脱水スポンジが押縮められ、前記海苔脱水スポンジ内部に蓄えられていた水を排出し、前記海苔脱水スポンジを脱水することができる。
この際、前記海苔脱水スポンジの内部に蓄えられていた水は、主に、前記貫通格子空間と、前記固定板貫通格子空間とから排出される。
さらに、本発明に係る海苔脱水スポンジ用洗浄装置は、前記洗浄槽の内部において、前記可動板の移動方向に沿って、前記可動板及び前記固定板が交互に配設されてなることが好ましい。
ここでの配置方法は、前記可動板の移動方向に沿って、前記可動板及び前記固定板を交互に配設することができる。一例を示すと、前記可動板の移動方向を前記洗浄槽の長手方向として、前記洗浄槽内部に前記可動板の移動方向に沿って、可動板―固定板―可動板―固定板―可動板―固定板と配置することができる。
前記の通り、前記可動板及び前記固定板を交互に配設することとすると、配設された可動板及び固定板の可動板―固定板間のそれぞれに前記海苔脱水スポンジ挿入空間が形成される。そして、それぞれの前記海苔脱水スポンジ挿入空間において、前記可動板及び前記固定板と前記海苔脱水スポンジの一部分とが圧接して、前記海苔脱水スポンジが押縮められ、前記海苔脱水スポンジの洗浄が行われる。これにより、より多くの前記海苔脱水スポンジを同時に洗浄することができる。
また、本発明に係る海苔脱水スポンジ用洗浄装置は、前記可動板が、前記海苔脱水スポンジ挿入空間の側周面のうちの一端面を形成するように略鉛直方向に縦設されてなり、前記洗浄槽の上端に配設されてなり、前記洗浄槽の上端を開閉自在に閉塞してなる蓋と、前記蓋の内側面に配設されてなり、前記海苔脱水スポンジ挿入空間に向かって突設されてなる海苔脱水スポンジ浮き上がり防止部材と、を備えることとしても好ましい。
前記蓋は、前記洗浄槽の上端を開閉自在に閉塞してなる。また、前記蓋は、前記洗浄槽の上端を開閉自在に閉塞可能なものであれば種々の構成を採用することができる。前記蓋は、例えば、前記洗浄槽から着脱自在とされているものや、前記洗浄槽の一部と回動自在に軸着されてなるものなどを採用し得る。
前記海苔脱水スポンジ浮き上がり防止部材は、水で満たされた前記海苔脱水スポンジ挿入空間に対して挿入された前記海苔脱水スポンジが前記洗浄槽の水面に浮上することを防止する部材であって、前記蓋の内側面に配設されてなり、前記海苔脱水スポンジ挿入空間に向って突設されてなる。
前記海苔脱水スポンジ浮き上がり防止部材として、例えば、前記蓋の内側面に配設されてなり、前記海苔脱水スポンジ挿入空間に対して挿入されてなる前記海苔脱水スポンジと直交する方向に突設されてなる突設バーなどを用いることができる。
上記の構成とすることで、前記洗浄槽の内側側壁と縦設されてなる前記可動板と、複数配設されてなる前記可動板のうちの一の可動板と他の可動板と、又は、前記可動板に対して平行に配設されてなる前記固定板と縦設されてなる可動板と、が前記海苔脱水スポンジの一部分と圧接する際に、前記海苔脱水スポンジが水面に浮上して、十分に押し洗いができないという事態を防止することができる。
さらに、本発明に係る海苔脱水スポンジ用洗浄装置は、前記洗浄槽の底面に配設されてなり、前記海苔脱水スポンジ挿入空間に挿入された前記海苔脱水スポンジと前記底面との間に隙間を生じさせる隙間部材を備えることとしても好ましい。
前記隙間部材として、一例を示すと、前記海苔脱水スポンジ挿入空間に挿入された前記海苔脱水スポンジと直交する向きに配設されてなり、前記洗浄槽の底面から突設されてなる突設バーなどを用いることができる。
前記隙間部材を有する構成では、前記洗浄槽から水を完全に排水した状態で、本発明に係る海苔脱水スポンジ用洗浄装置を駆動し、前記海苔脱水スポンジを前記可動板の移動動作により押縮め、脱水する工程において、前記海苔脱水スポンジと前記洗浄槽の底面との間に隙間が形成されてなることから、前記海苔脱水スポンジから排出された汚水を再度前記海苔脱水スポンジが吸収することを防止することができる。
またさらに、本発明に係る海苔脱水スポンジ用洗浄装置は、前記洗浄槽に貯留された水に対して微小気泡の送出を可能とする微小気泡生成装置を有してなることが好ましい。
ここでいう微小気泡とは、数マイクロメートル〜数十マイクロメートルの大きさの気泡を含む多数の気泡であることが好ましい。
ここでの微小気泡生成装置としては、周知の技術を採用することができ、具体例を示すと、細孔方式、気液混合・せん断方式、加圧溶解方式、他超音波方式、超高速旋回方式等を用いることができる。
前記微小気泡生成装置を有してなる構成では、前記可動板の移動動作にともなって、スポンジが押縮められた後、押縮められた前記スポンジが水を吸収して膨張する際に、前記洗浄槽内に存在する前記微小気泡を前記海苔脱水スポンジ内部へと吸収する。
これにより、前記海苔脱水スポンジ内部で微小気泡が汚れを浮き立たせることにより、より高い洗浄効果が発揮される。
さらに、本発明に係る海苔脱水スポンジ用洗浄装置は、前記洗浄槽に対して給水が可能な給水手段と、前記洗浄槽の内部に貯留された水の排出が可能な排水手段と、を有してなることが好ましい。
前記給水手段としては、種々の構成を採用することができるが、具体例を示すと、バルブを使用して市水を前記洗浄槽の内部へ送出する等の構成を採用することができる。
前記排水手段としては、種々の構成を採用することができるが、具体例を示すと、前記洗浄槽の底面に排水孔を設ける等の構成を採用することができる。
前記給水手段と前記排水手段とを備えた構成にあっては、前記洗浄槽に対して前記給水手段を使用して容易に給水が可能となり、前記洗浄槽から排水する際には、前記排水手段を使用して容易に排水が可能となる。
またさらに、所定回数前記海苔脱水スポンジを押し洗いした後に、自動で洗浄槽から水が排水される構成とした場合には、当該排水後に再度、前記駆動手段を駆動し、前記可動板を移動動作させることで、本発明に係る海苔脱水スポンジ用洗浄装置を用いて、前記海苔脱水スポンジの洗浄から脱水までを自動で行うことができる。
本発明に係る海苔脱水スポンジ用洗浄装置によれば、前記格子枠と前記格子を有してなる可動板と前記海苔脱水スポンジとが圧接し、前記海苔脱水スポンジが押縮められて、前記海苔脱水スポンジと可動板とが当接していない前記貫通格子空間から、容易に汚水が前記海苔脱水スポンジの外部へと放出されることにより、前記海苔脱水スポンジに付着した内部の汚れを従来よりも効果的に除去することができる。
さらに、前記可動板が前記格子枠と前記格子とから形成されていることにより、前記海苔脱水スポンジの一部分と前記可動板とが圧接して、前記海苔脱水スポンジを押した際に、前記貫通格子空間が水の逃げ道となるため、前記海苔脱水スポンジ用洗浄装置にかかる負荷を軽減することができる。
またさらに、本発明に係る海苔脱水スポンジ用洗浄装置は、前記洗浄槽から水を完全に排出した状態で前記駆動手段を駆動させ、前記可動板の移動動作をさせることで、前記海苔脱水スポンジの一部分と前記可動板とが圧接し、前記海苔脱水スポンジが押縮められ、前記海苔脱水スポンジ内部に蓄えられていた水を前記貫通格子空間から排出し、前記海苔脱水スポンジを脱水することができる。
さらに、前記可動板及び前記固定板を交互に配設することとすると、複数の連続して配設された前記可動板―前記固定板間のそれぞれの前記海苔脱水スポンジ挿入空間において、前記可動板及び前記固定板と前記海苔脱水スポンジとが圧接して、前記海苔脱水スポンジが押縮められ、前記海苔脱水スポンジの洗浄が行われる。これにより、より多くの前記海苔脱水スポンジを同時に洗浄することができる。
本願発明によれば、可動板がスポンジの表面に対して垂直に押圧して、押し洗いを行うことにより、スポンジ表面の摩耗や擦り切れを発生させることがなく、洗浄工程を繰り返しても、海苔脱水スポンジの寿命の低下が生じることがない。
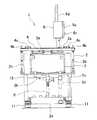
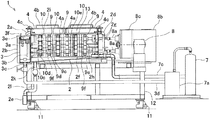
海苔脱水スポンジ用洗浄装置1の正面図である。 海苔脱水スポンジ用洗浄装置1の左側面図である。 海苔脱水スポンジ用洗浄装置1の平面図である。 海苔脱水スポンジ用洗浄装置1の斜視図である。 海苔脱水スポンジ用洗浄装置1の蓋4を開いた状態の斜視図である。 海苔脱水スポンジ13の形状の一例を示す斜視図である。 可動板9の海苔脱水スポンジ13と接触する面を正面から見た図である。 固定板10の海苔脱水スポンジ13と接触する面を正面から見た図である。 可動板9及び固定板10の具体的な設置状態の一例を示す斜視図である。 可動板9及び固定板10が海苔脱水スポンジ13と圧接している状態を示す断面図である。 図3におけるA―A線断面図である。 発明を実施するための形態における海苔脱水スポンジ用洗浄装置1の流れ図である。
以下、本発明に係る実施の形態を、図を参照しながら詳しく説明する。なお、本明細書及び図面において、実質的に同一の機能構成を有する構成要素については、同一の符号を付することにより重複説明を省略する。
図1は、本発明に係る海苔脱水スポンジ用洗浄装置1の全体の概略を示す正面図である。
海苔脱水スポンジ用洗浄装置1は、例えば、4本の脚の下端に車輪11が配設されてなる載置台12と、載置台12の上に載置されてなり水を貯留可能な洗浄槽2と、洗浄槽2の隣に配設されてなり洗浄槽2からオーバーフローした水を貯留可能なオーバーフロー槽3と、洗浄槽2に貯留された水に対して微小気泡の送出を可能とする微小気泡生成装置7と、洗浄槽2内部に配設されてなる可動板9を移動させる駆動手段であるモーター8と、海苔脱水スポンジ用洗浄装置1を制御する制御盤5と、海苔脱水スポンジ用洗浄装置1を操作する操作盤6とを備えてなる。
洗浄槽2は、洗浄槽2に対して給水が可能な給水手段である、給水ホース2c及び給水バルブ2dと、前記洗浄槽2の内部に貯留された水の排出が可能な排水手段である排水孔2k及び排水ホース2lと、洗浄槽2から水があふれるのを防止するオーバーフロー部2aと、洗浄槽2の上端に配設されてなり、洗浄槽2の上端において洗浄槽を閉塞することができるように軸着部4cを中心に開閉自在に軸着されてなる蓋4とを有してなる。
蓋4は、洗浄槽2の上方に向って軸着部4cを中心として観音開きが可能となるように2枚設けられており、それぞれの蓋4の洗浄槽2に対する外側面の正面端部及び背面端部に把手4bが配設されてなる。さらに、それぞれの蓋4の洗浄槽2に対する内側面には、海苔脱水スポンジ挿入空間2iに向って、海苔脱水スポンジ挿入空間2iに挿入された海苔脱水スポンジ13と垂直となる方向に長さを有する海苔脱水スポンジ浮き上がり防止部材である浮き上がり防止バー4aが複数突設されてなる。
また、洗浄槽2の内部には、海苔脱水スポンジ挿入空間2iの側周面のうちの一端面を形成するように略鉛直方向に縦設されてなり、海苔脱水スポンジ挿入空間2iを狭める方向及び広げる方向に移動自在に設けられてなる可動板9と、海苔脱水スポンジ挿入空間2iの他端面を形成するように可動板9と平行に固設されてなる固定板10とが、可動板9の移動方向に沿って交互に配設されてなる。
なお、可動板9は、格子枠9bと、格子枠9b内に形成されてなる格子である可動板縦桟9c及び可動板横桟9dとを有し、可動板縦桟9c及び可動板横桟9dの間と格子及び格子枠9bの間とに可動板9の移動方向に貫通してなる貫通格子空間9eが形成されてなる。さらに、可動板9の上端の角にはローラー9aが配設されてなり、ローラー9aは図9に示すように洗浄槽2内壁に設けられたレール2jと当接している。またさらに、図7に示すように、可動板9とシャフトネジ8aとが交差する部分には、シャフト固着部9fが配設されてなる。
また、固定板10は、固定板10の枠を形成してなる固定板格子枠10bと、固定板格子枠10b内に形成されてなる固定板格子である固定板縦桟10c及び固定板横桟10dとを有し、固定板縦桟10c及び固定板10横の間と固定板格子及び固定板格子枠10bの間とに可動板9の移動方向に貫通してなる固定板貫通格子空間10eが形成されてなる。さらに、図8に示すように、固定板10の四隅には洗浄槽2の内側側壁と螺着可能な螺着部10aが配設されてなり、螺着部10aによって、固定板10は洗浄槽2内部に固定されている。
またさらに、洗浄槽2内部において、交互に配設されてなる可動板9と固定板10との間には、海苔脱水スポンジ13が挿入可能な海苔脱水スポンジ挿入空間2iが複数形成されてなる。
なお、図11に示すように、洗浄槽2の底面は、排水孔2kに向ってなだらかに下降する傾斜となっている。
さらに、洗浄槽2内部には、可動板9の移動方向に沿って、洗浄槽2の底面に配設されてなり、海苔脱水スポンジ挿入空間2iに挿入された海苔脱水スポンジ13と底面との間に隙間を生じさせる隙間部材である隙間バー2fと、可動板9の移動方向に沿って、洗浄槽2の上下方向下半部に配設されてなり、海苔脱水スポンジ13の右方向への位置ずれを防止する右位置決めバー2hと、可動板9の移動方向に沿って、洗浄槽2の上下方向中間部に配設されてなり、海苔脱水スポンジ13の左方向への位置ずれを防止する左位置決めバー2gとが設けられている。
可動板9の移動を可能とする駆動手段は、モーター8と、ギアが内部に配設されてなるギアボックス8cと、シャフトネジ8aと、シャフト受8bと、先端シャフト受2bとを有してなる。その動作は、モーター8の動作に連動してギアが回転し、ギアがシャフトネジ8aを可動板9の移動方向に沿って移動させるものである。ここで、シャフト受8bは、シャフトネジ8aがモーター8に近接する方向に移動した時に、洗浄槽2から突出するシャフトネジ8aによって事故が起きないようにシャフトネジ8aを遮蔽するものであり、先端シャフト受2bは、シャフトネジ8aがモーター8と離間する方向に移動した時に、洗浄槽2から突出するシャフトネジ8aによって事故が起きないようにシャフトネジ8aを遮蔽するものである。
オーバーフロー槽3は、その上端面に配設されてなり、オーバーフロー部2aから溢れだした水を濾過することができる濾過網3eと、濾過網3eのオーバーフロー槽3に対する外側面に配設されてなる濾過網把手3fと、オーバーフロー槽3の内部に配設されてなり、オーバーフロー槽3内部の水量が上限に達したことを検知することができる上センサー3aと、オーバーフロー槽3の内部に配設されてなり、オーバーフロー槽3内部の水量が下限に達したことを検知することができる下センサー3bと、オーバーフロー槽3の内部底面に配設されてなり、オーバーフロー槽3の水を排出可能な循環孔3cとを有してなる。
循環孔3cには、循環ホース3dが連接されてなり、循環孔3cから排出された水が、微小気泡発生装置と連接されてなるポンプ7aへと送出される。
微小気泡生成装置7は、循環ホース3dから水の汲み上げが可能なポンプ7aと、一端が微小気泡生成装置7に接続され、他端が微小気泡吐出し口7bに接続されてなり、微小気泡生成装置7によって生成された微小気泡を含有する水を洗浄槽2へと送る微小気泡ホース7cと、洗浄槽2へ微小気泡を含有する水を吐き出す微小気泡吐出し口7bを有してなる。
操作盤6は、操作盤6の正面に配設されてなるタッチパネル6aと、操作盤6の正面であってタッチパネル6aの下側に配設されてなる操作ボタン6b及び切替スイッチ6cと、操作盤6の平面に配設されてなり、操作盤6の平面に対して垂直に長さを有するシグナルタワー6dとを有してなる。
海苔脱水スポンジ用洗浄装置1の使用者は、操作盤6に配設されてなるタッチパネル6a、操作ボタン6b、切替スイッチ6cを操作することにより、海苔脱水スポンジ用洗浄装置1を稼働させることができる。
本発明に係る海苔脱水スポンジ用洗浄装置1の実施をするための形態の一例では本発明に係る海苔脱水スポンジ13洗浄装置の自動洗浄の場合の動作を図12に示す流れ図に沿って説明する。
その一方で、本発明は自動洗浄を可能とする構成に限定されるものではなく、例えば操作盤6を用いて洗浄メニューを選択し、所望のメニューを実施することができる構成や、動力源として、手回し機構を採用した構成などを採用することができる。
まず、使用済みの海苔脱水スポンジ13を洗浄しようとする海苔脱水スポンジ用洗浄装置1の使用者は、洗浄槽2内部に、可動板9及び固定板10によって形成されてなる海苔脱水スポンジ挿入空間2iに、海苔脱水スポンジ13を挿入する。
ここで、本実施形態に係る海苔脱水スポンジ用洗浄装置1は、図11に示すように、3つの可動板9と3つの固定板10が交互に配設されてなり、それぞれの固定板10及び可動板9の間に、合計で5つの海苔脱水スポンジ挿入空間2iが形成されてなる。
また、図5に示すように、一つの海苔脱水スポンジ挿入空間2iは、海苔脱水スポンジ13を2枚ずつ、2列に分けて合計で4枚挿入することができる。したがって、本実施形態に係る海苔脱水スポンジ用洗浄装置1は、洗浄槽2内部に最大20枚の海苔脱水スポンジ13を挿入することができ、最大20枚の海苔脱水スポンジ13を同時に洗浄することができる。
給水動作ST1では、市水等の水が給水ホース2c及び給水バルブ2dを通って、洗浄槽2へと送出される。
これにより、洗浄水が洗浄槽2に自動で貯留されることとなり、使用者は、手動で洗浄槽2に給水する手間が省ける。
給水動作ST1によって、洗浄槽2内部に給水がなされると、洗浄槽2に水が貯留され、この状態で水を送出し続けると、洗浄槽2の上端部に配設されてなるオーバーフロー部2aから水が溢れ、オーバーフロー槽3に水が貯留される。
前記水が溢れた状態で、給水動作ST1を続けると、オーバーフロー槽3の水位が高くなり、オーバーフロー槽3内部上方に配設されてなる上センサー3aが水を検知する。
上センサー3aが水を検知すると、自動で給水動作が停止されるST2。これにより、オーバーフロー槽3から水が溢れだすことを防止することができる。
給水が停止すると、モーター8が稼働するST3。モーター8が稼働すると、モーター8の作用によって、ギアボックス8c内に設けられたギアが回転する。このギアの回転動作に連動して、ギアボックス8c、洗浄槽2を貫通して配設されてなるシャフトネジ8aが軸方向に沿って往復運動を開始する。
シャフトネジ8aが往復運動を開始すると、シャフト固着部9fを介してシャフトネジ8aと固着されてなる可動板9がシャフトネジ8aの往復運動と同一ストロークで海苔脱水スポンジ挿入空間2iを狭める方向及び海苔脱水スポンジ挿入空間2iを広げる方向に移動する動作を繰り返す。
この際、レール2jに当接しているローラー9aが回転しながら、可動板9の移動に伴って移動する。
海苔脱水スポンジ挿入空間2iに挿入された海苔脱水スポンジ13は、可動板9が海苔脱水スポンジ挿入空間2iを狭める方向に移動したときには、圧接部13aにおいて、可動板縦桟9c及び可動板横桟9d並びに固定板縦桟10c及び固定板横桟10dと部分的に圧接し、押縮められる。また、海苔脱水スポンジ挿入空間2iに挿入された海苔脱水スポンジ13は、可動板9が海苔脱水スポンジ挿入空間2iを広げる方向に移動したときには、押縮められていた状態が開放され、洗浄槽2内に貯留されていた水を吸収し膨張する。
そして、海苔脱水スポンジ13は、上記押縮められた状態と、水を吸収し膨張した状態とを繰り返すことにより押し洗いがなされる。これにより、海苔脱水スポンジ13の内部に入り込んでいた海苔屑などを水排出部13bから排出し、海苔脱水スポンジ13の洗浄が可能となる。
なお、海苔脱水スポンジ13は、可動板9の移動動作によって生じる水流によって、海苔脱水スポンジ挿入空間2i内で可動板9の移動方向とは異なる方向へと僅かにずれる。
これにより、海苔脱水スポンジ13と可動板9及び固定板10との圧接部13aが、圧接する度に異なる部分となり、効果的に海苔脱水スポンジ13の押し洗いがなされることとなる。
モーター8が稼働するとほぼ同時に、洗浄水循環動作ST4が行われる。
洗浄水循環動作ST4では、ホーバーフロー部から溢れた水が、循環孔3c及び循環ホース3dを通じて、微小気泡生成装置7と連接されてなるポンプ7aへと送出される。次に、ポンプ7aによって汲み上げられた水が、微小気泡生成装置7へと送出されて、該水に微小気泡が生成される。そして、微小気泡送出動作ST5によって、微小気泡を包含する水が、微小気泡ホース7c及び微小気泡吐出し口7bを通じて、洗浄槽2内へと吐き出される。
ここで、オーバーフロー部2aから溢れた水は、オーバーフロー槽3の上方に配設されてなる濾過網3eを通過する。このときに、オーバーフロー部2aから溢れた水に含まれていた海苔屑等のゴミは、濾過される。したがって、洗浄水循環動作ST4及び微小気泡送出動作ST5を介して、洗浄槽2内へと吐き出される水は濾過がなされており、かつ、微小気泡を包含するものとなる。
次に、設定時間の駆動が終了すると、モーターストップ動作ST6がなされる。
モーターストップ動作ST6により、モーター8が停止すると、モーター8と連動して回転していたギアの動作が停止し、同時にシャフトネジ8aの往復運動が停止する。これにより、シャフトネジ8aと固着されてなる可動板9の動作が停止する。
その次に、モーター8の動作が停止すると、排水動作ST7がなされる。
排水動作ST7では、排水孔2k及び排水ホース2lを通って、洗浄槽2内の水が洗浄槽2の外へと排出される。ここで、排水ホース2lの排水孔2kと反対側の端部は、排水マニホールド2eが接続されてなるため、排水マニホールド2eが接続されていない場合と比較して速い排水が可能となる。
この排水動作ST7によって、海苔脱水スポンジ13の内部から排出された海苔屑などのゴミが、洗浄槽2内の水とともに、洗浄槽2の外側へと排出される。
その後は、ここまでの、給水動作ST1から排水動作ST7までを一洗浄単位として、設定回数の洗浄動作Xが繰り返される。
次に、設定回数の洗浄が終了したら、モーター稼働動作ST8がなされる。なお、この際、排水動作ST7の直後であるため洗浄槽2の内部に水は貯留されていない。
モーター稼働動作ST8では、設定時間のモーター稼働がなされ、モーター8と連動してギアが回転し、ギアによってシャフトネジ8aが往復運動をする。当該シャフトネジ8aの往復運動によって、シャフトネジ8aに固着されてなる可動板9が、海苔脱水スポンジ挿入空間2iを狭める方向及び海苔脱水スポンジ挿入空間2iを広げる方向に繰り返し移動する。
これによって、可動板9が海苔脱水スポンジ挿入空間2iを狭める方向に移動した際に、海苔脱水スポンジ13は可動板縦桟9c及び可動板横桟9dと固定板縦桟10c及び固定板横桟10dと圧接し、海苔脱水スポンジ13が押縮められる。このとき、押縮められた海苔脱水スポンジ13に吸収されていた水が、主に、貫通格子空間9eと固定板貫通格子空間10eとから排出され、海苔脱水スポンジ13の脱水が行われる。
そして、設定時間の駆動が終了すると、モーターストップ動作ST9がなされる。
モーターストップ動作ST9により、モーター8と連動していたギアの回転が停止し、ギアと連動していたシャフトネジ8aの往復運動が停止し、そして、シャフトネジ8aに固着されていた可動板9の移動動作が停止する。
これにより、モーター稼働動作ST8及びモーターストップ動作ST9が終了し、脱水動作Yが終了される。
これにより、給水動作ST1からモーターストップ動作ST9までが終了し、洗浄動作X及び脱水動作Yが終了する。
1 海苔脱水スポンジ用洗浄装置
2 洗浄槽
2a オーバーフロー部
2b 先端シャフト受
2c 給水ホース
2d 給水バルブ
2e 排水マニホールド
2f 隙間バー
2g 左位置決めバー
2h 右位置決めバー
2i 海苔脱水スポンジ挿入空間
2j レール
2k 排水孔
2l 排水ホース
3 オーバーフロー槽
3a 上センサー
3b 下センサー
3c 循環孔
3d 循環ホース
3e 濾過網
3f 濾過網把手
4 蓋
4a 浮き上がり防止バー
4b 把手
4c 軸着部
5 制御盤
6 操作盤
6a タッチパネル
6b 操作ボタン
6c 切替スイッチ
6d シグナルタワー
7 微小気泡生成装置
7a ポンプ
7b 微小気泡吐出し口
7c 微小気泡ホース
8 モーター
8a シャフトネジ
8b シャフト受
8c ギアボックス
9 可動板
9a ローラー
9b 格子枠
9c 可動板縦桟
9d 可動板横桟
9e 貫通格子空間
9f シャフト固着部
10 固定板
10a 螺着部
10b 固定板格子枠
10c 固定板縦桟
10d 固定板横桟
10e 固定板貫通格子空間
11 車輪
12 載置台
13 海苔脱水スポンジ
13a 圧接部
13b 水排出部
そこで、上記課題を解決する手段として本発明に係る海苔脱水スポンジ用洗浄装置は、海苔の製造工程において生海苔を脱水するために用いられる海苔脱水スポンジを洗浄するために使用される海苔脱水スポンジ用洗浄装置であって、水を貯留可能な洗浄槽と、前記洗浄槽の内部であって、前記海苔脱水スポンジが挿入可能であると共に、前記海苔脱水スポンジが挿入された状態において、前記海苔脱水スポンジが前記可動板の移動方向とは異なる方向にずれ動くことができる海苔脱水スポンジ挿入空間と、前記洗浄槽の上端に配設されてなり、前記洗浄槽の上端を開閉自在に閉塞してなる蓋と、前記蓋の内側面に配設されてなり、前記海苔脱水スポンジ挿入空間に向かって突設されてなる海苔脱水スポンジ浮き上がり防止部材と、前記海苔脱水スポンジ挿入空間の一端面を形成し、前記海苔脱水スポンジ挿入空間を狭める方向及び広げる方向に移動自在に設けられてなり、格子枠と格子枠内に形成されてなる格子とを有してなる可動板と、前記可動板を移動させる駆動手段と、を備え、前記可動板は、前記海苔脱水スポンジ挿入空間を狭める方向に移動しながら、前記格子が前記海苔脱水スポンジ挿入空間に挿入された前記海苔脱水スポンジの一部分と圧接して、前記格子により形成されてなる貫通格子空間から前記海苔脱水スポンジ内部の水を排出させる動作と、その後前記海苔脱水スポンジ挿入空間を広げる方向に移動する動作と、を繰り返すと共に、前記海苔脱水スポンジのずれ動きにより、前記可動板と前記海苔脱水スポンジとの圧接する部分が、圧接する度に異なる部分となることを特徴とする。
また、本発明に係る海苔脱水スポンジ用洗浄装置は、前記洗浄槽の内部に、前記海苔脱水スポンジ挿入空間の他端面を形成するように前記可動板と平行に固設されてなる固定板を備え、前記固定板は、前記固定板の枠を形成してなる固定板格子枠と、前記固定板格子枠内において格子に形成されてなる固定板格子と、を有してなり、前記可動板は、前記海苔脱水スポンジ挿入空間を狭める方向に移動しながら、前記格子と前記固定板格子とが前記海苔脱水スポンジ挿入空間に挿入された前記海苔脱水スポンジの一部分と圧接して、前記貫通格子空間と前記固定板格子により形成されてなる固定板貫通格子空間とから前記海苔脱水スポンジ内部の水を排出させ
る動作と、その後前記海苔脱水スポンジ挿入空間を広げる方向に移動する動作と、を繰り返すと共に、前記海苔脱水スポンジのずれ動きにより、前記可動板及び前記固定板と、前記海苔脱水スポンジとの圧接する部分が、圧接する度に異なる部分となることとしても良い。
そこで、上記課題を解決する手段として本発明に係る海苔脱水スポンジ用洗浄装置は、海苔の製造工程において生海苔を脱水するために用いられる海苔脱水スポンジを洗浄するために使用される海苔脱水スポンジ用洗浄装置であって、水を貯留可能な洗浄槽と、前記洗浄槽の内部であって、前記海苔脱水スポンジが挿入可能であると共に、前記海苔脱水スポンジが挿入された状態において、前記海苔脱水スポンジが可動板の移動方向とは異なる方向にずれ動くことができる海苔脱水スポンジ挿入空間と、前記洗浄槽の上端に配設されてなり、前記洗浄槽の上端を開閉自在に閉塞してなる蓋と、前記蓋の内側面に配設されると共に、前記海苔脱水スポンジ挿入空間に向かって突設されてなり、前記海苔脱水スポンジが前記洗浄槽の水面に浮き上がるのを防止する海苔脱水スポンジ浮き上がり防止部材と、前記海苔脱水スポンジ挿入空間の一端面を形成し、前記海苔脱水スポンジ挿入空間を狭める方向及び広げる方向に移動自在に設けられてなり、格子枠と格子枠内に形成されてなる格子とを有してなる可動板と、前記可動板を移動させる駆動手段と、を備え、前記可動板は、前記海苔脱水スポンジ挿入空間を狭める方向に移動しながら、前記格子が前記海苔脱水スポンジ挿入空間に挿入された前記海苔脱水スポンジの一部分と圧接して、前記格子により形成されてなる貫通格子空間から前記海苔脱水スポンジ内部の水を排出させる動作と、その後前記海苔脱水スポンジ挿入空間を広げる方向に移動する動作と、を繰り返すと共に、前記海苔脱水スポンジのずれ動きにより、前記可動板と前記海苔脱水スポンジとの圧接する部分が、圧接する度に異なる部分となることを特徴とする。

Claims (7)

  1. 海苔の製造工程において生海苔を脱水するために用いられる海苔脱水スポンジを洗浄するために使用される海苔脱水スポンジ用洗浄装置であって、
    水を貯留可能な洗浄槽と、
    前記洗浄槽の内部であって、前記海苔脱水スポンジが挿入可能に形成されてなる海苔脱水スポンジ挿入空間と、
    前記海苔脱水スポンジ挿入空間の一端面を形成し、前記海苔脱水スポンジ挿入空間を狭める方向及び広げる方向に移動自在に設けられてなり、格子枠と格子枠内に形成されてなる格子とを有してなる可動板と、
    前記可動板を移動させる駆動手段と、を備え、
    前記可動板は、
    前記海苔脱水スポンジ挿入空間を狭める方向に移動しながら、前記格子が前記海苔脱水スポンジ挿入空間に挿入された前記海苔脱水スポンジの一部分と圧接して、前記格子により形成されてなる貫通格子空間から前記海苔脱水スポンジ内部の水を排出させる動作と、その後前記海苔脱水スポンジ挿入空間を広げる方向に移動する動作と、を繰り返す
    ことを特徴とする海苔脱水スポンジ用洗浄装置。
  2. 前記洗浄槽の内部に、前記海苔脱水スポンジ挿入空間の他端面を形成するように前記可動板と平行に固設されてなる固定板を備え、
    前記固定板は、
    前記固定板の枠を形成してなる固定板格子枠と、前記固定板格子枠内において格子に形成されてなる固定板格子と、を有してなり、
    前記可動板は、
    前記海苔脱水スポンジ挿入空間を狭める方向に移動しながら、前記格子と前記固定板格子とが前記海苔脱水スポンジ挿入空間に挿入された前記海苔脱水スポンジの一部分と圧接して、前記貫通格子空間と前記固定板格子により形成されてなる固定板貫通格子空間とから前記海苔脱水スポンジ内部の水を排出させる動作と、その後前記海苔脱水スポンジ挿入空間を広げる方向に移動する動作と、を繰り返す
    ことを特徴とする請求項1に記載の海苔脱水スポンジ用洗浄装置。
  3. 前記洗浄槽の内部において、前記可動板の移動方向に沿って、前記可動板及び前記固定板が交互に配設されてなる
    ことを特徴とする請求項2に記載の海苔脱水スポンジ用洗浄装置。
  4. 前記可動板は、
    前記海苔脱水スポンジ挿入空間の側周面のうちの一端面を形成するように略鉛直方向に縦設されてなり、
    前記洗浄槽の上端に配設されてなり、前記洗浄槽の上端を開閉自在に閉塞してなる蓋と、
    前記蓋の内側面に配設されてなり、前記海苔脱水スポンジ挿入空間に向かって突設されてなる海苔脱水スポンジ浮き上がり防止部材と、を備える
    ことを特徴とする請求項1〜請求項3のいずれか一つに記載の海苔脱水スポンジ用洗浄装置。
  5. 前記洗浄槽の底面に配設されてなり、前記海苔脱水スポンジ挿入空間に挿入された前記海苔脱水スポンジと前記底面との間に隙間を生じさせる隙間部材を備える
    ことを特徴とする請求項1〜請求項4のいずれか一つに記載の海苔脱水スポンジ用洗浄装置。
  6. 前記洗浄槽に貯留された水に対して微小気泡の送出を可能とする微小気泡生成装置を有してなる
    ことを特徴とする請求項1〜請求項5のいずれか一つに記載の海苔脱水スポンジ用洗浄装置。
  7. 前記洗浄槽に対して給水が可能な給水手段と、
    前記洗浄槽の内部に貯留された水の排出が可能な排水手段と、を有してなる
    ことを特徴とする請求項1〜請求項6のいずれか一つに記載の海苔脱水スポンジ用洗浄装置。
JP2019090036A 2019-05-10 2019-05-10 海苔脱水スポンジ用洗浄装置 Active JP6653781B1 (ja)

Priority Applications (2)

Application Number Priority Date Filing Date Title
JP2019090036A JP6653781B1 (ja) 2019-05-10 2019-05-10 海苔脱水スポンジ用洗浄装置
KR1020190092957A KR102359835B1 (ko) 2019-05-10 2019-07-31 김 탈수 스펀지용 세정 장치

Applications Claiming Priority (1)

Application Number Priority Date Filing Date Title
JP2019090036A JP6653781B1 (ja) 2019-05-10 2019-05-10 海苔脱水スポンジ用洗浄装置

Publications (2)

Publication Number Publication Date
JP6653781B1 JP6653781B1 (ja) 2020-02-26
JP2020184896A true JP2020184896A (ja) 2020-11-19

Family

ID=69624529

Family Applications (1)

Application Number Title Priority Date Filing Date
JP2019090036A Active JP6653781B1 (ja) 2019-05-10 2019-05-10 海苔脱水スポンジ用洗浄装置

Country Status (2)

Country Link
JP (1) JP6653781B1 (ja)
KR (1) KR102359835B1 (ja)

Citations (7)

* Cited by examiner, † Cited by third party
Publication number Priority date Publication date Assignee Title
JPS60217885A (ja) * 1984-04-11 1985-10-31 Yoshiharu Uchihashi 乾海苔製造機の脱水用スポンジの洗浄装置
JPS62148080U (ja) * 1986-03-12 1987-09-18
JPH01211475A (ja) * 1988-02-18 1989-08-24 Hiroshi Takebe 海苔脱水スポンジの洗浄機
JP2003079343A (ja) * 2001-09-13 2003-03-18 Mitsuharu Konda モズクの殺菌洗浄方法及び装置
JP3162604U (ja) * 2010-06-25 2010-09-09 株式会社イツワ工業 海苔生地脱水用スポンジ洗浄機
US7892485B1 (en) * 2006-10-17 2011-02-22 T&M Innovations Inc. Cleaning of sponges
JP2019134692A (ja) * 2018-02-05 2019-08-15 井和工業株式会社 海苔脱水用スポンジの洗浄装置及びそれを用いた海苔脱水用スポンジの洗浄方法

Family Cites Families (1)

* Cited by examiner, † Cited by third party
Publication number Priority date Publication date Assignee Title
JPS57184791U (ja) 1981-05-15 1982-11-24

Patent Citations (7)

* Cited by examiner, † Cited by third party
Publication number Priority date Publication date Assignee Title
JPS60217885A (ja) * 1984-04-11 1985-10-31 Yoshiharu Uchihashi 乾海苔製造機の脱水用スポンジの洗浄装置
JPS62148080U (ja) * 1986-03-12 1987-09-18
JPH01211475A (ja) * 1988-02-18 1989-08-24 Hiroshi Takebe 海苔脱水スポンジの洗浄機
JP2003079343A (ja) * 2001-09-13 2003-03-18 Mitsuharu Konda モズクの殺菌洗浄方法及び装置
US7892485B1 (en) * 2006-10-17 2011-02-22 T&M Innovations Inc. Cleaning of sponges
JP3162604U (ja) * 2010-06-25 2010-09-09 株式会社イツワ工業 海苔生地脱水用スポンジ洗浄機
JP2019134692A (ja) * 2018-02-05 2019-08-15 井和工業株式会社 海苔脱水用スポンジの洗浄装置及びそれを用いた海苔脱水用スポンジの洗浄方法

Also Published As

Publication number Publication date
KR20200130052A (ko) 2020-11-18
JP6653781B1 (ja) 2020-02-26
KR102359835B1 (ko) 2022-02-07

Similar Documents

Publication Publication Date Title
JP2021010901A (ja) 高効率エアコンフィルター洗浄装置
CN104975455B (zh) 一种往复式挤压式洗衣机
CN108541964B (zh) 一种智能蔬菜清洗装置
CN115318733A (zh) 一种汽车零部件清洗装置
CN103653203A (zh) 多功能洗菜机
JP2020184896A (ja) 海苔脱水スポンジ用洗浄装置
CN112122224B (zh) 一种甘蔗叶片清洗装置
CN109044134A (zh) 一种果蔬和餐具一体化单腔室清洗箱
CN216568204U (zh) 一种腌制大头菜加工用深度清洗装置
KR100990177B1 (ko) 세척 및 탈수 장치
CN211005723U (zh) 一种新型超声波羽绒清洁装置
CN218185093U (zh) 一种便于清洗的原料搅拌装置
JP2019134692A (ja) 海苔脱水用スポンジの洗浄装置及びそれを用いた海苔脱水用スポンジの洗浄方法
CN215473269U (zh) 一种冷冻食品生产用清洗脱水一体化装置
KR101569994B1 (ko) 밀걸레 전용 세탁기 및 이를 이용한 밀걸레 세탁 장치
JP4247365B2 (ja) 板付スポンジの自動洗浄方法及び装置
CN221269090U (zh) 一种金属废料的清洗箱
CN222358896U (zh) 一种茶叶清洗机
CN119605823A (zh) 一种肉丸制作猪肉捶打粉碎设备
CN221361754U (zh) 一种易拉罐洗罐设备
CN220311184U (zh) 一种具有排渣结构的超声波清洗槽
CN215247295U (zh) 一种新型沥水货架
CN222305118U (zh) 一种压滤机的清洗装置
CN216223161U (zh) 一种格栅污水处理装置
CN222840424U (zh) 一种薯片生产用土豆清洗机

Legal Events

Date Code Title Description
A621 Written request for application examination

Free format text: JAPANESE INTERMEDIATE CODE: A621

Effective date: 20190513

A871 Explanation of circumstances concerning accelerated examination

Free format text: JAPANESE INTERMEDIATE CODE: A871

Effective date: 20190513

A975 Report on accelerated examination

Free format text: JAPANESE INTERMEDIATE CODE: A971005

Effective date: 20190530

A131 Notification of reasons for refusal

Free format text: JAPANESE INTERMEDIATE CODE: A131

Effective date: 20190625

A521 Request for written amendment filed

Free format text: JAPANESE INTERMEDIATE CODE: A523

Effective date: 20190823

A131 Notification of reasons for refusal

Free format text: JAPANESE INTERMEDIATE CODE: A131

Effective date: 20191015

A521 Request for written amendment filed

Free format text: JAPANESE INTERMEDIATE CODE: A523

Effective date: 20191216

TRDD Decision of grant or rejection written
A01 Written decision to grant a patent or to grant a registration (utility model)

Free format text: JAPANESE INTERMEDIATE CODE: A01

Effective date: 20200107

A61 First payment of annual fees (during grant procedure)

Free format text: JAPANESE INTERMEDIATE CODE: A61

Effective date: 20200128

R150 Certificate of patent or registration of utility model

Ref document number: 6653781

Country of ref document: JP

Free format text: JAPANESE INTERMEDIATE CODE: R150

R250 Receipt of annual fees

Free format text: JAPANESE INTERMEDIATE CODE: R250

R250 Receipt of annual fees

Free format text: JAPANESE INTERMEDIATE CODE: R250

R250 Receipt of annual fees

Free format text: JAPANESE INTERMEDIATE CODE: R250

R250 Receipt of annual fees

Free format text: JAPANESE INTERMEDIATE CODE: R250