JP2018519631A - 無線ネットワーク化照明システムにおける占有メッセージ通信 - Google Patents

無線ネットワーク化照明システムにおける占有メッセージ通信 Download PDF

Info

Publication number
JP2018519631A
JP2018519631A JP2017564805A JP2017564805A JP2018519631A JP 2018519631 A JP2018519631 A JP 2018519631A JP 2017564805 A JP2017564805 A JP 2017564805A JP 2017564805 A JP2017564805 A JP 2017564805A JP 2018519631 A JP2018519631 A JP 2018519631A
Authority
JP
Japan
Prior art keywords
area
light
controller
amount
lamp
Prior art date
Legal status (The legal status is an assumption and is not a legal conclusion. Google has not performed a legal analysis and makes no representation as to the accuracy of the status listed.)
Granted
Application number
JP2017564805A
Other languages
English (en)
Other versions
JP2018519631A5 (ja
JP7085842B2 (ja
Inventor
アシッシュ ヴィジェイ パンダハリパンデ
アシッシュ ヴィジェイ パンダハリパンデ
フェルナンデス ダヴィッド リカルド カイセド
フェルナンデス ダヴィッド リカルド カイセド
Current Assignee (The listed assignees may be inaccurate. Google has not performed a legal analysis and makes no representation or warranty as to the accuracy of the list.)
Signify Holding BV
Original Assignee
Signify Holding BV
Priority date (The priority date is an assumption and is not a legal conclusion. Google has not performed a legal analysis and makes no representation as to the accuracy of the date listed.)
Filing date
Publication date
Application filed by Signify Holding BV filed Critical Signify Holding BV
Publication of JP2018519631A publication Critical patent/JP2018519631A/ja
Publication of JP2018519631A5 publication Critical patent/JP2018519631A5/ja
Application granted granted Critical
Publication of JP7085842B2 publication Critical patent/JP7085842B2/ja
Expired - Fee Related legal-status Critical Current
Anticipated expiration legal-status Critical

Links

Images

Classifications

    • HELECTRICITY
    • H05ELECTRIC TECHNIQUES NOT OTHERWISE PROVIDED FOR
    • H05BELECTRIC HEATING; ELECTRIC LIGHT SOURCES NOT OTHERWISE PROVIDED FOR; CIRCUIT ARRANGEMENTS FOR ELECTRIC LIGHT SOURCES, IN GENERAL
    • H05B47/00Circuit arrangements for operating light sources in general, i.e. where the type of light source is not relevant
    • H05B47/10Controlling the light source
    • H05B47/175Controlling the light source by remote control
    • H05B47/19Controlling the light source by remote control via wireless transmission
    • HELECTRICITY
    • H05ELECTRIC TECHNIQUES NOT OTHERWISE PROVIDED FOR
    • H05BELECTRIC HEATING; ELECTRIC LIGHT SOURCES NOT OTHERWISE PROVIDED FOR; CIRCUIT ARRANGEMENTS FOR ELECTRIC LIGHT SOURCES, IN GENERAL
    • H05B47/00Circuit arrangements for operating light sources in general, i.e. where the type of light source is not relevant
    • H05B47/10Controlling the light source
    • H05B47/105Controlling the light source in response to determined parameters
    • H05B47/11Controlling the light source in response to determined parameters by determining the brightness or colour temperature of ambient light
    • HELECTRICITY
    • H05ELECTRIC TECHNIQUES NOT OTHERWISE PROVIDED FOR
    • H05BELECTRIC HEATING; ELECTRIC LIGHT SOURCES NOT OTHERWISE PROVIDED FOR; CIRCUIT ARRANGEMENTS FOR ELECTRIC LIGHT SOURCES, IN GENERAL
    • H05B47/00Circuit arrangements for operating light sources in general, i.e. where the type of light source is not relevant
    • H05B47/10Controlling the light source
    • H05B47/105Controlling the light source in response to determined parameters
    • H05B47/115Controlling the light source in response to determined parameters by determining the presence or movement of objects or living beings
    • YGENERAL TAGGING OF NEW TECHNOLOGICAL DEVELOPMENTS; GENERAL TAGGING OF CROSS-SECTIONAL TECHNOLOGIES SPANNING OVER SEVERAL SECTIONS OF THE IPC; TECHNICAL SUBJECTS COVERED BY FORMER USPC CROSS-REFERENCE ART COLLECTIONS [XRACs] AND DIGESTS
    • Y02TECHNOLOGIES OR APPLICATIONS FOR MITIGATION OR ADAPTATION AGAINST CLIMATE CHANGE
    • Y02BCLIMATE CHANGE MITIGATION TECHNOLOGIES RELATED TO BUILDINGS, e.g. HOUSING, HOUSE APPLIANCES OR RELATED END-USER APPLICATIONS
    • Y02B20/00Energy efficient lighting technologies, e.g. halogen lamps or gas discharge lamps
    • Y02B20/40Control techniques providing energy savings, e.g. smart controller or presence detection

Landscapes

  • Engineering & Computer Science (AREA)
  • Computer Networks & Wireless Communication (AREA)
  • Circuit Arrangement For Electric Light Sources In General (AREA)
  • Mobile Radio Communication Systems (AREA)

Abstract

装置10は、第1エリア1内のターゲットの存在を検出するためのターゲット検出器11と、検出された存在に応じて、無線ネットワーク化照明システム内のコントローラ20、及びランプ21乃至24にマルチキャストメッセージを送信するための送信機12とを有する。このようなマルチキャストメッセージは、前記システムの信頼性を高める。前記マルチキャストメッセージは、前記ランプ21乃至24をオンに切り替える。好ましくは、前記マルチキャストメッセージは、第2エリア2において相対的に少ない量の光が検出される場合にしか、送信されない。前記第2エリア2において相対的に多くの量の光が検出される場合には、検出された存在に応じて、前記装置10から前記コントローラ20にユニキャストメッセージが送信され、前記コントローラ20は、それに応じて、前記ランプ21乃至24をオンに切り替えられるよう制御する。前記第1エリア1及び前記第2エリア2は、少なくとも部分的に重なり合っているエリアであってもよい。前記装置10は、前記第2エリア2内の光の量を検出するための内蔵光検出器13、又は外部光検出器から光検出情報を受信するための受信機を有してもよい。

Description

本発明は、コントローラ及びランプを有する無線ネットワーク化照明システムの一部を形成するよう構成される装置に関する。本発明は、このような装置を有すると共に、前記コントローラ及び/又は1つ以上のランプを更に有するシステム、並びに方法に関する。このような装置の例は、占有センサ(occupancy sensor)、及びこのような占有センサを有するランプである。
WO 2006 / 065653 A2は、分散インテリジェンスバラストシステム及び拡張照明制御プロトコルを開示している。その0147に記載されているように、電力及び制御が、インテリジェント装置の間で分散されており、故に、コントローラの故障は、ネットワーク全体の故障を引き起こさない。それに加えて、バラストが、向上されたインテリジェンスを得ている。 拡張プロトコルが使用可能である有線ネットワーク上の各装置(バラスト)は、コントローラの役割を果たし得る。
一般に、無線ネットワーク化スマート照明システムなどの無線ネットワーク化照明システムは、中央コントローラと、分散検出装置と、分散ランプとを有する。分散検出装置は、検出結果を備える第1メッセージを集中コントローラに送信する。中央コントローラは、この第1メッセージに応じて、いくつかの分散ランプに、これらの分散ランプを制御するために、1つ以上の第2メッセージを送信する。
検出装置から中央コントローラに送信された第1メッセージが失われる又は遅れる場合には、前記幾つかのランプがオンに切り替えられない又はあまりに遅くオンに切り替えられるという問題がある。
WO 01 / 11926 A1は、無線遠隔センサを含む照明制御システムを開示している。
本発明の目的は、改善された装置を提供することである。本発明の他の目的は、システム及び改善された方法を提供することである。
第1の態様によれば、装置が提供され、前記装置は、コントローラ及びランプを有する無線ネットワーク化照明システムの一部を形成するよう構成され、前記装置は、
− 第1エリア内のターゲットの存在を検出するよう構成されるターゲット検出器と、
− 前記装置が高速応答の必要性を確認するときには、前記第1エリア内の前記ターゲットの存在の検出に応じて、前記コントローラ、及び前記ランプのうちの1つ以上にマルチキャストメッセージを送信し、前記装置が、相対的によりゆっくりとした応答が許容可能であることを確認するときには、前記コントローラにユニキャストメッセージを送信するよう構成される送信機とを有する。
上記のような装置は、上記のようにして、幾つかのランプが、オンに切り替わらないこと、又は高速切り替えの必要性があるときに遅れてオンに切り替わることをもたらし得るメッセージ損失又は遅延の影響を打ち消すよう、マルチキャスト又はユニキャストアプローチのいずれかの形態でメッセージ通信ポリシーを選択することを可能にする。
装置が提供され、前記装置は、コントローラ及びランプを有する無線ネットワーク化照明システムの一部を形成するよう構成される。このような無線ネットワーク化照明システムの例は、無線ネットワーク化スマート照明システムであり、前記コントローラは、中央コントローラであり、前記ランプは、分散ランプである。前記装置は、第1エリア内のターゲットの存在を検出するよう構成されるターゲット検出器を有すると共に、前記第1エリア内の前記ターゲットの存在の検出に応じて、前記コントローラ、及び前記ランプのうちの1つ以上にマルチキャストメッセージを送信するよう構成される送信機を有する。このような送信は、無線プロトコルによる無線送信であり、このような送信機は、無線送信機である。このような無線プロトコルの例は、ZigBee(登録商標)及び6LoWPANであるが、他の種類の無線プロトコルを除外してはいない。
前記装置から相対的に遠くに位置し得る前記コントローラ、及び前記装置の相対的に近くに位置し得る前記ランプのうちの1つ以上にマルチキャストメッセージを送信することによって、より短い並列メッセージ通信ルートが作成されている。結果として、前記第1エリア内の前記ターゲットの存在の検出がランプに知らされない又はあまりに遅くに知らされる可能性は減らされる。このような装置は、前記無線ネットワーク化照明システムの信頼性を高める。これは、大きな技術的利点である。前記ターゲットは人間又は畜牛のような動物であってもよいことに注意されたい。前記ターゲットは、物体、例えば、車又はオートバイのような車両であってもよい。WO 2006 / 065653 A2は、人間検出器及び無線送信機を有する装置からコントローラ及び1つ以上のランプへのマルチキャストメッセージの無線送信を開示していない。WO 2006 / 065653 A2において、有線ネットワークは、シリアル電力バス及びシリアル制御バスをベースにしている。
前記第1エリアは、例えば、ビルの部屋、又はビルのフロア(の一部)、又はビル(の一部)、又は道路(の一部)、又は船の船室、又は船の甲板(の一部)、又は船(の一部)などであり得る。
前記マルチキャストメッセージが、前記1つ以上のランプのうちの少なくとも1つのランプをオンに切り替えるよう構成される、前記装置の実施例が規定されている。前記第1エリア内の前記ターゲットの存在の検出に応じて、前記マルチキャストメッセージを受信した前記ランプのうちの少なくとも1つは、オンに切り替えられる。ランプをオンに切り替えることは、前記ランプの光強度をゼロレベルからゼロより大きい如何なるレベルへ増加させることも含み得る。
前記マルチキャストメッセージが、装置識別、1つ以上のランプ識別、コントローラ識別、及び検出結果を有する、前記装置の実施例が規定されている。装置識別は、前記装置を、前記マルチキャストメッセージを送信する供給源と特定する。ランプ識別は、特定のランプを、前記マルチキャストメッセージを受信する宛先のうちの1つと特定する。コントローラ識別は、前記コントローラを、前記マルチキャストメッセージを受信する宛先のうちの1つと特定する。検出結果は、前記第1エリア内の前記ターゲットの不在から存在への変化などの、検出の種類を規定する。前記マルチキャストメッセージは、更に、この第1エリアを規定し得る。
前記送信機が、第2エリアにおいて第1の量の光が検出される場合は、前記コントローラ、及び前記ランプのうちの前記1つ以上に前記マルチキャストメッセージを送信するよう構成され、前記送信機が、前記第2エリアにおいて第2の量の光が検出される場合は、前記第1エリア内の前記ターゲットの存在の検出に応じて、前記コントローラに前記ユニキャストメッセージを送信するよう構成され、前記第1の量の光が、しきい値より少なく、前記第2の量の光が、前記しきい値より多く、前記第1エリア及び前記第2エリアが、少なくとも部分的に重なり合っているエリアである、前記装置の実施例が規定されている。前記第1エリアと部分的に又は完全に一致していてもよい第2エリアにおいて、光の量が検出される。前記第2エリアにおいて相対的に少ない第1の量の光が検出される場合には、前記第1/第2エリアの中/近くにある1つ以上のランプをオンに切り替えることは、前記第1エリアに入るターゲットにとって相対的に重要であり、前記ランプに十分に通知される可能性を高めるために、前記コントローラ、及び前記ランプのうちの1つ以上に、前記マルチキャストメッセージが送信される。前記第2エリアにおいて相対的に多い第2の量の光が検出される場合には、前記第1/第2エリアの中/近くにある1つ以上のランプをオンに切り替えることは、前記第1エリアに入るターゲットにとって相対的に重要ではなく、前記ユニキャストメッセージが前記コントローラだけに送信され得る。前記相対的に少ない第1の量の光は、しきい値より少なく、前記相対的に多い第2の量の光は、前記しきい値より多い。更に、前記量の光のうちの一方は、前記しきい値と同じであってもよい。
通常、前記第2エリアにおける光の量を検出することを可能にするためには、光検出器が用いられる。このような光検出器は、内蔵検出器であってもよく、前記装置の一部を形成してもよく、前記第2エリアにおける光の量を規定する光検出情報を前記装置に供給してもよい。他の例においては、このような光検出器は、外部検出器であってもよく、前記装置の外部に位置していてもよく、その場合には、前記装置には、前記第2エリアにおける光の量を規定する前記光検出情報を前記外部光検出器から受信するための受信機が設けられるべきである。いずれの場合にも、前記マルチキャストメッセージは、検出された光の量及び/又はランプ設定を更に規定し得る。
前記装置が、占有センサを有する、前記装置の実施例が規定されている。前記装置は、占有センサの形態で製造などをされ得る。
前記装置が、ランプを有し、前記送信機が、前記コントローラ、及び他のランプのうちの1つ以上に前記マルチキャストメッセージを送信するよう構成される、前記装置の実施例が規定されている。前記装置は、ランプの形態で製造などをされ得る。
前記ランプが、前記第1エリア内の前記ターゲットの存在の検出に応じて、オンに切り替えられるよう構成され、前記マルチキャストメッセージが、前記1つ以上の他のランプのうちの少なくとも1つのランプをオンに切り替えるよう構成される、前記装置の実施例が規定されている。
前記マルチキャストメッセージが、ランプ識別、1つ以上の他のランプ識別、コントローラ識別、及び検出結果を有する、前記装置の実施例が規定されている。
前記ランプが、昼光モードにおいて、オンに切り替えられた後に最低調光レベルにとどまるよう構成される、又はオフに切り替えられないよう構成される、前記装置の実施例が規定されている。前記ランプは、前記ランプの内蔵光検出器によって前記昼光モードそれ自体を検出してもよく、又は別のランプ、外部光検出器若しくは前記コントローラによって、前記昼光モードを知らされてもよい。
前記送信機が、第2エリアにおいて第1の量の光が検出される場合は、前記コントローラ、及び前記他のランプのうちの前記1つ以上に前記マルチキャストメッセージを送信するよう構成され、前記送信機が、前記第2エリアにおいて第2の量の光が検出される場合は、前記第1エリア内の前記ターゲットの存在の検出に応じて、前記コントローラに前記ユニキャストメッセージを送信するよう構成され、前記第1の量の光が、しきい値より少なく、前記第2の量の光が、前記しきい値より多く、前記第1エリア及び前記第2エリアが、少なくとも部分的に重なり合っているエリアである、前記装置の実施例が規定されている。
前記第2エリア内の光の量を検出するよう構成される内蔵光検出器、又は前記第2エリア内の光の量を検出するよう構成される外部光検出器から光検出情報を受信するよう構成される受信機を更に有する、前記装置の実施例が規定されている。
前記第2エリアにおいて検出された光の量に対するランプ設定を算出するよう構成される計算機を更に有する、前記装置の実施例が規定されている。
通常、ランプ設定を算出するための計算機は、占有センサ又はランプの一部を形成することができ、それによって、前記占有センサ又は前記ランプは、両方とも上で記述されている、前記第2エリアにおいて検出される光の量を知らされるための、前記内蔵光検出器又は前記受信機を更に有し得る。
第2の態様によれば、上記のような装置を有すると共に、前記コントローラ、及び/又は前記ランプのうちの1つ以上を更に有するシステムが提供される。
前記ランプが、オンに切り替えられた後に最低調光レベルにとどまるよう構成される、又はオフに切り替えられないよう構成される実施例は、占有センサ又はランプの形態の装置が内蔵又は外部光検出器からの光検出情報にアクセスできない場合に、とりわけ有利である。その場合、前記ランプは、前記ランプ自身の状態(オン又はオフ)に応じて、前記マルチキャストメッセージに反応するよう決定し得る。従って、前記装置及び前記コントローラが前記光検出情報を入手可能であるか、前記コントローラのみが前記光検出情報を入手可能であるかに依存して、異なる状況があり得る。前記装置が前記光検出情報にアクセスできる場合には、前記装置は、前記コントローラにユニキャストメッセージを送信することを、又は前記コントローラ及び少なくとも1つの(他の)ランプにマルチキャストメッセージを送信することを決定することができる。前記装置が前記光検出情報にアクセスできない場合には、前記装置は、前記コントローラ及び少なくとも1つの(他の)ランプにマルチキャストメッセージを送信し、前記ランプは、次いで、オンに切り替えられた後に最低調光レベルにとどまることができる、又は次いで、オフに切り替えられないことができる。
第3の態様によれば、コントローラ及びランプを有する無線ネットワーク化照明システムを動作させる方法が提供され、前記方法は、第1エリア内のターゲットの存在を検出するステップと、高速応答の必要性が確認されるときには、前記第1エリア内の前記ターゲットの存在の検出に応じて、前記コントローラ、及び前記ランプのうちの1つ以上にマルチキャストメッセージを送信し、相対的によりゆっくりとした応答が許容可能であることが確認される場合には、前記第1エリア内の前記ターゲットの存在の検出に応じて、前記コントローラにユニキャストメッセージを送信するステップとを有する。
前記システム及び前記方法の実施例は、前記装置の実施例と一致する。更に、前記装置の実施例(の一部)及び前記装置の別の実施例(の一部)は組み合わされ得る。
基本的なアイデアは、第1エリア内のターゲットの存在の検出に応じて、マルチキャストメッセージが、コントローラ及び1つ以上のランプに送信されるというものである。
無線ネットワーク化照明システムの信頼性を高める改善された装置を提供するという課題は、解決された。他の利点は、エネルギが節約されること、及び様々なエリアを有する環境の使い勝手の良さが高められることである。
下記の実施例を参照して、本発明のこれら及び他の態様を説明し、明らかにする。
第1状況における無線ネットワーク化照明システムを示す。 第2状況における無線ネットワーク化照明システムを示す。 装置の第1実施例を示す。 装置の第2実施例を示す。 装置の第3実施例を示す。 装置の第4実施例を示す。
図1においては、第1状況における無線ネットワーク化照明システムが示されている。無線ネットワーク化スマート照明システムなどの無線ネットワーク化照明システムは、コントローラ20、ランプ21乃至24及び装置10を有する。装置10は、第1エリア1内のターゲット、例えばこの実施例においては人の存在を検出するよう構成されると共に、この特定の場合には、第2エリア2内の光の量を検出する、又は第2エリア2内で検出された光の量についての情報を受信するよう構成される。第1エリア1及び第2エリア2は、少なくとも部分的に重なり合っているエリアである。通常、これらの第1エリア1及び第2エリア2は、相対的に一致しているエリアであるだろう。
この第1状況においては、第2エリア2において検出される光の第1の量は、しきい値より小さく、装置10は、この第1状況においては、コントローラ20及びランプ21乃至24のうちの1つ以上にマルチキャストメッセージを送信するよう構成される。このマルチキャストメッセージは、このマルチキャストメッセージを受信した1つ以上のランプ21乃至24のうちの少なくとも1つのランプをオンに切り替えよう構成される。
図2においては、第2状況における無線ネットワーク化照明システムが示されている。この第2状況においては、第2エリア2において検出される光の第2の量は、しきい値より大きく、装置10は、この第2状況においては、コントローラ20にユニキャストメッセージを送信するよう構成される。コントローラ20は、このユニキャストメッセージの受信に応じて、ランプ21乃至24のうちの1つ以上をオンに切り替えるために、ランプ21乃至24のうちの1つ以上にマルチキャストメッセージを送信するだろう、又は1つ以上のランプ21乃至24のうちの関連する1つに関連するユニキャストメッセージを送信するだろう。
ランプ21乃至24は、通常、装置10から相対的に小さい距離のところに位置し、コントローラ20は、通常、装置10から相対的に大きい距離のところに位置する。第2状況において装置10からコントローラ20に送信されたユニキャストメッセージが失われる又は遅れる場合には、1つ以上のランプ21乃至24は、オンに切り替えられない、又はあまりに遅くにオンに切り替えられる。
従って、相対的に暗い第1状況においては、第1エリア1内/近くにある1つ以上のランプ21乃至24をオンに切り替えることは、第1エリア1に入る人にとって相対的に重要であり、ランプ21乃至24に十分に通知される可能性を増加させるために、マルチキャストメッセージが送信されるべきである。相対的に明るい第2状況においては、第1エリア1内/近くにある1つ以上のランプ21乃至24をオンに切り替えることは、第1エリア1に入る人にとって相対的に重要ではなく、ユニキャストメッセージが送信され得る。
各々が装置及び1つ以上のランプを有する、例えば、エリア3、4及び5などの他のエリアが存在してもよく、それによって、全てのエリア1乃至5が、ビル若しくは船、又はそれらの一部などのより大きいエリアの一部を形成してもよい。各コントローラが1つ以上のエリアを制御するより多くのコントローラも存在していてもよい。第1エリア1及び第2エリア2は、相対的に一致するエリアであってもよいが、他の状況を除外しない。第2エリア2は、例えば、第1エリア1より小さくてもよく、例えば、部屋の中央などのような光の量を検出するためにとりわけ選ばれた第1エリア1内の1つ以上の特定の場所を含み得る。他の例においては、第1エリア1は、例えば、第2エリア2より小さくてもよく、例えば、部屋の中のドアの近くの小さなエリアなどのような人の存在を検出するためにとりわけ選ばれた第2エリア2内の1つ以上の特定の場所を含み得る。エリア1、3、4、5ごとに2つ以上の装置10が存在していてもよい。
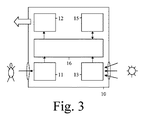
図3においては、装置の第1実施例が示されている。例えば占有センサなどの装置10は、図1及び2において示されている第1エリア1内のターゲット(例えば、人)の存在を検出するよう構成されるターゲット検出器11(例えば、人間検出器)を有する。装置10は、第1エリア1内のターゲットの存在の検出に応じて図1及び2において示されているコントローラ20及びランプ21乃至24のうちの1つ以上の全てにマルチキャストメッセージを送信するよう構成される送信機12を更に有する。それに加えて、プロセッサ16が、ターゲット検出器11からターゲット検出情報を受信するためにターゲット検出器11に結合されると共に、送信機12に送信情報を供給するために送信機12に結合される。上記のように、ターゲットは、この実施例における人間、又は家畜のような動物であってもよい。ターゲットは、物体、例えば車であってもよい。ターゲットは、識別されていないもの(unidentified)、即ち、任意の人間であってもよい。この実施例の変形例においては、それは、他の実施例全てに適用されてもよく、ターゲット検出器11は、特定のターゲット、例えば、特定の個人を認識/識別するよう適応されると共に、特定の個人が認識された場合にだけ装置にマルチキャストメッセージを送信させるよう適応される。
好ましくは、装置10は、図1及び2において示されている第2エリア2内の光の量を検出するよう構成される内蔵光検出器を更に有する。その場合には、送信機12は、第2エリア2において相対的に少ない第1の量の光が検出される場合は、コントローラ20及びランプ21乃至24のうちの1つ以上にマルチキャストメッセージを送信するよう構成され、更に、送信機12は、第2エリア2において相対的に多い第2の量の光が検出される場合は、第1エリア1内のターゲットの存在の検出に応じて、コントローラ20にユニキャストメッセージを送信するよう構成される。それに加えて、プロセッサ16が、内蔵光検出器13から光検出情報を受信するために内蔵光検出器12に結合される。
好ましくは、装置10は、第2エリア2において検出された光の量に対するランプ設定を算出するよう構成される計算機15を更に有する。それに加えて、プロセッサ16が、計算機15に(処理されたバージョンの)光検出情報を供給し、計算機15から算出情報を受信するために、計算機15に結合される。他の例においては、計算機15が、プロセッサ16の一部を形成してもよく、又はプロセッサ16が、検出器11及び13と送信機12と計算機15との間にバス又は接続部が存在する状態で、計算機15の一部を形成してもよい。計算機は、(処理されたバージョンの)光検出情報を用いてもよく、場合によっては、何らかの方法でコントローラ20から受信されるコントローラ情報を更に用いてもよい。
図4においては、装置の第2実施例が示されている。この第2実施例は、内蔵光検出器13が、第2エリア2内の光の量を検出するよう構成される外部光検出器から光検出情報を受信するよう構成される受信機14に置き換えられている点だけが、第1実施例と異なる。図3について記述されている全ての可能性が、図4の場合も有効である。その上、受信機14は、更に、コントローラ20からコントローラ情報を受信するために用いられ得る。
一般に、マルチキャストメッセージは、1つ以上のランプ21乃至24のうちの少なくとも1つのランプをオンに切り替えるよう構成される。ランプをオンに切り替えることは、ランプの光強度をゼロレベルから非ゼロレベルに増加させることを含み得る。マルチキャストメッセージは、装置識別、1つ以上のランプ識別、コントローラ識別、及び検出結果を有してもよく、第1エリア1(の定義)、第2エリア2(の定義)、及び非ゼロレベル(の定義)を更に有してもよい。
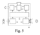
図5においては、装置の第3実施例が示されている。例えばランプなどの装置10のこの第3実施例は、光源17が付加されている点だけが第1実施例と異なる。この光源17は、プロセッサ16に結合される、又はプロセッサが計算機15の一部を形成する場合には、上記のバス若しくは接続部に、又はプロセッサを有する計算機15に結合される。
図6においては、装置の第4実施例が示されている。装置のこの第4実施例は、光源17が付加されている点だけが第2実施例と異なる。この光源17は、プロセッサ16に結合される、又はプロセッサが計算機15の一部を形成する場合には、上記のバス若しくは接続部に、又はプロセッサを有する計算機15に結合される。
図3及び4について記述されている全ての可能性が、図5及び6の場合も有効である。更に、昼光モードにおいては、光源17は、オンに切り替えられた後に最低調光レベルにとどまるよう構成されてもよく、又はオフに切り替えられないよう構成されてもよい。コントローラ20が、ユニキャストメッセージによって若しくはマルチキャストメッセージによって装置10にこの昼光モードを知らせてもよく、又は別のランプ21乃至24が、装置10にこの昼光モードを知らせてもよく、又は内蔵光検出器13が、この昼光モードを検出し、装置10に知らせてもよく、又は外部光検出器が、装置10にこの昼光モードを知らせてもよい。図5及び6を考慮すると、図1及び2におけるランプ21乃至24の各々は、光源17を有する場合の装置と同じであってもよく、又はそうでなくでもよい。
装置が、無線ネットワーク化照明システムの別の部分にメッセージを送信することができる場合に、及び/又は装置が、無線ネットワーク化照明システムの別の部分からメッセージを受信することができる場合に、装置は、無線ネットワーク化照明システムの一部を形成するよう構成される。無線ネットワーク化照明システムは、コントローラ及びランプを有し、コントローラは、ランプを制御するよう構成される。無線ネットワーク化照明システムが、存在検出器を備える装置(このような装置はここでは占有センサと呼ばれる)を更に有してもよく、又はランプのうちの1つ以上が、このような存在検出器を有してもよい。存在検出器は、例えば、人によって放射される熱、又は人によってなされる動きなどを通して、直接、人の存在を検出することができる。存在検出器は、例えば、人によって動かされる物体の動き、又は人によって実施される操作、又は人によって運ばれる装置の検出などを通して、間接的に、人の存在を検出することもできる。
要約すると、装置10は、第1エリア1内のターゲットの存在を検出するためのターゲット検出器11、例えば、人間検出器と、検出された存在に応じて、無線ネットワーク化照明システム内のコントローラ20及びランプ21乃至24にマルチキャストメッセージを送信するための送信機12とを有する。このようなマルチキャストメッセージは、システムの信頼性を高める。マルチキャストメッセージは、ランプ21乃至24をオンに切り替える。好ましくは、マルチキャストメッセージは、第2エリア2において相対的に少ない量の光が検出される場合にしか、送信されない。第2エリア2において相対的に多くの量の光が検出される場合には、検出された存在に応じて、装置10からコントローラ20にユニキャストメッセージが送信され、前記コントローラ20は、それに応じて、ランプ21乃至24をオンに切り替えられるよう制御する。第1エリア1及び第2エリア2は、少なくとも部分的に重なり合っているエリアであってもよい。装置10は、第2エリア2内の光の量を検出するための内蔵光検出器13、又は外部光検出器から光検出情報を受信するための受信機を有してもよい。
本発明を、図面において図示し、上記の説明において詳細に説明しているが、このような図及び説明は、説明的なもの又は例示的なものとみなされるべきであって、限定するものとみなされるべきではない。本発明は、開示されている実施例に限定されない。請求項に記載の発明を実施する当業者は、図面、明細及び添付の請求項の研究から、開示されている実施例に対する他の変形を、理解し、達成し得る。請求項において、「有する」という用語は、他の要素又はステップを除外せず、単数形表記は、複数の存在を除外しない。単に、特定の手段が、相互に異なる従属請求項において引用されているという事実は、これらの手段の組み合わせが有利になるように用いられることができないことを示すものではない。請求項におけるいかなる参照符号も、範囲を限定するものとして解釈されてはならない。

Claims (15)

  1. コントローラ及びランプを有する無線ネットワーク化照明システムの一部を形成するよう構成される装置であって、
    第1エリア内のターゲットの存在を検出するよう構成されるターゲット検出器と、
    送信機であって、
    前記装置が高速応答の必要性を確認するときには、前記第1エリア内の前記ターゲットの存在の検出に応じて、前記コントローラ、及び前記ランプのうちの1つ以上にマルチキャストメッセージを送信し、
    前記装置が、相対的によりゆっくりとした応答が許容可能であることを確認するときには、前記コントローラにユニキャストメッセージを送信するよう構成される送信機とを有する装置。
  2. 前記マルチキャストメッセージが、前記1つ以上のランプのうちの少なくとも1つのランプをオンに切り替えるよう構成される請求項1に記載の装置。
  3. 前記マルチキャストメッセージが、装置識別、1つ以上のランプ識別、コントローラ識別、及び検出結果を有する請求項1に記載の装置。
  4. 前記送信機が、第2エリアにおいて第1の量の光が検出される場合は、前記コントローラ、及び前記ランプのうちの前記1つ以上に前記マルチキャストメッセージを送信するよう構成され、前記送信機が、前記第2エリアにおいて第2の量の光が検出される場合は、前記第1エリア内の前記ターゲットの存在の検出に応じて、前記コントローラに前記ユニキャストメッセージを送信するよう構成され、前記第1の量の光が、しきい値より少なく、前記第2の量の光が、前記しきい値より多く、前記第1エリア及び前記第2エリアが、少なくとも部分的に重なり合っているエリアである請求項1に記載の装置。
  5. 前記第2エリア内の光の量を検出するよう構成される内蔵光検出器、又は
    前記第2エリア内の光の量を検出するよう構成される外部光検出器から光検出情報を受信するよう構成される受信機を更に有する請求項4に記載の装置。
  6. 前記装置が、占有センサを有する請求項1に記載の装置。
  7. 前記装置が、ランプを有し、前記送信機が、前記コントローラ、及び他のランプのうちの1つ以上に前記マルチキャストメッセージを送信するよう構成される請求項1に記載の装置。
  8. 前記ランプが、前記第1エリア内の前記ターゲットの存在の検出に応じて、オンに切り替えられるよう構成され、前記マルチキャストメッセージが、前記1つ以上の他のランプのうちの少なくとも1つのランプをオンに切り替えるよう構成される請求項7に記載の装置。
  9. 前記マルチキャストメッセージが、ランプ識別、1つ以上の他のランプ識別、コントローラ識別、及び検出結果を有する請求項7に記載の装置。
  10. 前記ランプが、昼光モードにおいて、オンに切り替えられた後に最低調光レベルにとどまるよう構成される、又はオフに切り替えられないよう構成される請求項7に記載の装置。
  11. 前記送信機が、第2エリアにおいて第1の量の光が検出される場合は、前記コントローラ、及び前記他のランプのうちの前記1つ以上に前記マルチキャストメッセージを送信するよう構成され、前記送信機が、前記第2エリアにおいて第2の量の光が検出される場合は、前記第1エリア内の前記ターゲットの存在の検出に応じて、前記コントローラに前記ユニキャストメッセージを送信するよう構成され、前記第1の量の光が、しきい値より少なく、前記第2の量の光が、前記しきい値より多く、前記第1エリア及び前記第2エリアが、少なくとも部分的に重なり合っているエリアである請求項7に記載の装置。
  12. 前記第2エリアにおいて検出された光の量に対するランプ設定を算出するよう構成される計算機を更に有する請求項1に記載の装置。
  13. 請求項1に記載の装置を有すると共に、前記コントローラ、及び/又は前記ランプのうちの1つ以上を更に有するシステム。
  14. コントローラ及びランプを有する無線ネットワーク化照明システムを動作させる方法であって、
    第1エリア内のターゲットの存在を検出するステップと、
    送信するステップであって、
    高速応答の必要性が確認されるときには、前記第1エリア内の前記ターゲットの存在の検出に応じて、前記コントローラ、及び前記ランプのうちの1つ以上にマルチキャストメッセージを送信し、
    相対的によりゆっくりとした応答が許容可能であることが確認される場合には、前記第1エリア内の前記ターゲットの存在の検出に応じて、前記コントローラにユニキャストメッセージを送信するステップとを有する方法。
  15. 第2エリアにおいて第1の量の光が検出される場合は、前記マルチキャストメッセージが送信され、前記第2エリアにおいて第2の量の光が検出される場合は、前記ユニキャストメッセージが送信され、前記第1の量の光が、しきい値より少なく、前記第2の量の光が、前記しきい値より多く、前記第1エリア及び前記第2エリアが、少なくとも部分的に重なり合っているエリアである請求項14に記載の方法。
JP2017564805A 2015-07-06 2016-06-23 無線ネットワーク化照明システムにおける占有メッセージ通信 Expired - Fee Related JP7085842B2 (ja)

Applications Claiming Priority (3)

Application Number Priority Date Filing Date Title
EP15175447.0 2015-07-06
EP15175447 2015-07-06
PCT/EP2016/064576 WO2017005499A1 (en) 2015-07-06 2016-06-23 Occupancy messaging in wireless networked lighting system

Publications (3)

Publication Number Publication Date
JP2018519631A true JP2018519631A (ja) 2018-07-19
JP2018519631A5 JP2018519631A5 (ja) 2019-07-25
JP7085842B2 JP7085842B2 (ja) 2022-06-17

Family

ID=53682499

Family Applications (1)

Application Number Title Priority Date Filing Date
JP2017564805A Expired - Fee Related JP7085842B2 (ja) 2015-07-06 2016-06-23 無線ネットワーク化照明システムにおける占有メッセージ通信

Country Status (6)

Country Link
US (1) US10440804B2 (ja)
EP (1) EP3320756B1 (ja)
JP (1) JP7085842B2 (ja)
CN (1) CN107852801B (ja)
RU (1) RU2719502C2 (ja)
WO (1) WO2017005499A1 (ja)

Families Citing this family (6)

* Cited by examiner, † Cited by third party
Publication number Priority date Publication date Assignee Title
US10426017B2 (en) * 2016-07-05 2019-09-24 Lutron Technology Company Llc Controlling groups of electrical loads via multicast and/or unicast messages
US10382284B1 (en) * 2018-03-02 2019-08-13 SILVAIR Sp. z o.o. System and method for commissioning mesh network-capable devices within a building automation and control system
US10769909B1 (en) * 2018-07-02 2020-09-08 Amazon Technologies, Inc. Using sensor data to detect events
CN109195284B (zh) * 2018-09-21 2020-07-31 赛尔富电子有限公司 照明控制方法及系统
CN114189967A (zh) * 2021-12-03 2022-03-15 中国船舶工业集团公司第七0八研究所 一种浮式生产装卸油装置智能照明系统
AT526331B1 (de) 2022-11-04 2024-02-15 Molto Luce Gmbh Leuchte zum Ausleuchten wenigstens zweier Raumbereiche mit einem auf einen ersten Raumbereich ausgerichteten ersten Leuchtsegment

Citations (4)

* Cited by examiner, † Cited by third party
Publication number Priority date Publication date Assignee Title
JP2003506838A (ja) * 1999-08-10 2003-02-18 コーニンクレッカ フィリップス エレクトロニクス エヌ ヴィ 無線遠隔センサを含む照明制御システム
JP2013127930A (ja) * 2011-12-19 2013-06-27 Panasonic Corp 照明制御システム
WO2014024072A2 (en) * 2012-08-06 2014-02-13 Koninklijke Philips N.V. Out-of-the-box commissioning of a lighting control system
US20150181662A1 (en) * 2013-12-20 2015-06-25 Ams Ag Sensor arrangement for controlling room lighting, sensor network for controlling room lighting and method for controlling room lighting

Family Cites Families (21)

* Cited by examiner, † Cited by third party
Publication number Priority date Publication date Assignee Title
US6912429B1 (en) 2000-10-19 2005-06-28 Destiny Networks, Inc. Home automation system and method
US20040056771A1 (en) * 2001-05-14 2004-03-25 Gastronics' Inc. Apparatus and method for wireless gas monitoring
US6894609B2 (en) * 2001-07-17 2005-05-17 Royal Thoughts, Llc Electrical power control and sensor module for a wireless system
US7889051B1 (en) * 2003-09-05 2011-02-15 The Watt Stopper Inc Location-based addressing lighting and environmental control system, device and method
US7369060B2 (en) 2004-12-14 2008-05-06 Lutron Electronics Co., Inc. Distributed intelligence ballast system and extended lighting control protocol
US7608807B2 (en) 2005-05-05 2009-10-27 Leviton Manufacturing Co., Inc. Closed loop daylight harvesting light control system having auto-calibration
EP2098101B1 (en) * 2006-12-20 2011-07-06 Koninklijke Philips Electronics N.V. Method and system to select devices of a wireless network, particularly a network of wireless lighting devices
US8450670B2 (en) 2007-06-29 2013-05-28 Orion Energy Systems, Inc. Lighting fixture control systems and methods
KR20110101182A (ko) * 2008-12-04 2011-09-15 코닌클리즈케 필립스 일렉트로닉스 엔.브이. 디바이스 선택 및 제어 방법
ES2388597T3 (es) * 2009-02-13 2012-10-16 Koninklijke Philips Electronics N.V. Método para la comunicación en una red que comprende un dispositivo ZigBee sin batería, red y dispositivo para ello
US8410706B2 (en) 2009-03-27 2013-04-02 Lutron Electronics Co., Inc. Method of calibrating a daylight sensor
US8648550B2 (en) 2010-03-13 2014-02-11 Zilog, Inc. Ambient light sensor auto-calibration in a lighting control system
CN102014550A (zh) 2010-09-16 2011-04-13 徐大江 智能路灯并行控制系统及其并行控制方法
US9521731B2 (en) * 2010-12-22 2016-12-13 Philips Lighting Holding B.V. Control of network lighting systems
US8547036B2 (en) * 2011-11-20 2013-10-01 Available For Licensing Solid state light system with broadband optical communication capability
CA2762869C (en) 2011-12-20 2021-09-14 Premier Lighting Ltd. Wireless lighting and electrical device control system
US9210759B2 (en) 2012-11-19 2015-12-08 Express Imaging Systems, Llc Luminaire with ambient sensing and autonomous control capabilities
US8912735B2 (en) 2012-12-18 2014-12-16 Cree, Inc. Commissioning for a lighting network
US9462663B2 (en) 2013-05-28 2016-10-04 Abl Ip Holding Llc Interactive user interface functionality for lighting devices or system
US10568179B2 (en) * 2013-09-20 2020-02-18 Osram Sylvania Inc. Techniques and photographical user interface for controlling solid-state luminaire with electronically adjustable light beam distribution
US9985436B2 (en) * 2014-04-11 2018-05-29 Lutron Electronics Co., Inc. Digital messages in a load control system

Patent Citations (4)

* Cited by examiner, † Cited by third party
Publication number Priority date Publication date Assignee Title
JP2003506838A (ja) * 1999-08-10 2003-02-18 コーニンクレッカ フィリップス エレクトロニクス エヌ ヴィ 無線遠隔センサを含む照明制御システム
JP2013127930A (ja) * 2011-12-19 2013-06-27 Panasonic Corp 照明制御システム
WO2014024072A2 (en) * 2012-08-06 2014-02-13 Koninklijke Philips N.V. Out-of-the-box commissioning of a lighting control system
US20150181662A1 (en) * 2013-12-20 2015-06-25 Ams Ag Sensor arrangement for controlling room lighting, sensor network for controlling room lighting and method for controlling room lighting

Also Published As

Publication number Publication date
RU2719502C2 (ru) 2020-04-20
US20180199415A1 (en) 2018-07-12
EP3320756B1 (en) 2022-12-21
EP3320756A1 (en) 2018-05-16
RU2018104257A (ru) 2019-08-06
RU2018104257A3 (ja) 2020-02-06
CN107852801B (zh) 2020-01-24
JP7085842B2 (ja) 2022-06-17
US10440804B2 (en) 2019-10-08
CN107852801A (zh) 2018-03-27
WO2017005499A1 (en) 2017-01-12

Similar Documents

Publication Publication Date Title
JP7085842B2 (ja) 無線ネットワーク化照明システムにおける占有メッセージ通信
EP2494712B1 (en) Commissioning coded light sources
US20160134369A1 (en) Setting up hybrid coded-light - zigbee lighting system
US20110295389A1 (en) Lighting control network
US10742510B2 (en) Method and device for commissioning of nodes of a network
JP2015528999A (ja) 照明制御装置およびプロセス
KR101110111B1 (ko) 가로등 원격 제어를 위한 메쉬 네트워킹 방법 및 이에 적용되는 장치
JP2018507522A (ja) 調光を介した存在リクエスト
JP6223428B2 (ja) 屋外照明ネットワークにおいて照明を交通情報に基づいて適応的に制御する方法
JP2017016868A (ja) 制御システム
JP6223459B2 (ja) 受信制御コマンドを解釈する装置及び方法
KR101682350B1 (ko) 엘이디 조명 시스템 및 그 제어 방법
US20170055332A1 (en) Illumination system
JP2022549017A (ja) 近接ベースのコミッショニングシステム
US11751030B2 (en) Trigger-based commissioning system
US12402229B2 (en) Controller for controlling a lighting system
JP6502563B1 (ja) 負荷制御システム
JP2019160808A (ja) 照明装置および制御システム
JP6642181B2 (ja) 照明制御装置、及び、照明システム

Legal Events

Date Code Title Description
A521 Request for written amendment filed

Free format text: JAPANESE INTERMEDIATE CODE: A523

Effective date: 20190621

A621 Written request for application examination

Free format text: JAPANESE INTERMEDIATE CODE: A621

Effective date: 20190621

A977 Report on retrieval

Free format text: JAPANESE INTERMEDIATE CODE: A971007

Effective date: 20200514

A131 Notification of reasons for refusal

Free format text: JAPANESE INTERMEDIATE CODE: A131

Effective date: 20200528

A601 Written request for extension of time

Free format text: JAPANESE INTERMEDIATE CODE: A601

Effective date: 20200825

A521 Request for written amendment filed

Free format text: JAPANESE INTERMEDIATE CODE: A523

Effective date: 20201106

A131 Notification of reasons for refusal

Free format text: JAPANESE INTERMEDIATE CODE: A131

Effective date: 20210302

A601 Written request for extension of time

Free format text: JAPANESE INTERMEDIATE CODE: A601

Effective date: 20210528

A131 Notification of reasons for refusal

Free format text: JAPANESE INTERMEDIATE CODE: A131

Effective date: 20211026

A521 Request for written amendment filed

Free format text: JAPANESE INTERMEDIATE CODE: A523

Effective date: 20220121

TRDD Decision of grant or rejection written
A01 Written decision to grant a patent or to grant a registration (utility model)

Free format text: JAPANESE INTERMEDIATE CODE: A01

Effective date: 20220509

A61 First payment of annual fees (during grant procedure)

Free format text: JAPANESE INTERMEDIATE CODE: A61

Effective date: 20220607

R150 Certificate of patent or registration of utility model

Ref document number: 7085842

Country of ref document: JP

Free format text: JAPANESE INTERMEDIATE CODE: R150

LAPS Cancellation because of no payment of annual fees