JP2018025035A - 接続構造、及び接続工法 - Google Patents
接続構造、及び接続工法 Download PDFInfo
- Publication number
- JP2018025035A JP2018025035A JP2016157359A JP2016157359A JP2018025035A JP 2018025035 A JP2018025035 A JP 2018025035A JP 2016157359 A JP2016157359 A JP 2016157359A JP 2016157359 A JP2016157359 A JP 2016157359A JP 2018025035 A JP2018025035 A JP 2018025035A
- Authority
- JP
- Japan
- Prior art keywords
- main
- bar
- muscle
- bars
- reinforcing bar
- Prior art date
- Legal status (The legal status is an assumption and is not a legal conclusion. Google has not performed a legal analysis and makes no representation as to the accuracy of the status listed.)
- Pending
Links
Images
Landscapes
- Joining Of Building Structures In Genera (AREA)
- Reinforcement Elements For Buildings (AREA)
Abstract
【課題】添筋重ね継手における総重ね長さを短くし、かつ、施工が容易な接続構造を提供する。【解決手段】互いに向かい合う主筋間を略同軸上に接続する主筋接続部と、前記主筋接続部が埋設されるコンクリート部と、を有し、前記主筋接続部は、前記主筋間に跨ってこれらに重ね合わせて配設される添筋と、前記添筋と前記主筋とに巻き付くように配設されるらせん筋と、を備え、前記添筋は、当該添筋が重ね合わされる前記主筋と当該主筋に隣接する主筋とのそれぞれの軸線を通る面よりも前記コンクリート部の内方に配設された接続構造。【選択図】図2
Description
本発明は、RCまたはSRC構造物の主筋間を接続する接続構造と接続工法に関する。特に、PCa(プレキャスト)部材の主筋間の接続に好適な接続構造と接続工法に関する。
RCまたはSRC構造物において、主筋間の接続方法は、1.機械式継手を用いる方法、2.溶接または圧接による方法、3.重ね継手を用いる方法、に大別される。
1.機械式継手を用いる方法は、接続される主筋の端部間にスリーブ継手やカプラーを設けて両者を接続するものである。スリーブ継手やカプラーは、一般に主筋の鉄筋径よりかなり太くなることから、必要なかぶり厚はスリーブ継手やカプラーの太さで決まり、接続部位以外の主筋との関係では必要以上にかぶり厚が大きくなる問題がある。また、スリーブ継手やカプラーは必ずしも安価ではなく、経済性がよくないことに加えて、接続される主筋間の位置合わせが厳格に要求されるという問題もある。
1.機械式継手を用いる方法は、接続される主筋の端部間にスリーブ継手やカプラーを設けて両者を接続するものである。スリーブ継手やカプラーは、一般に主筋の鉄筋径よりかなり太くなることから、必要なかぶり厚はスリーブ継手やカプラーの太さで決まり、接続部位以外の主筋との関係では必要以上にかぶり厚が大きくなる問題がある。また、スリーブ継手やカプラーは必ずしも安価ではなく、経済性がよくないことに加えて、接続される主筋間の位置合わせが厳格に要求されるという問題もある。
2.溶接または圧接による方法は、雨天時には実施できないという問題がある。また、主筋として一般的に使用されている鋼種はSD490級以下であり、通常は圧接が主として行われ、PCa部材間の主筋の溶接にはエンクローズ溶接が行われることが多い。エンクローズ溶接では、主筋の相対的なずれが3mm以下となるように、主筋の位置を高精度に管理する必要があり、また、溶接により主筋に収縮ひずみが発生するという固有の問題点がある。なお、高強度鉄筋、例えば、SD685級の鋼種のものを溶接により接続する場合は、フラッシュバット溶接法が採用されるが、溶接機が大型となることからタワークレーンが必須となると共に、フラッシュバット溶接法は鉄筋をその長手方向に動かしながら溶接するので、PCa部材の主筋のように位置が事実上固定されている主筋の接続には適用できない。
3.重ね継手を用いる方法は、上記1.2.の方法と比べて、施工的に簡便で安価であるという長所を有しており多用されている。重ね継手には、互いの主筋を重ね合わせる方式(以下、相互重ね継手という。)と、互いの主筋に別の鉄筋等を添筋として重ね合わせることで、主筋間を略同軸上で接続する方式(以下、添筋重ね継手という。)が存在し、相互重ね継手には、横重ね継手と縦重ね継手とが存在する。
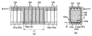
図5に、横重ね継手の例の構造図(a)と断面構造図(b)を示す。同図の例では、PCa部材101a及び101bを接続してコンクリート103を後打ちし、梁及び床スラブを構成している。PCa部材101a及び101bは各々の主筋102a及び102bの軸方向に接続されており、主筋102a及び102bと、床スラブ側の主筋105とにはせん断補強筋104が複数箇所において配設されている。各々の主筋102a及び102bは、横方向に重ね合わせられている。
図6に、縦重ね継手の例の構造図を示す。同図の例では、PCa部材201a及び201bを接続してコンクリート203を後打ちし、梁及び床スラブを構成している。PCa部材201a及び201bは各々の主筋202a及び202bの軸方向に接続されており、主筋202a及び202bと、床スラブ側の主筋205とにはせん断補強筋204が複数箇所において配設されている。各々の主筋201a及び201bは、縦方向に重ね合わせられている。
このような相互重ね継手において、コンクリートの割裂補強を行わない無補強の場合の重ね長さ(図5(a)のL1、図6のL2)は、主筋径の30〜40倍の長さが必要となる。
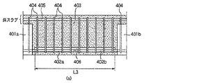
図7に、添筋重ね継手の例の構造図を示す。同図の例では、PCa部材401a及び401bを接続してコンクリート403を後打ちし、梁及び床スラブを構成している。PCa部材401a及び401bは各々の主筋402a及び402bの軸方向に接続されており、主筋402a及び402bと、床スラブ側の主筋405とにはせん断補強筋404が複数箇所において配設されている。各々の主筋402a及び402bは、添筋406を重ね合わせることで、略同軸上で接続されている。
図5、6に示すように、相互重ね継手においては、主筋を横または縦に重ね合わせる都合上、接続するPCa部材として共通の構成のものを用いることはできず、主筋の位置がわずかに異なるものを個別に設計する必要があり、経済性がよくない。また、梁等の構造物ではかぶり厚を小さくしたいという要求から図5(b)に示すように主筋の配列方向が、梁の下面の短手方向(同図では後打ちコンクリート103の下面の短手方向)と平行に設定される。このため、横重ね継手の場合には、図5(b)に示す主筋間の間隔Cが狭くなり、主筋間及び型枠と主筋との間にコンクリートが充填されにくくなるという問題もある。特に大スパンのPCa梁の接続部では、主筋が密に配されることからこの問題が顕著となる。縦重ね継手の場合には主筋間の間隔が狭くなるという問題はないが、接続される主筋の上下の位置が異なるため、接続されるPCa部材の曲げ強度が異なり、構造設計が煩雑になる。
図7に示すように、添筋重ね継手では、主筋間を略同軸上で接続するので接続するPCa部材として共通の構成のものを用いることができ、経済性に優れると共に構造設計も煩雑にならない。しかし、図7に示すように、添筋406を主筋402a及び402bに跨って配設することから、添筋重ね継手の総重ね長さ(図7のL3)は、相互重ね継手の総重ね長さ(図5(a)のL1、図6のL2)の約2倍となる。このため、後打ちコンクリート403の部分が大きくなり、現場でのコンクリート打設を少なくするというPCa部材を用いたメリットが減じられることになる。
特許文献1には、添筋重ね継手における総重ね長さを短くした接続構造として、添筋と、添筋に沿って複数ヶ所配設される複数の割裂補強筋を備えた部材(以下、添筋ユニットという)を用いた接続構造が提案されている。
ここで、せん断補強筋は、強度設計上、所定の間隔で所定の位置に配設するように定められている。一本の添筋ユニットは複数本の割裂補強筋を有するが、複数本の割裂補強筋は、せん断補強筋とが干渉しないように、様々な間隔で溶接等で添筋に固定されている。構造物を施工するに際し、主筋間を接続する箇所は膨大な数にのぼり、接続する場所ごとにせん断補強筋の配設位置が異なるため、せん断補強筋の配置に応じて割裂補強筋の配設箇所が異なる複数種類の添筋ユニットが必要であり、施工管理が煩雑である。また、必要な添筋ユニットの割裂補強筋の配設位置を予め設計し、複数本の割裂補強筋を添筋に設計通りの位置に溶接等で固定して複数種の添筋ユニットを作製することは大変手間がかかる。
ここで、せん断補強筋は、強度設計上、所定の間隔で所定の位置に配設するように定められている。一本の添筋ユニットは複数本の割裂補強筋を有するが、複数本の割裂補強筋は、せん断補強筋とが干渉しないように、様々な間隔で溶接等で添筋に固定されている。構造物を施工するに際し、主筋間を接続する箇所は膨大な数にのぼり、接続する場所ごとにせん断補強筋の配設位置が異なるため、せん断補強筋の配置に応じて割裂補強筋の配設箇所が異なる複数種類の添筋ユニットが必要であり、施工管理が煩雑である。また、必要な添筋ユニットの割裂補強筋の配設位置を予め設計し、複数本の割裂補強筋を添筋に設計通りの位置に溶接等で固定して複数種の添筋ユニットを作製することは大変手間がかかる。
本発明は、添筋重ね継手における総重ね長さを短くし、かつ、施工が容易な接続構造を提供することを課題とする。
1.RCまたはSRC構造物の主筋間を接続する接続構造であって、
互いに向かい合う主筋間を略同軸上に接続する主筋接続部と、
前記主筋接続部に打設され、前記主筋接続部が埋設されるコンクリート部と、を有し、
前記主筋接続部は、
前記主筋間に跨ってこれらに重ね合わせて配設される添筋と、
前記添筋と前記主筋とに巻き付くように配設されるらせん筋と、を備え、
前記添筋は、当該添筋が重ね合わされる前記主筋と当該主筋に隣接する主筋とのそれぞれの軸線を通る面よりも前記コンクリート部の内方に配設されたことを特徴とする接続構造。
2.二本の主筋を端面同士が対向するように設置する工程、
前記主筋のいずれかに添筋を仮留めし、該主筋および該主筋と対向する主筋のいずれか、または両方にらせん筋を配置する工程、
前記添筋をスライドさせて、前記らせん筋の内側を通り、前記二本の主筋を跨ぐ位置に移動させる工程、
コンクリートを打設する工程、
を有することを特徴とする接続工法。
互いに向かい合う主筋間を略同軸上に接続する主筋接続部と、
前記主筋接続部に打設され、前記主筋接続部が埋設されるコンクリート部と、を有し、
前記主筋接続部は、
前記主筋間に跨ってこれらに重ね合わせて配設される添筋と、
前記添筋と前記主筋とに巻き付くように配設されるらせん筋と、を備え、
前記添筋は、当該添筋が重ね合わされる前記主筋と当該主筋に隣接する主筋とのそれぞれの軸線を通る面よりも前記コンクリート部の内方に配設されたことを特徴とする接続構造。
2.二本の主筋を端面同士が対向するように設置する工程、
前記主筋のいずれかに添筋を仮留めし、該主筋および該主筋と対向する主筋のいずれか、または両方にらせん筋を配置する工程、
前記添筋をスライドさせて、前記らせん筋の内側を通り、前記二本の主筋を跨ぐ位置に移動させる工程、
コンクリートを打設する工程、
を有することを特徴とする接続工法。
本発明の接続構造は、主筋と添筋とにらせん筋を巻き付くように配設して接続箇所を割裂補強することにより、総重ね長さを短くすることができる。接続される主筋は、それぞれの端面同士が対向するように設置され、本発明の接続構造により略同軸上にて接続される。接続されるPCa部材における主筋の配置を同一とすることができるため、経済性に優れ、構造設計の手間を減らすことができる。
らせん筋は、軸を中心として回転させたり、バネのように伸び縮みさせることにより、位置や形状を容易に変更することができる。接続箇所ごとに異なる条件で配設されたせん断補強筋と干渉しないようにらせん筋の位置や形状を変更することが容易であるため、単一部材のらせん筋を全ての接続箇所に用いることができ、施工管理が簡便である。
らせん筋は、軸を中心として回転させたり、バネのように伸び縮みさせることにより、位置や形状を容易に変更することができる。接続箇所ごとに異なる条件で配設されたせん断補強筋と干渉しないようにらせん筋の位置や形状を変更することが容易であるため、単一部材のらせん筋を全ての接続箇所に用いることができ、施工管理が簡便である。
本発明は、主筋間を添筋重ね継手により接続する接続構造と、この接続構造を施工する接続工法に関する。
「接続構造」
図1に、本発明の一実施態様である接続構造が適用された構造物を示す。
図1に示す構造物は、RC構造物、またはSRC構造物であり、柱1間に梁2が架設され、梁2の上部には床スラブが一体に構成されている。
図1に示す構造物において、梁2は、上部はコンクリートを後打ちすることにより床スラブと一体に構成され、中部から下部はPCa部材11a及び11b(以下、総称するときはPCa部材11という。)からなり、PCa部材11aと11bは、一実施態様である接続構造により接続されている。
「接続構造」
図1に、本発明の一実施態様である接続構造が適用された構造物を示す。
図1に示す構造物は、RC構造物、またはSRC構造物であり、柱1間に梁2が架設され、梁2の上部には床スラブが一体に構成されている。
図1に示す構造物において、梁2は、上部はコンクリートを後打ちすることにより床スラブと一体に構成され、中部から下部はPCa部材11a及び11b(以下、総称するときはPCa部材11という。)からなり、PCa部材11aと11bは、一実施態様である接続構造により接続されている。
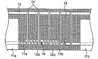
図2(a)に、一実施態様である接続構造の構造図を示す。一実施態様である接続構造は、2つのPCa部材11a及び11bを、その主筋12a及び12b(以下、総称するときは主筋12という)の軸方向に接続するものであり、PCa部材11a及び11bから突出するそれぞれの主筋12a及び12b間を略同軸上に接続する主筋接続部10と、PCa部材11a及び11b間の空隙に後打ちされ、主筋接続部10が埋設されるコンクリート部13と、を有する。主筋12と、床スラブ側の主筋15とには、外周を取り巻くようにせん断補強筋14が複数箇所に配設されている。
PCa部材11a及び11bは、それぞれの主筋12a及び12bの端面同士が対向するように設置され、主筋12a及び12bは略同軸上にて接続される。そのため、PCa部材11a及び11bは、同一の断面構造のものを用いることができ、相互重ね継手の場合のように個別に設計する必要はない。主筋接続部10は、主筋12aと主筋12bとの間に跨ってこれらに重ね合わせて配設される添筋16と、添筋16と主筋12a及び12bとに巻き付くように配設される二本のらせん筋17a及び17b(以下、総称するときはらせん筋17という)と、を備える。
なお、各主筋12aと各主筋12bとの各突き合わせ位置は、千鳥状とすることもできる。これは、梁2が大スパンである等、梁2に作用する常時荷重が大きい場合、各突き合わせ位置を同列とすると、その部分に大きなひび割れが集中して発生する可能性があるためである。千鳥状とすることでコンクリートの後打ち部分は若干長めになるものの、ひび割れの集中を抑制できる。
添筋16は、例えば、異形鉄筋や丸鋼からなり、そのいずれも採用することができる。丸鋼は、付着強度が低く、異形鉄筋と比較して重ね長さを長くする必要があることから、異形鉄筋を用いることが好ましい。一実施態様である接続構造において、添筋16は、主筋12に対して、縦重ね継手における主筋−主筋間の配置のように縦並び状に配置されている。上述した通り、梁等の構造物では、かぶり厚を小さくしたいという要求から主筋の配列方向が梁の下面の短手方向と平行に設定され、この結果、横重ね継手の場合は主筋間の間隔が狭くなり、主筋間へのコンクリートの充填不足を生じるという問題があるが、一実施態様である接続構造の場合、添筋16がPCa部材11における主筋12に対して縦重ね継手の場合のように縦並び状に配設しているので、主筋12と添筋16とが横並びにならず、このような問題は生じない。
なお、一実施態様である接続構造では、添筋16を主筋12に対して縦並び状に配設しているが、本発明の接続構造では、縦並び状に限られず、添筋16はこれが重ね合わされる主筋12とこれに隣接する主筋12とのそれぞれの軸線を通る面よりもコンクリート部13の内方に位置していれば、主筋間へのコンクリートの充填が妨げられることはなく、添筋16はその範囲で任意の位置に配設できる。例えば、図3に示すように、同図左側の主筋12に重ね合わされる添筋16を主筋12の斜め上方に配置することもできる。この配置であっても、同図左側の主筋12とこれに隣接する同図右側の主筋12とのそれぞれの軸線を通る面Sよりもコンクリート部13の内方(同図上方)に添筋16が配設されているので、左右の主筋12間へのコンクリートの充填スペースが確保され、充填が妨げられることがない。
らせん筋17は、例えば、異形鉄筋や丸鋼からなり、そのいずれを採用しても割裂補強の効果に大差はない。各らせん筋17は、一本の鉄筋を曲折して構成されている。本実施形態は、二本のらせん筋17a、17bを有するが、本発明の接続構造に使用するらせん筋の本数は特に限定されず、例えば、隣接するせん断補強筋14の間に、それぞれ一本ずつらせん筋を配設することもできる。
本発明の接続構造において、らせん筋17は、添筋16と主筋12とに巻き付くように配設される。そのため、らせん筋17は、その内径が添筋16と主筋12とを内包できる大きさであることが必要である。
らせん筋17は、現場において、特別な機械等を用いることなく、容易にバネのように伸び縮みさせられることが好ましく、その呼び径が6mm以上13mm以下であることが好ましい。らせん筋17の呼び径が6mmより細いと、十分な割裂補強効果を得るためにらせん筋のピッチをかなり狭くする必要があり、らせん筋の内部にコンクリート不充填部ができる恐れがある。らせん筋17の呼び径が13mmより太いと、剛性が強くなりすぎて、伸び縮みさせるのが困難となる。
本発明の接続構造において、らせん筋17は、添筋16と主筋12とに巻き付くように配設される。そのため、らせん筋17は、その内径が添筋16と主筋12とを内包できる大きさであることが必要である。
らせん筋17は、現場において、特別な機械等を用いることなく、容易にバネのように伸び縮みさせられることが好ましく、その呼び径が6mm以上13mm以下であることが好ましい。らせん筋17の呼び径が6mmより細いと、十分な割裂補強効果を得るためにらせん筋のピッチをかなり狭くする必要があり、らせん筋の内部にコンクリート不充填部ができる恐れがある。らせん筋17の呼び径が13mmより太いと、剛性が強くなりすぎて、伸び縮みさせるのが困難となる。
「接続工法」
本発明の接続工法は、
二本の主筋を端面同士が対向するように設置する工程、
前記主筋のいずれかに添筋を仮留めし、該主筋および該主筋と対向する主筋のいずれか、または両方にらせん筋を配置する工程、
前記添筋をスライドさせて、前記らせん筋の内側を通り、前記二本の主筋を跨ぐ位置に移動させる工程、
コンクリートを打設する工程、
を有する。
本発明の接続工法を、図2に示す一実施態様である接続構造の施工を例として図4を用いて順に説明する。
本発明の接続工法は、
二本の主筋を端面同士が対向するように設置する工程、
前記主筋のいずれかに添筋を仮留めし、該主筋および該主筋と対向する主筋のいずれか、または両方にらせん筋を配置する工程、
前記添筋をスライドさせて、前記らせん筋の内側を通り、前記二本の主筋を跨ぐ位置に移動させる工程、
コンクリートを打設する工程、
を有する。
本発明の接続工法を、図2に示す一実施態様である接続構造の施工を例として図4を用いて順に説明する。
まず、クレーン等を用いて、PCa部材11を所定の位置に設置する。PCa部材11a及び11bは、それぞれの主筋12a及び12bの端面同士が対向するように設置される(図4A)。
添筋16を一方の主筋12bのコンクリート部の内方となる側に結束線等で仮留めし、らせん筋17aを主筋12aに巻き付くように、らせん筋17bを添筋16と主筋12bに巻き付くように配置する(図4B)。なお、PCa部材11a及び11bを設置する際に、添筋16とらせん筋17a及び17bを、予め主筋12a及び12bに仮留めしておくこともできる。
床スラブ側の主筋15を配設した後、主筋12a及び12bと主筋15の外周を取り巻くように、せん断補強筋14を配設する。この際、せん断補強筋14の配設場所とらせん筋17とが干渉する場合は、らせん筋17を回転させる、または、バネの様に伸び縮みさせることにより、らせん筋17をせん断補強筋14と干渉しない位置にずらし、せん断補強筋14を設計通りの位置に配設する(図4C)。
らせん筋17a及び17bの位置、形状等を整え、必要に応じてらせん筋17を結束線等で固定する。添筋16の仮留めを解除し、添筋16をスライドさせて、らせん筋17の内側を通り、主筋12a及び12bを跨ぐ位置に移動させ、必要に応じて添筋16を結束線等で固定する(図4D)。
最後に、コンクリート部を構成するコンクリートを打設することにより、図2に示す一実施態様である接続構造が施工される。
添筋16を一方の主筋12bのコンクリート部の内方となる側に結束線等で仮留めし、らせん筋17aを主筋12aに巻き付くように、らせん筋17bを添筋16と主筋12bに巻き付くように配置する(図4B)。なお、PCa部材11a及び11bを設置する際に、添筋16とらせん筋17a及び17bを、予め主筋12a及び12bに仮留めしておくこともできる。
床スラブ側の主筋15を配設した後、主筋12a及び12bと主筋15の外周を取り巻くように、せん断補強筋14を配設する。この際、せん断補強筋14の配設場所とらせん筋17とが干渉する場合は、らせん筋17を回転させる、または、バネの様に伸び縮みさせることにより、らせん筋17をせん断補強筋14と干渉しない位置にずらし、せん断補強筋14を設計通りの位置に配設する(図4C)。
らせん筋17a及び17bの位置、形状等を整え、必要に応じてらせん筋17を結束線等で固定する。添筋16の仮留めを解除し、添筋16をスライドさせて、らせん筋17の内側を通り、主筋12a及び12bを跨ぐ位置に移動させ、必要に応じて添筋16を結束線等で固定する(図4D)。
最後に、コンクリート部を構成するコンクリートを打設することにより、図2に示す一実施態様である接続構造が施工される。
<他の実施形態>
本発明の接続構造は、一実施態様のように梁の下側の主筋の接続に限定されるものではなく、下側の主筋、床スラブ側の主筋のいずれか、または両方の接続に用いることができる。また、添筋16は、主筋12と同径のもの、または、異径のものを使用することができ、また、複数本の鉄筋を並列させたものを添筋16とすることもできる。
本発明の接続構造は、一実施態様のように梁の下側の主筋の接続に限定されるものではなく、下側の主筋、床スラブ側の主筋のいずれか、または両方の接続に用いることができる。また、添筋16は、主筋12と同径のもの、または、異径のものを使用することができ、また、複数本の鉄筋を並列させたものを添筋16とすることもできる。
本発明の接続構造は、添筋16と主筋12とに巻き付くようにらせん筋17を配設することにより、添筋16と主筋12との総重ね長さを短くできる。すなわち、本発明の接続構造により、添筋重ね継手であるにも関わらず、相互重ね継手と同等の総重ね長さにすることができ、現場で打設するコンクリート量を少なくすることができる。
らせん筋17は、回転させる、または、伸び縮みさせることにより、容易にせん断補強筋14との干渉を避けることができるため、せん断補強筋14を設計通りの位置に配設することができる。さらに、単一部材のらせん筋17を、せん断補強筋14の配設位置が異なる接続箇所に適用することができるため、接続箇所ごとに形状の異なるらせん筋17を使い分ける必要がなく、施工管理が簡便である。
らせん筋17は、添筋16と主筋12とに巻き付くように配設されるので、添筋16を動かないように主筋12に確実に固定することができる。このため、コンクリートを打設する際、これにバイブレータ等により振動を加えても、主筋12に対する添筋16の位置がずれてしまい、例えば、横重ね継手における主筋−主筋間の配置のように添筋16と主筋12とが横並び状に至る事態を防止することができる。さらに、溶接のように雨天時に実施できないということがない。
らせん筋17は、回転させる、または、伸び縮みさせることにより、容易にせん断補強筋14との干渉を避けることができるため、せん断補強筋14を設計通りの位置に配設することができる。さらに、単一部材のらせん筋17を、せん断補強筋14の配設位置が異なる接続箇所に適用することができるため、接続箇所ごとに形状の異なるらせん筋17を使い分ける必要がなく、施工管理が簡便である。
らせん筋17は、添筋16と主筋12とに巻き付くように配設されるので、添筋16を動かないように主筋12に確実に固定することができる。このため、コンクリートを打設する際、これにバイブレータ等により振動を加えても、主筋12に対する添筋16の位置がずれてしまい、例えば、横重ね継手における主筋−主筋間の配置のように添筋16と主筋12とが横並び状に至る事態を防止することができる。さらに、溶接のように雨天時に実施できないということがない。
1 柱
2 梁
10 主筋接続部
11a、b PCa部材
12a、b 主筋
13 コンクリート部
14 せん断補強筋
15 主筋(床スラブ側)
16 添筋
17a、b らせん筋
2 梁
10 主筋接続部
11a、b PCa部材
12a、b 主筋
13 コンクリート部
14 せん断補強筋
15 主筋(床スラブ側)
16 添筋
17a、b らせん筋
Claims (2)
- RCまたはSRC構造物の主筋間を接続する接続構造であって、
互いに向かい合う主筋間を略同軸上に接続する主筋接続部と、
前記主筋接続部に打設され、前記主筋接続部が埋設されるコンクリート部と、を有し、
前記主筋接続部は、
前記主筋間に跨ってこれらに重ね合わせて配設される添筋と、
前記添筋と前記主筋とに巻き付くように配設されるらせん筋と、を備え、
前記添筋は、当該添筋が重ね合わされる前記主筋と当該主筋に隣接する主筋とのそれぞれの軸線を通る面よりも前記コンクリート部の内方に配設されたことを特徴とする接続構造。 - 二本の主筋を端面同士が対向するように設置する工程、
前記主筋のいずれかに添筋を仮留めし、該主筋および該主筋と対向する主筋のいずれか、または両方にらせん筋を配置する工程、
前記添筋をスライドさせて、前記らせん筋の内側を通り、前記二本の主筋を跨ぐ位置に移動させる工程、
コンクリートを打設する工程、
を有することを特徴とする接続工法。
Priority Applications (1)
| Application Number | Priority Date | Filing Date | Title |
|---|---|---|---|
| JP2016157359A JP2018025035A (ja) | 2016-08-10 | 2016-08-10 | 接続構造、及び接続工法 |
Applications Claiming Priority (1)
| Application Number | Priority Date | Filing Date | Title |
|---|---|---|---|
| JP2016157359A JP2018025035A (ja) | 2016-08-10 | 2016-08-10 | 接続構造、及び接続工法 |
Publications (1)
| Publication Number | Publication Date |
|---|---|
| JP2018025035A true JP2018025035A (ja) | 2018-02-15 |
Family
ID=61195211
Family Applications (1)
| Application Number | Title | Priority Date | Filing Date |
|---|---|---|---|
| JP2016157359A Pending JP2018025035A (ja) | 2016-08-10 | 2016-08-10 | 接続構造、及び接続工法 |
Country Status (1)
| Country | Link |
|---|---|
| JP (1) | JP2018025035A (ja) |
Cited By (1)
| Publication number | Priority date | Publication date | Assignee | Title |
|---|---|---|---|---|
| JP2023181721A (ja) * | 2022-06-13 | 2023-12-25 | 東日本旅客鉄道株式会社 | プレキャスト部材の接合方法 |
-
2016
- 2016-08-10 JP JP2016157359A patent/JP2018025035A/ja active Pending
Cited By (1)
| Publication number | Priority date | Publication date | Assignee | Title |
|---|---|---|---|---|
| JP2023181721A (ja) * | 2022-06-13 | 2023-12-25 | 東日本旅客鉄道株式会社 | プレキャスト部材の接合方法 |
Similar Documents
| Publication | Publication Date | Title |
|---|---|---|
| JP6702835B2 (ja) | 多径間連続橋の橋桁架設方法 | |
| CN109736479B (zh) | 装配式剪力墙接缝结构及其拼接方法 | |
| KR101794683B1 (ko) | 프리캐스트 바닥판과 충전강관 트러스 거더의 조립을 이용한 교량의 런칭시공방법 | |
| JP6742932B2 (ja) | 橋脚及びその構築方法 | |
| JP7231434B2 (ja) | トンネル二次覆工用鉄筋組み立て体の設置方法 | |
| JP2010037911A (ja) | コンクリート部材端部の接合構造 | |
| JP7082522B2 (ja) | プレキャスト合成床版の継手構造 | |
| KR101846501B1 (ko) | 철근래티스 콘크리트 스틸합성 박스형 기둥 구조체 | |
| JP5231836B2 (ja) | 接続構造 | |
| JP6995539B2 (ja) | PCa版の継手構造及びその構築方法 | |
| JP2015025330A (ja) | 軽量床版と軽量床版施工方法と軽量床版連結構造 | |
| JP2018105101A (ja) | Rc造梁せん断筋ユニット及びrc造梁の施工方法 | |
| JP6567965B2 (ja) | PCa床版の継手構造及びその構築方法 | |
| JP7074445B2 (ja) | 鉄筋ユニットおよび鉄筋コンクリート梁 | |
| JP6428027B2 (ja) | 柱鉄筋接続パネルおよび鉄筋構造物 | |
| JP6685570B1 (ja) | Pc基礎構造体及びその構築方法 | |
| JP7087260B2 (ja) | 柱梁の接合構造 | |
| JP2018025035A (ja) | 接続構造、及び接続工法 | |
| JP7430343B2 (ja) | 構造物およびその構築方法 | |
| JP2020097846A (ja) | 柱梁接合部構造 | |
| JP4327694B2 (ja) | 接続構造 | |
| KR101846245B1 (ko) | 나선형 횡보강 구조체와 이를 이용한 철근콘크리트 기둥 시공방법 | |
| JP6862096B2 (ja) | 変断面梁構造 | |
| JP2017053101A (ja) | 柱同士の接合構造の設計方法及び柱同士の接合構造 | |
| JP3826354B2 (ja) | 柱と梁の接合構造 |