JP2017526257A - 無線通信システムにおける二重連結のためのローカルゲートウェイサービスを支援する方法及び装置 - Google Patents

無線通信システムにおける二重連結のためのローカルゲートウェイサービスを支援する方法及び装置 Download PDF

Info

Publication number
JP2017526257A
JP2017526257A JP2017503128A JP2017503128A JP2017526257A JP 2017526257 A JP2017526257 A JP 2017526257A JP 2017503128 A JP2017503128 A JP 2017503128A JP 2017503128 A JP2017503128 A JP 2017503128A JP 2017526257 A JP2017526257 A JP 2017526257A
Authority
JP
Japan
Prior art keywords
menb
senb
procedure
message
support
Prior art date
Legal status (The legal status is an assumption and is not a legal conclusion. Google has not performed a legal analysis and makes no representation as to the accuracy of the status listed.)
Granted
Application number
JP2017503128A
Other languages
English (en)
Other versions
JP6373480B2 (ja
Inventor
ジアン スー,
ジアン スー,
デウク ビュン,
デウク ビュン,
Current Assignee (The listed assignees may be inaccurate. Google has not performed a legal analysis and makes no representation or warranty as to the accuracy of the list.)
LG Electronics Inc
Original Assignee
LG Electronics Inc
Priority date (The priority date is an assumption and is not a legal conclusion. Google has not performed a legal analysis and makes no representation as to the accuracy of the date listed.)
Filing date
Publication date
Application filed by LG Electronics Inc filed Critical LG Electronics Inc
Publication of JP2017526257A publication Critical patent/JP2017526257A/ja
Application granted granted Critical
Publication of JP6373480B2 publication Critical patent/JP6373480B2/ja
Active legal-status Critical Current
Anticipated expiration legal-status Critical

Links

Images

Classifications

    • HELECTRICITY
    • H04ELECTRIC COMMUNICATION TECHNIQUE
    • H04WWIRELESS COMMUNICATION NETWORKS
    • H04W76/00Connection management
    • H04W76/10Connection setup
    • H04W76/15Setup of multiple wireless link connections
    • HELECTRICITY
    • H04ELECTRIC COMMUNICATION TECHNIQUE
    • H04LTRANSMISSION OF DIGITAL INFORMATION, e.g. TELEGRAPHIC COMMUNICATION
    • H04L61/00Network arrangements, protocols or services for addressing or naming
    • H04L61/50Address allocation
    • H04L61/5007Internet protocol [IP] addresses
    • HELECTRICITY
    • H04ELECTRIC COMMUNICATION TECHNIQUE
    • H04WWIRELESS COMMUNICATION NETWORKS
    • H04W76/00Connection management
    • H04W76/10Connection setup
    • H04W76/11Allocation or use of connection identifiers
    • HELECTRICITY
    • H04ELECTRIC COMMUNICATION TECHNIQUE
    • H04WWIRELESS COMMUNICATION NETWORKS
    • H04W76/00Connection management
    • H04W76/10Connection setup
    • H04W76/12Setup of transport tunnels
    • HELECTRICITY
    • H04ELECTRIC COMMUNICATION TECHNIQUE
    • H04WWIRELESS COMMUNICATION NETWORKS
    • H04W8/00Network data management
    • H04W8/02Processing of mobility data, e.g. registration information at HLR [Home Location Register] or VLR [Visitor Location Register]; Transfer of mobility data, e.g. between HLR, VLR or external networks
    • H04W8/08Mobility data transfer
    • HELECTRICITY
    • H04ELECTRIC COMMUNICATION TECHNIQUE
    • H04WWIRELESS COMMUNICATION NETWORKS
    • H04W88/00Devices specially adapted for wireless communication networks, e.g. terminals, base stations or access point devices
    • H04W88/08Access point devices
    • HELECTRICITY
    • H04ELECTRIC COMMUNICATION TECHNIQUE
    • H04WWIRELESS COMMUNICATION NETWORKS
    • H04W88/00Devices specially adapted for wireless communication networks, e.g. terminals, base stations or access point devices
    • H04W88/08Access point devices
    • H04W88/10Access point devices adapted for operation in multiple networks, e.g. multi-mode access points
    • HELECTRICITY
    • H04ELECTRIC COMMUNICATION TECHNIQUE
    • H04WWIRELESS COMMUNICATION NETWORKS
    • H04W88/00Devices specially adapted for wireless communication networks, e.g. terminals, base stations or access point devices
    • H04W88/16Gateway arrangements
    • HELECTRICITY
    • H04ELECTRIC COMMUNICATION TECHNIQUE
    • H04WWIRELESS COMMUNICATION NETWORKS
    • H04W92/00Interfaces specially adapted for wireless communication networks
    • H04W92/16Interfaces between hierarchically similar devices
    • H04W92/20Interfaces between hierarchically similar devices between access points

Landscapes

  • Engineering & Computer Science (AREA)
  • Computer Networks & Wireless Communication (AREA)
  • Signal Processing (AREA)
  • Databases & Information Systems (AREA)
  • Mobile Radio Communication Systems (AREA)

Abstract

無線通信システムにおけるローカルゲートウェイ(L−GW;local gateway)の支援を指示する方法及び装置が提供される。二重連結のMeNB(master eNB)はL−GWと共に位置する二重連結でのSeNB(secondary eNB)からL−GW支援の指示を受信し、SeNBのL−GW支援の指示をMME(mobility management entity)に転送する。L−GW支援の指示はローカルIP接続(LIPA;local IP access)L−GW転送階層アドレスまたは選択されたIPトラフィックオフロード(SIPTO;selected IP traffic offload)L−GW転送階層アドレスを含むことができる。

Description

本発明は無線通信に関し、より詳しくは、無線通信システムにおける二重連結のためのローカルゲートウェイサービスを支援する方法及び装置に関する。
3GPP LTEは、高速パケット通信を可能にするための技術である。LTE目標であるユーザと事業者の費用節減、サービス品質向上、カバレッジ拡張及びシステム容量増大のために多くの方式が提案された。3GPP LTEは、上位レベル必要条件として、ビット当たり費用節減、サービス有用性向上、周波数バンドの柔軟な使用、簡単な構造、開放型インターフェース及び端末の適切な電力消費を要求する。
低電力ノードは、モバイルトラフィック急増に対処するのに有望なものと考慮される(特に、室内及び室外のホットスポット構築)。低電力ノードは、一般に送信電力がマクロノード及び基地局のような種類の電力より少ないことを意味する。例えば、ピコeNB(evolved NodeB)及びフェムトeNBがこれに該当する。E−UTRA(evolved UMTS terrestrial radio access network)のスモールセル向上は、室内及び室外のホットスポット区域で低電力ノードを用いて性能を向上させる追加的な機能性に焦点を置くであろう。
小型セル向上のための可能な解法の一つとして、二重接続が論議されてきた。二重接続は、与えられた端末(UE;user equipment)が非−理想的バックホール(non−ideal backhaul)で接続した少なくとも二つの互いに異なるネットワーク地点により提供される無線資源を消費する動作を指すのに使用される。さらに、UEに対して二重接続に関与する各々のeNBは、互いに異なる役割を仮定することができる。このような役割は、eNBの電力クラスに必ず依存するのではなく、UEに応じて変わることができる。二重接続は、小型セル向上のための可能な解法の一つでありうる。
LTEネットワークア−キテクチャは中央集中したゲートウェイで設計され、事業者は一般的に一つまたは幾つのゲートウェイのみを有する。インターネットピアリング地点(peering points)の個数が制限されるため、このようなアーキテクチャはインターネット接続のために理致に合う。しかしながら、ローカルコンデンツへの接続を許容するために他のアーキテクチャが小型基地局のために必要でありうる。LTE無線を通じて会社イントラネット情報に接続するか、またはホームネットワークに接続するためにローカル接続が実用的である。
二重連結のためのローカルゲートウェイ(L−GW)サービスを支援する方法が要求できる。
本発明は無線通信システムにおける二重連結のためのローカルゲートウェイ(L−GW)サービスを支援する方法及び装置を提供する。本発明は、SeNB(secondary eNB)がL−GWと共に位置する場合、二重連結でのSeNBのL−GW支援を指示する方法及び装置を提供する。
一様態において、無線通信システムにおける二重連結のMeNB(master eNodeB)によるローカルゲートウェイ(L−GW;local gateway)の支援を指示する方法が提供される。前記方法は、前記L−GWと共に位置する二重連結のSeNB(secondary eNB)からL−GW支援の指示を受信し、及び前記L−GW支援の指示をMME(mobility management entity)に転送することを含む。
他の様態において、二重連結のMeNB(master eNB)が提供される。前記MeNBは、メモリ、送受信部、及び前記メモリ及び前記送受信部と連結されるプロセッサを含む。前記プロセッサは、ローカルゲートウェイ(L−GW;local gateway)と共に位置する二重連結のSeNB(secondary eNB)からL−GW支援の指示を受信するように前記送受信部を制御し、前記L−GW支援の指示をMME(mobility management entity)に転送するように前記送受信部を制御するように構成される。
L−GWが二重連結で効率の良く支援できる。
LTEシステムの構造を示す。
一般的なE−UTRAN及びEPCの構造のブロック図である。
LTEシステムのユーザ平面プロトコルスタックのブロック図である。
LTEシステムの制御平面プロトコルスタックのブロック図である。
物理チャンネル構造の一例を示す。
二重連結に対する無線プロトコルアーキテクチャを図示する。
特定UEに対する二重連結に関与するeNBのC−平面連結を図示する。
特定UEに対する二重連結に関与するeNBのU−平面連結を図示する。
二重連結に対するU−平面アーキテクチャの例示を図示する。
二重連結に対するU−平面アーキテクチャの他の例示を図示する。
L−GWがSeNBと共に位置する二重連結のアーキテクチャの一例示を図示する。
本発明の一実施形態に係るL−GW支援を指示するための方法の一例示を図示する。
本発明の一実施形態に係るL−GW支援を指示するための方法の他の例示を図示する。
本発明の一実施形態に係るL−GW支援を指示するための方法の他の例示を図示する。
本発明の一実施形態に係る相関IDを指示するための方法の一例示を図示する。
本発明の一実施形態に係る相関IDを指示するための方法の他の例示を図示する。
本発明の一実施形態に従ってL−GW支援を指示するための方法の他の例示を図示する。
本発明の一実施形態に係るL−GW支援を指示するための方法の他の例示を図示する。
本発明の一実施形態に係るL−GW支援を指示するための方法の他の例示を図示する。
本発明の一実施形態に係るL−GW支援を指示する方法の他の例示を図示する。
本発明の実施形態が具現される無線通信システムを示す。
以下の技術は、CDMA(code division multiple access)、FDMA(frequency division multiple access)、TDMA(time division multiple access)、OFDMA(orthogonal frequency division multiple access)、SC−FDMA(single carrier frequency division multiple access)などのような多様な無線通信システムに使われることができる。CDMAは、UTRA(universal terrestrial radio access)やCDMA2000のような無線技術で具現されることができる。TDMAは、GSM(登録商標)(global system for mobile communications)/GPRS(general packet radio service)/EDGE(enhanced data rates for GSM evolution)のような無線技術で具現されることができる。OFDMAは、IEEE(institute of electrical and electronics engineers)802.11(Wi−Fi)、IEEE802.16(WiMAX)、IEEE802.20、E−UTRA(evolved UTRA)などのような無線技術で具現されることができる。IEEE802.16mは、IEEE802.16eの進化であり、IEEE802.16基づくシステムとの後方互換性(backward compatibility)を提供する。UTRAは、UMTS(universal mobile telecommunications system)の一部である。3GPP(3rd generation partnership project)LTE(long term evolution)は、E−UTRA(evolved−UMTS terrestrial radio access)を使用するE−UMTS(evolved UMTS)の一部であり、ダウンリンクでOFDMAを採用し、アップリンクでSC−FDMAを採用する。LTE−A(advanced)は、3GPP LTEの進化である。
説明を明確にするために、LTE−Aを中心に記述するが、本発明の技術的思想がこれに制限されるものではない。
図1は、LTEシステムの構造を示す。通信ネットワークは、IMS及びパケットデータを介したインターネット電話(Voice over internet protocol:VoIP)のような多様な通信サービスを提供するために広く設置される。
図1を参照すると、LTEシステム構造は、1つ以上の端末(UE)10、E−UTRAN(evolved−UMTS terrestrial radio access network)及びEPC(evolved packet core)を含む。端末10は、ユーザにより動く通信装置である。端末10は、固定されてもよいし、移動性を有してもよく、MS(mobile station)、UT(user terminal)、SS(subscriber station)、無線機器(wireless device)等、他の用語で呼ばれることもある。
E−UTRANは1つ以上のeNB(evolved node−B)20を含み、1つのセルに複数のUEが存在することができる。eNB20は制御平面(control plane)とユーザ平面(user plane)の終端点をUEに提供する。eNB20は一般的にUE10と通信する固定された地点(fixed station)をいい、BS(base station)、アクセスポイント(access point)など、他の用語で呼ばれることがある。1つのeNB20はセル毎に配置できる。
以下、DLはeNB20からUE10への通信を意味し、ULはUE10からeNB20への通信を意味する。DLで送信機はeNB20の一部であり、受信機はUE10の一部でありうる。ULで送信機はUE10の一部であり、受信機はeNB20の一部でありうる。
EPCはMME(mobility management entity)とS−GW(system architecture evolution(SAE)gateway)を含む。MME/S−GW30はネットワークの終端に位置し、外部ネットワークと連結できる。明確性のためにMME/S−GW30は“ゲートウェイ”と単純に表現し、これはMME及びS−GWを全て含むことができる。
MMEはeNB20へのNAS(non−access stratum)シグナリング、NASシグナリング保安、AS(access stratum)保安制御、3GPPアクセスネットワーク間の移動性のためのinter CN(core network)ノードシグナリング、アイドルモード端末到達可能性(ページング再転送の制御及び実行含み)、トラッキング領域リスト管理(アイドルモード及び活性化モードであるUEのために)、P−GW(PDN(packet data network)gateway)及びS−GW選択、MME変更と共にハンドオーバーのためのMME選択、2Gまたは3G 3GPPアクセスネットワークへのハンドオーバーのためのSGSN(serving GPRS support node)選択、ローミング、認証、専用ベアラ設定を含んだベアラ管理機能、PWS(public warning system:地震/津波警報システム(ETWS)、及び常用モバイル警報システム(CMAS)含み)メッセージ転送サポートなどの多様な機能を提供する。S−GWホストは、ユーザ別基盤パケットフィルタリング(例えば、深層パケット検査を通じて)、合法的遮断、端末IP(internet protocol)アドレス割当、DLで転送レベルパッキングマーキング、UL/DLサービスレベル課金、ゲーティング及び等級強制、APN−AMBR(access point name aggregate maximum bit rate)に基づいたDL等級強制の各種の機能を提供する。
ユーザトラフィック転送または制御トラフィック転送のためのインターフェースが使用できる。UE10及びeNB20は、Uuインターフェースにより連結される。eNB20はX2インターフェースにより相互間連結される。隣り合うeNB20はX2インターフェースによる網型ネットワーク構造を有することができる。複数のノードはeNB20とゲートウェイ30との間にS1インターフェースを介して連結できる。
図2は、一般的なE−UTRAN及びEPCの構造のブロック図である。図2を参照すると、eNB20はゲートウェイ30に対する選択、RRC(radio resource control)活性(activation)の間ゲートウェイ30へのルーティング(routing)、ページングメッセージのスケジューリング及び転送、BCH(broadcast channel)情報のスケジューリング及び転送、UL及びDLからUE10への資源の動的割当、eNB測定の設定(configuration)及び提供(provisioning)、無線ベアラ制御、RAC(radio admission control)及びLTE活性状態で連結移動性制御機能を遂行することができる。前述したように、ゲイウェイ30はEPCでページング開始、LTEアイドル状態管理、ユーザ平面の暗号化、SAEベアラ制御及びNASシグナリングの暗号化と無欠性保護機能を遂行することができる。
図3はLTEシステムのユーザ平面プロトコルスタックのブロック図である。図4はLTEシステムの制御平面プロトコルスタックのブロック図である。UEとE−UTRANとの間の無線インターフェースプロトコルの階層は通信システムで広く知られたOSI(open system interconnection)モデルの下位3個階層に基づいて、L1(第1階層)、L2(第2階層)、及びL3(第3階層)に区分される。
物理階層(PHY;physical layer)はL1に属する。物理階層は物理チャンネルを介して上位階層に情報転送サービスを提供する。物理階層は上位階層であるMAC(media access control)階層と転送チャンネル(transport channel)を介して連結される。物理チャンネルは、転送チャンネルにマッピングされる。転送チャンネルを介してMAC階層と物理階層との間にデータが転送される。互いに異なる物理階層の間、即ち送信機の物理階層と受信機の物理階層との間にデータは物理チャンネルを介して転送される。
MAC階層、RLC(radio link control)階層、及びPDCP(packet data convergence protocol)階層はL2に属する。MAC階層は、論理チャンネル(logical channel)を介して上位階層であるRLC階層にサービスを提供する。MAC階層は、論理チャンネル上のデータ転送サービスを提供する。RLC階層は、信頼性あるデータ転送をサポートする。一方、RLC階層の機能はMAC階層の内部の機能ブロックで具現されることができ、この際、RLC階層は存在しないこともある。PDCP階層は、相対的に帯域幅の小さい無線インターフェース上でIPv4またはIPv6のようなIPパケットを導入して転送されるデータが効率良く転送されるように不要な制御情報を減らすヘッダー圧縮機能を提供する。
RRC(radio resource control)階層は、L3に属する。L3の最も下端 部分に位置するRRC階層はただ制御平面のみで定義される。RRC階層は、RB(radio bearer)などの設定(configuration)、再設定(re−configuration)、及び解除(release)と関連して論理チャンネル、転送チャンネル、及び物理チャンネルなどの制御を担当する。RBは、UEとE−UTRANとの間のデータ転送のためにL2により提供されるサービスを意味する。
図3を参照すると、RLC及びMAC階層(ネットワーク側におけるeNBで終了)は、スケジューリング、ARQ及びHARQのような機能を遂行することができる。PDCP階層(ネットワーク側におけるeNBで終了)は、ヘッダー圧縮、無欠性保護、及び暗号化のようなユーザ平面機能を遂行することができる。
図4を参照すると、RLC/MAC階層(ネットワーク側におけるeNBで終了)は、制御平面のために同一な機能を遂行することができる。RRC階層(ネットワーク側におけるeNBで終了)は、放送、ページング、RRC連結管理、RB制御、移動性機能、及びUE測定報告及び制御のような機能を遂行することができる。NAS制御プロトコル(ネットワーク側におけるゲートウェイのMMEで終了)は、SAEベアラ管理、認証、LTE_IDLE移動性管理、LTE_IDLEにおけるページング開始、及びゲートウェイとUEとの間のシグナリングのための保安制御などの機能を遂行することができる。
図5は、物理チャンネル構造の一例を示す。物理チャンネルは、無線資源を通じてUEの物理階層とeNBの物理階層との間のシグナリング及びデータを転送する。物理チャンネルは、時間領域で複数のサブフレームと周波数領域で複数の副搬送波で構成される。1msである1つのサブフレームは、時間領域で複数のシンボルで構成される。該当サブフレームの特定シンボル、例えばサブフレームの第1のシンボルはPDCCHのために使用できる。PDCCHは、PRB(physical resource block)及びMCS(modulation and coding schemes)のように動的に割り当てられた資源を運ぶことができる。
DL転送チャンネルは、システム情報を転送するために使われるBCH(broadcast channel)、UEをページングするために使われるPCH(paging channel)、ユーザトラフィックまたは制御信号を転送するために使われるDL−SCH(downlink shared channel)、マルチキャストまたはブロードキャストサービス転送のために使われるMCH(multicast channel)などを含む。DL−SCHは、HARQ、変調、コーディング及び転送電力の変化による動的リンク適応及び動的/半静的資源割当をサポートする。また、DL−SCHはセル全体にブロードキャスト及びビームフォーミングの使用を可能にすることができる。
UL転送チャンネルは、一般的にセルへの初期接続のために使われるRACH(random access channel)、ユーザトラフィック、または制御信号を転送するために使われるUL−SCH(uplink shared channel)などを含む。UL−SCHは、HARQ及び転送電力及び潜在的な変調及びコーディングの変化による動的リンク適応をサポートする。また、UL−SCHはビームフォーミングの使用を可能にすることができる。
論理チャンネルは、転送される情報の種類によって、制御平面の情報伝達のための制御チャンネルとユーザ平面の情報伝達のためのトラフィックチャンネルに分類される。即ち、論理チャンネルタイプの集合はMAC階層により提供される互いに異なるデータ転送サービスのために定義される。
制御チャンネルは、制御平面の情報伝達のみのために使われる。MAC階層により提供される制御チャンネルは、BCCH(broadcast control channel)、PCCH(paging control channel)、CCCH(common control channel)、MCCH(multicast control channel)、及びDCCH(dedicated control channel)を含む。BCCHは、システム制御情報を放送するためのDLチャンネルである。PCCHは、ページング情報の転送のためのDLチャンネルであり、ネットワークがUEのセル単位の位置を知らない時に使われる。CCCHは、ネットワークとRRC連結を有しない時、UEにより使われる。MCCHは、ネットワークからUEにMBMS(multimedia broadcast multicast services)制御情報を転送するために使われる一対多のDLチャンネルである。DCCHは、UEとネットワークとの間に専用制御情報転送のためにRRC連結を有するUEにより使われる一対一の両方向チャンネルである。
トラフィックチャンネルは、ユーザ平面の情報伝達のみのために使われる。MAC階層により提供されるトラフィックチャンネルは、DTCH(dedicated traffic channel)及びMTCH(multicast traffic channel)を含む。DTCHは一対一のチャンネルであって、1つのUEのユーザ情報の転送のために使われて、UL及びDL全てに存在することができる。MTCHは、ネットワークからUEにトラフィックデータを転送するための一対多のDLチャンネルである。
論理チャンネルと転送チャンネルとの間のUL連結は、UL−SCHにマッピングできるDCCH、UL−SCHにマッピングできるDTCH、及びUL−SCHにマッピングできるCCCHを含む。論理チャンネルと転送チャンネルとの間のDL連結は、BCHまたはDL−SCHにマッピングできるBCCH、PCHにマッピングできるPCCH、DL−SCHにマッピングできるDCCH、DL−SCHにマッピングできるDTCH、MCHにマッピングできるMCCH、及びMCHにマッピングできるMTCHを含む。
RRC状態はUEのRRC階層がE−UTRANのRRC階層と論理的に連結されているか否かを指示する。RRC状態は、RRC連結状態(RRC_CONNECTED)及びRRCアイドル状態(RRC_IDLE)のように2種類に分けられる。RRC_IDLEで、UEがNASにより設定されたDRX(discontinuous reception)を指定する間に、UEはシステム情報及びページング情報の放送を受信することができる。そして、UEはトラッキング領域でUEを固有に指定するID(identification)の割当を受けて、PLMN(public land mobile network)選択及びセル再選択を遂行することができる。またRRC_IDLEで、いかなるRRCコンテクストもeNBに格納されない。
RRC_CONNECTEDで、UEはE−UTRANでE−UTRAN RRC連結及びコンテクストを有して、eNBにデータを転送及び/又はeNBからデータを受信することが可能である。また、UEはeNBにチャンネル品質情報及びフィードバック情報を報告することができる。RRC_CONNECTEDで、E−UTRANはUEが属したセルを知ることができる。したがって、ネットワークはUEにデータを転送及び/又はUEからデータを受信することができ、ネットワークはUEの移動性(ハンドオーバー及びNACC(network assisted cell change)を通じてのGERAN(GSM EDGE radio access network)でinter−RAT(radio access technology)セル変更指示)を制御することができ、ネットワークは隣り合うセルのためにセル測定を遂行することができる。
RRC_IDLEで、UEはページングDRX周期を指定する。具体的に、UEはUE特定ページングDRX周期毎の特定ページング機会(paging occasion)にページング信号をモニターする。ページング機会は、ページング信号が転送される間の時間区間である。UEは、自分だけのページング機会を有している。ページングメッセージは、同一なトラッキング領域(TA;tracking area)に属する全てのセル上に転送される。UEが1つのTAから他のTAに移動すれば、UEは自身の位置をアップデートするためにネットワークにTAU(tracking area update)メッセージを転送することができる。
二重接続(DC;dual connectivity)に対する全体的なアーキテクチャとネットワークインターフェースが説明される。これと関連して、3GPP TR 36.842 V12.0.0(2013−12)が参照されることができる。E−UTRANは、二重接続動作を支援でき、RRC_CONNECTEDにある複数のRX/TXを有したUEは、X2インターフェースを介した非−理想的バックホール(non−ideal backhaul)を介して接続する二つのeNBに位置する二つの区別されるスケジューラにより提供される無線資源を活用するように構成される。図1に説明された全体的なE−UTRANアーキテクチャは、また二重接続に適用可能である。二つの互いに異なる役割が特定UEに対して二重接続に関与するeNBに仮定されることができる:eNBは、MeNB(master eNB)またはSeNB(secondary eNB)として動作できる。MeNBは、二重接続において少なくともS1−MMEを終端(terminate)させるeNBである。SeNBは、UEに対した付加的な無線資源を提供するが、二重接続においてのMeNBではないeNBである。二重接続においてUEは、一つのMeNBと一つのSeNBに接続される。
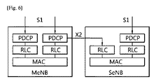
図6は、二重接続に対する無線プロトコルアーキテクチャを示す。DCにおいて、特定ベアラが使用する無線プロトコルアーキテクチャは、ベアラがどのように設定されるかによる。MCG(master cell group)ベアラ、SCG(secondary cell group)ベアラ及び分離ベアラの3通りの代案が存在する。図6を参照すると、このような3通りの代案が、左側から右側へMCGベアラ、分離ベアラ及びSCGベアラの順に示される。MCGベアラは、二重接続においてMeNB資源だけを利用するために、無線プロトコルがMeNBだけに位置するベアラである。SCGベアラは、二重接続においてSeNB資源を利用するために、無線プロトコルがSeNBだけに位置するベアラである。分離ベアラは、二重接続においてMeNB及びSeNB資源を全部利用するために、無線プロトコルがMeNB及びSeNBの全部に位置するベアラである。SRB(signaling radio bearers)は、常にMCGベアラに属するので、MeNBにより提供される無線資源だけを利用する。MCGは、MeNBと関連したサービングセルのグループであり、二重接続においてPCell(primary cell)と選択的に一つ以上のSCell(secondary cell)を含む。SCGは、SeNBと関連したサービングセルのグループであり、二重接続においてPSCell(primary SCell)と選択的に一つ以上のSCellを含む。DCは、SeNBにより提供される無線資源を利用するように構成される少なくとも一つのベアラを有するとまた説明されることができる。
図7は、特定UEに対した二重接続に関与するeNBのC−平面接続を示す。二重接続に対するeNB間制御平面シグナリングは、X2インターフェースシグナリングにより行われる。MMEに向かう制御平面シグナリングは、S1インターフェースシグナリングにより行われる。MeNBとMMEとの間にUE毎にただ一つのS1−MME接続が存在する。各々のeNBは、UEを独立的に取扱うべきであり、すなわち、一部のUEにPCellを提供することに対し、他のUEにSCGに対したSCell(ら)を提供する。特定UEに対して二重接続に関与した各々のeNBは、自身の無線資源を所有し、自身のセルの無線資源を割り当てるのを主に担当し、MeNBとSeNBとの間の協力は、X2インターフェースシグナリングにより提供される。図7を参照すると、MeNBは、S1−MMEを介してMMEに接続するC−平面であり、MeNB及びthe SeNBは、X2−Cを介して相互接続される。
図8は、特定UEに対した二重接続に関与するeNBのU−平面接続を示す。U−平面接続は、構成されたベアラオプションによる。MCGベアラに対して、MeNBはS1−Uを介してS−GWにU−平面接続され、SeNBは、ユーザ平面データの転送に関与しない。分離ベアラに対して、MeNBは、S1−Uを介してS−GWにU−平面接続され、付加的に、MeNBとSeNBとは、X2−Uを介して相互接続される。SCGベアラに対して、SeNBは、S1−Uを介してS−GWに直接接続される。但し、MCGと分離ベアラとが構成されるならば、SeNBにおいてS1−U終端が存在しない。
図9は、二重接続に対するU−平面アーキテクチャの例示を示す。図9に示す二重接続に対するU−平面アーキテクチャは、SeNBにおいて終端されるS1−Uと独立的なPDCP(ベアラ分離がない)の組み合わせである。図9に示す二重接続に対するU−平面アーキテクチャは、「アーキテクチャ1A」と呼ばれることができる。
図10は、二重接続に対するU−平面アーキテクチャの他の例示を示す。図10に示す二重接続に対するU−平面アーキテクチャは、MeNBで終端されるS1−UとMeNBでのベアラ分離及び分離ベアラに対する独立的なRLCの組み合わせである。図10に示す二重接続に対するU−平面アーキテクチャは、「アーキテクチャ3C」と呼ばれることができる。
ローカルIP接続(LIPA;local IP access)機能はUEをして中央集中した(centralized)ゲートウェイで優先的なユーザ平面データ移動無しで企業または住宅ネットワークにより直接接続することを可能にする。LIPA機能は、HeNB(home eNB)と共に理解されるべきである。ローカルゲートウェイ(L−GW;local gateway)はローカル接続のためのフェムト(femto)と共に位置する。L−GWは、HeNBとの内部の直接ユーザ平面経路を支援する。
二重連結は、3GPP LTE rel−12から導入された。また、LIPA/選択されたIPトラフィックオフロード(SIPTO;selected IP traffic offload)が以前リリーズから導入された。3GPP LTE rel−13の可能なアーキテクチャは二重連結のためのL−GWが支援されるということである。
図11は、L−GWがSeNBと共に位置する二重連結のアーキテクチャの一例示を図示する。サービス1は、MeNBにより提供される。MeNBにより提供されるサービス2は、L−GWと共に位置するSeNBに移動される。
前述した二重連結のアーキテクチャで、レガシーLIPA/SIPTO開始手続に対してMMEとの直接S1−C連結がないので、レガシーLIPA/SIPTO開始手続に対して一部の問題が発生することがある。また、前述した二重連結のアーキテクチャに基づいて、E−RAB(E−UTRAN radio access bearer)がL−GWにより提供できる方法はまだ明らかに定義されていない。
前述した問題を解決するために、本発明の一実施形態に従ってL−GWと共に位置するSeNBのL−GW支援を指示する方法が以下に記述される。
第1に、L−GW基盤サービスをトリガーすることを準備するために、本発明の一実施形態によってMeNBがSeNBのL−GW IPアドレスまたはL−GW支援の指示に関して知る方法について記述される。
セル特定手続に対し、本発明の一実施形態に従って、MeNBはX2設定要請メッセージまたはX2設定応答メッセージを通じてSeNBのL−GW IPアドレス及び/又はL−GW支援の指示を獲得することができる。L−GW IPアドレスはLIPA L−GW転送階層アドレスまたはSIPTO L−GW転送階層アドレスでありうる。具体的に、MeNBが要請を開始する場合、MeNBはX2設定要請メッセージをSeNBに転送し、以後にSeNBはL−GW IPアドレスを含むことができる、L−GW支援の指示を含むX2設定応答メッセージで応答することができる。代案として、SeNBが要請を開始する場合、SeNBはL−GW IPアドレスを含むことができる、L−GW支援の指示を含むX2設定要請メッセージをMeNBに転送することができ、以後にMeNBはX2設定応答メッセージで応答することができる。
図12は、本発明の一実施形態に係るL−GW支援を指示するための方法の一例示を図示する。ステップS100で、MeNBは支援される場合、L−GW支援の指示(または、L−GW IPアドレス)に対する要請と共にX2設定要請メッセージを直接SeNBに転送する。ステップS110で、L−GWと共に位置するSeNBはL−GW支援の指示及び/又はLIPA/SIPTO L−GW転送階層アドレスと共にX2設定応答メッセージを直接転送する。
前述したX2設定要請/応答メッセージに代えて、他の既存メッセージが同一な目的のためにまた使用できる。例えば、L−GW支援を指示するためにeNB構成更新/応答メッセージが使用できる。代案として、新規メッセージまたは新規メッセージ内のIE(information element)が同一な目的のためにまた使用できる。
前述した本発明の一実施形態によれば、L−GW IPアドレスはMeNBが全てのアイドル−活性化(idle−active)転換のような、例えばアップリンクNAS伝達手続、トラッキング領域更新(TAU;tracking area update)手続、経路転換手続(分離ベアラ場合に対して新規手続またはE−RAB修正指示手続)などで使用するために準備できる。MeNBは何時でもL−GWサービスをトリガーするためにL−GW支援の指示及び/又はL−GW IPアドレスを使用することができる。
UE−特定手続に対し、L−GW支援を指示するために、本発明の一実施形態によってSeNB付加手続が使用できる。SeNB付加手続は新規サービス要請の間に遂行できる。
図13は、本発明の一実施形態に係るL−GW支援を指示するための方法の他の例示を図示する。ステップS200で、MeNBはSeNB付加要請メッセージをSeNBに転送する。ステップS210で、SeNBはL−GW IPアドレスを含むことができるL−GW支援の指示を含むSeNB付加要請承認メッセージを転送する。L−GW IPアドレスはLIPA L−GW転送階層アドレスまたはSIPTO L−GW転送階層アドレスでありうる。ステップS220で、MeNBはRRCConnectionReconfigurationメッセージをUEに転送する。ステップS230で、UEはRRCConnectionReconfigurationCompleteメッセージをMeNBに転送する。ステップS240で、MeNBはSeNB再構成完了メッセージをSeNBに転送する。ステップS250で、UE及びSeNBはランダムアクセス手続を遂行する。
第2に、本発明の一実施形態に従ってMeNBがMMEにSeNBのL−GW IPアドレス及び/又はL−GW支援の指示に対して通報する方法が記述される。
図14は、本発明の一実施形態に係るL−GW支援を指示するための方法の他の例示を図示する。ステップS300で、MeNBはL−GW支援の指示、L−GW IPアドレス、ECGI(E−UTRAN cell global ID)、TAI(tracking area ID)などのうち、少なくとも一つを含むメッセージをMMEに転送する。L−GW IPアドレスは、LIPA L−GW転送階層アドレスまたはSIPTO L−GW転送階層アドレスでありうる。SeNB付加オフロード手続の場合に対し、メッセージはE−RAB修正指示手続(または、分離ベアラに起因するE−RAB修正指示手続での新規メッセージ)にマッピングできる。代案として、TAU手続の場合に対し、メッセージはトラッキング領域更新手続にマッピングできる。代案として、アイドル対連結転換に対し、メッセージは初期UEメッセージ手続(アイドル対連結転換)にマッピングできる。代案として、新規サービス要請の場合に対してメッセージはアップリンクNAS転送手続(新規サービス要請など)にマッピングできる。
第3に、本発明の一実施形態に係るMMEから相関(correlation)ID情報を獲得する方法が記述される。
図15は、本発明の一実施形態に係る相関IDを指示するための方法の一例示を図示する。ステップS310で、MMEはSeNB側からL−GWの支援のための相関IDを含むメッセージをMeNBに転送する。SeNB付加手続の場合に対し、メッセージはE−RAB修正確認手続(または、分離ベアラに起因するE−RAB修正確認手続での新規メッセージ)にマッピングできる。代案として、新規サービス要請の場合に対し、メッセージはE−RAB設定要請手続にマッピングできる。代案として、アイドル対連結転換の場合に対し、メッセージは初期コンテクスト設定要請手続にマッピングできる。
第4に、本発明の一実施形態に係るMeNBがSeNBに相関IDを通報する方法が記述される。
図16は、本発明の一実施形態に係る相関IDを指示するための方法の他の例示を図示する。ステップS320で、MeNBはSeNB側からL−GWの支援のための相関IDを含むメッセージをSeNBに転送する。(新規サービス要請手続またはアイドル対連結転換手続の間にMeNBがE−RABをSeNBに直接付加することに決定した場合に)メッセージはSeNB付加手続にマッピングできる。代案として、MeNBはSeNBに相関IDを通報するために新規メッセージを生成し使用することができる。
図17は、本発明の一実施形態に従ってL−GW支援を指示するための方法の他の例示を図示する。
SeNBのL−GW IPアドレス及び/又はL−GW支援の指示を知るための手続に対し、ステップS400で、SeNBはL−GW支援の指示及び/又はLIPA/SIPTO L−GW転送階層アドレスをMeNBに転送することができる。L−GW支援の指示及び/又はLIPA/SIPTO L−GW転送階層アドレスは、図12に記述されたセル−特定手続を使用して、または図13に記述されたUE−特定手続を使用して転送できる。
アタッチ(attach)/新規サービス要請/新規PDN連結手続の間に、ステップS410で、MeNBはL−GW支援の指示及び/又はLIPA/SIPTO L−GW転送階層アドレスを含む初期UEメッセージ、またはアップリンクNASメッセージをMMEに転送する。ステップS410は、図14に記述された手続に対応することができる。
ステップS420で、MMEは相関IDを含む初期コンテクスト設定要請メッセージ、またはE−RAB設定要請メッセージをMeNBに転送する。ステップS420は、図15に記述された手続に対応することができる。
SeNB付加手続の間に、ステップS430で、MeNBは相関IDを含むSeNB付加要請メッセージをSeNBに転送する。ステップS430は、図16に記述された手続に対応することができる。ステップS440で、SeNBはSeNB付加要請承認メッセージをMeNBに転送する。ステップS450で、MeNBはRRCConnectionReconfigurationメッセージをUEに転送する。ステップS460で、MeNBはトンネル情報を用いてMMEへの応答を生成する。
図18は、本発明の一実施形態に係るL−GW支援を指示するための方法の他の例示を図示する。一例示として、このような実施形態はSeNB修正手続に基づいて記述されるが、他のSeNB関連移動性手続がまた使用できる。
ステップS500で、MeNBはL−GW支援の指示の要請をSeNBに転送することができる。ステップS510で、SeNBがL−GWを支援する場合、SeNBはL−GW IPアドレスを含むことができるL−GW支援の指示をMeNBに転送することができる。L−GW IPアドレスはLIPA L−GW転送階層アドレスまたはSIPTO L−GW転送階層アドレスでありうる。ステップS520で、MeNBはL−GWサービスを使用することに決定する。ステップS500乃至S520は、図12に記述された手続に対応することができる。即ち、ステップS500乃至S520は、図12に記述されたX2設定要請/応答メッセージにより実現できる。
ステップS530で、MeNBは支援される場合、L−GW支援及び/又はL−GW IPアドレス(即ち、LIPA/SIPTO L−GW転送階層アドレス)の指示の要請と共にSeNB修正要請メッセージをSeNBに転送する。ステップS540で、SeNBは支援される場合、L−GW支援及び/又はL−GW IPアドレス(即ち、LIPA/SIPTO L−GW転送階層アドレス)の指示と共にSeNB修正応答メッセージを直接転送する。SeNB修正要請/応答メッセージの代わりに、L−GW支援の指示及び/又はL−GW IPアドレスは、他の既存メッセージ、新規メッセージ、または新規メッセージ内のIEを使用して転送できる。
ステップS550で、MMEがS−GW及び現在P−GWに送信するメッセージでL−GWサービスをトリガーするために、MeNBはL−GW支援及び/又はL−GW IPアドレス(即ち、LIPA/SIPTO L−GW転送階層アドレス)の指示と共にE−RAB修正指示メッセージをMMEに転送することができる。ステップS560で、MMEはE−RAB修正確認メッセージをMeNBに転送することができる。
図19は、本発明の一実施形態に係るL−GW支援を指示するための方法の他の例示を図示する。
SeNBのL−GW IPアドレス及び/又はL−GW支援の指示を知る手続に対し、ステップS600で、SeNBはL−GW支援の指示及び/又はL−GW IPアドレスをMeNBに転送することができる。L−GW支援の指示及び/又はL−GW IPアドレスは、図12に記述されたセル−特定手続を使用して転送できる。
SeNB付加手続の間に、ステップ610で、MeNBはSeNB付加要請メッセージをSeNBに転送する。ステップS620で、SeNBはL−GW支援の指示及び/又はL−GW IPアドレスを含むSeNB付加要請承認メッセージをMeNBに転送する。ステップS630で、MeNBはRRCConnectionReconfigurationメッセージをUEに転送する。このような手続は図13で記述された手続に該当することができる。
ステップS640で、MeNBはL−GW支援の指示及び/又はL−GW IPアドレスを含むE−RAB修正指示メッセージまたは新規メッセージをMMEに転送する。ステップS650で、MMEは特定E−RABに対してPDN GW再配置を遂行することを決定し、以後に該当PDNに対するPDN連結不活性化を再活性化要請原因を用いてトリガーする。ステップS660で、MMEはMeNBに通報する指示の原因を含むE−RAB修正確認メッセージをMeNBに転送する。
UEは、該当PDN連結を再−確立することをトリガーする。したがって、ステップS670で、MeNBはL−GW支援の指示及び/又はL−GW IPアドレスを含む初期UEメッセージまたはアップリンクNASメッセージをMMEに転送する。ステップS670は、図14に記述された手続に対応することができる。
ステップS680で、MMEは相関IDを含む初期コンテクスト設定要請メッセージまたはE−RAB設定要請メッセージをMeNBに転送する。ステップS680は、図15に記述された手続に対応することができる。
ステップS690で、MeNBは相関IDを含む新規メッセージまたは既存メッセージをSeNBに転送する。ステップS690は、図16に記述された手続に対応することができる。
図20は、本発明の一実施形態に係るL−GW支援を指示する方法の他の例示を図示する。
ステップS700で、MeNBはL−GW支援の指示をL−GWと共に位置するSeNBから受信する。L−GW支援の指示はLIPA L−GW転送階層アドレスまたはSIPTO L−GW転送階層アドレスを含むことができる。L−GW支援の指示はセル−特定手続、即ちX2設定要請メッセージまたはX2設定応答メッセージを通じて受信できる。または、L−GW支援の指示はUE−特定手続、即ち、SeNB付加要請承認メッセージを通じて受信できる。
ステップS710で、MeNBはSeNBのL−GW支援の指示をMMEに転送する。L−GW支援の指示は、E−RAB修正指示手続、トラッキング領域更新手続、初期UEメッセージ手続、またはアップリンクNAS転送手続のうち、一つの手続の間に転送できる。
また、MeNBは相関IDをMMEから受信することができる。相関IDは、E−RAB修正確認手続、E−RAB設定要請手続、または初期コンテクスト設定要請手続のうち、一つの手続の間に受信できる。また、MeNBは受信された相関IDをSeNBに転送することができる。相関IDは、SeNB付加手続またはSeNB修正手続の一つの手続の間に、または新規メッセージを通じて転送できる。
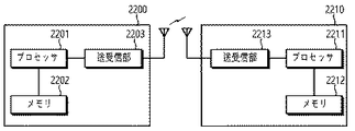
図21は、本発明の実施形態が具現される無線通信システムを示す。
第1のeNB 800は、プロセッサ(processor)810、メモリ(memory)820、及び送受信部(transceiver)830を含むことができる。プロセッサ810は本明細書で説明された機能、過程及び/又は方法を具現するように構成できる。無線インターフェースプロトコルの階層はプロセッサ810により具現できる。メモリ820はプロセッサ810と連結されて、プロセッサ810を駆動するための多様な情報を格納する。送受信部830はプロセッサ810と連結されて、無線信号を転送及び/又は受信する。
第2のeNBまたはMME 900は、プロセッサ910、メモリ920、及び送受信部930を含むことができる。プロセッサ910は、本明細書で説明された機能、過程及び/又は方法を具現するように構成できる。無線インターフェースプロトコルの階層は、プロセッサ910により具現できる。メモリ920はプロセッサ910と連結されて、プロセッサ910を駆動するための多様な情報を格納する。送受信部930はプロセッサ910と連結されて、無線信号を転送及び/又は受信する。
プロセッサ810、910は、ASIC(application−specific integrated circuit)、他のチップセット、論理回路及び/又はデータ処理装置を含むことができる。メモリ820、920は、ROM(read−only memory)、RAM(random access memory)、フラッシュメモリ、メモリカード、格納媒体及び/又は他の格納装置を含むことができる。送受信部830、930は、無線周波数信号を処理するためのベースバンド回路を含むことができる。実施形態がソフトウェアで具現される時、前述した技法は前述した機能を遂行するモジュール(過程、機能など)で具現できる。モジュールはメモリ820、920に格納され、プロセッサ810、910により実行できる。メモリ820、920はプロセッサ810、910の内部または外部にいることができ、よく知られた多様な手段によりプロセッサ810、910と連結できる。
前述した例示的なシステムにおいて、前述した本発明の特徴によって具現されることができる方法は、流れ図に基づいて説明された。便宜上、方法は、一連のステップまたはブロックで説明したが、請求された本発明の特徴は、ステップまたはブロックの順序に限定されるものではなく、あるステップは、異なるステップと、前述と異なる順序にまたは同時に発生できる。また、当業者であれば、流れ図に示すステップが排他的でなく、他のステップが含まれ、または流れ図の1つまたはそれ以上のステップが本発明の範囲に影響を及ぼさずに削除可能であることを理解することができる。
他の様態において、二重連結のMeNB(master eNB)が提供される。前記MeNBは、メモリ、送受信部、及び前記メモリ及び前記送受信部と連結されるプロセッサを含む。前記プロセッサは、ローカルゲートウェイ(L−GW;local gateway)と共に位置する二重連結のSeNB(secondary eNB)からL−GW支援の指示を受信するように前記送受信部を制御し、前記L−GW支援の指示をMME(mobility management entity)に転送するように前記送受信部を制御するように構成される。
本発明は、例えば、以下を提供する。
(項目1)
無線通信システムにおける二重連結のMeNB(master eNodeB)によるローカルゲートウェイ(L−GW;local gateway)の支援を指示する方法であって、
前記L−GWと共に位置する二重連結のSeNB(secondary eNB)からL−GW支援の指示を受信し、及び
前記L−GW支援の指示をMME(mobility management entity)に転送することを特徴とする、方法。
(項目2)
前記L−GW支援の指示はLIPA(local Internet protocol access)L−GW転送階層アドレスまたはSIPTO(selected IP traffic offload)転送階層アドレスを含むことを特徴とする、項目1に記載の方法。
(項目3)
前記L−GW支援の指示はX2設定要請メッセージまたはX2設定応答メッセージを通じて受信されることを特徴とする、項目1に記載の方法。
(項目4)
前記L−GW支援の指示はSeNB付加要請承認メッセージを通じて受信されることを特徴とする、項目1に記載の方法。
(項目5)
前記L−GW支援の指示はE−RAB(E−UTRAN radio access bearer)修正指示手続、トラッキング領域更新手続、初期UEメッセージ手続、またはアップリンクNAS(non−access stratum)転送手続のうち、一つの手続の間に転送されることを特徴とする、項目1に記載の方法。
(項目6)
前記MMEから相関(correlation)ID(identifier)を受信することを特徴とする、項目1に記載の方法。
(項目7)
前記相関IDは、E−RAB修正確認手続、E−RAB設定要請手続、または初期コンテクスト設定要請手続のうち、一つの手続の間に受信されることを特徴とする、項目1に記載の方法。
(項目8)
前記受信された相関IDを前記SeNBに転送することを特徴とする、項目6に記載の方法。
(項目9)
前記相関IDはSeNB付加手続またはSeNB修正手続または新規メッセージのうち、一つの手続の間に転送されることを特徴とする、項目8に記載の方法。
(項目10)
二重連結のMeNB(master eNB)であって、
メモリと、
送受信部と、
前記メモリ及び前記送受信部と連結されるプロセッサとを含み、かつ、
前記プロセッサは、
ローカルゲートウェイ(L−GW;local gateway)と共に位置する二重連結のSeNB(secondary eNB)からL−GW支援の指示を受信するように前記送受信部を制御し、
前記L−GW支援の指示をMME(mobility management entity)に転送するように前記送受信部を制御するように構成されることを特徴とする、MeNB。
(項目11)
前記L−GW支援の指示はLIPA(local Internet protocol access)L−GW転送階層アドレスまたはSIPTO(selected IP traffic offload)転送階層アドレスを含むことを特徴とする、項目10に記載のMeNB。
(項目12)
前記L−GW支援の指示は、X2設定要請メッセージまたはX2設定応答メッセージを通じて受信されることを特徴とする、項目10に記載のMeNB。
(項目13)
前記L−GW支援の指示はSeNB付加要請承認メッセージを通じて受信されることを特徴とする、項目10に記載のMeNB。
(項目14)
前記プロセッサは、前記MMEから相関(correlation)ID(identifier)を受信するように前記送受信部をさらに制御するように構成されることを特徴とする、項目10に記載のMeNB。
(項目15)
前記プロセッサは、前記受信された相関IDを前記SeNBに転送するように前記送受信部をさらに制御するように構成されることを特徴とする、項目14に記載のMeNB。

Claims (15)

  1. 無線通信システムにおける二重連結のMeNB(master eNodeB)によるローカルゲートウェイ(L−GW;local gateway)の支援を指示する方法であって、
    前記L−GWと共に位置する二重連結のSeNB(secondary eNB)からL−GW支援の指示を受信し、及び
    前記L−GW支援の指示をMME(mobility management entity)に転送することを特徴とする、方法。
  2. 前記L−GW支援の指示はLIPA(local Internet protocol access)L−GW転送階層アドレスまたはSIPTO(selected IP traffic offload)転送階層アドレスを含むことを特徴とする、請求項1に記載の方法。
  3. 前記L−GW支援の指示はX2設定要請メッセージまたはX2設定応答メッセージを通じて受信されることを特徴とする、請求項1に記載の方法。
  4. 前記L−GW支援の指示はSeNB付加要請承認メッセージを通じて受信されることを特徴とする、請求項1に記載の方法。
  5. 前記L−GW支援の指示はE−RAB(E−UTRAN radio access bearer)修正指示手続、トラッキング領域更新手続、初期UEメッセージ手続、またはアップリンクNAS(non−access stratum)転送手続のうち、一つの手続の間に転送されることを特徴とする、請求項1に記載の方法。
  6. 前記MMEから相関(correlation)ID(identifier)を受信することを特徴とする、請求項1に記載の方法。
  7. 前記相関IDは、E−RAB修正確認手続、E−RAB設定要請手続、または初期コンテクスト設定要請手続のうち、一つの手続の間に受信されることを特徴とする、請求項1に記載の方法。
  8. 前記受信された相関IDを前記SeNBに転送することを特徴とする、請求項6に記載の方法。
  9. 前記相関IDはSeNB付加手続またはSeNB修正手続または新規メッセージのうち、一つの手続の間に転送されることを特徴とする、請求項8に記載の方法。
  10. 二重連結のMeNB(master eNB)であって、
    メモリと、
    送受信部と、
    前記メモリ及び前記送受信部と連結されるプロセッサとを含み、かつ、
    前記プロセッサは、
    ローカルゲートウェイ(L−GW;local gateway)と共に位置する二重連結のSeNB(secondary eNB)からL−GW支援の指示を受信するように前記送受信部を制御し、
    前記L−GW支援の指示をMME(mobility management entity)に転送するように前記送受信部を制御するように構成されることを特徴とする、MeNB。
  11. 前記L−GW支援の指示はLIPA(local Internet protocol access)L−GW転送階層アドレスまたはSIPTO(selected IP traffic offload)転送階層アドレスを含むことを特徴とする、請求項10に記載のMeNB。
  12. 前記L−GW支援の指示は、X2設定要請メッセージまたはX2設定応答メッセージを通じて受信されることを特徴とする、請求項10に記載のMeNB。
  13. 前記L−GW支援の指示はSeNB付加要請承認メッセージを通じて受信されることを特徴とする、請求項10に記載のMeNB。
  14. 前記プロセッサは、前記MMEから相関(correlation)ID(identifier)を受信するように前記送受信部をさらに制御するように構成されることを特徴とする、請求項10に記載のMeNB。
  15. 前記プロセッサは、前記受信された相関IDを前記SeNBに転送するように前記送受信部をさらに制御するように構成されることを特徴とする、請求項14に記載のMeNB。
JP2017503128A 2014-07-24 2015-07-23 無線通信システムにおける二重連結のためのローカルゲートウェイサービスを支援する方法及び装置 Active JP6373480B2 (ja)

Applications Claiming Priority (5)

Application Number Priority Date Filing Date Title
US201462028344P 2014-07-24 2014-07-24
US62/028,344 2014-07-24
US201462078951P 2014-11-12 2014-11-12
US62/078,951 2014-11-12
PCT/KR2015/007688 WO2016013890A1 (en) 2014-07-24 2015-07-23 Method and apparatus for supporting local gateway service for dual connectivity in wireless communication system

Publications (2)

Publication Number Publication Date
JP2017526257A true JP2017526257A (ja) 2017-09-07
JP6373480B2 JP6373480B2 (ja) 2018-08-15

Family

ID=55163348

Family Applications (1)

Application Number Title Priority Date Filing Date
JP2017503128A Active JP6373480B2 (ja) 2014-07-24 2015-07-23 無線通信システムにおける二重連結のためのローカルゲートウェイサービスを支援する方法及び装置

Country Status (6)

Country Link
US (2) US10091641B2 (ja)
EP (1) EP3172941B1 (ja)
JP (1) JP6373480B2 (ja)
KR (1) KR101900417B1 (ja)
CN (1) CN106576397B (ja)
WO (1) WO2016013890A1 (ja)

Families Citing this family (9)

* Cited by examiner, † Cited by third party
Publication number Priority date Publication date Assignee Title
CN104717631B (zh) * 2013-12-11 2019-06-25 中兴通讯股份有限公司 一种实现本地网关业务的方法、系统及连接设备
KR101900417B1 (ko) 2014-07-24 2018-09-20 엘지전자 주식회사 무선 통신 시스템에서 이중 연결을 위한 로컬 게이트웨이 서비스를 지원하는 방법 및 장치
EP3329695B1 (en) * 2015-07-31 2021-04-14 Convida Wireless, LLC Notification and trigger for service layers and applications in a small cell network
CN106559920B (zh) * 2015-09-30 2022-09-09 北京三星通信技术研究有限公司 双连接架构下支持sipto或lipa承载释放的方法和设备
WO2018062907A1 (ko) * 2016-09-30 2018-04-05 엘지전자 주식회사 단말 컨텍스트를 관리하는 방법 및 이를 지원하는 장치
CN109561423B (zh) 2017-01-26 2020-07-14 华为技术有限公司 一种接入目标小区的方法以及装置
EP3544367B1 (en) * 2018-03-11 2022-08-10 HTC Corporation Device and method of handling a secondary node configuration
US10893561B2 (en) 2018-11-16 2021-01-12 T-Mobile Usa, Inc. Signaling reduction in dual connectivity networks
US20220256632A1 (en) * 2021-02-08 2022-08-11 Samsung Electronics Co., Ltd. Method and communication network for providing access to localized services (pals)

Citations (4)

* Cited by examiner, † Cited by third party
Publication number Priority date Publication date Assignee Title
WO2013006384A1 (en) * 2011-07-01 2013-01-10 Interdigital Patent Holdings, Inc. Method and apparatus for supporting local ip access -lipa- mobility
WO2013005992A2 (en) * 2011-07-05 2013-01-10 Samsung Electronics Co., Ltd. Method for avoiding handover failure
JP2014512762A (ja) * 2011-04-01 2014-05-22 インターデイジタル パテント ホールディングス インコーポレイテッド ローカル/リモートipトラフィックアクセスおよび選択的ipトラフィックオフロードサービス継続性
JP2017513427A (ja) * 2014-03-13 2017-05-25 インターデイジタル パテント ホールディングス インコーポレイテッド ローカルオフロードおよびスモールセルアーキテクチャ(sca)

Family Cites Families (4)

* Cited by examiner, † Cited by third party
Publication number Priority date Publication date Assignee Title
CN108601014A (zh) * 2011-07-01 2018-09-28 交互数字专利控股公司 在无线发射/接收单元(wtru)中使用的方法和wtru
CN110493887B (zh) * 2013-09-13 2024-10-11 北京三星通信技术研究有限公司 用于信息传输的方法和设备
US9509485B2 (en) * 2014-05-08 2016-11-29 Intel Corporation Systems and methods for in-device co-existence interference avoidance for dual connectivity
KR101900417B1 (ko) 2014-07-24 2018-09-20 엘지전자 주식회사 무선 통신 시스템에서 이중 연결을 위한 로컬 게이트웨이 서비스를 지원하는 방법 및 장치

Patent Citations (4)

* Cited by examiner, † Cited by third party
Publication number Priority date Publication date Assignee Title
JP2014512762A (ja) * 2011-04-01 2014-05-22 インターデイジタル パテント ホールディングス インコーポレイテッド ローカル/リモートipトラフィックアクセスおよび選択的ipトラフィックオフロードサービス継続性
WO2013006384A1 (en) * 2011-07-01 2013-01-10 Interdigital Patent Holdings, Inc. Method and apparatus for supporting local ip access -lipa- mobility
WO2013005992A2 (en) * 2011-07-05 2013-01-10 Samsung Electronics Co., Ltd. Method for avoiding handover failure
JP2017513427A (ja) * 2014-03-13 2017-05-25 インターデイジタル パテント ホールディングス インコーポレイテッド ローカルオフロードおよびスモールセルアーキテクチャ(sca)

Non-Patent Citations (3)

* Cited by examiner, † Cited by third party
Title
ALCATEL-LUCENT, ALCATEL-LUCENT SHANGHAI BELL: "LIPA/SIPTO Support in dual connectivity (SA2 point 9)[online]", 3GPP TSG-RAN WG3♯83 R3-140256, JPN6018012733, 31 January 2014 (2014-01-31), ISSN: 0003773719 *
LG ELECTRONICS INC.: "Consideration on SIPTO for Dual Connectivity[online]", 3GPP TSG-RAN WG3#87 R3-150264, JPN6018012736, 31 January 2015 (2015-01-31), ISSN: 0003773721 *
SAMSUNG: "Motivation for new WI Proposal on Dual Connectivity Enhancement for LTE[online]", 3GPP TSG-RAN#64 RP-140951, JPN6018012735, 9 June 2014 (2014-06-09), ISSN: 0003773720 *

Also Published As

Publication number Publication date
EP3172941A4 (en) 2018-03-28
WO2016013890A1 (en) 2016-01-28
EP3172941B1 (en) 2021-04-28
KR20170016974A (ko) 2017-02-14
KR101900417B1 (ko) 2018-09-20
US10091641B2 (en) 2018-10-02
EP3172941A1 (en) 2017-05-31
CN106576397B (zh) 2020-07-14
US20180376529A1 (en) 2018-12-27
US10492240B2 (en) 2019-11-26
US20170215062A1 (en) 2017-07-27
CN106576397A (zh) 2017-04-19
JP6373480B2 (ja) 2018-08-15

Similar Documents

Publication Publication Date Title
JP6353158B2 (ja) 無線通信システムにおける二重連結のためのサービス解除を通報する方法及び装置
US10278103B2 (en) Method and apparatus for performing inter-MeNB handover without SeNB change in wireless communication system
US9241354B2 (en) Method and apparatus for initiating X2 interface setup in wireless communication system
JP6373480B2 (ja) 無線通信システムにおける二重連結のためのローカルゲートウェイサービスを支援する方法及び装置
KR102242295B1 (ko) 무선 통신 시스템에서 이중 연결에서의 e-rab 전환 문제를 처리하기 위한 방법 및 장치
US9936429B2 (en) Method and apparatus for setting up SCTP connection and X2 interface in wireless communication system
JP6453474B2 (ja) 無線通信システムにおける二重接続のための独立型ローカルゲートウェイサービスを支援するための方法及び装置
US10455486B2 (en) Method and apparatus for performing access control or membership verification for dual connectivity in wireless communication system
US10609759B2 (en) Method and apparatus for handling duplicated E-RABS for dual connectivity in wireless communication system
US10462835B2 (en) Method and apparatus for performing location update for dual connectivity in wireless communication system
US10368272B2 (en) Method and apparatus for transmitting indication in wireless communication system
US10321491B2 (en) Method and apparatus for supporting local gateway service for dual connectivity in wireless communication system

Legal Events

Date Code Title Description
A521 Request for written amendment filed

Free format text: JAPANESE INTERMEDIATE CODE: A523

Effective date: 20170119

A621 Written request for application examination

Free format text: JAPANESE INTERMEDIATE CODE: A621

Effective date: 20170119

A977 Report on retrieval

Free format text: JAPANESE INTERMEDIATE CODE: A971007

Effective date: 20180227

A131 Notification of reasons for refusal

Free format text: JAPANESE INTERMEDIATE CODE: A131

Effective date: 20180406

A521 Request for written amendment filed

Free format text: JAPANESE INTERMEDIATE CODE: A523

Effective date: 20180618

TRDD Decision of grant or rejection written
A01 Written decision to grant a patent or to grant a registration (utility model)

Free format text: JAPANESE INTERMEDIATE CODE: A01

Effective date: 20180627

A61 First payment of annual fees (during grant procedure)

Free format text: JAPANESE INTERMEDIATE CODE: A61

Effective date: 20180717

R150 Certificate of patent or registration of utility model

Ref document number: 6373480

Country of ref document: JP

Free format text: JAPANESE INTERMEDIATE CODE: R150

R250 Receipt of annual fees

Free format text: JAPANESE INTERMEDIATE CODE: R250

R250 Receipt of annual fees

Free format text: JAPANESE INTERMEDIATE CODE: R250

R250 Receipt of annual fees

Free format text: JAPANESE INTERMEDIATE CODE: R250

R250 Receipt of annual fees

Free format text: JAPANESE INTERMEDIATE CODE: R250

R250 Receipt of annual fees

Free format text: JAPANESE INTERMEDIATE CODE: R250