JP2017194411A - 流量検出装置およびこれを備えた温水装置 - Google Patents

流量検出装置およびこれを備えた温水装置 Download PDF

Info

Publication number
JP2017194411A
JP2017194411A JP2016085967A JP2016085967A JP2017194411A JP 2017194411 A JP2017194411 A JP 2017194411A JP 2016085967 A JP2016085967 A JP 2016085967A JP 2016085967 A JP2016085967 A JP 2016085967A JP 2017194411 A JP2017194411 A JP 2017194411A
Authority
JP
Japan
Prior art keywords
magnetic
flow path
shaft portion
flow rate
center shaft
Prior art date
Legal status (The legal status is an assumption and is not a legal conclusion. Google has not performed a legal analysis and makes no representation as to the accuracy of the status listed.)
Granted
Application number
JP2016085967A
Other languages
English (en)
Other versions
JP6667795B2 (ja
Inventor
康司 山内
Koji Yamauchi
康司 山内
碧 横山
Midori Yokoyama
碧 横山
濱田 誠
Makoto Hamada
誠 濱田
明飛 安田
Akito Yasuda
明飛 安田
Current Assignee (The listed assignees may be inaccurate. Google has not performed a legal analysis and makes no representation or warranty as to the accuracy of the list.)
Noritz Corp
Original Assignee
Noritz Corp
Priority date (The priority date is an assumption and is not a legal conclusion. Google has not performed a legal analysis and makes no representation as to the accuracy of the date listed.)
Filing date
Publication date
Application filed by Noritz Corp filed Critical Noritz Corp
Priority to JP2016085967A priority Critical patent/JP6667795B2/ja
Publication of JP2017194411A publication Critical patent/JP2017194411A/ja
Application granted granted Critical
Publication of JP6667795B2 publication Critical patent/JP6667795B2/ja
Active legal-status Critical Current
Anticipated expiration legal-status Critical

Links

Images

Landscapes

  • Measuring Volume Flow (AREA)

Abstract

【課題】従来よりも流量検出精度を高めることが可能な流量検出装置を提供する。
【解決手段】流体の旋回流に伴って環状流路10bを周回するように環状流路10b内に配された磁性ボール3と、環状流路10bの外周囲または内周囲のいずれかの位置に配され、かつ磁性ボール3が接近する都度、その旨を検知するための磁気センサSと、を備えている、流量検出装置Aであって、環状流路10bの内側に設けられた磁性体4を、さらに備えており、磁性ボール3は、磁性体4との間で働く磁力によって旋回中心軸部20の外周面に接触し、かつこの接触状態が維持されたまま環状流路10bを周回可能な構成とされている。
【選択図】 図2

Description

本発明は、いわゆるボール回転方式(ボール旋回方式)の流量検出装置、およびこれを備えた温水装置に関する。
流量検出装置の具体例として、特許文献1,2に記載のものがあり、その基本的な構成の概要を、図7に示す。
同図に示す流量検出装置Aeは、旋回中心軸部20と円筒状の外周壁部13とを備えており、これらの相互間領域は、流量検出対象の流体が旋回流として流れる環状流路10bとなっている。環状流路10b内には、磁石30が内蔵された磁性ボール3が配され、流体の旋回流に伴って磁性ボール3は環状流路10bを周回する。その一方、外周壁部13の外側には、磁性ボール3が接近する都度、その旨を検知するための磁気センサSが設けられている。
このような構成によれば、磁気センサSによって磁性ボール3が検出される都度出力される検出信号の頻度などに基づき、流体の流量検出が可能である。
しかしながら、前記従来技術においては、次に述べるように、未だ改善すべき余地がある。
すなわち、磁性ボール3が環状流路10bを周回する際には、磁性ボール3が、図8の矢印Naで示す方向に回転(自転)する。このような自転を生じたのでは、磁性ボール3が磁気センサSに接近した際に、磁気センサSに対して磁石30のN極が向かう場合、S極が向かう場合、およびN極とS極との双方が向かう場合とが発生する。磁気センサSによって磁性ボール3が接近したことを正確に検出する上では、磁気センサSに作用する磁極は一定であることが好ましく、前記したように磁気センサSに作用する磁極が変化したのでは、磁性ボール3を正確に検出できない虞がある。
さらに、磁性ボール3は、図8(b)の矢印Nbで示す方向に回転(自転)する虞もある。このため、磁石30が傾いた状態で磁気センサSに対向し、磁石30の強い磁力線の向き(矢印Ncの向き)が磁気センサSからずれるような場合も発生する。このような現象も、磁性ボール3の検出が不正確となる要因、ひいては流体の流量検出精度を低下させる要因となる。
実開平1−131118号公報 特公平4−72172号公報
本発明は、前記したような事情のもとで考え出されたものであり、従来よりも流量検出精度を高めることが可能な流量検出装置、およびこれを備えた温水装置を提供することを、その課題としている。
上記の課題を解決するため、本発明では、次の技術的手段を講じている。
本発明の第1の側面により提供される流量検出装置は、旋回中心軸部を囲む外周壁部を有し、かつこれら旋回中心軸部および外周壁部の相互間領域を流体の旋回流が流れる環状流路としている流路形成部材と、前記流体の旋回流に伴って前記環状流路を周回するように前記環状流路内に配され、かつ磁石を用いて構成された磁性ボールと、前記環状流路の外周囲または内周囲のいずれかの位置に配され、かつ前記磁性ボールが接近する都度、その旨を検知するための磁気センサと、を備えている、流量検出装置であって、前記環状流路の内側に設けられた磁性体を、さらに備えており、前記磁性ボールは、前記磁性体との間で働く磁力によって前記旋回中心軸部の外周面に接触し、かつこの接触状態が維持されたまま前記環状流路を周回することが可能な構成とされていることを特徴としている。
このような構成によれば、次のような効果が得られる。
すなわち、環状流路に流体の旋回流が生じた際に、磁性ボールは、環状流路の内側に設けられた磁性体との間で働く磁力により、旋回中心軸部の外周面に接触した状態のまま環状流路を周回するため、この周回時においては、磁性ボールに旋回中心軸部の軸長方向視における回転(図8(a)の矢印Naの自転)を生じないようにすることが可能である。したがって、磁性ボールが磁気センサに接近する都度、前記回転に起因して磁気センサに作用する磁極が変化することを解消することができる。
また、磁性ボールが旋回中心軸部の外周面に接触する場合、磁性ボールの磁石は、その磁力が磁性体に対して最も強く作用する向きとなる(たとえば、磁石が旋回中心軸部の軸長方向に対して傾いていない向きとなる)。このことを利用し、磁性ボールの磁石の向きを、その磁力が磁気センサに対して最も強く作用する好ましい向きに設定することが可能である。その一方、本発明によれば、磁性ボールの周回方向正面視における回転(図8(b)の矢印Nbの自転)も防止することができるため、磁石が磁気センサに対して強い磁力を作用させる好ましい向きがずれないようにすることもできる。
このようなことから、本発明によれば、前記従来技術と比較して、磁気センサによる磁性ボールの検出をより正確に行なうことが可能となり、流体の流量検出精度を高めることができる。
本発明において、好ましくは、前記旋回中心軸部は、樹脂製であり、かつ前記磁性体は、前記旋回中心軸部に設けられた孔部内に挿入された状態、または前記旋回中心軸部の樹脂に覆われた埋設状態で、前記旋回中心軸部に取り付けられている。
このような構成によれば、磁性体を環状流路の内側に配置させることが、簡易な構成によって実現される。また、旋回中心軸部の全体を磁性体にする場合と比較して、全体の軽量化や製造コストの低減化を図ることもできる。
本発明において、好ましくは、前記旋回中心軸部と前記流路形成部材とは別体で形成されており、前記磁性ボールは、前記旋回中心軸部が前記流路形成部材に組み付けられていない状態で斜めに傾けられたときにおいても、前記旋回中心軸部の外周面に接触した状態が維持され、前記旋回中心軸部からの落下が防止される磁力をもっている。
このような構成によれば、流量検出装置の組み立て製造工程において、旋回中心軸部に磁性ボールを磁力吸着させた状態で、これらを流路形成部材に組み込む場合に、旋回中心軸部を斜めに傾けた場合であっても磁性ボールが旋回中心軸部から落下しないこととなる。したがって、流量検出装置の組み立て製造作業の容易化を図ることができる。
本発明の第2の側面により提供される流量検出装置は、旋回中心軸部を囲む外周壁部を有し、かつこれら旋回中心軸部および外周壁部の相互間領域を流体の旋回流が流れる環状流路としている流路形成部材と、前記流体の旋回流に伴って前記環状流路を周回するように前記環状流路内に配され、かつ磁石を用いて構成された磁性ボールと、前記環状流路の
外周囲または内周囲のいずれかの位置に配され、かつ前記磁性ボールが接近する都度、その旨を検知するための磁気センサと、を備えている、流量検出装置であって、前記環状流路の外周を囲むように設けられた環状の磁性体を、さらに備えており、前記磁性ボールは、前記磁性体との間で働く磁力によって前記外周壁部の内周面に接触し、かつこの接触状態が維持されたまま前記環状流路を周回することが可能な構成とされていることを特徴としている。
このような構成によれば、次のような効果が得られる。
すなわち、環状流路に流体の旋回流が生じた際に、磁性ボールは、環状流路の外周を囲むように設けられた環状の磁性体との間で働く磁力により、環状流路の外側に位置する外周壁部の内周面に接触した状態のまま環状流路を周回するため、本発明の第1の側面により提供される流量検出装置と同様な原理により、磁性ボールの旋回中心軸部の軸長方向視における回転(図8(a)の矢印Naの自転)が防止される。また、磁性ボールについては、磁石の磁力が磁気センサに対して強く作用する向きに設定し得るとともに、磁性ボールの周回方向正面視における回転(図8(b)の矢印Nbの自転)も防止されるため、前記した磁石の好ましい向きがずれないようにすることもできる。このようなことから、磁気センサによる磁性ボールの検出を正確に行なうことが可能であり、流体の流量検出精度を高めることができる。
本発明において、好ましくは、前記旋回中心軸部の軸長方向において、前記磁性ボールの磁石の中心部と前記磁性体とは互いにオーバラップする配置とされている。
このような構成によれば、磁性ボールと磁性体との間で磁力を有効に働かせ、磁性ボールが環状流路を周回する際に、磁性ボールの回転(自転)を的確に防止する上で、一層好ましいものとなる。
本発明の第3の側面により提供される温水装置は、本発明の第1または第2の側面により提供される流量検出装置が、湯水流通経路に設けられていることを特徴としている。
このような構成によれば、本発明の第1または第2の側面により提供される流量検出装置について述べたのと同様な効果を得ることができる。
本発明のその他の特徴および利点は、添付図面を参照して以下に行なう発明の実施の形態の説明から、より明らかになるであろう。
(a)は、本発明に係る流量検出装置の一例を示す断面図であり、(b)は、(a)のIb−Ib断面図である。 図1(a)のIIa−IIa断面図であり、(b)は、(a)のIIb−IIb断面図である。 図1に示す流量検出装置の分解図である。 図1に示す流量検出装置を備えた温水装置の一例を示す概略説明図である。 (a)は、本発明の他の例を示す要部平面断面図であり、(b)は、(a)のVb-Vb断面図である。 本発明の他の例を示す要部平面断面図である。 (a)は、従来技術の一例を示す要部平面断面図であり、(b)は、(a)のVIIb−VIIb断面図である。 (a)は、図7に示す従来技術の作用を示す要部平面断面図であり、(b)は、(a)のVIIIb−VIIIb断面図である。
以下、本発明の好ましい実施の形態について、図面を参照して具体的に説明する。
なお、以降の説明においては、理解を容易にするため、図7および図8の従来技術と同一または類似の要素には、従来技術と同一の符号を用いることとする。
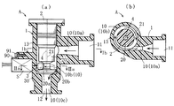
図1(a)に示す流量検出装置Aは、流体の流入口11および流出口12を有するハウジング1、旋回中心軸部20を有する補助部材2、ハウジング1内に形成された後述する環状流路10bに配された磁性ボール3、磁気センサS、ならびに磁性体4を備えている。ハウジング1および補助部材2は、樹脂製(非磁性体)である。
ハウジング1は、本発明でいう流路形成部材の一例に相当し、流入口11から流出口12に到る一連の流路10(10a〜10c)を内部に形成している。補助部材2は、ハウジング1内にその上部から挿入されるようにしてハウジング1に取り付けられており、ハウジング1の流路10内の一部に挿入されている。この補助部材2の先端寄り部分(下端寄り部分)が旋回中心軸部20であり、この旋回中心軸部20とハウジング1の略円筒状の外周壁部13との相互間領域は、流体の旋回流が流れる環状流路10bとなっている。
より具体的には、図1(b)に示すように、ハウジング1の流入口11側の流路10aは、環状流路10bに対して略接線方向に流体を流れ込ませるように設けられている。このことにより、環状流路10bには流体の旋回流が発生する。この旋回流は、旋回状態を維持したまま環状流路10bを徐々に下降していき、その後は旋回中心軸部20の先端部に形成されたフランジ部20aとハウジング1の外周壁部13との隙間を通過して流出口12側の流路10cに流れ、流出口12からその下流側に流れていく。
磁性ボール3は、図2によく表われているように、ブロック状などの適当な形態の磁石30が、樹脂により覆われた構造をもち、その全体形状は、たとえば球状である。旋回中心軸部20のうち、フランジ部20aの上側領域は、環状凹部20bとして形成されており、磁性ボール3は、この環状凹部20b内に全体またはその一部が嵌入されるようにして環状流路10b内に位置している。したがって、磁性ボール3は、環状凹部20bによって上下高さ方向(旋回中心軸部20の軸長方向)における位置規制を受けつつ、前記した流体の旋回流に伴って環状流路10bを周回可能である。
磁気センサSは、ハウジング1の外周壁部13の外面部に、図1(a)に示すブラケット片90やビス91などを用いて取り付けられている。この磁気センサSは、環状流路10bを周回する磁性ボール3が磁気センサSに接近する都度、その旨を検知し、所定の検知信号を出力可能である。この検知信号に基づき磁性ボール3の周回回数のカウント動作などが可能であり、不図示のデータ処理手段において、流体の流量が演算される。磁気センサSとしては、たとえばコイル方式やホール素子方式などの従来既知のものを用いることが可能である。
磁性体4は、たとえば鉄製の線材(針金)またはバー状部材であり、補助部材2に設けられた孔部21内に挿入されていることにより、補助部材2への取り付けが図られている。この磁性体4は、旋回中心軸部20の略中心に位置し、かつ上下高さ方向に延びており、上下高さ方向において磁性ボール3(少なくとも磁性ボール3の中心部)とオーバラップしている。好ましくは、磁性体4の上下長さは、磁性ボール3の磁石30の上下・横幅・前後の幅寸法よりも長い寸法とされ、磁性体4と磁性ボール3とを互いに引き寄せる磁力ができる限り有効に働くように構成されている。このような構成に基づき、本実施形態においては、図2(a)に示すように、磁性ボール3は、磁性体4との間で働く磁力によって旋回中心軸部20の外周面に接触し、かつこの接触状態が維持されたまま環状流路10bを周回するようになっている。
好ましくは、磁性ボール3と磁性体4との間で働く磁力は、図3に示すように、補助部材2がハウジング1に組み付けられていない状態において、同図仮想線で示すように補助部材2を斜めに傾けた場合であっても、磁性ボール3が旋回中心軸部20から落下せず、旋回中心軸部20に保持される磁力とされている。このような構成によれば、流量検出装置Aの組み立て作業工程において、旋回中心軸部20とともに磁性ボール3をハウジング1内に組み込む際に、旋回中心軸部20に磁性ボール3を適切に保持させることができる。仮に、旋回中心軸部20を傾けた場合であっても、磁性ボール3が落下しないため、それらをハウジング1内に組み込む作業が容易となる。
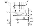
前記した流量検出装置Aは、たとえば図4に示すような給湯装置WHに組み込まれて使用される。
この給湯装置WHは、入水口60aに供給された湯水が、入水路60を介して熱交換器6に送り込まれ、かつガスバーナなどのバーナ7によって加熱されるように構成されている。加熱後の湯水は、出湯路61を介して出湯口61aに到達する。一方、入水路60と出湯路61とは、バイパス流路62を介して接続されており、出湯路61を流れる加熱湯水に、パイパス流路62を通過した非加熱の湯水が混合され、この混合比が流量調整弁V1,V2などを利用して調整されることにより、出湯口61aに到達する湯水温度が調整可能となっている。流量検出装置Aは、入水路60に設けられており、熱交換器6に送り込まれる湯水の流量検出に利用される。
次に、前記した流量検出装置Aの作用について説明する。
まず、流入口11に流体の一例として湯水が供給されると、この湯水は旋回流となって環状流路10bを流れ、これに伴って磁性ボール3は環状流路10bを周回することとなる。ここで、磁性ボール3の周回は、既述したように、磁性ボール3と磁性体4との間で働く磁力によって、磁性ボール3が旋回中心軸部20の外周面に接触した状態のままで行なわれるため、図2(a)に示す平面視(旋回中心軸部20の軸長方向視)において、磁性ボール3が自転しないようにすることができる。すなわち、図8(a)において矢印Naで示した磁性ボール3の自転は防止される。図2(a)では、磁石30のS極が磁性体4と引き合った例を示しているが、このような状態は、磁性ボール3が環状流路10bを周回する際においても維持される。したがって、磁気センサSに磁性ボール3が接近した際には、常に、磁石30のN極が磁気センサS側を向くこととなる。その結果、磁気センサSに作用する磁極が変化しないようにし、磁極の変化に起因して磁気センサSによる磁性ボール3の検出精度が悪くなる不具合を解消することができる。
磁性ボール3は、旋回中心軸部20の外周面に接触する場合、磁石30と磁性体4との間で働く磁力が最も強くなる向きとなり、図2(b)に示すように、磁石30の中心軸CLが上下高さ方向において傾きのない、または少ない状態となる。すると、同図から理解されるように、磁石30は、磁気センサSに対しても最も強い磁力を作用させ得る向き(矢印Ndで示す強い磁力線が磁気センサSからずれていない向き)となる。一方、磁性ボール3は、既述したように、磁性体4との間で働く磁力によって旋回中心軸部20の外周面に接触したまま周回するため、図8(b)の矢印Nbで示した方向に回転することも防止される。したがって、磁気センサSに磁性ボール3が接近した際には、常に、強い磁力を磁気センサSに安定的に作用させ得ることとなる。
このようなことから、本実施形態の流量検出装置Aにおいては、磁気センサSによる磁性ボール3の検出精度をよくし、ひいては流体の流量検出精度もよくすることが可能となる。図3を参照して説明したように、流量検出装置Aの組み立て作業性を向上させ得る利点も得られる。
図5および図6は、本発明の他の実施形態を示している。
図5に示す流量検出装置Aaにおいては、ハウジング1の外周壁部13の外周部分に、環状の磁性体4Aが外嵌された状態に取り付けられている。前記実施形態とは異なり、旋回中心軸部20の内部に磁性体4が設けられた構成とはされていない。本実施形態では、磁性ボール3と磁性体4Aとの間で働く磁力により、磁性ボール3が外周壁部13の内周面に接触し、かつこの接触状態を維持したまま環状流路10bを周回可能とされている。
本実施形態においても、前記実施形態と同様な原理により、磁性ボール3の自転や、磁石30の傾きなどが解消され、磁気センサSよる磁性ボール3の検出精度を高めることが可能である。
図6に示す流量検出装置Abにおいては、旋回中心軸部20が円筒状に形成され、かつその内部に磁気センサSが設けられている。このような構成においても、磁気センサSを外周壁部13の外側に設けた場合と同様に、磁性ボール3の周回回数のカウント動作を適切に行なうことが可能である。
本発明は、上述した実施形態の内容に限定されない。本発明に係る流量検出装置、および温水装置の各部の具体的な構成は、本発明の意図する範囲内において種々に設計変更自在である。
旋回中心軸部20の内部に磁性体を設けるための手段としては、旋回中心軸部20に設けられた孔部21内に磁性体を挿入する手段以外として、たとえば旋回中心軸部20を樹脂成形する際に、適当な形状およびサイズの磁性体をその内部に挿入させることにより、磁性体を旋回中心軸部20内に埋設する手段を採用することもできる。
磁性ボール3を旋回中心軸部20の外周面に接触させ、かつこの接触状態を維持させる場合、これを実現するための手段としては、旋回中心軸部20とは別体の磁性体4を、旋回中心軸部20の内部に配置させる手段に代えて、たとえば旋回中心軸部20自体を磁性体とする手段を採用することもできる。要は、環状流路の内側(半径方向内側)に磁性体が設けられていればよい。
一方、前記とは異なり、磁性ボール3を外周壁部13に接触させ、かつこの接触状態を維持させる場合、これを実現するための手段としては、外周壁部13とは別体の環状の磁性体4Aを、外周壁部13に外嵌させる手段に代えて、磁性体4Aを外周壁部13内に埋設する手段、あるいは外周壁部13の内周面自体を磁性体4Aを用いて形成し、この磁性体4Aに磁性ボール3を直接吸着させる手段などを採用することもできる。要は、環状の磁性体が環状流路の外周を囲むように設けられていればよい。磁性体は、単一部材でなくてもよく、たとえば半円弧状の2つ磁性体を環状に組み合わせるといった手段を採用することも可能である。
磁性ボールは、磁石を樹脂で覆った構造でなくてもよく、たとえば磁性ボールの全体が磁石であってもよい。また、磁性ボールは、必ずしも球状でなくてもよく、他の形状にすることもできる。磁気センサの具体的な種類も限定されない。本発明に係る流量検出装置は、温水装置用に限定されず、温水装置以外の様々な装置・機器類、および配管部などにおける流体の流量検出用途に用いることが可能である。したがって、流体の種類も限定されない。
A,Aa,Ab 流量検出装置
S 磁気センサ
1 ハウジング(流路形成部材)
10b 環状流路
13 外周壁部
2 補助部材
20 旋回中心軸部
21 孔部
3 磁性ボール
30 磁石
4,4A 磁性体

Claims (6)

  1. 旋回中心軸部を囲む外周壁部を有し、かつこれら旋回中心軸部および外周壁部の相互間領域を流体の旋回流が流れる環状流路としている流路形成部材と、
    前記流体の旋回流に伴って前記環状流路を周回するように前記環状流路内に配され、かつ磁石を用いて構成された磁性ボールと、
    前記環状流路の外周囲または内周囲のいずれかの位置に配され、かつ前記磁性ボールが接近する都度、その旨を検知するための磁気センサと、
    を備えている、流量検出装置であって、
    前記環状流路の内側に設けられた磁性体を、さらに備えており、
    前記磁性ボールは、前記磁性体との間で働く磁力によって前記旋回中心軸部の外周面に接触し、かつこの接触状態が維持されたまま前記環状流路を周回することが可能な構成とされていることを特徴とする、流量検出装置。
  2. 請求項1に記載の流量検出装置であって、
    前記旋回中心軸部は、樹脂製であり、かつ前記磁性体は、前記旋回中心軸部に設けられた孔部内に挿入された状態、または前記旋回中心軸部の樹脂に覆われた埋設状態で、前記旋回中心軸部に取り付けられている、流量検出装置。
  3. 請求項1または2に記載の流量検出装置であって、
    前記旋回中心軸部と前記流路形成部材とは別体で形成されており、
    前記磁性ボールは、前記旋回中心軸部が前記流路形成部材に組み付けられていない状態で斜めに傾けられたときにおいても、前記旋回中心軸部の外周面に接触した状態が維持され、前記旋回中心軸部からの落下が防止される磁力をもっている、流量検出装置。
  4. 旋回中心軸部を囲む外周壁部を有し、かつこれら旋回中心軸部および外周壁部の相互間領域を流体の旋回流が流れる環状流路としている流路形成部材と、
    前記流体の旋回流に伴って前記環状流路を周回するように前記環状流路内に配され、かつ磁石を用いて構成された磁性ボールと、
    前記環状流路の外周囲または内周囲のいずれかの位置に配され、かつ前記磁性ボールが接近する都度、その旨を検知するための磁気センサと、
    を備えている、流量検出装置であって、
    前記環状流路の外周を囲むように設けられた環状の磁性体を、さらに備えており、
    前記磁性ボールは、前記磁性体との間で働く磁力によって前記外周壁部の内周面に接触し、かつこの接触状態が維持されたまま前記環状流路を周回することが可能な構成とされていることを特徴とする、流量検出装置。
  5. 請求項1ないし4のいずれかに記載の流量検出装置であって、
    前記旋回中心軸部の軸長方向において、前記磁性ボールの磁石の中心部と前記磁性体とは互いにオーバラップする配置とされている、流量検出装置。
  6. 請求項1ないし5のいずれかに記載の流量検出装置が、湯水流通経路に設けられていることを特徴とする、温水装置。
JP2016085967A 2016-04-22 2016-04-22 流量検出装置およびこれを備えた温水装置 Active JP6667795B2 (ja)

Priority Applications (1)

Application Number Priority Date Filing Date Title
JP2016085967A JP6667795B2 (ja) 2016-04-22 2016-04-22 流量検出装置およびこれを備えた温水装置

Applications Claiming Priority (1)

Application Number Priority Date Filing Date Title
JP2016085967A JP6667795B2 (ja) 2016-04-22 2016-04-22 流量検出装置およびこれを備えた温水装置

Publications (2)

Publication Number Publication Date
JP2017194411A true JP2017194411A (ja) 2017-10-26
JP6667795B2 JP6667795B2 (ja) 2020-03-18

Family

ID=60154814

Family Applications (1)

Application Number Title Priority Date Filing Date
JP2016085967A Active JP6667795B2 (ja) 2016-04-22 2016-04-22 流量検出装置およびこれを備えた温水装置

Country Status (1)

Country Link
JP (1) JP6667795B2 (ja)

Cited By (2)

* Cited by examiner, † Cited by third party
Publication number Priority date Publication date Assignee Title
CN113514115A (zh) * 2021-05-06 2021-10-19 浙江荣鑫智能仪表股份有限公司 一种超声波燃气表出气口防烫破坏装置
CN118988116A (zh) * 2024-10-23 2024-11-22 中国建筑第五工程局有限公司 一种地坪工程施工用的涂料调配装置

Cited By (2)

* Cited by examiner, † Cited by third party
Publication number Priority date Publication date Assignee Title
CN113514115A (zh) * 2021-05-06 2021-10-19 浙江荣鑫智能仪表股份有限公司 一种超声波燃气表出气口防烫破坏装置
CN118988116A (zh) * 2024-10-23 2024-11-22 中国建筑第五工程局有限公司 一种地坪工程施工用的涂料调配装置

Also Published As

Publication number Publication date
JP6667795B2 (ja) 2020-03-18

Similar Documents

Publication Publication Date Title
US5433118A (en) Magnetic turbine rotor for low flow fluid meter
US5540107A (en) Liquid flow meter
US3623835A (en) Gas flowmeter
US7071683B2 (en) Rotation angle sensing device having enlarged detectable angle range
JP2017194411A (ja) 流量検出装置およびこれを備えた温水装置
US6581476B1 (en) Measuring apparatus
KR102421713B1 (ko) 유량계
KR101423048B1 (ko) 터빈 유량계
US6639398B2 (en) Magnetic sensor that concentrates magnetic flux in an air gap
CN213579561U (zh) 一种抗磁干扰的水表
JP2005257309A (ja) タービン流量計及び流体回転機械
JP2006317233A (ja) フローセンサ及び配管ユニット
JPS60228923A (ja) フロ−センサ−
JP6659199B2 (ja) 流量計
JPH0384422A (ja) 流量センサ
EP1464927A2 (en) A flowmeter with magnetic sensor
JP2017194409A (ja) 流量検出装置およびこれを備えた温水装置
JPH0317223Y2 (ja)
CN216524132U (zh) 一种叶轮组件及流量计
JPH0327846B2 (ja)
TWM473466U (zh) 具流量監測功能之飲水龍頭
KR20260003924A (ko) 미소유량 측정이 가능한 터빈 유량계
JP2016194469A (ja) 検出ユニット
JPH01265121A (ja) 流量検出器
JPS604090Y2 (ja) 流量検出器

Legal Events

Date Code Title Description
A621 Written request for application examination

Free format text: JAPANESE INTERMEDIATE CODE: A621

Effective date: 20190328

TRDD Decision of grant or rejection written
A01 Written decision to grant a patent or to grant a registration (utility model)

Free format text: JAPANESE INTERMEDIATE CODE: A01

Effective date: 20200127

A977 Report on retrieval

Free format text: JAPANESE INTERMEDIATE CODE: A971007

Effective date: 20200129

A61 First payment of annual fees (during grant procedure)

Free format text: JAPANESE INTERMEDIATE CODE: A61

Effective date: 20200209

R150 Certificate of patent or registration of utility model

Ref document number: 6667795

Country of ref document: JP

Free format text: JAPANESE INTERMEDIATE CODE: R150