JP2017133669A - Ball Screw - Google Patents

Ball Screw Download PDF

Info

Publication number
JP2017133669A
JP2017133669A JP2016016247A JP2016016247A JP2017133669A JP 2017133669 A JP2017133669 A JP 2017133669A JP 2016016247 A JP2016016247 A JP 2016016247A JP 2016016247 A JP2016016247 A JP 2016016247A JP 2017133669 A JP2017133669 A JP 2017133669A
Authority
JP
Japan
Prior art keywords
nut
screw
ball screw
groove
curved surface
Prior art date
Legal status (The legal status is an assumption and is not a legal conclusion. Google has not performed a legal analysis and makes no representation as to the accuracy of the status listed.)
Pending
Application number
JP2016016247A
Other languages
Japanese (ja)
Inventor
辰徳 清水
Tatsunori Shimizu
辰徳 清水
Current Assignee (The listed assignees may be inaccurate. Google has not performed a legal analysis and makes no representation or warranty as to the accuracy of the list.)
NTN Corp
Original Assignee
NTN Corp
NTN Toyo Bearing Co Ltd
Priority date (The priority date is an assumption and is not a legal conclusion. Google has not performed a legal analysis and makes no representation as to the accuracy of the date listed.)
Filing date
Publication date
Application filed by NTN Corp, NTN Toyo Bearing Co Ltd filed Critical NTN Corp
Priority to JP2016016247A priority Critical patent/JP2017133669A/en
Priority to PCT/JP2017/002312 priority patent/WO2017130951A1/en
Publication of JP2017133669A publication Critical patent/JP2017133669A/en
Pending legal-status Critical Current

Links

Images

Classifications

    • FMECHANICAL ENGINEERING; LIGHTING; HEATING; WEAPONS; BLASTING
    • F16ENGINEERING ELEMENTS AND UNITS; GENERAL MEASURES FOR PRODUCING AND MAINTAINING EFFECTIVE FUNCTIONING OF MACHINES OR INSTALLATIONS; THERMAL INSULATION IN GENERAL
    • F16HGEARING
    • F16H25/00Gearings comprising primarily only cams, cam-followers and screw-and-nut mechanisms
    • F16H25/18Gearings comprising primarily only cams, cam-followers and screw-and-nut mechanisms for conveying or interconverting oscillating or reciprocating motions
    • F16H25/20Screw mechanisms
    • F16H25/22Screw mechanisms with balls, rollers, or similar members between the co-operating parts; Elements essential to the use of such members

Landscapes

  • Engineering & Computer Science (AREA)
  • General Engineering & Computer Science (AREA)
  • Mechanical Engineering (AREA)
  • Transmission Devices (AREA)

Abstract

PROBLEM TO BE SOLVED: To provide a ball screw which can increase an allowable load capacity while suppressing an increase of a production cost.SOLUTION: In a circulation-type ball screw 1, a screw shaft 2 is inserted into a nut 3, and a plurality of balls 4 are arranged in a rolling path which is constituted of a shaft-side screw groove 2a and a nut-side screw groove 3a, the nut-side groove 3a is formed of substantially-single wound spiral step shapes which are formed at one side and the other side of an internal peripheral face in an axial direction so that the internal peripheral face and end parts of the nut 3 are expanded or contracted in diameters, the end parts displaced to the axial direction are connected to each other by a smooth curved face 3c, and formed into annular shapes. A recess 3d progressing toward the outside of the nut 3 in a radial direction is formed at the curved face which connects the spiral step-shaped end parts, and a step face having a spiral step shape is formed at a curved face which opposes the shaft-side screw groove 2a.SELECTED DRAWING: Figure 2

Description

本発明はボールねじに関する。詳しくは循環型のボールねじに関する。   The present invention relates to a ball screw. Specifically, it relates to a circulating ball screw.

従来、一般産業用の電動機、自動車のトランスミッションやパーキングブレーキ等の電動アクチュエータにおいて、電動モータの出力軸の回転運動を高効率で直線運動に変換して出力するためにボールねじが用いられている。ボールねじは、外周面にねじ溝が形成されたねじ軸と転動体である複数のボールを介して支持されるナットとから構成されている。これにより、ボールねじは、ねじ軸またはナットのうち一方を回転運動させることで他方が直動部材として直線運動する運動変換機構として構成されている。このように構成されるボールねじにおいて、ボールが循環しない非循環型のボールねじが知られている。非循環型のボールねじは、ナットの内周面に環状の転動溝が形成され、保持器によってボールを保持しているものである。例えば、特許文献1に記載の如くである。   Conventionally, in electric actuators for general industrial motors, automobile transmissions, parking brakes, and the like, ball screws are used to convert the rotary motion of the output shaft of the electric motor into linear motion with high efficiency and output it. The ball screw is composed of a screw shaft having a thread groove formed on an outer peripheral surface and a nut supported via a plurality of balls as rolling elements. Thus, the ball screw is configured as a motion conversion mechanism in which one of the screw shaft or the nut rotates and the other linearly moves as a linear motion member. Among the ball screws configured as described above, a non-circulating ball screw in which the ball does not circulate is known. The non-circulating ball screw has an annular rolling groove formed on the inner peripheral surface of a nut and holds the ball by a cage. For example, as described in Patent Document 1.

特許文献1に記載のボールねじは、ねじ軸の外周面に二条の螺旋状の転動溝(ねじ溝)が形成され、ナットの内周面に二列の環状の転動溝が形成されている。環状の転動溝は、ナットの内周面の中央部に形成される環状凸部の両側に形成されている。ボールねじは、それぞれの環状の転動溝に2個のボールが配置され、ねじ軸の螺旋状の転動溝とナットの環状の転動溝とにアンギュラコンタクトしている。二個のボールは、保持器によって環状の転動溝内の互いの位置関係を維持した状態でねじ軸とナットとに対して回転自在に保持されている。このように構成することで、ボールねじは、ボールがナットの環状の転動溝を転動しつつ、ねじ軸の螺旋状の転動溝を転動する。つまり、ボールねじは、生産コストを抑制するためにナットの内周面に二列の環状の転動溝を形成するだけで回転運動を直線運動に変換することができる。しかし、特許文献1に記載の技術は、ナットの環状の転動溝に配置できるボールの数やその位置がねじ軸の螺旋状の転動溝の条数によって決まる。このため、循環型のボールねじに比べて許容負荷容量が制限される点で不利であった。   In the ball screw described in Patent Document 1, two spiral rolling grooves (thread grooves) are formed on the outer peripheral surface of the screw shaft, and two rows of annular rolling grooves are formed on the inner peripheral surface of the nut. Yes. The annular rolling groove is formed on both sides of the annular convex portion formed in the central portion of the inner peripheral surface of the nut. In the ball screw, two balls are disposed in each annular rolling groove, and are in angular contact with the spiral rolling groove of the screw shaft and the annular rolling groove of the nut. The two balls are rotatably held with respect to the screw shaft and the nut in a state where the positional relationship is maintained in the annular rolling groove by the cage. With this configuration, the ball screw rolls on the spiral rolling groove of the screw shaft while the ball rolls on the annular rolling groove of the nut. That is, the ball screw can convert the rotational motion into a linear motion only by forming two rows of annular rolling grooves on the inner peripheral surface of the nut in order to reduce production costs. However, in the technique described in Patent Document 1, the number of balls that can be arranged in the annular rolling groove of the nut and the position thereof are determined by the number of spiral rolling grooves on the screw shaft. For this reason, it is disadvantageous in that the allowable load capacity is limited as compared with the circulation type ball screw.

特開平07−077260号公報Japanese Unexamined Patent Publication No. 07-0777260

本発明は以上の如き状況に鑑みてなされたものであり、生産コストを抑制しつつ許容負荷容量を増大することができるボールねじの提供を目的とする。   The present invention has been made in view of the above situation, and an object of the present invention is to provide a ball screw capable of increasing the allowable load capacity while suppressing the production cost.

即ち、ねじ軸がナットに挿入され、ねじ軸のねじ溝とナットのねじ溝とから構成される転動路に複数のボールが配置される循環型のボールねじであって、前記ナットのねじ溝が、前記ナットの内周面の軸方向両側の端部を拡径または縮径するように内周面の軸方向一側と他側とにそれぞれ設けられる略一巻きの螺旋状の段差形状からなり、それぞれの前記螺旋状の段差形状において軸方向にずれた端部同士が滑らかな曲面で接続されて円環状に形成されるとともに、前記螺旋状の段差形状の端部同士を接続している滑らかな曲面に前記ナットの径方向外側に向かう凹部が形成され、かつ前記螺旋状の段差形状の段差面が前記ねじ軸のねじ溝に対向する曲面に形成されるものである。   That is, a circulating ball screw in which a screw shaft is inserted into a nut and a plurality of balls are arranged on a rolling path composed of a screw groove of the screw shaft and a screw groove of the nut, the screw groove of the nut However, from the substantially one-turn spiral step shape provided respectively on one side and the other side in the axial direction of the inner peripheral surface so as to expand or reduce the diameter of both ends in the axial direction of the inner peripheral surface of the nut. The end portions shifted in the axial direction in each of the spiral step shapes are connected with a smooth curved surface to form an annular shape, and the end portions of the spiral step shape are connected to each other. A recess is formed on the smooth curved surface toward the radially outer side of the nut, and the spiral stepped step surface is formed on a curved surface facing the screw groove of the screw shaft.

前記ナットの内周面の拡径部分に円環状の案内板がもうけられ、前記ボールが前記螺旋状の段差形状の端部同士を接続している滑らかな曲面に沿って転動するように、前記案内板のうち前記螺旋状の段差形状の端部同士を接続している滑らかな曲面に対向する部分が前記螺旋状の段差形状に沿う滑らかな曲面に形成されるものである。   An annular guide plate is provided in the enlarged diameter portion of the inner peripheral surface of the nut, so that the ball rolls along a smooth curved surface connecting the ends of the spiral step shape. A portion of the guide plate facing the smooth curved surface connecting the end portions of the spiral step shape is formed into a smooth curved surface along the spiral step shape.

前記円環状の案内板の一部が開口されて径方向に縮径可能に形成されるものである。   A part of the annular guide plate is opened so that the diameter can be reduced in the radial direction.

前記円環状の案内板が前記ナットの内周面に形成されているスリットに係合されるものである。   The annular guide plate is engaged with a slit formed on the inner peripheral surface of the nut.

前記円環状の案内板がばね用高鋼線材から構成されるものである。   The annular guide plate is made of a high steel wire for spring.

本発明の効果として、以下に示すような効果を奏する。   As effects of the present invention, the following effects can be obtained.

即ち、ボールねじは、型物で形成可能な略一巻の螺旋状の段差形状からなるねじ溝を有するナットから構成される。また、ボールねじは、ねじ溝に配置されているボールがナットのねじ溝内を循環するようにねじ溝である段差形状が滑らかな曲面で円環状に形成されている。つまり、ボールねじは、型物で形成可能なナットのねじ溝に複数のボールが連続的に配置されて循環型のボールねじとして構成されている。これにより、生産コストを抑制しつつ許容負荷容量を増大することができる。   That is, the ball screw is constituted by a nut having a thread groove having a spiral step shape that can be formed by a mold. The ball screw is formed in an annular shape with a smooth curved surface in a step shape that is a thread groove so that the ball disposed in the thread groove circulates in the thread groove of the nut. That is, the ball screw is configured as a circulation type ball screw in which a plurality of balls are continuously arranged in a thread groove of a nut that can be formed of a mold. Thereby, the allowable load capacity can be increased while suppressing the production cost.

ボールねじは、ナットのねじ溝が片側を解放された状態でボールが循環可能な円環状に形成される。すなわち、ボールねじは、アンダーカットを無くして型物で形成可能な円環状のねじ溝を有するナットから構成される。これにより、生産コストを抑制しつつ許容負荷容量を増大することができる。   The ball screw is formed in an annular shape that allows the ball to circulate in a state where the screw groove of the nut is released on one side. That is, the ball screw is composed of a nut having an annular thread groove that can be formed of a mold without an undercut. Thereby, the allowable load capacity can be increased while suppressing the production cost.

ボールねじは、案内板が容易にナットに組み込まれ、ボールが循環可能なねじ溝が構成される。これにより、生産コストを抑制しつつ許容負荷容量を増大することができる。   In the ball screw, a guide plate is easily incorporated in a nut, and a screw groove is formed through which the ball can circulate. Thereby, the allowable load capacity can be increased while suppressing the production cost.

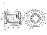
ボールねじの一実施形態における全体構成を示す斜視図。The perspective view which shows the whole structure in one Embodiment of a ball screw. (a)ボールねじの一実施形態における全体構成を示す平面図(b)図2(a)におけるA矢視断面図。(A) Top view which shows whole structure in one Embodiment of ball screw. (B) A arrow sectional drawing in Fig.2 (a). ボールねじの一実施形態におけるナットの軸方向断面図および側面図。The axial direction sectional view and side view of a nut in one embodiment of a ball screw. ボールねじの一実施形態におけるナットに案内板が設けられた状態における軸方向断面図およびA矢視断面図。The axial direction sectional view and arrow A sectional view in the state where the guide board was provided in the nut in one embodiment of a ball screw. ボールねじの一実施形態におけるナットのナット側ねじ溝を転動するボールの態様を示す軸方向断面図および側面図。The axial direction sectional view and side view showing the mode of the ball which rolls the nut side thread groove of the nut in one embodiment of a ball screw. ボールねじの一実施形態においてボールがねじ軸の軸側ねじ溝の側壁を越える態様を示す部分断面図。The fragmentary sectional view which shows the aspect in which ball | bowl exceeds the side wall of the axial side thread groove of a screw shaft in one Embodiment of a ball screw. ボールねじの他の実施形態における全体構成を示す軸方向断面図。The axial direction sectional view which shows the whole structure in other embodiment of a ball screw.

以下に、図1から図4を用いて、ボールねじ1の一実施形態であるナット3を備えるボールねじ1について説明する。本実施形態において、ボールねじ1のナット3の内周面には、軸方向両側の端部を拡径した段差形状のナット側ねじ溝3aがそれぞれ形成されている。   Below, the ball screw 1 provided with the nut 3 which is one Embodiment of the ball screw 1 is demonstrated using FIGS. 1-4. In the present embodiment, step-shaped nut-side screw grooves 3a having diameters enlarged at both ends in the axial direction are formed on the inner peripheral surface of the nut 3 of the ball screw 1, respectively.

図1と図2とに示すように、ボールねじ1は、回転運動を直線運動に変換して出力するものである。ボールねじ1は、ねじ軸2、ナット3、複数のボール4等から構成されている。   As shown in FIGS. 1 and 2, the ball screw 1 converts a rotational motion into a linear motion and outputs it. The ball screw 1 includes a screw shaft 2, a nut 3, a plurality of balls 4, and the like.

ねじ軸2は、S55C等の中炭素鋼あるいはSCM415やSCM420等の肌焼き鋼からなり、高周波焼入れ、真空浸炭焼入れによって55〜62HRC程度の硬化処理が施されている。ねじ軸2は、その外周面にボール4が転動するための軸側ねじ溝2aが複数形成されている。軸側ねじ溝2aの断面形状は、サーキュラアーク形状であってもゴシックアーク形状であっても良い。本実施形態において、ねじ軸2は、ボール4との接触角が大きくとれ、アキシアルすきまが小さく設定できるゴシックアーク形状に形成されている。これにより、ボールねじ1は、ねじ軸2の軸方向荷重に対する剛性が高くなり、かつ振動の発生を抑制することができる。   The screw shaft 2 is made of medium carbon steel such as S55C or case-hardened steel such as SCM415 or SCM420, and is subjected to a hardening process of about 55 to 62 HRC by induction hardening or vacuum carburizing and hardening. The screw shaft 2 is formed with a plurality of shaft-side screw grooves 2a for rolling the balls 4 on the outer peripheral surface thereof. The cross-sectional shape of the shaft side thread groove 2a may be a circular arc shape or a gothic arc shape. In the present embodiment, the screw shaft 2 is formed in a Gothic arc shape that allows a large contact angle with the ball 4 and a small axial clearance. Thereby, the ball screw 1 has high rigidity with respect to the axial load of the screw shaft 2 and can suppress the occurrence of vibration.

ナット3は、ねじ軸2を挿入可能な中空円筒状に形成されている。ナット3は、金属粉末を可塑状に調整し、射出成形機で成形される焼結合金から構成されている。ナット3は、金属粉とプラスチックおよびワックスからなるバインダとの混練物を金型内に加熱溶融状態で押し込む、MIM(Metal Injection Molding)により成形されている。こうしたMIMによって成形される焼結合金は、加工度が高く複雑な形状であっても容易に、かつ精度良く所望の形状・寸法に成形することができる。金属粉として、後に浸炭焼入が可能な材質、例えば、C(炭素)が0.13wt%、Ni(ニッケル)が0.21wt%、Cr(クロム)が1.1wt%、Cu(銅)が0.04wt%、Mn(マンガン)が0.76wt%、Mo(モリブデン)が0.19wt%、Si(シリコン)が0.20wt%、残りがFe(鉄)等からなるSCM415から構成されている。また、ナット3の材料としてこれ以外にも、Niが3.0〜10.0wt%含有し、加工性、耐食性に優れた材料(日本粉末冶金工業規格のFEN8)、あるいは、Cが0.07wt%、Crが17wt%、Niが4wt%、Cuが4wt%、残りがFe等からなる析出硬化系ステンレスSUS630であっても良い。このSUS630は、固溶化熱処理で20〜33HRCの範囲に表面硬さを適切に上げることができ、強靭性と高硬度を確保することができる。なお、本実施形態において、ナット3は、MIMにより成形されているがこれに限定するものではなく、鍛造加工によって形成してもよい。   The nut 3 is formed in a hollow cylindrical shape into which the screw shaft 2 can be inserted. The nut 3 is made of a sintered alloy prepared by adjusting a metal powder into a plastic shape and molded by an injection molding machine. The nut 3 is formed by MIM (Metal Injection Molding) in which a kneaded product of a metal powder and a binder made of plastic and wax is pushed into a mold in a heated and melted state. A sintered alloy formed by such MIM can be easily and accurately formed into a desired shape and size even if it has a high workability and a complicated shape. As a metal powder, a material that can be carburized and quenched later, for example, C (carbon) is 0.13 wt%, Ni (nickel) is 0.21 wt%, Cr (chromium) is 1.1 wt%, and Cu (copper) is used. It is composed of SCM415 consisting of 0.04 wt%, Mn (manganese) 0.76 wt%, Mo (molybdenum) 0.19 wt%, Si (silicon) 0.20 wt%, and the rest Fe (iron) or the like. . In addition to this, the material of the nut 3 includes 3.0 to 10.0 wt% of Ni and is excellent in workability and corrosion resistance (FEN8 of Japanese Powder Metallurgy Industry Standard), or C is 0.07 wt%. %, Cr is 17 wt%, Ni is 4 wt%, Cu is 4 wt%, and the remainder is precipitation hardened stainless steel SUS630 made of Fe or the like. This SUS630 can appropriately increase the surface hardness in the range of 20 to 33 HRC by solution heat treatment, and can ensure toughness and high hardness. In the present embodiment, the nut 3 is formed by MIM, but is not limited to this, and may be formed by forging.

図2(b)に示すように、ナット3の内周面には、軸方向両側の端部を拡径した段差形状のナット側ねじ溝3aがそれぞれ形成されている。ナット3の内周面には、中央部の縮径部分と端部の拡径部分とをつなぐ段差面がナット3のそれぞれの端部に向かうにつれて徐々に拡径する曲面からなる転動面3bに形成されている。各段差形状に形成されているナット側ねじ溝3aは、略一巻の右回りの螺旋状に形成されている。   As shown in FIG. 2B, step-shaped nut-side thread grooves 3 a having enlarged diameters at both ends in the axial direction are formed on the inner peripheral surface of the nut 3. On the inner peripheral surface of the nut 3, a rolling surface 3 b is formed of a curved surface in which a stepped surface connecting a reduced diameter portion at the center and an enlarged diameter portion at the end gradually increases in diameter toward the respective end portions of the nut 3. Is formed. The nut-side thread groove 3a formed in each step shape is formed in a substantially clockwise clockwise spiral.

図3に示すように、各段差形状に形成されているナット側ねじ溝3aは、螺旋のリード分だけ軸方向にずれた端部が滑らかな曲面3cで接続されている。つまり、各段差形状は、螺旋状に略一巻きされることで元の端部と隣接する位置に移動した段差面とが滑らかな曲面3cで接続されている。これにより、各段差形状のナット側ねじ溝3aは、段差面である転動面3bが途切れることなく連なる円環状に形成されている。各段差形状のナット側ねじ溝3aにおいて、螺旋によってリード分だけ軸方向にずれた段差面である転動面3bを接続している滑らかな曲面3cは、その周方向の中央に向かうにつれて径方向外側に向かって軸側ねじ溝2aの溝深さよりも深い凹部3dが形成されている。このように構成されるナット3の内周面には、滑らかな曲面3cによって接続されている円環螺旋状の段差形状であるナット側ねじ溝3aが形成されている。また、ナット側ねじ溝3aは、ナット3の中央部の縮径部分からそれぞれの端部に向かうにつれて徐々に拡径する曲面からなる転動面3bのみから構成されている。すなわち、ナット側ねじ溝3aは、側壁が片側のみのアンダーカットフリーの溝として構成されている。ナット側ねじ溝3aは、ねじ軸2の軸側ねじ溝2aと同一のリードおよびピッチで形成されている。ナット3の拡径部分には、後述する案内板5を配置するための案内板位置決め部3eとして、軸方向両側の端部をナット側ねじ溝3aに沿うように拡径した段差形状がそれぞれ形成されている。案内板位置決め部3eは、ナット側ねじ溝3aよりも開口側に略一巻の右回りの螺旋状に形成されている。さらに、ナット3の拡径部分には、案内板5を固定するためのスリット3fが案内板位置決め部3eに沿うように形成されている。   As shown in FIG. 3, the nut-side thread grooves 3 a formed in the respective step shapes are connected by a smooth curved surface 3 c at an end portion shifted in the axial direction by the amount of the spiral lead. That is, each step shape is connected by a smooth curved surface 3c between the original end portion and the step surface moved to the adjacent position by being wound substantially spirally. Thereby, each step-shaped nut side screw groove 3a is formed in the annular | circular shape which the rolling surface 3b which is a level | step difference surface continues without interruption. In each step-shaped nut-side thread groove 3a, the smooth curved surface 3c connecting the rolling surface 3b, which is a step surface shifted in the axial direction by the spiral, is a radial direction toward the center in the circumferential direction. A concave portion 3d deeper than the groove depth of the shaft side screw groove 2a is formed toward the outside. On the inner peripheral surface of the nut 3 configured in this manner, a nut-side screw groove 3a having a circular spiral step shape connected by a smooth curved surface 3c is formed. Moreover, the nut side thread groove 3a is comprised only from the rolling surface 3b which consists of a curved surface gradually diameter-expanded as it goes to each edge part from the diameter reduction part of the center part of the nut 3. As shown in FIG. That is, the nut side screw groove 3a is configured as an undercut-free groove whose side wall is only on one side. The nut-side thread groove 3 a is formed with the same lead and pitch as the shaft-side thread groove 2 a of the screw shaft 2. As the guide plate positioning portion 3e for arranging a guide plate 5 to be described later, a stepped shape in which the end portions on both sides in the axial direction are increased in diameter along the nut-side screw groove 3a is formed in the enlarged diameter portion of the nut 3, respectively. Has been. The guide plate positioning portion 3e is formed in a substantially clockwise clockwise spiral on the opening side of the nut side screw groove 3a. Furthermore, a slit 3f for fixing the guide plate 5 is formed in the enlarged diameter portion of the nut 3 along the guide plate positioning portion 3e.

図1、図2および図4に示すように、ナット3の内周面には、円環状の案内板5(図1、図2および図4における薄墨部分)が設けられている。案内板5は、転動体であるボール4をナット側ねじ溝3a内に保持するものである。
図4に示すように、案内板5は、略一巻の右回りの螺旋状に形成されている。案内板5は、ばね用高鋼線材や、高周波焼入れ、真空浸炭焼入れによって55〜62HRC程度の硬化処理が施されている鋼材から形成されている。案内板5は、螺旋のリード分だけ軸方向にずれた部分が滑らかな曲面5aで接続されている。さらに、案内板5の滑らかな曲面5aは、その周方向の中央に向かうにつれて径方向外側に突出部5bが形成されている。滑らかな曲面5aは、ナット3のナット側ねじ溝3aの滑らかな曲面3cと略同一の曲面に形成されている。また、案内板5は、滑らかな曲面5aに形成されている部分に対向する部分が開口されて略C字状に形成されている。これにより、案内板5は、開口部の両端を互いに近接させることで径方向に縮径可能に構成されている。案内板5の開口部の両端には、径方向に突出した係合部5cが形成されている。案内板5は、ナット3の案内板位置決め部3eによって位置決めされつつナット3に形成されているスリット3fに係合部5cが挿入されることでナット3の内周面に固定されている。案内板5は、ナット側ねじ溝3aの側壁(段差面)との間をボール4が通過可能な位置に固定されている。案内板5の滑らかな曲面5aは、ナット3の滑らかな曲面3cに対向するように配置されている。ナット3の外周面には、その外径を部分的に拡径した段付き部である鍔部3gが形成されている。
As shown in FIGS. 1, 2, and 4, an annular guide plate 5 (light ink portion in FIGS. 1, 2, and 4) is provided on the inner peripheral surface of the nut 3. The guide plate 5 holds the ball 4 as a rolling element in the nut-side screw groove 3a.
As shown in FIG. 4, the guide plate 5 is formed in a substantially clockwise spiral shape. The guide plate 5 is formed of a high steel wire rod for spring, or a steel material that has been subjected to a hardening process of about 55 to 62 HRC by induction hardening or vacuum carburizing and quenching. The guide plate 5 is connected by a smooth curved surface 5a at a portion displaced in the axial direction by the amount of the spiral lead. Furthermore, the smooth curved surface 5a of the guide plate 5 has a protruding portion 5b formed radially outward as it goes toward the center in the circumferential direction. The smooth curved surface 5a is formed to be substantially the same curved surface as the smooth curved surface 3c of the nut side screw groove 3a of the nut 3. Further, the guide plate 5 is formed in a substantially C shape by opening a portion facing the portion formed on the smooth curved surface 5a. Thereby, the guide plate 5 is configured to be capable of reducing the diameter in the radial direction by bringing both ends of the opening close to each other. Engagement portions 5 c protruding in the radial direction are formed at both ends of the opening of the guide plate 5. The guide plate 5 is fixed to the inner peripheral surface of the nut 3 by the engagement portion 5c being inserted into the slit 3f formed in the nut 3 while being positioned by the guide plate positioning portion 3e of the nut 3. The guide plate 5 is fixed at a position where the ball 4 can pass between the side wall (step surface) of the nut-side screw groove 3a. The smooth curved surface 5 a of the guide plate 5 is disposed so as to face the smooth curved surface 3 c of the nut 3. On the outer peripheral surface of the nut 3, a flange portion 3 g which is a stepped portion whose diameter is partially expanded is formed.

図2(b)と図5とに示すように、ナット3には、軸側ねじ溝2aとナット側ねじ溝3aとが対向するようにしてねじ軸2が挿入されている。軸側ねじ溝2aとナット側ねじ溝3aとから構成される空間には、転動体である複数のボール4が転動自在に収容されている。また、ナット側ねじ溝3aは、滑らかな曲面3cが軸側ねじ溝2aの側壁を跨ぐように形成されている。図2(b)に示すように、ナット3のナット側ねじ溝3aとねじ軸2の軸側ねじ溝2a間に転動自在に収容されるボール4は、接触角θでもって複列外向きのアンギュラコンタクトするように構成されている。このようにして、軸側ねじ溝2aとナット側ねじ溝3aとは、複数のボール4が転動する転動路を構成している。ナット3は、複数のボール4を介してねじ軸2をナット3の軸回りに回転自在に支持している。   As shown in FIGS. 2B and 5, the screw shaft 2 is inserted into the nut 3 so that the shaft-side screw groove 2 a and the nut-side screw groove 3 a face each other. A plurality of balls 4 that are rolling elements are housed in a space formed by the shaft-side screw groove 2a and the nut-side screw groove 3a so as to roll freely. Moreover, the nut side thread groove 3a is formed so that the smooth curved surface 3c may straddle the side wall of the shaft side thread groove 2a. As shown in FIG. 2 (b), the balls 4 accommodated so as to roll between the nut-side thread groove 3a of the nut 3 and the shaft-side thread groove 2a of the screw shaft 2 are arranged in a double row outward with a contact angle θ. It is configured to make an angular contact. Thus, the shaft side thread groove 2a and the nut side thread groove 3a constitute a rolling path on which the plurality of balls 4 roll. The nut 3 supports the screw shaft 2 through a plurality of balls 4 so as to be rotatable around the axis of the nut 3.

ボールねじ1は、ナット3が回転されると転動路に収容されている複数のボール4を介してねじ軸2に回転力が伝達される。ねじ軸2は、回り止め機構により軸回りの回転が規制されている場合、ナット3の回転運動が軸側ねじ溝2aの傾きによってねじ軸2の軸方向の直線運動に変換される。同様にして、ボールねじ1は、ねじ軸2が回転されると転動路に収容されている複数のボール4を介してナット3に回転力が伝達される。ナット3は、回り止め機構により軸回りの回転が規制されている場合、ねじ軸2の回転運動が軸側ねじ溝2aの傾きによってナット3の軸方向の直線運動に変換される。なお、本実施形態において、ねじ軸2の軸側ねじ溝2aとナット側ねじ溝3aとは略一巻きとしたがこれに限定されるものではない。また、本実施形態において、ねじ軸2に形成されている軸側ねじ溝2aは右ねじであるものとするがこれに限定されるものではない。   When the nut 3 is rotated, the ball screw 1 transmits a rotational force to the screw shaft 2 through a plurality of balls 4 accommodated in the rolling path. When the rotation of the screw shaft 2 around the shaft is restricted by the rotation prevention mechanism, the rotational motion of the nut 3 is converted into a linear motion in the axial direction of the screw shaft 2 by the inclination of the shaft-side screw groove 2a. Similarly, in the ball screw 1, when the screw shaft 2 is rotated, the rotational force is transmitted to the nut 3 via the plurality of balls 4 accommodated in the rolling path. When the rotation of the nut 3 is restricted by the rotation prevention mechanism, the rotational motion of the screw shaft 2 is converted into the linear motion of the nut 3 in the axial direction by the inclination of the shaft-side screw groove 2a. In the present embodiment, the shaft-side screw groove 2a and the nut-side screw groove 3a of the screw shaft 2 are substantially wound, but the present invention is not limited to this. In the present embodiment, the shaft-side thread groove 2a formed in the screw shaft 2 is a right-hand thread, but is not limited thereto.

以下に、図2から図6を用いて、ボールねじ1のナット3におけるボール4の循環の態様について詳細に説明する。   Hereinafter, the manner of circulation of the balls 4 in the nut 3 of the ball screw 1 will be described in detail with reference to FIGS.

図3から図6に示すようにナット3のナット側ねじ溝3aは、ねじ軸2の軸側ねじ溝2aの側壁を跨ぐようにして滑らかな曲面3cが形成され、かつ滑らかな曲面3cに軸側ねじ溝2aの溝深さよりも深い凹部3dが形成されている。
従って、図5と図6とに示すように、ナット側ねじ溝3aの滑らかな曲面3cに到達したボール4は、ナット側ねじ溝3aの滑らかな曲面3cによって軸側ねじ溝2aの側壁に徐々に寄せられる。ボール4は、軸側ねじ溝2aの側壁にそって軸側ねじ溝2aの先端に向かって押し上げられる。この際、ボール4は、滑らかな曲面3cに沿うように形成されている案内板5によって保持されているので転動路から脱落することがない。つまり、ナット側ねじ溝3aが片側のみのアンダーカットがない溝型に形成されていても、軸側ねじ溝2aの側壁を越えようとするボール4を安定して保持することができる。ボール4は、ナット側ねじ溝3aの滑らかな曲面3cよって軸側ねじ溝2aの側壁を越えて隣りの軸側ねじ溝2aに移動するとともに円環状のナット側ねじ溝3aの元のねじ溝位置に戻る。つまり、転動路内のボール4は、隣りの軸側ねじ溝2aに移動するとともに、ナット側ねじ溝3aを一周することで転動路内を循環する。このように構成することで、ボールねじ1は、転動路内に複数のボール4を連続的に配置することができる。
As shown in FIGS. 3 to 6, the nut-side thread groove 3a of the nut 3 is formed with a smooth curved surface 3c so as to straddle the side wall of the shaft-side thread groove 2a of the screw shaft 2, and the smooth curved surface 3c has a shaft. A recess 3d that is deeper than the groove depth of the side screw groove 2a is formed.
Therefore, as shown in FIGS. 5 and 6, the ball 4 that has reached the smooth curved surface 3c of the nut-side thread groove 3a gradually moves to the side wall of the shaft-side thread groove 2a by the smooth curved surface 3c of the nut-side thread groove 3a. Sent to. The ball 4 is pushed up toward the tip of the shaft side screw groove 2a along the side wall of the shaft side screw groove 2a. At this time, since the ball 4 is held by the guide plate 5 formed along the smooth curved surface 3c, the ball 4 does not fall off the rolling path. That is, even if the nut-side screw groove 3a is formed in a groove shape without an undercut on only one side, the ball 4 that attempts to cross the side wall of the shaft-side screw groove 2a can be stably held. The ball 4 moves over the side wall of the shaft-side screw groove 2a to the adjacent shaft-side screw groove 2a by the smooth curved surface 3c of the nut-side screw groove 3a, and the original screw groove position of the annular nut-side screw groove 3a. Return to. That is, the ball 4 in the rolling path moves to the adjacent shaft side thread groove 2a and circulates in the rolling path by making a round of the nut side thread groove 3a. By comprising in this way, the ball screw 1 can arrange | position the some ball | bowl 4 continuously in a rolling path.

また、図7に示すように、ボールねじ1の別実施形態として、ナット3の形状が異なるナット7を備えるボールねじ6でもよい。本実施形態において、ボールねじ6のナット7の内周面には、軸方向両側の端部を縮径した段差形状のナット側ねじ溝7aがそれぞれ形成されている。なお、以下の全ての実施形態に係るボールねじ1は、図1から図6に示すボールねじ1において、ボールねじ1に替えて適用されるものとして、その説明で用いた名称、図番、記号を用いることで、同じものを指すこととし、以下の実施形態において、既に説明した実施形態と同様の点に関してはその具体的説明を省略し、相違する部分を中心に説明する。   Moreover, as shown in FIG. 7, the ball screw 6 provided with the nut 7 from which the shape of the nut 3 differs as another embodiment of the ball screw 1 may be sufficient. In this embodiment, on the inner peripheral surface of the nut 7 of the ball screw 6, step-shaped nut-side screw grooves 7 a having diameters reduced at both ends in the axial direction are formed. In addition, the ball screw 1 which concerns on all the following embodiments is replaced with the ball screw 1 in the ball screw 1 shown in FIGS. 1-6, and the name, figure number, and symbol used in the description are used. In the following embodiments, the same points as those of the already described embodiments will be omitted, and different portions will be mainly described.

図7に示すように、ボールねじ6は、回転運動を直線運動に変換して出力するものである。ボールねじ6は、ねじ軸2、ナット7、複数のボール4等から構成されている。   As shown in FIG. 7, the ball screw 6 converts a rotational motion into a linear motion and outputs it. The ball screw 6 includes a screw shaft 2, a nut 7, a plurality of balls 4, and the like.

ナット7の内周面には、ナット側ねじ溝7aとして、軸方向両側の端部を縮径した段差形状のナット側ねじ溝7aがそれぞれ形成されているナット7の内周面には、端部の縮径部分と中央部の拡径部分とをつなぐ段差面がナット7の中央部に向かうにつれて徐々に拡径する曲面からなる転動面7bに形成されている。ナット7は、拡径部分の略中央部で二分割され、圧入ピン8を介して連結されている。なお、ナット7の連結方法は、圧入ピン8に限定するものではなく、ねじ締結等でもよい。各段差形状に形成されているナット側ねじ溝7aは、略一巻の右回りの螺旋状に形成されている。各段差形状のナット側ねじ溝7aは、螺旋のリード分だけ軸方向にずれた端部が図示しない滑らかな曲面で接続されている。このように構成されるナット7の内周面には、ナット7が分割されている状態で略一巻の螺旋状に加工された段差形状のナット側ねじ溝7aが途切れることなく連なる円環状に形成されている。また、ナット側ねじ溝7aは、側壁が片側のみのアンダーカットフリーの溝として構成されている。ナット7の拡径部分には、案内板5を配置するための案内板位置決め部7dとして、中央の拡径部をナット側ねじ溝7aに沿うように更に拡径した段差形状がそれぞれ形成されている。   On the inner peripheral surface of the nut 7, step-shaped nut-side screw grooves 7 a each having a reduced diameter at both ends in the axial direction are formed as nut-side screw grooves 7 a on the inner peripheral surface of the nut 7. A stepped surface connecting the reduced diameter portion of the portion and the enlarged diameter portion of the central portion is formed on the rolling surface 7 b formed of a curved surface that gradually increases in diameter toward the central portion of the nut 7. The nut 7 is divided into two at a substantially central portion of the enlarged diameter portion, and is connected via a press-fit pin 8. The connecting method of the nut 7 is not limited to the press-fit pin 8 and may be screw fastening or the like. The nut-side thread groove 7a formed in each step shape is formed in a substantially clockwise clockwise spiral. Each step-shaped nut-side thread groove 7a is connected with a smooth curved surface (not shown) at the end shifted in the axial direction by the amount of the spiral lead. On the inner peripheral surface of the nut 7 configured in this manner, a step-shaped nut-side screw groove 7a processed into a spiral of approximately one turn in a state where the nut 7 is divided is formed in a continuous annular shape without interruption. Is formed. The nut-side thread groove 7a is configured as an undercut-free groove whose side wall is only on one side. As the guide plate positioning portion 7d for arranging the guide plate 5, a stepped shape in which the diameter of the central enlarged portion is further expanded so as to follow the nut-side screw groove 7a is formed on the enlarged diameter portion of the nut 7, respectively. Yes.

ナット7の内周面には、略一巻の右回りの円環螺旋状の案内板5が設けられている。案内板5は転動体であるボール4をナット側ねじ溝7a内に保持するものである。案内板5は、ナット7の縮径部の内径よりも小さい外径に縮径可能に構成されている。案内板5は、ナット7の内周面に形成されている図示しないスリットによってナット7の案内板位置決め部7dに固定されている。   On the inner peripheral surface of the nut 7, a substantially one-turn clockwise spiral guide plate 5 is provided. The guide plate 5 holds the ball 4 as a rolling element in the nut side screw groove 7a. The guide plate 5 is configured to be able to reduce the diameter to an outer diameter smaller than the inner diameter of the reduced diameter portion of the nut 7. The guide plate 5 is fixed to the guide plate positioning portion 7 d of the nut 7 by a slit (not shown) formed on the inner peripheral surface of the nut 7.

以上のごとく構成することで、ボールねじ1・6は、ねじ軸2の軸側ねじ溝2aとナット3・7の片側の側壁のみからなる略一巻の円環螺旋状のナット側ねじ溝3a・7aとから構成される転動路に複数のボール4が配置されている。つまり、ボールねじ1・6は、型物から形成可能なアンダーカットがないナット側ねじ溝3a・7aが円環螺旋状に形成され、複数のボール4が循環可能に連続的に配置されている。これにより、ボールねじ1・6は、生産コストを抑制しつつ許容負荷容量を増大することができる。また、ボールねじ1・6は、ボール4の脱落を防止するための案内板5が容易に設けられる。これにより、生産コストを抑制しつつ許容負荷容量を増大することができる。   With the configuration as described above, the ball screws 1 and 6 have a substantially one-circular spiral spiral nut-side screw groove 3a composed only of the shaft-side screw groove 2a of the screw shaft 2 and the side wall on one side of the nuts 3 and 7. A plurality of balls 4 are arranged on the rolling path composed of 7a. In other words, the ball screws 1 and 6 have nut-side thread grooves 3a and 7a without an undercut that can be formed from a mold, are formed in an annular spiral shape, and a plurality of balls 4 are continuously arranged to be circulated. . Thereby, the ball screws 1 and 6 can increase the allowable load capacity while suppressing the production cost. The ball screws 1 and 6 are easily provided with a guide plate 5 for preventing the balls 4 from dropping off. Thereby, the allowable load capacity can be increased while suppressing the production cost.

以上、ボールねじの一実施形態であるボールねじ1・6は、ナット3・7に略一巻の円環螺旋状のナット側ねじ溝3a・7aが軸方向両側にそれぞれ形成されているものとして説明したがこれに限定されるものではなく、ナット7が型物で形成可能、かつボールが循環する構成であればよい。また、上述の実施形態は、代表的な形態を示したに過ぎず、一実施形態の骨子を逸脱しない範囲で種々変形して実施することができる。さらに種々なる形態で実施し得ることは勿論のことであり、本発明の範囲は、特許請求の範囲の記載によって示され、さらに特許請求の範囲に記載の均等の意味、および範囲内のすべての変更を含む。   As described above, in the ball screws 1 and 6 as an embodiment of the ball screw, it is assumed that the nuts 3 and 7 are formed with the annular spiral nut-side screw grooves 3a and 7a on both sides in the axial direction. Although it demonstrated, it is not limited to this, What is necessary is just the structure which the nut 7 can form with a type | mold, and a ball | bowl circulates. In addition, the above-described embodiment is merely a representative form, and various modifications can be made without departing from the scope of the embodiment. It goes without saying that the present invention can be embodied in various forms, and the scope of the present invention is indicated by the description of the scope of claims, and the equivalent meanings of the scope of claims, and all the scopes within the scope of the claims. Includes changes.

1 ボールねじ
2 ねじ軸
3 ナット
3a ナット側ねじ溝
3c 滑らかな曲面
3d 凹部
4 ボール
5 案内板
DESCRIPTION OF SYMBOLS 1 Ball screw 2 Screw shaft 3 Nut 3a Nut side thread groove 3c Smooth curved surface 3d Recessed part 4 Ball 5 Guide plate

Claims (5)

ねじ軸がナットに挿入され、ねじ軸のねじ溝とナットのねじ溝とから構成される転動路に複数のボールが配置される循環型のボールねじであって、
前記ナットのねじ溝が、前記ナットの内周面の軸方向両側の端部を拡径または縮径するように内周面の軸方向一側と他側とにそれぞれ設けられる略一巻きの螺旋状の段差形状からなり、それぞれの前記螺旋状の段差形状において軸方向にずれた端部同士が滑らかな曲面で接続されて円環状に形成されるとともに、前記螺旋状の段差形状の端部同士を接続している滑らかな曲面に前記ナットの径方向外側に向かう凹部が形成され、かつ前記螺旋状の段差形状の段差面が前記ねじ軸のねじ溝に対向する曲面に形成される循環型のボールねじ。
A circular ball screw in which a screw shaft is inserted into a nut and a plurality of balls are arranged on a rolling path composed of a screw groove of the screw shaft and a screw groove of the nut,
A substantially one-turn spiral provided in the axial direction on one side and the other side of the inner peripheral surface so that the thread grooves of the nut expand or contract the diameter of both ends in the axial direction of the inner peripheral surface of the nut. In the spiral step shape, the end portions shifted in the axial direction in each of the spiral step shapes are connected with a smooth curved surface to form an annular shape, and the end portions of the spiral step shape A circular curved surface in which a concave portion is formed on the smooth curved surface connecting the nuts radially outward of the nut, and the stepped surface of the spiral stepped shape is formed on a curved surface facing the screw groove of the screw shaft. Ball screw.
前記ナットの内周面の拡径部分に円環状の案内板がもうけられ、前記ボールが前記螺旋状の段差形状の端部同士を接続している滑らかな曲面に沿って転動するように、前記案内板のうち前記螺旋状の段差形状の端部同士を接続している滑らかな曲面に対向する部分が前記螺旋状の段差形状に沿う滑らかな曲面に形成される請求項1に記載の循環型のボールねじ。   An annular guide plate is provided in the enlarged diameter portion of the inner peripheral surface of the nut, so that the ball rolls along a smooth curved surface connecting the ends of the spiral step shape. 2. The circulation according to claim 1, wherein a portion of the guide plate facing the smooth curved surface connecting the ends of the spiral step shape is formed into a smooth curved surface along the spiral step shape. Mold ball screw. 前記円環状の案内板の一部が開口されて径方向に縮径可能に形成される請求項1または請求項2に記載の循環型のボールねじ。   3. The circulation type ball screw according to claim 1, wherein a part of the annular guide plate is opened so that the diameter can be reduced in a radial direction. 前記円環状の案内板が前記ナットの内周面に形成されているスリットに係合される請求項1から請求項3のいずれか一項に記載の循環型のボールねじ。   The circulation type ball screw according to any one of claims 1 to 3, wherein the annular guide plate is engaged with a slit formed on an inner peripheral surface of the nut. 前記円環状の案内板がばね用高鋼線材から構成される請求項1から請求項4のいずれか一項に記載の循環型のボールねじ。   The circulation type ball screw according to any one of claims 1 to 4, wherein the annular guide plate is made of a high steel wire rod for a spring.
JP2016016247A 2016-01-29 2016-01-29 Ball Screw Pending JP2017133669A (en)

Priority Applications (2)

Application Number Priority Date Filing Date Title
JP2016016247A JP2017133669A (en) 2016-01-29 2016-01-29 Ball Screw
PCT/JP2017/002312 WO2017130951A1 (en) 2016-01-29 2017-01-24 Ball screw

Applications Claiming Priority (1)

Application Number Priority Date Filing Date Title
JP2016016247A JP2017133669A (en) 2016-01-29 2016-01-29 Ball Screw

Publications (1)

Publication Number Publication Date
JP2017133669A true JP2017133669A (en) 2017-08-03

Family

ID=59398016

Family Applications (1)

Application Number Title Priority Date Filing Date
JP2016016247A Pending JP2017133669A (en) 2016-01-29 2016-01-29 Ball Screw

Country Status (2)

Country Link
JP (1) JP2017133669A (en)
WO (1) WO2017130951A1 (en)

Cited By (1)

* Cited by examiner, † Cited by third party
Publication number Priority date Publication date Assignee Title
KR101939728B1 (en) * 2017-08-04 2019-01-17 주식회사 배성 Manufacturing process of stud bolt

Family Cites Families (1)

* Cited by examiner, † Cited by third party
Publication number Priority date Publication date Assignee Title
JP5082852B2 (en) * 2005-09-05 2012-11-28 日本精工株式会社 Ball screw mechanism and ball screw assembly method

Cited By (1)

* Cited by examiner, † Cited by third party
Publication number Priority date Publication date Assignee Title
KR101939728B1 (en) * 2017-08-04 2019-01-17 주식회사 배성 Manufacturing process of stud bolt

Also Published As

Publication number Publication date
WO2017130951A1 (en) 2017-08-03

Similar Documents

Publication Publication Date Title
JP6091149B2 (en) Electric linear actuator
JP2016142337A (en) Electric actuator
US10274062B2 (en) Ball screw
JP6601792B2 (en) Ball screw
JP2017133669A (en) Ball Screw
JP2012039765A (en) Electric actuator
WO2016195104A1 (en) Electric actuator
JP6074192B2 (en) Electric linear actuator
JP2006258136A (en) Ball screw
JP2006266310A (en) Electric linear actuator
JP5573270B2 (en) Ball screw
JP2017032124A (en) Ball Screw
JP2018053971A (en) Ball Screw
WO2016125825A1 (en) Bridge-type ball screw and method for manufacturing same
JP2016161087A (en) Electric linear actuator
JP2016142378A (en) Top-type ball screw
JP4467349B2 (en) Ball screw for automobile
JP2016188674A (en) Ball Screw
WO2016088893A1 (en) Ball screw device
JP2010078060A (en) Roller type ball screw
JP2018040455A (en) Ball Screw
JP2007232085A (en) Deflector-type ball screw
JP5170796B2 (en) Automotive ball screw
JP2006090437A (en) Piece type ball screw
JP2016142376A (en) Ball screw