JP2017128200A - Vehicular information providing device - Google Patents

Vehicular information providing device Download PDF

Info

Publication number
JP2017128200A
JP2017128200A JP2016008385A JP2016008385A JP2017128200A JP 2017128200 A JP2017128200 A JP 2017128200A JP 2016008385 A JP2016008385 A JP 2016008385A JP 2016008385 A JP2016008385 A JP 2016008385A JP 2017128200 A JP2017128200 A JP 2017128200A
Authority
JP
Japan
Prior art keywords
information
display
vehicle
unit
displayed
Prior art date
Legal status (The legal status is an assumption and is not a legal conclusion. Google has not performed a legal analysis and makes no representation as to the accuracy of the status listed.)
Granted
Application number
JP2016008385A
Other languages
Japanese (ja)
Other versions
JP6589653B2 (en
Inventor
田村 繁明
Shigeaki Tamura
繁明 田村
Current Assignee (The listed assignees may be inaccurate. Google has not performed a legal analysis and makes no representation or warranty as to the accuracy of the list.)
Nippon Seiki Co Ltd
Original Assignee
Nippon Seiki Co Ltd
Priority date (The priority date is an assumption and is not a legal conclusion. Google has not performed a legal analysis and makes no representation as to the accuracy of the date listed.)
Filing date
Publication date
Application filed by Nippon Seiki Co Ltd filed Critical Nippon Seiki Co Ltd
Priority to JP2016008385A priority Critical patent/JP6589653B2/en
Publication of JP2017128200A publication Critical patent/JP2017128200A/en
Application granted granted Critical
Publication of JP6589653B2 publication Critical patent/JP6589653B2/en
Active legal-status Critical Current
Anticipated expiration legal-status Critical

Links

Images

Landscapes

  • Navigation (AREA)
  • Control Of Driving Devices And Active Controlling Of Vehicle (AREA)
  • Instrument Panels (AREA)

Abstract

PROBLEM TO BE SOLVED: To provide a vehicular information providing device capable of sufficiently securing a display area for external information display even when an automatic drive function is actuated, and improving a human machine interface.SOLUTION: A first information display part comprises: a first display area R1 for displaying prescribed information D1 out of vehicle state information; and a second display area R2 for displaying other information (actuation state information) of a vehicle different from the prescribed information D1 and external information (navigation display part 560) of the vehicle, and control means performs display control of a first information display part so that the actuation state information is displayed in a contraction display state as simplified actuation state information (simplified information 580) when the actuation state information and the navigation display part 560 are simultaneously displayed on the second display area R2.SELECTED DRAWING: Figure 12

Description

本発明は、車両の利用者に各種情報を提供する車両用情報提供装置に関し、特に、車両搭載機器と外部機器とを利用して各種情報を提供する車両用情報提供装置に関するものである。   The present invention relates to a vehicle information providing apparatus that provides various types of information to a vehicle user, and more particularly, to a vehicle information providing apparatus that provides various types of information using a vehicle-mounted device and an external device.

従来より、この種の車両用情報提供装置にあっては、例えば下記特許文献1に記載されているものが知られている。この特許文献1に記載の車両用情報提供装置は、車両に搭載された液晶ディスプレイ付き車載用マルチメディアコンピュータからなり、携帯情報機器(外部機器)と接続可能に構成されている。これにより、車両の利用者へ車載用マルチメディアコンピュータに備えられるディスプレイ(情報表示部)を介して、携帯情報機器の持っている車両の外部情報(オーディオプレイヤー、ナビゲーションシステム、インターネットブラウザ)を表示することが可能となっているものである。   2. Description of the Related Art Conventionally, as this type of vehicle information providing apparatus, for example, one described in Patent Document 1 below is known. The vehicle information providing apparatus described in Patent Document 1 includes an in-vehicle multimedia computer with a liquid crystal display mounted on a vehicle, and is configured to be connectable to a portable information device (external device). Thereby, external information (audio player, navigation system, Internet browser) of the vehicle possessed by the portable information device is displayed to the vehicle user via the display (information display unit) provided in the in-vehicle multimedia computer. That is possible.

特開2001−22482号公報JP 2001-22482 A

上述した特許文献1に記載の車両用情報提供装置にあっては、車両内で手軽に携帯情報機器を利用することが可能であり、車両の利用者に対し利便性の高い車内情報システム(車両用情報提供装置)を提供するものである。ところで、車両の利用者へ携帯情報機器の持っている車両の外部情報を専用のディスプレイではなく、既存のディスプレイを利用して提示するとき、車両の外部情報の表示レイアウトに関して改善の余地があった。   In the vehicle information providing apparatus described in Patent Document 1 described above, it is possible to easily use the portable information device in the vehicle, and the in-vehicle information system (vehicle) is highly convenient for the vehicle user. Information providing device). By the way, there is room for improvement in the display layout of the vehicle external information when the vehicle external information held by the portable information device is presented to the vehicle user using an existing display instead of a dedicated display. .

例えば既存のディスプレイが、車両用計器に備えられる計器用ディスプレイ(情報表示部)であるとすると、計器用ディスプレイには、通常、各種の車両状態情報が表示されており、携帯情報機器の持っている車両の外部情報を前記車両状態情報が表示された計器用ディスプレイに追加して表示するためには、計器用ディスプレイにおいて表示される各種情報(ここでの各種情報とは前記車両状態情報と前記車両の外部情報とを含む情報)のレイアウトを変更する必要があった。   For example, if the existing display is an instrument display (information display unit) provided in a vehicle instrument, various instrument status information is usually displayed on the instrument display. In order to add and display external information of the vehicle on the instrument display on which the vehicle state information is displayed, various information displayed on the instrument display (the various information here is the vehicle state information and the It was necessary to change the layout of information including external information of the vehicle.

特に、車両状態情報として、先進運転支援システムと一般的に称されるADAS(Advanced Driving Assistant System)機能等の自動運転機能に係わる情報を表示する場合、計器用ディスプレイにはアダプティブ・クルーズ・コントロール(ACC)、レーンキープアシスト等の多くの情報を(ADAS機能が作動中のときは常に)利用者へ提示する必要があり、計器用ディスプレイ(情報表示部)に車両の外部情報を表示させるにあたって、外部情報表示用の表示エリアを十分に確保することができないという問題があった。
そこで、本発明は前述した改善点に着目し、情報表示部に車両の外部情報を表示させるにあたって、自動運転機能が作動中の場合であっても外部情報表示用の表示エリアが十分に確保され、ヒューマン・マシン・インターフェイスを向上させることが可能な車両用情報提供装置の提供を目的とするものである。
In particular, when displaying information related to an automatic driving function such as an ADAS (Advanced Driving Assistance System) function, which is generally referred to as an advanced driving support system, as the vehicle state information, the instrument display has an adaptive cruise control ( ACC), lane keep assist, etc. (when the ADAS function is in operation), it is necessary to present to the user, and when displaying external information of the vehicle on the instrument display (information display unit) There was a problem that a display area for displaying external information could not be secured sufficiently.
Accordingly, the present invention pays attention to the above-described improvement points, and when displaying the external information of the vehicle on the information display section, a display area for displaying the external information is sufficiently secured even when the automatic driving function is in operation. An object of the present invention is to provide a vehicle information providing apparatus capable of improving the human machine interface.

本発明は、車両の各種状態を車両状態情報として表示する第1の情報表示部と、前記第1の情報表示部の表示制御を行う制御手段とを有し、接続手段を介して外部機器と接続される車両用情報提供装置において、前記車両用情報提供装置は、前記外部機器から出力される車両の外部情報を取得可能であり、前記第1の情報表示部は、前記車両状態情報のうち所定情報を表示する第1の表示領域と、前記所定情報とは異なる前記車両状態情報の他の情報と前記車両の外部情報とのうち少なくとも一方を表示する第2の表示領域とを有し、前記制御手段は、前記他の情報と前記車両の外部情報とを前記第2の表示領域に同時に表示するにあたって、前記他の情報が簡略化された簡略化情報として縮小表示されるように前記第1の情報表示部の表示制御を行うことを特徴とする。   The present invention includes a first information display unit that displays various vehicle states as vehicle state information, and a control unit that performs display control of the first information display unit. In the connected vehicle information providing device, the vehicle information providing device can acquire external information of the vehicle output from the external device, and the first information display unit includes the vehicle state information. A first display area for displaying predetermined information; and a second display area for displaying at least one of other information on the vehicle state information different from the predetermined information and external information on the vehicle; The control means displays the other information and the external information of the vehicle simultaneously on the second display area so that the other information is reduced and displayed as simplified simplified information. 1 Information display section display And performing control.

また本発明は、車両の各種状態を車両状態情報として表示する第1、第2の情報表示部と、前記第1、第2の情報表示部の表示制御を行う制御手段とを有し、接続手段を介して外部機器と接続される車両用情報提供装置において、前記車両用情報提供装置は、前記外部機器から出力される車両の外部情報を取得可能であり、前記第1の情報表示部は、前記車両状態情報のうち所定情報を表示する第1の表示領域と、前記所定情報とは異なる前記車両状態情報の他の情報と前記車両の外部情報とのうち少なくとも一方を表示する第2の表示領域とを有し、前記制御手段は、前記他の情報と前記車両の外部情報とを同時に取得している状況下において、前記他の情報が簡略化された簡略化情報として前記第2の情報表示部に表示されるように前記第1、第2の情報表示部の表示制御を行うことを特徴とする。   In addition, the present invention includes first and second information display units that display various vehicle states as vehicle state information, and a control unit that performs display control of the first and second information display units. In the vehicular information providing apparatus connected to the external device via the means, the vehicular information providing apparatus can acquire external information of the vehicle output from the external device, and the first information display unit is A second display for displaying at least one of a first display area for displaying predetermined information of the vehicle state information, other information of the vehicle state information different from the predetermined information, and external information of the vehicle. A display area, and the control means acquires the second information as simplified information in which the other information is simplified in a situation where the other information and the external information of the vehicle are simultaneously acquired. As shown in the information display section 1, and performs display control of the second information display section.

また本発明は、前記他の情報には、前記車両の自動運転に関する自動運転関連情報が少なくとも含まれることを特徴とする。   Further, the present invention is characterized in that the other information includes at least automatic driving related information related to the automatic driving of the vehicle.

また本発明は、前記制御手段は、前記自動運転の状態が所定の状態から前記所定の状態とは異なる他の状態へと変化したことを検出すると、前記他の状態に対応する前記自動運転関連情報が所定時間、前記第2の表示領域に拡大表示されるように前記第1の情報表示部の表示制御を行うことを特徴とする。   Further, in the present invention, when the control unit detects that the state of the automatic operation has changed from a predetermined state to another state different from the predetermined state, the control unit relates to the automatic operation related to the other state. The display control of the first information display unit is performed so that information is enlarged and displayed in the second display area for a predetermined time.

本発明は、情報表示部に車両の外部情報を表示させるにあたって、自動運転機能が作動中の場合であっても外部情報表示用の表示エリアが十分に確保され、ヒューマン・マシン・インターフェイスを向上させることが可能な車両用情報提供装置を提供できる。   In the present invention, when displaying external information of a vehicle on an information display section, a display area for displaying external information is sufficiently secured even when the automatic driving function is in operation, and the human machine interface is improved. It is possible to provide a vehicular information providing apparatus that can perform the above operation.

本発明の第1実施形態による車両用情報提供装置と各種電装品との接続状態を示すブロック図。The block diagram which shows the connection state of the information provision apparatus for vehicles by 1st Embodiment of this invention, and various electrical components. 同実施形態による第1の車両搭載機器とコンバイナとを示す概略図。Schematic which shows the 1st vehicle mounting apparatus and combiner by the embodiment. 図2のA−A断面図(ハッチングは省略)。AA sectional drawing of FIG. 2 (a hatching is abbreviate | omitted). 同実施形態による第1の車両搭載機器のブロック図。The block diagram of the 1st vehicle equipment by the same embodiment. 同実施形態による第2の車両搭載機器のブロック図。The block diagram of the 2nd vehicle equipment by the embodiment. 同実施形態による第2の車両搭載機器の概略図。The schematic of the 2nd vehicle equipment by the embodiment. 同実施形態による外部機器のブロック図。The block diagram of the external apparatus by the embodiment. 同実施形態による自動運転関連情報と車両の外部情報のオンオフ状態を示すタイミングチャート。The timing chart which shows the on-off state of the automatic driving related information and the external information of the vehicle according to the embodiment. 同実施形態による時刻S1での表示ユニットに表示される表示レイアウトを示す図。The figure which shows the display layout displayed on the display unit in the time S1 by the embodiment. 同実施形態による時刻S2での表示ユニットに表示される表示レイアウトを示す図。The figure which shows the display layout displayed on the display unit in the time S2 by the embodiment. 同実施形態による時刻S3での表示ユニットに表示される表示レイアウトを示す図。The figure which shows the display layout displayed on the display unit in the time S3 by the embodiment. 同実施形態による時刻S4での表示ユニットに表示される表示レイアウトを示す図。The figure which shows the display layout displayed on the display unit in the time S4 by the embodiment. 同実施形態による時刻S5での表示ユニットに表示される表示レイアウトを示す図。The figure which shows the display layout displayed on the display unit in the time S5 by the embodiment. 同実施形態による時刻S6での表示ユニットに表示される表示レイアウトを示す図。The figure which shows the display layout displayed on the display unit in the time S6 by the embodiment. 本発明の第2実施形態による自動運転関連情報と車両の外部情報のオンオフ状態を示すタイミングチャート。The timing chart which shows the on-off state of the automatic driving related information and the external information of the vehicle according to the second embodiment of the present invention. 同第2実施形態による時刻T1での表示ユニット、コンバイナに表示される表示レイアウトを示す図。The figure which shows the display layout displayed on the display unit and combiner at the time T1 by the 2nd embodiment. 同第2実施形態による時刻T2での表示ユニット、コンバイナに表示される表示レイアウトを示す図。The figure which shows the display layout displayed on the display unit and combiner at the time T2 by the 2nd embodiment. 同第2実施形態による時刻T3での表示ユニット、コンバイナに表示される表示レイアウトを示す図。The figure which shows the display layout displayed on the display unit and combiner at the time T3 by the 2nd embodiment. 同第2実施形態による時刻T4での表示ユニット、コンバイナに表示される表示レイアウトを示す図。The figure which shows the display layout displayed on the display unit and combiner at the time T4 by the said 2nd Embodiment. 同第2実施形態による時刻T5での表示ユニット、コンバイナに表示される表示レイアウトを示す図。The figure which shows the display layout displayed on the display unit and combiner at the time T5 by the said 2nd Embodiment. 同第2実施形態による時刻T6での表示ユニット、コンバイナに表示される表示レイアウトを示す図。The figure which shows the display layout displayed on the display unit and combiner at the time T6 by the 2nd embodiment.

以下、図1〜図14に基づいて、本発明の実施形態を説明する。   Hereinafter, embodiments of the present invention will be described with reference to FIGS.

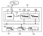
図1は、本発明の一実施形態を示すブロック図であり、図1中、100は車両を示している。また101は車両用通信システムであり、この車両用通信システム101は、車両用情報提供装置102と、携帯情報機器である外部機器(ここではスマートフォンとする)103と、車両用情報提供装置102と外部機器103とを接続する接続手段104とから構成され、この場合、車両用情報提供装置102は、第1の車両搭載機器110(ここでは車両用計器とする)と、第2の車両搭載機器120(ここではヘッドアップディスプレイ装置とする)とを備えている。また、外部機器103は、通信手段130を介してインターネットとの接続も可能である。   FIG. 1 is a block diagram showing an embodiment of the present invention. In FIG. 1, reference numeral 100 denotes a vehicle. Reference numeral 101 denotes a vehicular communication system. The vehicular communication system 101 includes a vehicular information providing device 102, an external device (here, a smartphone) 103 that is a portable information device, and a vehicular information providing device 102. It is comprised from the connection means 104 which connects the external apparatus 103, In this case, the information provision apparatus 102 for vehicles is the 1st vehicle-mounted apparatus 110 (it is set as the vehicle meter here) and the 2nd vehicle-mounted apparatus. 120 (here, a head-up display device). The external device 103 can also be connected to the Internet via the communication unit 130.

また、接続手段104を介して外部機器103と接続される第1の車両搭載機器110は、車内に構築される伝送媒体としての車内LAN(多重通信ライン)105を介して、走行制御手段106と、第2の車両搭載機器120とに接続される。   The first on-vehicle equipment 110 connected to the external equipment 103 via the connection means 104 is connected to the travel control means 106 via an in-vehicle LAN (multiplex communication line) 105 as a transmission medium built in the car. , Connected to the second vehicle-mounted device 120.

図1中、周辺監視手段107は、自車両の周辺に存在する障害物を監視、検出する装置である。具体的には、周辺監視手段107は、カメラ、レーザー、ミリ波等を利用して、自車両の前方、後方、左側方、右側方の障害物の監視、検出を行うものである。各種アクチュエータ108は、自車両の制動を制御するためのブレーキアクチュエータ、自車両の操舵方向を制御するための操舵用電動アクチュエータ等で構成される。   In FIG. 1, the periphery monitoring means 107 is a device that monitors and detects an obstacle present around the host vehicle. Specifically, the periphery monitoring unit 107 monitors and detects obstacles in front, rear, left side, and right side of the host vehicle using a camera, laser, millimeter wave, and the like. The various actuators 108 include a brake actuator for controlling braking of the host vehicle, an electric actuator for steering for controlling the steering direction of the host vehicle, and the like.

走行制御手段106は、後述する操作手段からのADAS機能の1つであるACC(アダプティブ・クルーズ・コントロール)機能のオン情報を入手(取得)すると、周辺監視手段107と各種アクチュエータ108を用いて、自車両と当該自車両の前方を走行している先行車との間の車間距離を維持しながら走行するための制御や自動ブレーキ制御等を行う。また、詳細は後述するが、走行制御手段106は、自動運転(ここではACCとする)に関する情報を出力するものとする。なお、ACCは、SIP(戦略的イノベーション創造プログラム)でレベル1に位置づけられる自動運転である。   When the travel control means 106 obtains (acquires) on-information of the ACC (adaptive cruise control) function, which is one of the ADAS functions from the operation means, which will be described later, Control for running while maintaining the inter-vehicle distance between the host vehicle and a preceding vehicle traveling in front of the host vehicle, automatic brake control, and the like are performed. Moreover, although mentioned later for details, the traveling control means 106 shall output the information regarding automatic driving | running | working (it is set as ACC here). Note that ACC is an automatic operation that is positioned at level 1 in SIP (Strategic Innovation Creation Program).

図2は、車両の運転席に着座する車両の利用者(運転者)側から、ユニット化された第1の車両搭載機器110と、この第1の車両搭載機器110とは分離した状態でユニット化された第2の車両搭載機器120(第2の車両搭載機器120に備えられる後述するコンバイナ)とを見たときの概略図を示している。   FIG. 2 shows the unitized first vehicle-mounted device 110 and the first vehicle-mounted device 110 separated from the user (driver) side of the vehicle sitting in the driver's seat of the vehicle. The schematic diagram when it sees the 2nd vehicle-mounted apparatus 120 (The combiner mentioned later with which the 2nd vehicle-mounted apparatus 120 is equipped) made into is shown is shown.

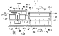
図3は、第1の車両搭載機器110の断面図を示しており、第1の車両搭載機器110は、図3中、左方側に位置し、車両の走行速度をアナログ的に表示する速度計からなる指針式表示部140と、図3中、右方側に位置する表示ユニット150と、第1の車両搭載機器110の外装ケースを構成する計器用筐体160と、この計器用筐体160内に収容される回路基板170とを有し、指針式表示部140と表示ユニット150とが並設された構成となっている。   FIG. 3 shows a cross-sectional view of the first vehicle-mounted device 110. The first vehicle-mounted device 110 is located on the left side in FIG. 3, and is a speed at which the traveling speed of the vehicle is displayed in an analog manner. A pointer-type display unit 140 composed of a meter, a display unit 150 located on the right side in FIG. 3, an instrument case 160 constituting an exterior case of the first vehicle-mounted device 110, and the instrument case 160 has a circuit board 170 accommodated in 160, and a pointer type display unit 140 and a display unit 150 are arranged in parallel.

車両の走行速度(車両状態情報)を表示する指針式表示部140は、線状に延びる指針141と、この指針141を作動させる計器ムーブメントからなる駆動装置142と、この駆動装置142を導通装着してなる配線基板143と、指針141と配線基板143との間に位置し、指針141によって指示される目盛部等の計測値表示部144aを有する表示板144とで主に構成され、表示板144の背後側に設けられる配線基板143上には、指針141に対応する第1の光源145と表示板144に対応する第2の光源146とが搭載されている。   A pointer-type display unit 140 that displays the traveling speed (vehicle state information) of the vehicle includes a pointer 141 that extends linearly, a drive unit 142 that includes an instrument movement that operates the pointer 141, and the drive unit 142 that is electrically connected. And a display board 144 that is located between the pointer 141 and the wiring board 143 and has a measurement value display section 144a such as a scale portion indicated by the pointer 141. A first light source 145 corresponding to the pointer 141 and a second light source 146 corresponding to the display panel 144 are mounted on the wiring board 143 provided on the rear side of the circuit board 143.

そして、この場合、指針141は第1の光源145の点灯によりその照射光を受けて発光可能な光透過材料により形成され、また表示板144の計測値表示部144a(図2参照)は第2の光源146の点灯によりその照射光を受けて発光するよう光透過性材料により形成されている。   In this case, the pointer 141 is formed of a light-transmitting material that can emit light when the first light source 145 is turned on, and the measurement value display portion 144a (see FIG. 2) of the display board 144 is the second light source. The light source 146 is made of a light transmissive material so as to emit light upon receiving the irradiation light.

配線基板143は、例えばガラスエポキシ系基材に配線パターンとしての導電路が施された硬質回路基板からなり、駆動装置142と、各光源145、146と、駆動装置142と各光源145、146と表示ユニット150に備えられる後述するディスプレイや第3の光源の制御を行う第1の制御部(後述する)と、発音体147と、抵抗やコンデンサ等の各種電子部品(図示せず)とが前記導電路に導通接続されている。   The wiring board 143 is made of, for example, a hard circuit board in which a conductive path as a wiring pattern is provided on a glass epoxy base material, and includes a driving device 142, light sources 145 and 146, a driving device 142, and light sources 145 and 146. A first control unit (described later) that controls a display and a third light source, which will be described later, provided in the display unit 150, a sound generator 147, and various electronic components (not shown) such as resistors and capacitors, Conductive connection is made to the conductive path.

また、配線基板143の前方側には、例えば白色系の合成樹脂材料にて形成されたケース体148が設けられており、このケース体148には、各光源145、146を収納しそれらの光を指針141及び表示板144側に案内する照明室が複数形成されている。   In addition, a case body 148 made of, for example, a white synthetic resin material is provided on the front side of the wiring board 143. Each light source 145 and 146 is accommodated in the case body 148 and light thereof is received. A plurality of illumination chambers are formed to guide the pointer toward the pointer 141 and the display plate 144 side.

そして、指針141や表示板144の前方側には、これらを覆う透光性合成樹脂材料にて形成された略平板状の第1の透視部149が設けられており、この第1の透視部149は、計器用筐体160に備えられる後述する第1の前面側開口を塞ぐように前記第1の前面側開口に配設されている。第1の車両搭載機器110を視認する車両の利用者は、第1の透視部149を通じて指針141や表示板144を透視(視認)することができる。   Then, on the front side of the pointer 141 and the display plate 144, there is provided a substantially flat plate-like first see-through portion 149 made of a light-transmitting synthetic resin material that covers them, and this first see-through portion. 149 is disposed in the first front-side opening so as to close a first front-side opening, which will be described later, provided in the instrument housing 160. A user of the vehicle who visually recognizes the first vehicle-mounted device 110 can see through (view) the pointer 141 and the display board 144 through the first see-through unit 149.

表示ユニット150は、各種情報を表示するTFT型液晶表示パネルからなる計器用表示器としてのディスプレイ151と、このディスプレイ151の前方側を覆う略平板状の第2の透視部152と、ディスプレイ151に照明光を供給する発光素子としての第3の光源153とで構成されている。   The display unit 150 includes a display 151 as an instrument display composed of a TFT-type liquid crystal display panel for displaying various types of information, a substantially flat second transparent portion 152 covering the front side of the display 151, and a display 151. A third light source 153 as a light emitting element for supplying illumination light is included.

第2の透視部152は、透光性合成樹脂材料にて形成され、計器用筐体160に備えられる後述する第2の前面側開口を塞ぐように配設され、ディスプレイ151の配設位置を除いた第2の透視部152の背面側周縁には例えば黒色印刷層からなる不透過部154が印刷形成されている。   The second see-through portion 152 is formed of a light-transmitting synthetic resin material, and is disposed so as to close a second front side opening (described later) provided in the instrument housing 160, and the display 151 is disposed at a position where the display 151 is disposed. A non-transparent portion 154 made of, for example, a black print layer is printed on the peripheral edge of the rear side of the removed second fluoroscopic portion 152.

なお、図3中、155は第2の透視部152の背面側周縁を保持する保持部であり、この保持部155は、ケース体148に一体的に形成されている。また、図3中、156は回路基板170を固定するために設けられたボス部からなり、このボス部156は、保持部155と同様にケース体148に一体的に形成され、配線基板143を貫通して回路基板170側に垂下形成されており、適宜固定手段を用いてボス部156に回路基板170が取り付けられる。   In FIG. 3, reference numeral 155 denotes a holding part that holds the rear side periphery of the second see-through part 152, and the holding part 155 is formed integrally with the case body 148. In FIG. 3, 156 includes a boss portion provided for fixing the circuit board 170, and the boss portion 156 is formed integrally with the case body 148 in the same manner as the holding portion 155. The circuit board 170 is penetratingly formed on the circuit board 170 side, and the circuit board 170 is attached to the boss portion 156 using an appropriate fixing means.

第1の車両搭載機器110を視認する車両の利用者は、第2の透視部152を通じてディスプレイ151に表示される各種情報を透視(視認)することができる。なお、必要に応じて、ディスプレイ151と第2の透視部152と間に設けられる光学接着剤からなる光硬化型の透明樹脂(図示せず)を通じて、ディスプレイ151と第2の透視部152とが接合されるようにしてもよい。   A vehicle user who visually recognizes the first vehicle-mounted device 110 can see (view) various information displayed on the display 151 through the second see-through unit 152. If necessary, the display 151 and the second see-through unit 152 are passed through a photo-curing transparent resin (not shown) made of an optical adhesive provided between the display 151 and the second see-through unit 152. You may make it join.

また、本例の場合、表示ユニット150(ディスプレイ151)は、少なくとも車両の各種状態を車両状態情報として表示する計器用の表示媒体からなり、指針式表示部140ととともに車両のインストルメントパネル(図示せず)の内部に設置される。この表示ユニット150は、特許請求の範囲に記載されている第1の情報表示部に相当する。   In the case of this example, the display unit 150 (display 151) is composed of a display medium for an instrument that displays at least various vehicle states as vehicle state information, and together with the pointer-type display unit 140, an instrument panel (see FIG. (Not shown). The display unit 150 corresponds to a first information display unit described in the claims.

計器用筐体160は、例えば黒色の合成樹脂材料にて形成され、指針式表示部140と表示ユニット150と回路基板170とを収容するものであり、この場合、上側ハウジング161と下側ハウジング162とに分割形成された構成となっている。   The instrument housing 160 is formed of, for example, a black synthetic resin material, and accommodates the pointer type display unit 140, the display unit 150, and the circuit board 170. In this case, the upper housing 161 and the lower housing 162 are accommodated. It is the structure divided | segmented into and.

両ハウジング161、162のうち車両の利用者側に位置する上側ハウジング161の前方側には、指針141や表示板144に対応する箇所に第1の前面側開口163が開口形成され、ディスプレイ151に対応する箇所に第2の前面側開口164が開口形成されている。そして、第1の前面側開口163には第1の透視部149が配設され、第2の前面側開口164には第2の透視部152が配設される。なお、165は、発音体147から発せられる音を第1の車両搭載機器110外部に放出するための放音孔である。   A first front side opening 163 is formed at a position corresponding to the pointer 141 and the display board 144 on the front side of the upper housing 161 located on the user side of the vehicle among the housings 161 and 162. A second front side opening 164 is formed at the corresponding location. A first see-through portion 149 is disposed in the first front-side opening 163, and a second see-through portion 152 is disposed in the second front-side opening 164. Reference numeral 165 denotes a sound emitting hole for releasing the sound emitted from the sounding body 147 to the outside of the first vehicle-mounted device 110.

回路基板170は、例えばガラスエポキシ系基材に所定の回路パターンが施された硬質回路基板からなり、配線基板143と離間する(略平行状態をなす)ように配線基板143の背後側に位置している。この回路基板170は、その外形形状が配線基板143の外形形状よりも小さくなっており、配線基板143と配線部材(図示せず)を用いてコネクタ接続されている。   The circuit board 170 is made of, for example, a hard circuit board in which a predetermined circuit pattern is applied to a glass epoxy base material, and is located behind the wiring board 143 so as to be separated from the wiring board 143 (substantially parallel). ing. The circuit board 170 has an outer shape smaller than that of the wiring board 143, and is connected to the wiring board 143 by a connector using a wiring member (not shown).

この回路基板170には、外部機器103との無線通信を行うための後述する通信部が形成されている。この前記通信部は、回路基板170の背面(一方の面)に導電性材料を用いて形成されたアンテナ用回路パターンからなり、前記回路パターンと導通接続されている。   The circuit board 170 is formed with a communication unit to be described later for performing wireless communication with the external device 103. The communication unit includes an antenna circuit pattern formed on the back surface (one surface) of the circuit board 170 using a conductive material, and is electrically connected to the circuit pattern.

図4は、車両搭載機器110のブロック図を示している。第1の車両搭載機器110は、車両の各種状態に関する各情報(車両状態信号)の入出力を行う第1車両情報端子(第1車両情報入力手段)210及び第1多重通信入出力端子(第1多重通信入出力手段)211と、所定の操作手段213からの操作指示信号を入力可能な操作情報端子212と、第1車両インターフェース(第1車両I/F)手段201と、第1の車両搭載機器110の制御を行う例えばマイクロコンピュータからなる第1の制御部202と、第1の制御部202の処理プログラムが格納されるフラッシュメモリやEEPROM等の不揮発性メモリからなる第1の記憶手段203と、車両の利用者へ各種情報(車両の各種状態)を視覚的に報知するディスプレイ151と車両の利用者へ各種情報(車両の各種状態)を聴覚的に報知するスピーカ等の発音体147とからなる報知手段204と、上述した光源145、146、153と、第1の制御部202からの光源駆動信号に基づき光源145、146、153の発光制御を行うための光源駆動回路(図示せず)と、駆動装置142と発音体147とディスプレイ151との駆動制御を兼ねた第1の駆動手段208と、外部機器103と接続するための接続手段104を構成する無線通信手段としての通信部(ここではBluetooth(登録商標)とする)209とを有している。   FIG. 4 shows a block diagram of the vehicle-mounted device 110. The first vehicle-mounted device 110 includes a first vehicle information terminal (first vehicle information input means) 210 for inputting / outputting various information (vehicle state signals) relating to various states of the vehicle, and a first multiplex communication input / output terminal (first 1 multiplex communication input / output means) 211, an operation information terminal 212 capable of inputting an operation instruction signal from a predetermined operation means 213, a first vehicle interface (first vehicle I / F) means 201, and a first vehicle A first control unit 202 configured by, for example, a microcomputer for controlling the mounted device 110, and a first storage unit 203 configured by a nonvolatile memory such as a flash memory or an EEPROM in which a processing program of the first control unit 202 is stored. And a display 151 for visually informing the vehicle user of various information (various states of the vehicle) and various information (various states of the vehicle) to the user of the vehicle. The light source 145, 146, 153 is controlled based on the light source driving signal from the notification unit 204 including the sounding body 147 such as a speaker to be notified, the light sources 145, 146, 153, and the first control unit 202 described above. A light source driving circuit (not shown) for driving, a first driving unit 208 that also controls driving of the driving unit 142, the sounding body 147, and the display 151, and a connecting unit 104 for connecting to the external device 103. A communication unit (herein referred to as Bluetooth (registered trademark)) 209 as a wireless communication means.

ここで、発音体147は、車両が自動二輪車である場合に、当該自動二輪車に搭乗する搭乗者(利用者)が装着するヘルメットに収められたヘルメットスピーカであってもよい。なお、通信部209は、外部機器103に備えられる後述する他の通信部との間で無線通信を行うものである。つまり、通信部209は、車両の外部情報を出力する外部機器103と通信(接続)可能に構成されており、前記他の通信部との間でデータのやりとりが可能となる。   Here, when the vehicle is a motorcycle, the sounding body 147 may be a helmet speaker housed in a helmet worn by a passenger (user) who rides on the motorcycle. The communication unit 209 performs wireless communication with other communication units (described later) provided in the external device 103. That is, the communication unit 209 is configured to be able to communicate (connect) with the external device 103 that outputs vehicle external information, and can exchange data with the other communication unit.

また、操作手段213は、第1の車両搭載機器110の各種操作を行うための操作入力部からなり、例えば利用者の手が届くように車内の適宜箇所に設置されたカーソルボタンや決定ボタン等を含む略十字キー型の操作入力部を適用でき、車両の利用者が操作手段213を操作することにより操作手段213から出力される外部機器103側への操作指示信号(遠隔操作指示信号)は、操作情報端子212並びに第1車両インターフェース手段201を通じて第1の制御部202へと入力され、さらに接続手段104を介して外部機器103側へと至る。なお、操作手段213は、上述した十字キー型の操作入力部に代えてタッチパネル型の操作入力部を適用することも可能である。   The operation unit 213 includes an operation input unit for performing various operations of the first vehicle-mounted device 110. For example, a cursor button or a determination button installed at an appropriate location in the vehicle so that the user can reach it. An operation instruction signal (remote operation instruction signal) to the external device 103 that is output from the operation means 213 when a vehicle user operates the operation means 213 can be applied. The information is input to the first control unit 202 through the operation information terminal 212 and the first vehicle interface unit 201, and further reaches the external device 103 side through the connection unit 104. Note that the operation means 213 may be a touch panel type operation input unit instead of the cross key type operation input unit described above.

第2の車両搭載機器120は、図5に示すように車両の各種状態に関する各情報(車両状態信号)の入出力を行う第2車両情報端子(第2車両情報入力手段)311及び第2多重通信入出力端子(第2多重通信入出力手段)312と、第2車両インターフェース(第2車両I/F)手段301と、第2の車両搭載機器120の制御を行う例えばマイクロコンピュータからなる第2の制御部302と、第2の制御部302の処理プログラムが格納されるフラッシュメモリやEEPROM等の不揮発性メモリからなる第2の記憶手段303と、液晶表示パネル304と当該液晶表示パネル304に照明光を供給する第4の光源305とから主に構成され、後述する表示光を発する液晶表示器306と、液晶表示パネル304の駆動制御を行う第2の駆動手段307と、第2の制御部302からの他の光源駆動信号に基づき第4の光源305の発光制御を行うための他の光源駆動回路(図示せず)と、第2の車両搭載機器120の外装ケースを構成する筐体308(図6参照)とを有している。なお、この場合、筐体308は、上側筐体H1と下側筐体H2とで構成されている。   As shown in FIG. 5, the second on-vehicle equipment 120 includes a second vehicle information terminal (second vehicle information input means) 311 for inputting / outputting various information (vehicle state signals) relating to various states of the vehicle, and a second multiplex. A communication input / output terminal (second multiplex communication input / output means) 312, a second vehicle interface (second vehicle I / F) means 301, and a second for example comprising a microcomputer for controlling the second on-vehicle equipment 120. Control unit 302, second storage means 303 including a flash memory or a nonvolatile memory such as EEPROM in which the processing program of the second control unit 302 is stored, and the liquid crystal display panel 304 and the liquid crystal display panel 304 are illuminated. A fourth light source 305 that supplies light, and a second liquid crystal display 306 that emits display light, which will be described later, and a second liquid crystal display panel 304 that performs drive control. A driving unit 307, another light source driving circuit (not shown) for performing light emission control of the fourth light source 305 based on another light source driving signal from the second control unit 302, and a second vehicle-mounted device And a housing 308 (see FIG. 6) constituting 120 exterior cases. In this case, the housing 308 includes an upper housing H1 and a lower housing H2.

そして、第2の制御部302による第4の光源305の点灯制御に伴い、液晶表示パネル304から発せられる表示光Lが、上側筐体H1に設けられた透光部H3を通じて透明な板状部材(反射板)からなるコンバイナ309に投影されることで、利用者(図6中、符号E参照)は、コンバイナ309越しに風景と重畳した状態の表示像(例えば後述する車速表示部を表す虚像)を視認することができる。   Along with the lighting control of the fourth light source 305 by the second control unit 302, the display light L emitted from the liquid crystal display panel 304 is a transparent plate-like member through the translucent part H3 provided in the upper housing H1. By projecting on a combiner 309 made of a (reflecting plate), the user (see symbol E in FIG. 6) can display a display image (for example, a virtual image representing a vehicle speed display unit to be described later) superimposed on the landscape over the combiner 309. ).

なお、上述した第2の車両搭載機器120は、その筐体308が前記インストルメントパネルの内部に埋設(配設)され、前記インストルメントパネルの上側に飛び出しているコンバイナ309は、少なくとも車両の各種状態を車両状態情報(前記表示像)として虚像表示(表示)する表示媒体からなる。   Note that the second vehicle-mounted device 120 described above has a casing 308 embedded (arranged) inside the instrument panel, and a combiner 309 that protrudes above the instrument panel includes at least various types of vehicles. It comprises a display medium that displays (displays) a virtual image as vehicle state information (the display image).

ここで、本例の場合、液晶表示器306とコンバイナ309とで第2の情報表示部310が構成されているものとし、第1の車両搭載機器110とコンバイナ309との位置関係については、両者は、上下に並設された位置関係となり、本例では第1の車両搭載機器110の上側(真上)にコンバイナ309が位置する構成となっている。   Here, in the case of this example, it is assumed that the liquid crystal display 306 and the combiner 309 constitute the second information display unit 310, and the positional relationship between the first vehicle-mounted device 110 and the combiner 309 is Are arranged side by side, and in this example, the combiner 309 is positioned above (directly above) the first vehicle-mounted device 110.

また、本例の場合、第1の制御部202と第2の制御部302とで制御手段Mが構成されているものとし、当該制御手段Mは、指針式表示部140や第1の情報表示部である表示ユニット150、並びに第2の情報表示部310(液晶表示器306)の表示制御を行うものである。さらに、上述した第1、第2車両情報端子210、311は、特許請求の範囲に記載されている車両情報入力手段に相当し、第1、第2多重通信入出力端子211、312は、特許請求の範囲に記載されている多重通信入出力手段に相当する。   In the case of this example, it is assumed that the control means M is configured by the first control unit 202 and the second control unit 302, and the control means M includes the pointer type display unit 140 and the first information display. The display unit 150 as a unit and the display control of the second information display unit 310 (liquid crystal display 306) are performed. Further, the first and second vehicle information terminals 210 and 311 described above correspond to vehicle information input means described in the claims, and the first and second multiplex communication input / output terminals 211 and 312 are patents. This corresponds to the multiplex communication input / output means described in the claims.

外部機器103は、図7に示すように第1の車両搭載機器110と接続するための接続手段104を構成する無線通信手段としての他の通信部(ここではBluetooth(登録商標)とする)410と、各種センサ(ここではGPSモジュールとする)411と、インターフェース(I/F)手段401と、外部機器103の制御を行う例えばマイクロコンピュータからなる第3の制御部402と、第3の制御部402の処理プログラムが格納されるフラッシュメモリやEEPROM等の不揮発性メモリからなる第3の記憶手段403と、車両の利用者へ各種情報(車両の各種状態)を視覚的に報知するタッチパネル付ディスプレイ等の表示部404と車両の利用者へ各種情報(車両の各種状態)を聴覚的に報知するスピーカ等の他の発音体405とからなる他の報知手段406と、表示部404と他の発音体405の駆動制御を兼ねた第3の駆動手段407と、インターネットと接続するための通信手段130を構成する通信モジュール408とを有している。   As shown in FIG. 7, the external device 103 is another communication unit (herein referred to as Bluetooth (registered trademark)) 410 as a wireless communication unit constituting the connection unit 104 for connecting to the first vehicle-mounted device 110. Various sensors (herein referred to as GPS modules) 411, interface (I / F) means 401, a third control unit 402 including, for example, a microcomputer that controls the external device 103, and a third control unit Third storage means 403 made up of a nonvolatile memory such as a flash memory or EEPROM in which the processing program 402 is stored, a display with a touch panel that visually informs the vehicle user of various information (various states of the vehicle), etc. Other displays such as a speaker for audibly informing various information (vehicle various states) to the vehicle user. A communication module 408 constituting a communication means 130 for connecting to the Internet, another notification means 406 comprising a body 405, a third drive means 407 that also serves as drive control for the display 404 and other sounding body 405, and the like. And have.

ここで、ナビゲーション動作を行うことを想定した場合、第3の記憶手段403には、地図を表示するための地図情報や道路に設置された道路標識情報が格納されているものとする。また、第3の制御部402は、例えばナビゲーション動作を実行する場合、GPSモジュール411から取得した現在位置情報に基づいて、第3の記憶手段403を参照して必要な道路標識情報を取得するものとする。   Here, when it is assumed that the navigation operation is performed, it is assumed that the third storage unit 403 stores map information for displaying a map and road sign information installed on the road. The third control unit 402 acquires necessary road sign information by referring to the third storage unit 403 based on the current position information acquired from the GPS module 411, for example, when performing a navigation operation. And

なお、本実施形態では、第1の車両搭載機器110と外部機器103の接続手段104に、通信部209と他の通信部410とでなる無線通信手段を適用したが、これに限定されるものではなく、USB(ユニバーサル・シリアル・バス)等の有線接続手段からなる接続手段104を用いて第1の車両搭載機器110と外部機器103とを接続することも可能である。   In the present embodiment, the wireless communication unit including the communication unit 209 and the other communication unit 410 is applied to the connection unit 104 between the first vehicle-mounted device 110 and the external device 103. However, the present invention is not limited to this. Instead, it is also possible to connect the first vehicle-mounted device 110 and the external device 103 using the connection means 104 that is a wired connection means such as USB (Universal Serial Bus).

次に、図8〜図14を用いて、表示ユニット150のディスプレイ151に車両状態情報や車両の外部情報を表示させる際の制御手段Mの処理動作について説明する。なお、ここでは、制御手段Mによる制御のもと、ディスプレイ151のみに車両状態情報や車両の外部情報が表示され、コンバイナ309は常時、非表示状態となっているものとする。   Next, the processing operation of the control means M when displaying the vehicle state information and the vehicle external information on the display 151 of the display unit 150 will be described with reference to FIGS. Here, under the control of the control means M, vehicle state information and vehicle external information are displayed only on the display 151, and the combiner 309 is always in a non-display state.

まず、制御手段Mは、図8に示す時刻S1において、第1多重通信入出力手段211(あるいは第1車両情報端子210)、並びに第2多重通信入出力手段312(あるいは第2車両情報端子311)を介して車両状態信号として走行制御手段106からの自動運転関連情報(ここではACCがオフ状態であることを示すACCオフ信号とする)を受信(取得)する。また、この際、制御手段M(第1の制御部202)は、通信部209と他の通信部410との間で無線通信が確立されていると判断し、且つ、第3の制御部402から他の通信部410、通信部209経由で送られたきた車両の外部情報は皆無であると判断する処理を実行する。   First, the control means M, at time S1 shown in FIG. 8, the first multiplex communication input / output means 211 (or the first vehicle information terminal 210) and the second multiplex communication input / output means 312 (or the second vehicle information terminal 311). ) To receive (acquire) automatic driving-related information (here, an ACC off signal indicating that the ACC is in an off state) from the travel control means 106 as a vehicle state signal. At this time, the control means M (first control unit 202) determines that wireless communication is established between the communication unit 209 and the other communication unit 410, and the third control unit 402. The processing for determining that there is no external information of the vehicle sent from the other communication unit 410 and the communication unit 209 is executed.

すると、制御手段Mによる制御のもと、ディスプレイ151には図9に示すような第1の表示モードM1に対応する車両状態情報が表示される。   Then, under the control of the control means M, the vehicle state information corresponding to the first display mode M1 as shown in FIG.

ここで、自動運転関連情報や車両の外部情報が一切表示されず、車両状態情報のみをディスプレイ151に表示する第1の表示モードM1において、制御手段Mによる制御のもと、ディスプレイ151には、車両状態情報として、車両の走行速度を表示する車速表示部500、シフトポジションを表示するシフトポジション表示部510、燃料の残量を表示する燃料残量表示部520、車両の進行方向を示す方向指示表示部530、車両の平均燃費を表示する燃費表示部540、車両外部の気温を表示する外気温表示部550が表示される。   Here, in the first display mode M1 in which the automatic driving related information and the vehicle external information are not displayed at all and only the vehicle state information is displayed on the display 151, under the control of the control means M, the display 151 As vehicle state information, a vehicle speed display unit 500 that displays the traveling speed of the vehicle, a shift position display unit 510 that displays the shift position, a fuel remaining amount display unit 520 that displays the remaining amount of fuel, and a direction instruction that indicates the traveling direction of the vehicle Display unit 530, fuel consumption display unit 540 that displays the average fuel consumption of the vehicle, and outside air temperature display unit 550 that displays the temperature outside the vehicle are displayed.

また、この第1の表示モードM1において、ディスプレイ151(表示ユニット150)は、区分けされた第1の表示領域R1と第2の表示領域R2とを有する。第1の表示領域R1は、ディスプレイ151の上側に位置し、車両状態情報のうち所定情報D1である上述した車速表示部500、シフトポジション表示部510、燃料残量表示部520、方向指示表示部530を表示するものである。   In the first display mode M1, the display 151 (display unit 150) has a divided first display area R1 and second display area R2. The first display region R1 is located above the display 151, and the vehicle speed display unit 500, the shift position display unit 510, the remaining fuel amount display unit 520, and the direction indication display unit, which are the predetermined information D1 among the vehicle state information. 530 is displayed.

車速表示部500は第1の表示領域R1の中央に表示され、シフトポジション表示部510は車速表示部500と隣接するように車速表示部500の左側に位置し、燃料残量表示部520は車速表示部500と隣接するように車速表示部500の右側に位置し、方向指示表示部530はシフトポジション表示部510と燃料残量表示部520とを挟むように第1の表示領域R1の両端側に位置している。   The vehicle speed display unit 500 is displayed at the center of the first display region R1, the shift position display unit 510 is located on the left side of the vehicle speed display unit 500 so as to be adjacent to the vehicle speed display unit 500, and the fuel remaining amount display unit 520 is displayed. Located on the right side of the vehicle speed display unit 500 so as to be adjacent to the display unit 500, the direction indication display unit 530 is located at both ends of the first display region R1 so as to sandwich the shift position display unit 510 and the remaining fuel amount display unit 520. Is located.

また、ここでの車速表示部500とシフトポジション表示部510と燃料残量表示部520と方向指示表示部530とを少なくとも含む所定情報D1は、優先度が高く、車両の利用者が視認する頻度が多い車両状態情報となっており、第1の表示モードM1においては、所定情報D1を第1の表示領域R1へと表示させる表示レイアウトとしている。   In addition, the predetermined information D1 including at least the vehicle speed display unit 500, the shift position display unit 510, the remaining fuel amount display unit 520, and the direction instruction display unit 530 has a high priority and is a frequency with which the vehicle user visually recognizes. In the first display mode M1, the display layout is such that the predetermined information D1 is displayed on the first display region R1.

一方、第2の表示領域R2は、ディスプレイ151の下側に位置し、所定情報D1とは異なる車両状態情報の他の情報D2に含まれる上述した燃費表示部540、外気温表示部550を表示するものである。燃費表示部540並びに外気温表示部550は、第2の表示領域R2に上下に並設された状態で表示される。   On the other hand, the second display region R2 is located on the lower side of the display 151, and displays the above-described fuel consumption display unit 540 and the outside air temperature display unit 550 included in the other information D2 of the vehicle state information different from the predetermined information D1. To do. The fuel consumption display unit 540 and the outside air temperature display unit 550 are displayed in a state where they are arranged side by side in the second display region R2.

また、ここでの他の情報D2は、車両の利用者が視認する頻度が少ない車両状態情報となっており、第1の表示モードM1においては、他の情報D2を第2の表示領域R2へと表示させる表示レイアウトとしている。   Further, the other information D2 here is vehicle state information that is less frequently viewed by the user of the vehicle. In the first display mode M1, the other information D2 is transferred to the second display region R2. Display layout.

次に、制御手段Mは、図8に示す時刻S2において、第1多重通信入出力手段211(あるいは第1車両情報端子210)、並びに第2多重通信入出力手段312(あるいは第2車両情報端子311)を介して車両状態信号として前記ACCオフ信号を引き続き受信する。   Next, the control means M, at time S2 shown in FIG. 8, the first multiplex communication input / output means 211 (or the first vehicle information terminal 210) and the second multiplex communication input / output means 312 (or the second vehicle information terminal). The ACC off signal is continuously received as a vehicle state signal via 311).

また、この際、制御手段M(第1の制御部202)は、前記無線通信が確立されていると判断し、且つ、第3の制御部402から他の通信部410、通信部209経由で送られたきた車両の外部情報(ナビゲーション情報)を受信(取得)する。つまり、このことは第1の車両搭載機器110(車両用情報提供装置102)は、外部機器103から出力される車両の外部情報を取得可能であることを意味している。   At this time, the control means M (first control unit 202) determines that the wireless communication has been established, and the third control unit 402 passes through the other communication unit 410 and the communication unit 209. Receive (acquire) external information (navigation information) of the sent vehicle. In other words, this means that the first vehicle-mounted device 110 (vehicle information providing apparatus 102) can acquire external information on the vehicle output from the external device 103.

すると、制御手段M(第1の制御部202)は、上述の車両状態信号やナビゲーション情報に基づいて、図10に示すような第2の表示モードM2に対応する表示情報がディスプレイ151(表示ユニット150)に表示されるようにディスプレイ151(表示ユニット150)を表示動作させる制御を行う。   Then, the control means M (first control unit 202) displays the display information corresponding to the second display mode M2 as shown in FIG. 10 on the display 151 (display unit) based on the vehicle state signal and the navigation information. 150), the display 151 (display unit 150) is controlled to display.

従って、この第2の表示モードM2に対応する表示情報には、図10に示すように車速表示部500とシフトポジション表示510と燃料残量表示520と方向指示表示部530と車両の外部情報(つまり外部機器情報)であるナビゲーション表示部560とが含まれている。なお、車両の外部情報は、ナビゲーション表示部560以外に、メールの着信情報や電話の着信情報、音楽情報等であってもよい。   Accordingly, the display information corresponding to the second display mode M2 includes vehicle speed display unit 500, shift position display 510, fuel remaining amount display 520, direction indication display unit 530, and vehicle external information (see FIG. 10). That is, a navigation display unit 560 that is external device information) is included. In addition to the navigation display unit 560, the vehicle external information may be mail incoming information, telephone incoming information, music information, or the like.

そして、これらのうち車速表示部500とシフトポジション表示部510と燃料残量表示部520と方向指示表示部530とでなる所定情報D1は、第1の表示モードM1の場合と同様に、第1の表示領域R1(同じ位置)に表示される。また、第2の表示モードM2において、車速表示部500とシフトポジション表示部510と燃料残量表示部520と方向指示表示部530とでなる所定情報D1以外の情報となるナビゲーション表示部560は、第2の表示領域R2に表示される。   Among these, the predetermined information D1 including the vehicle speed display unit 500, the shift position display unit 510, the remaining fuel amount display unit 520, and the direction indication display unit 530 is the same as in the first display mode M1. Are displayed in the display area R1 (same position). In the second display mode M2, the navigation display unit 560 serving as information other than the predetermined information D1 including the vehicle speed display unit 500, the shift position display unit 510, the remaining fuel amount display unit 520, and the direction indication display unit 530 is: It is displayed in the second display area R2.

つまり、この第2の表示モードM2においては、第1の表示モードM1のときに第2の表示領域R2に表示されていた燃費表示部340及び外気温表示部350が非表示状態となり、燃費表示部340及び外気温表示部350に代えてターンバイターン表示からなるナビゲーション表示部560が表示される。このターンバイターン表示は、矢印表示561と、交差点名表示562と、交差点までの残距離表示563とを含むものである。   That is, in the second display mode M2, the fuel consumption display unit 340 and the outside air temperature display unit 350 displayed in the second display region R2 in the first display mode M1 are not displayed, and the fuel consumption display is performed. Instead of the part 340 and the outside air temperature display part 350, a navigation display part 560 comprising a turn-by-turn display is displayed. This turn-by-turn display includes an arrow display 561, an intersection name display 562, and a remaining distance display 563 to the intersection.

なお、車両の外部情報としてターンバイターン表示を行うとき、第3の制御部402は、接続手段104(他の通信部410、通信部209)を介して第1の車両搭載機器110側に画像情報を出力する代わりにコマンドを出力してもよい。例えば、予め第1の記憶手段203に複数種類のターンバイターン表示情報を格納しておき、制御手段M(第1の制御部202)は、前記コマンドに対応するターンバイターン表示情報を第1の記憶手段203から読み出してディスプレイ151へ表示することで対応可能である。   When performing turn-by-turn display as external information of the vehicle, the third control unit 402 displays an image on the first vehicle-mounted device 110 side via the connection unit 104 (the other communication unit 410 and the communication unit 209). Instead of outputting information, a command may be output. For example, a plurality of types of turn-by-turn display information are stored in the first storage unit 203 in advance, and the control unit M (first control unit 202) stores the turn-by-turn display information corresponding to the command in the first order. This can be dealt with by reading from the storage means 203 and displaying on the display 151.

これにより、接続手段104(通信部209、他の通信部410)を介して外部機器103から第1の車両搭載機器110側へと出力する情報量を削減することが可能である。また、ナビゲーション表示部560は、ターンバイターン表示に代えて地図表示を適用してもよい。このときは、第3の制御部402は、接続手段104(他の通信部410、通信部209)を介して画像情報を出力するものとする。   Thereby, it is possible to reduce the amount of information output from the external device 103 to the first vehicle-mounted device 110 via the connection unit 104 (communication unit 209, other communication unit 410). Further, the navigation display unit 560 may apply a map display instead of the turn-by-turn display. At this time, it is assumed that the third control unit 402 outputs image information via the connection unit 104 (the other communication unit 410 and the communication unit 209).

次に、制御手段Mは、図8に示す時刻S3において、第1多重通信入出力手段211(あるいは第1車両情報端子210)、並びに第2多重通信入出力手段312(あるいは第2車両情報端子311)を介して車両状態信号として走行制御手段106からの自動運転関連情報(ここではACCがオン状態であることを示すACCオン信号とする)を受信(取得)する。また、この際、制御手段M(第1の制御部202)は、第3の制御部402から他の通信部410、通信部209経由で送られたきた車両の外部情報(ナビゲーション情報)を継続して受信(取得)している。   Next, at the time S3 shown in FIG. 8, the control means M, the first multiplex communication input / output means 211 (or the first vehicle information terminal 210) and the second multiplex communication input / output means 312 (or the second vehicle information terminal). 311), it receives (acquires) the automatic driving-related information (here, an ACC on signal indicating that the ACC is on) from the travel control means 106 as a vehicle state signal. At this time, the control means M (first control unit 202) continues the external information (navigation information) of the vehicle sent from the third control unit 402 via the other communication unit 410 and the communication unit 209. And receiving (acquiring).

すると、制御手段M(第1の制御部202)は、上述の車両状態信号やナビゲーション情報に基づいて、図11に示すような第3の表示モードM3に対応する表示情報がディスプレイ151(表示ユニット150)に表示されるようにディスプレイ151(表示ユニット150)を表示動作させる制御を行う。   Then, the control means M (first control unit 202) displays the display information corresponding to the third display mode M3 as shown in FIG. 11 on the display 151 (display unit) based on the vehicle state signal and the navigation information. 150), the display 151 (display unit 150) is controlled to display.

つまり、この際、制御手段Mは、自動運転の状態が自動運転オフ状態から自動運転オン状態へと変化したことを検出すると、当該自動運転オン状態に対応する自動運転関連情報(つまり作動状態情報570)が後述する所定時間X1の間、第2の表示領域R2に表示(拡大表示)されるように表示ユニット150の表示制御を行うものである。ここで、前記自動運転オン状態は、特許請求の範囲に記載されている所定の状態に相当し、前記自動運転オフ状態は、特許請求の範囲に記載されている(前記所定の状態とは異なる)他の状態に相当する。   That is, at this time, when the control means M detects that the state of the automatic driving has changed from the automatic driving off state to the automatic driving on state, the automatic driving related information (that is, the operating state information) corresponding to the automatic driving on state is detected. 570) performs display control of the display unit 150 so as to be displayed (enlarged display) in the second display region R2 for a predetermined time X1 to be described later. Here, the automatic driving on state corresponds to a predetermined state described in the claims, and the automatic driving off state is described in the claims (different from the predetermined state). ) Corresponds to other states.

なお、この第3の表示モードM3(後述する第4〜第6の表示モードM4〜M6も同様)において、第1の表示領域R1に表示される情報は、第1、第2の表示モードM1、M2の場合と同一であるため、以下では第2の表示領域R2に表示される表示情報のみについて説明する。   In the third display mode M3 (the same applies to fourth to sixth display modes M4 to M6 described later), the information displayed in the first display region R1 is the first and second display modes M1. Therefore, only the display information displayed in the second display region R2 will be described below.

つまり、この第3の表示モードM3においては、第2の表示モードM2のときに第2の表示領域R2に表示されていたナビゲーション表示部560が非表示状態となり、所定時間X1の間、ナビゲーション表示部560に代えて自動運転関連情報である(換言すれば自動運転オン状態に対応する)作動状態情報570が表示される。   That is, in the third display mode M3, the navigation display unit 560 displayed in the second display region R2 in the second display mode M2 is not displayed, and the navigation display is performed for a predetermined time X1. Instead of the part 560, operation state information 570 that is information related to automatic driving (in other words, corresponding to the automatic driving ON state) is displayed.

そして、制御手段M(第1の制御部202)による制御のもと、第3の表示モードM3での第2の表示領域R2に表示される作動状態情報570としては、図11に示すようにACCが作動中であることを示したACC作動中表示571と、自車両を模式的に示す自車両マーク572と、ACCの設定車速を示すACC車速設定表示573と、自車両の前方を走行している先行車を模式的に示す先行車マーク574と、自車両が先行車の後方を追従して走行していることを模式的に示す矢印表示575とを少なくとも含むように構成されている。なお、本例の場合、他の情報D2には、車両の自動運転に関する自動運転関連情報に相当する作動状態情報570が含まれる。   Then, under the control of the control means M (first control unit 202), as the operation state information 570 displayed in the second display region R2 in the third display mode M3, as shown in FIG. An ACC in-operation display 571 indicating that the ACC is operating, a host vehicle mark 572 that schematically indicates the host vehicle, an ACC vehicle speed setting display 573 that indicates the set vehicle speed of the ACC, and a vehicle traveling in front of the host vehicle. The vehicle is configured to include at least a preceding vehicle mark 574 that schematically indicates the preceding vehicle being driven, and an arrow display 575 that schematically indicates that the host vehicle is traveling following the preceding vehicle. In the case of this example, the other information D2 includes operating state information 570 corresponding to information related to automatic driving related to automatic driving of the vehicle.

次に、制御手段Mは、図8に示す時刻S3から所定時間X1が経過した後の時刻S4において、第1多重通信入出力手段211(あるいは第1車両情報端子210)、並びに第2多重通信入出力手段312(あるいは第2車両情報端子311)を介して、車両状態信号(前記ACCオン信号)を継続して受信している。また、この際、制御手段M(第1の制御部202)は、第3の制御部402から他の通信部410、通信部209経由で送られたきた車両の外部情報(ナビゲーション情報)を継続して受信(取得)している。   Next, at time S4 after a predetermined time X1 has elapsed from time S3 shown in FIG. 8, the control means M performs the first multiplex communication input / output means 211 (or the first vehicle information terminal 210) and the second multiplex communication. The vehicle state signal (the ACC on signal) is continuously received via the input / output means 312 (or the second vehicle information terminal 311). At this time, the control means M (first control unit 202) continues the external information (navigation information) of the vehicle sent from the third control unit 402 via the other communication unit 410 and the communication unit 209. And receiving (acquiring).

すると、制御手段M(第1の制御部202)は、上述の前記ACCオン信号やナビゲーション情報に基づいて図12に示すような第4の表示モードM4に対応する表示情報がディスプレイ151(表示ユニット150)に表示されるようにディスプレイ151(表示ユニット150)を表示動作させる制御を行う。   Then, the control means M (first control unit 202) displays display information corresponding to the fourth display mode M4 as shown in FIG. 12 on the display 151 (display unit) based on the ACC on signal and navigation information. 150), the display 151 (display unit 150) is controlled to display.

具体的には、この際、制御手段Mは、時刻S3から所定時間X1が経過したと判断した場合、上述の前記ACCオン信号やナビゲーション情報に基づいて、車両の自動運転機能(ACC)が作動状態であることを示す簡易作動状態情報580と、ナビゲーション表示部560とがディスプレイ151の第2の表示領域R2に表示されるようにディスプレイ151の表示制御を行う。   Specifically, at this time, when the control means M determines that the predetermined time X1 has elapsed from time S3, the automatic driving function (ACC) of the vehicle is activated based on the ACC on signal and navigation information described above. The display 151 is controlled so that the simple operation state information 580 indicating the state and the navigation display unit 560 are displayed in the second display region R2 of the display 151.

すると、それまで第2の表示領域R2のほぼ全体に表示されていた作動状態情報570は、簡略化された簡易作動状態情報580として、第2の表示領域R2の一部分(例えば図12中、第2の表示領域R2の左上部分)に表示(縮小表示)され、また簡易作動状態情報580の表示エリアを除いた第2の表示領域R2の空きスペースには、第2の表示モードM2のときに表示されていたナビゲーション表示部560が表示(拡大表示)される。   Then, the operation state information 570 that has been displayed almost entirely in the second display region R2 until then is a simplified operation state information 580 that is simplified, and a part of the second display region R2 (for example, the first display region R2 in FIG. 2 (upper left part of the display area R2), and the empty space of the second display area R2 excluding the display area of the simple operation state information 580 is in the second display mode M2. The displayed navigation display unit 560 is displayed (enlarged display).

ここで、簡易作動状態情報580は、ACCが作動状態であることを文字にて簡略表示した第1文字表示部581と、自車両が先行車の後方を追従して走行していることを文字にて簡略表示した第2文字表示部582とを含むものである。ACCという文字にて表示された第1文字表示部581と、追従走行という文字にて表示された第2文字表示部582とは、上下に並設した状態で表示される。   Here, the simple operation state information 580 is a character indicating that the first character display unit 581 that simply displays that the ACC is in operation and the vehicle is running following the preceding vehicle. And a second character display portion 582 that is simply displayed at. The first character display portion 581 displayed with the characters ACC and the second character display portion 582 displayed with the characters follow-up traveling are displayed in a state where they are arranged side by side.

この簡易作動状態情報580は、車両の自動運転機能(ACC)が作動状態であることを比較的詳しく表示した作動状態情報570を簡略化したものであればあらゆる表示内容を適用することができる。なお、簡易作動状態情報580は、特許請求の範囲に記載されている簡略化情報に相当する。   As the simplified operating state information 580, any display content can be applied as long as it is simplified operating state information 570 that indicates that the automatic driving function (ACC) of the vehicle is in an operating state. The simple operation state information 580 corresponds to the simplified information described in the claims.

つまり、本例の場合、第2の表示領域R2は、他の情報D2(ここでの他の情報D2とは前記作動状態情報に相当する)とナビゲーション表示部560とのうち少なくとも一方を表示するものであり、さらに制御手段Mは、所定時間X1の経過後に、他の情報D2(ここでの他の情報D2とは前記作動状態情報に相当する)とナビゲーション表示部560とを第2の表示領域R2に同時に表示するにあたって、当該他の情報(つまり前記作動状態情報)が簡略化された簡易作動状態情報580として第2の表示領域R2に縮小表示されるように表示ユニット150の表示制御を行うものである。   That is, in the case of this example, the second display region R2 displays at least one of other information D2 (the other information D2 here corresponds to the operation state information) and the navigation display unit 560. Further, after the predetermined time X1 has elapsed, the control means M displays other information D2 (the other information D2 here corresponds to the operating state information) and the navigation display unit 560 in the second display. When simultaneously displaying in the region R2, the display unit 150 is controlled so that the other information (that is, the operation state information) is reduced and displayed in the second display region R2 as simplified operation state information 580. Is what you do.

次に、制御手段Mは、図8に示す時刻S5において、第1多重通信入出力手段211(あるいは第1車両情報端子210)、並びに第2多重通信入出力手段312(あるいは第2車両情報端子311)を介して、車両状態信号として自動運転関連情報(以下、他の自動運転関連情報とも言う)を受信する。   Next, the control means M, at time S5 shown in FIG. 8, the first multiplex communication input / output means 211 (or the first vehicle information terminal 210) and the second multiplex communication input / output means 312 (or the second vehicle information terminal). 311), automatic driving related information (hereinafter also referred to as other automatic driving related information) is received as a vehicle state signal.

なお、ここでは、ACCの作動中に、自車両の前方を走行している先行車が車線変更を行ったことで先行車を検出できなくなり、自車両が先行車の後方を追従して走行する追従走行状態から自車両が予め定めたれた車速で走行する定速走行状態へと変化したことを想定しており、上述の他の自動運転関連情報とは、定速走行状態にて自車両を走行させるにあたって、第2の表示領域R2に表示される自動運転関連情報(つまり後述する他の作動状態情報590)を意味している。また、この際、制御手段M(第1の制御部202)は、第3の制御部402から他の通信部410、通信部209経由で送られたきた車両の外部情報(ナビゲーション情報)を継続して受信(取得)している。   Here, during the operation of the ACC, the preceding vehicle running ahead of the host vehicle has changed lanes, so the preceding vehicle cannot be detected, and the host vehicle travels following the preceding vehicle. It is assumed that the host vehicle has changed from the following driving state to a constant speed driving state in which the vehicle travels at a predetermined vehicle speed. This means automatic driving related information (that is, other operating state information 590 described later) displayed in the second display region R2 when traveling. At this time, the control means M (first control unit 202) continues the external information (navigation information) of the vehicle sent from the third control unit 402 via the other communication unit 410 and the communication unit 209. And receiving (acquiring).

すると、制御手段M(第1の制御部202)は、上述の他の自動運転関連情報やナビゲーション情報に基づいて、図13に示すような第5の表示モードM5に対応する表示情報がディスプレイ151(表示ユニット150)に表示されるようにディスプレイ151(表示ユニット150)を表示動作させる制御を行う。   Then, the control means M (first control unit 202) displays the display information corresponding to the fifth display mode M5 as shown in FIG. 13 on the display 151 based on the other automatic driving related information and navigation information. Control is performed to display the display 151 (display unit 150) so as to be displayed on the (display unit 150).

つまり、この際、制御手段Mは、自動運転の状態が追従走行状態から定速走行状態へと変化したことを検出すると、当該定速走行状態に対応する自動運転関連情報(つまり他の作動状態情報590)が後述する所定時間X2の間、第2の表示領域R2に表示(拡大表示)されるように表示ユニット150の表示制御を行うものである。ここで、前記追従走行状態は、特許請求の範囲に記載されている所定の状態に相当し、前記定速走行状態は、特許請求の範囲に記載されている(前記所定の状態とは異なる)他の状態に相当する。   That is, at this time, when the control means M detects that the state of the automatic driving has changed from the follow driving state to the constant speed driving state, the automatic driving related information corresponding to the constant speed driving state (that is, other operation states). Display control of the display unit 150 is performed so that information 590) is displayed (enlarged display) in the second display region R2 for a predetermined time X2 to be described later. Here, the following running state corresponds to a predetermined state described in the claims, and the constant speed running state is described in the claims (different from the predetermined state). Corresponds to other states.

つまり、この第5の表示モードM5においては、制御手段M(第1の制御部202)は、それまでディスプレイ151に表示されていたナビゲーション表示部560、簡易作動状態情報580に代えて、車両の自動運転機能(つまりACC)が作動状態であることを示す作動状態情報590(以下、他の作動状態情報590とも言う)がディスプレイ151(表示ユニット150)の第2の表示領域R2に表示されるようにディスプレイ151(表示ユニット150)の表示制御を行う。具体的には、所定時間X2の間、ナビゲーション表示部560が非表示となり、且つ、それまで第2の表示領域R2の一部に表示されていた簡易作動状態情報580が他の作動状態情報590として前記空きスペースに拡大表示される。   That is, in the fifth display mode M5, the control means M (first control unit 202) replaces the navigation display unit 560 and the simple operation state information 580 that have been displayed on the display 151 until then with the vehicle display. Operating state information 590 (hereinafter also referred to as other operating state information 590) indicating that the automatic driving function (that is, ACC) is in the operating state is displayed in the second display region R2 of the display 151 (display unit 150). Thus, display control of the display 151 (display unit 150) is performed. Specifically, the navigation display unit 560 is not displayed for a predetermined time X2, and the simple operation state information 580 that has been displayed in a part of the second display region R2 until then is the other operation state information 590. As an enlarged display in the empty space.

そして、制御手段M(第1の制御部202)による制御のもと、第5の表示モードM5における第2の表示領域R2(ディスプレイ151)に表示される他の作動状態情報590としては、図13に示すようにACCが作動中であることを示したACC作動中表示591と、自車両を模式的に示す自車両マーク592と、ACCの設定車速を示すACC車速設定表示593と、自車両の前方を走行している先行車を模式的に示す先行車マーク594と、前記追従走行状態であることを模式的に示す矢印表示595とを少なくとも含むように構成されている。なお、ここでは定速走行中(定速走行状態)であるため、先行車マーク594と矢印表示595は点線で表示される。また、本例の場合、他の情報D2には、車両の自動運転に関する自動運転関連情報に相当する他の作動状態情報590が含まれる。   The other operating state information 590 displayed in the second display region R2 (display 151) in the fifth display mode M5 under the control of the control means M (first control unit 202) is shown in FIG. As shown in FIG. 13, an ACC operating display 591 indicating that the ACC is operating, a host vehicle mark 592 schematically showing the host vehicle, an ACC vehicle speed setting display 593 indicating the set vehicle speed of the ACC, and the host vehicle The vehicle is configured to include at least a preceding vehicle mark 594 that schematically indicates a preceding vehicle that is traveling ahead of the vehicle, and an arrow display 595 that schematically indicates that the vehicle is in the following traveling state. Here, since the vehicle is running at a constant speed (constant speed running state), the preceding vehicle mark 594 and the arrow display 595 are displayed by dotted lines. In the case of this example, the other information D2 includes other operation state information 590 corresponding to the automatic driving related information related to the automatic driving of the vehicle.

次に、制御手段Mは、図8に示す時刻S5から所定時間X2が経過した後の時刻S6において、第1多重通信入出力手段211(あるいは第1車両情報端子210)、並びに第2多重通信入出力手段312(あるいは第2車両情報端子311)を介して、車両状態信号(前記他の自動運転関連情報)を継続して受信している。また、この際、制御手段M(第1の制御部202)は、第3の制御部402から他の通信部410、通信部209経由で送られたきた車両の外部情報(ナビゲーション情報)を継続して受信(取得)している。   Next, the control means M performs the first multiplex communication input / output means 211 (or the first vehicle information terminal 210) and the second multiplex communication at the time S6 after the predetermined time X2 has elapsed from the time S5 shown in FIG. The vehicle state signal (the other automatic driving related information) is continuously received via the input / output means 312 (or the second vehicle information terminal 311). At this time, the control means M (first control unit 202) continues the external information (navigation information) of the vehicle sent from the third control unit 402 via the other communication unit 410 and the communication unit 209. And receiving (acquiring).

すると、制御手段M(第1の制御部202)は、上述の前記ACCオン信号やナビゲーション情報に基づいて図14に示すような第6の表示モードM6に対応する表示情報がディスプレイ151(表示ユニット150)に表示されるようにディスプレイ151(表示ユニット150)を表示動作させる制御を行う。   Then, the control means M (first control unit 202) displays display information corresponding to the sixth display mode M6 as shown in FIG. 14 on the display 151 (display unit) based on the ACC on signal and navigation information. 150), the display 151 (display unit 150) is controlled to display.

ここで、制御手段Mは、時刻S5から所定時間X2が経過したと判断した場合、上述の前記ACCオン信号やナビゲーション情報に基づいて、車両の自動運転機能(ACC)が作動状態であることを示す簡易作動状態情報600(以下、他の簡易作動状態情報600とも言う)と、ナビゲーション表示部560とがディスプレイ151(表示ユニット150)の第2の表示領域R2に表示されるようにディスプレイ151(表示ユニット150)の表示制御を行う。   Here, when the control means M determines that the predetermined time X2 has elapsed from the time S5, it is determined that the automatic driving function (ACC) of the vehicle is in an operating state based on the ACC on signal and the navigation information. The simple operation state information 600 shown below (hereinafter also referred to as other simple operation state information 600) and the navigation display unit 560 are displayed on the display 151 (the display 151 (display unit 150) so as to be displayed in the second display region R2. Display control of the display unit 150) is performed.

すると、それまで第2の表示領域R2のほぼ全体に表示されていた他の作動状態情報590は、簡略化された他の簡易作動状態情報600として、第2の表示領域R2の一部分(例えば図14中、第2の表示領域R2の左上部分)に表示(縮小表示)され、また他の簡易作動状態情報600の表示エリアを除いた第2の表示領域R2の空きスペースには、第4の表示モードM4のときに表示されていたナビゲーション表示部560が表示される。   Then, the other operation state information 590 that has been displayed almost entirely in the second display region R2 until then is a part of the second display region R2 (for example, FIG. 14 in the upper left portion of the second display area R2) (reduced display), and the empty space of the second display area R2 excluding the display area of the other simple operation state information 600 includes the fourth The navigation display unit 560 displayed in the display mode M4 is displayed.

他の簡易作動状態情報600は、ACCが作動状態であることを文字にて簡略表示した第1文字表示部581と、前記定速走行状態であることを文字にて簡略表示した第3文字表示部601とを含むものである。ACCという文字にて表示された第1文字表示部581と、定速走行という文字にて表示された第3文字表示部601とは、上下に並設した状態で表示される。   The other simple operation state information 600 includes a first character display portion 581 that simply displays that the ACC is in an operation state in characters, and a third character display that displays in a simple manner that the ACC is in a constant speed running state. Part 601. The first character display unit 581 displayed with the characters ACC and the third character display unit 601 displayed with the characters constant speed running are displayed in a state where they are arranged side by side.

この他の簡易作動状態情報600は、車両の自動運転機能(ACC)が作動状態であることを比較的詳しく表示した作動状態情報590を簡略化したものであればあらゆる表示内容を適用することができる。なお、他の簡易作動状態情報600は、特許請求の範囲に記載されている簡略化情報に相当する。   As the other simple operation state information 600, any display contents can be applied as long as the operation state information 590 that indicates that the automatic driving function (ACC) of the vehicle is in an operation state is simplified. it can. The other simple operating state information 600 corresponds to the simplified information described in the claims.

以上のように本実施形態では、制御手段Mは、他の情報D2(ここでの他の情報D2とは作動状態情報570(590)に相当する)とナビゲーション表示部560とを第2の表示領域R2に同時に表示するにあたって、他の情報D2(当該作動状態情報570(590))が簡略化された簡易作動状態情報580(600)として縮小表示されるように表示ユニット150の表示制御を行うものである。これにより前記空きスペースにナビゲーション表示部560を表示することが可能となり、自動運転機能が作動中の場合であってもナビゲーション情報表示用(つまり外部情報表示用)の表示エリアが十分に確保され(利用者が必要なときに視認でき)、ヒューマン・マシン・インターフェイスを向上させることが可能な車両用情報提供装置を提供することができる。   As described above, in the present embodiment, the control means M displays the other information D2 (the other information D2 here corresponds to the operating state information 570 (590)) and the navigation display unit 560 in the second display. When simultaneously displaying in the region R2, display control of the display unit 150 is performed so that other information D2 (the operation state information 570 (590)) is reduced and displayed as simplified operation state information 580 (600). Is. As a result, the navigation display unit 560 can be displayed in the empty space, and a display area for displaying navigation information (that is, for displaying external information) is sufficiently secured even when the automatic driving function is in operation ( It is possible to provide a vehicular information providing apparatus that can be visually recognized when necessary) and can improve the human-machine interface.

また本実施形態では、制御手段Mは、自動運転の状態が、前記所定の状態から前記所定の状態とは異なる前記他の状態へと変化したこと(つまり自動運転オフ状態から自動運転オン状態へと変化したこと、あるいは追従走行状態から定速走行状態へと変化したこと)を検出すると、前記他の状態に対応する自動運転関連情報(つまり作動状態情報570、あるいは他の作動状態情報590)が所定時間(つまり所定時間X1、あるいは所定時間X2)の間、第2の表示領域R2に拡大表示されるように表示ユニット150の表示制御を行うものである。これにより車両がADAS機能(自動運転機能)を用いて走行中に、当該機能の状態変化を利用者へ分かり易く提供することが可能となり、ヒューマン・マシン・インターフェイスを向上させることが可能な車両用情報提供装置を提供することができる。   Further, in the present embodiment, the control means M indicates that the state of the automatic operation has changed from the predetermined state to the other state different from the predetermined state (that is, from the automatic operation off state to the automatic operation on state). Or the change from the following running state to the constant speed running state) is detected (that is, the operation state information 570 or other operation state information 590) corresponding to the other state. Is controlled to be displayed on the second display region R2 in an enlarged manner for a predetermined time (that is, the predetermined time X1 or the predetermined time X2). As a result, while the vehicle is running using the ADAS function (automated driving function), it is possible to provide the user with easy-to-understand state change of the function and improve the human machine interface. An information providing apparatus can be provided.

(第2実施形態)次に、本発明の第2実施形態を図15〜図21に基づいて説明するが、前述の第1実施形態と同一もしくは相当個所には同一の符号を用いてその詳細な説明は省略する。ここでは、制御手段Mによる制御のもと、ディスプレイ151とコンバイナ309とを併用して車両状態情報や車両の外部情報を表示する構成となっている。 (Second Embodiment) Next, a second embodiment of the present invention will be described with reference to FIGS. 15 to 21. The same reference numerals are used for the same or corresponding parts as in the first embodiment, and the details thereof are used. The detailed explanation is omitted. Here, under the control of the control means M, the display 151 and the combiner 309 are used together to display vehicle state information and vehicle external information.

まず、制御手段Mは、図15に示す時刻T1において、第1多重通信入出力手段211(あるいは第1車両情報端子210)、並びに第2多重通信入出力手段312(あるいは第2車両情報端子311)を介して前記ACCオフ信号を受信する。また、この際、制御手段Mは、前記無線通信が確立されていると判断し、且つ、第3の制御部402から他の通信部410、通信部209経由で送られたきた車両の外部情報は皆無であると判断する処理を実行する。   First, at time T1 shown in FIG. 15, the control means M, the first multiplex communication input / output means 211 (or the first vehicle information terminal 210) and the second multiplex communication input / output means 312 (or the second vehicle information terminal 311). ) To receive the ACC off signal. At this time, the control means M determines that the wireless communication has been established, and the external information of the vehicle sent from the third control unit 402 via the other communication unit 410 and the communication unit 209. The process of determining that there is no is executed.

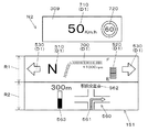
そして、制御手段Mによる制御のもと、ディスプレイ151とコンバイナ309とに図16に示すような第1の表示モードN1に対応する車両状態情報が表示される。   Then, under the control of the control means M, vehicle state information corresponding to the first display mode N1 as shown in FIG. 16 is displayed on the display 151 and the combiner 309.

ここで、自動運転関連情報や車両の外部情報は一切表示されずに、車両状態情報のみをディスプレイ151とコンバイナ309に表示する第1の表示モードN1において、制御手段Mによる制御のもと、ディスプレイ151には、車両状態情報として、車両のエンジン回転数を表示する回転数表示部700、シフトポジション表示部510、燃料残量表示部520、方向指示表示部530、燃費表示部540、外気温表示部550が表示される。この場合、第1の表示領域R1の中央に表示される回転数表示部700とシフトポジション表示部510と燃料残量表示部520と方向指示表示部530とで所定情報D1が構成され、当該所定情報D1は、優先度が高く、車両の利用者が視認する頻度が多い車両状態情報となっている。   Here, in the first display mode N1 in which only the vehicle state information is displayed on the display 151 and the combiner 309 without displaying any automatic driving related information or vehicle external information, the display is controlled under the control of the control means M. 151 includes, as vehicle state information, a rotational speed display unit 700 that displays the engine rotational speed of the vehicle, a shift position display unit 510, a fuel remaining amount display unit 520, a direction indication display unit 530, a fuel consumption display unit 540, and an outside air temperature display. Part 550 is displayed. In this case, the rotation number display unit 700, the shift position display unit 510, the fuel remaining amount display unit 520, and the direction instruction display unit 530 displayed in the center of the first display region R1 constitute predetermined information D1, and the predetermined information The information D1 is vehicle state information that has a high priority and is frequently viewed by a vehicle user.

また、このとき、制御手段Mによる制御のもと、第2の駆動手段307を介して液晶表示器306が駆動し、液晶表示パネル304からは車速用表示光と道路標識用表示光(制限速度用表示光)とからなる表示光Lが発せられ、コンバイナ309には、図16に示すように車速表示部710に加えて、車速表示部710の表示位置の周囲(近傍)に道路に設置された道路標識情報である制限速度表示部720が表示(虚像表示)される。例えば図16では、コンバイナ309の右側に制限速度表示部720が表示される。なお、この第2実施形態の場合、所定情報D1には、車速表示部710も含まれるものとする。   At this time, the liquid crystal display 306 is driven through the second drive unit 307 under the control of the control unit M, and the vehicle speed display light and the road sign display light (restricted speed) are transmitted from the liquid crystal display panel 304. Display light L is generated, and the combiner 309 is installed on the road around (near) the display position of the vehicle speed display unit 710 in addition to the vehicle speed display unit 710 as shown in FIG. The speed limit display unit 720 that is the road sign information is displayed (virtual image display). For example, in FIG. 16, a speed limit display unit 720 is displayed on the right side of the combiner 309. In the second embodiment, the predetermined information D1 includes the vehicle speed display unit 710.

そして、コンバイナ309に表示される(所定情報D1の1つに含まれる)車速表示部710は、車両の利用者が視認する頻度が最も多い車両状態情報に分類されており、第1の表示モードN1においては、車両運転時に、利用者が視線をあまり動かさなくてもよい表示位置(利用者が瞬時に把握できる表示位置)であるコンバイナ309の略中央へと表示させる表示レイアウトとしている。   The vehicle speed display unit 710 (included in one of the predetermined information D1) displayed on the combiner 309 is classified into vehicle state information that is most frequently viewed by a vehicle user, and is displayed in the first display mode. In N1, the display layout is displayed to the approximate center of the combiner 309, which is a display position where the user does not have to move his / her line of sight when driving the vehicle (a display position that the user can instantly grasp).

次に、制御手段Mは、図15に示す時刻T2において、第1多重通信入出力手段211(あるいは第1車両情報端子210)、並びに第2多重通信入出力手段312(あるいは第2車両情報端子311)を介して前記ACCオフ信号を引き続き受信する。また、この際、制御手段Mは、第3の制御部402から他の通信部410、通信部209経由で送られたきた車両の外部情報(ナビゲーション情報)を受信(取得)する。   Next, the control means M, at time T2 shown in FIG. 15, the first multiplex communication input / output means 211 (or the first vehicle information terminal 210) and the second multiplex communication input / output means 312 (or the second vehicle information terminal). 311) continues to receive the ACC off signal. At this time, the control means M receives (acquires) external information (navigation information) of the vehicle sent from the third control unit 402 via the other communication unit 410 and the communication unit 209.

すると、制御手段Mは、上述の前記ACCオフ信号やナビゲーション情報に基づいて、図17に示すような第2の表示モードN2に対応する表示情報がディスプレイ151、コンバイナ309に表示されるようにディスプレイ151、液晶表示器306(第2の情報表示部310)を表示動作させる制御を行う。   Then, the control means M displays the display information corresponding to the second display mode N2 as shown in FIG. 17 on the display 151 and the combiner 309 based on the ACC off signal and the navigation information. 151, control is performed to display the liquid crystal display 306 (second information display unit 310).

なお、第2の表示モードN2(後述する第3〜第6の表示モードN3〜N6も同様)において、第1の表示領域R1に表示される情報は、第1の表示モードN1の場合と同一であるため、以下では第2の表示領域R2とコンバイナ309に表示される表示情報のみについて説明する。   In the second display mode N2 (the same applies to third to sixth display modes N3 to N6 described later), the information displayed in the first display region R1 is the same as in the first display mode N1. Therefore, hereinafter, only display information displayed in the second display region R2 and the combiner 309 will be described.

ここで、制御手段Mは、ナビゲーション情報に基づいて、ナビゲーション表示部560がディスプレイ151の第2の表示領域R2に表示されるようにディスプレイ151の表示制御を行う。つまり、この第2の表示モードN2においては、第1の表示モードN1のときに第2の表示領域R2に表示されていた燃費表示部340及び外気温表示部350が非表示状態となり、燃費表示部340及び外気温表示部350に代えて前記第1実施形態にて採用したナビゲーション表示部560が表示される。また、このとき、制御手段Mによる制御のもと、コンバイナ309には第1の表示モードN1の場合と同様にして車速表示部710と制限速度表示部720とが虚像表示される。   Here, the control means M performs display control of the display 151 so that the navigation display unit 560 is displayed in the second display region R2 of the display 151 based on the navigation information. That is, in the second display mode N2, the fuel consumption display unit 340 and the outside air temperature display unit 350 displayed in the second display region R2 in the first display mode N1 are not displayed, and the fuel consumption display is performed. Instead of the unit 340 and the outside air temperature display unit 350, the navigation display unit 560 employed in the first embodiment is displayed. At this time, under the control of the control means M, the combiner 309 displays the vehicle speed display unit 710 and the speed limit display unit 720 in a virtual image in the same manner as in the first display mode N1.

次に、制御手段Mは、図15に示す時刻T3において、第1多重通信入出力手段211(あるいは第1車両情報端子210)、並びに第2多重通信入出力手段312(あるいは第2車両情報端子311)を介して、前記第1実施形態にて採用した自動運転オン状態に対応する自動運転関連情報(つまり前記ACCオン信号)を受信(取得)する。また、この際、制御手段Mは、第3の制御部402から他の通信部410、通信部209経由で送られたきた車両の外部情報(ナビゲーション情報)を継続して受信している。   Next, at the time T3 shown in FIG. 15, the control means M, the first multiplex communication input / output means 211 (or the first vehicle information terminal 210) and the second multiplex communication input / output means 312 (or the second vehicle information terminal). 311), the automatic driving related information (that is, the ACC ON signal) corresponding to the automatic driving ON state employed in the first embodiment is received (acquired). At this time, the control means M continuously receives external information (navigation information) of the vehicle sent from the third control unit 402 via the other communication unit 410 and the communication unit 209.

すると、制御手段Mは、上述の前記ACCオン信号やナビゲーション情報に基づいて、図18に示すような第3の表示モードN3に対応する表示情報がディスプレイ151、コンバイナ309に表示されるようにディスプレイ151、液晶表示器306を表示動作させる制御を行う。   Then, the control means M displays the display information corresponding to the third display mode N3 as shown in FIG. 18 on the display 151 and the combiner 309 based on the ACC on signal and the navigation information. 151, the liquid crystal display 306 is controlled to display.

制御手段Mは、前記ACCオン信号を受信すると、前記ACCオン信号に基づいて、前記第1実施形態にて採用した作動状態情報570が第2の表示領域R2に表示されるようにディスプレイ151の表示制御を行う。つまり、この第3の表示モードN3においては、第2の表示モードN2のときに第2の表示領域R2に表示されていたナビゲーション表示部560が非表示状態となり、後述する所定時間Y1の間、ナビゲーション表示部560に代えて作動状態情報570が表示(拡大表示)される。   When the control means M receives the ACC on signal, the control means M displays the operation state information 570 adopted in the first embodiment on the display 151 so that the operating state information 570 is displayed in the second display region R2. Perform display control. That is, in the third display mode N3, the navigation display unit 560 displayed in the second display region R2 in the second display mode N2 is in a non-display state, and during a predetermined time Y1 described later, Instead of the navigation display unit 560, the operating state information 570 is displayed (enlarged display).

また、このとき、制御手段Mによる制御のもと、第2の駆動手段307を介して液晶表示器306が駆動し、液晶表示パネル304からは車速用表示光と第1文字表示光とからなる表示光Lが発せられ、コンバイナ309には、図18に示すように車速表示部710に加えて、車速表示部710の表示位置の周囲(近傍)に車両の自動運転制御(ACC)が作動状態であることを示す簡易作動状態情報730が虚像表示される。例えば図18では、コンバイナ309の右側に前記簡略化情報としての簡易作動状態情報730が表示される。   At this time, the liquid crystal display 306 is driven through the second driving means 307 under the control of the control means M, and the liquid crystal display panel 304 is composed of vehicle speed display light and first character display light. The display light L is emitted, and the automatic operation control (ACC) of the vehicle is activated in the combiner 309 around (near) the display position of the vehicle speed display unit 710 in addition to the vehicle speed display unit 710 as shown in FIG. The simple operation state information 730 indicating that the image is displayed as a virtual image. For example, in FIG. 18, simplified operation state information 730 as the simplified information is displayed on the right side of the combiner 309.

簡易作動状態情報730は、ACCが作動状態であることを文字にて簡略表示した第1文字表示部731と、前記追従走行状態であることを文字にて簡略表示した第2文字表示部732とを含むものである。ACCという文字にて表示された第1文字表示部731と、追従走行という文字にて表示された第2文字表示部732とは、上下に並設した状態で表示される。   The simple operation state information 730 includes a first character display unit 731 that simply displays that the ACC is in an operation state using characters, and a second character display unit 732 that displays that the following traveling state is displayed using characters. Is included. The first character display portion 731 displayed with the characters ACC and the second character display portion 732 displayed with the characters follow-up traveling are displayed in a state where they are arranged side by side.

次に、制御手段Mは、図15に示す時刻T3から所定時間Y1が経過した後の時刻T4において、第1多重通信入出力手段211(あるいは第1車両情報端子210)、並びに第2多重通信入出力手段312(あるいは第2車両情報端子311)を介して、前記ACCオン信号を継続して受信している。また、この際、制御手段Mは、第3の制御部402から他の通信部410、通信部209経由で送られたきた車両の外部情報(ナビゲーション情報)を継続して受信している。   Next, the control means M performs the first multiplex communication input / output means 211 (or the first vehicle information terminal 210) and the second multiplex communication at time T4 after a predetermined time Y1 has elapsed from time T3 shown in FIG. The ACC on signal is continuously received via the input / output means 312 (or the second vehicle information terminal 311). At this time, the control means M continuously receives external information (navigation information) of the vehicle sent from the third control unit 402 via the other communication unit 410 and the communication unit 209.

すると、制御手段Mは、上述の前記ACCオン信号やナビゲーション情報に基づいて図19に示すような第4の表示モードN4に対応する表示情報がディスプレイ151、コンバイナ309に表示されるようにディスプレイ151、液晶表示器306を表示動作させる制御を行う。   Then, the control means M displays the display 151 so that the display information corresponding to the fourth display mode N4 as shown in FIG. 19 is displayed on the display 151 and the combiner 309 based on the ACC on signal and the navigation information. Then, the liquid crystal display 306 is controlled to display.

ここで、制御手段Mは、時刻T3から所定時間Y1が経過したと判断した場合、上述のナビゲーション情報に基づき、それまで第2の表示領域R2に表示されていた作動状態情報570に代えて前記第1実施形態にて採用したナビゲーション表示部560が第2の表示領域R2に表示されるようにディスプレイ151の表示制御を行う。また、このとき、制御手段Mによる制御のもと、コンバイナ309には第3の表示モードN3の場合と同様にして車速表示部710と簡易作動状態情報730とが虚像表示される。   Here, when the control means M determines that the predetermined time Y1 has elapsed from the time T3, the control means M replaces the operating state information 570 that has been displayed in the second display area R2 until then based on the navigation information described above. Display control of the display 151 is performed so that the navigation display unit 560 employed in the first embodiment is displayed in the second display region R2. At this time, under the control of the control means M, the vehicle speed display unit 710 and the simple operation state information 730 are displayed in a virtual image on the combiner 309 as in the case of the third display mode N3.

つまり、この際、制御手段Mは、他の情報D2(前記自動運転オン状態に対応する自動運転関連情報)とナビゲーション情報(車両の外部情報)とを同時に取得している状況下において、当該他の情報D2が簡略化された簡易作動状態情報730としてコンバイナ309に表示されるように第1、第2の情報表示部150、310の表示制御を行うようになっている。   That is, at this time, the control means M obtains the other information D2 (automatic driving related information corresponding to the automatic driving on state) and navigation information (external information of the vehicle) at the same time. The display control of the first and second information display units 150 and 310 is performed so that the information D2 is displayed on the combiner 309 as simplified operating state information 730.

次に、制御手段Mは、図15に示す時刻T5において、第1多重通信入出力手段211(あるいは第1車両情報端子210)、並びに第2多重通信入出力手段312(あるいは第2車両情報端子311)を介して、前記第1実施形態にて採用した他の自動運転関連情報を受信(取得)する。また、この際、制御手段Mは、第3の制御部402から他の通信部410、通信部209経由で送られたきた車両の外部情報(ナビゲーション情報)を継続して受信している。   Next, at the time T5 shown in FIG. 15, the control means M, the first multiplex communication input / output means 211 (or the first vehicle information terminal 210) and the second multiplex communication input / output means 312 (or the second vehicle information terminal). 311), the other automatic driving-related information employed in the first embodiment is received (acquired). At this time, the control means M continuously receives external information (navigation information) of the vehicle sent from the third control unit 402 via the other communication unit 410 and the communication unit 209.

すると、制御手段Mは、上述の他の自動運転関連情報やナビゲーション情報に基づいて、図20に示すような第5の表示モードN5に対応する表示情報がディスプレイ151、コンバイナ309に表示されるようにディスプレイ151、液晶表示器306を表示動作させる制御を行う。   Then, the control means M displays the display information corresponding to the fifth display mode N5 as shown in FIG. 20 on the display 151 and the combiner 309 based on the other automatic driving related information and navigation information. The display 151 and the liquid crystal display 306 are controlled to display.

この際、制御手段Mは、上述の他の自動運転関連情報に基づき、それまで第2の表示領域R2に表示されていたナビゲーション表示部560に代えて、前記第1実施形態にて採用した他の作動状態情報590が第2の表示領域R2に表示(拡大表示)されるようにディスプレイ151の表示制御を行う。   At this time, the control means M is based on the other information related to automatic driving described above, instead of the navigation display unit 560 that has been displayed in the second display area R2 until then, other than that employed in the first embodiment. The display 151 is controlled so that the operation state information 590 is displayed (enlarged display) in the second display region R2.

また、このとき、制御手段Mによる制御のもと、第2の駆動手段307を介して液晶表示器306が駆動し、液晶表示パネル304からは車速用表示光と第2文字表示光とからなる表示光Lが発せられ、コンバイナ309には、図20に示すように車速表示部710に加えて、車速表示部710の表示位置の周囲(近傍)に車両の自動運転制御(ACC)が作動状態であることを示す他の簡易作動状態情報740が虚像表示される。例えば図20では、コンバイナ309の右側に前記簡略化情報としての他の簡易作動状態情報740が表示される。   At this time, the liquid crystal display 306 is driven through the second driving means 307 under the control of the control means M, and the liquid crystal display panel 304 is composed of vehicle speed display light and second character display light. The display light L is emitted, and the automatic operation control (ACC) of the vehicle is activated in the combiner 309 around (in the vicinity of) the display position of the vehicle speed display unit 710 in addition to the vehicle speed display unit 710 as shown in FIG. The other simple operation state information 740 indicating that it is a virtual image is displayed. For example, in FIG. 20, another simplified operating state information 740 as the simplified information is displayed on the right side of the combiner 309.

他の簡易作動状態情報740は、ACCが作動状態であることを文字にて簡略表示した第1文字表示部731と、前記定速走行状態であることを文字にて簡略表示した第3文字表示部741とを含むものである。ACCという文字にて表示された第1文字表示部731と、定速走行という文字にて表示された第3文字表示部741とは、上下に並設した状態で表示される。   The other simple operating state information 740 includes a first character display portion 731 that simply indicates that the ACC is in an operating state in characters, and a third character display that simply indicates that the ACC is in a constant speed running state. Part 741. The first character display portion 731 displayed with the characters ACC and the third character display portion 741 displayed with the characters “constant speed running” are displayed in a state where they are arranged side by side.

次に、制御手段Mは、図15に示す時刻T5から所定時間Y2が経過した後の時刻T6において、第1多重通信入出力手段211(あるいは第1車両情報端子210)、並びに第2多重通信入出力手段312(あるいは第2車両情報端子311)を介して、前記他の自動運転関連情報を継続して受信(取得)している。また、この際、制御手段Mは、第3の制御部402から他の通信部410、通信部209経由で送られたきた車両の外部情報(ナビゲーション情報)を継続して受信している。   Next, the control means M performs the first multiplex communication input / output means 211 (or the first vehicle information terminal 210) and the second multiplex communication at time T6 after a predetermined time Y2 has elapsed from time T5 shown in FIG. The other automatic driving related information is continuously received (acquired) via the input / output means 312 (or the second vehicle information terminal 311). At this time, the control means M continuously receives external information (navigation information) of the vehicle sent from the third control unit 402 via the other communication unit 410 and the communication unit 209.

すると、制御手段Mは、上述の前記ACCオン信号やナビゲーション情報に基づいて図21に示すような第6の表示モードN6に対応する表示情報がディスプレイ151、コンバイナ309に表示されるようにディスプレイ151、液晶表示器306を表示動作させる制御を行う。   Then, the control means M displays the display 151 so that the display information corresponding to the sixth display mode N6 as shown in FIG. 21 is displayed on the display 151 and the combiner 309 based on the ACC on signal and the navigation information. Then, the liquid crystal display 306 is controlled to display.

ここで、制御手段Mは、時刻T5から所定時間Y2が経過したと判断した場合、上述のナビゲーション情報に基づき、それまで第2の表示領域R2に表示されていた他の作動状態情報590に代えて前記第1実施形態にて採用したナビゲーション表示部560が第2の表示領域R2に表示されるようにディスプレイ151の表示制御を行う。また、このとき、制御手段Mによる制御のもと、コンバイナ309には第5の表示モードN5の場合と同様にして車速表示部710と他の簡易作動状態情報740とが虚像表示される。   Here, when the control means M determines that the predetermined time Y2 has elapsed from the time T5, the control means M replaces the other operating state information 590 that has been displayed in the second display area R2 until then based on the navigation information described above. Thus, display control of the display 151 is performed so that the navigation display unit 560 employed in the first embodiment is displayed in the second display region R2. At this time, under the control of the control means M, the vehicle speed display unit 710 and other simple operating state information 740 are displayed in a virtual image on the combiner 309 as in the case of the fifth display mode N5.

つまり、この際、制御手段Mは、他の情報D2(前記他の自動運転関連情報)とナビゲーション情報(車両の外部情報)とを同時に取得している状況下において、当該他の情報D2が簡略化された他の簡易作動状態情報740としてコンバイナ309に表示されるように第1、第2の情報表示部150、310の表示制御を行うようになっている。   That is, at this time, the control unit M simplifies the other information D2 in a situation where the other information D2 (the other information related to automatic driving) and the navigation information (external information of the vehicle) are simultaneously acquired. The first and second information display units 150 and 310 are controlled to be displayed on the combiner 309 as other simplified operating state information 740.

以上のように、本第2実施形態によれば、制御手段Mは、他の情報D2(前記自動運転オン状態に対応する自動運転関連情報、もしくは前記他の自動運転関連情報)とナビゲーション情報(車両の外部情報)とを同時に取得している状況下において、当該他の情報D2が簡略化された簡略化情報(簡易作動状態情報730、あるいは他の簡易作動状態情報740)としてコンバイナ309(第2の情報表示部310)に表示されるように第1、第2の情報表示部150、310の表示制御を行うものである。   As described above, according to the second embodiment, the control unit M is configured to provide the other information D2 (the automatic driving related information corresponding to the automatic driving ON state or the other automatic driving related information) and the navigation information ( In the situation where the external information of the vehicle) is acquired at the same time, the combiner 309 (first operation state information 730 or other simple operation state information 740) as simplified information (simplified operation state information 730 or other simple operation state information 740) is simplified. Display control of the first and second information display units 150 and 310 so as to be displayed on the second information display unit 310).

これにより自動運転機能が作動中の場合であってもナビゲーション情報表示用(つまり外部情報表示用)の表示エリアが第2の表示領域R2に十分に確保され(利用者が必要なときに視認でき)、前記第1実施形態と同様の作用効果を得ることができる。さらに、この場合、利用者はACC(自動運転機能)の作動状態を簡易作動状態情報730あるいは他の簡易作動状態情報740によって視認することができ、ヒューマン・マシン・インターフェイスを向上させることが可能な車両用情報提供装置を提供することができる。   As a result, even when the automatic driving function is in operation, a display area for displaying navigation information (that is, for displaying external information) is sufficiently secured in the second display area R2 (visible when the user needs it). ), The same effects as the first embodiment can be obtained. Further, in this case, the user can visually recognize the operating state of the ACC (automatic driving function) by the simple operating state information 730 or other simple operating state information 740, and can improve the human machine interface. A vehicle information providing apparatus can be provided.

また本第2実施形態では、制御手段Mは、自動運転の状態が、前記所定の状態から前記所定の状態とは異なる前記他の状態へと変化したこと(つまり自動運転オフ状態から自動運転オン状態へと変化したこと、あるいは追従走行状態から定速走行状態へと変化したこと)を検出すると、前記他の状態に対応する自動運転関連情報(つまり作動状態情報570、あるいは他の作動状態情報590)が所定時間(つまり所定時間Y1、あるいは所定時間Y2)の間、第2の表示領域R2に拡大表示されるように第1、第2の情報表示部150、310の表示制御を行うものである。これにより車両がADAS機能(自動運転機能)を用いて走行中に、当該機能の状態変化を利用者へ分かり易く提供することが可能となり、ヒューマン・マシン・インターフェイスを向上させることが可能な車両用情報提供装置を提供することができる。   In the second embodiment, the control means M indicates that the state of the automatic operation has changed from the predetermined state to the other state different from the predetermined state (that is, from the automatic operation off state to the automatic operation on state). When it is detected that the vehicle has changed to a state, or has changed from a follow-up running state to a constant speed running state), automatic driving related information (that is, operating state information 570 or other operating state information) corresponding to the other state is detected. 590) performs display control of the first and second information display units 150 and 310 so that they are enlarged and displayed in the second display region R2 for a predetermined time (that is, the predetermined time Y1 or the predetermined time Y2). It is. As a result, while the vehicle is running using the ADAS function (automated driving function), it is possible to provide the user with easy-to-understand state change of the function and improve the human machine interface. An information providing apparatus can be provided.

なお、本発明は、上述の実施形態及び図面によって限定されるものではない。本発明の要旨を変更しない範囲で、適宜、実施形態及び図面に変更(構成要素の削除も含む)を加えることが可能である。   In addition, this invention is not limited by the above-mentioned embodiment and drawing. Changes (including deletion of constituent elements) can be added to the embodiments and the drawings as appropriate without departing from the scope of the present invention.

例えば、上述した実施形態では、第1の車両搭載機器110に第1の制御部202を設け、第2の車両搭載機器120に第2の制御部302を設けたものであったが、例えば両車両搭載機器110、120が単一の制御手段(図示せず)により制御されるようにしてもよい。   For example, in the above-described embodiment, the first vehicle-mounted device 110 is provided with the first control unit 202, and the second vehicle-mounted device 120 is provided with the second control unit 302. The vehicle-mounted devices 110 and 120 may be controlled by a single control means (not shown).

本発明は、外部機器と1つまたは2つの車両搭載機器を利用した車両用情報提供装置に関し、少なくとも1つの車両搭載機器は、車両情報を表示する車両用メータ(車両用計器)のみならず、車両に搭載されるナビゲーション装置やマルチディスプレイ装置等にも適用可能である。   The present invention relates to a vehicle information providing apparatus using an external device and one or two vehicle-mounted devices, and at least one vehicle-mounted device is not only a vehicle meter (vehicle meter) for displaying vehicle information, The present invention can also be applied to a navigation device or a multi-display device mounted on a vehicle.

101 車両用通信システム
102 車両搭載機器
103 外部機器
104 接続手段
105 車内LAN(伝送媒体)
110 第1の車両搭載機器
120 第2の車両搭載機器
150 表示ユニット(第1の情報表示部)
151 ディスプレイ
202 第1の制御部
209 通信部
302 第2の制御部
306 液晶表示器
309 コンバイナ
310 第2の情報表示部
402 第3の制御部
410 他の通信部
560 ナビゲーション表示部(車両の外部情報)
570 作動状態情報(他の情報)
580、730 簡易作動状態情報(簡略化情報)
590 他の作動状態情報(他の情報)
600、740 他の簡易作動状態情報(簡略化情報)
D1 所定情報
M 制御手段
R1 第1の表示領域
R2 第2の表示領域
DESCRIPTION OF SYMBOLS 101 Communication system for vehicles 102 On-vehicle equipment 103 External equipment 104 Connection means 105 In-vehicle LAN (transmission medium)
110 First vehicle-mounted device 120 Second vehicle-mounted device 150 Display unit (first information display unit)
151 Display 202 First Control Unit 209 Communication Unit 302 Second Control Unit 306 Liquid Crystal Display 309 Combiner 310 Second Information Display Unit 402 Third Control Unit 410 Other Communication Unit 560 Navigation Display Unit (External Information of Vehicle) )
570 Operating state information (other information)
580, 730 Simple operating state information (simplified information)
590 Other operating state information (other information)
600, 740 Other simple operating state information (simplified information)
D1 Predetermined information M Control means R1 First display area R2 Second display area

Claims (4)

車両の各種状態を車両状態情報として表示する第1の情報表示部と、前記第1の情報表示部の表示制御を行う制御手段とを有し、接続手段を介して外部機器と接続される車両用情報提供装置において、
前記車両用情報提供装置は、前記外部機器から出力される車両の外部情報を取得可能であり、
前記第1の情報表示部は、前記車両状態情報のうち所定情報を表示する第1の表示領域と、前記所定情報とは異なる前記車両状態情報の他の情報と前記車両の外部情報とのうち少なくとも一方を表示する第2の表示領域とを有し、
前記制御手段は、前記他の情報と前記車両の外部情報とを前記第2の表示領域に同時に表示するにあたって、前記他の情報が簡略化された簡略化情報として縮小表示されるように前記第1の情報表示部の表示制御を行うことを特徴とする車両用情報提供装置。
A vehicle having a first information display unit that displays various vehicle states as vehicle state information, and a control unit that performs display control of the first information display unit, and is connected to an external device via a connection unit In the information providing device,
The vehicle information providing device is capable of acquiring external information of a vehicle output from the external device,
The first information display unit includes a first display area for displaying predetermined information in the vehicle state information, and other information on the vehicle state information different from the predetermined information and external information on the vehicle. A second display area for displaying at least one of them,
The control means displays the other information and the external information of the vehicle simultaneously on the second display area so that the other information is reduced and displayed as simplified simplified information. A vehicle information providing apparatus that performs display control of one information display unit.
車両の各種状態を車両状態情報として表示する第1、第2の情報表示部と、前記第1、第2の情報表示部の表示制御を行う制御手段とを有し、接続手段を介して外部機器と接続される車両用情報提供装置において、
前記車両用情報提供装置は、前記外部機器から出力される車両の外部情報を取得可能であり、
前記第1の情報表示部は、前記車両状態情報のうち所定情報を表示する第1の表示領域と、前記所定情報とは異なる前記車両状態情報の他の情報と前記車両の外部情報とのうち少なくとも一方を表示する第2の表示領域とを有し、
前記制御手段は、前記他の情報と前記車両の外部情報とを同時に取得している状況下において、前記他の情報が簡略化された簡略化情報として前記第2の情報表示部に表示されるように前記第1、第2の情報表示部の表示制御を行うことを特徴とする車両用情報提供装置。
A first information display unit that displays various vehicle states as vehicle state information; and a control unit that performs display control of the first and second information display units. In the vehicle information providing apparatus connected to the device,
The vehicle information providing device is capable of acquiring external information of a vehicle output from the external device,
The first information display unit includes a first display area for displaying predetermined information in the vehicle state information, and other information on the vehicle state information different from the predetermined information and external information on the vehicle. A second display area for displaying at least one of them,
The control means displays the other information on the second information display unit as simplified information in a situation where the other information and the external information of the vehicle are simultaneously acquired. As described above, the vehicle information providing apparatus performs display control of the first and second information display units.
前記他の情報には、前記車両の自動運転に関する自動運転関連情報が少なくとも含まれることを特徴とする請求項1または請求項2記載の車両用情報提供装置。 The vehicle information providing apparatus according to claim 1, wherein the other information includes at least automatic driving related information related to the automatic driving of the vehicle. 前記制御手段は、前記自動運転の状態が所定の状態から前記所定の状態とは異なる他の状態へと変化したことを検出すると、前記他の状態に対応する前記自動運転関連情報が所定時間、前記第2の表示領域に拡大表示されるように前記第1の情報表示部の表示制御を行うことを特徴とする請求項3記載の車両用情報提供装置。 When the control means detects that the state of the automatic driving has changed from a predetermined state to another state different from the predetermined state, the automatic driving related information corresponding to the other state is a predetermined time, The vehicle information providing apparatus according to claim 3, wherein display control of the first information display unit is performed so as to be enlarged and displayed in the second display area.
JP2016008385A 2016-01-20 2016-01-20 Vehicle information providing device Active JP6589653B2 (en)

Priority Applications (1)

Application Number Priority Date Filing Date Title
JP2016008385A JP6589653B2 (en) 2016-01-20 2016-01-20 Vehicle information providing device

Applications Claiming Priority (1)

Application Number Priority Date Filing Date Title
JP2016008385A JP6589653B2 (en) 2016-01-20 2016-01-20 Vehicle information providing device

Publications (2)

Publication Number Publication Date
JP2017128200A true JP2017128200A (en) 2017-07-27
JP6589653B2 JP6589653B2 (en) 2019-10-16

Family

ID=59396105

Family Applications (1)

Application Number Title Priority Date Filing Date
JP2016008385A Active JP6589653B2 (en) 2016-01-20 2016-01-20 Vehicle information providing device

Country Status (1)

Country Link
JP (1) JP6589653B2 (en)

Cited By (3)

* Cited by examiner, † Cited by third party
Publication number Priority date Publication date Assignee Title
WO2019186951A1 (en) * 2018-03-29 2019-10-03 本田技研工業株式会社 Straddle type vehicle
WO2019186804A1 (en) * 2018-03-28 2019-10-03 本田技研工業株式会社 Saddle-type vehicle
JP2022066537A (en) * 2018-03-19 2022-04-28 株式会社三洋物産 Game machine

Citations (4)

* Cited by examiner, † Cited by third party
Publication number Priority date Publication date Assignee Title
US5847704A (en) * 1996-09-03 1998-12-08 Ut Automotive Dearborn Method of controlling an electronically generated visual display
JP2008195393A (en) * 2004-02-20 2008-08-28 Sharp Corp Vehicle display device, vehicle display system, and vehicle
JP2013189122A (en) * 2012-03-14 2013-09-26 Denso It Laboratory Inc Vehicle display device, control method therefor, and program
JP2014061872A (en) * 2012-06-27 2014-04-10 Nippon Seiki Co Ltd Vehicular information provision system

Patent Citations (4)

* Cited by examiner, † Cited by third party
Publication number Priority date Publication date Assignee Title
US5847704A (en) * 1996-09-03 1998-12-08 Ut Automotive Dearborn Method of controlling an electronically generated visual display
JP2008195393A (en) * 2004-02-20 2008-08-28 Sharp Corp Vehicle display device, vehicle display system, and vehicle
JP2013189122A (en) * 2012-03-14 2013-09-26 Denso It Laboratory Inc Vehicle display device, control method therefor, and program
JP2014061872A (en) * 2012-06-27 2014-04-10 Nippon Seiki Co Ltd Vehicular information provision system

Cited By (9)

* Cited by examiner, † Cited by third party
Publication number Priority date Publication date Assignee Title
JP2022066537A (en) * 2018-03-19 2022-04-28 株式会社三洋物産 Game machine
WO2019186804A1 (en) * 2018-03-28 2019-10-03 本田技研工業株式会社 Saddle-type vehicle
JPWO2019186804A1 (en) * 2018-03-28 2021-07-08 本田技研工業株式会社 Saddle-type vehicle
JP6995185B2 (en) 2018-03-28 2022-01-17 本田技研工業株式会社 Saddle-type vehicle
US11505273B2 (en) 2018-03-28 2022-11-22 Honda Motor Co., Ltd. Straddle type vehicle
WO2019186951A1 (en) * 2018-03-29 2019-10-03 本田技研工業株式会社 Straddle type vehicle
JPWO2019186951A1 (en) * 2018-03-29 2021-07-26 本田技研工業株式会社 Saddle-type vehicle
JP7118134B2 (en) 2018-03-29 2022-08-15 本田技研工業株式会社 straddle-type vehicle
US11926386B2 (en) 2018-03-29 2024-03-12 Honda Motor Co., Ltd. Straddle type vehicle

Also Published As

Publication number Publication date
JP6589653B2 (en) 2019-10-16

Similar Documents

Publication Publication Date Title
CN107351763B (en) Control device for vehicle
JP6561716B2 (en) Vehicle information providing device
KR20210027719A (en) Electronic apparatus for controlling a passenger seat display and method for controlling the passenger seat display
JP2011037310A (en) Portable car navigation device and mounting tool thereof on vehicle
CN105416065B (en) Vehicle display device
JP6623786B2 (en) Vehicle information provision device
KR20150095687A (en) Vehicle information provision device
JP6589653B2 (en) Vehicle information providing device
CN105829158A (en) System for operating a vehicle instrument cluster and a mobile electronic device capable of being releasably secured by a mount on the side of the vehicle
US10052953B2 (en) Information provision apparatus for vehicle
JP2017109540A (en) Vehicle information providing device
JP2012088099A (en) Combined instrument for vehicle
NL1036592C (en) Direction indication device of a global positioning system.
KR20180013159A (en) Multimedia Apparatus for Vehicle
JP5207538B2 (en) Vehicle display device
JP7427206B2 (en) Device
JP2018073380A (en) Information providing device for vehicle
JP6310826B2 (en) In-vehicle display device and instrument panel
JP6455711B2 (en) Vehicle information providing device
JP2017226272A (en) Information providing device for vehicle
JP2018185641A (en) Vehicular information providing device
CN203178571U (en) Head-up display instrument
JP2016060249A (en) In-vehicle display device and instrument panel
JP6681021B2 (en) Vehicle information provision device
JP2017043250A (en) Vehicular information providing device

Legal Events

Date Code Title Description
A621 Written request for application examination

Free format text: JAPANESE INTERMEDIATE CODE: A621

Effective date: 20181116

A977 Report on retrieval

Free format text: JAPANESE INTERMEDIATE CODE: A971007

Effective date: 20190807

TRDD Decision of grant or rejection written
A01 Written decision to grant a patent or to grant a registration (utility model)

Free format text: JAPANESE INTERMEDIATE CODE: A01

Effective date: 20190820

A61 First payment of annual fees (during grant procedure)

Free format text: JAPANESE INTERMEDIATE CODE: A61

Effective date: 20190902

R150 Certificate of patent or registration of utility model

Ref document number: 6589653

Country of ref document: JP

Free format text: JAPANESE INTERMEDIATE CODE: R150