JP2016157698A - 給電用ランプソケット及び照明器具 - Google Patents

給電用ランプソケット及び照明器具 Download PDF

Info

Publication number
JP2016157698A
JP2016157698A JP2016086666A JP2016086666A JP2016157698A JP 2016157698 A JP2016157698 A JP 2016157698A JP 2016086666 A JP2016086666 A JP 2016086666A JP 2016086666 A JP2016086666 A JP 2016086666A JP 2016157698 A JP2016157698 A JP 2016157698A
Authority
JP
Japan
Prior art keywords
power supply
grounding
contact
straight tube
pin
Prior art date
Legal status (The legal status is an assumption and is not a legal conclusion. Google has not performed a legal analysis and makes no representation as to the accuracy of the status listed.)
Granted
Application number
JP2016086666A
Other languages
English (en)
Other versions
JP6224160B2 (ja
Inventor
章裕 大森
Akihiro Omori
章裕 大森
Current Assignee (The listed assignees may be inaccurate. Google has not performed a legal analysis and makes no representation or warranty as to the accuracy of the list.)
Mitsubishi Electric Corp
Original Assignee
Mitsubishi Electric Corp
Priority date (The priority date is an assumption and is not a legal conclusion. Google has not performed a legal analysis and makes no representation as to the accuracy of the date listed.)
Filing date
Publication date
Application filed by Mitsubishi Electric Corp filed Critical Mitsubishi Electric Corp
Publication of JP2016157698A publication Critical patent/JP2016157698A/ja
Application granted granted Critical
Publication of JP6224160B2 publication Critical patent/JP6224160B2/ja
Expired - Fee Related legal-status Critical Current
Anticipated expiration legal-status Critical

Links

Images

Classifications

    • YGENERAL TAGGING OF NEW TECHNOLOGICAL DEVELOPMENTS; GENERAL TAGGING OF CROSS-SECTIONAL TECHNOLOGIES SPANNING OVER SEVERAL SECTIONS OF THE IPC; TECHNICAL SUBJECTS COVERED BY FORMER USPC CROSS-REFERENCE ART COLLECTIONS [XRACs] AND DIGESTS
    • Y02TECHNOLOGIES OR APPLICATIONS FOR MITIGATION OR ADAPTATION AGAINST CLIMATE CHANGE
    • Y02BCLIMATE CHANGE MITIGATION TECHNOLOGIES RELATED TO BUILDINGS, e.g. HOUSING, HOUSE APPLIANCES OR RELATED END-USER APPLICATIONS
    • Y02B20/00Energy efficient lighting technologies, e.g. halogen lamps or gas discharge lamps

Landscapes

  • Fastening Of Light Sources Or Lamp Holders (AREA)
  • Connecting Device With Holders (AREA)
  • Non-Portable Lighting Devices Or Systems Thereof (AREA)

Abstract

【課題】電線の接触不良や接続される本数を減らすことができるランプソケットを得る。
【解決手段】給電用ランプソケット300において、第1直管形LEDランプ200aの第1給電ピン231aと接触し、電源装置500につながる第1給電用電線130aを挿入される第1給電用速結端子部342aを有する第1給電用接触金具340aを第1給電用口金受部360aに配設する。第2直管形LEDランプ200bの第2給電ピン232bと接触し、電源装置500につながる第2給電用電線130bを挿入される第2給電用速結端子部342bを有する第2給電用接触金具340bを第2給電用口金受部360bに配設する。第1直管形LEDランプ200aの第2給電ピン232aと第2直管形LEDランプ200bの第1給電ピン231bとに接触する接続用接触金具350を第1給電用口金受部360aから第2給電用口金受部360bに跨って配設する。
【選択図】図6

Description

本発明は、複数の直管形ランプを着脱するランプソケット及びこのランプソケットを備える照明器具に関する。
従来の2本の直管形ランプを装着できる照明器具の両端に用いられる第1ランプソケット及び第2ランプソケットには、各直管形ランプの第1口金又は第2口金のそれぞれに相応する第1口金受部及び第2口金受部が設けられている。ランプソケットの各口金受部には、ランプの各口金に設けられた電極ピンを挟むように接続する第1接触金具と第2接触金具が備えられている。各接触金具の一端には、ランプソケットの外部からの電線を挿入可能に接続するための速結端子部が設けられている。また、特定の速結端子部に挿入される電線は、照明器具に設けられた電源装置につながっている。例えば特許文献1には「電線接続部7aは前記電線挿入部17の各電線挿入孔18に個別に対向して配置されている。各電線接続部7aは図示しないが速結端子を有しており、この速結端子により電線挿入孔18に挿入される電線の芯線を自己鎖錠式に接続できる」という技術が示されている(0046段落、図2、図5(C)参照)。
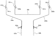
上記の特許文献1の図5(C)に対応する各速結端子部と各電線との接続として、図15に示されるものがあり、便宜上、上記特許文献1と同じ符号を()内に付して以下に説明する。第1ランプソケット300の第1口金受部360aの接触金具7aaの速結端子部7aaa(7a:最左側)と第2口金受部360bの接触金具7bbの速結端子部7bbb(7a:最右側)は、電源装置からの給電用の一対の電線Aまたは電線Bとそれぞれ挿入可能に接続されている。また、接触金具7abの速結端子部7abc(7a:内左側)と接触金具7baの速結端子部7bac(7a:内右側)は共に電線Cに挿入可能に接続されている。また、各直管形ランプの第2口金が取り付けられる第2ランプソケットについても同様の構成である。
特開2001−351753号公報 登録実用新案第3171199号公報 特開2008−98168号公報 特開2012−9454号公報
従来の各ランプソケットは、装着される直管形ランプの本数より多い数の速結端子部が設けられ、それぞれの速結端子部に電線が挿入接続されている。そのため、電線の挿入箇所が多く、挿入に伴う接触不良や挿入忘れが発生しやすいという課題があった。
本発明は、速結端子部と電線との接触不良や接続する電線の数を減らすことができるランプソケットを得ることを、目的とする。
本発明に係る給電用ランプソケットは、
直管形ランプの端部口金に設けられた一対の給電ピンが接触する接触金具が設けられた複数の口金受部を隣接して一連に配設した給電用ランプソケットであって、
両端に位置する口金受部にそれぞれ配設され、前記両端に位置する口金受部に取り付けられる直管形ランプの給電ピンの一方とそれぞれ接触し、給電用電線が接続される速結端子部を有する2つの給電用接触金具と、
前記複数の口金受部が形成される1つの前面カバーと、
前記前面カバーに取り付けられる1つの背面カバーと、
1つの導電性材料から一体に形成され、前記前面カバーと前記背面カバーとに挟まれた一続きの空間の中で、隣接する口金受部に跨って配設され、前記隣接する口金受部の一方に取り付けられる直管形ランプの一対の給電ピンの片方と前記隣接する口金受部の他方に取り付けられる直管形ランプの一対の給電ピンの片方とそれぞれ接触する1つ以上の接続用接触金具とを備える。
上記のように構成されたランプソケットは、隣接する口金受部に跨って配設された接続用接触金具により、各直管形ランプの一対の給電ピンの片方と電気的に接続するので、電線を接続される速結端子部の数を少なくでき、電線の挿入に伴う接触不良や接続する電線の数を減らすことができる。
実施の形態1の照明器具の斜視図である。 実施の形態1の直管形LEDランプの斜視図である。 実施の形態1の直管形LEDランプの回路構成図である。 実施の形態1の給電用ランプソケットの分解斜視図である。 実施の形態1の給電用ランプソケットの断面図である。 実施の形態1の給電用ランプソケットの接触金具の配置図である。 実施の形態2の接地用ランプソケットの分解斜視図である。 実施の形態2の接地用ランプソケットの接触金具の配置図である。 実施の形態3の接地用ランプソケットの接触金具の配置図である。 実施の形態4の接地用ランプソケットの接触金具の配置図である。 実施の形態5の給電用ランプソケットの分解斜視図である。 実施の形態5の給電用ランプソケットの接触金具の配置図である。 実施の形態6の接地用ランプソケットの分解斜視図である。 実施の形態6の接地用ランプソケットの接触金具の配置図である。 従来のソケットに電源装置からの電線を接続したときの断面図である。 実施の形態7の接地用ランプソケットの斜視図である。 実施の形態7の接地用ランプソケットの分解斜視図である。 実施の形態7の接地用ランプソケットの接触金具の正面図である。
実施の形態1.
以下、図面に基づいて本発明の実施の形態1を詳細に説明する。図1は実施の形態1の照明器具の斜視図、図2は直管形LEDランプの斜視図、図3は直管形LEDランプの回路構成図、図4は給電用ランプソケットの分解斜視図、図5は給電用ランプソケットの断面図、図6は給電用ランプソケットの接触金具の配置図である。なお、図中の同一符号は、同一または相当部分を示している。
図1に示すように照明器具1000には、器具本体100の長手方向両端にそれぞれ給電用ランプソケット300と接地用ランプソケット400が配置され、これらの間に第1直管形LEDランプ200a、第2直管形LEDランプ200bが取り付けられ、これらのランプからの光を反射するための反射板110を備えている。なお、ここでは器具本体100の中に電源装置500(図示しない)が備えられている。
器具本体100に収められた電源装置500は、商用電源から電力供給されるとともに、アース接地可能になっている。なお、電源装置500は、交流−直流変換装置に限られず、直流電力を直管形LEDランプ200に供給するものであればよい。また、電源装置500は、器具本体100の外部に取り付けてもよい。反射板110は、器具本体100にネジ止めされている。
図2(a)に示すように直管形LEDランプ200は、外郭を構成するケース210と、このケース210の一端に1極の接地ピン221を有する接地用口金220と、他端に2極の第1給電ピン231及び第2給電ピン232を有する給電用口金230と、ケース210に取り付けられた放熱部240とを備えている。ケース210は、内部に光源となるLEDモジュール250が配置され、その光を透過するものである。放熱部240には、LEDモジュール250が取り付けられ、このモジュールからの発熱を直管形LEDランプ200の外に放出する。そのため、放熱部240には、金属や炭素材などの熱伝導係数の高い材料が好適である。なお、本実施の形態の直管形LEDランプ200は、外部に放熱部240が露出する場合について説明するが、この放熱部240を覆う円筒形状のケース210であってもよい。なお、第1給電ピン231及び第2給電ピン232は、極性の区別なく同一の形状なのでこの2つの給電ピンに区別はないが、便宜上、第1給電ピン231と、第2給電ピン232とを区別して説明する。
図2(b)に示すように接地ピン221には、その先端部に楕円状の掛かり部222が設けられている。
図2(c)に示すように第1給電ピン231及び第2給電ピン232のそれぞれの先端にはL字状の掛かり部が設けられている。
図3の回路構成図に示すように第1給電ピン231及び第2給電ピン232は、ダイオードブリッジDBに接続され、どちらの給電ピンから直流電流を供給してもよい構造になっている。このダイオードブリッジDBには、直管形LEDランプ200の装着を検出する抵抗Rが接続されている。この抵抗Rと並列に複数のLED素子251が接続されている。ダイオードブリッジDBと抵抗Rは、基板253に実装されている。LED素子251は、基板252に実装され、LEDモジュール250を構成している。接地ピン221には、導電性を有する放熱部240が電気的に接続されている。なお、基板252、基板253の材料には、絶縁性のあるガラスエポキシなどが用いられる。
図4に示すように給電用ランプソケット300は、前面カバー310と、この前面カバー310の背面を塞ぐ背面カバー320とで、その外郭を形成する略箱体のソケット本体が構成されている。ソケット本体の内部には、第1直管形LEDランプ200aの第1給電ピン231a、第2給電ピン232a及び第2直管形LEDランプ200bの第1給電ピン231b、第2給電ピン232bの取り付けを容易にするための一対の回転子330a、回転子330bと、各給電ピンが接触し導通する一対の第1給電用接触金具340a、第2給電用接触金具340bと、コの字形状の接続用接触金具350とが収納されている。
前面カバー310は、給電用口金230を挿入される側であるカバー前面311と、このカバー前面311の上端部に立設されているカバー上面312と、カバー前面311の側端部に立設されているカバー側面313と、このカバー側面313と対向する側端部に立設されているカバー側面314と、カバー前面311の下端部に立設されているカバー底面315とから構成されている。カバー前面311には、一対の開口部316a、開口部316bが円形に開口されている。カバー上面312には、第1直管形LEDランプ200aの第1給電ピン231a、第2給電ピン232aを挿入される給電ピン挿入孔317a及び第2直管形LEDランプ200bの第1給電ピン231b、第2給電ピン232bを挿入される給電ピン挿入孔317bが形成されている。給電ピン挿入孔317a、給電ピン挿入孔317bは、開口部316a、開口部316bの外周の一部がそれぞれカバー上面312と連通して形成されている。カバー底面315には、電源装置500と接続するための第1給電用電線120aを挿入される第1給電用速結端子孔319aと、第2給電用電線120bを挿入される第2給電用速結端子孔319bとが開口されている。カバー前面311の背面側の内壁には、前面カバー側嵌合部318が形成されている。カバー底面315は、器具本体100に収納される。なお、前面カバー310は成形加工しやすく、耐候性のある熱可塑性樹脂の絶縁材、例えば、ポリカーボネイドやポリブチレンテレフタレートなどから形成される。
回転子330aは、開口部316aの開口面と対面に配設される。回転子330aは、開口部316aを塞ぐように取り付けられる受部331aと、受部331aに立設されている円筒部332aと、受部331aを二分して円筒部332aの途中まで連通するように形成された切り欠き部333aとから構成されている。受部331aは、前面カバー310に形成された開口部316aより大きい略円板状に形成されている。切り欠き部333aは、開口部316a及び給電ピン挿入孔317aと連通してソケット本体に給電ピン収納部を形成する。回転子330bも回転子330aと同様の構成である。なお、回転子330a及び回転子330bは成形加工しやすく、耐候性のある熱可塑性樹脂の絶縁材、例えば、ポリカーボネイドやポリブチレンテレフタレートなどから形成される。
背面カバー320の背面カバー内壁321には、開口部316a、開口部316bのそれぞれの開口面と対面に円形状の一対の回転案内リブ322a、回転案内リブ322bが一体に設けられ、背面カバー内壁321の端部に背面カバー側嵌合部323が形成されている。回転案内リブ322aは、回転子330aの円筒部332aの内径より小さく、回転子330aを嵌め込まれ回転子330aの回転動作の案内し、回転子330aのズレを抑制する。回転案内リブ322bも回転案内リブ322aと同様の構成である。背面カバー側嵌合部323は、前面カバー310に設けられた前面カバー側嵌合部318と嵌合され、ソケット本体を構成する。なお、背面カバー320は成形加工しやすく、耐候性のある熱可塑性樹脂の絶縁材、例えば、ポリカーボネイドやポリブチレンテレフタレートなどから形成される。
第1給電用接触金具340aは、第1直管形LEDランプ200aの第1給電ピン231aのL字の軸部と接触する第1給電ピン受部341aと、電源装置500と接続する第1給電用電線120aを挿入するための第1給電用速結端子部342aとを備えている。第1給電ピン受部341aは、回転子330aの円筒部332aの外周面に配設される。第2給電用接触金具340bは、第2直管形LEDランプ200bの第2給電ピン232bのL字の軸部と接触する第2給電ピン受部341bと、電源装置500と接続する第2給電用電線120bを挿入するための第2給電用速結端子部342bとを備えている。第2給電ピン受部341bは、回転子330bの円筒部332bの外周面に配設される。なお、第1給電用電線120a及び第2給電用電線120bと第1給電用速結端子部342a及び第2給電用速結端子部342bは、第1給電ピン231及び第2給電ピン232のどちらを高電圧側として電力供給してもよいので、電源装置500の高電圧側、低電圧側の異なる出力にそれぞれ接続されていればよい。なお、第1給電用速結端子部342a及び第2給電用速結端子部342bは、速結端子に限らず、電線を接続できる構造を備えた電線接続部であればよい。なお、第1給電用接触金具340a及び第2給電用接触金具340bは導電性のある材料、例えば、りん青銅などを折り曲げることにより形成される。
接続用接触金具350は、第1直管形LEDランプ200aの第2給電ピン232aのL字の軸部と接触する第2給電ピン受部351aと、第2直管形LEDランプ200bの第1給電ピン231bのL字の軸部と接触する第1給電ピン受部351bとを備えている。第2給電ピン受部351aは、第1給電用接触金具340aの第1給電ピン受部341aと共に円筒部332aの外周面を両側から挟むように配設される。同様に、第1給電ピン受部351bは、第2給電用接触金具340bの第2給電ピン受部341bと共に円筒部332bの外周面を両側から挟むように配設される。なお、接続用接触金具350は導電性のある材料、例えばりん青銅などをコの字形状に折り曲げることにより形成される。
図5に示すように第1給電用口金受部360aは、回転案内リブ322aに回転子330aを回転自在に取り付けられ、開口部316aの切り欠き部333aと連通する給電ピン挿入部を除いて受部331aで塞がれ、円筒部332aの外周面を両側から挟むように第1給電ピン受部341aと第2給電ピン受部351aを配設されている。第1給電用口金受部360aには、第1直管形LEDランプ200aの給電用口金230aが着脱自在である。
第2給電用口金受部360bは、回転案内リブ322bに回転子330bを回転自在に取り付けられ、開口部316bの切り欠き部333bと連通する給電ピン挿入部を除いて受部331bで塞がれ、円筒部332bの外周面を両側から挟むように第1給電ピン受部351bと第2給電ピン受部341bを配設されている。第2給電用口金受部360bには、第2直管形LEDランプ200bの給電用口金230bが着脱自在である。
給電用ランプソケット300のカバー底面315に開口された第1給電用速結端子孔319aに電源装置500の一方の出力側からの第1給電用電線120aを点線に沿って挿入し、第1給電用速結端子部342aと接続する。また、カバー底面315に開口された第2給電用速結端子孔319bに電源装置500の他方の出力側からの第2給電用電線120bを点線に沿って挿入し、第2給電用速結端子部342bと接続する。
第1給電用口金受部360aへの第1直管形LEDランプ200aの装着について説明する。第1直管形LEDランプ200aの第1給電ピン231a及び第2給電ピン232aを給電ピン挿入孔317aを通して切り欠き部333aに挿入した後、第1直管形LEDランプ200aを略90度回転して給電用ランプソケット300に固定する。第2給電用口金受部360bへの第2直管形LEDランプ200bの第1給電ピン231b及び第2給電ピン232bの装着についても同様である。
図6に示すように第1給電用接触金具340aの第1給電ピン受部341aは、第1給電ピン231aと接触し、接続用接触金具350の第2給電ピン受部351aは、第2給電ピン232aと接触し、第1直管形LEDランプ200aのLEDモジュール250を介して電気的に接続されている。このとき、各給電ピンのL字の掛かり部が、それぞれ第1給電ピン受部341a及び第2給電ピン受部351aの背面(背面カバー320側)に引っ掛かり、第1直管形LEDランプ200aのランプ軸方向のズレを防いで給電用ランプソケット300に固定させる。第2直管形LEDランプ200bについても同様である。
第1給電用口金受部360aに取り付けられる第1直管形LEDランプ200aの第2給電ピン232aと、第2給電用口金受部360bに取り付けられる第2直管形LEDランプ200bの第1給電ピン231bは、それぞれ第2給電ピン受部351a及び第1給電ピン受部351bに接触し、接続用接触金具350を介して電気的に接続されている。そのため、第1直管形LEDランプ200aと第2直管形LEDランプ200bが直列に接続された状態になる。したがって、給電用ランプソケット300は、電源装置500から第1給電用電線120a及び第2給電用電線120bのみが挿入されるので、速結端子部の数を少なくでき、電線の挿入に伴う接触不良や接続する電線の数を減らして電線接続の信頼性を高めることができる。また、接触金具の個数を減らすことができるので、ランプソケットの組み立てを容易にすることができる。
実施の形態2.
上記実施の形態1の給電用ランプソケット300では、給電用口金230の一対の第1給電ピン231及び第2給電ピン232を取り付けるために、第1給電用接触金具340a、第2給電用接触金具340b、接続用接触金具350及び回転子330が設けられている。これに対し、実施の形態2の接地用ランプソケット400は、接地用口金220の1つの接地ピン221を取り付けるために各接地用接触金具が設けられ、この各接地用接触金具のみで接地ピン221を固定している。すなわち、実施の形態1と実施の形態2には、回転子330の有無と速結端子部に接続される電線の本数に差異があり、その他の構成は同じである。
以下、図面に基づいて実施の形態2を詳細に説明する。図7は実施の形態2の接地用ランプソケットの分解斜視図、図8は接地用ランプソケットの接触金具の配置図である。なお、図中の同一符号は、同一または相当部分を示している。
図7に示すように接地用ランプソケット400は、前面カバー410と、この前面カバー410の背面を塞ぐ背面カバー420とで、その外郭を形成する略箱体のソケット本体を構成されている。ソケット本体の内部には、第1直管形LEDランプ200aの接地ピン221a及び第2直管形LEDランプ200bの接地ピン221bのそれぞれが接触し導通する一対の第1接地用接触金具430a、第2接地用接触金具430bと、接続用接触金具440とが収納されている。
前面カバー410は、接地用口金220を挿入される側であるカバー前面411と、このカバー前面411の上端部に立設されているカバー上面412と、カバー前面411の側端部に立設されているカバー側面413と、このカバー側面413と対向する側端部に立設されているカバー側面414と、カバー前面411の下端部に立設されているカバー底面415とから構成されている。カバー前面411には、一対の開口部416a、開口部416bが開口されている。カバー上面412には、第1直管形LEDランプ200aの接地ピン221aを挿入される接地ピン挿入孔417a及び第2直管形LEDランプ200bの接地ピン221bを挿入される接地ピン挿入孔417bが形成されている。接地ピン挿入孔417a、接地ピン挿入孔417bは、開口部416a、開口部416bの外周の一部がカバー上面412と連通して形成されている。カバー底面415には、接地用電線130を挿入される接地用速結端子孔418が開口されている。カバー前面411の背面側の内壁には、前面カバー側嵌合部(図示しない)が形成されている。カバー底面415は、器具本体100に収納される。なお、前面カバー410は成形加工しやすく、耐候性のある熱可塑性樹脂の絶縁材、例えば、ポリカーボネイドやポリブチレンテレフタレートなどから形成される。
背面カバー420は、背面カバー内壁421の端部に背面カバー側嵌合部422を形成されている。この背面カバー側嵌合部422は、前面カバー410に設けられた前面カバー側嵌合部と嵌合され、ソケット本体を構成する。なお、背面カバー420は成形加工しやすく、耐候性のある熱可塑性樹脂の絶縁材、例えば、ポリカーボネイドやポリブチレンテレフタレートなどから形成される。
第1接地用接触金具430aは、第1直管形LEDランプ200aの接地ピン221aの掛かり部222aの外周面と接触する接地ピン受部431aと、接地用電線130を挿入するための接地用速結端子部432aとを備えている。接地ピン受部431aは、開口部416aの側端部に配設される。第2接地用接触金具430bは、第2直管形LEDランプ200bの接地ピン221bの掛かり部222bの外周面と接触する接地ピン受部431bと、接地用電線130を挿入するための接地用速結端子部432bと、を備えている。接地ピン受部431bは、開口部416bの側端部に配設される。なお、第1接地用接触金具430a及び第2接地用接触金具430bは導電性のある材料、例えばりん青銅などを折り曲げることにより形成される。
接続用接触金具440は、第1直管形LEDランプ200aの接地ピン221aの掛かり部222aの外周面と接触する接地ピン受部441aと、第2直管形LEDランプ200bの接地ピン221bの掛かり部222bの外周面と接触する接地ピン受部441bとを備えている。接地ピン受部441aは、第1接地用接触金具430aの接地ピン受部431aと共に開口部416aの側端部を両側から挟むように配設される。同様に、接地ピン受部441bは、第2接地用接触金具430bの接地ピン受部431bと共に開口部416bの側端部を両側から挟むように配設される。なお、接続用接触金具440は導電性のある材料、例えばりん青銅などをコの字形状に折り曲げることにより形成される。
前面カバー410の内側面に形成される第1接地用口金受部には、開口部416aの両側端部を挟むように、第1接地用接触金具430aの接地ピン受部431aと接続用接触金具440の接地ピン受部441aとが配設されている。第1接地用口金受部には、第1直管形LEDランプ200aの接地用口金220aが着脱自在である。
前面カバー410の内側面に形成される第2接地用口金受部には、開口部416bの両側端部を挟むように、接続用接触金具440の接地ピン受部441bと第2接地用接触金具430bの接地ピン受部431bとが配設されている。第2接地用口金受部には、第2直管形LEDランプ200bの接地用口金220bが着脱自在である。
図8に示すように接地ピン221aは、第1接地用接触金具430aの接地ピン受部431aと接続用接触金具440の接地ピン受部441aとで掛かり部222aの外周面を挟まれ固定される。このとき、掛かり部222aの接地ピン受部431a及び接地ピン受部441aを外側に押そうとする力が、接地ピン受部431a及び接地ピン受部441aの接地ピン221aを両側から挟みこむ弾性力と釣り合う。これらの力の釣り合いによって、第1直管形LEDランプ200aが接地用ランプソケット400により確実に固定される。接地ピン221bについても同様である。
第1接地用口金受部に取り付けられる第1直管形LEDランプ200aの接地ピン221aと、第2接地用口金受部に取り付けられる第2直管形LEDランプ200bの接地ピン221bは、それぞれ接地ピン受部441a及び接地ピン受部441bに接触し、接続用接触金具440を介して電気的に接続されている。そのため、第1直管形LEDランプ200aの接地ピン221a及び第2直管形LEDランプ200bの接地ピン221bに接続されているそれぞれの放熱部240がアース接地された状態になる。接地用ランプソケット400からのアース接地は、接地用速結端子部432a(ないし接地用速結端子部432bのいずれか一方)だけ接地用電線130と接続すればよいので、速結端子部の数を1箇所に減らすことができる。したがって、接地用ランプソケット400は、接地用電線130のみが接続されるので、連結端子部の数を少なくでき、電線の挿入に伴う接触不良や接続する電線の数を減らして電線接続の信頼性を高めることができる。なお、第2接地用接触金具430bは、接地ピン221bを第2接地用口金受部に固定できればよく、電気的に接続される必要はないので、導電性のない材料を用いてもよい。また、第2接地用接触金具430bは、電線を接続しないので接地用速結端子部432bを設けなくてもよい。接地用速結端子部432aと接地用速結端子部432bに同じ部品を用いる場合、金型等の共通化を図ることができ、部品の製造及び管理を容易にすることができる。
本発明の照明器具1000に直管形LEDランプ200を取り付ける際には、第1接地用口金受部及び第2接地用口金受部に接地ピン221を挿入するだけで接地用接触金具に接触するため、第1給電ピン231、第2給電ピン232がそれぞれの給電用接触金具に接触するよりも必ず先に接地ピン221が接地用接触金具に接触する構造となっている。
実施の形態3.
上記実施の形態2の接地用ランプソケット400では、接地用口金220の接地ピン221を取り付けるために、第1接地用接触金具430a、第2接地用接触金具430b及び接続用接触金具440が設けられている。これに対し、実施の形態3の接地用ランプソケット400は、接地ピン221を取り付けるために1個の接地用接触金具のみで接地ピン221を固定している。すなわち、実施の形態2と実施の形態3には、接地用ランプソケット400の内蔵する接地用接触金具の数に差異があり、その他の構成は同じである。
以下、図面に基づいて実施の形態3を詳細に説明する。図9は接地用ランプソケットの接触金具の配置図である。なお、図中の同一符号は、同一または相当部分を示している。
図9に示すように接地ピン221aは、接地用接触金具450の接地ピン受部452aと接地ピン受部451aとで掛かり部222aの外周面を挟むことにより固定される。また、接地ピン221bは、接地用接触金具450の接地ピン受部451bと接地ピン受部452bとで掛かり部222bを挟まれ固定される。接地ピン221aと接地ピン221bは、接地用接触金具450を介して接地用速結端子部453に挿入された接地用電線130と電気的に接続されアース接地される。実施の形態3によれば、実施の形態2と比べて接地用接触金具の数を3個から1個にすることができるので、接地用ランプソケット400の部品数を減らし、部品の製造及び管理を容易にすることができる。なお、接地用接触金具450は導電性のある材料、例えばりん青銅などを折り曲げることにより形成される。
実施の形態4.
上記実施の形態2の接地用ランプソケット400では、接地用口金220の接地ピン221を取り付けるために、第1接地用接触金具430a、第2接地用接触金具430b及び接続用接触金具440が設けられている。これに対し、実施の形態4の接地用ランプソケット400は、接地ピン221を取り付けるために1個の接地用接触金具と2個の接地ピン固定具で接地ピン221を固定している。すなわち、実施の形態2と実施の形態4には、接地用接触金具の数と接地ピン固定具の有無に差異があり、その他の構成は同じである。
以下、図面に基づいて実施の形態4を詳細に説明する。図10は接地用ランプソケットの接触金具の配置図である。なお、図中の同一符号は、同一または相当部分を示している。
図10に示すように接地ピン221aは、接地ピン固定具470aの接地ピン受部471aと接地用接触金具460の接地ピン受部461aとで掛かり部222aの外周面を挟まれ固定される。また、接地ピン221bは、接地用接触金具460の接地ピン受部461bと接地ピン固定具470bの接地ピン受部471bとで掛かり部222bを挟まれ固定される。接地ピン221aと接地ピン221bは、接地用接触金具460を介して接地用速結端子部462に挿入された接地用電線130と電気的に接続されアース接地される。接地ピン固定具470a及び接地ピン固定具470bは、接地ピン221を固定できればよく、導電性のない材料を用いてもよい。また、接地ピン固定具470a及び接地ピン固定具470bは、接地用ランプソケット400の外郭を構成する前面カバー410及び背面カバー420の製造の際に一体的に成形してもよい。実施の形態4によれば、実施の形態2と比べて接地用接触金具の数を3個から1個にすることができるので、接地用ランプソケット400の金属部品の数を減らし、部品の製造及び管理を容易にすることができる。なお、接地用接触金具460は導電性のある材料、例えばりん青銅などを折り曲げることにより形成される。
実施の形態5.
上記実施の形態1の給電用ランプソケット300は、直管形LEDランプ200を2本装着することができるランプソケットである。これに対し、実施の形態5の給電用ランプソケット300は、直管形LEDランプ200を3本装着することができるランプソケットである。この給電用ランプソケット300は、実施の形態1の給電用ランプソケット300に第3直管形LEDランプ200cを取り付けるために第2接続用接触金具350b、前面カバー310の開口部316c、給電ピン挿入孔317c、背面カバー320の回転案内リブ322c及び回転子330cなどを追加したものであり、その他の構成は同じものである。
以下、図面に基づいて実施の形態5を詳細に説明する。図11は実施の形態5の給電用ランプソケットの分解斜視図、図12は給電用ランプソケットの接触金具の配置図である。なお、図中の同一符号は、同一または相当部分を示している。
図11に示すように給電用ランプソケット300のソケット本体の内部には、第1直管形LEDランプ200aの第1給電ピン231a、第2給電ピン232a及び第2直管形LEDランプ200bの第1給電ピン231b、第2給電ピン232b及び第3直管形LEDランプ200cの第1給電ピン231c、第2給電ピン232cの取り付けを容易にするための回転子330a、回転子330b及び回転子330cと、各給電ピンが接触し導通する一対の第1給電用接触金具340a、第2給電用接触金具340bと、コの字形状の第1接続用接触金具350a、第2接続用接触金具350bとが収納されている。
前面カバー310のカバー前面311には、開口部316a、開口部316b及び開口部316cが円形に開口されている。カバー上面312には、第1直管形LEDランプ200aの第1給電ピン231a、第2給電ピン232aを挿入される給電ピン挿入孔317a、第2直管形LEDランプ200bの第1給電ピン231b、第2給電ピン232bを挿入される給電ピン挿入孔317b及び第3直管形LEDランプ200cの第1給電ピン231c、第2給電ピン232cを挿入される給電ピン挿入孔317cが形成されている。給電ピン挿入孔317a、給電ピン挿入孔317b及び給電ピン挿入孔317cは、開口部316a、開口部316b及び開口部316cの外周の一部がそれぞれカバー上面312と連通して形成されている。
回転子330cは、実施の形態1の回転子330a及び回転子330abと同様の構成である。
背面カバー320の背面カバー内壁321には、開口部316a、開口部316b及び開口部316cのそれぞれの開口面と対面に円形状の一対の回転案内リブ322a、回転案内リブ322b及び回転案内リブ322cが一体に設けられている。回転案内リブ322cは、実施の形態1の回転案内リブ322a及び回転案内リブ322bと同様の構成である。
第1接続用接触金具350aは、第1直管形LEDランプ200aの第2給電ピン232aのL字の軸部と接触する第2給電ピン受部351aaと、第3直管形LEDランプ200cの第1給電ピン231cのL字の軸部と接触する第1給電ピン受部351acとを備えている。第2給電ピン受部351aaは、第1給電用接触金具340aの第1給電ピン受部341aと共に円筒部332aの外周面を両側から挟むように配設される。第1給電ピン受部351acは、円筒部332bの外周面に配設される。なお、第1接続用接触金具350aは導電性のある材料、例えばりん青銅などをコの字形状に折り曲げることにより形成される。
第2接続用接触金具350bは、第3直管形LEDランプ200cの第2給電ピン232cのL字の軸部と接触する第2給電ピン受部351bcと、第2直管形LEDランプ200bの第1給電ピン231bのL字の軸部と接触する第1給電ピン受部351bbとを備えている。第2給電ピン受部351bcは、第1接続用接触金具350aの第1給電ピン受部351acと共に円筒部332cの外周面を両側から挟むように配設される。同様に、第1給電ピン受部351bbは、第2給電用接触金具340bの第2給電ピン受部341bと共に円筒部332bの外周面を両側から挟むように配設される。なお、第2接続用接触金具350bは導電性のある材料、例えばりん青銅などをコの字形状に折り曲げることにより形成される。
第1給電用口金受部360aは、回転案内リブ322aに回転子330aを回転自在に取り付けられ、開口部316aの切り欠き部333aと連通する給電ピン挿入部を除いて受部331aで塞がれ、円筒部332aの外周面を両側から挟むように第1給電ピン受部341aと第2給電ピン受部351aaを配設されている。第1給電用口金受部360aには、第1直管形LEDランプ200aの給電用口金230aが着脱自在である。
第2給電用口金受部360bは、回転案内リブ322bに回転子330bを回転自在に取り付けられ、開口部316bの切り欠き部333bと連通する給電ピン挿入部を除いて受部331bで塞がれ、円筒部332bの外周面を両側から挟むように第1給電ピン受部351bbと第2給電ピン受部341bを配設されている。第2給電用口金受部360bには、第2直管形LEDランプ200bの給電用口金230bが着脱自在である。
第3給電用口金受部360cは、回転案内リブ322cに回転子330cを回転自在に取り付けられ、開口部316cの切り欠き部333cと連通する給電ピン挿入部を除いて受部331cで塞がれ、円筒部332cの外周面を両側から挟むように第1給電ピン受部351acと第2給電ピン受部351bcを配設されている。第3給電用口金受部360cには、第3直管形LEDランプ200cの給電用口金230cが着脱自在である。
図12に示すように第1給電用接触金具340aの第1給電ピン受部341aは、第1給電ピン231aと接触し、第1接続用接触金具350aの第2給電ピン受部351aaは、第2給電ピン232aと接触し、第1直管形LEDランプ200aのLEDモジュール250aを介して電気的に接続されている。第1接続用接触金具350aの第1給電ピン受部351acは、第1給電ピン231cと接触し、第2接続用接触金具350bの第2給電ピン受部351bcは、第2給電ピン232cと接触し、第3直管形LEDランプ200cのLEDモジュール250cを介して電気的に接続されている。第2接続用接触金具350bの第1給電ピン受部351bbは、第1給電ピン231bと接触し、第2給電用接触金具340bの第2給電ピン受部341bは、第2給電ピン232bと接触し、第2直管形LEDランプ200bのLEDモジュール250bを介して電気的に接続されている。
第1給電用口金受部360aに取り付けられる第1直管形LEDランプ200aの第2給電ピン232aと、第3給電用口金受部360cに取り付けられる第3直管形LEDランプ200cの第1給電ピン231cは、それぞれ第2給電ピン受部351aa及び第1給電ピン受部351acに接触し、第1接続用接触金具350aを介して電気的に接続されている。また、第3給電用口金受部360cに取り付けられる第3直管形LEDランプ200cの第2給電ピン232cと、第2給電用口金受部360bに取り付けられる第2直管形LEDランプ200bの第1給電ピン231bは、それぞれ第2給電ピン受部351bc及び第1給電ピン受部351bbに接触し、第2接続用接触金具350bを介して電気的に接続されている。そのため、第1直管形LEDランプ200aと第2直管形LEDランプ200bと第3直管形LEDランプ200cが直列に接続された状態になる。したがって、給電用ランプソケット300は、直管形LEDランプ200を3本装着することができるとともに、給電用電線の挿入される速結端子部の数を少なくでき、電線の挿入に伴う接触不良や接続する電線の数を減らして電線接続の信頼性を高めることができる。
このように、2本の直管形LEDランプ200の第2給電ピン232と第1給電ピン231を電気的に接続する接触金具を増やすことによって、直管形LEDランプ200を4本以上装着できる給電用ランプソケットに対応できる。
実施の形態6.
上記実施の形態2の接地用ランプソケット400は、直管形LEDランプ200を2本装着することができるランプソケットである。これに対し、実施の形態6の接地用ランプソケット400は、直管形LEDランプ200を3本装着することができるランプソケットである。この接地用ランプソケット400では、実施の形態2の接地用ランプソケット400に第3直管形LEDランプ200cを取り付けるために第2接続用接触金具440bなどを追加したものであり、その他の構成は同じものである。
以下、図面に基づいて実施の形態6を詳細に説明する。図13は実施の形態6の接地用ランプソケットの分解斜視図、図14は接地用ランプソケットの接触金具の配置図である。なお、図中の同一符号は、同一または相当部分を示している。
図13に示すように接地用ランプソケット400のソケット本体の内部には、第1直管形LEDランプ200aの接地ピン221a、第2直管形LEDランプ200bの接地ピン221b及び第3直管形LEDランプ200cの接地ピン221cのそれぞれが接触し導通する第1接地用接触金具430a、第2接地用接触金具430bと、コの字形状の第1接続用接触金具440a、第2接続用接触金具440bとが収納されている。
前面カバー410のカバー前面411には、開口部416a、開口部416b及び開口部416cが開口されている。カバー上面412には、第1直管形LEDランプ200aの接地ピン221aを挿入される接地ピン挿入孔417a、第2直管形LEDランプ200bの接地ピン221bを挿入される接地ピン挿入孔417b及び第3直管形LEDランプ200cの接地ピン221cを挿入される接地ピン挿入孔417cが形成されている。接地ピン挿入孔417a、接地ピン挿入孔417b及び接地ピン挿入孔417cは、開口部416a、開口部416b及び開口部416cの外周の一部がカバー上面412と連通して形成されている。
第1接続用接触金具440aは、第1直管形LEDランプ200aの接地ピン221aの掛かり部222aの外周面と接触する接地ピン受部441aaと、第3直管形LEDランプ200cの接地ピン221cの掛かり部222cの外周面と接触する接地ピン受部441acとを備えている。接地ピン受部441aaは、第1接地用接触金具430aの接地ピン受部431aと共に開口部416aの側端部を両側から挟むように配設される。接地ピン受部441acは、開口部416cの側端部に配設される。なお、第1接続用接触金具440aは導電性のある材料、例えばりん青銅などをコの字形状に折り曲げることにより形成される。
第2接続用接触金具440bは、第3直管形LEDランプ200cの接地ピン221cの掛かり部222cの外周面と接触する接地ピン受部441bcと、第2直管形LEDランプ200bの接地ピン221bの掛かり部222bの外周面と接触する接地ピン受部441bbとを備えている。接地ピン受部441bcは、第1接続用接触金具440aの接地ピン受部441acと共に開口部416cの側端部を両側から挟むように配設される。接地ピン受部441bbは、開口部416bの側端部に配設される。なお、第2接続用接触金具440bは導電性のある材料、例えばりん青銅などをコの字形状に折り曲げることにより形成される。
前面カバー410の内側面に形成される第1接地用口金受部(図示しない)には、開口部416aの両側端部を挟むように、第1接地用接触金具430aの接地ピン受部431aと第1接続用接触金具440aの接地ピン受部441aaとが配設されている。第1接地用口金受部には、第1直管形LEDランプ200aの接地用口金220aが着脱自在である。
前面カバー410の内側面に形成される第2接地用口金受部(図示しない)には、開口部416bの両側端部を挟むように、第2接続用接触金具440bの接地ピン受部441bbと第2接地用接触金具430bの接地ピン受部431bとが配設されている。第2接地用口金受部には、第2直管形LEDランプ200bの接地用口金220bが着脱自在である。
前面カバー410の内側面に形成される第3接地用口金受部(図示しない)には、開口部416cの両側端部を挟むように、第1接続用接触金具440aの接地ピン受部441acと第2接続用接触金具440bの接地ピン受部441bcとが配設されている。第3接地用口金受部には、第3直管形LEDランプ200cの接地用口金220cが着脱自在である。
図14に示すように第1接地用接触金具430aの接地ピン受部431aは、接地ピン221aと接触し、第1接続用接触金具440aの接地ピン受部441aaは、接地ピン221aと接触し、第1直管形LEDランプ200aの接地ピン221aを介して電気的に接続されている。第1接続用接触金具440aの接地ピン受部441acは、接地ピン221cと接触し、第2接続用接触金具440bの接地ピン受部441bcは、接地ピン221cと接触し、第3直管形LEDランプ200cの接地ピン221cを介して電気的に接続されている。第2接続用接触金具440bの接地ピン受部441bbは、接地ピン221bと接触し、第2接地用接触金具430bの接地ピン受部431bは、接地ピン221bと接触し、第2直管形LEDランプ200bの接地ピン221bを介して電気的に接続されている。
第1接地用口金受部に取り付けられる第1直管形LEDランプ200aの接地ピン221aと、第3接地用口金受部に取り付けられる第3直管形LEDランプ200cの接地ピン221cは、それぞれ接地ピン受部441aa及び接地ピン受部441acに接触し、第1接続用接触金具440aを介して電気的に接続されている。また、第3接地用口金受部に取り付けられる第3直管形LEDランプ200cの接地ピン221cと、第2接地用口金受部に取り付けられる第2直管形LEDランプ200bの接地ピン221bは、それぞれ第2接地ピン受部441bc及び接地ピン受部441bbに接触し、第2接続用接触金具440bを介して電気的に接続されている。そのため、第1直管形LEDランプ200aと第2直管形LEDランプ200bと第3直管形LEDランプ200cの各接地ピンが直列に接続された状態になる。したがって、接地用ランプソケット400は、直管形LEDランプ200を3本装着することができるとともに、接地用電線の挿入される速結端子部の数を少なくでき、電線の挿入に伴う接触不良や接続する電線の数を減らして電線接続の信頼性を高めることができる。
このように、2本の直管形LEDランプ200の接地ピン221同士を電気的に接続する接触金具を増やすことによって、直管形LEDランプ200を4本以上装着できる接地用ランプソケットに対応できる。
実施の形態1〜実施の形態6では、電源装置500から直流電力を供給されて点灯する直管形LEDランプ200が装着されるランプソケットについて説明したが、本発明のランプソケットの構成に対応するランプ及び電源装置であれば、LEDでなく有機ELなどを光源とした直管形ランプでもよいし、交流電力で点灯するランプと交流電力を供給する電源装置、あるいは商用電源を直接ランプに供給するものでもよい。また、複数のランプの口金を並べて配設されるランプソケットであれば、本発明を適用できるので、ランプの形状は直管形に限らず、環状蛍光灯形やコンパクト蛍光灯形などの形状であってもよい。
実施の形態7.
図16は、本実施の形態の接地用ランプソケット400の斜視図である。図17は、接地用ランプソケット400の分解斜視図である。図18は、接地用接触金具490の正面図である。
接地用ランプソケット400は、実施の形態2〜4と同様に、接地ピン221が突出する直管形LEDランプ200(直管形ランプの例)の接地用口金220を複数装着するためのものである。
図16及び図17に示すように、接地用ランプソケット400は、前面カバー410(ソケット本体)と、この前面カバー410に収納される接地用接触金具490(導電金具)と、この接地用接触金具490を覆うように、前面カバー410に取り付けられる背面カバー420とを備える。
まず、図16及び図17を用いて、前面カバー410及び背面カバー420について説明する。なお、前面カバー410及び背面カバー420は、実施の形態2〜4と同様のものであるため、詳細な説明は省く。
前面カバー410は、直管形LEDランプ200の接地用口金220(図2参照)をそれぞれ1つずつ受ける受金部481a,481b(口金受部)と、器具本体100(図1参照)に取り付けられる取付部482とを有する。
受金部481aは、第1直管形LEDランプ200aの接地用口金220を装着するためのものである。受金部481aには、第1直管形LEDランプ200aの接地用口金220に設けられる接地ピン221a(アースピン)が挿入される接地ピン挿入孔417a(スリット)が形成されている。また、受金部481aには、第1直管形LEDランプ200aの接地用口金220の装着時に接地用口金220の接地ピン221aが貫通する開口部416aが形成されている。
受金部481bは、第2直管形LEDランプ200bの接地用口金220を装着するためのものである。受金部481bには、第2直管形LEDランプ200bの接地用口金220に設けられる接地ピン221b(アースピン)が挿入される接地ピン挿入孔417b(スリット)が形成されている。また、受金部481bには、第2直管形LEDランプ200bの接地用口金220の装着時に接地用口金220の接地ピン221bが貫通する開口部416bが形成されている。
隣接する受金部481a,481bの内部空間は、互いに連通している。
取付部482には、接地用電線130(アース線)(図7参照)が挿入される接地用速結端子孔418(アース線挿入孔)が形成されている。
背面カバー420は、前面カバー410の背面側に取り付けられ、接地用接触金具490を前面カバー410内に固定する。
次に、図17及び図18を用いて、接地用接触金具490について説明する。ここでは、接地用接触金具490について、主に実施の形態3の接地用接触金具450との差異を説明する。
接地用接触金具490は、一体に形成され、受金部481a,481bの内部空間の連通する部分を介して受金部481a,481bに跨って収納される。接地用接触金具490は、接地用口金220の装着時に受金部481a,481bのそれぞれに装着された接地用口金220の接地ピン221a,221bの開口部416a,416bを貫通する部分と接触する。
接地用接触金具490は、略Y字状に形成される導電板494と、この導電板494の上側両端部(Y字の上側先端部分)に形成される接地ピン受部491a,491b,492a,492b(接触片)(立設部の例)と、導電板494の下側端部(Y字の下側先端部分)に形成される接地用速結端子部493とを有する。
導電板494は、受金部481a,481bの内部空間の連通する部分に配設される板状部材496と、板状部材496から受金部481aに延設される延設部497aと、受金部481bに延設される延設部497bとからなる。
接地ピン受部491a,492aは、受金部481aに装着される接地用口金220の接地ピン221aの開口部416aを貫通する方向と平行に延設部497aの先端から立設される。接地ピン受部491a,492aは、接地用口金220の装着時に、受金部481aに装着された接地用口金220の接地ピン221aの開口部416aを貫通する部分と接触する。同様に、接地ピン受部491b,492bは、受金部481bに装着される接地用口金220の接地ピン221bの開口部416bを貫通する方向と平行に延設部497bの先端から立設される。接地ピン受部491b,492bは、接地用口金220の装着時に、受金部481bに装着された接地用口金220の接地ピン221bの開口部416bを貫通する部分と接触する。
接地用接触金具490は、板状部材496及び延設部497a,497b(即ち、導電板494)と、接地ピン受部491a,491b,492a,492bと、接地用電線130が接続される接地用速結端子部493とが一体に形成されたものである。本実施の形態では、接地用接触金具490は、1枚の平板を折り曲げ加工して一体に形成されている。そのため、接地用接触金具490は、容易かつ低コストで製造できる。なお、接地用接触金具490は、折り曲げ加工以外の方法で一体に形成されていてもよい。
接地ピン受部491a,491b,492a,492bは、導電板494の側面側から延出され、直角方向に折り曲げられて形成される接触部495aと、この接触部495aの両側辺から導電板494方向に湾曲して形成されて弾性を有する弾性支持部495bとを有する。なお、本実施の形態では、導電板494に対して4つの接地ピン受部491a,491b,492a,492bが形成されているが、接地ピン受部の数は適宜変更可能である。例えば、導電板494に対して2つの接地ピン受部491a,492bのみを形成し、他の2つの接地ピン受部491b,492aに相当する部分に、実施の形態4の接地ピン固定具470a,470bの接地ピン受部471a,471bと同様のものを設けてもよい。
接地用速結端子部493は、導電板494の端部から直角方向に折り曲げられ、さらに340°〜350°折り返されて形成される。接地用接触金具490が前面カバー410に収納された状態において、導電板494の端部から直角方向に折り曲げられた部分の近傍には、接地用速結端子孔418が位置する。この接地用速結端子孔418に挿入される接地用電線130を接地用速結端子部493の端部先端部分が導電板494に押し当てて、接地用電線130と導電板494(接地用速結端子部493)とを電気的、機械的に結合させる。
次に、第1直管形LEDランプ200aを接地用ランプソケット400に取り付ける(接地ピン221aを接地用接触金具490に電気接続させる)過程について説明する。
第1直管形LEDランプ200aの接地ピン221aの先端には、小判形(楕円状)の掛かり部222aが形成されている(図2参照)。この掛かり部222aの幅狭部分が、向かい合う接地ピン受部491a,492aの接触部495a同士の間に挟まれるように(掛かり部222aの楕円の長径が図18の縦方向、短径が図18の横方向を向くように)、接地ピン221aが接地ピン受部491a,492aの間に挿入される。
この状態になったとき、第1直管形LEDランプ200aを軸周りに90°回転させると、接地ピン221aの幅広部分が接地ピン受部491a,492aの弾性支持部495bを押し広げながら回転し、最終的に接地ピン受部491a,492aの接触部495aに接触する(掛かり部222aの楕円の長径は図18の横方向、短径は図18の縦方向を向く)。このとき、接地ピン受部491a,492aの4つの弾性支持部495bが接地ピン221aに弾性接触し、接地ピン221aを保持する。
上記のように、接地ピン受部491a,492a(接触部495a、弾性支持部495b)が、接地ピン221aに接触することにより、第1直管形LEDランプ200aが保持されるとともに、導電板494と接地用速結端子部493とを介して接地用電線130と接地ピン221aとが電気的に接続される。
第2直管形LEDランプ200bを接地用ランプソケット400に取り付ける(接地ピン221bを接地用接触金具490に電気接続させる)過程については、第1直管形LEDランプ200aを接地用ランプソケット400に取り付ける(接地ピン221aを接地用接触金具490に電気接続させる)過程と同様であるため、説明を省く。
接地用接触金具490は、接地用速結端子部493と、導電板494と、4つの接地ピン受部491a,491b,492a,492bとを一体的に加工して製造することにより、接地用速結端子部493に接続される接地用電線130を1本にすることができ、配線数を最小とすることができる。
また、接地ピン受部491a,491b,492a,492bを導電板494の先端部分の側辺から折り曲げて形成することにより、実施の形態3の接地用接触金具450と比して、接地用接触金具490を容易に製造することができる。
実施の形態3の接地用接触金具450を示す図9のような折り曲げ加工により接地ピン受部451a,451b,452a,452bを形成すると、直管形LEDランプ200の接地ピン221の軸方向における接地ピン受部451a,451bの位置と接地ピン受部452a,452bの位置とがずれることになる。そのため、接地ピン221の軸方向における接地ピン221の掛かり部222の長さに対して接地ピン受部451a,451b,452a,452bの長さが短くなり、掛かり部222と接地ピン受部451a,451b,452a,452bとの接触面積に制限がある。これに対し、本実施の形態の接地用接触金具490を示す図18のような折り曲げ加工により接地ピン受部491a,491b,492a,492bを形成すると、直管形LEDランプ200の接地ピン221の軸方向における接地ピン受部491a,491b,492a,492bの長さを自由にとることができる。そのため、接地ピン221の軸方向における接地ピン221の掛かり部222の長さに対して接地ピン受部491a,491b,492a,492bの長さを同じか又は長くすることができ、掛かり部222と接地ピン受部491a,491b,492a,492bとの接触面積を(接地ピン221の軸方向において)最大化できる。
つまり、接地ピン受部491a,491b,492a,492bを導電板494の先端部分の側辺から折り曲げて形成することにより、実施の形態3の接地用接触金具450と比して、直管形LEDランプ200の接地ピン221と、接地ピン受部491a,491b,492a,492bとの接触面積を大きくすることができるので、より確実に直管形LEDランプ200を接地することができ、また、直管形LEDランプ200を安定して固定させることができる。
以上説明したように、本実施の形態では、接地用ランプソケット400が、略Y字状かつ帯状に形成される板状の導電部と、この導電部の両側の先端部分に形成され、先端部分の帯状側辺から折り曲げられて形成される4つの接触片とを有する接地用接触金具490を備える。これにより、接地用ランプソケット400に配線する電線数を減らすことができる。
なお、本実施の形態において、接地用ランプソケット400は、2つの受金部481a,481bを備えているが、実施の形態6のように、3つ以上の受金部を備えていてもよい。その場合も、隣接する受金部の内部空間を互いに連通させる。接地用接触金具490は、隣接する受金部の内部空間の連通する部分を介して当該隣接する受金部に跨って収納される。このとき、接地用ランプソケット400は、接地用接触金具490を1つのみ備えていてもよいし、2つ以上備えていてもよい。例えば、接地用ランプソケット400が受金部を4つ備えているとする。このとき、接地用ランプソケット400は、4つの受金部に対して一体に形成された1つの接地用接触金具490を備えていてもよいし、4つの受金部のうち2つの受金部に対して一体に形成された1つの接地用接触金具490を備え、他の2つの受金部に対して一体に形成された別の接地用接触金具490を備えていてもよい。あるいは、接地用ランプソケット400は、4つの受金部のうち2つ又は3つの受金部に対して一体に形成された1つの接地用接触金具490を備え、他の受金部に対しては本実施の形態と異なる構成の接地用接触金具を備えていてもよい。
以上、本発明の実施の形態について説明したが、これらの実施の形態のうち、2つ以上を組み合わせて実施しても構わない。あるいは、これらの実施の形態のうち、1つを部分的に実施しても構わない。あるいは、これらの実施の形態のうち、2つ以上を部分的に組み合わせて実施しても構わない。なお、本発明は、これらの実施の形態に限定されるものではなく、必要に応じて種々の変更が可能である。
100 器具本体、110 反射板、120a 第1給電用電線、120b 第2給電用電線、130 接地用電線、200 直管形LEDランプ、200a 第1直管形LEDランプ、200b 第2直管形LEDランプ、200c 第3直管形LEDランプ、210 ケース、220 接地用口金、221,221a,221b,221c 接地ピン、222,222a,222b,222c 掛かり部、230,230a,230b 給電用口金、231,231a,231b,231c 第1給電ピン、232,232a,232b,232c 第2給電ピン、240 放熱部、250 LEDモジュール、251 LED素子、252,253 基板、300 給電用ランプソケット、310 前面カバー、311 カバー前面、312 カバー上面、313,314 カバー側面、315 カバー底面、316a,316b,316c 開口部、317a,317b,317c 給電ピン挿入孔、318 前面カバー側嵌合部、319a 第1給電用速結端子孔、319b 第2給電用速結端子孔、320 背面カバー、321 背面カバー内壁、322a,322b,322c 回転案内リブ、323 背面カバー側嵌合部、330a,330b,330c 回転子、331a,331b,331c 受部、332a,332b,332c 円筒部、333a,333b,333c 切り欠き部、340a 第1給電用接触金具、340b 第2給電用接触金具、341a,351b,351ac,351bb 第1給電ピン受部、341b,351a,351aa,351bc 第2給電ピン受部、342a 第1給電用速結端子部、342b 第2給電用速結端子部、350 接続用接触金具、350a 第1接続用接触金具、350b 第2接続用接触金具、360a 第1給電用口金受部、360b 第2給電用口金受部、360c 第3給電用口金受部、400 接地用ランプソケット、410 前面カバー、411 カバー前面、412 カバー上面、413,414 カバー側面、415 カバー底面、416a,416b,416c 開口部、417a,417b,417c 接地ピン挿入孔、418 接地用速結端子孔、420 背面カバー、421 背面カバー内壁、422 背面カバー側嵌合部、430a 第1接地用接触金具、430b 第2接地用接触金具、431a,431b 接地ピン受部、432a,432b,453,462,493 接地用速結端子部、440 接続用接触金具、440a 第1接続用接触金具、440b 第2接続用接触金具、441a,441b,441aa,441ac,441bb,441bc,451a,451b,452a,452b,461a,461b,471a,471b,491a,491b,492a,492b 接地ピン受部、450,460,490 接地用接触金具、470a,470b 接地ピン固定具、481a,481b 受金部、482 取付部、494 導電板、495a 接触部、495b 弾性支持部、496 板状部材、497a,497b 延設部、500 電源装置、1000 照明器具。

Claims (2)

  1. 直管形ランプの端部口金に設けられた一対の給電ピンが接触する接触金具が設けられた複数の口金受部を隣接して一連に配設した給電用ランプソケットであって、
    両端に位置する口金受部にそれぞれ配設され、前記両端に位置する口金受部に取り付けられる直管形ランプの給電ピンの一方とそれぞれ接触し、給電用電線が接続される速結端子部を有する2つの給電用接触金具と、
    前記複数の口金受部が形成される1つの前面カバーと、
    前記前面カバーに取り付けられる1つの背面カバーと、
    1つの導電性材料から一体に形成され、前記前面カバーと前記背面カバーとに挟まれた一続きの空間の中で、隣接する口金受部に跨って配設され、前記隣接する口金受部の一方に取り付けられる直管形ランプの一対の給電ピンの片方と前記隣接する口金受部の他方に取り付けられる直管形ランプの一対の給電ピンの片方とそれぞれ接触する1つ以上の接続用接触金具と
    を備える給電用ランプソケット。
  2. 請求項1に記載の給電用ランプソケットを備える照明器具。
JP2016086666A 2012-01-27 2016-04-25 給電用ランプソケット及び照明器具 Expired - Fee Related JP6224160B2 (ja)

Applications Claiming Priority (2)

Application Number Priority Date Filing Date Title
JP2012014809 2012-01-27
JP2012014809 2012-01-27

Related Parent Applications (1)

Application Number Title Priority Date Filing Date
JP2012086380A Division JP5927009B2 (ja) 2012-01-27 2012-04-05 ランプソケット及びこのランプソケットを備える照明器具

Publications (2)

Publication Number Publication Date
JP2016157698A true JP2016157698A (ja) 2016-09-01
JP6224160B2 JP6224160B2 (ja) 2017-11-01

Family

ID=49268148

Family Applications (2)

Application Number Title Priority Date Filing Date
JP2012086380A Active JP5927009B2 (ja) 2012-01-27 2012-04-05 ランプソケット及びこのランプソケットを備える照明器具
JP2016086666A Expired - Fee Related JP6224160B2 (ja) 2012-01-27 2016-04-25 給電用ランプソケット及び照明器具

Family Applications Before (1)

Application Number Title Priority Date Filing Date
JP2012086380A Active JP5927009B2 (ja) 2012-01-27 2012-04-05 ランプソケット及びこのランプソケットを備える照明器具

Country Status (1)

Country Link
JP (2) JP5927009B2 (ja)

Citations (4)

* Cited by examiner, † Cited by third party
Publication number Priority date Publication date Assignee Title
JPS56112887U (ja) * 1980-01-31 1981-08-31
JPH1154231A (ja) * 1997-07-31 1999-02-26 Tec Corp 挟み込み型蛍光ランプソケット
JP2001351753A (ja) * 2000-06-07 2001-12-21 Toshiba Lighting & Technology Corp 挟み込み式ランプソケット及び照明器具
JP3171199U (ja) * 2011-08-08 2011-10-20 ▲りょく▼明科技股▲ふん▼有限公司 直列接続式照明灯管のランプ台構造

Family Cites Families (2)

* Cited by examiner, † Cited by third party
Publication number Priority date Publication date Assignee Title
EP1912094A1 (en) * 2006-10-09 2008-04-16 Samsung Electronics Co., Ltd. Backlight assembly and display apparatus having the same
JP4862103B2 (ja) * 2011-09-15 2012-01-25 パナソニック電工株式会社 直管形ledランプ及びそれに用いるランプソケット、並びにそれらを用いる直管形ledランプ用照明器具

Patent Citations (4)

* Cited by examiner, † Cited by third party
Publication number Priority date Publication date Assignee Title
JPS56112887U (ja) * 1980-01-31 1981-08-31
JPH1154231A (ja) * 1997-07-31 1999-02-26 Tec Corp 挟み込み型蛍光ランプソケット
JP2001351753A (ja) * 2000-06-07 2001-12-21 Toshiba Lighting & Technology Corp 挟み込み式ランプソケット及び照明器具
JP3171199U (ja) * 2011-08-08 2011-10-20 ▲りょく▼明科技股▲ふん▼有限公司 直列接続式照明灯管のランプ台構造

Also Published As

Publication number Publication date
JP2013175422A (ja) 2013-09-05
JP5927009B2 (ja) 2016-05-25
JP6224160B2 (ja) 2017-11-01

Similar Documents

Publication Publication Date Title
US8523411B2 (en) Light source device
CN102959316B (zh) 直管型led 灯、灯座组及照明器具
US8721125B2 (en) Self-ballasted lamp and lighting equipment
US8696168B2 (en) Illumination device
CN101505010B (zh) 用于led电连接的接线元件
US20140029252A1 (en) Lamp, lamp unit, and luminaire
US7270555B2 (en) Car interior LED lamp adapter electrical connector structure
US20130170233A1 (en) Lamp device and lighting apparatus
US20140286004A1 (en) Lamp Tubes
US9702530B2 (en) Base for an electrical lamp and a method of assembling a base for an electrical lamp
EP2515035A2 (en) Light emitting diode lamp and assembling method thereof
CN105351777A (zh) Led灯一体式电连接结构
US20070167053A1 (en) Lamp and Socket Assembly
JP6224160B2 (ja) 給電用ランプソケット及び照明器具
US8212460B1 (en) LED lamp
EP3303915B1 (en) Led light bulb assembly and method for manufacturing same
CN103259110B (zh) 灯座及具有该灯座的照明器具
US9644798B2 (en) Base for an electrical lamp that prevents rotation and a more efficient method of assembling a base for an electrical lamp
CN114034022B (zh) 连接结构及照明设备
JP2023038371A (ja) 照明装置
CN201954321U (zh) 改良电源连接设计的led灯具
JP2012221636A (ja) ランプ及び照明装置
JP5853726B2 (ja) ランプソケット及び照明装置
TW201124667A (en) LED lamp.
JP2014222633A (ja) ランプ

Legal Events

Date Code Title Description
A977 Report on retrieval

Free format text: JAPANESE INTERMEDIATE CODE: A971007

Effective date: 20161214

A131 Notification of reasons for refusal

Free format text: JAPANESE INTERMEDIATE CODE: A131

Effective date: 20170110

A521 Request for written amendment filed

Free format text: JAPANESE INTERMEDIATE CODE: A523

Effective date: 20170201

A02 Decision of refusal

Free format text: JAPANESE INTERMEDIATE CODE: A02

Effective date: 20170711

A521 Request for written amendment filed

Free format text: JAPANESE INTERMEDIATE CODE: A523

Effective date: 20170829

A911 Transfer to examiner for re-examination before appeal (zenchi)

Free format text: JAPANESE INTERMEDIATE CODE: A911

Effective date: 20170906

TRDD Decision of grant or rejection written
A01 Written decision to grant a patent or to grant a registration (utility model)

Free format text: JAPANESE INTERMEDIATE CODE: A01

Effective date: 20171003

A61 First payment of annual fees (during grant procedure)

Free format text: JAPANESE INTERMEDIATE CODE: A61

Effective date: 20171004

R150 Certificate of patent or registration of utility model

Ref document number: 6224160

Country of ref document: JP

Free format text: JAPANESE INTERMEDIATE CODE: R150

R250 Receipt of annual fees

Free format text: JAPANESE INTERMEDIATE CODE: R250

R250 Receipt of annual fees

Free format text: JAPANESE INTERMEDIATE CODE: R250

R250 Receipt of annual fees

Free format text: JAPANESE INTERMEDIATE CODE: R250

R250 Receipt of annual fees

Free format text: JAPANESE INTERMEDIATE CODE: R250

LAPS Cancellation because of no payment of annual fees