JP2016110698A - 高周波入力結合器 - Google Patents

高周波入力結合器 Download PDF

Info

Publication number
JP2016110698A
JP2016110698A JP2014243972A JP2014243972A JP2016110698A JP 2016110698 A JP2016110698 A JP 2016110698A JP 2014243972 A JP2014243972 A JP 2014243972A JP 2014243972 A JP2014243972 A JP 2014243972A JP 2016110698 A JP2016110698 A JP 2016110698A
Authority
JP
Japan
Prior art keywords
inner conductor
frequency input
thermocouple
conductor
support rod
Prior art date
Legal status (The legal status is an assumption and is not a legal conclusion. Google has not performed a legal analysis and makes no representation as to the accuracy of the status listed.)
Pending
Application number
JP2014243972A
Other languages
English (en)
Inventor
青木 延忠
Nobutada Aoki
延忠 青木
Current Assignee (The listed assignees may be inaccurate. Google has not performed a legal analysis and makes no representation or warranty as to the accuracy of the list.)
Toshiba Corp
Canon Electron Tubes and Devices Co Ltd
Original Assignee
Toshiba Corp
Toshiba Electron Tubes and Devices Co Ltd
Priority date (The priority date is an assumption and is not a legal conclusion. Google has not performed a legal analysis and makes no representation as to the accuracy of the date listed.)
Filing date
Publication date
Application filed by Toshiba Corp, Toshiba Electron Tubes and Devices Co Ltd filed Critical Toshiba Corp
Priority to JP2014243972A priority Critical patent/JP2016110698A/ja
Publication of JP2016110698A publication Critical patent/JP2016110698A/ja
Pending legal-status Critical Current

Links

Images

Landscapes

  • Particle Accelerators (AREA)

Abstract

【課題】組立作業性を向上でき、熱電対の不具合があった場合でも容易に復旧できる高周波入力結合器を提供する。【解決手段】高周波入力結合器10は、結合器本体11、支持ロッド26および検出部35を備える。結合器本体11は、円筒状の内導体15と円筒状の外導体16とを同軸に有する。支持ロッド26は、内導体15の内部に挿入され、内導体15を支持する。検出部35は、支持ロッド26に取り付けられ内導体15の軸方向の温度分布を検出する熱電対36を有する。【選択図】図1

Description

本発明の実施形態は、加速器に高周波を入力する高周波入力結合器に関する。
例えば、荷電粒子(電子、イオン)加速器において、クライストロンのような高周波増幅器から放出された高周波(マイクロ波)を加速空洞に入力するとき、加速空洞に対して良好なカップリングを持たせることのできる構造を有した高周波入力結合器(カプラ)が用いられている。高周波入力結合器としては、円筒状の内導体と円筒状の外導体とを同軸に有する同軸型の高周波入力結合器がある。
近年の大型加速器施設においては、その運転に必要となる消費電力が膨大なものとなることに対処するために超電導化を図ることが提唱されているが、超電導構造物は起動時には室温、運転時には液体He(ヘリウム)温度相当になるため、300℃に及ぶ温度差に対応できる構造となっていることが要求されており、高周波入力結合器においても同様の機能を有する構造とすることが必要となっている。
そのような要求に対応するため、高周波入力結合器では、膨張・収縮に対して大きな許容性を有するベローズ部品を用いた構造を採用しているが、室温からスタートして液体He温度(4°K)に至るまでの冷却工程において急激な温度勾配が生じると、熱収縮の不均一性により構造体の剛性が追従しきれずに破損する危険性がある。これは逆に、液体He温度から常温まで昇温する場合も同様のものとなる。
このような高周波入力結合器の冷却、昇温工程における操作においては、常に高周波入力結合器内の構造体の温度追従性が問題となっており、予想以上の温度勾配が発生してしまうことが危惧される。
したがって、高周波入力結合器については、適切な温度制御を行うために、内部の構造物、すなわち内導体の軸方向の温度分布を監視することが重要とされている。
内導体の軸方向の温度分布を監視するために、熱電対(サーモカップル)を内導体の要所に取り付けることが提案されている。
しかし、内導体に熱電対を取り付けるには、内導体の内部に熱電対を挿入して測定点に先端部を接続することが必要となるが、内導体に熱電対を直接結合しようとすると、その工程の中で、内導体に熱電対を接続し、高周波入力結合器の組立完了まで、熱電対が破断等の影響が生じないように管理をすることが要求される。
ここで、熱電対は耐熱タイプのシース型の熱電対を適用することが考えられるが、許容される曲げ半径などを考慮すると、外径がφ0.5〜1mmのものが妥当となる。
内導体の温度を正確に測定するためには、高周波入力結合器の組立時に、熱電対の先端を内導体の測定点に当たる部品にロウ付けにより接合することが最も確実であり、実際にその手法を適用した例も見受けられる。
しかし、直接ロウ付けをする手法では、複数本の熱電対が内導体の内部で絡みやすくなり、組立作業を難しいものとする難点ある。
また、高周波入力結合器の組立時に、高周波入力結合器の常温側と液体He温度側の2つの構造体をつなぎ合わせるときは、それぞれの構造体の内導体を接続するための組立用治具を内導体の内部に挿入することになるが、ロウ接合された熱電対は取り外すことができないため、この組立用治具の挿入、操作時に、組立用治具が熱電対に接触し、熱電対の脱落や破断が発生することも危惧される。
特開2014−175133号公報
高周波入力結合器の内導体の軸方向の温度分布を検出するための熱電対は耐熱タイプのシース型の熱電対を適用することが考えられるが、許容される曲げ半径などを考慮すると外径がφ0.5〜1mmのものが妥当となる。この熱電対を内導体にロウ接合で直接つなぐ手法を採る場合には、熱電対の組立作業、および熱電対の組立後の高周波入力結合器の組立作業が難しい課題がある。また、熱電対に不具合があった場合、熱電対の交換が難しく、容易には復旧できない課題がある。
本発明が解決しようとする課題は、組立作業性を向上でき、熱電対の不具合があった場合でも容易に復旧できる高周波入力結合器を提供することである。
本実施形態の高周波入力結合器は、結合器本体、支持ロッドおよび検出部を備える。結合器本体は、円筒状の内導体と円筒状の外導体とを同軸に有する。支持ロッドは、内導体の内部に挿入され、内導体を支持する。検出部は、支持ロッドに取り付けられ内導体の軸方向の温度分布を検出する熱電対を有する。
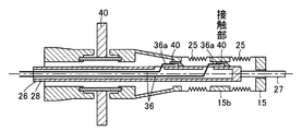
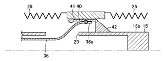
第1の実施形態を示す高周波入力結合器の断面図である。 第2の実施形態を示す高周波入力結合器の断面図である。 同上高周波入力結合器の一部を拡大した断面図である。
以下、第1の実施形態を、図1を参照して説明する。
高周波入力結合器(カプラ)10は、結合器本体11を有し、結合器本体11の一端側が加速器12に接続され、他端側がクライストロン等の高周波増幅器の導波管に接続され、高周波増幅器から放出された高周波(マイクロ波)を加速器12の加速空洞12aに入力する。
結合器本体11は、円筒状の内導体15とこの内導体15を収容する円筒状の外導体16とを同軸に有し、これら内導体15と外導体16との間を通じて高周波増幅器から加速器12の加速空洞12aへ高周波を伝送する。内導体15の一端側には、加速器12の加速空洞12aに配置されるアンテナ部17が設けられている。
結合器本体11は、加速器12の加速空洞12a側に向ける一端側の低温側導体19と、高周波増幅器側に向ける他端側の常温側導体20とを備え、これら導体19,20が結合されている。
低温側導体19は、加速空洞12aと同じく超電導の臨界温度にするために液体He温度相当の極低温に維持される。内導体15と外導体16との間に高周波入力窓21が気密に設けられている。高周波入力窓21よりも下流側すなわち加速器12側において、内導体15と外導体16との間の空間は、加速空洞12aに連通され、加速空洞12aと同じく超高真空に維持されている。
常温側導体20には、内導体15と外導体16との間に高周波入力窓22が気密に設けられている。常温側導体20には、低温側導体19から反対の高周波増幅器の導波管へ向けて液体He温度相当の極低温から常温に近付いていくが、高周波入力窓22までは液体窒素温度相当に保たれている。2つの高周波入力窓21,22の間において、内導体15と外導体16との間の空間は、超高真空の領域ではないが相応の真空度に保たれている。
高周波入力窓21,22は、セラミックス製で、内導体15が貫通される中心孔を有する環状型円板形状に形成されている。高周波入力窓21,22の側面部が内導体15および外導体16にそれぞれロウ接合され、高周波入力窓21,22と内導体15および外導体16との間の気密が確保されている。なお、セラミックス製の高周波入力窓21,22の接合面となる側面部には、ロウ接合のためのメタライズ処理が施されている。
また、結合器本体11は、加速器12側から高周波増幅器の導波管側までの間で液体He温度から常温までの温度勾配を持つことになるので、内導体15および外導体16の軸方向の伸縮に対応しつつ内導体15および外導体16を支持する構造を備えている。
内導体15は、低温側導体19に配置される低温側内導体15aおよび常温側導体20に配置される常温側内導体15bを備えている。これら低温側内導体15aおよび常温側内導体15bの一部には、軸方向の伸縮に対応するためにベローズ24,25を備えている。低温側内導体15aのベローズ24は、低温側内導体15aの一端側とアンテナ部17との間に配置され、アンテナ部17の軸方向の伸縮と偏芯を許すものとなっている。常温側内導体15bのベローズ25は、軸方向の複数箇所に設けられている。
内導体15の内部には、内導体15を支持する支持ロッド(内導体支持ロッド)26が挿入されている。支持ロッド26は、低温側導体19の低温側内導体15aの内部に挿入される円柱部27、および常温側導体20の常温側内導体15bの内部に挿入される円筒部28を備えている。なお、円柱部27の一部は常温側導体20の常温側内導体15bの内部に配置されている。支持ロッド26の一端側である円柱部27の先端は、アンテナ部17にねじ込み結合されており、アンテナ部17を支えている。支持ロッド26は、アンテナ部17に対してねじ込み解除方向に回動させることにより、アンテナ部17との結合を解除することも可能となっている。また、支持ロッド26の円筒部28の側面には、軸方向の複数箇所に開口部29がそれぞれ形成されている。
外導体16は、低温側導体19に配置される低温側外導体16aおよび常温側導体20に配置される常温側外導体16bを備えている。常温側外導体16bの一部には、常温側内導体15bのベローズ25の外側に位置して軸方向の伸縮に対応するためにベローズ31を備えているとともに、ベローズ31の外側に位置して常温側外導体16bを軸方向の伸縮可能に支える複数本の外導体支持ロッド32を備えている。
また、高周波入力結合器10において、最も重要となるのは、常温から液体He温度相当の極低温に至る冷却過程で軸方向に沿った温度勾配を許容範囲に保つことであり、液体He温度(4°K)〜液体窒素温度(77°K)〜常温(300°K)の温度変化に対応して、剛性の低い内導体15に無理な応力が加わらないことが要求されている。
そのため、内導体15の軸方向の温度分布を検出する検出部35を備えている。検出部35は、支持ロッド26に取り付けられる熱電対36を備えている。熱電対36は、支持ロッド26の円筒部28の内部に挿入され、先端部36aが開口部29を通じて円筒部28の外部に突出されているとともに、内導体15(常温側内導体15b)に接触されている。
熱電対36は、内導体15の軸方向の温度分布を検出するために、内導体15の少なくとも軸方向の2箇所の測定点の温度を検出するように構成されている。
そして、高周波入力結合器10の組立時において、熱電対36を組み込んだ支持ロッド26を内導体15の内部に挿入して内導体15に接合することにより、支持ロッド26の側面から突出する熱電対36の先端部36aが内導体15に接触し、内導体15の軸方向の温度分布を検出可能となる。
また、熱電対36に不具合が生じ、熱電対36の交換をする場合、支持ロッド26の内導体15との結合を解除し、支持ロッド26を内導体15の内部から抜き外すことにより、熱電対36を取り出し、交換作業を行うことができる。
このように構成された高周波入力結合器10によれば、熱電対36を支持ロッド26に取り付け、支持ロッド26を内導体15の内部に挿入することにより、内導体15の軸方向の温度分布を検出することができるため、熱電対36の組立作業、および高周波入力結合器10の組立作業を容易にすることができ、また、熱電対36に不具合があった場合でも、支持ロッド26を内導体15から抜き外すことにより、熱電対36を内導体15から取り出すことができ、熱電対36の交換を簡単で、容易に復旧することができる。
しかも、熱電対36は、支持ロッド26の円筒部28の内部に挿入され、先端部36aが円筒部28の外部に突出して内導体15に接触するため、組立時に熱電対36が絡まったり、熱電対36に損傷を与えるのを防止できる。
なお、内導体15の測定点の温度を正確に検出するためには、熱電対36の先端部36aを内導体15にロウ付けなどにより接合することが理想的であるが、これは背景技術の項目でも説明したように、組立作業が難しくなるとともに、熱電対36の交換が難しくなって容易に復旧できない課題を有する。
本実施形態では、熱電対36を内導体15に接触させているだけの構成であるため、熱電対36と内導体15との接触熱抵抗(ギャップ・コンダクタンス)によって温度検出に誤差が生まれるおそれもあるが、検出部35は内導体15の軸方向の温度分布の絶対的な値を求めるためのものではなく、あくまでも軸方向に急激な温度勾配が生じていないことを把握するものであるため、このような構成でも十分にその目的を達成できる。
次に、図2および図3に第2の実施形態を示す。なお、第1の実施形態と同じ構成については同じ符号を用い、その構成および作用効果についての説明を省略する。
支持ロッド26の外側面に、内導体15に接触する接触部40が固定されている。接触部40は、内導体15に弾性的に圧接するばね41を有する金具42によって構成されている。熱電対36の先端部36aが接触部40のばね41に溶着して取り付けられている。
なお、第1の実施形態において、熱電対36の先端部36aと内導体15との接触が十分に確保されれば、実際の温度と測定値との誤差は小さいものと予想される。しかし、熱電対36の先端部36aと内導体15との接触が不十分であれば、ギャップコンダクタンスが大きくなり、実際の温度と測定値との誤差が大きくなる結果を招くものとなる。
第2の実施形態では、接触部40のばね41が内導体15に圧接し、接触部40と内導体15との接触が十分に確保されるため、熱電対36が接触部40を介して内導体15の温度を正確に測定することができ、実際の温度と測定値との測定誤差を小さくすることができる。
本発明のいくつかの実施形態を説明したが、これらの実施形態は、例として提示したものであり、発明の範囲を限定することは意図していない。これら新規な実施形態は、その他の様々な形態で実施されることが可能であり、発明の要旨を逸脱しない範囲で、種々の省略、置き換え、変更を行うことができる。これら実施形態やその変形は、発明の範囲や要旨に含まれるとともに、特許請求の範囲に記載された発明とその均等の範囲に含まれる。
10 高周波入力結合器
11 結合器本体
15 内導体
16 外導体
26 支持ロッド
28 円筒部
35 検出部
36 熱電対
40 接触部

Claims (3)

  1. 円筒状の内導体と円筒状の外導体とを同軸に有する結合器本体と、
    前記内導体の内部に挿入され、前記内導体を支持する支持ロッドと、
    前記支持ロッドに取り付けられ前記内導体の軸方向の温度分布を検出する熱電対を有する検出部と
    を具備することを特徴とする高周波入力結合器。
  2. 前記支持ロッドは、円筒部を有し、
    前記熱電対は、前記円筒部の内部を挿入されるとともに、先端が前記円筒部の外部に突出して前記内導体に接触されている
    ことを特徴とする請求項1記載の高周波入力結合器。
  3. 前記支持ロッドは、前記支持ロッドを前記内導体の内部に挿入した状態で前記内導体に圧接する接触部を有し、
    前記熱電対は、前記接触部に接合されている
    ことを特徴とする請求項1記載の高周波入力結合器。
JP2014243972A 2014-12-02 2014-12-02 高周波入力結合器 Pending JP2016110698A (ja)

Priority Applications (1)

Application Number Priority Date Filing Date Title
JP2014243972A JP2016110698A (ja) 2014-12-02 2014-12-02 高周波入力結合器

Applications Claiming Priority (1)

Application Number Priority Date Filing Date Title
JP2014243972A JP2016110698A (ja) 2014-12-02 2014-12-02 高周波入力結合器

Publications (1)

Publication Number Publication Date
JP2016110698A true JP2016110698A (ja) 2016-06-20

Family

ID=56124454

Family Applications (1)

Application Number Title Priority Date Filing Date
JP2014243972A Pending JP2016110698A (ja) 2014-12-02 2014-12-02 高周波入力結合器

Country Status (1)

Country Link
JP (1) JP2016110698A (ja)

Cited By (2)

* Cited by examiner, † Cited by third party
Publication number Priority date Publication date Assignee Title
EP3536132A4 (en) * 2016-11-03 2020-06-24 Starfire Industries LLC COMPACT SYSTEM FOR DIRECTLY COUPLING RF POWER IN HF LINACS
US11008650B2 (en) 2016-11-03 2021-05-18 Starfire Industries Llc Compact system for coupling RF power directly into RF linacs

Cited By (2)

* Cited by examiner, † Cited by third party
Publication number Priority date Publication date Assignee Title
EP3536132A4 (en) * 2016-11-03 2020-06-24 Starfire Industries LLC COMPACT SYSTEM FOR DIRECTLY COUPLING RF POWER IN HF LINACS
US11008650B2 (en) 2016-11-03 2021-05-18 Starfire Industries Llc Compact system for coupling RF power directly into RF linacs

Similar Documents

Publication Publication Date Title
US10720349B2 (en) Temperature measurement in multi-zone heater
CN108605406B (zh) 加速腔用输入耦合器以及加速器
KR102441541B1 (ko) 마운트, 상기 마운트를 포함하는 히터 및 상기 히터를 포함하는 증착 장치
JP4847522B2 (ja) 冷却要素を備えた電気設備及びこの設備を運転するための方法
JP6488132B2 (ja) 一体型電気接点を有する空気圧式検出器
JP6655531B2 (ja) 室温および高温の両方におけるホルダー内のプレートのセンタリング
JP2016110698A (ja) 高周波入力結合器
JP2019502889A5 (ja)
JP2013511705A (ja) センサー装置
WO2017065254A1 (ja) 加熱炉へのワーク搬出入装置
JP6966479B2 (ja) 熱スイッチを形成する方法
JP2015141848A (ja) 高周波入力結合器
KR20190053386A (ko) 공력가열 평가 장치 열부하 손실 방지용 단열 소켓
CN106771703A (zh) 霍尔推力器阳极热功率测量方法
Murari et al. An upgraded brazing technique to manufacture ceramic-metal joints for UHV applications
CN103071875B (zh) 小型医用回旋加速器高频窗异种材料部件钎焊工艺
JP3034714B2 (ja) ジョイント装置
EP4172614B1 (en) Heating assembly for a chromatography system
JP6556224B2 (ja) 腐食プローブ及び腐食プローブの取付方法
JP6207849B2 (ja) 同軸型高周波カプラおよびその製造方法
CN110400772B (zh) 静电卡盘和半导体加工设备
JP2006236797A (ja) 超伝導加速空洞
JP2020061242A (ja) 加速器用高周波カプラ
JP4853940B2 (ja) 高周波加熱装置における高周波電力測定装置
JP2016050714A (ja) 冷凍機用真空断熱モジュールケースと冷凍機

Legal Events

Date Code Title Description
A711 Notification of change in applicant

Free format text: JAPANESE INTERMEDIATE CODE: A711

Effective date: 20160506