JP2015507688A5 - - Google Patents
Download PDFInfo
- Publication number
- JP2015507688A5 JP2015507688A5 JP2014545923A JP2014545923A JP2015507688A5 JP 2015507688 A5 JP2015507688 A5 JP 2015507688A5 JP 2014545923 A JP2014545923 A JP 2014545923A JP 2014545923 A JP2014545923 A JP 2014545923A JP 2015507688 A5 JP2015507688 A5 JP 2015507688A5
- Authority
- JP
- Japan
- Prior art keywords
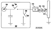
- plasma source
- voltage
- high voltage
- low voltage
- source
- Prior art date
- Legal status (The legal status is an assumption and is not a legal conclusion. Google has not performed a legal analysis and makes no representation as to the accuracy of the status listed.)
- Withdrawn
Links
- 238000000034 method Methods 0.000 claims 8
- 239000003990 capacitor Substances 0.000 claims 6
- 150000002500 ions Chemical class 0.000 claims 5
- 238000007599 discharging Methods 0.000 claims 4
- 238000000605 extraction Methods 0.000 claims 4
- 238000005468 ion implantation Methods 0.000 claims 3
- 238000010884 ion-beam technique Methods 0.000 claims 2
- 238000012544 monitoring process Methods 0.000 claims 1
Images
Applications Claiming Priority (3)
| Application Number | Priority Date | Filing Date | Title |
|---|---|---|---|
| US13/313,078 US8461554B1 (en) | 2011-12-07 | 2011-12-07 | Apparatus and method for charge neutralization during processing of a workpiece |
| US13/313,078 | 2011-12-07 | ||
| PCT/US2012/065813 WO2013085705A1 (en) | 2011-12-07 | 2012-11-19 | Apparatus and method for charge neutralization during processing of a workpiece |
Publications (2)
| Publication Number | Publication Date |
|---|---|
| JP2015507688A JP2015507688A (ja) | 2015-03-12 |
| JP2015507688A5 true JP2015507688A5 (enExample) | 2015-09-03 |
Family
ID=47326373
Family Applications (1)
| Application Number | Title | Priority Date | Filing Date |
|---|---|---|---|
| JP2014545923A Withdrawn JP2015507688A (ja) | 2011-12-07 | 2012-11-19 | ワークピースの処理中の電荷中和装置及び方法 |
Country Status (6)
| Country | Link |
|---|---|
| US (1) | US8461554B1 (enExample) |
| JP (1) | JP2015507688A (enExample) |
| KR (1) | KR20140108258A (enExample) |
| CN (1) | CN103975092A (enExample) |
| TW (1) | TW201324573A (enExample) |
| WO (1) | WO2013085705A1 (enExample) |
Families Citing this family (10)
| Publication number | Priority date | Publication date | Assignee | Title |
|---|---|---|---|---|
| US8541757B1 (en) * | 2012-08-14 | 2013-09-24 | Transmute, Inc. | Accelerator on a chip having a cold ion source |
| US9245761B2 (en) | 2013-04-05 | 2016-01-26 | Lam Research Corporation | Internal plasma grid for semiconductor fabrication |
| US9017526B2 (en) * | 2013-07-08 | 2015-04-28 | Lam Research Corporation | Ion beam etching system |
| JP6305703B2 (ja) * | 2013-08-07 | 2018-04-04 | 東芝メモリ株式会社 | 画像取得装置、画像取得方法及び欠陥検査装置 |
| US9460961B2 (en) * | 2014-08-05 | 2016-10-04 | Varian Semiconductor Equipment Associates, Inc. | Techniques and apparatus for anisotropic metal etching |
| KR20160022458A (ko) | 2014-08-19 | 2016-03-02 | 삼성전자주식회사 | 플라즈마 장비 및 이의 동작 방법 |
| FR3045206B1 (fr) | 2015-12-10 | 2020-01-03 | Ion Beam Services | Procede de commande pour un implanteur fonctionnant en immersion plasma |
| US10113229B2 (en) * | 2015-12-21 | 2018-10-30 | Varian Semiconductor Equipment Associates, Inc. | Techniques for controlling ion/neutral ratio of a plasma source |
| US10896808B2 (en) * | 2018-07-25 | 2021-01-19 | Lam Research Corporation | Maintenance mode power supply system |
| WO2024129472A1 (en) * | 2022-12-16 | 2024-06-20 | Lam Research Corporation | Method and apparatus to bias an electrostatic chuck |
Family Cites Families (10)
| Publication number | Priority date | Publication date | Assignee | Title |
|---|---|---|---|---|
| KR20010043738A (ko) * | 1998-05-22 | 2001-05-25 | 베리안 세미콘덕터 이큅먼트 어소시에이츠, 인크. | 저 에너지 이온 주입을 위한 방법 및 장치 |
| US6237527B1 (en) | 1999-08-06 | 2001-05-29 | Axcelis Technologies, Inc. | System for improving energy purity and implant consistency, and for minimizing charge accumulation of an implanted substrate |
| AU2001282327A1 (en) * | 2000-09-18 | 2002-04-02 | Axcelis Technologies, Inc. | System and method for controlling sputtering and deposition effects in a plasma immersion implantation device |
| US20090004836A1 (en) * | 2007-06-29 | 2009-01-01 | Varian Semiconductor Equipment Associates, Inc. | Plasma doping with enhanced charge neutralization |
| US7767986B2 (en) * | 2008-06-20 | 2010-08-03 | Varian Semiconductor Equipment Associates, Inc. | Method and apparatus for controlling beam current uniformity in an ion implanter |
| US8383001B2 (en) * | 2009-02-20 | 2013-02-26 | Tokyo Electron Limited | Plasma etching method, plasma etching apparatus and storage medium |
| US8101510B2 (en) * | 2009-04-03 | 2012-01-24 | Varian Semiconductor Equipment Associates, Inc. | Plasma processing apparatus |
| US8603591B2 (en) * | 2009-04-03 | 2013-12-10 | Varian Semiconductor Ewuipment Associates, Inc. | Enhanced etch and deposition profile control using plasma sheath engineering |
| US20110143527A1 (en) * | 2009-12-14 | 2011-06-16 | Varian Semiconductor Equipment Associates, Inc. | Techniques for generating uniform ion beam |
| US8907307B2 (en) * | 2011-03-11 | 2014-12-09 | Varian Semiconductor Equipment Associates, Inc. | Apparatus and method for maskless patterned implantation |
-
2011
- 2011-12-07 US US13/313,078 patent/US8461554B1/en active Active
-
2012
- 2012-11-19 CN CN201280060457.0A patent/CN103975092A/zh active Pending
- 2012-11-19 JP JP2014545923A patent/JP2015507688A/ja not_active Withdrawn
- 2012-11-19 KR KR1020147018703A patent/KR20140108258A/ko not_active Withdrawn
- 2012-11-19 WO PCT/US2012/065813 patent/WO2013085705A1/en not_active Ceased
- 2012-11-28 TW TW101144536A patent/TW201324573A/zh unknown
Similar Documents
| Publication | Publication Date | Title |
|---|---|---|
| JP2015507688A5 (enExample) | ||
| PH12020550678A1 (en) | Photovoltaic lighting system having integrated control board, and monitoring system using same | |
| US10730126B2 (en) | Power supply device for wire electric discharge machining | |
| EP4376061A3 (en) | Spatial and temporal control of ion bias voltage for plasma processing | |
| RU2019102208A (ru) | Электрически управляемая система, генерирующая аэрозоль, с перезаряжаемым блоком питания | |
| MX373727B (es) | Adaptador de alimentación eléctrica, equipo electrónico, sistema y método de carga de batería. | |
| MY187640A (en) | Switch failure monitoring in an electrically heated smoking system | |
| MY175365A (en) | Apparatus and method to electrically power an electric arc furnace | |
| WO2014132118A3 (en) | Methods of promoting droplet transfer and corresponding welding system for co2 globular transfer | |
| WO2015167756A3 (en) | Distribution of corona igniter power signal | |
| SE0701146L (sv) | Svetskraftaggregat, förfarande samt datorprogramprodukt | |
| EP2704281A3 (en) | Discharging circuit, image forming apparatus having the discharging circuit, and power supply unit | |
| JP2016213358A5 (enExample) | ||
| HRP20201202T1 (hr) | Uređaj za ablaciju iskre i postupak za generiranje nanočestica | |
| WO2016100262A8 (en) | Entropic energy transfer methods and circuits | |
| TWI614964B (zh) | 可快速低電壓充電的電池 | |
| EP2810732A3 (en) | ARC welding apparatus, ARC welding system, and ARC welding method | |
| JP2016154116A5 (enExample) | ||
| JP2009534791A5 (enExample) | ||
| MY186795A (en) | Regeneration method of nickel-hydrogen battery | |
| EP2497593A3 (en) | Electric discharge machine | |
| RU2013150078A (ru) | Искровое испарение углерода | |
| WO2017083005A3 (en) | Space plasma generator for ionospheric control | |
| CN207026652U (zh) | 电火花加工电源和加工装置 | |
| JP2016518954A5 (enExample) |