JP2015137451A - 可動式桟橋 - Google Patents

可動式桟橋 Download PDF

Info

Publication number
JP2015137451A
JP2015137451A JP2014007805A JP2014007805A JP2015137451A JP 2015137451 A JP2015137451 A JP 2015137451A JP 2014007805 A JP2014007805 A JP 2014007805A JP 2014007805 A JP2014007805 A JP 2014007805A JP 2015137451 A JP2015137451 A JP 2015137451A
Authority
JP
Japan
Prior art keywords
bridge girder
rotation mechanism
horizontal
movable
divided
Prior art date
Legal status (The legal status is an assumption and is not a legal conclusion. Google has not performed a legal analysis and makes no representation as to the accuracy of the status listed.)
Granted
Application number
JP2014007805A
Other languages
English (en)
Other versions
JP6336280B2 (ja
Inventor
好成 五木田
Yoshinari Itsukida
好成 五木田
岩月 哲三
Tetsuzo Iwatsuki
哲三 岩月
今村 一紀
Kazunori Imamura
一紀 今村
信也 泉
Shinya Izumi
泉  信也
田中 孝行
Takayuki Tanaka
孝行 田中
琢 齋藤
Takuma Saito
琢 齋藤
陽平 那須野
Yohei Nasuno
陽平 那須野
健次 岡山
Kenji Okayama
健次 岡山
圭祐 立野
Keisuke Tateno
圭祐 立野
望 野見山
Nozomi Nomiyama
望 野見山
Current Assignee (The listed assignees may be inaccurate. Google has not performed a legal analysis and makes no representation or warranty as to the accuracy of the list.)
KOUEN KK
Toa Corp
Original Assignee
KOUEN KK
Toa Corp
Priority date (The priority date is an assumption and is not a legal conclusion. Google has not performed a legal analysis and makes no representation as to the accuracy of the date listed.)
Filing date
Publication date
Application filed by KOUEN KK, Toa Corp filed Critical KOUEN KK
Priority to JP2014007805A priority Critical patent/JP6336280B2/ja
Publication of JP2015137451A publication Critical patent/JP2015137451A/ja
Application granted granted Critical
Publication of JP6336280B2 publication Critical patent/JP6336280B2/ja
Active legal-status Critical Current
Anticipated expiration legal-status Critical

Links

Images

Classifications

    • BPERFORMING OPERATIONS; TRANSPORTING
    • B63SHIPS OR OTHER WATERBORNE VESSELS; RELATED EQUIPMENT
    • B63BSHIPS OR OTHER WATERBORNE VESSELS; EQUIPMENT FOR SHIPPING 
    • B63B27/00Arrangement of ship-based loading or unloading equipment for cargo or passengers
    • B63B27/14Arrangement of ship-based loading or unloading equipment for cargo or passengers of ramps, gangways or outboard ladders ; Pilot lifts
    • BPERFORMING OPERATIONS; TRANSPORTING
    • B63SHIPS OR OTHER WATERBORNE VESSELS; RELATED EQUIPMENT
    • B63BSHIPS OR OTHER WATERBORNE VESSELS; EQUIPMENT FOR SHIPPING 
    • B63B27/00Arrangement of ship-based loading or unloading equipment for cargo or passengers
    • B63B27/30Arrangement of ship-based loading or unloading equipment for transfer at sea between ships or between ships and off-shore structures
    • BPERFORMING OPERATIONS; TRANSPORTING
    • B63SHIPS OR OTHER WATERBORNE VESSELS; RELATED EQUIPMENT
    • B63BSHIPS OR OTHER WATERBORNE VESSELS; EQUIPMENT FOR SHIPPING 
    • B63B17/00Vessels parts, details, or accessories, not otherwise provided for
    • B63B2017/0072Seaway compensators
    • BPERFORMING OPERATIONS; TRANSPORTING
    • B63SHIPS OR OTHER WATERBORNE VESSELS; RELATED EQUIPMENT
    • B63BSHIPS OR OTHER WATERBORNE VESSELS; EQUIPMENT FOR SHIPPING 
    • B63B27/00Arrangement of ship-based loading or unloading equipment for cargo or passengers
    • B63B27/14Arrangement of ship-based loading or unloading equipment for cargo or passengers of ramps, gangways or outboard ladders ; Pilot lifts
    • B63B2027/141Arrangement of ship-based loading or unloading equipment for cargo or passengers of ramps, gangways or outboard ladders ; Pilot lifts telescopically extendable

Landscapes

  • Chemical & Material Sciences (AREA)
  • Engineering & Computer Science (AREA)
  • Combustion & Propulsion (AREA)
  • Mechanical Engineering (AREA)
  • Ocean & Marine Engineering (AREA)
  • Bridges Or Land Bridges (AREA)

Abstract

【課題】予期できない突発的な波動に対しても橋桁部の動揺を抑制できる安定性に優れた可動式桟橋を提供する。
【解決手段】6自由度モーションベース2により支持された天板6aと、天板6aから横方向に延長された橋桁部7とを備えた可動式桟橋1の橋桁部7を複数の分割体7A、7B、7Cを長手方向に接続して構成し、水平回転機構8を介して接続した分割体7B、7Cを水平回転機構8を中心にして水平方向に回動可能にするとともに、上下回転機構9を介して接続した分割体7A、7Bを上下回転機構9を中心にして上下方向に回動可能にした。
【選択図】図1

Description

本発明は、可動式桟橋に関し、さらに詳しくは、予期できない突発的な波動に対しても橋桁部の動揺を抑制できる安定性に優れた可動式桟橋に関するものである。
船舶に乗船している人が陸地や水上に突設された構造物等の対象物に移動する場合には、例えば、船舶から延びる可動式桟橋を船舶と対象物との間に架け渡し、この可動式桟橋を渡って移動する。船舶は波動によって絶えず揺動するので、これに伴い可動式桟橋も動揺することになる。それ故、波が荒い場合には可動式桟橋は不安定になる。
そこで、例えば、6本のアクチュエータを有するパラレルリンク機構(6自由度モーションベース)を船舶に設置して、この6自由度モーションベースに支持された天板から可動式桟橋を延設することで揺動を抑えることが可能になる。6自由度モーションベースは、独立して伸縮する6本或いは3本のアクチュエータを有していて、これらアクチュエータの伸縮を制御することにより、天板を常に水平な静止状態に維持することができる(例えば、特許文献1参照)。
したがって、船舶の揺動(可動式桟橋の揺動)をセンサにより検知し、この検知したデータに基づいて、6自由度モーションベースを構成するアクチュエータを制御することにより、船舶から延設した可動式桟橋の揺動を抑制することができる。ここで、船舶の揺動を検知してからアクチュエータを作動させるまでには若干の時間を要するので、いわゆる追従遅れが生じる。そこで、検知した船舶の揺動データを用いて自己回帰モデルを作成し、このモデルを用いて船舶の揺動を予測した結果をフィードフォワードすることもできる。6自由度モーションベースを構成するアクチュエータに対して、このようなフィードフォワード制御等を行なうことにより、追従遅れが改善されるので、船舶から延設した可動式桟橋の揺動を抑制するには有利になる。しかしながら、実際の海上では、フィードフォワード等により予期できる波動だけでなく予期不能な突発的な波動も発生する。ある程度予期できる波動であれば、6自由度モーションベースを用いることにより、相当の揺動防止効果を得られるが、予期不能な突発的な波動に起因する可動式桟橋の揺動は抑制できないという問題がある。
特開平5−257922号公報
本発明の目的は、予期できない突発的な波動に対しても橋桁部の動揺を抑制できる安定性に優れた可動式桟橋を提供することにある。
上記目的を達成するため本発明の可動式桟橋は、6自由度モーションベースにより支持された天板と、この天板の上面から横方向に延長された橋桁部とを備えた可動式桟橋において、前記橋桁部が複数の分割体を長手方向に接続して構成され、長手方向に隣接する分割体どうしを接続する少なくとも1つの水平回転機構と、長手方向に隣接する分割体どうしを接続する少なくとも1つの上下回転機構とを備え、前記水平回転機構を中心にしてこの水平回転機構を介して接続される分割体を水平方向に回動可能にし、前記上下回転機構を中心にしてこの上下回転機構を介して接続される分割体を上下方向に回動可能にした構成にしたことを特徴とする。
本発明によれば、可動式桟橋を構成する橋桁部を6自由度モーションベースにより支持された天板の上面から横方向に延長したので、6自由度モーションベースによる天板の姿勢制御により、予期できる波動に対して橋桁部の揺動を抑制できる。加えて、橋桁部を複数の分割体を長手方向に接続して構成し、水平回転機構を中心にしてこの水平回転機構を介して接続される分割体を水平方向に回動可能にし、上下回転機構を中心にしてこの上下回転機構を介して接続される分割体を上下方向に回動可能にしたので、予期できない突発的な波動に対しては、水平回転機構および上下回転機構を中心にした分割体の回動によって、橋桁部の動揺を抑制することが可能になる。それ故、従来の可動式桟橋に比して優れた安定性を確保できる。
ここで、少なくとも1つの分割体を、長手方向に隣接して接続される相手側の分割体に対して長手方向に移動させることにより、前記橋桁部が伸縮する構成にすることもできる。前記水平回転機構による分割体の水平回動範囲角度を150°以上にして、前記水平回転機構を中心にして回動可能に互いに接続される一方の分割体を、他方の分割体の近傍位置まで水平方向に回動させて折り畳める構成にすることもできる。これらの構成によれば、橋桁部を使用しない時はコンパクトに収容することができる。
前記上下回転機構による分割体の上下回動範囲角度を90°以下に規制する規制部材を備えた構成にすることもできる。この構成によれば、上下回転機構を中心として上下に回動する分割体が大きく垂れ下がることを防止できる。それ故、垂れ下がった分割体を水平な位置まで戻すための労力を小さくできる。
前記橋桁部の先端に、この橋桁部を接続対象物に接続するためのマグネットを備えた構成にすることもできる。この構成によれば、橋桁部の先端を接続対象物に簡単に固定、或いは、仮固定することができ、接続対象物からの取り外しも容易に行える。
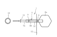
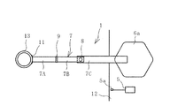
本発明の可動式桟橋を例示する正面図である。 図1の可動式桟橋の平面図である。 図1の6自由度モーションベースを例示する説明図ある。 水平回転機構による分割体の水平方向回動範囲を平面視で例示する説明図である。 上下回転機構による分割体の上下方向回動範囲を側面視で例示する説明図である。 橋桁部を伸ばしている状態を側面視で例示する説明図である。 橋桁部を伸ばしている状態を平面視で例示する説明図である。 橋桁部を収納した状態を平面視で例示する説明図である。 別の実施形態で橋桁部を収納した状態を平面視で例示する説明図である。
以下、本発明の可動式桟橋を図に示した実施形態に基づいて説明する。
図1〜図3に例示する本発明の可動式桟橋1の実施形態は、船舶12の上に配置されている。この可動式桟橋1は、天板6aと基板6bとの間に設置された6自由度モーションベース2と、天板6aの上面から横方向に延長された橋桁部7とを備えている。天板6aに支持板を載置して、この支持板から橋桁部7を延設する構成にすることもできる。
6自由度モーションベース2は、6本のアクチュエータ3a〜3fとそれぞれのアクチュエータ3a〜3fを伸縮させる駆動部4a〜4fと、これらアクチュエータ3a〜3f(駆動部4a〜4f)の動作を制御する制御部5とを有している。アクチュエータ3a〜3fには、高い出力が得られる油圧シリンダを用いるとよい。それぞれのアクチュエータ3a〜3fは上端部が回転リンクを介して天板6aに回転可能に接続され、下端部が回転リンクを介して基板6bに回転可能に接続されていて、それぞれが独立に制御されて伸縮できる構成になっている。
また、船舶12の揺動を逐次検知するジャイロセンサ等のセンサ5aも備わっている。センサ5aにより検知された揺動データは制御部5に逐次入力される。それぞれのアクチュエータ3a〜3fの伸縮(伸縮量)は、入力された揺動データに基づいて制御部5により逐次制御されることになる。
船舶12が波動により揺動しても、それぞれのアクチュエータ3a〜3fの伸縮を制御することにより、6自由度モーションベース2によって支持された天板6aは、水平を維持することが可能である。即ち、船12に生じるサージ(前後揺)、スウェイ(左右揺)、ヒーブ(上下揺)、ロール(横揺)、ピッチ(縦揺)、ヨー(船首揺)の各揺動を打ち消すように、それぞれのアクチュエータ3a〜3fを伸縮させることによって天板6aを水平に維持することができる。
人が通行する通路となる橋桁部7は、複数の分割体7A、7B、7Cが長手方向に接続して構成されている。この実施形態では分割体が3個であるがその数は例えば、2個、4個など適宜の数にすることができる。分割体7A、7B、7Cは、テレスコピック構造になっていて橋桁部7が伸縮する構成になっている。それぞれの分割体7A、7B、7Cの両側側面には手摺りが設けられている。
最先端となる分割体7Aの先端には、水上に突設された接続対象物13などに橋桁部7を接続するための接続固定具として機能するマグネット11が備わっている。マグネット11としては強力な固定力を得られる電磁式マグネットが好ましい。マグネット11に代えて、或いは、マグネット11に加えて別の接続固定具を設けることもできる。
この実施形態では、長手方向に隣接する分割体7B、7Cどうしが水平回転機構8を介して接続され、長手方向に隣接する分割体7A、7Bどうしが上下回転機構9を介して接続されている。水平回転機構8および上下回転機構9は、それぞれ1個に限らず複数設けることもできる。また、上下回転機構9が水平回転機構8よりも橋桁部7の先端側に配置されているが、水平回転機構8を上下回転機構9よりも先端側に配置した構成にすることもできる。
分割体7B、7Cは図4に例示するように、水平回転機構8を中心にして水平方向に回動可能に接続されている。即ち、分割体7B、7Cに対して上下に直交する回転軸を中心にして分割体7Bがいずれの周方向にも回動できるようになっている。水平回転機構8としては、例えば、回転台やこれに類似した機構を用いることができる。水平回転機構8を中心にした分割体7Bの水平方向の回動範囲角度Aは、30°以上にすることが好ましく、例えばこの角度Aを30°以上180°以下にする。水平左方向、水平右方向それぞれには少なくとも15°以上回動可能にする。
分割体7A、7Bは図5に例示するように、上下回転機構9を中心にして上下方向に回動可能に接続されている。即ち、分割体7A、7Bに対して水平に直交する回転軸を中心にして分割体7Aがいずれの周方向にも回動できるようになっている。上下回転機構9としては、例えば、いわゆるヒンジ機構やこれに類似した機構を用いることができる。
上下回転機構9を中心にした分割体7Aの上下方向の回動範囲角度Bは、例えば30°以上90°以下にする。上方向、下方向それぞれには少なくとも20°以上回動可能にする。上下方向の回動範囲が過大であると、分割体7Aが大きく垂れ下がることになるので、分割体7Aを水平な位置まで戻すために多大な労力(工数)が必要になる。そのため、上下回転機構9による分割体7A、7Bの上下方向の回動範囲を90°以下に規制する規制部材10を設けるとよい。この実施形態では、分割体7Bの先端部に規制部材10を長手方向に突設して、この規制部材10に分割体7Aの下面が当接してそれ以上回動できない構成になっている。
次に、この可動式桟橋1の使用方法を、船舶12から水上に突設された風力発電機の基柱を接続対象物13として、この接続対象物13に乗船している人を移動させる場合を例にして説明する。
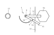
まず、接続対象物13と所定の間隔をあけて船舶12を停止させる。次いで、図6、図7に例示するように収縮状態の橋桁部7を、分割体7A、7Bを長手方向に沿って接続対象物13に向かって前進させることにより伸長させる。この実施形態では、水平回転機構8が分割体7Bの下面に固定されていて、分割体7Bとともに水平回転機構8が前進する構成になっている。即ち、水平回転機構8が分割体7Bとともに橋桁部7の長手方向に移動可能に構成されている。
橋桁部7の先端部が接続対象物13に到達したら、図1、2に例示するように、マグネット11を介して橋桁部7の先端部を接続対象物13に接続して橋桁部7を接続対象物17に固定、或いは仮固定する。マグネット11を用いることにより、橋桁部7と接続対象物13との着脱が容易、迅速に行える。マグネット11の固定力では不十分な場合は、マグネット11に代えて、或いは、マグネット11に加えて別の接続固定具を用いて橋桁部7を接続対象物13に接続、固定する。
橋桁部7により船舶12と接続対象物13とが接続された後は、乗船していた人はこの橋桁部7と通じて船舶12と接続対象物13との間を往来する。船舶12はその海域の周期的な波動によって揺動し、これに伴って橋桁部7も揺動することになる。ここで、本発明の可動式桟橋1では、センサ5aにより検知された船舶12の揺動データに基づいて、波動による天板6aの揺動を相殺するように、それぞれのアクチュエータ3a〜3fの伸縮を制御して天板6aの姿勢制御を行なう。これにより、天板6aは概ね水平に維持され、これに伴い、橋桁部7の揺動が抑制される。
センサ5aが船舶12の揺動を検知してからそれぞれのアクチュエータ3a〜3fが実際に伸縮作動するまでには若干の時間を要するので、いわゆる追従遅れが生じる。そこで、センサ5aにより検知した船舶12の揺動データを用いて自己回帰モデルを作成し、このモデルを用いて船舶12の揺動を予測した結果をフィードフォワードするとよい。アクチュエータ3a〜3fに対して、このようなフィードフォワード制御等を行なうことにより、追従遅れが改善されるので橋桁部7の揺動を一段と抑制することができる。即ち、6自由度モーションベース2を用いることにより、ある程度予期可能な波動に対して橋桁部7の揺動を抑制できることになる。
一方、フィードフォワード等によって予期することができない突発的な波動に対しては、水平回転機構8を中心として分割体7B、7Cが水平回動するとともに、上下回転機構9を中心にして分割体7A、7Bが上下回動する。これらの分割体7A、7Bの回動によって、突発的な波動に起因する橋桁部7の揺動がある程度吸収されるので、複雑な機構を用いることなく、橋桁部7の動揺を抑制することが可能になる。それ故、従来の可動式桟橋に比して優れた安定性を確保できる。
橋桁部7を使用しない時は、図8に例示するように、分割体7A、7Bを長手方向に後退させて橋桁部7を収縮した状態にできる。それ故、橋桁部7が専有するスペースを小さくすることができ、スペースに厳しい制約がある船舶12にとっては非常に有益である。
分割体7A、7Bが長手方向に前進、後退させて橋桁部7を伸縮させる構成にする代わりに、或いは、この構成に加えて、図9に例示する実施形態のように、水平回転機構8による分割体7Bの水平方向の回動範囲角度Aを150°以上した構成にすることもできる。このように、水平方向の回動範囲角度Aを150°以上180°以下に設定して、一方の分割体7Bを他方の分割体7Cの近傍位置まで回動可能にすれば、橋桁部7をコンパクトに折り畳んで収容することができる。尚、分割体7Cに設けられた手摺りが、橋桁部7を折り畳む際に邪魔になる場合は、手摺りを例えば着脱可能な仕様にする。
上記のように橋桁部7を折り畳んだ後、或いは、折り畳む前に分割体7A、7Bを分割体7Cの長手方向に沿って後退(船舶に近接する方向移動)させると、橋桁部7を一段とコンパクトに収容できる。
尚、本発明に用いる6自由度モーションベース2は、実施形態で例示したものに限定されず、6自由度のすべての動きを与えて、天板6aを常に水平な静止状態に維持できるものであればよい。
1 可動式桟橋
2 6自由度モーションベース
3a〜3f アクチュエータ
4a〜4f 駆動部
5 制御部
5a センサ
6a 天板
6b 基板
7 橋桁部
7A、7B、7C 分割体
8 水平回転機構
9 上下回転機構
10 規制部材
11 マグネット(接続固定具)
12 船舶
13 接続対象物

Claims (5)

  1. 6自由度モーションベースにより支持された天板と、この天板の上面から横方向に延長された橋桁部とを備えた可動式桟橋において、
    前記橋桁部が複数の分割体を長手方向に接続して構成され、長手方向に隣接する分割体どうしを接続する少なくとも1つの水平回転機構と、長手方向に隣接する分割体どうしを接続する少なくとも1つの上下回転機構とを備え、前記水平回転機構を中心にしてこの水平回転機構を介して接続される分割体を水平方向に回動可能にし、前記上下回転機構を中心にしてこの上下回転機構を介して接続される分割体を上下方向に回動可能にした構成にしたことを特徴とする可動式桟橋。
  2. 少なくとも1つの分割体を、長手方向に隣接して接続される相手側の分割体に対して長手方向に移動させることにより、前記橋桁部が伸縮する構成にした請求項1に記載の可動式桟橋。
  3. 前記水平回転機構による分割体の水平回動範囲角度を150°以上にして、前記水平回転機構を中心にして回動可能に互いに接続される一方の分割体を、他方の分割体の近傍位置まで水平方向に回動させて折り畳める構成にした請求項1または2に記載の可動式桟橋。
  4. 前記上下回転機構による分割体の上下回動範囲角度を90°以下に規制する規制部材を備えた請求項1〜3のいずれかに記載の可動式桟橋。
  5. 前記橋桁部の先端に、この橋桁部を接続対象物に接続するためのマグネットを備えた請求項1〜4のいずれかに記載の可動式桟橋。
JP2014007805A 2014-01-20 2014-01-20 可動式桟橋 Active JP6336280B2 (ja)

Priority Applications (1)

Application Number Priority Date Filing Date Title
JP2014007805A JP6336280B2 (ja) 2014-01-20 2014-01-20 可動式桟橋

Applications Claiming Priority (1)

Application Number Priority Date Filing Date Title
JP2014007805A JP6336280B2 (ja) 2014-01-20 2014-01-20 可動式桟橋

Publications (2)

Publication Number Publication Date
JP2015137451A true JP2015137451A (ja) 2015-07-30
JP6336280B2 JP6336280B2 (ja) 2018-06-06

Family

ID=53768664

Family Applications (1)

Application Number Title Priority Date Filing Date
JP2014007805A Active JP6336280B2 (ja) 2014-01-20 2014-01-20 可動式桟橋

Country Status (1)

Country Link
JP (1) JP6336280B2 (ja)

Cited By (4)

* Cited by examiner, † Cited by third party
Publication number Priority date Publication date Assignee Title
JP2017057553A (ja) * 2015-09-14 2017-03-23 東亜建設工業株式会社 可動式桟橋
JP2018138722A (ja) * 2017-02-24 2018-09-06 日本無線株式会社 動揺補正装置
CN110565502A (zh) * 2019-09-16 2019-12-13 长安大学 一种折叠桥梁及其使用方法
NL2027115B1 (en) * 2020-12-15 2022-07-08 Ampelmann Holding B V A gangway structure, a vessel and a method

Citations (6)

* Cited by examiner, † Cited by third party
Publication number Priority date Publication date Assignee Title
JPS6022512U (ja) * 1983-07-18 1985-02-16 日本鋼管株式会社 浮ドツク用桟橋
JPH01125798U (ja) * 1988-02-22 1989-08-28
US5586516A (en) * 1994-09-06 1996-12-24 Services Algoa International Anstalt Relating to boarding ramps
JP2007009423A (ja) * 2005-06-28 2007-01-18 Ishikawajima Harima Heavy Ind Co Ltd 旅客乗降設備
US20120137450A1 (en) * 2009-07-06 2012-06-07 Asbjoern Nes Construction of a Walkway
US20130212812A1 (en) * 2010-08-13 2013-08-22 Ampelmann Operations B.V. Vessel, a motion platform, a control system, a method for compensating motions of a vessel and a computer program product

Patent Citations (6)

* Cited by examiner, † Cited by third party
Publication number Priority date Publication date Assignee Title
JPS6022512U (ja) * 1983-07-18 1985-02-16 日本鋼管株式会社 浮ドツク用桟橋
JPH01125798U (ja) * 1988-02-22 1989-08-28
US5586516A (en) * 1994-09-06 1996-12-24 Services Algoa International Anstalt Relating to boarding ramps
JP2007009423A (ja) * 2005-06-28 2007-01-18 Ishikawajima Harima Heavy Ind Co Ltd 旅客乗降設備
US20120137450A1 (en) * 2009-07-06 2012-06-07 Asbjoern Nes Construction of a Walkway
US20130212812A1 (en) * 2010-08-13 2013-08-22 Ampelmann Operations B.V. Vessel, a motion platform, a control system, a method for compensating motions of a vessel and a computer program product

Cited By (5)

* Cited by examiner, † Cited by third party
Publication number Priority date Publication date Assignee Title
JP2017057553A (ja) * 2015-09-14 2017-03-23 東亜建設工業株式会社 可動式桟橋
JP2018138722A (ja) * 2017-02-24 2018-09-06 日本無線株式会社 動揺補正装置
CN110565502A (zh) * 2019-09-16 2019-12-13 长安大学 一种折叠桥梁及其使用方法
CN110565502B (zh) * 2019-09-16 2024-04-12 长安大学 一种折叠桥梁及其使用方法
NL2027115B1 (en) * 2020-12-15 2022-07-08 Ampelmann Holding B V A gangway structure, a vessel and a method

Also Published As

Publication number Publication date
JP6336280B2 (ja) 2018-06-06

Similar Documents

Publication Publication Date Title
JP6487798B2 (ja) 可動式桟橋
JP6336280B2 (ja) 可動式桟橋
CN109311525B (zh) 用于将人员和设备从第一装置转移到第二装置的通道
RU2020102261A (ru) Порождающий движение платформенный модуль
RU2017102916A (ru) Выравнивающая группа для автовышек
US20130134260A1 (en) Reduced dimensions platform for the landing of an aircraft on an access facility
WO2013174886A1 (en) Vessel gangway system
FI4186849T3 (fi) Menetelmä ja järjestelmä työkoneen puomiston ohjaamiseksi käyttämällä kärkiohjausta
JP2017513763A5 (ja)
CA2994100A1 (en) Load control apparatus
JP2019507054A5 (ja)
JP2017057553A (ja) 可動式桟橋
KR101141594B1 (ko) 평형 유지 크레인 및 이를 장착한 선박
NL2014726B1 (en) Cantilever system for an offshore platform.
CN101975028A (zh) 浮式钻井井架实时调平底座
CN106089102A (zh) 海上钻机自调平系统
KR101205345B1 (ko) 펜더 장치 및 그 장치를 구비한 선박
JP2014108865A (ja) クレーン先端の振動抑制方法および海上作業船
CN114802587A (zh) 主动位移补偿式超稳四体船
JP7433710B2 (ja) 転落防止機構
JP5763350B2 (ja) ロボット用肢体駆動機構、およびこの肢体駆動機構を用いたロボット装置
KR20240010984A (ko) 부유식구조물
CN108137141B (zh) 具有可移动悬臂的海上系统
CN105502180A (zh) 起吊装置及云梯消防车
NL2006942C2 (en) A vessel comprising a lifting device.

Legal Events

Date Code Title Description
A621 Written request for application examination

Free format text: JAPANESE INTERMEDIATE CODE: A621

Effective date: 20161108

A977 Report on retrieval

Free format text: JAPANESE INTERMEDIATE CODE: A971007

Effective date: 20170914

A131 Notification of reasons for refusal

Free format text: JAPANESE INTERMEDIATE CODE: A131

Effective date: 20170919

A521 Request for written amendment filed

Free format text: JAPANESE INTERMEDIATE CODE: A523

Effective date: 20171107

TRDD Decision of grant or rejection written
A01 Written decision to grant a patent or to grant a registration (utility model)

Free format text: JAPANESE INTERMEDIATE CODE: A01

Effective date: 20180417

A61 First payment of annual fees (during grant procedure)

Free format text: JAPANESE INTERMEDIATE CODE: A61

Effective date: 20180502

R150 Certificate of patent or registration of utility model

Ref document number: 6336280

Country of ref document: JP

Free format text: JAPANESE INTERMEDIATE CODE: R150

R250 Receipt of annual fees

Free format text: JAPANESE INTERMEDIATE CODE: R250

R250 Receipt of annual fees

Free format text: JAPANESE INTERMEDIATE CODE: R250

R250 Receipt of annual fees

Free format text: JAPANESE INTERMEDIATE CODE: R250

R250 Receipt of annual fees

Free format text: JAPANESE INTERMEDIATE CODE: R250

R250 Receipt of annual fees

Free format text: JAPANESE INTERMEDIATE CODE: R250