JP2015114363A - 光通信モジュール及び光通信装置 - Google Patents

光通信モジュール及び光通信装置 Download PDF

Info

Publication number
JP2015114363A
JP2015114363A JP2013254021A JP2013254021A JP2015114363A JP 2015114363 A JP2015114363 A JP 2015114363A JP 2013254021 A JP2013254021 A JP 2013254021A JP 2013254021 A JP2013254021 A JP 2013254021A JP 2015114363 A JP2015114363 A JP 2015114363A
Authority
JP
Japan
Prior art keywords
optical communication
optical
optical fiber
communication module
photoelectric conversion
Prior art date
Legal status (The legal status is an assumption and is not a legal conclusion. Google has not performed a legal analysis and makes no representation as to the accuracy of the status listed.)
Granted
Application number
JP2013254021A
Other languages
English (en)
Other versions
JP6159239B2 (ja
Inventor
明 小倉
Akira Ogura
明 小倉
正尭 佐藤
Masaaki Sato
正尭 佐藤
晋路 小松崎
Shinji Komatsuzaki
晋路 小松崎
山嵜 欣哉
Kinya Yamazaki
欣哉 山嵜
Current Assignee (The listed assignees may be inaccurate. Google has not performed a legal analysis and makes no representation or warranty as to the accuracy of the list.)
Proterial Ltd
Original Assignee
Hitachi Metals Ltd
Priority date (The priority date is an assumption and is not a legal conclusion. Google has not performed a legal analysis and makes no representation as to the accuracy of the date listed.)
Filing date
Publication date
Application filed by Hitachi Metals Ltd filed Critical Hitachi Metals Ltd
Priority to JP2013254021A priority Critical patent/JP6159239B2/ja
Priority to US14/542,968 priority patent/US9366833B2/en
Publication of JP2015114363A publication Critical patent/JP2015114363A/ja
Application granted granted Critical
Publication of JP6159239B2 publication Critical patent/JP6159239B2/ja
Expired - Fee Related legal-status Critical Current
Anticipated expiration legal-status Critical

Links

Images

Classifications

    • GPHYSICS
    • G02OPTICS
    • G02BOPTICAL ELEMENTS, SYSTEMS OR APPARATUS
    • G02B6/00Light guides; Structural details of arrangements comprising light guides and other optical elements, e.g. couplings
    • G02B6/24Coupling light guides
    • G02B6/42Coupling light guides with opto-electronic elements
    • G02B6/4201Packages, e.g. shape, construction, internal or external details
    • G02B6/4249Packages, e.g. shape, construction, internal or external details comprising arrays of active devices and fibres
    • GPHYSICS
    • G02OPTICS
    • G02BOPTICAL ELEMENTS, SYSTEMS OR APPARATUS
    • G02B6/00Light guides; Structural details of arrangements comprising light guides and other optical elements, e.g. couplings
    • G02B6/24Coupling light guides
    • G02B6/42Coupling light guides with opto-electronic elements
    • G02B6/4201Packages, e.g. shape, construction, internal or external details
    • G02B6/4204Packages, e.g. shape, construction, internal or external details the coupling comprising intermediate optical elements, e.g. lenses, holograms
    • G02B6/4206Optical features
    • GPHYSICS
    • G02OPTICS
    • G02BOPTICAL ELEMENTS, SYSTEMS OR APPARATUS
    • G02B6/00Light guides; Structural details of arrangements comprising light guides and other optical elements, e.g. couplings
    • G02B6/24Coupling light guides
    • G02B6/42Coupling light guides with opto-electronic elements
    • G02B6/4201Packages, e.g. shape, construction, internal or external details
    • G02B6/4204Packages, e.g. shape, construction, internal or external details the coupling comprising intermediate optical elements, e.g. lenses, holograms
    • G02B6/4214Packages, e.g. shape, construction, internal or external details the coupling comprising intermediate optical elements, e.g. lenses, holograms the intermediate optical element having redirecting reflective means, e.g. mirrors, prisms for deflecting the radiation from horizontal to down- or upward direction toward a device

Landscapes

  • Physics & Mathematics (AREA)
  • General Physics & Mathematics (AREA)
  • Optics & Photonics (AREA)
  • Optical Couplings Of Light Guides (AREA)
  • Semiconductor Lasers (AREA)
  • Light Receiving Elements (AREA)

Abstract

【課題】回路基板に複数の光通信モジュールを高密度に配置することができ、回路基板における光通信モジュールが占める面積を削減することが可能な光通信モジュールを提供する。また、回路基板に複数の光通信モジュールを高密度に配置することにより、小型化が可能な光通信装置を提供する。【解決手段】光通信モジュール2は、発光素子34及び受光素子35に光学的に結合された光ファイバ40と、光ファイバ40の端部及び発光素子34ならびに受光素子35を収容する収容部材31と、収容部材31の外面から突出して直線状に配列された複数の電極32aとを備え、光ファイバ40は、複数の電極32aの並び方向に平行な方向に対して傾斜した方向に沿って収容部材31の外面から引き出されている。【選択図】図1

Description

本発明は、光通信モジュール及び光通信装置に関する。
従来、伝送媒体として光ファイバを用いた光通信を行うための光通信モジュールが知られている(例えば、特許文献1参照)。
特許文献1に記載の光通信モジュールは、光ファイバに光学的に結合された光素子と、光素子が実装されたシリコン基板と、光ファイバを保持する光コネクタフェルールと、光素子,シリコン基板,及び光コネクタフェルールを封止(収容)する直方形状の封止部材とを備えている。光ファイバは、光コネクタフェルールの端面から封止部材の長手方向に沿って引き出されている。
特開2004−29710号公報
ところで、光ファイバは一般に許容曲げ半径が規定されており、その許容曲げ半径よりも小さい曲率半径で屈曲すると、光ファイバが断線したり光学特性が劣化したりするおそれがある。そのため、封止部材から引き出された光ファイバは、許容曲げ半径未満の曲率半径で屈曲されないように、封止部材からの引き出し方向に突出して引き回される。
図9は、6個の従来の光通信モジュール8を2列に向かい合わせて回路基板7上に配置した状態を示す平面図である。図9に示す光通信モジュール8は、封止部材によって封止された本体部80と、本体部80から導出された光ファイバ81とを有し、複数の光通信モジュール8の本体部80が2列に平行配置されている。
それぞれの列には3つの光通信モジュール8の本体部80が直線状に配列され、各光通信モジュール8の光ファイバ81が、各列における3つの光通信モジュール8の配列方向と平行となるように、双方の列における光通信モジュール8の本体部80の間において、回路基板7上に引き回されている。
前述のように、光ファイバ81は所定の許容曲げ半径よりも小さい曲率半径で屈曲することができないので、光ファイバ81を挟んで向かい合う一対の光通信モジュール8の本体部80の間の距離Dは、光ファイバ81の許容曲げ半径の2倍の寸法よりも小さくすることはできない。
また、回路基板7上において光ファイバ81が引き回される領域には、光ファイバ81の引き回しの障害となる電子部品を実装することができないため、各光通信モジュール8の本体部80が配置される領域のみならず、光ファイバ81が引き回される領域をも複数の光通信モジュール8の配置領域として確保する必要がある。その結果、光通信モジュール8が回路基板7上に占める面積が増大し、回路基板7における部品実装の高密度化を妨げる要因となっていた。
そこで、本発明の目的は、回路基板に複数の光通信モジュールを高密度に配置することができ、回路基板における光通信モジュールが占める面積を削減することが可能な光通信モジュールを提供することにある。また、本発明の別の目的は、回路基板に複数の光通信モジュールを高密度に配置することにより、小型化が可能な光通信装置を提供することにある。
本発明は、上記課題を解決することを目的として、光信号を電気信号に、又は電気信号を光信号に変換する光電変換素子と、前記光電変換素子に光学的に結合された光ファイバと、前記光ファイバの端部及び前記光電変換素子を収容する収容部材と、前記収容部材の外面から突出して直線状に配列された複数の電極とを備え、前記光ファイバは、前記複数の電極の並び方向に平行な方向に対して傾斜した方向に沿って前記収容部材の外面から引き出されている光通信モジュールを提供する。
また、本発明は、上記課題を解決することを目的として、配線パターンが形成された回路基板、及び前記回路基板上に配置された複数の光通信モジュールを備え、前記光通信モジュールは、光信号を電気信号に又は電気信号を光信号に変換する光電変換素子、及び前記光電変換素子を収容する収容部材を有する本体部と、前記光電変換素子に光学的に結合されて前記収容部材の外面から引き出された光ファイバとを備え、前記光通信モジュールの前記本体部が前記回路基板上に所定の並び方向に沿って配列され、前記光ファイバは、前記所定の並び方向に平行な方向に対して傾斜した方向に沿って前記収容部材の外面から引き出されている光通信装置を提供する。
本発明によれば、回路基板において光通信モジュールが占める面積を削減し、回路基板に複数の光通信モジュールを高密度に配置することができる。ひいては、光通信装置を小型化することが可能となる。
本発明の実施の形態に係る光通信装置の構成例を示す斜視図である。 光通信モジュールの外観を示す斜視図である。 光通信モジュールを示し、(a)は正面図、(b)は左側面図、(c)は平面図、(d)は右側面図、(e)は背面図、(f)は底面図である。 図3のA−A線断面図である。 光通信装置の構成を示す平面図である。 実施の形態に係る光通信モジュールの拡大図である。 比較例に係る光通信モジュールの拡大図である。 実施の形態の変形例に係る光通信モジュールの構成を示す平面図である。 従来の光通信装置の構成例を示す模式図である。
[実施の形態]
図1は、本実施の形態における光通信装置1の構成例を示す斜視図である。
光通信装置1は、配線パターンが形成された回路基板10と、回路基板10に配置された複数の光通信モジュール2と、回路基板10に実装された複数のCPU(Central Processing Unit)11とを有している。
回路基板10は、例えばガラスエポキシ基板からなり、所定の厚みを有する板状に形成されている。回路基板10には、光通信モジュール2との接続のためのコネクタ(図示せず)が実装されている。
CPU11は、回路基板10の配線パターン及びコネクタ(図示せず)を介して光通信モジュール2と電気的に接続され、光通信モジュール2との電気信号の授受を行う。具体的に、CPU11は、光通信装置1から送出すべき信号を電気信号として光通信モジュール2に出力し、この電気信号を受けた光通信モジュール2は、入力された電気信号を光信号に変換して他の通信装置に送出する。また、CPU11は、他の通信装置から送出された光信号が光通信モジュール2で変換された電気信号を受け取り、その電気信号に基づいて所定の情報処理を行う。
光通信モジュール2は、回路基板10に対向する底面が六角形状(長方形の長手方向の一方の端部における2つの角部が面取りされた形状)に形成され、本体部30と、本体部30から導出された複数の光ファイバ40からなる光ケーブル4とを有している。光ケーブル4における複数の光ファイバ40には、光通信モジュール2から送出される光信号を伝搬する送信用の複数の光ファイバ40と、光通信モジュール2で受信される光信号を伝搬する受信用の複数の光ファイバ40とが含まれる。
本実施の形態では、回路基板10に6つの光通信モジュール2が3つずつ2列に配列され、それぞれの列における光通信モジュール2の間から矢印X方向に光ケーブル4が引き回されている。この矢印X方向は、各列における複数の光通信モジュール2の本体部30の並び方向に平行である。つまり、複数の光通信モジュール2は、それぞれの本体部30が回路基板10上に所定の並び方向に沿って配列され、光ケーブル4がこの所定の並び方向(矢印X方向)に沿うように回路基板10上に引き回されている。また、本実施の形態では、光ケーブル4に、4本の送信用の光ファイバ40と、同じく4本の受信用の光ファイバ40とが含まれている。
また、図1に示すように、光ケーブル4の複数の光ファイバ40は、回路基板10上における複数の光通信モジュール2のそれぞれの本体部30の並び方向に平行な方向に対して傾斜した方向に沿って収容部材31の外面から引き出されている。
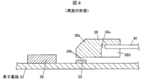
図2は、実施の形態に係る光通信モジュール2の構成例を示す斜視図である。図3は、光通信モジュール2を示し、(a)は正面図、(b)は左側面図、(c)は平面図、(d)は右側面図、(e)は背面図、(f)は底面図である。図4は、図3(c)におけるA−A線断面図である。なお、図4では、収容部材31の図示を省略している。
光通信モジュール2の本体部30は、樹脂からなる収容部材31と、収容部材31の外面(後述する底面31h)から突出したコネクタ部32と、収容部材31に収容された素子基板33とを有している。また、本体部30は、収容部材31の内部において素子基板33に実装された発光素子34,受光素子35,レンズ部材36,ドライバIC38,及びプリアンプIC39を有している。
収容部材31は、コネクタ部32が突出する底面31hと、その反対側の上面31gとの間に、複数の光ファイバ40が引き出される第1の側面としての第1傾斜面31bと、第1傾斜面31bに対して鈍角に交差する第2の側面としての正面31aと、正面31aにおける第1傾斜面31b側とは反対側で正面31aに対して鈍角に交差する第3の側面としての第2傾斜面31cとを有している。また、収容部材31は、底面31hと上面31gとの間に、左側面31d,右側面31e,及び背面31fを有している。
左側面31dと右側面31eとは互いに平行であり、かつ背面31fに直交している。正面31aと背面31fとは互いに平行である。底面31h及び上面31gは、左側面31d及び右側面31eに平行な方向に長手方向を有し、この長手方向に直交する短手方向が正面31a及び背面31fと平行である。
なお、各面の名称は、説明の明確化のために示したものであり、実際の使用状態における光通信モジュール2の向き等を限定するものではない。また、収容部材31の外面に上記各面以外の面が形成されていてもよい。
コネクタ部32は、収容部材31の底面31hにおいて、底面31hの長手方向における正面31aよりも背面31f側に近い位置、すなわち光ファイバ40が引き出される第1傾斜面31bとは反対側の背面31fの底面31h側から突出し、底面31hの短手方向に沿って延在している。コネクタ部32には、直線状に配列された複数(本実施の形態では16個)の電極32aが設けられ、これら複数の電極32aが底面31hの短手方向に沿って並んでいる。
光通信モジュール2は、回路基板10に実装されたコネクタにコネクタ部32が嵌合することにより、コネクタ部32における複数の電極32aを介して回路基板10から電源の供給を受けると共に、回路基板10に実装されたCPU11との電気信号の授受を行う。
複数の光ファイバ40は、第1傾斜面31bから突出して取り付けられた弾性を有する保持部材400に弾性的に保持されている。これにより、第1傾斜面31b付近において光ファイバ40が大きな曲率で曲げられることによる損傷が抑制されている。
複数の光ファイバ40は、コネクタ部32に形成された複数の電極32aの並び方向に平行な方向に対して傾斜した方向に沿って収容部材31の第1傾斜面31bから引き出されている。より詳細には、複数の光ファイバ40は、複数の電極32aの並び方向に平行で、かつ正面31aを通る直線Oに対して所定角度θだけ傾斜した方向(矢印Y方向)に沿って収容部材31の第1傾斜面31bから引き出されている。
この所定角度θの望ましい範囲は45±15°(30°〜60°)である。本実施の形態では、所定角度θが45°に設定されている。θが60°を越えると光通信モジュール2の本体部30を高密度に実装できる効果が乏しくなり、θが30°未満であると、隣り合う他の光通信モジュール2の本体部30に光ファイバ40が干渉しやすくなる。
なお、本実施の形態では、複数の光ファイバ40が第1傾斜面31bに直交する方向に沿って引き出されているが、複数の光ファイバ40が複数の電極32aの並び方向に平行な方向に対して傾斜した方向に沿って引き出されていれば、その引き出し方向が第1傾斜面31bに直交していなくともよい。
図3(c)に示すように、収容部材31の内部には、発光素子34,受光素子35,レンズ部材36,ドライバIC38,及びプリアンプIC39が、光ファイバ40の引き出し方向に沿うように、複数の電極32aの並び方向に対して傾斜して配置されている。また、発光素子34と受光素子35とは、光ファイバ40の引き出し方向と直交する方向に沿って並置されている。本実施の形態では、1つの発光素子34及び単1つの受光素子35が配置されているが、例えば複数の発光素子34又は受光素子35が光ファイバ40の引き出し方向と直交する方向に沿って並置されていてもよい。
発光素子34は、電気信号を光信号に変換する光電変換素子であり、CPU11から供給された電気信号に応じてレーザー光を発光する。発光素子34としては、例えばファブリペローレーザーやDFB(Distributed Feedback;分散帰還型)レーザまたはVCSEL(Vertical Cavity Surface Emitting Laser)等を用いることができる。
受光素子35は、光信号を電気信号に変換する光電変換素子であり、光ファイバ40を伝搬して来た光に応じた電気信号を出力する。受光素子35としては、例えばフォトダイオードを用いることができる。
レンズ部材36は、図4に示すように、素子基板33との間に発光素子34及び受光素子35を挟むように配置されている。レンズ部材36は、光ファイバ40を伝搬する光信号の波長において透光性を有する例えばPMMA(ポリメチルメタクリレート(アクリル))等の樹脂からなる。また、レンズ部材36は、光ファイバ40又は発光素子34からの入射光の光路を90°変換する反射面36aと、発光素子34及び受光素子35と対向する面に形成された第1レンズ部36bと、光ファイバ40の端面と対向する面に形成された第2レンズ部36cとが形成されている。また、レンズ部材36には、第1傾斜面31b側の端面に開口し、光ファイバ40の端部を収容する収容溝360が形成されている。
発光素子34から素子基板33に対して反対方向に垂直に出射された拡散光はレンズ部材36の第1レンズ部36bに入射して、平行光となる。第1レンズ部36bを通過した光は、反射面36aで内部反射されて素子基板33に平行に進み、第2レンズ部36cに入射される。入射された光は、第2レンズ部36cによって、収容溝360に収容された送信用の光ファイバ40の端部に集光される。また、受信用の光ファイバ40から出射された光は、素子基板33に平行に進んで第2レンズ部36cに入射して平行光となる。第2レンズ部36cを通過した光は、反射面36aで反射され、第1レンズ部36bによって、素子基板33に配設された受光素子35に集光される。このように、発光素子34と送信用の光ファイバ40、及び受光素子35と受信用の光ファイバ40は、単一のレンズ部材36によって光学的に結合されている。
ドライバIC38は、コネクタ部32を介してCPU11から供給される電気信号に基づいて、発光素子34を発光させるための駆動電流を発光素子34に供給する。
プリアンプIC39は、受光素子35から出力された電気信号を増幅してコネクタ部32の複数の電極32aを介してCPU11に出力する。
以上のように構成された光通信モジュール2は、CPU11からコネクタ部32を介して受け取った電気信号をドライバIC38で増幅し、発光素子34によって光信号に変換して光ファイバ40を介して他の通信装置へ出力する。また、光通信モジュール2は、受信用の光ファイバ40を伝搬してきた光信号を受光素子35によって電気信号に変換し、この電気信号をプリアンプIC39で増幅してコネクタ部32を介してCPU11へ出力する。
図5は、図1に示した光通信装置1の平面図である。本実施の形態では、複数の光ファイバ40が複数の電極32aの並び方向に対して傾斜した方向に引き出されているため、図9に示す従来例の場合と比較して、複列に配置された光通信モジュール2の間の距離(光ファイバ40を挟んで対向する一対の光通信モジュール2の正面31a間の距離)Dを図9に示す従来例における光通信モジュール8間の距離Dよりも短くすることができる。これにより、回路基板10における光通信モジュール2が占める面積を削減し、回路基板10に複数の光通信モジュール2を高密度に配置することができる。
次に、図6及び図7を参照して、本実施の形態の作用及び効果について、より詳細に説明する。
図6は、光通信モジュール2の第1傾斜面31bから引き出された光ファイバ40の屈曲状態の一例を示す拡大図である。図7は、図9に示した従来の光通信モジュール8において収容部材80から引き出された光ファイバ81の屈曲状態を比較例として示す拡大図である。
図6に示すように、光ファイバ40は、複数の電極32aの並び方向に対して所定角度θで傾斜して第1傾斜面31bから引き出される引き出し部401と、所定の曲率半径で屈曲された屈曲部402と、複数の電極32aの並び方向と平行な方向に屈曲部402の端部から延在する延在部403とを有する。
引き出し部401は、第1傾斜面31b側の一端部401aから屈曲部402側の他端部401bまで、第1傾斜面31bと直交する方向に延びる直線状である。
屈曲部402は、中心点Qを円弧中心として所定の曲率半径Rを有する円弧状に形成されている。この曲率半径Rは、光ファイバ40の許容曲げ半径であるものとする。ここで、許容曲げ半径とは、それ以下の曲率半径で光ファイバが屈曲された場合に、光ファイバが断線したり光学特性が劣化したりするおそれがある値であり、光ファイバの製造業者等において規定された値である。許容曲げ半径は、シングルモードファイバの場合には例えば15mmであり、マルチモードファイバの場合には例えば15mm〜30mmである。
延在部403は、屈曲部402における延在部403側の端部402bから直線Oに平行な方向に延伸され、直線状に形成されている。
以上のように構成された光ファイバ40では、一端部401aから他端部401bまでの距離をBとし、一端部401aを通って直線Oと平行な直線Oから直線Oまでの距離をCとすると、直線Oから光ファイバ40の延在部403における中心軸線Sまでの距離Lを以下の式で表すことができる。
=Bsinθ+R−C−Rcosθ
一方、比較例に示す従来の光通信モジュール8の光ファイバ81は、図7に示すように、収容部材801の正面801aから垂直に引き出された引き出し部811と、曲率半径Rを有する円弧状で円周角θが直角に形成された屈曲部812と、屈曲部812の端部から正面801aと平行な方向に延在する延在部813とを有している。
以上のように構成された光ファイバ81では、収容部材801の正面801aから光ファイバ81の延在部813における中心軸線Sまでの距離Lを以下の式で表すことができる。
=B+R
したがって、距離Lは距離Lよりも短く、L<Lの不等式が成り立つ。すなわち、収容部材31の正面31aから光ファイバ40の延在部403までの距離が短縮化されるため、図5に示す複列に配置された光通信モジュール2の本体部30間の距離Dを図9に示す従来例における光通信モジュール8間の距離Dよりも短くすることができる。
以上説明した本実施の形態によれば、以下に述べる作用及び効果が得られる。
(1)光通信モジュール2の光ファイバ40は、複数の電極32aの並び方向に対して傾斜した方向に沿って引き出されているので、回路基板10に複数の光通信モジュール2を配列した場合、回路基板10上における複数の光通信モジュール2の配列方向に直交する方向における光ケーブル4(光ファイバ40)の突出量を短くすることができる。これにより、回路基板10における光通信モジュール2が占める面積を削減し、回路基板10に複数の光通信モジュール2を高密度に配置することができる。
(2)収容部材31には、底面31h及び上面31gの短手方向における第1傾斜面31bとは反対側に第2傾斜面31cが形成されているので、複数の光通信モジュール2を直線状に配列した場合に、隣り合う光通信モジュール2から引き出された光ケーブル4(光ファイバ40)と収容部材31との干渉を抑制することができる。これにより、例えば光ケーブル4がその延在部403の延伸方向に沿って引っ張られた場合に、光ケーブル4が隣り合う光通信モジュール2の収容部材31に角当たりして損傷することを抑制することができる。また、隣り合う光通信モジュール2における収容部材31間の距離をより短くすることも可能となる。
(3)回路基板10に複数の光通信モジュール2を高密度に配置することができるので、光通信装置1を小型化することが可能となる。
(4)発光素子34及び受光素子35は、光ファイバ40の引き出し方向と直交する方向に沿って並置されているので、レンズ部材36を例えば矩形状の簡易な構成とすることができ、光通信モジュール2の製造コスト低減を図ることができる。すなわち、発光素子34及び受光素子35が、例えば、光ファイバ40の引き出し方向と平行な方向に沿って配置されると、光ファイバ40の引き出し方向における光路変換の位置が発光素子34と受光素子35とで別々になるため、レンズ部材に複数の反射面を設けることが必要となるが、本実施の形態によれば、そのような構成を採用することが不要となり、1つの反射面36aが形成された単一のレンズ部材36によって光ファイバ40と発光素子34及び受光素子35との光学的な結合が可能である。
[実施の形態の変形例]
次に、実施の形態の変形例について図8を参照して説明する。
図8は、実施の形態の変形例に係る光通信モジュール2Aの構成を示す平面図である。図8において、図1〜図5を参照して説明したものと同様の機能を有する構成要素については、同一の符号を付してその重複した説明を省略する。
上記した実施の形態では、素子基板33に実装された発光素子34,受光素子35,レンズ部材36,ドライバIC38,及びプリアンプIC39が収容部材31の長手方向及び短手方向に対して45°の角度で傾斜して配置されていたが、本変形例では、これら各部品が収容部材31の長手方向に沿って配置されている。また、本変形例に係る光通信モジュール2Aは、レンズ部材36Aと、レンズ部材36Aに隣接して配置された導波部材5とを有している点で上記実施の形態と異なる。導波部材5は、レンズ部材36Aと、複数の光ファイバ40(送信用の光ファイバ40a及び受信用の光ファイバ40b)との間で光路を変換し、レンズ部材36Aから出射された光を送信用の光ファイバ40aに導くと共に、受信用の光ファイバ40bから出射された光をレンズ部材36Aに導く。
より具体的には、導波部材5は、発光素子34から出射されてレンズ部材36で集光された光を送信用の光ファイバ40aに導波する第1導波部材51と、受信用の光ファイバ40bから出射された光をレンズ部材36Aへ導波する第2導波部材52とを有して構成されている。
第1導波部材51は、送信用の光ファイバ40aの端部が接続された接続部51aと、レンズ部材36Aからの入射光の光路を45°変換する反射面51bとを有している。第2導波部材52は、受信用の光ファイバ40bの端部が接続された接続部52aと、受信用の光ファイバ40bからの入射光の光路を45°変換する反射面52bとを有している。第1導波部材51及び第2導波部材52は、レンズ部材36及びレンズ部材36Aと同様に、光信号に対して透明なPMMA等の樹脂で形成されている。
発光素子34から素子基板33に対して反対方向に垂直に出射された光は、レンズ部材36Aに形成された反射面で内部反射され素子基板33に平行に進み、第1導波部材51に入射する。第1導波部材51に入射した光は、第1導波部材の反射面51bで内部反射され、送信用の光ファイバ40aに導波される。
また、受信用の光ファイバ40bから出射された光は、第2導波部材52の反射面52bで内部反射され、素子基板33に平行に進んでレンズ部材36Aへ入射する。レンズ部材36Aへ入射した光は、レンズ部材36Aに形成された反射面で反射されて素子基板33に配設された受光素子35に集光される。
このように、発光素子34と送信用の光ファイバ40a、及び受光素子35と受信用の光ファイバ40bは、レンズ部材36Aと、レンズ部材36Aと複数の光ファイバ40との間に介在する導波部材5によって光学的に結合されている。
本変形例によれば、実施の形態と同様の作用及び効果を得ることができる。また、発光素子34及び受光素子35が複数の電極32aの並び方向と平行な方向に沿って並置されているので、発光素子34及び受光素子35の素子基板33への実装時の位置決め精度が向上し、発光素子34及び受光素子35と集光レンズ36A及び導波部材5とを適切に光結合させることが容易となる。
以上、本発明の実施の形態を説明したが、上記に記載した実施の形態は特許請求の範囲に係る発明を限定するものではない。また、実施の形態の中で説明した特徴の組合せの全てが発明の課題を解決するための手段に必須であるとは限らない点に留意すべきである。
また、本発明は、その趣旨を逸脱しない範囲で適宜変形して実施することが可能である。例えば、上記実施の形態では、光通信モジュール2が発光素子34及び受光素子35を有する場合について説明したが、これに限らず、発光素子34のみを有してもよく、受光素子35のみを有してもよい。
1…光通信装置、2,2A,8…光通信モジュール、4…光ケーブル、5…導波部材、7,10…回路基板、11…CPU、30,80…本体部、31,801…収容部材、31a、801a…正面、31b…第1傾斜面、31c…第2傾斜面、31d…左側面、31e…右側面、31f…背面、31g…上面、31h…底面、32…コネクタ部、32a…電極、33…素子基板、34…発光素子、35…受光素子、36,36A…レンズ部材、36a…反射面、36b…第1レンズ部、36c…第2レンズ部、38…ドライバIC、39…プリアンプIC、40,81…光ファイバ、40a…送信用の光ファイバ、40b…受信用の光ファイバ、51…第1導波部材、52…第2導波部材、51a,52a…接続部、51b,52b…反射面、360…収容溝、400,800…保持部材、401,811…引き出し部、401a…一端部、401b…他端部、402,812…屈曲部、402b…他端部、403,813…延在部

Claims (7)

  1. 光信号を電気信号に、又は電気信号を光信号に変換する光電変換素子と、
    前記光電変換素子に光学的に結合された光ファイバと、
    前記光ファイバの端部及び前記光電変換素子を収容する収容部材と、
    前記収容部材の外面から突出して直線状に配列された複数の電極とを備え、
    前記光ファイバは、前記複数の電極の並び方向に平行な方向に対して傾斜した方向に沿って前記収容部材の外面から引き出されている、
    光通信モジュール。
  2. 前記複数の電極の並び方向と前記光ファイバの引き出し方向とのなす角が45±15°の範囲内である、
    請求項1に記載の光通信モジュール。
  3. 前記収容部材は、前記光ファイバが引き出される第1の側面と、前記第1の側面に対して鈍角に交差する第2の側面と、前記第2の側面における前記第1の側面とは反対側で前記第2の側面に対して鈍角に交差する第3の側面とを有する、
    請求項1又は2に記載の光通信モジュール。
  4. 前記収容部材には、複数の前記光電変換素子が前記光ファイバの引き出し方向と直交する方向に沿って並置され、前記複数の前記光電変換素子と前記光ファイバとが単一のレンズ部材によって光学的に結合されている、
    請求項1乃至3のいずれか1項に記載の光通信モジュール。
  5. 前記収容部材には、複数の前記光電変換素子が前記複数の電極の並び方向と平行な方向に沿って並置され、
    前記複数の光電変換素子と前記光ファイバとが、レンズ部材と、前記レンズ部材と前記光ファイバとの間に介在する導波部材とによって光学的に結合されている、
    請求項1乃至3のいずれか1項に記載の光通信モジュール。
  6. 配線パターンが形成された回路基板、及び前記回路基板上に配置された複数の光通信モジュールを備え、
    前記光通信モジュールは、光信号を電気信号に又は電気信号を光信号に変換する光電変換素子、及び前記光電変換素子を収容する収容部材を有する本体部と、前記光電変換素子に光学的に結合されて前記収容部材の外面から引き出された光ファイバとを備え、
    前記光通信モジュールの前記本体部が前記回路基板上に所定の並び方向に沿って配列され、
    前記光ファイバは、前記所定の並び方向に平行な方向に対して傾斜した方向に沿って前記収容部材の外面から引き出されている、
    光通信装置。
  7. 前記収容部材は、前記光ファイバが引き出される第1の側面と、前記第1の側面に対して鈍角に交差し、前記所定の並び方向と平行な第2の側面と、前記第2の側面における前記第1の側面とは反対側で前記第2の側面に対して鈍角に交差する第3の側面とを有する、
    請求項6に記載の光通信装置。
JP2013254021A 2013-12-09 2013-12-09 光通信モジュール及び光通信装置 Expired - Fee Related JP6159239B2 (ja)

Priority Applications (2)

Application Number Priority Date Filing Date Title
JP2013254021A JP6159239B2 (ja) 2013-12-09 2013-12-09 光通信モジュール及び光通信装置
US14/542,968 US9366833B2 (en) 2013-12-09 2014-11-17 Optical communication module and optical communication device

Applications Claiming Priority (1)

Application Number Priority Date Filing Date Title
JP2013254021A JP6159239B2 (ja) 2013-12-09 2013-12-09 光通信モジュール及び光通信装置

Publications (2)

Publication Number Publication Date
JP2015114363A true JP2015114363A (ja) 2015-06-22
JP6159239B2 JP6159239B2 (ja) 2017-07-05

Family

ID=53270985

Family Applications (1)

Application Number Title Priority Date Filing Date
JP2013254021A Expired - Fee Related JP6159239B2 (ja) 2013-12-09 2013-12-09 光通信モジュール及び光通信装置

Country Status (2)

Country Link
US (1) US9366833B2 (ja)
JP (1) JP6159239B2 (ja)

Families Citing this family (1)

* Cited by examiner, † Cited by third party
Publication number Priority date Publication date Assignee Title
CN109643471B (zh) * 2016-09-23 2021-07-09 金泰克斯公司 具有线束连接特征的成像器

Citations (2)

* Cited by examiner, † Cited by third party
Publication number Priority date Publication date Assignee Title
JPH0177049U (ja) * 1987-11-12 1989-05-24
JPH08146255A (ja) * 1994-09-19 1996-06-07 Fuji Electric Co Ltd 光電変換器

Family Cites Families (13)

* Cited by examiner, † Cited by third party
Publication number Priority date Publication date Assignee Title
US5031984A (en) * 1990-01-17 1991-07-16 Alcatel Na Optical fiber electro-optical module
US5214444A (en) * 1991-09-19 1993-05-25 Eastman Kodak Company Optical fiber mount and support
DE69416016T2 (de) * 1993-02-23 1999-07-15 The Whitaker Corp., Wilmington, Del. Faseroptische Kopplungseinrichtung
CA2161718A1 (en) * 1994-10-31 1996-05-01 Hiromi Kurashima Optical module having structure for defining fixing position of sleeve
US6220878B1 (en) * 1995-10-04 2001-04-24 Methode Electronics, Inc. Optoelectronic module with grounding means
US5796899A (en) * 1995-12-28 1998-08-18 Lucent Technologies Inc. Bidirectional optical transceiver assembly with reduced crosstalk
JPH10332990A (ja) * 1997-05-28 1998-12-18 Asahi Optical Co Ltd 発光素子と光ファイバーのカップリング構造
US7116912B2 (en) * 1999-05-27 2006-10-03 Jds Uniphase Corporation Method and apparatus for pluggable fiber optic modules
USD468707S1 (en) * 2001-10-31 2003-01-14 Hon Hai Precision Ind. Co., Ltd. Holder of optical switch equipment
JP3997915B2 (ja) 2002-04-30 2007-10-24 住友電気工業株式会社 光モジュール、光コネクタフェルール、及びこれらの製造方法
US7702198B2 (en) * 2007-09-28 2010-04-20 Ricoh Company, Ltd. Semiconductor laser module and light scanning device and image forming apparatus using the same
US8985865B2 (en) * 2008-11-28 2015-03-24 Us Conec, Ltd. Unitary fiber optic ferrule and adapter therefor
US8950954B2 (en) * 2012-07-31 2015-02-10 Avago Technologies General Ip ( Singapore) Pte. Ltd. Side-edge mountable parallel optical communications module, an optical communications system that incorporates the module, and a method

Patent Citations (2)

* Cited by examiner, † Cited by third party
Publication number Priority date Publication date Assignee Title
JPH0177049U (ja) * 1987-11-12 1989-05-24
JPH08146255A (ja) * 1994-09-19 1996-06-07 Fuji Electric Co Ltd 光電変換器

Also Published As

Publication number Publication date
JP6159239B2 (ja) 2017-07-05
US20150160422A1 (en) 2015-06-11
US9366833B2 (en) 2016-06-14

Similar Documents

Publication Publication Date Title
CN211348752U (zh) 光模块
US9028156B2 (en) Optical module and signal transmission medium
US8469610B2 (en) Optical connection system with plug having optical turn
US20100215312A1 (en) Optical connector
JP5834964B2 (ja) 光モジュール
US9366832B2 (en) Optical connection structure
CN100566045C (zh) 光电复合式连接器以及使用它的基板
US9726826B2 (en) Inter-lens adjusting method and photoelectric hybrid substrate
JPWO2014034458A1 (ja) 光モジュールと光コネクタとの接続構造
US20150192745A1 (en) Optical fiber connecter and optical communication module
JP2014115649A (ja) ファイバー・サブマウント及びラッチング光学アセンブリを備えた光通信モジュール
CN210401753U (zh) 光收发组件和光模块
US9071353B2 (en) Optical module, optical transmission device and method of manufacturing optical transmission device
US20140178001A1 (en) Optical coupling module and optical fiber coupling connector
CN103777287B (zh) 光电转换模组
JP6159239B2 (ja) 光通信モジュール及び光通信装置
CN1181367C (zh) 多光纤阵列的光电模块
JP5834963B2 (ja) 光モジュール
JP2011048072A (ja) 光トランシーバ及び光アクティブケーブル
US9395503B2 (en) Optical-electric coupling element and optical connector using same
TWI553363B (zh) 光纖連接器
US20210116653A1 (en) Optical module and manufacturing method for optical module
JP2011053303A (ja) 光素子モジュール、光トランシーバ及び光アクティブケーブル
JP2019181583A (ja) ロボット、プリンターおよび光信号伝送装置
US20140064670A1 (en) Optical fiber connector

Legal Events

Date Code Title Description
A621 Written request for application examination

Free format text: JAPANESE INTERMEDIATE CODE: A621

Effective date: 20160218

A977 Report on retrieval

Free format text: JAPANESE INTERMEDIATE CODE: A971007

Effective date: 20161013

A131 Notification of reasons for refusal

Free format text: JAPANESE INTERMEDIATE CODE: A131

Effective date: 20161025

A521 Request for written amendment filed

Free format text: JAPANESE INTERMEDIATE CODE: A523

Effective date: 20161209

A711 Notification of change in applicant

Free format text: JAPANESE INTERMEDIATE CODE: A712

Effective date: 20170425

TRDD Decision of grant or rejection written
A01 Written decision to grant a patent or to grant a registration (utility model)

Free format text: JAPANESE INTERMEDIATE CODE: A01

Effective date: 20170606

A61 First payment of annual fees (during grant procedure)

Free format text: JAPANESE INTERMEDIATE CODE: A61

Effective date: 20170609

R150 Certificate of patent or registration of utility model

Ref document number: 6159239

Country of ref document: JP

Free format text: JAPANESE INTERMEDIATE CODE: R150

LAPS Cancellation because of no payment of annual fees