JP2015114192A - Rotational speed detector - Google Patents

Rotational speed detector Download PDF

Info

Publication number
JP2015114192A
JP2015114192A JP2013255881A JP2013255881A JP2015114192A JP 2015114192 A JP2015114192 A JP 2015114192A JP 2013255881 A JP2013255881 A JP 2013255881A JP 2013255881 A JP2013255881 A JP 2013255881A JP 2015114192 A JP2015114192 A JP 2015114192A
Authority
JP
Japan
Prior art keywords
power generation
magnet
speed detector
magnetic wire
rotation
Prior art date
Legal status (The legal status is an assumption and is not a legal conclusion. Google has not performed a legal analysis and makes no representation as to the accuracy of the status listed.)
Granted
Application number
JP2013255881A
Other languages
Japanese (ja)
Other versions
JP6066895B2 (en
Inventor
佳正 渡邊
Yoshimasa Watanabe
佳正 渡邊
仲嶋 一
Hajime Nakajima
一 仲嶋
武史 武舎
Takeshi Musha
武史 武舎
芳直 立井
Yoshinao Tachii
芳直 立井
Current Assignee (The listed assignees may be inaccurate. Google has not performed a legal analysis and makes no representation or warranty as to the accuracy of the list.)
Mitsubishi Electric Corp
Original Assignee
Mitsubishi Electric Corp
Priority date (The priority date is an assumption and is not a legal conclusion. Google has not performed a legal analysis and makes no representation as to the accuracy of the date listed.)
Filing date
Publication date
Application filed by Mitsubishi Electric Corp filed Critical Mitsubishi Electric Corp
Priority to JP2013255881A priority Critical patent/JP6066895B2/en
Publication of JP2015114192A publication Critical patent/JP2015114192A/en
Application granted granted Critical
Publication of JP6066895B2 publication Critical patent/JP6066895B2/en
Active legal-status Critical Current
Anticipated expiration legal-status Critical

Links

Images

Landscapes

  • Transmission And Conversion Of Sensor Element Output (AREA)

Abstract

【課題】薄型で信頼性の高い回転数検出器を提供する。【解決手段】回転数検出器300は、検出対象の回転体4と共に回転する磁石アセンブリ11と、磁石アセンブリ11の上方に配置され、大バルクハウゼン効果により磁化反転する磁性ワイヤ33と、互いに離間して磁性ワイヤ33に巻回された複数のコイル部31,32を含むピックアップコイルとを備える。磁石アセンブリ11には、回転の径方向または軸方向に隣接して2つ以上の磁極対が設けられる。【選択図】図7A thin-type and highly reliable rotation speed detector is provided. A rotational speed detector 300 is spaced apart from a magnet assembly 11 that rotates together with a rotating body 4 to be detected, and a magnetic wire 33 that is disposed above the magnet assembly 11 and whose magnetization is reversed by a large Barkhausen effect. And a pickup coil including a plurality of coil portions 31 and 32 wound around the magnetic wire 33. The magnet assembly 11 is provided with two or more magnetic pole pairs adjacent to each other in the radial or axial direction of rotation. [Selection] Figure 7

Description

本発明は、産業用FA機器、車載用途など様々な分野で用いられる、回転体の回転数をカウントする回転数検出器に関する。   The present invention relates to a rotational speed detector that counts the rotational speed of a rotating body and is used in various fields such as industrial FA equipment and in-vehicle applications.

一般的な回転数検出器において、磁性ワイヤとピックアップコイルを用いた回転数検出器が存在する。例えば特許文献1には、S/N各1極が着磁された磁石、および大バルクハウゼン効果を示す磁性ワイヤとピックアップコイルを組み合わせた発電素子を用いた回転検出器が開示されており、発電素子からの電力供給により検出器の電源バックアップが行われている。発電素子は、1回転に対して90度の位相差にて2つ配置されている。   As a general rotational speed detector, there is a rotational speed detector using a magnetic wire and a pickup coil. For example, Patent Document 1 discloses a rotation detector using a magnet in which one pole of each S / N is magnetized and a power generation element in which a magnetic wire exhibiting a large Barkhausen effect and a pickup coil are combined. A power backup of the detector is performed by supplying power from the element. Two power generation elements are arranged with a phase difference of 90 degrees for one rotation.

また、特許文献2には、磁性線とコイルとを組み合わせた素子が放射状に複数個配置された装置が開示されており、素子のインダクタンス変化が電気信号に変換されている。   Patent Document 2 discloses a device in which a plurality of elements each including a combination of a magnetic wire and a coil are arranged radially, and changes in inductance of the elements are converted into electric signals.

ここで、大バルクハウゼン効果とは、磁性ワイヤが磁石のS/N極の境界付近で一斉に磁化反転する現象を指し、その磁化反転をピックアップコイルで検出することにより、モータ等の被検出物の回転速度に依らず常に一定の発電パルスが得られる。   Here, the large Barkhausen effect refers to a phenomenon in which the magnetic wire undergoes magnetization reversal in the vicinity of the boundary of the S / N pole of the magnet, and the detected object such as a motor is detected by detecting the magnetization reversal with a pickup coil. Regardless of the rotation speed, a constant power generation pulse can be obtained.

特開2008−14799号公報JP 2008-14799 A 実開昭63−117504号公報Japanese Utility Model Publication No. 63-117504

S/N各1極が着磁された磁石と発電素子とを組み合わせた場合、発電素子を磁石の中心すなわち回転中心に配置したときに発電素子の発電量が最も大きくなる。磁性ワイヤの製法にもよるが、磁石外周部付近に発電素子を配置すると、磁石の回転中心に配置したときの4割程度の発電量しか得られない。すなわち、特許文献1のように磁石の中心を避けて発電素子を配置すると(図6参照)、1つの発電素子を磁石の中心上に配置したときと比較して各発電素子からの発電量が低下し、回転検出器の信頼性低下を招くという問題があった。   When a magnet with a single S / N pole and a power generation element are combined, the power generation amount of the power generation element is maximized when the power generation element is arranged at the center of the magnet, that is, the rotation center. Although depending on the manufacturing method of the magnetic wire, if the power generation element is arranged near the outer periphery of the magnet, only about 40% of the power generation amount when it is arranged at the rotation center of the magnet can be obtained. That is, when the power generation element is arranged avoiding the center of the magnet as in Patent Document 1 (see FIG. 6), the power generation amount from each power generation element is larger than when one power generation element is arranged on the center of the magnet. There has been a problem that the reliability of the rotation detector is lowered.

また、磁石の中心と回転中心とがずれた場合、磁石が偏芯した状態で回転する。すなわち発電素子から見ると、磁石に対する発電素子の位置(磁石中心からの変位量)が磁石の回転角に伴って変化することになる。磁石の中心付近に発電素子を配置した場合、磁石に対する発電素子の位置の変動に対する発電量の変動量が少ない。一方、磁石の中心を避けて発電素子を配置した場合、磁石に対する発電素子の位置の変動に対する発電量の変動量が大きく、発電量のバラツキが大きくなって検出器の信頼性低下を招く。   Moreover, when the center of a magnet and the rotation center shift | deviate, it rotates in the state which the magnet decentered. That is, when viewed from the power generation element, the position of the power generation element with respect to the magnet (the amount of displacement from the magnet center) changes with the rotation angle of the magnet. When the power generation element is arranged near the center of the magnet, the amount of power generation fluctuation with respect to the fluctuation of the position of the power generation element with respect to the magnet is small. On the other hand, when the power generation element is arranged avoiding the center of the magnet, the fluctuation amount of the power generation amount with respect to the fluctuation of the position of the power generation element with respect to the magnet is large, and the variation in the power generation amount becomes large, leading to a decrease in the reliability of the detector.

回転方向を判別するため、特許文献1のように1回転に対して90度の位相差を持って2個の発電素子を配置し、さらに上記課題を解決するため発電素子を磁石の回転中心の上方に配置しようとすると、2個の発電素子を積み重ねるように配置する必要がある。このとき、以下の2つの課題が生じる。第1に、例えば発電素子のコイルの外径を5mm程度とすると、発電素子を2個積み重ねると厚さが10mmとなる。このように、コイルの外径の分だけ検出器が厚くなってしまう。第2に、磁石と下側の発電素子(磁性ワイヤ)までの距離をG(mm)とすると、磁石と上側の発電素子までの距離はG+5(mm)となる。このように、磁石から2個の発電素子までの距離の差が大きくなるので、出力パルスに差異が生じ、検出器の信頼性が低下する。   In order to determine the rotation direction, two power generation elements are arranged with a phase difference of 90 degrees with respect to one rotation as in Patent Document 1, and the power generation element is positioned at the center of rotation of the magnet in order to solve the above problem. If it is going to arrange | position upwards, it is necessary to arrange | position so that two power generating elements may be stacked. At this time, the following two problems arise. First, for example, when the outer diameter of the coil of the power generation element is about 5 mm, the thickness becomes 10 mm when two power generation elements are stacked. Thus, the detector becomes thicker by the outer diameter of the coil. Second, if the distance between the magnet and the lower power generation element (magnetic wire) is G (mm), the distance between the magnet and the upper power generation element is G + 5 (mm). Thus, since the difference in distance from the magnet to the two power generation elements becomes large, a difference occurs in the output pulse, and the reliability of the detector is lowered.

本発明は、上記課題を解決するためになされたものであって、薄型で信頼性の高い回転数検出器を提供することを目的とする。   The present invention has been made to solve the above-described problems, and an object of the present invention is to provide a thin and highly reliable rotation speed detector.

上記目的を達成するために、本発明に係る回転数検出器は、検出対象の回転体と共に回転する磁石アセンブリと、磁石アセンブリの上方に配置され、大バルクハウゼン効果により磁化反転する磁性ワイヤと、互いに離間して磁性ワイヤに巻回された複数のコイル部を含むピックアップコイルとを備える。磁石アセンブリには、回転の径方向または軸方向に隣接して2つ以上の磁極対が設けられる。   In order to achieve the above object, a rotational speed detector according to the present invention includes a magnet assembly that rotates together with a rotating body to be detected, a magnetic wire that is disposed above the magnet assembly and reverses magnetization by a large Barkhausen effect, A pickup coil including a plurality of coil portions wound around a magnetic wire apart from each other. The magnet assembly is provided with two or more magnetic pole pairs adjacent in the radial or axial direction of rotation.

本発明によれば、薄型で信頼性が高く、さらに設計自由度が高い回転数検出器が実現される。   According to the present invention, a rotational speed detector is realized that is thin, highly reliable, and has a high degree of design freedom.

磁石に対する発電素子の位置と発電量との関係を示すグラフである。It is a graph which shows the relationship between the position of the electric power generation element with respect to a magnet, and electric power generation amount. 比較例による回転数検出器の概略構成を示す斜視図である。It is a perspective view which shows schematic structure of the rotation speed detector by a comparative example. 比較例による回転数検出器の発電素子の詳細構成を示す図である。It is a figure which shows the detailed structure of the electric power generation element of the rotation speed detector by a comparative example. 比較例による回転数検出器での磁化反転発生点を説明する図である。It is a figure explaining the magnetization reversal generation | occurrence | production point in the rotation speed detector by a comparative example. 従来の回転数検出器の発電素子が発生させる発電パルスの一例を示すグラフである。It is a graph which shows an example of the electric power generation pulse which the electric power generation element of the conventional rotation speed detector generates. 比較例による回転数検出器の発電素子が発生させる発電パルスの一例を示すグラフである。It is a graph which shows an example of the electric power generation pulse which the electric power generation element of the rotation speed detector by a comparative example generates. 比較例による他の回転数検出器の概略構成を示す斜視図である。It is a perspective view which shows schematic structure of the other rotation speed detector by a comparative example. 実施の形態1による回転数検出器の概略構成を示す斜視図である。1 is a perspective view showing a schematic configuration of a rotation speed detector according to Embodiment 1. FIG. 実施の形態1による回転数検出器の磁石の構成を示す斜視図である。FIG. 3 is a perspective view showing a configuration of a magnet of the rotation speed detector according to the first embodiment. 比較例による磁石から生じる磁界と発電素子との位置関係を示す図である。It is a figure which shows the positional relationship of the magnetic field produced from the magnet by a comparative example, and an electric power generation element. 実施の形態1による磁石から生じる磁界と発電素子との位置関係を示す図である。It is a figure which shows the positional relationship of the magnetic field produced from the magnet by Embodiment 1, and an electric power generation element. 比較例による磁性ワイヤの長手方向での磁界成分を示すグラフである。It is a graph which shows the magnetic field component in the longitudinal direction of the magnetic wire by a comparative example. 実施の形態1による磁性ワイヤの長手方向での磁界成分を示すグラフである。6 is a graph showing a magnetic field component in the longitudinal direction of the magnetic wire according to the first embodiment. 実施の形態1の変形例による回転数検出器の磁石の構成を示す斜視図である。FIG. 7 is a perspective view showing a configuration of a magnet of a rotation speed detector according to a modification of the first embodiment. 実施の形態2による回転数検出器の概略構成を示す斜視図である。6 is a perspective view showing a schematic configuration of a rotation speed detector according to Embodiment 2. FIG. 実施の形態2の変形例による回転数検出器の磁石の概略構成を示す斜視図である。10 is a perspective view showing a schematic configuration of a magnet of a rotation speed detector according to a modification of the second embodiment. FIG.

まず、図1から図6を用いて、比較例による回転数検出器について説明する。以下で説明するように、本発明の実施の形態による回転数検出器は、この比較例による回転数検出器を改良したものである。   First, a rotation speed detector according to a comparative example will be described with reference to FIGS. As will be described below, the rotational speed detector according to the embodiment of the present invention is an improvement of the rotational speed detector according to this comparative example.

図1は、磁石に対する発電素子の位置と発電量との関係を示すグラフである。図1では、S/N各1極が着磁された磁石と発電素子を組み合わせた構成を想定している。グラフの横軸は、磁石に対する発電素子の位置(磁石中心からの変位量)を示し、縦軸は発電素子の発電量を示す。
図1に示すように、発電素子の発電量は、発電素子を磁石の中心すなわち回転中心に配置したときに最も大きくなる。磁性ワイヤの製法にもよるが、磁石外周部付近に発電素子を配置すると、磁石の回転中心に配置したときの4割程度の発電量しか得られない。
FIG. 1 is a graph showing the relationship between the position of the power generation element with respect to the magnet and the amount of power generation. In FIG. 1, the structure which combined the magnet with which S / N each 1 pole was magnetized, and a power generation element is assumed. The horizontal axis of the graph indicates the position of the power generation element with respect to the magnet (the amount of displacement from the magnet center), and the vertical axis indicates the power generation amount of the power generation element.
As shown in FIG. 1, the power generation amount of the power generation element becomes the largest when the power generation element is arranged at the center of the magnet, that is, the rotation center. Although depending on the manufacturing method of the magnetic wire, if the power generation element is arranged near the outer periphery of the magnet, only about 40% of the power generation amount when it is arranged at the rotation center of the magnet can be obtained.

また、磁石の中心と回転中心がずれた場合、磁石が偏芯した状態で回転する。すなわち発電素子から見ると、図1の横軸(磁石中心からの変位量)が磁石の回転角に伴って変化することになる。磁石の中心付近に発電素子を配置した場合、図1の横軸の変動に対する発電量の変動量が少ない。すなわち、図1の曲線の傾きの絶対値が小さい。一方、磁石の中心を避けて発電素子を配置した場合、横軸の変動に対する発電量の変動量(曲線の傾きの絶対値)が大きく、発電量のバラツキが大きくなって検出器の信頼性低下を招く。   Moreover, when the center of a magnet and the rotation center shift | deviate, it rotates in the state which the magnet decentered. That is, when viewed from the power generation element, the horizontal axis (the amount of displacement from the magnet center) in FIG. 1 changes with the rotation angle of the magnet. When the power generation element is arranged near the center of the magnet, the amount of power generation variation with respect to the variation of the horizontal axis in FIG. 1 is small. That is, the absolute value of the slope of the curve in FIG. 1 is small. On the other hand, when the power generation element is arranged away from the center of the magnet, the fluctuation amount of the power generation amount (absolute value of the slope of the curve) with respect to the fluctuation of the horizontal axis is large, and the variation in the power generation amount increases and the reliability of the detector decreases. Invite.

図2は、比較例による回転数検出器の概略構成を示す斜視図である。
比較例による回転数検出器100は、磁石1と、磁石1の回転に伴い発電パルスを発生させる発電部2と、発電部2から出力された発電パルス(電気信号)に基づいて回転数を算出する処理部(図示せず)などを備える。
FIG. 2 is a perspective view showing a schematic configuration of a rotation speed detector according to a comparative example.
The rotation speed detector 100 according to the comparative example calculates the rotation speed based on the magnet 1, the power generation section 2 that generates a power generation pulse as the magnet 1 rotates, and the power generation pulse (electric signal) output from the power generation section 2. And a processing unit (not shown).

磁石1は、例えば、S極とN極が各1極ずつ径方向に隣接して着磁された磁石である。また、磁石1は、回転数の検出対象である回転シャフト(回転体)4の回転中心と磁石1の中心とがほぼ一致するように回転シャフト4に取り付けられており、回転シャフト4と一体となって回転する。発電部2は、発電素子30,40を一体でパッケージングしたものであり、磁石1から回転軸方向(上方)に間隔(ギャップ)Gだけ離れた位置に配置されている。この発電素子30,40は、磁石1の一回転に対して90度位相差となる間隔で互いに直交配置されている。   The magnet 1 is, for example, a magnet in which one S pole and one N pole are magnetized adjacent to each other in the radial direction. Further, the magnet 1 is attached to the rotating shaft 4 so that the rotation center of the rotating shaft (rotating body) 4 whose rotation speed is to be detected and the center of the magnet 1 substantially coincide with each other. Turns and turns. The power generation unit 2 is obtained by integrally packaging the power generation elements 30 and 40, and is disposed at a position separated from the magnet 1 by a gap (gap) G in the rotation axis direction (upward). The power generating elements 30 and 40 are arranged orthogonal to each other at an interval of 90 degrees with respect to one rotation of the magnet 1.

図3は、比較例による回転数検出器の発電素子の詳細構成を示す図である。
発電素子30は、2個のコイル部31,32を含むピックアップコイルと、大バルクハウゼン効果により磁化反転する1本の磁性ワイヤ33とから構成されている。コイル部31,32は、互いに離間して磁性ワイヤ33に巻回され、かつ電気的に直列に接続されているが、処理部による演算処理の方法に応じて並列に接続されてもよい。コイル部31の左端とコイル部32の右端は、それぞれ処理部に接続されている。発電素子40は、発電素子30と同様の構成である。磁性ワイヤ33は、ウィーガントワイヤ、アモルファス磁性ワイヤなどである。
FIG. 3 is a diagram illustrating a detailed configuration of the power generation element of the rotation speed detector according to the comparative example.
The power generation element 30 includes a pickup coil including two coil portions 31 and 32, and a single magnetic wire 33 that undergoes magnetization reversal by the large Barkhausen effect. The coil portions 31 and 32 are wound around the magnetic wire 33 while being separated from each other, and are electrically connected in series, but may be connected in parallel depending on the arithmetic processing method by the processing portion. The left end of the coil part 31 and the right end of the coil part 32 are each connected to the processing part. The power generation element 40 has the same configuration as the power generation element 30. The magnetic wire 33 is a Wiegand wire, an amorphous magnetic wire, or the like.

図3に示すように、磁性ワイヤ33の延伸方向(長手方向)の長さである磁性ワイヤ長さJは、コイル部31,32の長さKの和2Kより大きい。また、コイル部31,32の間隔Lは、ピックアップコイルの外径Φより大きい(L>Φ)。   As shown in FIG. 3, the magnetic wire length J, which is the length of the magnetic wire 33 in the extending direction (longitudinal direction), is larger than the sum 2K of the lengths K of the coil portions 31 and 32. Further, the interval L between the coil portions 31 and 32 is larger than the outer diameter Φ of the pickup coil (L> Φ).

ここで、2個の発電素子をコイル部ごと重ね合わせた場合、一例ではΦ=5mm程度であるため、発電部2の厚さは2Φ=10mmとなり、コイル部の外径の分だけ検出器が厚くなってしまう。一方、図2に戻り、発電素子30,40では、コイル部同士が干渉しないように、磁性ワイヤ部分のみが磁石1の回転中心の上方で重なり合っている。このように磁性ワイヤ部分だけを重ね合わせた場合、発電部2の厚さはΦ+2W+α(W:磁性ワイヤのワイヤ径、α:2本の磁性ワイヤの隙間)である。一例ではW=0.2mm程度であるため、例えばα=0.1mmとすると当該厚さはΦ+2W+α=5.5mmとなり、回転数検出器100の大幅な薄型化が可能となる。   Here, when two power generating elements are overlapped together with the coil part, in one example, Φ = 5 mm or so, the thickness of the power generating part 2 is 2Φ = 10 mm, and the detector is equivalent to the outer diameter of the coil part. It will be thick. On the other hand, returning to FIG. 2, in the power generating elements 30 and 40, only the magnetic wire portion overlaps above the rotation center of the magnet 1 so that the coil portions do not interfere with each other. Thus, when only a magnetic wire part is piled up, the thickness of the electric power generation part 2 is (PHI) + 2W + (alpha) (W: The wire diameter of a magnetic wire, (alpha): The clearance gap between two magnetic wires). In one example, since W = 0.2 mm, for example, when α = 0.1 mm, the thickness becomes Φ + 2W + α = 5.5 mm, and the rotational speed detector 100 can be significantly thinned.

また、2つの発電素子をコイル部ごと重ね合わせた場合、磁石1と下側の発電素子との間隔Gを例えば3mmとすると、磁石1と上側の発電素子との間隔はG+Φ=8mmとなる。従って、磁石1と2個の発電素子との間隔の差が大きくなり、出力パルスに差異が生じ、検出器の信頼性が低下することになる。一方、磁性ワイヤ部分のみが磁石1の回転中心の上方で重なり合う発電素子30,40では、磁石1と上側の発電素子40との間隔はG+W+α=3.3mmとなる。このように、磁石1と2つの発電素子30,40との間隔を近い値に設定できる。   Further, when the two power generating elements are overlapped together with the coil portion, if the gap G between the magnet 1 and the lower power generating element is 3 mm, for example, the distance between the magnet 1 and the upper power generating element is G + Φ = 8 mm. Therefore, the difference in the interval between the magnet 1 and the two power generation elements becomes large, the output pulse becomes different, and the reliability of the detector is lowered. On the other hand, in the power generation elements 30 and 40 in which only the magnetic wire portion overlaps above the rotation center of the magnet 1, the distance between the magnet 1 and the upper power generation element 40 is G + W + α = 3.3 mm. In this manner, the distance between the magnet 1 and the two power generation elements 30 and 40 can be set to a close value.

図示しない処理部は、例えばA/D変換器、CPU(中央演算装置)、演算用プログラムを記憶するメモリなどから構成され、A/D変換器を介して発電部2から処理部に入力された発電パルス(電気信号)を演算用プログラムにより処理し、回転数を算出する。   The processing unit (not shown) includes, for example, an A / D converter, a CPU (central processing unit), a memory that stores a calculation program, and the like, and is input from the power generation unit 2 to the processing unit via the A / D converter. The power generation pulse (electric signal) is processed by the calculation program to calculate the rotation speed.

次に、回転数検出器100の動作について説明する。
発電素子30,40は、磁石1の回転に対して、N→S極の境界付近で正のパルスを、S→N極の境界付近で負のパルスをそれぞれ発生させる。発電素子が1個だけ配置された構成では、磁石1が時計回り(正転)に回転してN→S極となった場合と、反時計回りに回転(反転)してN→S極となった場合とで同じ正のパルスが発生するため、回転方向を区別できない。一方、発電素子を2個配置された構成では、一方の発電素子30が正パルスを発生させた後に他方の発電素子40が正のパルス、負のパルスのどちらを発生させたかにより、正転と反転を区別できる。
Next, the operation of the rotation speed detector 100 will be described.
The power generating elements 30 and 40 generate a positive pulse near the boundary of N → S pole and a negative pulse near the boundary of S → N pole with respect to the rotation of the magnet 1. In the configuration in which only one power generation element is arranged, the magnet 1 rotates clockwise (forward) to become the N → S pole, and the magnet 1 rotates counterclockwise (inverted) to become the N → S pole. Since the same positive pulse is generated in this case, the rotation direction cannot be distinguished. On the other hand, in the configuration in which two power generation elements are arranged, the forward rotation depends on whether one power generation element 30 generates a positive pulse and then the other power generation element 40 generates a positive pulse or a negative pulse. Can distinguish inversion.

次に、発電素子30,40の詳細な動作について、図4、図5Aおよび図5Bを用いて説明する。以下では、発電素子30の動作についてのみ説明する。
発電素子30は、磁性ワイヤ33が大バルクハウゼン効果により一斉に磁化反転した時の磁界変化をピックアップコイルにより検出する。図4に示すように、磁化反転は磁性ワイヤ33の磁化反転発生点10から発生し、磁性ワイヤ33全体に波及する。この磁化反転発生点10は、例えば格子欠陥などによる磁化反転の核であり、磁性ワイヤ33ごとに異なる。
Next, the detailed operation of the power generating elements 30 and 40 will be described with reference to FIGS. 4, 5A, and 5B. Below, only operation | movement of the electric power generation element 30 is demonstrated.
The power generating element 30 detects the change in the magnetic field by the pickup coil when the magnetic wires 33 are simultaneously reversed in magnetization by the large Barkhausen effect. As shown in FIG. 4, the magnetization reversal occurs from the magnetization reversal generation point 10 of the magnetic wire 33 and spreads over the entire magnetic wire 33. This magnetization reversal generation point 10 is a nucleus of magnetization reversal caused by, for example, a lattice defect and is different for each magnetic wire 33.

磁化反転発生点10とコイル部31,32との距離をそれぞれX1,X2(=L−X1)、磁化反転の伝播速度をVとすると、コイル部31,32から生じる発電パルスにはタイムラグT=(X2/V−X1/V)が生じ、処理部により磁化反転が検出される時間にもタイムラグTが生じることになる。   When the distance between the magnetization reversal generation point 10 and the coil portions 31 and 32 is X1 and X2 (= L−X1) and the propagation speed of the magnetization reversal is V, the time lag T = (X2 / V−X1 / V) occurs, and a time lag T also occurs in the time when the magnetization reversal is detected by the processing unit.

図5Aは、従来の回転数検出器の発電素子が発生させる発電パルスの一例を示すグラフである。従来の回転数検出器の発電素子として、1つの磁性ワイヤに1つのコイル(巻数:N)が巻回されたものを想定している。1つのコイルが磁性ワイヤを覆っている状態では、発電パルスの半値幅Hwはコイル長さに依存した値であり、例えば50μsecである。   FIG. 5A is a graph showing an example of a power generation pulse generated by a power generation element of a conventional rotation speed detector. As a power generation element of a conventional rotation speed detector, one coil (number of turns: N) is assumed to be wound around one magnetic wire. In a state where one coil covers the magnetic wire, the half-value width Hw of the power generation pulse is a value depending on the coil length, for example, 50 μsec.

一方、回転数検出器100では、直列接続された2つのコイル部31,32(巻数の和:N)両端からの出力にタイムラグTが生じる。それゆえ、図5Bに示すように、発生し検出される発電パルス(電気信号)は、タイムラグTだけシフトした2つのパルス波形を重ね合わせた波形となる。すなわち、回転数検出器100での発電パルスの半値幅Hw’=Hw+Tとなる。従って、コイル部の間隔Lを変えることにより所望のパルス半値幅Hw’を得ることができる。半値幅Hw’の値は、CPUの動作周波数と演算内容などにより決定される処理部の最低処理時間より大きい値であり、例えば100μsecとすることができる。   On the other hand, in the rotation speed detector 100, a time lag T is generated in outputs from both ends of the two coil units 31 and 32 (the sum of the number of turns: N) connected in series. Therefore, as shown in FIG. 5B, the generated power pulse (electrical signal) generated and detected is a waveform obtained by superimposing two pulse waveforms shifted by the time lag T. That is, the half-value width Hw ′ = Hw + T of the power generation pulse in the rotation speed detector 100 is obtained. Therefore, a desired pulse half width Hw ′ can be obtained by changing the interval L between the coil portions. The value of the half-value width Hw ′ is a value larger than the minimum processing time of the processing unit determined by the operating frequency of the CPU and the content of calculation, and can be set to 100 μsec, for example.

処理部による回転数の算出は、発電パルスの半値幅Hwの間に行う必要がある。それゆえ、半値幅Hwが短い決まった値であると、処理時間が限られてしまい、処理部に使用する回路部品に制約が発生し、コストの上昇要因につながる可能性がある。一方、回転数検出器100では、以下のようにタイムラグTを制御して設定することにより、従来の発電パルス半値幅Hwに比べて大きい所望の半値幅Hw’を得ることができる。発電パルス半値幅が大きくなると処理時間も長くなる。従って、より自由度の高い回路処理を行うことができ、コストダウンを図ることが可能となる。   The calculation of the rotation speed by the processing unit needs to be performed during the half-value width Hw of the power generation pulse. Therefore, if the half-value width Hw is a fixed value that is short, the processing time is limited, and there is a possibility that the circuit components used in the processing unit are restricted, leading to an increase in cost. On the other hand, the rotation speed detector 100 can obtain a desired half-value width Hw ′ larger than the conventional power generation pulse half-value width Hw by controlling and setting the time lag T as follows. As the power generation pulse half width increases, the processing time also increases. Accordingly, it is possible to perform circuit processing with a higher degree of freedom and to reduce costs.

磁性ワイヤごとに異なる磁化反転発生点10の位置と磁化反転の伝播速度Vは、ピックアップコイルを用いた検査装置を用いて事前に測定できる。磁化反転発生点10の位置と伝播速度Vを事前に測定し、これらに応じてコイル部の間隔Lを変えることにより、所望のT=(X2/V−X1/V)の値に制御でき、すなわち所望の半値幅Hw’のパルスを得ることができる。   The position of the magnetization reversal generation point 10 and the propagation speed V of the magnetization reversal that are different for each magnetic wire can be measured in advance using an inspection device using a pickup coil. By measuring the position of the magnetization reversal generation point 10 and the propagation velocity V in advance, and changing the interval L between the coil portions according to these, it can be controlled to a desired value of T = (X2 / V−X1 / V), That is, a pulse having a desired half width Hw ′ can be obtained.

このように、Hw’=Hw+Tの関係から、仮に従来の半値幅Hwが不明であっても、Tを大きくして、少なくとも所望の値以上に半値幅Hw’を設定できる。また、半値幅Hwが既知であれば所望の半値幅Hw’を設定できる。以上のように、コイル部の間隔Lを調整することで任意の発電パルス幅を得ることができ、処理部の設計自由度が向上する。   Thus, from the relationship of Hw ′ = Hw + T, even if the conventional half-value width Hw is unknown, it is possible to increase T and set the half-value width Hw ′ to at least a desired value or more. If the half width Hw is known, a desired half width Hw ′ can be set. As described above, an arbitrary power generation pulse width can be obtained by adjusting the interval L between the coil portions, and the design freedom of the processing portion is improved.

次に、3つの発電素子30,40,50を備えた回転数検出器200について説明する。
回転数検出器200の構成は、基本的に回転数検出器100と同様である。図6に示すように、発電部2は、発電素子30,40,50を一体でパッケージングしたものであり、磁石1から回転軸方向(上方)に間隔Gだけ離れた位置に配置されている。発電素子30,40,50は、磁石1の一回転に対して60度位相差となる間隔で等間隔に配置されている。発電素子30,40,50は、図3を用いて説明した発電素子30と同様の構成である。
Next, the rotation speed detector 200 including the three power generation elements 30, 40, 50 will be described.
The configuration of the rotational speed detector 200 is basically the same as that of the rotational speed detector 100. As shown in FIG. 6, the power generation unit 2 is a package in which the power generation elements 30, 40, 50 are integrally packaged, and is disposed at a position separated from the magnet 1 by a gap G in the rotation axis direction (upward). . The power generating elements 30, 40, and 50 are arranged at equal intervals at intervals of 60 degrees with respect to one rotation of the magnet 1. The power generation elements 30, 40, and 50 have the same configuration as that of the power generation element 30 described with reference to FIG.

ここで、3個の発電素子をコイル部ごと重ね合わせた場合、一例ではΦ=5mm程度であるため、発電部2の厚さは3Φ=15mmとなり、2つのピックアップコイルの外径の分だけ検出器が厚くなってしまう。一方、発電素子30,40,50では、コイル部同士が干渉しないように、磁性ワイヤ部分のみが磁石1の回転中心の上方で重なり合っている。このように磁性ワイヤ部分だけを重ね合わせた場合、発電部2の厚さはΦ+3W+2αである。一例ではW=0.2mm程度であるため、例えばα=0.1mmとすると当該厚さはΦ+2W+α=5.8mmとなり、回転数検出器100の場合よりもさらに大幅な薄型化が可能となる。   Here, when three power generating elements are overlapped together with the coil part, in one example, Φ = 5 mm, so the thickness of the power generating part 2 is 3Φ = 15 mm, and only the outer diameter of the two pickup coils is detected. The vessel becomes thick. On the other hand, in the power generating elements 30, 40, 50, only the magnetic wire portion overlaps above the rotation center of the magnet 1 so that the coil portions do not interfere with each other. Thus, when only a magnetic wire part is overlap | superposed, the thickness of the electric power generation part 2 is (PHI) + 3W + 2 (alpha). In one example, since W = 0.2 mm, for example, when α = 0.1 mm, the thickness becomes Φ + 2W + α = 5.8 mm, and the thickness can be significantly reduced compared with the case of the rotation speed detector 100.

また、3つの発電素子をコイル部ごと重ね合わせた場合、磁石1と最下段の発電素子との間隔Gを例えば3mmとすると、磁石1と最上段の発電素子との間隔はG+2Φ=13mmとなる。従って、磁石1と3個の発電素子との間隔の差が大きくなり、出力パルスに差異が生じ、検出器の信頼性が低下することになる。一方、磁性ワイヤ部分のみが磁石1の回転中心の上方で重なり合う発電素子30,40,50では、磁石1と最上段の発電素子50との間隔はG+2W+2α=3.3mmとなる。このように、磁石1と3つの発電素子30,40,50との間隔を近い値に設定できる。   Further, when the three power generating elements are overlapped together with the coil portion, if the gap G between the magnet 1 and the lowermost power generating element is, for example, 3 mm, the distance between the magnet 1 and the uppermost power generating element is G + 2Φ = 13 mm. . Therefore, the difference in the interval between the magnet 1 and the three power generating elements is increased, the output pulse is different, and the reliability of the detector is lowered. On the other hand, in the power generating elements 30, 40, 50 in which only the magnetic wire portion overlaps above the rotation center of the magnet 1, the interval between the magnet 1 and the top power generating element 50 is G + 2W + 2α = 3.3 mm. Thus, the distance between the magnet 1 and the three power generating elements 30, 40, 50 can be set to a close value.

次に、回転数検出器200の動作について説明する。
発電素子30,40,50はそれぞれ、磁石1の回転に対してN→S極の境界付近で正のパルス、S→N極の境界付近で負のパルスを発生させる。回転数検出器100では、正常にパルスが発生している場合は問題なく回転数と回転方向を判別できる。ただし、磁気ノイズなどの外乱要因によってパルスが1回消失すると、回転方向の判別ができなくなり、回転数の誤カウントが発生するおそれがある。回転数検出器200では、発電素子を3個配置することにより、例えば発電素子30の正のパルスが消失した場合にも、発電素子40に正パルスが発生した場合は正転、発電素子50に正パルスが発生した場合は反転と判断でき、1回のパルス抜けを補正できる。
Next, the operation of the rotation speed detector 200 will be described.
The power generation elements 30, 40, and 50 generate a positive pulse near the boundary of N → S pole and a negative pulse near the boundary of S → N pole with respect to the rotation of the magnet 1. The rotation speed detector 100 can determine the rotation speed and the rotation direction without any problem when a pulse is normally generated. However, if the pulse disappears once due to disturbance factors such as magnetic noise, the rotation direction cannot be determined, and there is a possibility that an erroneous count of the number of rotations may occur. In the rotation speed detector 200, by arranging three power generation elements, for example, when a positive pulse of the power generation element 30 disappears, if a positive pulse is generated in the power generation element 40, the rotation detector 200 rotates forward. When a positive pulse occurs, it can be determined that the pulse is reversed and one missing pulse can be corrected.

同様に、発電素子をM個配置することにより(M−2)回のパルス抜けを補正できる。このように、パルス抜けを補正するためには、より多くの発電素子を配置できる。回転数検出器200では、各発電素子が磁性ワイヤ部分のみで重ね合わされたことにより、検出器200の厚さを殆ど変えることなく発電素子の数を増やすことができる。   Similarly, (M−2) times of missing pulses can be corrected by arranging M power generating elements. Thus, in order to correct missing pulses, more power generation elements can be arranged. In the rotation speed detector 200, the number of power generation elements can be increased without substantially changing the thickness of the detector 200 because each power generation element is overlapped only with the magnetic wire portion.

次に、本発明の実施の形態について説明する。本発明の実施の形態は、磁石の構成において比較例と異なる。それゆえ以下では、比較例で説明した構成については説明を省略する。   Next, an embodiment of the present invention will be described. The embodiment of the present invention differs from the comparative example in the configuration of the magnet. Therefore, below, description is abbreviate | omitted about the structure demonstrated by the comparative example.

実施の形態1.
図7は、実施の形態1による回転数検出器の概略構成を示す斜視図である。図8では、発電部を除いた状態で回転数検出器を示している。
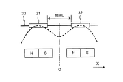
本実施形態1による回転数検出器300では、中心に貫通孔11aが形成されたリング状磁石11を用いる。磁石11には、S極とN極からなる磁極対が、径方向に隣接して2つ設けられている。換言すると、磁石11は片面4極に着磁されている。また、後述するように、磁石11は、磁性ワイヤ33の長手方向において、コイル部31,32の位置で極大(または最大)となる磁界分布を作成する。
Embodiment 1 FIG.
FIG. 7 is a perspective view showing a schematic configuration of the rotation speed detector according to the first embodiment. In FIG. 8, the rotational speed detector is shown with the power generation unit removed.
In the rotation speed detector 300 according to the first embodiment, the ring-shaped magnet 11 having a through hole 11a formed at the center is used. The magnet 11 is provided with two magnetic pole pairs composed of an S pole and an N pole adjacent in the radial direction. In other words, the magnet 11 is magnetized with four poles on one side. Further, as will be described later, the magnet 11 creates a magnetic field distribution that is maximum (or maximum) at the position of the coil portions 31 and 32 in the longitudinal direction of the magnetic wire 33.

次に、図9Aと9B、図10Aと10Bを用いて、磁石11から生じて磁性ワイヤ33に印加される磁界について、比較例と本実施形態1とを比較して説明する。なお、図9Aと9Bは側面図を示し、図中のX方向は回転の径方向を示す。径方向は、磁性ワイヤ33の長手方向に一致する。また、図10Aと10Bのグラフの横軸は径方向の位置を、縦軸は径方向の磁界成分Hxを示す。   Next, with reference to FIGS. 9A and 9B and FIGS. 10A and 10B, the magnetic field generated from the magnet 11 and applied to the magnetic wire 33 will be described by comparing the comparative example with the first embodiment. 9A and 9B show side views, and the X direction in the figure shows the radial direction of rotation. The radial direction coincides with the longitudinal direction of the magnetic wire 33. 10A and 10B, the horizontal axis represents the radial position, and the vertical axis represents the radial magnetic field component Hx.

比較例では、S/N各1極が着磁された円板状の磁石1を用いた(図2参照)。この場合、磁石1の回転中心の上方で重ね合わせられた磁性ワイヤ33には、図9Aに破線で示す磁界が印加される。図10Aにも示すように、磁性ワイヤ33の長手方向における磁界成分が最大となる位置は、磁石1の中心、すなわち磁性ワイヤ33の中心位置Oとなる。また、図1に示したように、発電素子30による発電量は、磁石1の回転中心上で最大となる。しかし、比較例ではワイヤ中心位置Oから±L/2だけ離れた位置にコイル部31,32が巻回されており、発電量が若干減少する。   In the comparative example, a disk-shaped magnet 1 in which each S / N pole is magnetized is used (see FIG. 2). In this case, a magnetic field indicated by a broken line in FIG. 9A is applied to the magnetic wire 33 superimposed above the rotation center of the magnet 1. As shown also in FIG. 10A, the position where the magnetic field component in the longitudinal direction of the magnetic wire 33 is maximum is the center of the magnet 1, that is, the center position O of the magnetic wire 33. Further, as shown in FIG. 1, the amount of power generated by the power generation element 30 becomes maximum on the rotation center of the magnet 1. However, in the comparative example, the coil portions 31 and 32 are wound at positions separated by ± L / 2 from the wire center position O, and the power generation amount is slightly reduced.

一方、本実施形態1では、磁石11の回転中心の上で重ね合わせられた磁性ワイヤ33には、図9Bに破線で示す磁界が印加される。図10Bにも示すように、磁性ワイヤ33の長手方向における磁界成分が最大(または極大)となる位置は、磁性ワイヤ33の中心位置Oから±S離れた位置となる。従って、磁性ワイヤ33の中心位置Oから±S離れた位置にコイル部31,32をそれぞれ巻回することによって、すなわちL/2=Sとすることによって、発電効率を最大とすることができる。   On the other hand, in the first embodiment, a magnetic field indicated by a broken line in FIG. 9B is applied to the magnetic wire 33 superimposed on the rotation center of the magnet 11. As shown also in FIG. 10B, the position where the magnetic field component in the longitudinal direction of the magnetic wire 33 becomes maximum (or maximum) is a position away from the center position O of the magnetic wire 33 by ± S. Therefore, the power generation efficiency can be maximized by winding the coil portions 31 and 32 at positions away from the central position O of the magnetic wire 33 by ± S, that is, L / 2 = S.

ところで、本実施形態1のように、磁性ワイヤ33の長手方向において複数箇所で磁界成分が極大となる場合、図4を用いて説明した磁化反転発生点10も複数の位置に生じることが考えられる。この場合にも、事前に複数の磁化反転の発生位置と伝播速度、必要に応じて発生タイミングを測定しておくことにより、上記タイムラグTを予め知ることができ、これにより従来の発電パルス半値幅Hwに比べて大きい所望のパルス半値幅Hw’を得ることができる。   By the way, when the magnetic field component is maximized at a plurality of locations in the longitudinal direction of the magnetic wire 33 as in the first embodiment, the magnetization reversal generation points 10 described with reference to FIG. 4 may also occur at a plurality of positions. . Also in this case, the time lag T can be known in advance by measuring the occurrence position and propagation speed of a plurality of magnetization reversals in advance and the occurrence timing as necessary. A desired pulse half width Hw ′ larger than Hw can be obtained.

このようにして、比較例と同様に、薄型で信頼性が高く、さらに設計自由度が高い回転検出器が実現され、特に本実施形態1により、発電効率が向上するという効果が得られる。   In this manner, as in the comparative example, a rotation detector that is thin, highly reliable, and has a high degree of design freedom is realized. In particular, according to the first embodiment, the effect of improving the power generation efficiency can be obtained.

なお、本実施形態1では、径方向に隣接して磁極対が2つ設けられた磁石11を用いたが、図11に示すように、磁石11の厚み方向、すなわち回転の軸方向に隣接して磁極対が2つ設けられた磁石11を用いた場合でも、同様の結果を得ることができる。また、磁石11に3つ以上の磁極対が設けられてもよい。   In the first embodiment, the magnet 11 provided with two magnetic pole pairs adjacent to each other in the radial direction is used. However, as shown in FIG. 11, the magnet 11 is adjacent to the thickness direction of the magnet 11, that is, the axial direction of rotation. Similar results can be obtained even when the magnet 11 having two magnetic pole pairs is used. Further, the magnet 11 may be provided with three or more magnetic pole pairs.

以上のように、本実施形態1では、隣接して磁極対が2つ設けられたリング状磁石11を用いることにより、磁性ワイヤ33の中心位置Oから±S離れた位置で、磁性ワイヤ33の長手方向での磁界成分が最大となるようにした。さらに、その箇所にコイル部31,32を巻回することにより、発電効率が最大となるようにした。磁性ワイヤ33の長手方向での磁界成分が最大となる位置を調整するために、磁石11に形成される貫通孔の径、磁石11の外形などを変更してもよい。   As described above, in the first embodiment, by using the ring-shaped magnet 11 provided with two magnetic pole pairs adjacent to each other, the magnetic wire 33 is positioned at a position ± S away from the center position O of the magnetic wire 33. The magnetic field component in the longitudinal direction is maximized. Further, the power generation efficiency is maximized by winding the coil portions 31 and 32 around the portions. In order to adjust the position where the magnetic field component in the longitudinal direction of the magnetic wire 33 is maximized, the diameter of the through hole formed in the magnet 11, the outer shape of the magnet 11, and the like may be changed.

実施の形態2.
図12は、実施の形態2による回転数検出器の概略構成を示す斜視図である。
実施形態1では、リング状磁石11を用いて、磁性ワイヤ33の中心位置Oから±S離れた位置で、磁性ワイヤの長手方向での磁界成分が最大となるようにした。一方、本実施形態2による回転数検出器400では、図12に示すように、S/N各1極が着磁された2個の磁石21,22を回転の径方向に沿って並べた磁石群を用いる。磁石21,22は、それぞれの磁石の長手方向に着磁され、これにより径方向に隣接して磁極対が2つ設けられる。
Embodiment 2. FIG.
FIG. 12 is a perspective view showing a schematic configuration of the rotation speed detector according to the second embodiment.
In the first embodiment, the ring-shaped magnet 11 is used so that the magnetic field component in the longitudinal direction of the magnetic wire is maximized at a position away from the central position O of the magnetic wire 33 by ± S. On the other hand, in the rotation speed detector 400 according to the second embodiment, as shown in FIG. 12, two magnets 21 and 22 magnetized with one S / N pole are arranged along the radial direction of rotation. Use groups. The magnets 21 and 22 are magnetized in the longitudinal direction of each magnet, whereby two magnetic pole pairs are provided adjacent to each other in the radial direction.

本実施形態2によれば、実施形態1で説明した効果と同様の効果を得ることができる。   According to the second embodiment, the same effects as those described in the first embodiment can be obtained.

なお、図6を用いて示したように、発電部2に3つ以上の発電素子を設ける場合にも、本実施形態2による磁石21,22の構成が有効である。   As shown in FIG. 6, the configuration of the magnets 21 and 22 according to the second embodiment is also effective when three or more power generation elements are provided in the power generation unit 2.

また、本実施形態2では、S/N各1極が磁石長手方向に着磁された磁石21を径方向に並べたが、図13に示すように、S/N各1極が磁石厚み方向に着磁された磁石21,22を径方向に並べた場合でも、同様の効果を得ることができる。   In the second embodiment, the magnets 21 in which each S / N pole is magnetized in the magnet longitudinal direction are arranged in the radial direction. However, as shown in FIG. 13, each S / N pole is in the magnet thickness direction. The same effect can be obtained even when the magnets 21 and 22 magnetized in are arranged in the radial direction.

以上のように、本実施形態2では、2個以上の磁石からなる磁石群を用いることにより、磁性ワイヤ33の中心位置Oから±S離れた位置で、磁性ワイヤ33の長手方向での磁界成分が最大となるようにした。さらに、その箇所にコイル部31,32を巻回することにより、発電効率が最大となるようにした。磁性ワイヤ33の長手方向での磁界成分が最大となる位置を調整するために、磁石21と磁石22との間に所定の間隔が設けられてもよい。   As described above, in the second embodiment, a magnetic field component in the longitudinal direction of the magnetic wire 33 at a position away from the central position O of the magnetic wire 33 by ± S by using a magnet group including two or more magnets. Was maximized. Further, the power generation efficiency is maximized by winding the coil portions 31 and 32 around the portions. In order to adjust the position where the magnetic field component in the longitudinal direction of the magnetic wire 33 is maximized, a predetermined interval may be provided between the magnet 21 and the magnet 22.

以上説明したように、実施形態1では片面または両面に複数極が着磁された1つの磁石を用い、実施形態2では複数個の磁石を用いたが、本発明はこれに限定されることはない。特許請求の範囲の「磁石アセンブリ」は、磁石の個数、形状によらず、2つ以上の磁極対が設けられた回転数検出器の部品であればよい。また、磁石アセンブリには、作成される磁界分布を制御するようにヨーク(継鉄)が設けられてもよい。   As described above, in the first embodiment, one magnet having a plurality of poles magnetized on one side or both sides is used, and in the second embodiment, a plurality of magnets are used. However, the present invention is not limited to this. Absent. The “magnet assembly” in the claims is not limited to the number and shape of the magnets, but may be any component of the rotational speed detector provided with two or more magnetic pole pairs. Further, the magnet assembly may be provided with a yoke so as to control the magnetic field distribution to be created.

1,11,21,22 磁石、 2 発電部、 4 回転シャフト、 10 磁化反転発生点、 11a 貫通孔、 30,40,50 発電素子、 31,32 コイル部、 33 磁性ワイヤ、 100,200,300,400 回転数検出器。   1, 11, 21, 22 Magnet, 2 Power generation unit, 4 Rotating shaft, 10 Magnetization reversal generation point, 11a Through hole, 30, 40, 50 Power generation element, 31, 32 Coil unit, 33 Magnetic wire, 100, 200, 300 400 rpm detector.

Claims (8)

検出対象の回転体と共に回転する磁石アセンブリと、
前記磁石アセンブリの上方に配置され、大バルクハウゼン効果により磁化反転する磁性ワイヤと、
互いに離間して前記磁性ワイヤに巻回された複数のコイル部を含むピックアップコイルとを備え、
前記磁石アセンブリには、回転の径方向または軸方向に隣接して2つ以上の磁極対が設けられたことを特徴とする回転数検出器。
A magnet assembly that rotates with a rotating body to be detected;
A magnetic wire disposed above the magnet assembly and reversing in magnetization by a large Barkhausen effect;
A pickup coil including a plurality of coil portions wound around the magnetic wire apart from each other,
The rotational speed detector according to claim 1, wherein the magnet assembly is provided with two or more magnetic pole pairs adjacent to each other in the radial or axial direction of rotation.
前記磁石アセンブリは、前記磁性ワイヤの長手方向において、前記ピックアップコイルのコイル部の位置で極大となる磁界分布を作成することを特徴とする、請求項1に記載の回転数検出器。   2. The rotation speed detector according to claim 1, wherein the magnet assembly creates a magnetic field distribution that is maximized at a position of a coil portion of the pickup coil in a longitudinal direction of the magnetic wire. 前記磁石アセンブリは、中心に貫通孔が形成されたリング状磁石であることを特徴とする、請求項1または2に記載の回転数検出器。   The rotational speed detector according to claim 1, wherein the magnet assembly is a ring-shaped magnet having a through hole formed at a center thereof. 前記磁石アセンブリは、回転の径方向に沿って並べられた複数個の磁石であることを特徴とする、請求項1または2に記載の回転数検出器。   The rotational speed detector according to claim 1, wherein the magnet assembly is a plurality of magnets arranged along a radial direction of rotation. 前記磁性ワイヤに巻回された複数のコイル部は、電気的に直列に接続されていることを特徴とする、請求項1から4のいずれか1項に記載の回転数検出器。   The rotation speed detector according to any one of claims 1 to 4, wherein the plurality of coil portions wound around the magnetic wire are electrically connected in series. 前記磁性ワイヤとピックアップコイルとから構成される発電素子を複数個備え、
前記発電素子どうしは、前記ピックアップコイルの複数のコイル部の間で重ね合わされたことを特徴とする、請求項1から5のいずれか1項に記載の回転数検出器。
A plurality of power generating elements composed of the magnetic wire and the pickup coil are provided,
The rotation speed detector according to any one of claims 1 to 5, wherein the power generation elements are overlapped between a plurality of coil portions of the pickup coil.
前記発電素子どうしは、前記磁石アセンブリの回転中心の上方で重ね合わされたことを特徴とする、請求項6に記載の回転数検出器。   The rotation speed detector according to claim 6, wherein the power generation elements are overlapped with each other above a rotation center of the magnet assembly. 前記ピックアップコイルの複数のコイル部は、該複数のコイル部がそれぞれ出力する発電パルスの間のタイムラグ、および前記磁性ワイヤにおける磁化反転の発生位置と伝播速度に基づいて決定された間隔で互いに離間したことを特徴とする、請求項1から7のいずれか1項に記載の回転数検出器。   The plurality of coil portions of the pickup coil are separated from each other by an interval determined based on a time lag between power generation pulses output from the plurality of coil portions, and a generation position and a propagation speed of magnetization reversal in the magnetic wire. The rotation speed detector according to any one of claims 1 to 7, wherein
JP2013255881A 2013-12-11 2013-12-11 Rotational speed detector Active JP6066895B2 (en)

Priority Applications (1)

Application Number Priority Date Filing Date Title
JP2013255881A JP6066895B2 (en) 2013-12-11 2013-12-11 Rotational speed detector

Applications Claiming Priority (1)

Application Number Priority Date Filing Date Title
JP2013255881A JP6066895B2 (en) 2013-12-11 2013-12-11 Rotational speed detector

Publications (2)

Publication Number Publication Date
JP2015114192A true JP2015114192A (en) 2015-06-22
JP6066895B2 JP6066895B2 (en) 2017-01-25

Family

ID=53528118

Family Applications (1)

Application Number Title Priority Date Filing Date
JP2013255881A Active JP6066895B2 (en) 2013-12-11 2013-12-11 Rotational speed detector

Country Status (1)

Country Link
JP (1) JP6066895B2 (en)

Cited By (2)

* Cited by examiner, † Cited by third party
Publication number Priority date Publication date Assignee Title
JP2018105894A (en) * 2014-07-18 2018-07-05 株式会社ニコン Encoder device, drive device, stage device, and robot device
WO2023276488A1 (en) * 2021-06-30 2023-01-05 パナソニックIpマネジメント株式会社 Rotation detector

Citations (5)

* Cited by examiner, † Cited by third party
Publication number Priority date Publication date Assignee Title
JPS54184053U (en) * 1978-06-19 1979-12-27
JPS5952729U (en) * 1983-08-16 1984-04-06 松下 昭 pulse generator
JPH07134047A (en) * 1993-11-11 1995-05-23 Nikon Corp Multi-turn encoder
JP2012112707A (en) * 2010-11-22 2012-06-14 Nidec Sankyo Corp Rotary encoder
WO2013157279A1 (en) * 2012-04-17 2013-10-24 三菱電機株式会社 Multi-rotation encoder

Patent Citations (5)

* Cited by examiner, † Cited by third party
Publication number Priority date Publication date Assignee Title
JPS54184053U (en) * 1978-06-19 1979-12-27
JPS5952729U (en) * 1983-08-16 1984-04-06 松下 昭 pulse generator
JPH07134047A (en) * 1993-11-11 1995-05-23 Nikon Corp Multi-turn encoder
JP2012112707A (en) * 2010-11-22 2012-06-14 Nidec Sankyo Corp Rotary encoder
WO2013157279A1 (en) * 2012-04-17 2013-10-24 三菱電機株式会社 Multi-rotation encoder

Cited By (3)

* Cited by examiner, † Cited by third party
Publication number Priority date Publication date Assignee Title
JP2018105894A (en) * 2014-07-18 2018-07-05 株式会社ニコン Encoder device, drive device, stage device, and robot device
WO2023276488A1 (en) * 2021-06-30 2023-01-05 パナソニックIpマネジメント株式会社 Rotation detector
JPWO2023276488A1 (en) * 2021-06-30 2023-01-05

Also Published As

Publication number Publication date
JP6066895B2 (en) 2017-01-25

Similar Documents

Publication Publication Date Title
JP5976194B2 (en) Rotational speed detector
JP7099699B2 (en) Core structure and strain detector for detecting changes in permeability
US11152875B2 (en) Multigroup-multiphase rotary electrical machine control device and multigroup-multiphase rotary electrical machine drive device
JP2013215021A (en) Electromagnetic induction device
JP5182752B2 (en) Angle detection device and manufacturing method thereof
JP6066895B2 (en) Rotational speed detector
JP6498580B2 (en) Brushless resolver and rotation angle detector
JP2008263738A (en) Rotating electric machine
JP5518363B2 (en) Rotation angle detector
JP6415029B2 (en) Electromagnetic induction device
JP2013102659A (en) Lorentz motor
JP5411084B2 (en) Rotation angle detector
JP5554997B2 (en) Brushless motor stator and brushless motor
JP2010098887A (en) Brushless motor
JP2011202966A (en) Rotation angle sensor
JP2015162983A (en) switched reluctance motor
JP4525628B2 (en) Rotation angle detector
JP5331672B2 (en) Rotation angle sensor
JP2022085438A (en) Electromagnetic induction rotary encoder
US20240186843A1 (en) Motor
JP2010217111A (en) Variable reluctance type angle detector
JP6149663B2 (en) Mechanical and electric integrated motor
JP2006343239A (en) Inductor-type resolver
JP2011069811A (en) Rotation angle sensor
JP2022030905A (en) Hybrid stepping motor

Legal Events

Date Code Title Description
A621 Written request for application examination

Free format text: JAPANESE INTERMEDIATE CODE: A621

Effective date: 20151022

A977 Report on retrieval

Free format text: JAPANESE INTERMEDIATE CODE: A971007

Effective date: 20160825

A131 Notification of reasons for refusal

Free format text: JAPANESE INTERMEDIATE CODE: A131

Effective date: 20160913

A521 Request for written amendment filed

Free format text: JAPANESE INTERMEDIATE CODE: A523

Effective date: 20161102

TRDD Decision of grant or rejection written
A01 Written decision to grant a patent or to grant a registration (utility model)

Free format text: JAPANESE INTERMEDIATE CODE: A01

Effective date: 20161122

A61 First payment of annual fees (during grant procedure)

Free format text: JAPANESE INTERMEDIATE CODE: A61

Effective date: 20161220

R150 Certificate of patent or registration of utility model

Ref document number: 6066895

Country of ref document: JP

Free format text: JAPANESE INTERMEDIATE CODE: R150

R250 Receipt of annual fees

Free format text: JAPANESE INTERMEDIATE CODE: R250

R250 Receipt of annual fees

Free format text: JAPANESE INTERMEDIATE CODE: R250

R250 Receipt of annual fees

Free format text: JAPANESE INTERMEDIATE CODE: R250

R250 Receipt of annual fees

Free format text: JAPANESE INTERMEDIATE CODE: R250

R250 Receipt of annual fees

Free format text: JAPANESE INTERMEDIATE CODE: R250

R250 Receipt of annual fees

Free format text: JAPANESE INTERMEDIATE CODE: R250

R250 Receipt of annual fees

Free format text: JAPANESE INTERMEDIATE CODE: R250