JP2014222829A - 画像再生装置 - Google Patents

画像再生装置 Download PDF

Info

Publication number
JP2014222829A
JP2014222829A JP2013101849A JP2013101849A JP2014222829A JP 2014222829 A JP2014222829 A JP 2014222829A JP 2013101849 A JP2013101849 A JP 2013101849A JP 2013101849 A JP2013101849 A JP 2013101849A JP 2014222829 A JP2014222829 A JP 2014222829A
Authority
JP
Japan
Prior art keywords
image
display area
reproduced
display
operation panel
Prior art date
Legal status (The legal status is an assumption and is not a legal conclusion. Google has not performed a legal analysis and makes no representation as to the accuracy of the status listed.)
Pending
Application number
JP2013101849A
Other languages
English (en)
Inventor
松山 一郎
Ichiro Matsuyama
一郎 松山
Current Assignee (The listed assignees may be inaccurate. Google has not performed a legal analysis and makes no representation or warranty as to the accuracy of the list.)
Canon Inc
Original Assignee
Canon Inc
Priority date (The priority date is an assumption and is not a legal conclusion. Google has not performed a legal analysis and makes no representation as to the accuracy of the date listed.)
Filing date
Publication date
Application filed by Canon Inc filed Critical Canon Inc
Priority to JP2013101849A priority Critical patent/JP2014222829A/ja
Publication of JP2014222829A publication Critical patent/JP2014222829A/ja
Pending legal-status Critical Current

Links

Images

Landscapes

  • Television Signal Processing For Recording (AREA)
  • User Interface Of Digital Computer (AREA)

Abstract

【課題】再生中の画像が画面外に出た場合でも、再生操作を可能にする。【解決手段】制御部(101)は、メモリカード(199)の複数の画像を表示部(110)の画面に一覧表示する。表示される画像の選択操作に応じて、制御部(101)は、その画像を画像デコーダ(106)に再生させ、音声を音声デコーダ(107)に再生させる。再生画像は、表示部(110)の同じ位置に表示される。再生音声はスピーカ(112,113)から出力される。制御部(101)は、表示部(110)に表示される再生中の画像の下部に個別操作パネルを表示させ、再生中の画像が表示部(110)の表示領域外に出たときには、個別操作パネルを表示領域内の端部に表示させる。個別操作パネルの操作に応じて、制御部(101)は、対応する画像の再生を制御する。【選択図】 図1

Description

本発明は、画像を再生する画像再生装置に関する。
動画を表示する装置には、論理的な画面に動画を再生する1又は複数のエリア(又はウインドウ)を設定し、その論理画面の一部を物理的なモニタ画面に割り当てるようになっているものがある。例えば、パーソナルコンピュータのウインドウシステム及びブラウザ、更には、デジタルカメラ、デジタルビデオカメラ、及びスマートフォンに代表される携帯情報端末などにそのような機能を有するものがある。
デジタルカメラ及び小画面の携帯情報端末では、記録される動画像を画面上に複数、一覧表示しつつ、スクロールにより画面外の動画を選択可能にするインターフェースを有するものがある。
こうしたインターフェースを備えるものには、ユーザが再生停止中の動画像(のサムネイル又は代表画像)にタッチするなどの選択操作をすることで、その動画像を同じ枠内で画面遷移無しに再生開始するものがある。しかし、選択された動画像が再生中のままスクロールによりモニタの表示領域の外に出てしまった場合、ユーザはその動画像に対する操作ができなくなってしまう。
特許文献1には、スクロールにより表示領域の外に出た動画像の再生を一時停止する画像再生装置が記載されている。特許文献2には、選択された画像がスクロールによっても表示領域の端に残すようにした画像再生装置が記載されている。
特開2011−259413号公報 特開2007−104322号公報
特許文献1に記載される技術では、動画像や音声の再生を続けたままにしたい場合、それを表示領域内に留める必要があり、表示領域外の画像をスクロールで確認することができなくなる。
特許文献2に記載される技術では、選択された画像自体が表示領域に残るので、他の画像を確認するための表示領域が小さくなり、一度に確認できる画像数が大幅に減ってしまう。
本発明は、このような不都合を解消する画像再生装置を提示することを目的とする。
上記課題を解決するため、本発明に係る画像再生装置は、複数の画像を表示できる、タッチパネルを表示画面に有する表示手段と、前記表示手段の表示領域に表示される画像のスクロールを指示する操作手段と、前記操作手段の前記スクロールに従い、前記表示領域に表示される画像を前記表示領域の内外にスクロールする手段と、前記表示手段の表示領域に表示される何れかの画像を選択操作に従い再生する再生手段と、再生中の画像に対する再生操作のための個別操作パネルを前記表示手段に表示させる制御手段であって、前記再生中の画像が前記表示手段の表示領域内にあるときには、前記個別操作パネルを前記再生中の画像に付加するように配置し、前記再生中の画像が前記表示手段の表示領域外にあるときには、前記個別操作パネルを前記表示領域内の端部に配置する制御手段とを具備することを特徴とする。
本発明によれば、表示領域の外に出た画像に対する制御を行うことができる。
本発明の一実施例の概略構成ブロック図である。 本実施例の外形斜視図である。 本実施例の表示画面例である。 本実施例の表示画面の遷移例である。 再生中の画像と画像バッファ及び音声バッファとの関係を示す模式図である。 スクロール操作に対する画像と個別操作パネルの表示更新のフローチャートである。 個別操作パネルの再配置処理のフローチャートである。 画像選択操作に対する再生動作のフローチャートである。 再生終了に伴うバッファと個別操作パネルの処理例を示すフローチャートである。 個別操作パネルのサイズを変更する例を示す模式図である。 画像選択禁止を示すアイコンの表示例である。 新たな画像の選択により再生中画像の再生を停止する場合の表示例である。
以下、図面を参照して、本発明の実施例を詳細に説明する。
図1は、本発明の一実施例である画像再生装置100の概略構成ブロック図を示し、図2はその外観斜視図を示す。
画像再生装置100の制御部101はマイクロコンピュータからなり、内蔵プログラムに従い画像再生装置100の、内部バス102に接続する各部を統括的に制御する。
メモリカードコントローラ103は、画像再生装置100のカードスロット202に差し込まれたメモリカード199に格納された符号化画像データ(又は圧縮画像データ)と、これに付加された符号化音声データを読み出す。
DRAMコントローラ104は、各ブロックからの要求に基づきDRAM105へのデータの読み書きを制御する。メモリカード199から読み出された符号化画像データ及び符号化音声データは、DRAM105に先ず格納される。
画像デコーダ106は、DRAM105に格納された符号化画像データを復号化し、復元された画像データをDRAM105に格納する。
音声デコーダ107は、DRAM105に格納された符号化音声データを復号化し、復元された音声データをDRAM105に格納する。
グラフィック描画部108は、制御部101の指示に基づき、復号化済みの画像をレイアウトして表示用画像を生成してDRAM105に格納する。また、グラフィック描画部108は、制御部101の指示に基づき、制御用アイコンなど表示用画像に重畳する重畳画像を描画し、DRAM105に格納する。
表示制御部109は、DRAM105に格納された表示用画像と重畳用画像を合成し、表示部110で表示する。
音声信号出力部111は、DRAM105に格納された復号化済みの音声データから音声信号を合成し、表示部110の両側に配置されるスピーカ112、113に供給する。図2に示すように、スピーカ112は表示部110の上側に配置され、スピーカ113は表示部110の下側に配置されている。
操作検出部114は、タッチパネル115に対するユーザ操作の位置を検出し、検出結果を制御部101に供給する。タッチパネル115は、表示部110の前面に配置され、表示部110の表示画像を透過する。制御部101は、操作検出部114の検出結果からユーザの指示内容を判別する。
画像再生装置の上面に電源ボタン201が配置されている。
図3を参照して、本実施例の表示画面例を説明する。図3に示す例では、表示部110の表示画面上に、メモリカード199に格納された4つの画像(動画又は静止画)を示す代表画像310,320,330,340が縦に並んで表示されている。動画像に対する代表画像は、当該動画像の最初のフレーム画像か、一定時間後のシーンのフレーム画像を縮小した(画素を間引いた)サイズになっている。静止画に対する代表画像は、当該静止画を縮小した(画素を間引いた)サイズで示すものになっている。勿論、十分に大きな表示領域が確保されている場合、代表画像は基礎となる画像をそのままの画素数で表示するものであってもよい。
図3に示す例では、代表画像320は動画に対するものであり、ユーザが代表画像320を選択している。この選択状態では、代表画像320の下部に関連する情報(名称と時間情報)を表示し、再生操作ボタン等を設定する個別操作パネル(個別操作手段)321が付加的に設定される。
個別操作パネル321には、名称表示域322、時間表示域323、再生開始/停止ボタン324、再生位置スライダ325、音声ミュートボタン326及び音量スライダ327が設定される。名称表示域322には、画像データの名称(ファイル名)が表示される。時間表示域323には、先頭からの再生経過時間と録画時間が表示される。
再生開始/停止ボタン324は、タッチパネル115の対応箇所へのタッチ(触れてすぐ離す操作)により画像(音声が付随する場合には、音声も含む。)の再生開始、一時停止及び停止を制御部101に指示する手段である。制御部101は再生開始/停止ボタン324へのタッチの都度、再生開始と一時停止を交互し、長押しにより再生を停止する。
再生位置スライダ325は、当該画像の時間軸上での再生位置を示すと共に、触れたまま横にスライドすることで再生位置の変更を制御部101に指示する、画像再生位置の変更手段である。音声ミュートボタン326は、タッチの都度、音声出力状態と音声出力停止状態を交互に制御部101に指示するトグルボタンである。音量スライダ327は、再生音量を示し、触れたまま横にスライドすることで音量の変更を制御部101に指示する音量調節手段である。
ユーザは個別操作パネル321を操作することで、この個別操作パネルが付加された画像の再生状態(開始、停止、一時停止)を制御部101に指示できる。当該画像を最後まで再生すると、制御部101は、当該画像に対する個別操作パネル321を消去又は解消する。これにより、単に代表画像が表示される状態に戻る。
個別操作パネル321の構成ないしはデザインは、図3に示すものに限定されず、操作指示の内容を示唆する任意の記号、画像またはこれらの組み合わせであっても良い。
ユーザは、表示部110の任意の位置に触れた状態で縦にスライドすることで、表示部110の表示内容をスクロールできる。制御部101は、メモリカード199に格納された画像を、撮影時刻など所定の順序で縦に並べ、且つ所定の間隔を設けて、表示部110に表示する。表示部110に表示される画像は、ユーザのスクロール操作に合わせて、表示部110の表示領域内外に移動する。但し、詳細は後述するが、再生中の画像に付加される個別操作パネル、例えば個別操作パネル321については、制御部101は、付加された画像が表示領域から外に出ても、表示領域内の端部に固定的に表示したままとする。これにより例えば、再生中の画像がスクロールにより表示部110の表示領域外に出たとしても、ユーザは、表示領域内の端部に残る個別操作パネルにより再生動作を制御できる。
図4を参照して、表示画面の遷移と音声出力の関係を説明する。図4は、表示部110の表示態様の変遷例を示す。メモリカード199には、画像A、B、C、・・・L、M、Nの画像データ(符号化画像データ)が格納され、そのうちの3〜4枚がスクロール位置に応じて表示部110の表示画面上に同時に表示されるものとする。
画面401では、画像C、D、E、Fが順に表示されている。画像C,Dは一部が表示され、画像D,Eは全部が表示されている。ここで、ユーザが画像Dを選択すると、画面411に遷移する。画面411では、画像Dが再生中となり、画像Dの下側に個別操作パネルdが付加される。画像Dの音声はスピーカ112,113から出力される。
画面411で画像Dが消えるまで上スクロールして、画面412になったとする。なお、上スクロールとは、上から表示領域外の画像が現れ、表示領域内の画像とその個別操作パネルが下に移動する方向のスクロールを指す。下スクロールはこれと逆方向のスクロールを指す。
画面412では、再生中の画像Dが表示領域の下から表示領域外に出ているが、制御部101は、個別操作パネルdが表示領域の下端に固定されて残るように、個別操作パネルdの表示位置を制御する。ユーザは、表示領域外に出た画像Dに対する再生制御を個別操作パネルdにより行うことができる。画面411のように画像Dが表示領域の中に戻ると、制御部101は、個別操作パネルdの表示領域端部への固定を解除して画像Dの下に付加し、表示領域内で個別操作パネルdを画像Dと一体に移動させる。画像Dが表示領域の下側に出ている間、制御部101は、音声信号出力部111を制御して、画像Dの音声を画面下側に位置するスピーカ113のみから出力させる。これにより、ユーザは、再生中の画像がスピーカ113側に存在することを知覚できる。
逆に画面411で画像Dが消えるまで下スクロールすると、画面413となる。画面413では、再生中の画像Dが表示領域からその上側に出るが、制御部101は、個別操作パネルdを表示領域内の上端に固定されて残るように、個別操作パネルdの表示位置を制御する。ユーザは、表示領域外に出た画像Dに対する再生制御を表示領域内の上端の個別操作パネルdにより行うことができる。画面411のように画像Dが表示領域の中に戻ると、制御部101は、個別操作パネルdの表示領域端部への固定を解除して画像Dの下に付加し、表示領域内で個別操作パネルdを画像Dと一体に移動させる。画像Dが表示領域の上側に出ている間、制御部101は、音声信号出力部111を制御して、画像Dの音声を表示部110の画面の上側に位置するスピーカ112のみから出力させる。これにより、ユーザは、再生中の画像がスピーカ112側に存在することを知覚できる。
以下、同様に、表示領域の外に出た再生中の画像の音声は、当該画像が表示領域から出た側に配置されるスピーカのみから出力される。
表示領域からその上側に出た再生中の画像Dの個別操作パネルdが表示領域の上端に残ったままの画面413で画像Fを選択すると、画面421に遷移する。画面421では、画像Fが再生表示され、画像Fの下側に個別操作パネルfが付加される。画面421の状態で、個別操作パネルfが画面端に達し、更に画像Fの一部が欠けるまで上スクロールすると、画面422になる。
画面422では、制御部101は、再生中の画像Fをその下部が部分的に欠けた状態で表示し、個別操作パネルfを表示領域の下端に固定的に表示する。上スクロールの場合、個別操作パネルは、関連する画像の全体が表示領域の外に出る前から個別操作パネル自身が表示領域の外に出ないように、表示領域の端に達した段階で表示領域の端に固定される。画面422では、再生中の画像Dが表示領域の中に戻っているので、制御部101は個別操作パネルdの固定を解除し、再び画像Dの下側の位置に付加する。
逆に画面421で画像F,Gが消えるまで下スクロールすると、画面423になる。画面423では、再生中の画像D,Fがともに表示領域からその上側に出て、対応する個別操作パネルd,fが画面上端に並んで固定されて残る。このように、再生中の複数の画像が表示領域の外に出た場合、これら再生中の画像に対する個別操作パネルは、画像が外に出た順に表示領域端に並んで配置される。既に同方向の表示領域端に固定されている個別操作パネルが存在する場合、その個別操作パネルと重ならないよう、それと接した位置で次の個別操作パネルが固定される。スクロールにより再生中の画像が表示領域内に戻り、その画像の下に付加しても個別操作パネルが表示領域に収まるようになると、他の個別操作パネルと重ならなくなった時点で、個別操作パネルの固定は解除され、関連する画像の下に付加される。
画面423で画像Dの再生が完了するか、ユーザが画像Dの再生を停止すると、画面431に遷移する。画面431では、再生が完了した画像Dの個別操作パネルdが消去され、表示領域外で引き続き再生中の画像Fの個別操作パネルfが改めて表示領域の端部に配置される。
画面431で画像Jを選択すると、画面441に遷移する。画面441では、表示領域からその上側に出た再生中の画像Fの個別操作パネルfが画面上端に残ったままで、画像Jが再生中になる。画像Jは、その下部が表示領域内に入りきらないので、表示領域内で画像Jの下部に個別操作パネルjを付加することができない。このとき、制御部101は、個別操作パネルjを表示領域の端部に固定する。このように、個別操作パネルは、最初から表示領域の端部に固定して表示される場合がある。スクロールにより表示領域内で画像Jの下部に個別操作パネルを配置でき、かつ他の個別操作パネルと重ならなくなった時点で、制御部101は、個別操作パネルjの固定を解除し、画像Jの下部に配置する。
画面441で画像Jが完全に消えるまで上スクロールすると、画面442になる。画面442では、表示領域の上側に出た再生中の画像Fの個別操作パネルfが画面上端に残り、表示領域の下側に出た再生中の画像Jの個別操作パネルjが画面下端に残っている。
逆に、画面441で画像Jが消えるまで下スクロールすると、画面443になる。画面443では、再生中の画像F,Jがともに表示領域からその上側に出て、対応する個別操作パネルf,jが表示領域の上端に並んで固定されている。すなわち、表示領域の外に出た画像の個別操作パネルは、画像が外に出た順に表示領域の端に並んで配置される。
画面441でさらに画像Hを選択すると、画像Hが再生開始され、画面451になる。画面451では、表示領域からその上側に出た再生中の画像Fの個別操作パネルfが画面上端に残り、表示領域の下端には、一部が表示領域外に出ている再生中の画像Jの個別操作パネルjが固定されている。もちろん、画像Hは再生中であり、画像Hの下側に個別操作パネルhが付加される。
画面441で画像Hが消えるまで上スクロールすると、画面452になる。画面452では、再生中の画像J,Hがともに表示領域の下側に出て、対応する個別操作パネルj,hが表示領域の下端に並んで固定されている。一方、再生中の画像Fは、表示領域の中に戻っているので、対応する個別操作パネルfは、固定を解除され、再び画像Fの下側に配置される。
画面451で画像Hが消えるまで下スクロールすると、画面453になる。画面453では、再生中の画像F、H、Jがともに表示領域の上側に出て、対応する個別操作パネルf,h,jが表示領域の上端に並んで固定されている。
図5を参照して、代表画像の表示と、画像と音声の再生に使用するバッファメモリの構成を説明する。図5は、DRAM105に割り当てられるバッファメモリの配置図を示す。
説明例として、メモリカード199に格納された5枚の画像A、B、C、D、Eのうち、画像A,Cが再生中であり、画像Aは表示部110の表示領域の外に位置し、画像Cが表示領域の中に位置するとする。表示領域には再生中の画像A、Cに対応する個別操作パネルa、cがそれぞれ表示されている。他の画像B、D、Eは、動画であるが再生されておらず、代表画像の表示になっている。
メモリマップ510は、DRAM105に設定される画像バッファのメモリ割り当てを示し、メモリマップ520はDRAM105に設定される音声バッファのメモリ割り当てを示す。制御部101は、表示領域内の有無と再生状態の有無に従い各画像に対する画像バッファメモリと音声バッファメモリを確保し、解消する。
本実施例では、制御部101は、再生中の画像には表示領域の中か外かに関わらず2枚のバッファメモリを割り当てる。図5では、画像AにバッファメモリA−1,A−2を割り当て、画像CにバッファメモリC−1,C−2を割り当てている。画像バッファに確保される2つのバッファメモリの一方は書き込み用、他方は読み出し用であり、書き込み用と読み出し用を1フレーム毎に切り替える。画像デコーダ106は、動画像の復号化したフレーム画像データを1フレーム毎に交互に2枚のバッファメモリの一方に書き込み、他方のバッファメモリからはフレーム画像データがグラフィック描画部108に表示用に読み出される。画像A,Cには音声が付加されているので、音声バッファにバッファメモリA−a,C−aが割り当てられる。
表示領域内に代表画像を表示する画像については、画像バッファに1枚のバッファメモリが割り当てられ、画像デコーダ106は、代表画像データをバッファメモリに格納する。画像B,D,Eは動画再生中でないので、画像バッファにそれぞれバッファメモリB−1、D−1、E−1が割り当てられる。音声を再生していないので、画像B,D,Eに対し音声バッファにバッファメモリは割り当てられない。
制御部101はスクロール位置に基づく各画像の表示位置と、対応するバッファメモリの情報をグラフィック描画部108に指示し、各画像を表示用にレイアウトした表示用画像を生成させる。再生中の画像については、制御部101は、画像デコーダ106とグラフィック描画部108を同期動作させ、各フレームの復号化が完了する毎に画像バッファの2枚のバッファメモリを交互に切り替える。先に説明したように、一方のバッファメモリに画像デコーダ106により復号化した画像データを書き込む間に、他方のバッファメモリの画像データをグラフィック描画部108に読み出す。また、制御部101は再生中の画像に対する個別操作パネルの表示位置と表示内容をグラフィック描画部108に指示して、重畳用画像を生成させる。グラフィック描画部108により生成された表示用画像と重畳用画像は、表示制御部109により表示部110の表示画面に出力される。
音声データについては、音声デコーダ107は、画像と同期して復号化した音声データを音声バッファの対応するバッファメモリに格納する。音声信号出力部111は、バッファメモリの音声データを読み出し、制御部101の指示に基づきスピーカ112及び/又は同113に出力する。
図6A及び図6Bは、スクロールに伴うバッファ管理と個別操作パネルの表示位置制御のフローチャートを示す。図6A及び図6Bを参照して、スクロール操作に対するバッファメモリの確保と開放、個別操作パネルの表示位置制御の動作を説明する。
制御部101は、現在のスクロール位置からメモリカード199に格納されている画像の中で、表示領域内に位置する画像を抽出する(S601)。制御部101は、スクロールにより表示領域内で移動すべき各画像の表示位置を更新する(S602)。
制御部101は、スクロールにより表示領域内に入る画像があるか否かを判定し(S603)、表示領域内に入る画像がある場合、ステップS604に進み、無い場合、ステップS608に進む。
制御部101は、表示領域内に入った画像(対象画像)が再生中でなければ(S604)、その画像に対する画像バッファメモリを1枚分、DRAM105に確保する(S605)。制御部101は、表示領域内に入った画像の代表画像を画像デコーダ106にデコードさせ、S605で確保した画像バッファメモリに格納する(S606)。
再生中の画像である場合(S604)、又は再生中で無い画像で代表画像をデコードした後(S606)、制御部101は、表示領域内に入った画像の表示位置を設定する(S607)。
S603又はS607の後、制御部101は、スクロールにより表示領域外に出た画像があるか否かを判定し(S608)、表示領域外に出た画像がある場合、ステップS609に進み、無い場合、ステップS611に進む。
制御部101は、表示領域外に出た画像が再生中か否かを判定し(S609)、表示領域外に出た画像が再生中である場合、ステップS611に進み、再生中で無い場合、ステップS610に進む。制御部101は、表示領域外に出た画像が再生中でない場合(S609)、その画像の1枚目の画像バッファメモリを解放する(S610)。
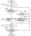
ステップS611で、制御部101は、個別操作パネルを再配置する。図6Bは、ステップS611の詳細なフローチャートを示す。
スクロールにより表示領域外に出た画像に対し、制御部101は、以下のステップS612〜S618で個別操作パネルを再配置する。
ステップS612で、制御部101は、内部カウンタiを0で初期化する。
ステップS613で、制御部101は、i番目の個別操作パネルを表示領域内で固定表示すべきか否か判定する。ここでの判定条件は、固定されていない個別操作パネルに対して、図4を参照して説明したように、表示領域の外に出るかどうかと、他の固定されている個別操作パネルと重なるかどうかである。
固定する必要がある場合(S613)、制御部101は、ステップS614でi番目の個別操作パネルを、他の個別操作パネルと重ならないよう表示領域の端に並べて固定し、ステップS617に進む。他方、固定する必要がない場合(S613)、制御部101は、ステップS615でi番目の個別操作パネルの固定を解除すべきか否かを判定する。ここでの判定条件は、固定されている個別操作パネルに対して、図4を参照して説明したように、対応する画像の下部に付加しても個別操作パネルが表示領域の中に収まるかどうかと、他の固定されている個別操作パネルと重ならないかどうかである。固定解除する必要がない場合(S615)、制御部101は、そのままステップS617に進む。固定解除する場合(S615)、制御部101は、ステップS616でi番目の個別操作パネルの固定を解除し、対応する画像の下部に付加するように設定して、ステップS617に進む。
ステップS617で、制御部101は、内部カウンタiをインクリメントする。
ステップS618で、制御部101は、内部カウンタiが個別操作パネルの総数未満か否かを判定する。総数未満である場合(S618)、制御部101は、ステップS613に戻って、次の個別操作パネルに対する再配置を行う。総数以上である場合(S618)、制御部101は、一連の処理を終える。
図7は、ユーザの画像選択操作に対する動作フローチャートを示す。
ステップS701で、制御部101は、選択された画像(以下、選択画像と言う。)が再生中か否かを判定する。選択画像が再生中である場合(S701)、制御部101は、図7に示すフローを終了する。
選択画像が再生中でない場合(S701)、制御部101は、ステップS702で、選択画像を再生するための2枚目の画像バッファメモリをDRAM105に確保する。
ステップS703で、制御部101は、選択画像の2枚の画像バッファメモリを1フレームごと交互に切り替えるように設定する。
ステップS704で、制御部101は、選択画像に付加された音声を再生するための音声バッファメモリをDRAM105に確保する。
ステップS705で、制御部101は、選択画像に個別操作パネルを追加する。
ステップS706で、制御部101は、選択画像に対して確保された画像バッファメモリと音声バッファメモリを用いて、画像とそれに付加された音声を再生出力する。先に説明したように、画像デコーダ106とグラフィック描画部108が同期して、2枚の画像バッファメモリを交互に切り替えて書き込みと読み出しを行うことで、選択画像が再生され、表示部110に表示される。
ステップS707で、制御部101は、図6Bに示す再配置処理で個別操作パネルを再配置して、処理を終える。
再生完了するか、ユーザが個別操作パネルで再生停止を指示した場合、制御部101は、不要なバッファメモリを解放し、個別操作パネルを消去する。この処理を、図8を参照して説明する。
ステップS801で、制御部101は、再生完了又は停止した画像(このフローで以下、「対象画像」という。)に対して2枚の画像バッファメモリの交互切替え設定を解除し、1枚目の画像バッファメモリを固定で用いるようにする。この1枚目の画像バッファメモリは代表画像の表示に使用される。
ステップS802で、制御部101は、対象画像の2枚目の画像バッファメモリを解放する。2枚目の画像バッファメモリは動画再生に使用するものだからである。
ステップS803で、制御部101は、対象画像の音声バッファメモリを解放する。
ステップS804で、制御部101は、対象画像に対する個別操作パネルを削除する。
ステップS805で、制御部101は、図6Bに示す再配置処理を実行する。
ステップS806で、制御部101は、対象画像が表示領域内に存在するか否かを判別する。
対象画像が表示領域内に位置する場合(S806)、制御部101は、ステップS807で対象画像の代表画像をデコードして画像バッファメモリに格納する。画像バッファメモリに格納された代表画像は、グラフィック描画部108及び表示制御部109を介して表示部110に表示される。
対象画像が表示領域内に位置しない場合(S806)、すなわち、表示領域外に位置すべき場合、制御部101は、ステップS808で、対象画像の1枚目の画像バッファメモリをDRAM105から解放する。
上下にスクロールする実施例を説明したが、左右方向にスクロールする場合でも同様であることは明らかである。左右方向のスクロールの場合、表示画面の左側と右側にスピーカを配置する。上下方向と左右方向にスクロール可能にした場合には、表示画面の上側、下側、左側及び右側にそれぞれスピーカを配置する。
本実施例では、スクロールにより表示領域外に出た画像に対する再生操作を、表示領域内に継続的に表示される個別操作パネルにより実行できる。個別操作パネルの表示位置から、表示領域外に出た再生中画像がどちらの方向のスクロールで表示領域内に戻るかを知ることができ、容易に表示領域内に戻すことが出来る。複数の再生中画像が表示領域外にある場合でも、それぞれを個別に再生制御できる。どのスピーカが音声を出力しているかにより、再生中画像がどの方向に表示領域外に出たかを識別できるので、容易に表示領域内に戻すことが出来る。
再生中画像が表示領域外に出た場合に、対応する個別操作パネルをより大きなサイズで表示するようにしてもよい。図9は、個別操作パネルの表示例を示す。
表示画面901には4枚の画像が表示され、そのうちの2枚の画像920、930が動画像として再生されている。再生中の動画像920,930の下部には、個別操作パネル921,931が表示されている。この時点での個別操作パネル921,931の垂直方向のサイズがPであるとする。
表示画面902は、表示画面901で個別操作パネル921が表示領域の上端まで距離Q−Pの位置に達するまで下スクロールした状態を示す。更に下スクロールした表示画面903では、画像920が完全に表示領域外に出て、個別操作パネル921が垂直方向のサイズQ(ただし、Q>P)に拡大されている。また、表示画面903では、個別操作パネル931が個別操作パネル921まで距離Q−Pになる位置にまで接近した状態にあるが、個別操作パネル931の垂直方向サイズはPのままである。
個別操作パネルが表示領域の端に並べて配置される場合、操作が容易になるように、これらの個別操作パネルのスクロール方向のサイズを、本来のサイズPより大きいサイズQにする。即ち、画面903に示すように個別操作パネル921,931がスクロール方向で距離Q−Pまで近くづいてから、更にスクロールされると、画面904に示すように個別操作パネル931を垂直方向にサイズQに拡大する。
下スクロールの場合を説明したが、上スクロールの場合も同様である。
このように表示領域の端部で個別操作パネルを拡大表示することにより、複数の個別操作パネルが並んで配置される場合でもあっても、操作が容易になり、操作ミスを防止できる。
表示領域の外に出た再生中の画像に対して画像再生を停止して画像バッファメモリを解放し、画像に付加された音声の再生のみを継続してもよい。このようにするためには、図6に示すフローを以下に説明するように変更すればよい。
具体的には、表示領域の外に出た再生中の画像がある場合(S609)、制御部101は、その再生中画像に割り当てられた2枚の画像バッファメモリを解放して、画像のデコードも停止する。この画像に付加された音声データのみがデコードされ、音声出力される。
また、表示領域の中に再生中画像(音声のみが再生中の画像)が入ってきた場合(S604)、制御部101は、その画像の画像再生のために2枚の画像バッファメモリを割り当て、画像の再生を再開する。例えば、制御部101は、音声の再生位置に対応する画像位置から画像データのデコードを再開する。これにより、動画が再生表示される。
本実施例では、再生中の画像が表示領域の外に出た場合に、画像デコードを停止するので、画像デコーダ106の処理能力と画像のデコードにかかる電力を節約できる。
ハードウエア又はソフトウエア上の制約により、同時再生可能な動画像数には上限があるのが一般的である。そこで、再生中画像数が上限に達しているとき、新たな画像再生が不能であることをユーザに示すことは、ユーザの誤解を防ぐ上で有用である。この表示例を図10に示す。
図10では、表示部110に4枚の画像が表示され、うち2枚の画像920、930が動画像として再生されているとする。画像920,930の下部には、個別操作パネルが付加されている。説明上、同時再生可能画像数が2であり、これ以上は動画再生不能であるとする。なお、同時再生可能画像数は、画像デコーダ106の処理能力、DRAM105に確保可能な画像バッファメモリと音声バッファメモリの容量、表示部110に同時表示可能な画像数などによって決められる。再生中の画像が消費するリソースに応じて、同時再生可能画像数が動的に変化するようにしてもよい。
図10に示す状態では、同時再生可能画像数に達する画像を同時再生しているので、新たな画像を再生できない状態にある。このとき、制御部101は、未再生の画像940,950に対し、再生禁止を示す再生禁止アイコン942,952を重畳表示する。制御部101は例えば、再生禁止アイコンが重畳されている画像に対する再生開始操作を受け付けないことで、当該画像の再生を禁止する。再生禁止アイコン942,952により、ユーザは再生できないことを事前に知ることができる。即ち、新たな画像の再生を開始できない状況で、ユーザが再生開始のために新たな画像を選択してしまうことを防止でき、ユーザに故障又はファイルの損傷と誤認させることが無くなる。
同時再生可能画像数を維持する方法として、上述の通り新規な画像の再生開始を禁止する方法以外に、新たな画像の再生開始を指示された場合に再生中画像の再生を停止する方法もある。
図11に示す表示画面1101では、表示部110に4枚の画像が表示され、うち2枚の画像920、930が再生中である。画像920,930の下部には、個別操作パネル921,931が表示されている。ここで、画像920の後に画像930を再生開始したとし、同時再生可能画像数は2であるとする。
画像920,930が再生中であるときに、ユーザが、再生中でない画像940を選択して再生開始を指示した場合、制御部101は、画像920の再生を停止し、選択された画像の再生を開始する。再生停止する画像920について、制御部101は、個別操作パネル921を一時的に点滅又はグレー表示するなど、通常とは異なる表示態様にして、再生停止をユーザに知らせる。
表示画面1102は、表示画面1101の状態で、画像940の選択に応じて画像の再生を開始し、且つ、画像920の再生を停止した状態を示す。画像920は、再生停止に伴い、個別操作パネル921が削除又は消去され、代表画像の表示に戻っている。再生が開始された画像940の下部には、個別操作パネル941が新たに表示される。
新たな画像の再生開始に伴い再生を停止する画像は、最先再生以外に、残り再生時間、再生済み時間、画像に付けられたレーティング又は画像音声のフォーマットなどで決定しても良い。
このような構成により、同時再生可能画像数を維持しつつ、新たな画像を再生のために選択することが可能となる。
本発明は上述の実施例に限定されない。すなわち、上述した実施例は本発明の説明用であり、特許請求の範囲に係る発明を限定するものでなく、また実施例で説明されている特徴の組み合わせの全てが本発明に必須のものとは限らない。
また、本実施例において説明される各機能ブロックは必ずしも個別のハードウエアである必要はない。すなわち、例えばいくつかの機能ブロックの機能は、1つのハードウエアにより実行されても良い。また、いくつかのハードウエアの連係動作により1つのまたは複数の機能ブロックの機能が実行されても良い。また、各機能ブロックの機能は、CPUがメモリ上に展開したコンピュータプログラムにより実行されても良い。
上述の実施例は、システム或いは装置のコンピュータ(或いはCPU、MPU等)によりソフトウエア的に実現することも可能である。従って、上述の実施例をコンピュータで実現するために、該コンピュータに供給されるコンピュータプログラム自体も本発明を実現するものである。つまり、上述の実施例の機能を実現するためのコンピュータプログラム自体も本発明の一つである。
上述の実施例を実現するためのコンピュータプログラムは、コンピュータで読み取り可能であれば、どのような形態であってもよい。例えば、オブジェクトコード、インタプリタにより実行されるプログラム、OSに供給するスクリプトデータ等で構成することができるが、これらに限るものではない。上述の実施例を実現するためのコンピュータプログラムは、記憶媒体又は有線/無線通信によりコンピュータに供給される。プログラムを供給するための記憶媒体としては、例えば、フレキシブルディスク、ハードディスク、磁気テープ等の磁気記憶媒体、MO、CD、DVD等の光/光磁気記憶媒体、不揮発性の半導体メモリなどがある。
有線/無線通信を用いたコンピュータプログラムの供給方法としては、コンピュータネットワーク上のサーバを利用する方法がある。この場合、本発明を形成するコンピュータプログラムとなりうるファイル(プログラムファイル)をサーバに記憶しておく。プログラムファイルとしては、実行形式のものであっても、ソースコードであっても良い。そして、このサーバにアクセスしたクライアントコンピュータに、プログラムファイルをダウンロードすることによって供給する。この場合、プログラムファイルを複数のセグメントファイルに分割し、セグメントファイルを異なるサーバに分散して配置することも可能である。つまり、上述の実施例を実現するためのプログラムファイルをクライアントコンピュータに提供するサーバ装置も本発明の一つである。
また、上述の実施例を実現するためのコンピュータプログラムを暗号化して格納した記憶媒体を配布し、所定の条件を満たしたユーザに、暗号化を解く鍵情報を供給し、ユーザの有するコンピュータへのインストールを許可してもよい。鍵情報は、例えばインターネットを介してホームページからダウンロードさせることによって供給することができる。また、上述の実施例を実現するためのコンピュータプログラムは、すでにコンピュータ上で稼働するOSの機能を利用するものであってもよい。さらに、上述の実施例を実現するためのコンピュータプログラムは、その一部をコンピュータに装着される拡張ボード等のファームウェアで構成してもよいし、拡張ボード等が備えるCPUで実行するようにしてもよい。

Claims (11)

  1. 複数の画像を表示できる、タッチパネルを表示画面に有する表示手段と、
    前記表示手段の表示領域に表示される画像のスクロールを指示する操作手段と、
    前記操作手段の前記スクロールに従い、前記表示領域に表示される画像を前記表示領域の内外にスクロールする手段と、
    前記表示手段の表示領域に表示される何れかの画像を選択操作に従い再生する再生手段と、
    再生中の画像に対する再生操作のための個別操作パネルを前記表示手段に表示させる制御手段であって、前記再生中の画像が前記表示手段の表示領域内にあるときには、前記個別操作パネルを前記再生中の画像に付加するように配置し、前記再生中の画像が前記表示手段の表示領域外にあるときには、前記個別操作パネルを前記表示領域内の端部に配置する制御手段
    とを具備することを特徴とする画像再生装置。
  2. 前記制御手段が、前記再生中の画像が前記表示手段の表示領域外にあるときに、前記表示領域外に出る側の、前記表示領域内の端部に前記個別操作パネルを配置することを特徴とする請求項1に記載の画像再生装置。
  3. 前記制御手段は、前記表示手段の表示領域外に再生中の複数の画像があるとき、それぞれの画像に対する前記個別操作パネルを、それぞれの画像が前記表示領域の外に出る順で前記表示領域内の端部に並べて配置することを特徴とする請求項1又は2に記載の画像再生装置。
  4. 前記個別操作パネルは画像再生位置の変更手段を含むことを特徴とする請求項1ないし3の何れか1項に記載の画像再生装置。
  5. 更に、前記スクロールの方向における前記表示領域の両側に配置されるスピーカを具備し、
    前記制御手段は、前記再生中の画像が前記表示手段の表示領域内にあるときには、前記再生中の画像の音声を前記スピーカから出力させ、前記再生中の画像が前記表示手段の表示領域外にあるときには、前記再生中の画像が前記表示領域外に出た側に位置するスピーカから、前記再生中の画像の音声を出力させる
    ことを特徴とする請求項1ないし4の何れか1項に記載の画像再生装置。
  6. 前記個別操作パネルは、音量調節手段及び音声ミュート手段を含むことを特徴とする請求項5に記載の画像再生装置。
  7. 前記制御手段は、再生中の画像の再生停止又は終了に応じて、前記再生中の画像に対する前記個別操作パネルを消去することを特徴とする請求項1ないし6の何れか1項に記載の画像再生装置。
  8. 前記表示手段は、前記個別操作パネルを前記表示領域内の端部に配置するとき、対応する再生中の画像が前記表示領域内にあるときよりも大きくすることを特徴とする請求項1ないし7の何れか1項に記載の画像再生装置。
  9. 前記再生中の画像が前記スクロールにより前記表示領域外に出たとき、前記再生中の画像の画像再生を停止し、付加される音声の再生を継続することを特徴とする請求項1ないし8の何れか1項に記載の画像再生装置。
  10. 再生中の画像の数が同時再生可能画像数に達したときには、再生中でない画像に対して再生禁止を表示し、再生を禁止することを特徴とする請求項1ないし9の何れか1項に記載の画像再生装置。
  11. 再生中の画像の数が同時再生可能画像数に達した後の新たな画像の再生の指示に対し、前記再生中の画像の何れかの再生を停止し、前記新たな画像の再生を開始することを特徴とする請求項1ないし10の何れか1項に記載の画像再生装置。
JP2013101849A 2013-05-14 2013-05-14 画像再生装置 Pending JP2014222829A (ja)

Priority Applications (1)

Application Number Priority Date Filing Date Title
JP2013101849A JP2014222829A (ja) 2013-05-14 2013-05-14 画像再生装置

Applications Claiming Priority (1)

Application Number Priority Date Filing Date Title
JP2013101849A JP2014222829A (ja) 2013-05-14 2013-05-14 画像再生装置

Publications (1)

Publication Number Publication Date
JP2014222829A true JP2014222829A (ja) 2014-11-27

Family

ID=52122172

Family Applications (1)

Application Number Title Priority Date Filing Date
JP2013101849A Pending JP2014222829A (ja) 2013-05-14 2013-05-14 画像再生装置

Country Status (1)

Country Link
JP (1) JP2014222829A (ja)

Cited By (1)

* Cited by examiner, † Cited by third party
Publication number Priority date Publication date Assignee Title
JP2016119057A (ja) * 2015-09-08 2016-06-30 ヤフー株式会社 情報表示装置、配信装置、情報表示方法および情報表示プログラム

Cited By (1)

* Cited by examiner, † Cited by third party
Publication number Priority date Publication date Assignee Title
JP2016119057A (ja) * 2015-09-08 2016-06-30 ヤフー株式会社 情報表示装置、配信装置、情報表示方法および情報表示プログラム

Similar Documents

Publication Publication Date Title
US20090077491A1 (en) Method for inputting user command using user's motion and multimedia apparatus thereof
JP6226721B2 (ja) 再生制御装置、再生制御方法、プログラム及び記憶媒体
JP2014030153A (ja) 情報処理装置及び情報処理方法、並びにコンピューター・プログラム
JP2021061519A (ja) 情報処理装置およびプログラム
JP4676264B2 (ja) 映像再生装置および映像再生方法
KR20070028375A (ko) 콘텐츠 재생 장치, 콘텐츠 재생 방법, 콘텐츠 재생 시스템및 그 컴퓨터 프로그램
JP4505280B2 (ja) 映像再生装置および映像再生方法
JP5814739B2 (ja) 記録装置
JP2014222829A (ja) 画像再生装置
JP4871839B2 (ja) 動画再生装置
JP2005198165A (ja) 画像再生装置、画像再生方法、コンピュータプログラム及びコンピュータ読み取り可能な記録媒体
US8913870B2 (en) Method of capturing moving picture and apparatus for reproducing moving picture
JP2007180638A (ja) 撮像装置
JP5371360B2 (ja) 表示制御装置、表示制御装置の制御方法、プログラム及び記憶媒体
JP2010287273A (ja) 情報再生装置および情報再生方法
JP5697463B2 (ja) 動画編集装置及び動画編集装置の制御方法
JP6214365B2 (ja) 画像再生装置、その制御方法、および制御プログラム
JP5737988B2 (ja) 画像処理装置およびその制御方法およびプログラム
JP5188209B2 (ja) 表示制御装置、方法、およびプログラム
JP2009200966A (ja) 表示処理装置及びその制御方法と映像記録装置及び表示処理システム
JP2007011807A (ja) 動画像記録再生装置
JP6080511B2 (ja) 記録再生装置、及び、記録再生装置の制御方法
JP2015159423A (ja) コンテンツ再生装置およびコンテンツ再生方法
JP2021149683A (ja) 動画を再生するためのプログラム、システム、及び方法
JP2017034402A (ja) 情報処理装置およびその制御方法およびプログラム