JP2014190879A - Fiber optic current sensor - Google Patents
Fiber optic current sensor Download PDFInfo
- Publication number
- JP2014190879A JP2014190879A JP2013067480A JP2013067480A JP2014190879A JP 2014190879 A JP2014190879 A JP 2014190879A JP 2013067480 A JP2013067480 A JP 2013067480A JP 2013067480 A JP2013067480 A JP 2013067480A JP 2014190879 A JP2014190879 A JP 2014190879A
- Authority
- JP
- Japan
- Prior art keywords
- optical fiber
- transmission line
- output
- light
- fiber transmission
- Prior art date
- Legal status (The legal status is an assumption and is not a legal conclusion. Google has not performed a legal analysis and makes no representation as to the accuracy of the status listed.)
- Granted
Links
Images
Landscapes
- Measuring Instrument Details And Bridges, And Automatic Balancing Devices (AREA)
- Measurement Of Current Or Voltage (AREA)
Abstract
【課題】 光ファイバ伝送路の反射減衰量に基づく戻り光の影響を受けず、誤差のない電流値の測定を行う
【解決手段】 光電変換器20は、第一DC抽出部24と第一除算処理部27との間にDC補正処理部32を設ける。DC補正処理部は、第一DC抽出部の出力からDC補正値設定部で設定された補正値DCRを減算する処理を実行する。これにより、第一光ファイバ伝送路15aを経由してセンサヘッド12より光電変換器20に入力される光信号のDC成分(DCS1+DCR)より、補正値を引くことで、第一除算処理部には、DCS1が入力される。第一除算処理部で求める変調度は、光ファイバ伝送路15aの反射減衰量に起因した誤差を補償することができる。よって、加算処理部30に与えられる2つの信号の変調度は、いずれも光ファイバ伝送路の反射減衰量(戻り光)の影響がなくなる。
【選択図】 図3PROBLEM TO BE SOLVED: To measure a current value without error without being influenced by return light based on the return loss of an optical fiber transmission line. A photoelectric converter 20 includes a first DC extraction unit 24 and a first division. A DC correction processing unit 32 is provided between the processing unit 27 and the processing unit 27. DC correction processing unit executes a process for subtracting the correction value DC R from the output of the first DC extracting unit set in DC correction value setting unit. Thereby, the first division process is performed by subtracting the correction value from the DC component (DC S1 + DC R ) of the optical signal input from the sensor head 12 to the photoelectric converter 20 via the first optical fiber transmission line 15a. DC S1 is input to the unit. The modulation factor obtained by the first division processing unit can compensate for an error due to the return loss of the optical fiber transmission line 15a. Therefore, the modulation degree of the two signals given to the addition processing unit 30 is not affected by the reflection attenuation amount (return light) of the optical fiber transmission line.
[Selection] Figure 3
Description
本発明は、光ファイバ電流センサに関する。 The present invention relates to an optical fiber current sensor.
例えば、架空送電線や地中送電線などの電力系統では事故点の探索が重要な課題であり、遠隔地点の電流の検出(測定)は欠かせない重要技術と言える。遠隔地での電流測定に関して、センシングファイバを通過する光のファラデー効果を利用して電流検出を行う光ファイバ電流センサがある。この光ファイバ電流センサは、電磁雑音の影響がなく、電気的な絶縁が容易であり、広帯域で測定でき、長距離信号伝送が可能である等の利点がある。光ファイバ電流センサは、磁界の大きさに比例して光の偏光面が回転するファラデー効果を示すセンシングファイバを導体の外周に周回状態に配置し、当該センシングファイバの先端に反射ミラーを取り付けて光を往復させる反射方式の構成がある。 For example, in power systems such as overhead power transmission lines and underground power transmission lines, searching for an accident point is an important issue, and detection (measurement) of current at remote points is an indispensable important technology. There is an optical fiber current sensor that performs current detection using the Faraday effect of light passing through a sensing fiber with respect to current measurement at a remote location. This optical fiber current sensor is advantageous in that it is not affected by electromagnetic noise, is easily electrically insulated, can be measured in a wide band, and can transmit a long distance signal. An optical fiber current sensor has a sensing fiber that shows a Faraday effect in which the plane of polarization of light rotates in proportion to the magnitude of a magnetic field, and is arranged in a circular state on the outer periphery of a conductor. There is a configuration of a reflection system that reciprocates.
図1は、反射方式の光ファイバ電流センサの一例を示している。図1に示すように、光ファイバ電流センサは、遠隔の測定点に配置される感知部2と、監視地に配置される光源3や所定の信号処理を行い電流値を求める光電変換器4と、それら測定点の感知部2と監視地の光源3,光電変換器4を結ぶ光ファイバ伝送路(第一,第二光ファイバ伝送路5a,5b)を備えている。
FIG. 1 shows an example of a reflection type optical fiber current sensor. As shown in FIG. 1, the optical fiber current sensor includes a
感知部2は、電流値の測定対象の導体6の外周に周回状態に配置するセンシングファイバ2aと、偏光子やファラデー回転子などの光学部品等を組み込んだセンサヘッド2bを備える。ファラデー回転子は、通過する光の偏光面を22.5度回転する。さらにセンシングファイバ2aの先端には、ミラーが配置され、センシングファイバ2a内を先端に向けて進む光は、当該ミラーで反射されてセンシングファイバ2a内を通って戻るように構成される。これにより、光の偏光面はファラデー回転子を往復することで45度回転し、戻ってきた光は、検光子として機能する偏光子に至る。
The
第一,第二光ファイバ伝送路5a,5bのそれぞれの一端は、センサヘッド2bに接続され、第一光ファイバ伝送路5aの他端には、偏波無依存型の光サーキュレータからなる3ポートの分光素子7に接続される。分光素子7の他のポートには、光源3と、光電変換器4内の第一受光素子4aと、が接続される。また、第二光ファイバ伝送路5bの他端には、光電変換器4内の第二受光素子4bが接続される。
One end of each of the first and second optical
上記の光学的な構成によれば、まず、光源3からの光は、その一部が分光素子7を通過して第一光ファイバ伝送路5a内を進み、センサヘッド2bに至る。センサヘッド2bは、入力された無偏光の光を内蔵する偏光子で直線偏光にし、ファラデー回転子で偏光面を22.5度回転させた後、センシングファイバ2aに供給する。係る直線偏光は、センシングファイバ2a内を進み、先端のミラーで反射して戻ってくる。センシングファイバ2aは、電流が流れる導体に巻き付けてあるので、電流によって発生する磁界の影響を受けて偏光面が回転する。偏光面の回転角度の大きさは、磁界の大きさ、すなわち電流値に依存する。
According to the optical configuration described above, first, part of the light from the
そして、センシングファイバ2a内を再び戻ってきた光は、センサヘッド2bの中のファラデー回転子で偏光面をさらに22.5度回転して偏光子を通過し、2つの光に分けられ、第一光ファイバ伝送路5aと、第二光ファイバ伝送路5bにそれぞれ与えられる。第一光ファイバ伝送路5a内を進む光は、分光素子7を経由して光電変換器4の第一受光素子4aに入力し、第二光ファイバ伝送路5bを進む光は第二受光素子4bに入力する。
Then, the light returned again in the
光ファイバ電流センサを取り付けた導体6に交流電流を通電すると、光ファイバ電流センサは、センサヘッド2bからDC成分にAC成分が重畳した2つの光信号を出力する。その2つの光信号は、上述したように第一光ファイバ伝送路5aと第二光ファイバ伝送路5bに与えられる。それぞれの光信号の変調度(DC成分に対するAC成分の比率:AC/DC)は、導体6に流れる電流値に比例しているため、変調度を求めることにより、導体6に流れる電流値を求めることができる。特に、光ファイバ伝送路の損失変動等により、信号の強度すなわち光電変換器4への受光量が変動したとしても、係る変動はAC成分とDC成分の両方に含まれるので、両成分を除算処理して求める変調度では、係る受光量の変動の影響をカットできるので好ましい。
When an alternating current is passed through the conductor 6 to which the optical fiber current sensor is attached, the optical fiber current sensor outputs two optical signals in which the AC component is superimposed on the DC component from the
なお、2つの光信号のAC成分は位相が反転しているが、理想状態ではどちらの信号に基づいて変調度を求めても同じ値となるので、一方の信号に基づいて電流値を求めることもできる。しかし、実際には、例えばセンサヘッド2bの内部の光学部品の温度特性(45度の光学バイアスが温度によって変化する)等に起因し、上記の2つの光信号の変調度は異なる。但し、例えば光学部品の温度特性に基づく光学バイアスの角度の変化は、光学バイアスが45度より小さい場合は、一方の信号の変調度が小さくなり他方の信号の変調度が大きくなる。逆に光学バイアスが45度より大きい場合は、一方の信号の変調度が大きくなり他方の信号の変調度が小さくなる。そこで、光学バイアスの温度特性を補償する方法として、両方の信号の変調度を平均化するものがある。
Note that the AC components of the two optical signals are inverted in phase, but in the ideal state, the same value is obtained regardless of which signal is used to obtain the modulation factor. Therefore, the current value is obtained based on one of the signals. You can also. However, in actuality, for example, due to the temperature characteristics of the optical components inside the
係る処理をするため、光電変換器4は、センサヘッド2bから第一,第二光ファイバ伝送路5a,5bを介して伝送され、受光した光信号を光電変換し所定の演算処理をすることにより検出電流に対応した電気信号を求め、出力する。そして、具体的な構成は、まず光電変換器4は、入力側に第一,第二受光素子4a,4bを備える。これらの受光素子は、例えばフォトダイオードなどで構成され、入力された光信号の強度に応じた電気信号(例えば電圧)に変換する。光電変換器4に入力される光信号は、DC成分でバイアスされた信号にAC成分が重畳されている。そこで、第一受光素子4aの出力には、第一AC抽出部4cと第一DC抽出部4dをそれぞれ接続し、各抽出部で第一受光素子4aに入力された光信号のAC成分ACS1とDC成分DCS1をそれぞれ抽出する。同様に、第二受光素子4bの出力には、第二AC抽出部4eと第二DC抽出部4fをそれぞれ接続し、各抽出部で第二受光素子4bに入力された光信号のAC成分ACS2とDC成分DCS2をそれぞれ抽出する。第一AC抽出部4cと第一DC抽出部4dの出力は、次段の第一除算処理部4gに与えられる。同様に第二AC抽出部4eと第二DC抽出部4fの出力は、次段の第二除算処理部4hに与えられる。各除算処理部4g,4hは、AC成分をDC成分で除算する演算処理をする。これにより、各除算処理部4g,4hは、第一,第二光ファイバ伝送路5a,5bを介して送られてきた各信号の変調度を求めることになる。
In order to perform such processing, the
そして、第一除算処理部4gの出力は、加算処理部4jに直接与えられ、第二除算処理部4hの出力は、反転部4iを介して加算処理部4jに与えられる。上述したようにセンサヘッド2bから第一,第二光ファイバ伝送路5a,5bに出力される2つの信号は位相が反転しているため、一方(ここでは、第二光ファイバ伝送路5b側)の信号の変調度を反転して加算することで、加算処理部4jでは、2つの信号の変調度(絶対値)の加算値を求める。この例では、その加算値を最終出力としているが、係る加算値を2で割ることで平均化される。
ここで、前記の温度変化等の外乱がない場合は、
ACS1=ACS2=AC
DCS1=DCS2=DC
となるため、最終出力Outputは、
Output=2AC/DC ……(1)
となる。
The output of the first
Here, when there is no disturbance such as the temperature change,
AC S1 = AC S2 = AC
DC S1 = DC S2 = DC
Therefore, the final output Output is
Output = 2AC / DC (1)
It becomes.
上述した従来のセンシングファイバの先端にミラーを設置した反射型の光ファイバ電流センサは、例えば特許文献1等に開示される。この特許文献1では、光電変換器の内部の演算処理部分は、平均化処理部としてまとめて記載している。また、具体的な演算処理を行う構成については、例えば特許文献2等に開示されている。
A reflection type optical fiber current sensor in which a mirror is installed at the tip of the above-described conventional sensing fiber is disclosed in, for example,
上述したように、従来の光ファイバ電流センサは、光源3からセンサヘッドに光を供給する光ファイバ伝送路と、センサヘッドから出力する2つの光信号のうち1方の光信号を光電変換器に供給する光ファイバ伝送路を、第一光ファイバ伝送路5aで共用している。そして、光源3から第一光ファイバ伝送路5aに入射した光の一部は、その第一光ファイバ伝送路5aを進む際に後方散乱光となって第一光ファイバ伝送路5aを逆方向に進み分光素子7に戻る。この分光素子7に戻ってきた光は、第一受光素子4aに入射する。この第一受光素子4aに入射された戻り光は、DC成分DCRとなり、誤差となる。すなわち、図2に示すように、センサヘッド2b側から分光素子7に向けて第一光ファイバ伝送路5a内を進む光は、センサヘッド2bから出力される光信号(DCS1+ACS1)と、上記の後方散乱光等による戻り光DCRが存在する。よって、第一受光素子4aに入射する光は、DCS1+DCR+ACS1となる。一方、第二光ファイバ伝送路5b側は、上記の戻り光は存在しないので、第二受光素子4bに入力される光は、DCS2+ACS2となる。 よって、第一DC抽出部4dで抽出されるDC成分は、DCS1+DCRとなり、第一除算処理部4gで演算処理される際の分母もDCS1+DCRとなる。その結果、加算処理部4jで求めた値も、DCRを含むものとなり、検出精度が低下する
具体的な誤差を求めると、以下のようになる。例えば、温度変化等の外乱が無い状態では、
ACS1=ACS2=AC
DCS1=DCS2=DC
となるため、最終出力Outputは、
Output=(AC(2DC+DCR))/(DC(DC+DCR)) ……(2)
となる。
式(1)と式(2)より、第一光ファイバ伝送路5aの反射減衰量R1に起因した誤差は、
誤差=((式(2)/式(1))−1)×100 [%]
=−DCR/(2(DC+DCR))×100 ……(3)
となる
As described above, the conventional optical fiber current sensor has an optical fiber transmission path for supplying light from the
AC S1 = AC S2 = AC
DC S1 = DC S2 = DC
Therefore, the final output Output is
Output = (AC (2DC + DC R )) / (DC (DC + DC R )) (2)
It becomes.
From the equations (1) and (2), the error due to the return loss R 1 of the first optical
Error = ((Expression (2) / Expression (1))-1) × 100 [%]
= −DC R / (2 (DC + DC R )) × 100 (3)
Become
また、光源3から出射した光の第一光ファイバ伝送路5aへの入射光量をP0、第一光ファイバ伝送路5aの反射減衰量をR1、第一光ファイバ伝送路の損失をL(往復のためL2)、センサヘッド2bの損失をSとすると、DC、DCRは次式で表すことができる。
DC=P0SL2 ……(4)
DCR=P0R1 ……(5)
Further, the amount of light incident on the first optical
DC = P 0 SL 2 (4)
DC R = P 0 R 1 ...... (5)
そして、式(4)、(5)を式(3)に代入することで、下記式(6)に示すように第一光ファイバ伝送路5aの反射減衰量に起因した誤差を表すことができる。
誤差=−R1/(2(SL2+R1))×100 ……(6)
Then, by substituting Equations (4) and (5) into Equation (3), an error caused by the return loss of the first optical
Error = −R 1 / (2 (SL 2 + R 1 )) × 100 (6)
上記の式(6)から明らかなように、反射減衰量R1が多くなるほど誤差も大きくなる。反射減衰量R1を特定する戻り光の光量は、第一光ファイバ伝送路5aが長いほど大きくなる。そのため、例えば山間部に設置した場合、現在は、長くても数kmから10km程度であり、要求される測定精度ともあいまって、誤差が許容範囲内に収まるとしても、例えば、光ファイバ伝送路の長さが20kmなどとさらに長距離になると、光ファイバ伝送路の戻り光等に基づく誤差の影響が無視できなくなる。また、要求される測定精度が高くなると、既存の設置長さでも係る誤差の影響が無視できなくなるおそれもある。
As apparent from the above equation (6), the error increases as the return loss R 1 increases. Intensity of the returning light that identifies the return loss R 1, the first optical
また、例えば、第一光ファイバ伝送路5aへの入射光量P0を10dBm(10mW)、第一光ファイバ伝送路5aの損失Lを10dB(10分の1に減衰)、第一光ファイバ伝送路5aの反射減衰量R1を30dB(1000分の1に減衰)、センサヘッドの損失Sを10dB(10分の1に減衰)とし、これらの値を式(6)に代入する。すると、第一光ファイバ伝送路5aの反射減衰量に起因した誤差は、約−25%となる。この値は、第一光ファイバ伝送路5aの長さが、例えば10km程度に対応する。
Further, for example, the incident light quantity P 0 to the first optical
上述した課題を解決するために、本発明の光ファイバ電流センサは、(1)測定点に配置される感知部と、測定点から離れた位置に配置される光源及び光電変換器と、前記感知部と前記光電変換器とを接続する第一光ファイバ伝送路,第二光ファイバ伝送路と、を備えた光ファイバ電流センサであって、前記光源からの光は、前記第一光ファイバ伝送路を用いて前記感知部に伝送され、前記感知部は、導体の外周に周回状態に配置する磁界に比例して光の偏光面が回転するファラデー効果を示すセンシングファイバと、前記第一光ファイバ伝送路を介して送られてきた光を直線偏光にして前記センシングファイバに出力するとともに、前記センシングファイバからの戻り光を偏光面が直交する2つの光に分離し、その分離した光を前記第一光ファイバ伝送路と前記第二光ファイバ伝送路に出力するセンサヘッドを備え、前記光電変換器は、前記第一光ファイバ伝送路から送られてきた光を受光し、受光した光強度に応じた電圧を出力する第一受光素子と、前記第一受光素子の出力からAC成分を抽出する第一AC抽出部と、前記第一受光素子の出力からDC成分を抽出する第一DC抽出部と、前記第一AC抽出部の出力に基づく値を前記第一DC抽出部の出力に基づく値で除算する第一除算処理部と、前記第二光ファイバ伝送路から送られてきた光を受光し、受光した光強度に応じた電圧を出力する第二受光素子と、前記第二受光素子の出力からAC成分を抽出する第二AC抽出部と、前記第二受光素子の出力からDC成分を抽出する第二DC抽出部と、前記第二AC抽出部の出力に基づく値を前記第二DC抽出部の出力に基づく値で除算する第二除算処理部と、前記第一除算処理部の出力と、前記第二除算処理部の出力に基づき、電流値に応じた値を求める演算部とを備えたものを前提とする。 In order to solve the above-described problems, an optical fiber current sensor according to the present invention includes (1) a sensing unit disposed at a measurement point, a light source and a photoelectric converter disposed at a position away from the measurement point, and the sensing. A first optical fiber transmission line and a second optical fiber transmission line connecting the photoelectric conversion unit and the photoelectric converter, wherein the light from the light source is the first optical fiber transmission line A sensing fiber that exhibits a Faraday effect in which a polarization plane of light rotates in proportion to a magnetic field disposed in a circular state on an outer periphery of a conductor, and the first optical fiber transmission. The light transmitted through the path is converted into linearly polarized light and output to the sensing fiber, and the return light from the sensing fiber is separated into two lights whose polarization planes are orthogonal to each other. light A sensor head for outputting to a fiber transmission line and the second optical fiber transmission line, wherein the photoelectric converter receives light transmitted from the first optical fiber transmission line, and a voltage corresponding to the received light intensity. , A first AC extraction unit that extracts an AC component from the output of the first light receiving element, a first DC extraction unit that extracts a DC component from the output of the first light receiving element, A first division processing unit for dividing a value based on the output of the first AC extraction unit by a value based on the output of the first DC extraction unit; and receiving light transmitted from the second optical fiber transmission line; A second light receiving element that outputs a voltage corresponding to the light intensity, a second AC extraction unit that extracts an AC component from the output of the second light receiving element, and a second AC extraction unit that extracts a DC component from the output of the second light receiving element. Two DC extraction units and the output of the second AC extraction unit A second division processing unit that divides the value based on the value based on the output of the second DC extraction unit, the output of the first division processing unit, and the output of the second division processing unit according to the current value It is assumed that the apparatus includes a calculation unit for obtaining a value.
そして、前記光電変換器は、前記第一DC抽出部と前記第一除算処理部との間にDC補正処理部を設け、前記DC補正処理部は、前記第一DC抽出部の出力からDC補正値設定部で設定された補正値を減算する処理を実行する機能を持ち、前記補正値は、前記第一光ファイバ伝送路の反射減衰量に起因する戻り光に基づくDC成分に対応する値とした。 The photoelectric converter includes a DC correction processing unit between the first DC extraction unit and the first division processing unit, and the DC correction processing unit performs DC correction from an output of the first DC extraction unit. A function of executing a process of subtracting the correction value set by the value setting unit, and the correction value is a value corresponding to a DC component based on return light caused by a reflection attenuation amount of the first optical fiber transmission line; did.
演算部は、実施形態では、加算処理部30と反転部29に対応する。また、実施形態では、第二除算処理部の出力を反転部29で反転処理したものを加算処理部30で第一除算処理部の出力と加算したが、反転部29を設けないとともに、加算処理部に換えて減算処理部としても良い。また、実施形態では、2つの除算処理部の出力(変調度に対応する値)を加算処理したが、本発明はこれに限ることはなく、例えば、係る加算処理したものに対して2で除算して平均化してもよい。
The calculation unit corresponds to the
本発明によれば、第一DC抽出部の出力から、第一光ファイバ伝送路の反射減衰量に起因する戻り光に基づくDC成分に対応する値である補正値を減算する処理を行うため、第一除算処理部に与えられるDC成分は、第一光ファイバ伝送路からの戻り光のDC成分が無くなり、第一光ファイバ伝送路の反射減衰量に起因した誤差を補償することができる。 According to the present invention, in order to perform the process of subtracting the correction value, which is a value corresponding to the DC component based on the return light caused by the return loss of the first optical fiber transmission line, from the output of the first DC extraction unit, The DC component given to the first division processing unit eliminates the DC component of the return light from the first optical fiber transmission line, and can compensate for an error caused by the return loss of the first optical fiber transmission line.
(2)上記の前提の光ファイバ電流センサであって、さらに前記光電変換器は、前記第一AC抽出部と、前記第一除算処理部の間に、除算補償処理部を配置し、前記除算補償処理部は、前記第一AC抽出部の出力に対し、乗算係数設定部から設定された所定の乗算係数を掛ける乗算機能を有し、前記所定の乗算係数は、前記第一光ファイバ伝送路の反射減衰量に起因する誤差の影響がなくなる値とするとよい。(3)上記の(2)の発明を前提とし、前記誤差の影響がなくなる値は、前記第一除算処理部の出力に、前記第一光ファイバ伝送路の反射減衰量に起因する戻り光に基づくDC成分の影響がなくなる値とするとよい。(4)上記の(2),(3)の発明を前提とし、前記センサヘッドから前記第一光ファイバ伝送路に出力される光のDC成分をDCS1、前記第一光ファイバ伝送路の反射減衰量に起因する戻り光のDC成分をDCRとした場合に、
前記乗算係数は、
(DCS1+DCR)/DCS1
に対応する値とするとよい。
(2) In the optical fiber current sensor based on the above assumption, the photoelectric converter further includes a division compensation processing unit disposed between the first AC extraction unit and the first division processing unit, and the division The compensation processing unit has a multiplication function of multiplying the output of the first AC extraction unit by a predetermined multiplication coefficient set by the multiplication coefficient setting unit, and the predetermined multiplication coefficient is the first optical fiber transmission line. A value that eliminates the influence of the error due to the return loss of the signal is preferable. (3) On the premise of the invention of (2) above, the value that eliminates the influence of the error is the output of the first division processing unit and the return light caused by the return loss of the first optical fiber transmission line. A value that eliminates the influence of the DC component based thereon is preferable. (4) Based on the above inventions (2) and (3), the DC component of light output from the sensor head to the first optical fiber transmission line is DC S1 , and the reflection of the first optical fiber transmission line the DC component of the return light due to the attenuation in the case of a DC R,
The multiplication factor is
(DC S1 + DC R ) / DC S1
A value corresponding to is good.
これら(2)から(4)の発明によれば、第一AC抽出部の値を補正して、第一光ファイバ伝送路の反射減衰量に起因した誤差を補償する。すなわち、第一光ファイバ伝送路側の変調度を求める第一除算処理部の入力となるAC成分は、第一AC抽出部から出力される第一光ファイバ伝送路側のAC成分に、所定の乗算係数を掛けた値となる。係る乗算係数を適宜に設定することで、第一除算処理部における除算処理で、第一DC抽出部で抽出された戻り光に基づく直流成分を除去し、第一除算処理の出力を、第一光ファイバ伝送路を介して送られてくる電流値に基づく正しい変調度として求めることができる。よって、最終的に光電変換器からの出力も、第一光ファイバ伝送路の反射減衰量に基づく誤差のないものとなる。 According to the inventions of (2) to (4), the value of the first AC extraction unit is corrected to compensate for an error caused by the return loss of the first optical fiber transmission line. That is, the AC component serving as the input of the first division processing unit for obtaining the degree of modulation on the first optical fiber transmission line side is the predetermined multiplication coefficient to the AC component on the first optical fiber transmission line side output from the first AC extraction unit. Multiplied by. By appropriately setting the multiplication coefficient, the direct current component based on the return light extracted by the first DC extraction unit is removed by the division processing in the first division processing unit, and the output of the first division processing is It can be obtained as a correct modulation degree based on the current value sent through the optical fiber transmission line. Therefore, finally, the output from the photoelectric converter also has no error based on the return loss of the first optical fiber transmission line.
(5)上記の前提の光ファイバ電流センサであって さらに前記光電変換器は、前記演算部の出力に所定の乗算係数を掛ける補償処理部を有し、前記所定の乗算係数は、前記第一光ファイバ伝送路の反射減衰量に起因する誤差の影響がなくなる値とするとよい。(6)上記の(5)の発明を前提とし、前記センサヘッドから前記第一光ファイバ伝送路に出力される光のDC成分をDCS1、前記第一光ファイバ伝送路の反射減衰量に起因する戻り光のDC成分をDCRとした場合に、
前記乗算係数は、
(2(DCS1+DCR))/(2DCS1+DCR)
に対応する値とするとよい。
(5) The optical fiber current sensor based on the above assumption, wherein the photoelectric converter further includes a compensation processing unit that multiplies the output of the arithmetic unit by a predetermined multiplication coefficient, and the predetermined multiplication coefficient is the first A value that eliminates the influence of errors caused by the return loss of the optical fiber transmission line is preferable. (6) Based on the invention of the above (5), the DC component of the light output from the sensor head to the first optical fiber transmission line is DC S1 , resulting from the return loss of the first optical fiber transmission line the DC component of the return light when a DC R,
The multiplication factor is
(2 (DC S1 + DC R )) / (2DC S1 + DC R )
A value corresponding to is good.
これら(5),(6)の発明によれば、演算部(例えば実施形態では、加算処理部)の出力を補正して、第一光ファイバ伝送路の反射減衰量に起因した誤差を補償する。すなわち、演算部の出力に掛ける乗算係数を、例えば、第一光ファイバ伝送路の反射減衰量に起因する戻り光の直流成分が関係する項の逆数に基づく値等にすることで、係る項と乗算係数が打ち消し合って、反射減衰量の影響を解消できる。 According to the inventions of (5) and (6), the output of the calculation unit (for example, the addition processing unit in the embodiment) is corrected to compensate for the error caused by the return loss of the first optical fiber transmission line. . That is, by multiplying the multiplication coefficient to be applied to the output of the calculation unit, for example, a value based on the reciprocal of the term related to the direct current component of the return light caused by the return loss of the first optical fiber transmission line, etc. The multiplication factors cancel each other, and the influence of the return loss can be eliminated.
本発明では、光ファイバ伝送路による反射減衰量の影響を抑制できるため、より精度の良い電流計測が行える。その結果、光ファイバ伝送路の長さを長距離にすることができる。 In the present invention, the influence of the return loss due to the optical fiber transmission line can be suppressed, so that more accurate current measurement can be performed. As a result, the length of the optical fiber transmission line can be increased.
[第一実施形態]
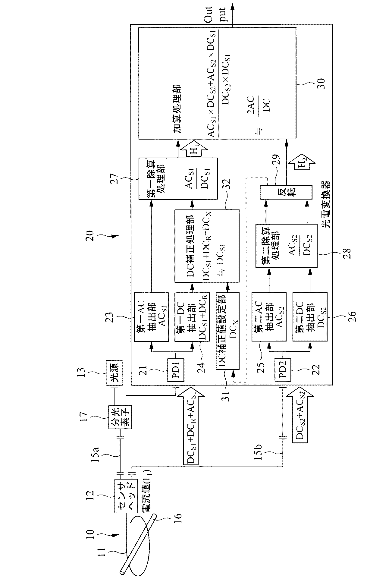
以下、本発明に係る光ファイバ電流センサについて、図面を参照しつつ説明する。図3は、光ファイバ電流センサの第一実施形態を示している。光ファイバ電流センサは、遠隔の測定点に配置される感知部10と、監視地に配置される光源13や所定の信号処理を行い電流値に対応する値・情報を求める光電変換器20と、それら測定点の感知部10と監視地の光源13,光電変換器20を結ぶ光ファイバ伝送路(第一,第二光ファイバ伝送路15a,15b)を備えている。
[First embodiment]
Hereinafter, an optical fiber current sensor according to the present invention will be described with reference to the drawings. FIG. 3 shows a first embodiment of an optical fiber current sensor. The optical fiber current sensor includes a
感知部10 は、電流値の測定対象の導体16の外周に周回状態に配置するセンシングファイバ11と、偏光子やファラデー回転子などの光学部品等を組み込んだセンサヘッド12を備える。ファラデー回転子は、通過する光の偏光面を22.5度回転する。さらにセンシングファイバ11の先端には、ミラーが配置され、センシングファイバ11内を先端に向けて進む光は、当該ミラーで反射されてセンシングファイバ11内を通って戻るように構成される。これにより、光の偏光面はファラデー回転子を往復することで45度回転し、戻ってきた光は、検光子として機能する偏光子に至る。
The
光源13は、例えば無偏光で高出力の光を発することができるものがよく、例えば、希土類元素添加物ファイバを半導体レーザ等の励起用光源で励起することにより生じた自然放出光がファイバ内を導波するに従い増幅する現象を利用した光源(ASE)を使用する。ASEは、出力光量が大きい(数十mW)、時間的コヒーレンスが低い、空間的コヒーレンスが高いなどの特徴を有しており、光ファイバ電流センサの光源として適している。また、出力光の偏光度は小さいため、偏光解消素子による無偏光化が容易となる。
The
第一,第二光ファイバ伝送路15a,15bは、例えば単一モード光ファイバを使用する。また、長距離伝送に用いるため、適宜位置にコネクタを配置し、当該単一モード光ファイバを直列に接続してそれぞれの光ファイバ伝送路を構成する。
The first and second optical
第一,第二光ファイバ伝送路15a,15bのそれぞれの一端は、センサヘッド12に接続され、第一光ファイバ伝送路15aの他端には、偏波無依存型の光サーキュレータからなる3ポートの分光素子17に接続される。分光素子17の他のポートには、光源13と、光電変換器20内の第一受光素子21と、が接続される。また、第二光ファイバ伝送路15bの他端には、光電変換器20内の第二受光素子22が接続される。
One end of each of the first and second optical
上記の光学的な構成は、基本的に図1に示す従来のものと同様である。すなわち、まず、光源13からの光は、その一部が分光素子17を通過して第一光ファイバ伝送路15a内を進み、センサヘッド12に至る。センサヘッド12は、入力された無偏光の光を内蔵する偏光子で直線偏光にし、ファラデー回転子で偏光面を22.5度回転させた後、センシングファイバ11に供給する。係る直線偏光は、センシングファイバ11内を進み、先端のミラーで反射して戻ってくる。センシングファイバ11は、電流が流れる導体に巻き付けてあるので、電流によって発生する磁界の影響を受けて偏光面が回転する。偏光面の回転角度の大きさは、磁界の大きさすなわち電流値に依存する。
The above optical configuration is basically the same as the conventional one shown in FIG. That is, first, a part of the light from the
そして、センシングファイバ11内を再び戻ってきた光は、センサヘッド12の中のファラデー回転子で偏光面をさらに22.5度回転させた後、偏光面が直交する2つの光(第一偏光,第二偏光)に分けられ、第一光ファイバ伝送路15aと、第二光ファイバ伝送路15bにそれぞれ与えられる。第一光ファイバ伝送路15a内を進む光は、分光素子17を経由して光電変換器20の第一受光素子21に入力し、第二光ファイバ伝送路15bを進む光は第二受光素子22に入力する。これら光学系の構成については、従来のものと基本的に同様のもので実現できる。そして、本実施形態では、後述するように、光ファイバ伝送路の反射減衰量の影響を抑制できるため、光ファイバ伝送路の長さは、従来のものよりも長くできる。
Then, the light returning again in the
光ファイバ電流センサを取り付けた導体16に交流電流を通電すると、光ファイバ電流センサは、センサヘッド12からDC成分にAC成分が重畳した2つの光信号を出力する。その2つの光信号は、上述したように第一光ファイバ伝送路15aと第二光ファイバ伝送路15bに与えられる。それぞれの光信号の変調度(DC成分に対するAC成分の比率:AC/DC)は、導体16に流れる電流値に比例しているため、変調度を求めることにより、導体16に流れる電流値を求めることができる。そして両方の信号の変調度を平均化することで、温度特性に基づく影響等をなくすようにする。
When an alternating current is passed through the
係る処理をするため、光電変換器20は、入力側に第一,第二受光素子21,22を備える。これらの受光素子は、例えばフォトダイオードなどで構成され、入力された光信号の強度に応じた電気信号(例えば電圧)に変換する。
In order to perform such processing, the
第一受光素子21の出力には、第一AC抽出部23と第一DC抽出部24をそれぞれ接続する。これにより、第一AC抽出部23は、第一受光素子21に入力された光信号のAC成分ACS1を抽出する。また、第一DC抽出部24は、第一受光素子21に入力された光信号のDC成分、すなわち、センサヘッド12から出力される電流値に応じた本来の光信号のDC成分DCS1に、第一光ファイバ伝送路15aの反射減衰量等に起因する戻り光に基づくDC成分DCRが加わったものを抽出する。よって、第一DC抽出部24からは、「DCS1+DCR」の電圧が出力される。
The first
また、第二受光素子22の出力には、第二AC抽出部25と第二DC抽出部26をそれぞれ接続する。各抽出部25,26は、第二受光素子22に入力された光信号のAC成分ACS2とDC成分DCS2をそれぞれ抽出する。これらの構成は従来と同様である。
Further, the second
そして、第一AC抽出部23の出力は、直接次段の第一除算処理部27に与えるが、第一DC抽出部24の出力は、DC補正処理部32の一方の入力に与えられ、そのDC補正処理部32の出力が第一除算処理部27に与えられるようにする。このDC補正処理部32の他方の入力には、DC補正値設定部31の出力が与えられる。DC補正値設定部31は、例えば、各種の数値を指定・入力する入力機器を備え、その入力機器を用いて指定された電圧値の直流電圧を出力する。この指定された電圧値は、第一光ファイバ伝送路5aの反射減衰量等に起因する戻り光に基づくDC成分DCRに対応する値である。
The output of the first
DC補正処理部32は、第一DC抽出部24から与えられた値(電圧値:「DCS1+DCR」)から、DC補正値設定部31から与えられた補正値DCRを引く処理を実行する。このように第一受光素子21で受信した光信号のDC成分(DCS1+DCR)から、第一光ファイバ伝送路15aの反射減衰量に起因したDC成分(DCR)を引くことにより、DC補正処理部32からは、センサヘッド12から出力される電流値に応じた本来の光信号のDC成分DCS1が出力される。よって、第一光ファイバ伝送路15aの反射減衰量に起因した誤差が補償される。
DC
第一除算処理部27は、与えられたAC成分をDC成分で除算する。上述したように、第一除算処理部27に与えられるDC成分は、電流値に応じた本来の光信号のDC成分DCS1となる。よって、第一除算処理部27は、ACS1/DCS1を実行し、測定対象の電流値に応じた第一光ファイバ伝送路15aを介して送られてきた信号の正しい変調度が求まる。
The first
一方、第二AC抽出部25と第二DC抽出部26の出力は、次段の第二除算処理部28に与えられる。第二除算処理部28は、AC成分ACS2をDC成分DCS2で除算する演算処理をする。第二除算処理部28は、第二光ファイバ伝送路15bを介して送られてきた信号の変調度を求めることになる。
On the other hand, the outputs of the second
そして、第一除算処理部27の出力は、直接加算処理部30に与えられ、第二除算処理部28の出力は、反転部29を介して加算処理部30に与えられる。センサヘッド12から第一,第二光ファイバ伝送路15a,15bに出力される2つの信号は位相が反転しているため、一方(ここでは、第二光ファイバ伝送路15b側)の信号の変調度を反転して加算することで、加算処理部30では、2つの信号の変調度(絶対値)の加算値を求める。この例では、その加算値を最終出力としているが、係る加算値を2で割ることで平均化される。
The output of the first
本実施形態では、加算処理部30に与えられる2つの信号の変調度は、いずれも光ファイバ伝送路の反射減衰量(戻り光)の影響がなく、導体16に流れる電流の値に応じた正しいものとなっているため、加算処理部30からの出力に基づいて導体16に流れる電流値を精度良く求めることができる。
In this embodiment, the modulation degree of the two signals given to the
また、DC補正値設定部31に設定するDC補正値は、初期設定として設定し、実際の導体16の電流値の計測時には固定値とする。この初期設定は、各種の方法を採ることができ、一例を示すと、下記の3つのものがある。係る3つの初期設定により、簡単、かつ、精度良くDC補正値を求め、設定することができるが、本発明は、これら3つの方法に限ることはなくその他の各種の設定方法を用いてもよい。
[DC補正値の初期設定1]
The DC correction value set in the DC correction
[DC correction value initial setting 1]
DC補正値設定部31に設定するDC補正値は、光パルス試験器(optical time−domain reflectometer:OTDR)を用いて、実際の光ファイバ電流センサに用いる光ファイバ伝送路の反射減衰量R1を求め、それからDC補正値DCRを求め、固定値としてセットする。すなわち、まず光パルス試験器を実際に使用する第一光ファイバ伝送路15aの一端(例えば、分光素子17と接続される側)に接続し、光パルス試験器から所定の光量P1の光を第一光ファイバ伝送路15aに入射し、戻り光P2を検出する。そして、R1=P2/P1により反射減衰量R1を測定する。実際の第一光ファイバ伝送路15aを用いて反射減衰量を求めるため、例えば第一光ファイバ伝送路がコネクタ接続される場合、コネクタの部分での影響も分かる。
The DC correction value to be set in the DC correction
次いで、分光素子を介して第一光ファイバ伝送路15aに入射する光量P0を測定する。そして、上記のようにして求めたR1,P0から、DC補正値DCRを求める(DCR=P0×R1)。この求めたDC補正値を、ユーザが上記の入力機器を用いて入力し、DC補正値設定部31にセットする。これにより、DC補正値設定部31は、DC補正値DCRの直流電圧を出力する。
[DC補正値の初期設定2]
Next, the amount of light P 0 incident on the first optical
[DC correction value initial setting 2]
図4,図5は、2番目の初期設定の手法を説明する図である。図4に示すように、まず、実際に使用する長距離の第一光ファイバ伝送路15aと第二光ファイバ伝送路15bを接続しない状態で光学系を構成する。つまり、センサヘッド12と分光素子17との間、並びにセンサヘッド12と光電変換器20の第二受光素子22との間をそれぞれ初期設定用のファイバ長の短い光ファイバ伝送路40で接続する。この光ファイバ伝送路40は、センサヘッド12と分光素子17の間で光の送受ができ、またセンサヘッド12から出力される光が第二受光素子22に受信できればよいので、ファイバ長は短いものほどよい。このように光学系を構成することで、光源13から出射された光は、分光素子17→光ファイバ伝送路40→センサヘッド12→センシングファイバ11と進み、センシングファイバ11の先端で反射してセンサヘッド12に戻る。そして、センサヘッド12から出力される2つの光は、それぞれ2つの光ファイバ伝送路40を経由して第一,第二受光素子21,22に至る。このとき、光ファイバ伝送路40の全長は短いため、反射減衰量の影響がないか無視できるほど小さいので、分光素子17からセンサヘッド12へ向けて進む光の戻り光をほぼなくすことができる。
4 and 5 are diagrams for explaining a second initial setting method. As shown in FIG. 4, first, the optical system is configured in a state where the long-distance first optical
そこで、DC補正値設定部31の値をゼロにし、導体16に既知の電流I1を通電し、そのときの第一受光素子21で受光した光の変調度H1を求める。この変調度H1を求めた際の第一受光素子21で受光した光は反射減衰量の影響を受けていないため、戻り光のDC成分DCRはなく、補正値設定部31の出力もゼロである。よって、第一除算処理部27から出力される変調度H1は、ACS1/DCS1となる。つまり、このとき求めた変調度H1は、電流値I1に対応した変調度となる。
Therefore, the value of the DC correction
また、変調度H1を求める具体的な処理は、例えば第一除算処理部27の出力にモニタ端子を設け、そのモニタ端子の電圧値を測定し、その電圧値を変調度H1とする。この電圧値(変調度H1)は、例えば初期設定を行うユーザが紙などに書いて記録する。また、光電変換器あるいは別途用意した初期設定用機器内のメモリに記憶させるようにしてもよい。この場合の初期設定用機器は、モニタ端子に接続し、そこに出力されている電圧値を検出し、検出した電圧値をメモリに格納する機能を持つ。
Furthermore, specific processing for determining the modulation factor H 1 is, for example provided with a monitor terminal to the output of the first
次に、図5に示すように、第一光ファイバ伝送路15aと第二光ファイバ伝送路15bを接続し、正規の光ファイバ電流センサの光学系を構成する。その状態で、導体16に既知の電流I1を通電し、そのときの第一受光素子21で受光した光の変調度を求める。具体的には、例えば第一除算処理部27から出力される電圧をモニタする。次いで、DC補正値設定部31に設定する値を換え、導体16に既知の電流I1を通電し、そのときの第一受光素子21で受光した光の変調度を求める。この求めた変調度と、第一,第二光ファイバ伝送路15a,15bの未接続時の変調度H1と比較し、一致したときのDC補正値設定部31の値DCXを、DC補正値としてセットし、初期設定を終了する。この設定したDCXは、DCRとほぼ等しいので、DC補正値設定部31にDCXをセットした場合の第一除算処理部27から出力される変調度は、測定対象の電流値に対応したものとなる。
Next, as shown in FIG. 5, the first optical
実際の調整は、例えば既知の電流I1を通電した状態を維持しつつ、DC補正値設定部31の値をゼロから徐々に増加させ、第一除算処理部27の出力値(変調度)がH1になったときのDC補正値設定部31の値で固定することで実現できる。変調度がH1と一致したか否かは、例えば、第一除算処理部27のモニタ端子に電圧計等を接続し、ユーザがモニタ端子の電圧値を監視する。そして、紙などに記録したH1になったか否かをユーザ自身が判定する。また、所定のメモリに記録した場合、例えば、第一除算処理部27の出力(電圧値)と、メモリに記憶した値とを装置側で比較し、一致した場合にその旨を報知(例えば、ランプの点灯、警報音出力等)するとよい。さらに、DC補正値設定部31に対する電圧値の設定も自動的に行う設定機能を備え、上記の装置側で比較を行った結果を係る設定機能にフィードバックするようにすると良い。つまり、変調度が一致するまでは、DC補正値設定部31に設定する電圧値を徐々に上昇していき、一致した時に自動的に上昇を終了すると良い。
In actual adjustment, for example, the value of the DC correction
この初期設定の方法によれば、第一,第二光ファイバ伝送路15a,15bを未接続の状態で得られる第一受光素子21側の変調度H1は、第一光ファイバ伝送路15aの反射減衰量の影響を受けていない。そのため、第一,第二光ファイバ伝送路15a,15bを接続した状態で、第一受光素子21側の変調度を光ファイバ伝送路未接続状態の値にすることにより、第一光ファイバ伝送路15aの反射減衰量に起因した誤差を補償することができる。
According to the method of this initial setting, the first, second optical
[DC補正値の初期設定3]
図6は、3番目の初期設定の手法を説明する図である。図6に示すように、第一光ファイバ伝送路15aと第二光ファイバ伝送路15bを接続し、正規の光ファイバ電流センサの光学系を構成する。その状態で、導体16に既知の電流I1を通電し、そのときの第二受光素子22で受光した光の変調度H2を求める。具体的には、例えば反転部29から出力される電圧をモニタする。
[DC correction value initial setting 3]
FIG. 6 is a diagram for explaining a third initial setting method. As shown in FIG. 6, the first optical
次いで、DC補正値設定部31に設定する値を適宜換え、導体16に既知の電流I1を通電し、そのときの第一受光素子21で受光した光の変調度H1を求める。この求めた変調度H1が、第二光ファイバ伝送路15b(第二受光素子22)側の変調度H2と同じになるようなDC補正値設定部31の値DCXを求め、それを補正値としてセットし、初期設定を終了する。
Then, changing the value to be set to the DC correction
第二光ファイバ伝送路15bはセンサヘッド12からの戻り光専用の伝送路であるため、光ファイバ伝送路の反射減衰量が光ファイバ電流センサの誤差に影響を及ぼすことはない。そのため、上述したように第一,第二光ファイバ伝送路15a,15bを接続した状態で第二光ファイバ伝送路15bの変調度H2を測定し、第一光ファイバ伝送路15a側の変調度H1を第二光ファイバ伝送路15b側の変調度H2と同じ値にすることにより、光ファイバ伝送路1の反射減衰量に起因した誤差を補償することができる。なお、この初期設定は、センサヘッド12から出力される2つの信号のDC成分が等しく、AC成分が反転状態の時に行うと良い。
Since the second optical
[第二実施形態]
図7は、本発明の第二実施形態を示している。この実施形態では、第一AC抽出部23と、第一除算処理部27の間に、除算補償処理部36を配置し、変調度を求める第一除算処理部27に与えるAC成分に所定の係数を掛けることで、第一除算処理部27の出力が第一光ファイバ伝送路15aにより生じる余分なもの(反射減衰量)の影響が無くなるようにする。
[Second Embodiment]
FIG. 7 shows a second embodiment of the present invention. In this embodiment, a division
具体的には、除算補償処理部36は、第一AC抽出部23から与えられるAC成分ACS1に対し、所定の乗算係数Bを掛ける乗算機能を有する。この乗算係数Bは、乗算係数設定部35から設定される。
Specifically, the division
この乗算係数Bは、(DCS1+DCR)/DCS1に対応する値とする。このようにすることで、除算補償処理部36では、ACS1×Bの演算処理を実行すると、第一除算処理部27は、AC成分/DC成分を演算処理するため、
(ACS1×B)/(DCS1+DCR)
=ACS1/DCS1
The multiplication coefficient B is a value corresponding to (DC S1 + DC R ) / DC S1 . By doing in this way, when the division
(AC S1 × B) / (DC S1 + DC R )
= AC S1 / DC S1
となり、DCRの項がなくなる。よって、第一除算処理部27から出力されて次段の加算処理部30に与えられる第一光ファイバ伝送路15a側の変調度は、反射減衰量の影響が補償され、測定対象の電流値に応じたものとなり、精度の良い電流値の計測ができる。
Next, the term DC R is eliminated. Therefore, the modulation degree on the first optical
また、光電変換器20内の第二光ファイバ伝送路15b側の各処理部や、光学系を構成するその他の構成は、第一実施形態と同様であるため、対応する部材に同一符号を付し、その詳細な説明を省略する。
In addition, since each processing unit on the second optical
乗算係数設定部35に設定する乗算係数値は、初期設定として設定し、実際の導体16の電流値の計測時には固定値とする。この初期設定は、各種の方法を採ることができ、一例を示すと、下記の2つのものがある。係る2つの初期設定により、簡単、かつ、精度良く乗算係数Bを求め、設定することができるが、本発明は、これら2つの方法に限ることはなくその他の各種の設定方法を用いてもよい。
The multiplication coefficient value set in the multiplication
[乗算係数の初期設定1]
まず、実際に使用する長距離の第一光ファイバ伝送路15aと第二光ファイバ伝送路15bを接続しない状態で光学系を構成する。つまり、センサヘッド12と分光素子17との間、並びにセンサヘッド12と光電変換器20の第二受光素子22との間をそれぞれファイバ長の短い初期設定用の光ファイバ伝送路で接続する。具体的な図示は省略するが、図4に示した「DC補正値の初期設定2」における初期設定用の光学系と同様とするとよい。
[Initial setting of multiplication coefficient 1]
First, the optical system is configured without connecting the long-distance first optical
そして、乗算係数設定部35の値を1にし、導体16に既知の電流I1を通電し、そのときの第一受光素子21で受光した光の変調度H1を求める。このとき求めた変調度H1は、反射減衰量の影響を受けていないため、戻り光のDC成分DCRはなく、乗算係数設定部35の値も1であるため、除算補正処理部36の出力はACS1となるので、除算処理部27から出力される変調度H1は、ACS1/DCS1となる。つまり、このとき求めた変調度H1は、電流値I1に対応した変調度となる。
Then, the value of the multiplication
次に、第一光ファイバ伝送路15aと第二光ファイバ伝送路15bを接続し、正規の光ファイバ電流センサの光学系を構成する。その状態で、導体16に既知の電流I1を通電し、乗算係数設定部35の値を換えながら、そのときの第一受光素子21で受光した光の変調度を求める。この求めた変調度が、第一,第二光ファイバ伝送路15a,15bの未接続時の変調度H1と比較し、両者が同じ値になるように乗算係数設定部35の値を調整し、初期設定を終了する。
Next, the first optical
[乗算係数の初期設定2]
第一光ファイバ伝送路15aと第二光ファイバ伝送路15bを接続し、正規の光ファイバ電流センサの光学系を構成する。その状態で、導体16に既知の電流I1を通電し、そのときの第二受光素子22で受光した光の変調度H2を求める。具体的には、例えば反転部29から出力される電圧をモニタする。
[Initial setting of multiplication coefficient 2]
The first optical
次いで、乗算係数設定部35の値を換え、導体16に既知の電流I1を通電し、そのときの第一受光素子21で受光した光の変調度H1を求める。この求めた変調度H1が、第二光ファイバ伝送路15b(第二受光素子22)側の変調度H2と同じになるような乗算係数設定部35の値を調整し、初期設定を終了する。
Next, the value of the multiplication
[第三実施形態]
図8,図9は、本発明の第三実施形態を示している。この実施形態では、加算処理部30の出力に、補償処理部37を配置し、2つの変調度を加算した加算処理部30の出力に所定の係数を掛けることで、第一光ファイバ伝送路により生じる余分なもの(反射減衰量)の影響が無くなるようにする。
[Third embodiment]
8 and 9 show a third embodiment of the present invention. In this embodiment, the
具体的には、補償処理部37は、加算処理部30の出力値に対し、所定の乗算係数Bを掛ける乗算機能を有する。つまり、加算処理部30においてゲイン調整を行う。この乗算係数Bは、乗算係数設定部38から設定される。
Specifically, the
ここで、図8中、補償処理部37内の近似式について説明する。まず、温度変化等の外乱がない場合は、反射減衰量DCRの影響を差し引いた第一光ファイバ伝送路15aの戻り信号の変調度ACS1/DCS1と、第二光ファイバ電送路15bの戻り信号の変調度ACS2/DCS2はほぼ等しいので、次式が成り立つ。
ACS1/DCS1=ACS2/DCS2
ACS1=(ACS2/DCS2)DCS1 ……(7)
この式(7)を、図8の加算処理部30内に記載した式に代入すると、以下のようになる。
ACS2(2DCS1+DCR)/(DCS2(DCS1+DCR) ……(8)
乗算係数Bは、最終出力(OutPut)が2ACS2/DCS2となるように式(8)に掛ける定数であるため、次式で表すことができ、乗算係数Bが求まる。
Here, an approximate expression in the
AC S1 / DC S1 = AC S2 / DC S2
AC S1 = (AC S2 / DC S2 ) DC S1 (7)
Substituting this equation (7) into the equation described in the
AC S2 (2DC S1 + DC R ) / (DC S2 (DC S1 + DC R ) (8)
Since the multiplication coefficient B is a constant that is multiplied by the expression (8) so that the final output (OutPut) becomes 2AC S2 / DC S2 , it can be expressed by the following expression, and the multiplication coefficient B is obtained.
この乗算係数Bは、(2(DCS1+DCR))/(2DCS1+DCR)に対応する値とする。このようにすることで、補償処理部37では、図8中、補償処理部37内部の演算式を実行する。図示するように、DCRを含む項がなくなるので、最終的な出力は、反射減衰量の影響を受けない測定対象の電流値に対応する正しい値となる。なお、その他の構成並びに作用効果は、上述した各実施形態と同様であるため、対応する部材に同一符号を付し、その詳細な説明を省略する。
The multiplication coefficient B is a value corresponding to (2 (DC S1 + DC R )) / (2DC S1 + DC R ). By doing so, the
乗算係数設定部38に設定する乗算係数値は、初期設定として設定し、実際の導体16の電流値の計測時には固定値とする。この初期設定は、各種の方法を採ることができ、一例を示すと、下記の通りである。係る初期設定により、簡単、かつ、精度良く乗算係数Bを求め、設定することができるが、本発明は、この方法に限ることはなくその他の各種の設定方法を用いてもよい。
The multiplication coefficient value set in the multiplication
[乗算係数の初期設定]
まず、図9に示すように、実際に使用する長距離の第一光ファイバ伝送路15aと第二光ファイバ伝送路15bを接続しない状態で光学系を構成する。つまり、センサヘッド12と分光素子17との間、並びにセンサヘッド12と光電変換器20の第二受光素子22との間をそれぞれファイバ長の短い初期設定用の光ファイバ伝送路40で接続する。
[Initial setting of multiplication coefficient]
First, as shown in FIG. 9, the optical system is configured without connecting the long-distance first optical
そして、乗算係数設定部38の値を1にし、導体16に既知の電流I1を通電し、そのときの補償処理部37の出力(光電変換器20の出力)を求め、記録する。このとき求めた出力は、反射減衰量の影響を受けていないため、電流値I1に対応した正しい出力となる。
Then, the value of the multiplication
次に、図8に示すように、第一光ファイバ伝送路15aと第二光ファイバ伝送路15bを接続し、正規の光ファイバ電流センサの光学系を構成する。その状態で、導体16に既知の電流I1を通電し、乗算係数設定部38の値を換えながら、そのときの補償処理部37の出力(光電変換器20の出力)を求める。この求めた出力が、第一,第二光ファイバ伝送路15a,15bの未接続時の出力と同じ値になるように乗算係数設定部38の値を調整し、初期設定を終了する。
Next, as shown in FIG. 8, the first optical
10 感知部
11 センシングファイバ
12 センサヘッド
15a 第一光ファイバ伝送路
15b 第二光ファイバ伝送路
20 光電変換器
21 第一受光素子
22 第二受光素子
23 第一AC抽出部
24 第一DC抽出部
25 第二AC抽出部
26 第二DC抽出部
27 第一除算処理部
28 第二除算処理部
29 反転部
30 加算処理部
31 DC補正値設定部
32 DC補正処理部
35 乗算係数設定部
36 除算補償処理部
37 補償処理部
38 乗算係数設定部
40 光ファイバ伝送路(初期設定用)
DESCRIPTION OF
Claims (6)
測定点から離れた位置に配置される光源及び光電変換器と、
前記感知部と前記光電変換器とを接続する第一光ファイバ伝送路,第二光ファイバ伝送路と、
を備えた光ファイバ電流センサであって、
前記光源からの光は、前記第一光ファイバ伝送路を用いて前記感知部に伝送され、
前記感知部は、導体の外周に周回状態に配置する磁界に比例して光の偏光面が回転するファラデー効果を示すセンシングファイバと、前記第一光ファイバ伝送路を介して送られてきた光を直線偏光にして前記センシングファイバに出力するとともに、前記センシングファイバからの戻り光を偏光面が直交する2つの光に分離し、その分離した光を前記第一光ファイバ伝送路と前記第二光ファイバ伝送路に出力するセンサヘッドを備え、
前記光電変換器は、
前記第一光ファイバ伝送路から送られてきた光を受光し、受光した光強度に応じた電圧を出力する第一受光素子と、
前記第一受光素子の出力からAC成分を抽出する第一AC抽出部と、
前記第一受光素子の出力からDC成分を抽出する第一DC抽出部と、
前記第一AC抽出部の出力に基づく値を前記第一DC抽出部の出力に基づく値で除算する第一除算処理部と、
前記第二光ファイバ伝送路から送られてきた光を受光し、受光した光強度に応じた電圧を出力する第二受光素子と、
前記第二受光素子の出力からAC成分を抽出する第二AC抽出部と、
前記第二受光素子の出力からDC成分を抽出する第二DC抽出部と、
前記第二AC抽出部の出力に基づく値を前記第二DC抽出部の出力に基づく値で除算する第二除算処理部と、
前記第一除算処理部の出力と、前記第二除算処理部の出力に基づき、電流値に応じた値を求める演算部とを備えており、
さらに前記光電変換器は、前記第一DC抽出部と前記第一除算処理部との間にDC補正処理部を設け、
前記DC補正処理部は、前記第一DC抽出部の出力からDC補正値設定部で設定された補正値を減算する処理を実行する機能を持ち、
前記補正値は、前記第一光ファイバ伝送路の反射減衰量に起因する戻り光に基づくDC成分に対応する値としたことを特徴とする光ファイバ電流センサ。 A sensor arranged at the measurement point;
A light source and a photoelectric converter arranged at positions away from the measurement point;
A first optical fiber transmission line connecting the sensing unit and the photoelectric converter; a second optical fiber transmission line;
An optical fiber current sensor comprising:
The light from the light source is transmitted to the sensing unit using the first optical fiber transmission line,
The sensing unit includes a sensing fiber exhibiting a Faraday effect in which a polarization plane of light rotates in proportion to a magnetic field arranged in a circular state on an outer periphery of a conductor, and light transmitted through the first optical fiber transmission line. The linearly polarized light is output to the sensing fiber, and the return light from the sensing fiber is separated into two lights whose polarization planes are orthogonal to each other, and the separated light is divided into the first optical fiber transmission line and the second optical fiber. It has a sensor head that outputs to the transmission line,
The photoelectric converter is
A first light receiving element that receives light transmitted from the first optical fiber transmission line and outputs a voltage corresponding to the received light intensity;
A first AC extraction unit for extracting an AC component from the output of the first light receiving element;
A first DC extraction unit for extracting a DC component from the output of the first light receiving element;
A first division processing unit for dividing a value based on the output of the first AC extraction unit by a value based on the output of the first DC extraction unit;
A second light receiving element that receives light transmitted from the second optical fiber transmission line and outputs a voltage corresponding to the received light intensity;
A second AC extraction unit for extracting an AC component from the output of the second light receiving element;
A second DC extraction unit for extracting a DC component from the output of the second light receiving element;
A second division processing unit for dividing a value based on the output of the second AC extraction unit by a value based on the output of the second DC extraction unit;
An output of the first division processing unit, and a calculation unit for obtaining a value according to the current value based on the output of the second division processing unit,
Furthermore, the photoelectric converter includes a DC correction processing unit between the first DC extraction unit and the first division processing unit,
The DC correction processing unit has a function of executing a process of subtracting the correction value set by the DC correction value setting unit from the output of the first DC extraction unit,
The optical fiber current sensor according to claim 1, wherein the correction value is a value corresponding to a DC component based on return light caused by a return loss amount of the first optical fiber transmission line.
測定点から離れた位置に配置される光源及び光電変換器と、
前記感知部と前記光電変換器とを接続する第一光ファイバ伝送路,第二光ファイバ伝送路と、
を備えた光ファイバ電流センサであって、
前記光源からの光は、前記第一光ファイバ伝送路を用いて前記感知部に伝送され、
前記感知部は、導体の外周に周回状態に配置する磁界に比例して光の偏光面が回転するファラデー効果を示すセンシングファイバと、前記第一光ファイバ伝送路を介して送られてきた光を直線偏光にして前記センシングファイバに出力するとともに、前記センシングファイバからの戻り光を偏光面が直交する2つの光に分離し、その分離した光を前記第一光ファイバ伝送路と前記第二光ファイバ伝送路に出力するセンサヘッドを備え、
前記光電変換器は、
前記第一光ファイバ伝送路から送られてきた光を受光し、受光した光強度に応じた電圧を出力する第一受光素子と、
前記第一受光素子の出力からAC成分を抽出する第一AC抽出部と、
前記第一受光素子の出力からDC成分を抽出する第一DC抽出部と、
前記第一AC抽出部の出力に基づく値を前記第一DC抽出部の出力に基づく値で除算する第一除算処理部と、
前記第二光ファイバ伝送路から送られてきた光を受光し、受光した光強度に応じた電圧を出力する第二受光素子と、
前記第二受光素子の出力からAC成分を抽出する第二AC抽出部と、
前記第二受光素子の出力からDC成分を抽出する第二DC抽出部と、
前記第二AC抽出部の出力に基づく値を前記第二DC抽出部の出力に基づく値で除算する第二除算処理部と、
前記第一除算処理部の出力と、前記第二除算処理部の出力に基づき、電流値に応じた値を求める演算部とを備えており、
さらに前記光電変換器は、前記第一AC抽出部と、前記第一除算処理部の間に、除算補償処理部を配置し、
前記除算補償処理部は、前記第一AC抽出部の出力に対し、乗算係数設定部から設定された所定の乗算係数を掛ける乗算機能を有し、
前記所定の乗算係数は、前記第一光ファイバ伝送路の反射減衰量に起因する誤差の影響がなくなる値としたことを特徴とする光ファイバ電流センサ。 A sensor arranged at the measurement point;
A light source and a photoelectric converter arranged at positions away from the measurement point;
A first optical fiber transmission line connecting the sensing unit and the photoelectric converter; a second optical fiber transmission line;
An optical fiber current sensor comprising:
The light from the light source is transmitted to the sensing unit using the first optical fiber transmission line,
The sensing unit includes a sensing fiber exhibiting a Faraday effect in which a polarization plane of light rotates in proportion to a magnetic field arranged in a circular state on an outer periphery of a conductor, and light transmitted through the first optical fiber transmission line. The linearly polarized light is output to the sensing fiber, and the return light from the sensing fiber is separated into two lights whose polarization planes are orthogonal to each other, and the separated light is divided into the first optical fiber transmission line and the second optical fiber. It has a sensor head that outputs to the transmission line,
The photoelectric converter is
A first light receiving element that receives light transmitted from the first optical fiber transmission line and outputs a voltage corresponding to the received light intensity;
A first AC extraction unit for extracting an AC component from the output of the first light receiving element;
A first DC extraction unit for extracting a DC component from the output of the first light receiving element;
A first division processing unit for dividing a value based on the output of the first AC extraction unit by a value based on the output of the first DC extraction unit;
A second light receiving element that receives light transmitted from the second optical fiber transmission line and outputs a voltage corresponding to the received light intensity;
A second AC extraction unit for extracting an AC component from the output of the second light receiving element;
A second DC extraction unit for extracting a DC component from the output of the second light receiving element;
A second division processing unit for dividing a value based on the output of the second AC extraction unit by a value based on the output of the second DC extraction unit;
An output of the first division processing unit, and a calculation unit for obtaining a value according to the current value based on the output of the second division processing unit,
Further, the photoelectric converter includes a division compensation processing unit disposed between the first AC extraction unit and the first division processing unit,
The division compensation processing unit has a multiplication function of multiplying the output of the first AC extraction unit by a predetermined multiplication coefficient set by the multiplication coefficient setting unit,
The optical fiber current sensor is characterized in that the predetermined multiplication coefficient is a value that eliminates the influence of an error caused by the return loss of the first optical fiber transmission line.
前記乗算係数は、
(DCS1+DCR)/DCS1
に対応する値であることを特徴とする請求項2または3に記載の光ファイバ電流センサ。 When the DC component of the light output from the sensor head to the first optical fiber transmission line is DC S1 and the DC component of the return light caused by the return loss of the first optical fiber transmission line is DC R ,
The multiplication factor is
(DC S1 + DC R ) / DC S1
The optical fiber current sensor according to claim 2, wherein the optical fiber current sensor has a value corresponding to.
測定点から離れた位置に配置される光源及び光電変換器と、
前記感知部と前記光電変換器とを接続する第一光ファイバ伝送路,第二光ファイバ伝送路と、
を備えた光ファイバ電流センサであって、
前記光源からの光は、前記第一光ファイバ伝送路を用いて前記感知部に伝送され、
前記感知部は、導体の外周に周回状態に配置する磁界に比例して光の偏光面が回転するファラデー効果を示すセンシングファイバと、前記第一光ファイバ伝送路を介して送られてきた光を直線偏光にして前記センシングファイバに出力するとともに、前記センシングファイバからの戻り光を偏光面が直交する2つの光に分離し、その分離した光を前記第一光ファイバ伝送路と前記第二光ファイバ伝送路に出力するセンサヘッドを備え、
前記光電変換器は、
前記第一光ファイバ伝送路から送られてきた光を受光し、受光した光強度に応じた電圧を出力する第一受光素子と、
前記第一受光素子の出力からAC成分を抽出する第一AC抽出部と、
前記第一受光素子の出力からDC成分を抽出する第一DC抽出部と、
前記第一AC抽出部の出力に基づく値を前記第一DC抽出部の出力に基づく値で除算する第一除算処理部と、
前記第二光ファイバ伝送路から送られてきた光を受光し、受光した光強度に応じた電圧を出力する第二受光素子と、
前記第二受光素子の出力からAC成分を抽出する第二AC抽出部と、
前記第二受光素子の出力からDC成分を抽出する第二DC抽出部と、
前記第二AC抽出部の出力に基づく値を前記第二DC抽出部の出力に基づく値で除算する第二除算処理部と、
前記第一除算処理部の出力と、前記第二除算処理部の出力に基づき、電流値に応じた値を求める演算部とを備えており、
さらに前記光電変換器は、前記演算部の出力に所定の乗算係数を掛ける補償処理部を有し、
前記所定の乗算係数は、前記第一光ファイバ伝送路の反射減衰量に起因する誤差の影響がなくなる値としたことを特徴とする光ファイバ電流センサ。 A sensor arranged at the measurement point;
A light source and a photoelectric converter arranged at positions away from the measurement point;
A first optical fiber transmission line connecting the sensing unit and the photoelectric converter; a second optical fiber transmission line;
An optical fiber current sensor comprising:
The light from the light source is transmitted to the sensing unit using the first optical fiber transmission line,
The sensing unit includes a sensing fiber exhibiting a Faraday effect in which a polarization plane of light rotates in proportion to a magnetic field arranged in a circular state on an outer periphery of a conductor, and light transmitted through the first optical fiber transmission line. The linearly polarized light is output to the sensing fiber, and the return light from the sensing fiber is separated into two lights whose polarization planes are orthogonal to each other, and the separated light is divided into the first optical fiber transmission line and the second optical fiber. It has a sensor head that outputs to the transmission line,
The photoelectric converter is
A first light receiving element that receives light transmitted from the first optical fiber transmission line and outputs a voltage corresponding to the received light intensity;
A first AC extraction unit for extracting an AC component from the output of the first light receiving element;
A first DC extraction unit for extracting a DC component from the output of the first light receiving element;
A first division processing unit for dividing a value based on the output of the first AC extraction unit by a value based on the output of the first DC extraction unit;
A second light receiving element that receives light transmitted from the second optical fiber transmission line and outputs a voltage corresponding to the received light intensity;
A second AC extraction unit for extracting an AC component from the output of the second light receiving element;
A second DC extraction unit for extracting a DC component from the output of the second light receiving element;
A second division processing unit for dividing a value based on the output of the second AC extraction unit by a value based on the output of the second DC extraction unit;
An output of the first division processing unit, and a calculation unit for obtaining a value according to the current value based on the output of the second division processing unit,
The photoelectric converter further includes a compensation processing unit that multiplies the output of the arithmetic unit by a predetermined multiplication coefficient,
The optical fiber current sensor is characterized in that the predetermined multiplication coefficient is a value that eliminates the influence of an error caused by the return loss of the first optical fiber transmission line.
前記乗算係数は、
(2(DCS1+DCR))/(2DCS1+DCR)
に対応する値であることを特徴とする請求項5に記載の光ファイバ電流センサ。 When the DC component of the light output from the sensor head to the first optical fiber transmission line is DC S1 and the DC component of the return light caused by the return loss of the first optical fiber transmission line is DC R ,
The multiplication factor is
(2 (DC S1 + DC R )) / (2DC S1 + DC R )
The optical fiber current sensor according to claim 5, wherein the optical fiber current sensor has a value corresponding to.
Priority Applications (1)
| Application Number | Priority Date | Filing Date | Title |
|---|---|---|---|
| JP2013067480A JP6027927B2 (en) | 2013-03-27 | 2013-03-27 | Fiber optic current sensor |
Applications Claiming Priority (1)
| Application Number | Priority Date | Filing Date | Title |
|---|---|---|---|
| JP2013067480A JP6027927B2 (en) | 2013-03-27 | 2013-03-27 | Fiber optic current sensor |
Publications (2)
| Publication Number | Publication Date |
|---|---|
| JP2014190879A true JP2014190879A (en) | 2014-10-06 |
| JP6027927B2 JP6027927B2 (en) | 2016-11-16 |
Family
ID=51837259
Family Applications (1)
| Application Number | Title | Priority Date | Filing Date |
|---|---|---|---|
| JP2013067480A Active JP6027927B2 (en) | 2013-03-27 | 2013-03-27 | Fiber optic current sensor |
Country Status (1)
| Country | Link |
|---|---|
| JP (1) | JP6027927B2 (en) |
Cited By (4)
| Publication number | Priority date | Publication date | Assignee | Title |
|---|---|---|---|---|
| CN105004898A (en) * | 2015-06-30 | 2015-10-28 | 易能乾元(北京)电力科技有限公司 | All-fiber current transformer with integrated optical path and manufacturing technology |
| CN105467345A (en) * | 2015-12-22 | 2016-04-06 | 云南电网有限责任公司电力科学研究院 | Fiber current sensor frequency band width test method and system |
| CN105785100A (en) * | 2016-03-03 | 2016-07-20 | 国网江苏省电力公司电力科学研究院 | Optical fiber mutual inductor current measuring method based on reflective intensity modulation |
| JP2017150890A (en) * | 2016-02-23 | 2017-08-31 | 株式会社東光高岳 | Photocurrent sensor |
Citations (4)
| Publication number | Priority date | Publication date | Assignee | Title |
|---|---|---|---|---|
| JPH02309220A (en) * | 1989-05-24 | 1990-12-25 | Tokyo Electric Power Co Inc:The | Optical fiber-type distributed temperature measuring apparatus |
| JPH08510056A (en) * | 1993-10-01 | 1996-10-22 | シーメンス アクチエンゲゼルシヤフト | Method and apparatus for measuring electric alternating current amount with temperature compensation |
| JPH10111320A (en) * | 1996-10-04 | 1998-04-28 | Nissin Electric Co Ltd | Photo-voltage/photo-current sensor |
| JP2010071934A (en) * | 2008-09-22 | 2010-04-02 | Toko Electric Corp | Temperature characteristic compensating device for optical computer tomography |
-
2013
- 2013-03-27 JP JP2013067480A patent/JP6027927B2/en active Active
Patent Citations (5)
| Publication number | Priority date | Publication date | Assignee | Title |
|---|---|---|---|---|
| JPH02309220A (en) * | 1989-05-24 | 1990-12-25 | Tokyo Electric Power Co Inc:The | Optical fiber-type distributed temperature measuring apparatus |
| JPH08510056A (en) * | 1993-10-01 | 1996-10-22 | シーメンス アクチエンゲゼルシヤフト | Method and apparatus for measuring electric alternating current amount with temperature compensation |
| US5811964A (en) * | 1993-10-01 | 1998-09-22 | Siemens Aktiengelsellschaft | Method and device for measuring an electrical alternating quanity with temperature compensation |
| JPH10111320A (en) * | 1996-10-04 | 1998-04-28 | Nissin Electric Co Ltd | Photo-voltage/photo-current sensor |
| JP2010071934A (en) * | 2008-09-22 | 2010-04-02 | Toko Electric Corp | Temperature characteristic compensating device for optical computer tomography |
Cited By (5)
| Publication number | Priority date | Publication date | Assignee | Title |
|---|---|---|---|---|
| CN105004898A (en) * | 2015-06-30 | 2015-10-28 | 易能乾元(北京)电力科技有限公司 | All-fiber current transformer with integrated optical path and manufacturing technology |
| CN105004898B (en) * | 2015-06-30 | 2018-02-13 | 马鞍山万兆科技有限公司 | A kind of all-fiber current transformator and its manufacture craft with integrated light path |
| CN105467345A (en) * | 2015-12-22 | 2016-04-06 | 云南电网有限责任公司电力科学研究院 | Fiber current sensor frequency band width test method and system |
| JP2017150890A (en) * | 2016-02-23 | 2017-08-31 | 株式会社東光高岳 | Photocurrent sensor |
| CN105785100A (en) * | 2016-03-03 | 2016-07-20 | 国网江苏省电力公司电力科学研究院 | Optical fiber mutual inductor current measuring method based on reflective intensity modulation |
Also Published As
| Publication number | Publication date |
|---|---|
| JP6027927B2 (en) | 2016-11-16 |
Similar Documents
| Publication | Publication Date | Title |
|---|---|---|
| US12111338B2 (en) | Reflective current and magnetic sensors based on optical sensing with integrated temperature sensing | |
| US10281342B2 (en) | Faraday current and temperature sensors | |
| CN102607451B (en) | Wavelength-scanning type Brillouin optical time-domain reflectometer | |
| US8922194B2 (en) | Master-slave fiber optic current sensors for differential protection schemes | |
| US10969411B2 (en) | Polarization insensitive current and magnetic sensors with active temperature compensation | |
| CN102607551B (en) | Fiber optic gyroscope capable of eliminating influence of wavelength change to scale factor | |
| CN108918940B (en) | All-fiber current mutual inductance system with temperature compensation and method | |
| CN102829806A (en) | Optical fiber sensing system based on phase-shifted optical fiber grating | |
| JP6027927B2 (en) | Fiber optic current sensor | |
| JP2010025766A (en) | Fiber-optic current sensor, current measurement method and accident area detection device | |
| CN110426067A (en) | A kind of Brillouin's time-domain analysis system and method based on multi-core optical fiber | |
| CN212030564U (en) | Light source frequency shift calibration auxiliary channel structure and optical fiber vibration measuring device | |
| CN105928634A (en) | High-voltage cable temperature measuring device and method for single-ended Brillouin optical coherence domain analysis | |
| CN110967107A (en) | Interference type fiber Bragg grating acoustic emission signal sensing system | |
| CN101526376A (en) | Polarization fiber sensor | |
| CN211576347U (en) | Interference type fiber Bragg grating acoustic emission signal sensing system | |
| CN114593757B (en) | Device for digitizing optical signals and apparatus for measuring temperature and elongation | |
| CN110635841B (en) | Method and device for improving echo signal of chaotic optical time domain reflectometer | |
| US11036008B2 (en) | Employing depolarizer arrangements to mitigate interference in an optical link due to vibration and current effects | |
| CN116068249B (en) | A fiber optic current transformer constructed using a laser resonant cavity | |
| JP2016197023A (en) | Photocurrent sensor for AC | |
| EP3798643B1 (en) | Optical fiber-based current measuring equipment for measuring the current circulating through a conductor and associated method | |
| JP4404717B2 (en) | Photocurrent sensor | |
| US11789043B2 (en) | Method and apparatus for measuring the current circulating through a conductor | |
| KR102860399B1 (en) | optical current sensor for both AC and DC |
Legal Events
| Date | Code | Title | Description |
|---|---|---|---|
| A621 | Written request for application examination |
Free format text: JAPANESE INTERMEDIATE CODE: A621 Effective date: 20151201 |
|
| TRDD | Decision of grant or rejection written | ||
| A977 | Report on retrieval |
Free format text: JAPANESE INTERMEDIATE CODE: A971007 Effective date: 20160930 |
|
| A01 | Written decision to grant a patent or to grant a registration (utility model) |
Free format text: JAPANESE INTERMEDIATE CODE: A01 Effective date: 20161006 |
|
| A61 | First payment of annual fees (during grant procedure) |
Free format text: JAPANESE INTERMEDIATE CODE: A61 Effective date: 20161017 |
|
| R150 | Certificate of patent or registration of utility model |
Ref document number: 6027927 Country of ref document: JP Free format text: JAPANESE INTERMEDIATE CODE: R150 |
|
| R250 | Receipt of annual fees |
Free format text: JAPANESE INTERMEDIATE CODE: R250 |
|
| R250 | Receipt of annual fees |
Free format text: JAPANESE INTERMEDIATE CODE: R250 |
