JP2014123749A - 瞳ミラーを有する反射屈折投影対物器械、投影露光装置及び方法 - Google Patents
瞳ミラーを有する反射屈折投影対物器械、投影露光装置及び方法 Download PDFInfo
- Publication number
- JP2014123749A JP2014123749A JP2014004442A JP2014004442A JP2014123749A JP 2014123749 A JP2014123749 A JP 2014123749A JP 2014004442 A JP2014004442 A JP 2014004442A JP 2014004442 A JP2014004442 A JP 2014004442A JP 2014123749 A JP2014123749 A JP 2014123749A
- Authority
- JP
- Japan
- Prior art keywords
- mirror
- pupil
- projection objective
- projection
- pupil mirror
- Prior art date
- Legal status (The legal status is an assumption and is not a legal conclusion. Google has not performed a legal analysis and makes no representation as to the accuracy of the status listed.)
- Granted
Links
Images
Landscapes
- Lenses (AREA)
- Exposure And Positioning Against Photoresist Photosensitive Materials (AREA)
- Exposure Of Semiconductors, Excluding Electron Or Ion Beam Exposure (AREA)
- Microscoopes, Condenser (AREA)
- Mechanical Light Control Or Optical Switches (AREA)
- Optical Elements Other Than Lenses (AREA)
- Mounting And Adjusting Of Optical Elements (AREA)
Abstract
【解決手段】反射屈折投影対物器械(100)は、物体面からのパターンを第1の中間像(IMI1)内に結像させるように構成されて第1の瞳表面(P1)を有する第1の対物器械部(LG1)と、第1の中間像(IMI1)を第2の中間像(IMI2)内に結像させるように構成され、第1の瞳表面(P1)と光学的に共役な第2の瞳表面(P2)を有する第2の対物器械部(HG)と、第2の中間像(IMI2)を像面(IS)内に結像させるように構成され、第1及び第2の瞳表面と光学的に共役な第3の瞳表面(P3)を有する第3の対物器械部(LG2、LG3、LG4)とを有する。
【選択図】図1
Description
残念ながら凹ミラーは、放射光を到来方向にまともに送り返すので、光学設計の中に統合することが困難である。機械的な問題、又はビームの口径食又は瞳の掩蔽に起因する問題を引き起こさずに凹ミラーを統合する知的設計が望ましい。
本発明の別の目的は、双極及び四重極照明のような非従来的軸外照明を含む様々な照明環境において安定した作動条件で作動するように構成された投影対物器械及び露光装置を提供することである。
本発明の別の目的は、妥当な費用で製造することができ、乾式リソグラフィ又は液浸リソグラフィの様々な照明条件の下で光学性能安定性を有する193nmに至るまでの波長におけるマイクロリソグラフィ用途のための反射屈折投影対物器械を提供することである。
少なくとも1つの中間像を物体面と瞳ミラーの間に形成することが有用であることが判明しており、それにより、瞳ミラー上の反射の前に放射光を適切に準備することが可能になる。少なくとも1つの結像サブシステム(対物器械部)が物体面と瞳ミラーの間に設けられる場合には、瞳ミラー上に当たる放射光は、実質的に瞳ミラーの補正機能の最適使用に向けて準備することができる。
一部の実施形態では、第1の中間像を形成する第1の対物器械部は純屈折性であり、すなわち、1つ又はそれよりも多くのレンズのみを含み、結像ミラーを含まない。代替的又は追加的に、第2の中間像から像面内に最終像を形成する第3の対物器械部は、純屈折性対物器械部とすることができる。
一部の実施形態では、第1の対物器械部は、反射屈折対物器械部であり、第2の対物器械部は、反射屈折又は反射結像のものであり、瞳ミラーを含み、第3の対物器械部は、屈折性対物器械部である。これらのシステムは、「C−C−R」型のシステムと呼ぶことができる。
一部の実施形態は、ミラー(偏向ミラー)を用いて少なくとも2つの非平行の軸セグメントへと細分化される光軸を有する「折り畳み」反射屈折投影対物器械として設計される。一般的に偏向ミラーは、平坦な反射面を有することができ、すなわち、屈折力がないものとすることができる。
一部の実施形態は、幾何学形状的に第1の偏向ミラーと瞳ミラーの間に二重通過領域が形成されるように、物体面から瞳ミラーに向けて放射光を偏向するか又は瞳ミラーから像面に向けて放射光を偏向するように配置される。少なくとも1つの偏向ミラーを設けることにより、利用可能な開口数を瞳ミラーのサイズによって過度に制限することなしに、瞳ミラーを瞳表面に又はその近くに配置することが容易になる。
一部の実施形態では、第1の偏向ミラーは、物体面から到来する放射光を瞳ミラーの方向に偏向するように配置され、第2の折り畳みミラーは、瞳ミラーから到来する放射光を像平面の方向に偏向するように配置される。この折り畳み幾何学形状は、第1の対物器械部の光学要素によって定められる光軸セグメントと、第3の対物器械部の光学要素によって定められる光軸セグメントとを本質的に同軸で、すなわち、厳密に同軸であるか又は一般的なレンズ直径との関係では非常に小さい僅かな横方向オフセットしか持たずに配置することを可能にする。この一般的な折り畳み幾何学形状による投影対物器械の例は、WO2004/019128A2又はWO2005/111689Aに開示されている。これらの文献の開示内容は、引用によって本明細書に組み込まれている。
光学的な観点からは、偏光効果のような平坦な折り畳みミラーを利用することによって引き起こされる光学問題を回避することができるので、直線配置システムが好ましい。同じく製造の観点からも、直線配置システムは、光学要素のための従来の装着技術を利用することができるように設計することができ、それによって投影対物器械の機械安定性が改善される。2つ又は4つ又は6つのミラーのような偶数個のミラーを利用することにより、像反転のない結像が可能になる。
軸上視野(物体視野と像視野が光軸に関して中心にある)が望ましい場合には、ミラー群は、凹反射面が互いに対面する1対の凹ミラーによって形成することができ、放射光がミラーを通過することを可能にするために、透過部分(穴又は孔等)が、ミラー表面内の光軸の周囲の領域内に作られる。凹ミラーは、瞳表面に光学的に近く配置することができる。凹ミラーのうちの少なくとも1つには、変形可能瞳ミラーを形成するために瞳ミラーマニピュレータを設けることができる。2つの中間像、軸上視野、及び瞳掩蔽を有するシステムの例は、例えば、本出願人の特許US6、600、608に開示されており、その開示内容は、引用によって本明細書に組み込まれている。
瞳掩蔽のない結像が望ましい場合には、軸外視野(物体視野と像視野が完全に光軸の外側にある)を用いることができる。
第2のミラー(物体面に幾何学形状的に近接する)を瞳ミラーとして利用することは可能であるが、多くの場合に第3のミラーを瞳ミラーとして構成することが有用であることが判明している。一般的に第3のミラーは、幾何学形状的に物体面から離れてミラー群の像側にあり、それによって放射光を適切に第3のミラーに向けて誘導するための幾何学形状的な空間が与えられる。また、光学的に第3のミラーの上流にあり、第1及び第2のミラーを含む光学要素は、瞳ミラーに向けて適切に放射光ビームを整形し、準備するために利用することができる。例えば、補正ステータス及び主光線高さは、必要に応じて変化させることができる。
一部の実施形態では、第1の対物器械部(瞳ミラーの上流に中間像を形成する)は、倍率比|β|>1を有する拡大結像システムとして設計され、それによって有効物体視野よりも大きい第1の中間像が形成される。好ましくは、条件|β|>1.5が成り立つ。拡大中間像は、その下流の瞳ミラーにおいて大きい主光線角度CRAPMを得る上で利用することができる。近軸主光線角度CRAと瞳サイズとの積は、光学結像システムでは一定であること(ラグランジュの不変量)を考慮すると、瞳表面における大きい主光線角度は、小さい瞳、すなわち、瞳表面におけるビームの小さいビーム直径に対応する。
投影対物器械は、必要に応じて開口の直径を調節することを可能にする開口絞りを有することができ、開口絞りの最大開口直径は、瞳ミラーの直径DPMの少なくとも2倍の大きさである。
|CRHi|/D0<0.1 (1)
0.9≦Di/D0≦1.1 (2)
上式において、|CRHi|は、物体視野点iの主光線の瞳ミラー表面における主光線高さの量であり、D0は、前記瞳ミラー表面における周辺光線高さの量の2倍であり、HRRiが、視野点iに対応する上側周縁光線の周縁光線高さであり、HRRLiが、視野点iに対応する下側周縁光線の周縁光線高さである場合に、Di=|HRRUi−HRRLi|は、視野点iに対する投影対物器械の入射瞳の像の瞳ミラー表面における子午方向の直径である。
主光線は、入射瞳の中心に対して最外側の視野点からの光線である。上述の条件(1)及び(2)が満たされる場合には、入射瞳の像は、瞳ミラーに又はその非常に近くに位置決めされ、それにより、瞳ミラーの変形に応じて視野一定の補正を得ることが可能になる。
一部の実施形態では、投影対物器械の全てのレンズの少なくとも90%は、溶融シリカから作られる。一部の実施形態では、全てのレンズは溶融シリカから作られる。
実用的な理由から、開口は、最後の媒体、すなわち、像に最も近接する媒体の屈折率に任意に近づいてはならず、これは、それに従って伝播角度が光軸に対して非常に大きくなるからである。経験的には、像側NAは、像側の最後の媒体の屈折率の約95%まで近づけることができる。λ=193nmにおける液浸リソグラフィでは、これは、水(nH2O=1.43)を液浸媒体とする場合の開口数NA=1.35に対応する。
この補償は、投影対物器械の種類に依存せずに(例えば、中間像を有するか又は伴わない液浸液投影対物器械又は折り畳み投影対物器械)利用することができる。
双極照明又は四重極照明のような小さい干渉程度しか持たない照明環境が用いられる場合には、レンズ加熱効果が特に明瞭な場合があることが観測されている。これらの条件の下では、投影対物器械の瞳表面に又はその近くに位置決めされたレンズのような透過光学要素は、空間的に不均一な放射光負荷に露出される可能性があり、局所的な放射光強度の最高点及び結像の回折が最大の領域内での局所的な加熱が引き起こされる。それにより、例えば、双極照明又は四重極照明のいずれが用いられるかに依存してほぼ二重又は四重の放射対称性を有するレンズ要素の固有変形及び屈折率変化が生じる可能性がある。更に、これらの変形及び屈折率変化は、対応する波面変形を引き起こす可能性があり、結像性能が悪化する。
以上の及び他の特性は、特許請求の範囲だけではなく、個々の特徴が本発明の実施形態としてかつ他の分野において単独又は部分的組合せで用いられ、有利で特許性のある実施形態を個々に表すことができる説明及び図面内にも見ることができる。
複数のミラーを有する実施形態を説明する。別途説明しない限り、ミラーには、放射光がミラー上で反射される順序に従って番号を振ることにする。言い換えれば、ミラーの番号は、幾何学形状的位置に従うのではなく、放射光の光路に沿った位置に従ってミラーを表している。
適切な場合には、異なる実施形態における等しいか又は同様の特徴又は特徴群は、同様の参照識別で表している。
図に示す設計仕様を開示するのに表を提供している箇所では、単一又は複数の表は、それぞれの図と同じ番号で示している。
他の実施形態では、光軸は、互いに対してある角度で傾いた軸セグメントへと折り畳まれる。
p(h)=[((1/r)h2)/(1+SQRT(1−(1+K)(1/r)2h2))]+C1・h4+C2・h6+...
ここで、曲率半径の逆数値(1/r)は、問題とする表面の表面頂点における曲率であり、hは、この表面上の点の光軸からの距離である。従って、サジッタ又は立ち上がり高さp(h)は、問題とする表面の頂点からのその点をz方向に沿って、すなわち、光軸に沿って測定した距離を表している。定数K、C1、C2などを表1Aに列挙している。
投影対物器械500は、投影対物器械の出射表面と像面ISの間の高屈折率液浸液l、例えば、純水と共に用いられる場合の像側開口数NA=1.2を有するλ=193nmにおける液浸対物器械として設計される。この設計は、口径食なしで結像することができる視野サイズ26×5.5mm2を有する矩形の有効像視野に向けて最適化される。
図3に関連して説明したように、必要に応じて瞳ミラーの反射面を変形するために瞳ミラーマニピュレータPMMが設けられる。
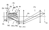
図8及び9は、コンパクトなミラー群MGにおいて4回の反射を有し、結像収差に対する動的に制御可能な補正要素として利用することができる少なくとも1つの瞳ミラーを設ける別の実施形態の反射屈折直線配置投影対物器械を示している。
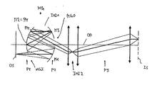
図7の実施形態では、ミラー群MGは、ミラー群入口MGIが光軸OAの外側で物体面OSに光学的に近く、すなわち、視野表面に光学的に近く位置決めされるように配置される。物体面とミラー群入口MGIの間にはレンズ又はレンズ群は存在しないが、ここに1つ又はそれよりも多くのレンズを設けることができる。凸面である第1のミラーM1は、第1の光学要素を形成し、光軸OA上に位置決めされた瞳ミラーPMである第2のミラーM2に向けて放射光を収束させるのに寄与する。第3のミラーM3は、ミラー群の反射屈折空洞の内側に位置決めされた第1の中間像IMI1を形成するように放射光を収束させる。第4のミラーM4を含む反射屈折サブシステムは、放射光ビームを第2の瞳表面P2に位置決めされたミラー群出口MGOを通じて誘導する。第2の中間像IMI2は、ミラー群の外側で正のレンズ群(矢が外側に向いた矢印によって表している)の間に形成される。その後の屈折性の第3の対物器械部は、第2の中間像を像面上に再結像する。この実施形態では、ミラー群のミラーは、従来の実施形態と比較した場合に基本的に逆順序に用いられる。この設計は、有効物体視野を光軸から十分に離して配置することを必要とし、これは、設計物体視野の直径を増大する傾向を有し、それによって適度のサイズの物体視野を口径食なしに高開口数で投影することがより困難になる。
照明システムによってもたらされる照明視野IFのサイズ及び形状は、マスク上のパターン像を投影対物器械の像面内に投影するために実際に用いられる投影対物器械の有効物体視野OFのサイズ及び形状を特定する。スリット形の照明視野IFは、走査方向に対して平行に高さAを有し、走査方向に対して直角に幅B>Aを有し、矩形(挿入図に示しているように)又は弓形(円環視野)とすることができる。
上述の軸外極照明モードを任意的に提供することができる照明システムは、例えば、US6、252、647B1、又は本出願人の特許出願US2006/005026A1に説明されており、これらの文献の開示内容は、引用によって本明細書に組み込まれている。瞳ミラー構成の照明環境への適応は、上記に例示的に説明したもののような液浸システムのみならず、乾式システム、すなわち、NA<1を有する乾式対物器械を用いたシステムにおいて用いることができる。
他の実施形態(示していない)では、作動中に瞳ミラーの反射面を変形するために設けられた瞳ミラーマニピュレータへの制御信号は、瞳ミラー制御ユニットに記憶された制御パラメータの経験値又は計算値から導出される。これらの実施形態では、投影システムの結像特性の直接的又は間接的測定は必要ではない。
図10は、公称UV作動波長λ=193nmに向けて設計された反射屈折投影対物器械1000を示している。レンズ及び他の光学要素の個数、形状、位置に関する投影対物器械のレイアウトは、図4に示され、欧州特許EP1069448B1において第2の実施形態として解説されている従来技術の投影対物器械から取ったものである。この参照文献の開示内容は、引用によって本明細書に組み込まれている。この投影対物器械は、投影対物器械の出射表面と像面の間の空間にガスが満たされている「乾式リソグラフィ」に適応されている。弓形の軸外像視野内で縮小倍率6:1(|β|=1/6)で像側開口数NA=0.75が得られる。他の実施形態は、異なる倍率比、例えば、|β|=1/5、又は|β|=1/4、又は|β|=1(単位倍率)を有することができる。
同様の制御回路は、2つの中間像のような1つよりも多い中間像を有する実施形態に、及び/又は折り畳みシステムに設けることができる。
主光線CRが光軸と交わる位置に、3つの互いに共役の瞳表面P1、P2、及びP3が形成される。第1の瞳表面P1は、物体面と第1の中間像の間の第1の対物器械部内に形成され、第2の瞳表面P2は、第1の中間像と第2の中間像の間の第2の対物器械部内に形成され、第3の瞳表面P3は、第2の中間像と像面ISの間の第3の対物器械部内に形成される。
一部の実施形態では、瞳ミラーマニピュレータを制御する制御システムは、投影対物器械又は投影露光装置の別の部分の少なくとも1つの状態を示す少なくとも1つの入力信号を受信し、この入力信号に応じて投影対物器械の結像特性を適応させるための瞳ミラーの表面形状の調節を表す制御信号を瞳ミラーマニピュレータに出力するように構成された制御回路を含む。制御回路は、開ループ制御方式で作動させることができる。
開ループ制御回路又は閉ループ制御回路内で処理される上述の少なくとも1つの入力信号は、投影対物器械に対する測定から導出することができるパラメータから導出することができ、すなわち、パラメータは、システム内で直接検出することができる。1つ又はそれよりも多い入力信号をシミュレーションモデルから導出することも可能であり、シミュレーションモデルは、有意な制御パラメータ及び信号をシミュレーションモデルから導出することができるように、投影対物器械又はその一部、又は投影露光装置全体を十分な精度で再現する。この場合には、瞳ミラーの制御は、モデルベースの制御(MBC)の態様を含むことができる。この目的のために、瞳ミラー制御ユニットは、投影対物器械及び/又は投影対物器械を含む投影露光装置のシミュレーションモデルのモデルパラメータを表すモデルデータを記憶するモデルデータメモリを含むことができ、又はそれに接続することができる。制御システムは、モデルデータメモリに記憶されたモデルデータから制御回路のための少なくとも1つの入力信号を導出することができる。投影対物器械は、投影対物器械に関する実際のステータスパラメータを検出するための1つ又はそれよりも多い第2のセンサを含むことができ、シミュレーションモデルのモデルパラメータに対応する実際の可観測パラメータを導出する。
特許請求の範囲の全ての内容は、引用によって本明細書の説明の一部にされるものとする。
IF 像視野
IMI1 第1の中間像
IS 像面
LG1 第1の対物器械部
P1 第1の瞳表面
Claims (64)
- 投影対物器械の物体面に配置された物体視野から該投影対物器械の像面に配置された像視野上にパターンを結像するための反射屈折投影対物器械であって、
物体面からのパターンを第1の中間像内に結像させるように構成され、第1の瞳表面を有する第1の対物器械部と、
前記第1の中間像を第2の中間像内に結像させるように構成され、前記第1の瞳表面と光学的に共役な第2の瞳表面を有する第2の対物器械部と、
前記第2の中間像を像面内に結像させるように構成され、前記第1及び第2の瞳表面と光学的に共役な第3の瞳表面を有する第3の対物器械部と、
前記第1、第2、及び第3の瞳表面のうちの1つに又はその近くに位置決めされた反射瞳ミラー表面を有する瞳ミラーと、
前記瞳ミラーに作動的に接続され、前記瞳ミラー表面の形状を変更するように構成された瞳ミラーマニピュレータと、
を含むことを特徴とする投影対物器械。 - 前記瞳ミラーは、凹ミラーであることを特徴とする請求項1に記載の投影対物器械。
- 少なくとも1つの中間像が、前記物体面と前記瞳ミラーの間に形成されることを特徴とする請求項1又は請求項2に記載の投影対物器械。
- 前記瞳ミラーは、前記第2の瞳表面に又はその近くで前記第2の対物器械部に配置されることを特徴とする請求項3に記載の投影対物器械。
- 少なくとも1つのレンズが、前記瞳ミラーに加えて前記第2の対物器械部に設けられることを特徴とする請求項4に記載の投影対物器械。
- 前記第1の中間像を形成する前記第1の対物器械部は、純屈折性対物器械部であり、前記第2の中間像から前記像面に最終像を形成する前記第3の対物器械部も、純屈折性対物器械部であることを特徴とする請求項4又は請求項5のいずれか1項に記載の投影対物器械。
- 前記第2の対物器械部は、純反射性であることを特徴とする請求項4に記載の投影対物器械。
- 前記第1の対物器械部は、反射屈折対物器械部であり、前記第2の対物器械部は、前記瞳ミラーを含み、前記第3の対物器械部は、屈折性対物器械部であることを特徴とする請求項7に記載の投影対物器械。
- 放射光が反対方向に少なくとも2回通過する二重通過領域が、幾何学的に第1の偏向ミラーと前記瞳ミラーの間に形成されるように、放射光を前記物体面から該瞳ミラーに向けて偏向するか又は放射光を該瞳ミラーから前記像面に向けて偏向するように配置された第1の偏向ミラーを更に含むことを特徴とする請求項1から請求項8のいずれか1項に記載の投影対物器械。
- 前記物体面と前記像面が平行になるように前記第1の偏向ミラーに対して90°に配置された第2の偏向ミラーを更に含むことを特徴とする請求項9に記載の投影対物器械。
- 前記第1の偏向ミラーは、前記物体面から到来する放射光を前記瞳ミラーの方向に偏向するように配置され、前記第2の折り畳みミラーは、該瞳ミラーから到来する放射光を前記像面の方向に偏向するように配置されることを特徴とする請求項10に記載の投影対物器械。
- 前記第1の偏向ミラーは、前記瞳ミラーによって反射された放射光を前記第2の偏向ミラーに向けて偏向するように該瞳ミラーの光学的下流に配置され、該第2の偏向ミラーは、該第1の偏向ミラーからの放射光を前記像面に向けて偏向するように配置されることを特徴とする請求項10に記載の投影対物器械。
- 投影対物器械の全ての光学要素が、投影対物器械の全ての光学要素に共通の真っ直ぐな光軸に沿って整列していることを特徴とする請求項1から請求項8のいずれか1項に記載の投影対物器械。
- 前記光学要素は、前記物体面からの放射光を受光するための物体側ミラー群入口と、ミラー群出口から出現する放射光を前記像面に向けて出射するための像側ミラー群出口とを有するミラー群を含み、該ミラー群は、前記少なくとも1つの瞳ミラーを含むことを特徴とする請求項13に記載の投影対物器械。
- 前記ミラー群は、
前記ミラー群入口からの放射光を第1の反射区域上に受光するための第1のミラーと、 前記第1のミラーから反射された放射光を第2の反射区域上に受光するための第2のミラーと、
前記第2のミラーから反射された放射光を第3の反射区域上に受光するための第3のミラーと、
前記第3のミラーから反射された放射光を受光し、かつ該放射光を前記ミラー群出口に反射するための第4のミラーと、
を含み、
前記ミラーのうちの少なくとも2つは、前記光軸に対して回転対称な湾曲表面を有する凹ミラーである、
ことを特徴とする請求項14に記載の投影対物器械。 - 前記第3のミラーは、前記瞳ミラーであることを特徴とする請求項15に記載の投影対物器械。
- 前記第1の対物器械部は、倍率比|β|>1を有する拡大結像システムとして設計されることを特徴とする請求項1から請求項16のいずれか1項に記載の投影対物器械。
- 前記物体面と前記瞳ミラーの間に配置された前記光学要素は、該瞳ミラーにおいて最大主光線角度CRAmax>25°をもたらすように構成されることを特徴とする請求項13から請求項17のいずれか1項に記載の投影対物器械。
- 前記瞳ミラーは、該瞳ミラーの上流の第1のミラーと該瞳ミラーの下流の第2のミラーとの光学的中間に配置され、主光線高さが、前記物体面においてCRHOであり、該第1のミラーにおいてCHR1であり、該第2のミラーにおいてCHR2であり、条件CRH1>CRHO及びCRH2>CRHOが満たされることを特徴とする請求項15から請求項18のいずれか1項に記載の投影対物器械。
- 前記瞳ミラーの光学的上流又は下流の前記ミラーのうちの少なくとも1つにおける主光線高さと、前記物体面における該主光線高さCRHOとの間の比が、少なくとも1.5であることを特徴とする請求項19に記載の投影対物器械。
- 前記物体面と前記瞳ミラーの間に配置された前記光学要素は、前記瞳ミラー表面において以下の条件:
|CRHi|/D0<0.1 (1)
0.9≦Di/D0≦1.1 (2)
に従う投影ビームをもたらすように構成され、ここで、
|CRHi|は、前記瞳ミラー表面での物体視野点iの主光線の主光線高さの量であり、
D0は、前記瞳ミラー表面での周辺光線高さの量の2倍であり、
Di=|HRRUi−HRRLi|は、視野点iに対する前記瞳ミラー表面での投影対物器械の入射瞳の像の子午方向の直径であり、HRRiは、視野点iに対応する上側周縁光線の周縁光線高さ、及びHRRLiは、下側周縁光線の周縁光線高さである、
ことを特徴とする請求項13から請求項20のいずれか1項に記載の投影対物器械。 - 必要に応じて開口の直径を調節するように構成された開口絞りを有し、該開口絞りの該開口の最大直径は、前記瞳ミラーの直径DPMの少なくとも2倍大きいことを特徴とする請求項1から請求項21のいずれか1項に記載の投影対物器械。
- 前記ミラー群は、共通基板上に設けられた共通の湾曲表面を共有するミラー表面を有する2つの凹ミラーで構成されたミラー対を含み、
前記凹ミラーの一方は、瞳ミラーマニピュレータによって変形可能であるように構成された反射瞳ミラー表面を有する前記瞳ミラーであり、他方の凹ミラーは、該瞳ミラー表面とは別の剛体屈折表面を有する、
ことを特徴とする請求項14から請求項22のいずれか1項に記載の投影対物器械。 - 前記瞳ミラーマニピュレータと作動的に接続した前記瞳ミラーに追加の少なくとも1つの更に別のミラーを含み、
この更に別のミラーは、該更に別のミラーの反射面の形状を変更するように構成された更に別のミラーマニピュレータに作動的に接続されている、
ことを特徴とする請求項1から請求項23のいずれか1項に記載の投影対物器械。 - 前記更に別のミラーは、周辺光線高さが主光線高さよりも小さい領域で視野表面に光学的に近く位置決めされた反射面を有することを特徴とする請求項24に記載の投影対物器械。
- 放射光が負の群を通じて反対方向に少なくとも2回通過するような二重通過領域において前記瞳ミラーの反射側の前に配置された少なくとも1つの負のレンズを有する負の群を更に含むことを特徴とする請求項1から請求項25のいずれか1項に記載の投影対物器械。
- 前記瞳ミラーは、前記瞳表面のうちの1つに又はその近くに配置され、1つ又はそれよりも多くの透過光学要素が、光線高さ比RHR=MRH/CRH>1であるように周辺光線高さMRHが前記主光線高さCRHよりも大きい位置において、前記光学的に共役な瞳表面の少なくとも1つに又はその近くに配置されることを特徴とする請求項1から請求項26のいずれか1項に記載の投影対物器械。
- 光学的に共役な瞳表面における又はそれに近い少なくとも1つの光学要素が、フッ化カルシウムの比熱伝導率よりも小さい比熱伝導率を有する光学材料から作られることを特徴とする請求項27に記載の投影対物器械。
- 共役瞳表面における又はそれに近い前記少なくとも1つの光学要素は、溶融シリカから作られることを特徴とする請求項28に記載の投影対物器械。
- 投影対物器械の全てのレンズの少なくとも90%が、溶融シリカから作られることを特徴とする請求項1から請求項29のいずれか1項に記載の投影対物器械。
- 投影対物器械の全てのレンズが、溶融シリカから作られることを特徴とする請求項1から請求項30のいずれか1項に記載の投影対物器械。
- 投影対物器械の出射表面と前記像面の間の像空間が1に近い屈折率を有するガスで満たされる乾式処理に結像収差に関して適応していることを特徴とする請求項1から請求項31のいずれか1項に記載の投影対物器械。
- 像側開口数NA>0.8を有することを特徴とする請求項1から請求項32のいずれか1項に記載の投影対物器械。
- 投影対物器械の出射表面と前記像面の間の像空間が1よりも有意に大きい屈折率を有する液浸媒体で満たされる湿式処理に結像収差に関して適応した液浸対物器械として設計されることを特徴とする請求項1から請求項31のいずれか1項又は請求項33に記載の投影対物器械。
- 屈折率nl>1.3を有する液浸媒体と共に用いられる時に像側開口数NA>1.0を有することを特徴とする請求項34に記載の投影対物器械。
- 像側開口数NA≧1.35を有することを特徴とする請求項35に記載の投影対物器械。
- 投影対物器械の少なくとも1つの光学要素が、投影対物器械の作動波長で屈折率n≧1.6を有する高屈折率材料から作られる高屈折率光学要素であることを特徴とする請求項1から請求項36のいずれか1項に記載の投影対物器械。
- 前記像面の最も近くに最終光学要素を有し、
前記最終光学要素の出射表面が、前記像面の直近にあり、投影対物器械の前記出射表面を形成し、
前記最終光学要素は、投影対物器械の作動波長で屈折率n>1.6を有する高屈折率材料で少なくとも部分的に作られる、
ことを特徴とする請求項1から請求項37のいずれか1項に記載の投影対物器械。 - 前記最終光学要素は、湾曲入射表面と前記像面の直近にある平面出射表面とを有する平凸レンズであることを特徴とする請求項38に記載の投影対物器械。
- 前記高屈折率材料は、サファイア(Al2O3)、ルテチウムアルミニウムガーネット(LuAG)、フッ化バリウム(BaF2)、フッ化リチウム(LiF)、及びフッ化バリウムリチウム(BaLiF3)から成る群から選択されることを特徴とする請求項37、請求項38、又は請求項39に記載の投影対物器械。
- 主放射光を発生させる光源と、
前記主放射光を形成して、パターンを担持するマスク上に入射する照明放射光を発生させる照明システムと、
前記パターンの像を放射光感応基板上に投影する請求項1から請求項40のいずれか1項に記載の投影対物器械と、
瞳ミラーマニピュレータを制御するように構成された瞳ミラー制御ユニットを含む制御システムと、
を含むことを特徴とする投影露光装置。 - 前記制御システムは、前記投影対物器械又は投影露光装置の別の部分の少なくとも1つのステータスパラメータを示す少なくとも1つの入力信号を受信し、かつ該入力信号に応じて該投影対物器械の結像特性を適応させるための瞳ミラーの表面形状の調節を表す制御信号を前記瞳ミラーマニピュレータに出力するように構成された制御回路を含むことを特徴とする請求項41に記載の投影露光装置。
- 前記制御回路は、前記瞳ミラーの反射面の表面形状又は該表面形状に相関する前記投影対物器械の特性を検出するように構成された少なくとも1つの第1のセンサを含む少なくとも1つのフィードバック回路を含み、該第1のセンサは、前記瞳ミラー制御ユニットに接続されてフィードバック信号を供給し、該瞳ミラー制御ユニットは、該フィードバック信号に応答して前記瞳ミラーマニピュレータを制御する前記制御信号を任意的に修正するように構成されることを特徴とする請求項42に記載の投影露光装置。
- 前記投影対物器械の光学性能を測定することができる測定システムが、像面上に入射する波面及び瞳表面における波面のうちの少なくとも一方に存在する収差のレベルを示す入力信号を発生させることを特徴とする請求項42又は請求項43に記載の投影露光装置。
- 前記瞳ミラー表面の前記表面形状を測定することができる測定システムが、該瞳ミラー表面の該表面形状を示す入力信号を発生させることを特徴とする請求項42、請求項43、又は請求項44に記載の投影露光装置。
- 前記投影対物器械の光学性能を測定することができる測定システムが、瞳表面における強度分布を示す入力信号を発生させることを特徴とする請求項42から請求項45のいずれか1項に記載の投影露光装置。
- 前記瞳ミラー制御ユニットは、前記投影対物器械及び該投影対物器械を含む投影露光装置のうちの少なくとも一方のシミュレーションモデルのモデルパラメータを表すモデルデータを記憶するモデルデータメモリを含むか又はそれに接続されており、
前記制御システムは、前記モデルデータメモリに記憶された前記モデルデータから前記制御回路に対する少なくとも1つの入力信号を導出する、
ことを特徴とする請求項41から請求項46のいずれか1項に記載の投影露光装置。 - 前記投影対物器械は、該投影対物器械のステータスに関する少なくとも1つのパラメータを検出して前記シミュレーションモデルのモデルパラメータに対応する少なくとも1つの可観測パラメータを導出するための少なくとも1つのセンサを含むことを特徴とする請求項47に記載の投影露光装置。
- 前記モデルデータメモリは、
1つ又はそれよりも多くの構成要素の温度を表す温度データ、
1つ又はそれよりも多くの構成要素上の空間温度分布を表す温度分布データ、
1つ又はそれよりも多くの構成要素の軸線方向位置、1つ又はそれよりも多くの構成要素の偏芯、又はその傾斜のうちの少なくとも1つを表す位置データ、
瞳ミラーの前記反射面の前記形状を表す形状データ、
開口絞りの条件(NAを用いて)を表す開口データ、
照明環境を表す設定データ、
放射光源の電力を表す放射光電力データ、
前記投影対物器械の像視野における又は瞳表面における1つ又はそれよりも多くの収差の空間分布を表す収差データ、
液浸媒体の存在又は不在を示すデータを含む液浸媒体の少なくとも1つの特性を表す液浸データ、及び
マスク又は別のパターン化手段によってもたらされるパターンの種類に関する情報を表すパターンデータ、
から成る群から選択された少なくとも1つのモデルデータを記憶する、
ことを特徴とする請求項47又は請求項48に記載の投影露光装置。 - 前記制御システムは、投影露光装置の予測制御を実施するように構成されることを特徴とする請求項47から請求項49のいずれか1項に記載の投影露光装置。
- 前記瞳ミラー制御ユニットは、露光に用いられる前記照明環境を示す信号を前記照明システムから受信するように構成され、前記制御システムは、選択された照明モードに対応して前記瞳ミラー表面を調節するように構成されることを特徴とする請求項41から請求項50のいずれか1項に記載の投影露光装置。
- 前記照明システムは、光軸の回りの二重及び四重の放射対称性のうちの少なくとも一方を有する少なくとも1つの極照明環境をもたらすように構成され、
前記制御システムは、実質的に二重又は四重の放射対称性を有する前記選択された極照明に対応して前記瞳ミラー表面を調節するように構成される、
ことを特徴とする請求項41から請求項51のいずれか1項に記載の投影露光装置。 - 前記投影対物器械の出射表面と、該投影対物器械の前記像面に配置された基板表面を有する基板との間に配置された実質的に1よりも大きい屈折率nlを有する液浸液によって形成された液浸層を更に含み、
前記瞳ミラー制御ユニットは、結像収差と、前記液浸層の光学特性の時間依存変化を含む投影システムの光学特性の時間依存変動に関連する結像収差に影響を与える条件とを示す信号を受信するように構成され、
前記制御システムは、前記瞳ミラー表面の前記形状の変形が、前記時間依存変動によって引き起こされる前記結像収差を少なくとも部分的に補償するように、前記信号に応じて該瞳ミラー表面の該形状を変更するように構成される、
ことを特徴とする請求項41から請求項52のいずれか1項に記載の投影露光装置。 - 前記制御システムは、前記液浸液の屈折率の変化によって引き起こされる視野一定の収差寄与が少なくとも部分的に補償されるように、前記瞳ミラー表面の前記形状を変更するように構成されることを特徴とする請求項53に記載の投影露光装置。
- 反射屈折投影対物器械を利用して半導体素子及び他の種類のマイクロデバイスを製作する方法であって、
請求項1から請求項40のいずれか1項に記載の投影対物器械を準備する段階と、
規定パターンを与えるマスクを前記投影対物器械の物体面に配置する段階と、
前記マスクを規定波長を有する紫外線で照明する段階と、
前記パターンの像を感光基板上に投影する段階と、
前記投影対物器械の瞳表面に又はその近くに位置決めされた反射瞳ミラー表面を有する瞳ミラーの表面形状を変更することにより、該投影対物器械の結像特性を調節する段階と、
を含むことを特徴とする方法。 - 前記投影対物器械の出射表面と該投影対物器械の像面に配置された基板表面を有する基板との間に、実質的に1よりも大きい屈折率nlを有する液浸液によって形成された液浸層を配置する段階と、
前記パターンの像を前記液浸層を通じて前記感光基板上に投影する段階と、
を更に含むことを特徴とする請求項55に記載の方法。 - 前記調節する段階は、前記投影対物器械の使用位置における前記基板の露光、及び基板の交換、及び異なるマスク間での交換中のうちの少なくとも1つで実施されることを特徴とする請求項55又は請求項56に記載の方法。
- 前記液浸層の光学特性の時間依存変化を含む前記投影システムの光学特性の時間依存変動に関連する結像収差及び結像収差に影響を与える条件のうちの一方を検出する段階と、 前記時間依存変化に関連する感知信号を発生させる段階と、
前記瞳ミラー表面の前記形状の変形が、前記時間依存変化によって引き起こされる前記結像収差を少なくとも部分的に補償するように、前記感知信号に応答して該瞳ミラー表面の該形状を変更する段階と、
を更に含むことを特徴とする請求項55又は請求項57に記載の方法。 - 前記瞳ミラー表面の前記形状は、前記液浸液の屈折率の変化によって引き起こされる視野一定の収差寄与が少なくとも部分的に補償されるように変更されることを特徴とする請求項55から請求項58のいずれか1項に記載の方法。
- 照明システムによって与えられた照明環境を利用して規定波長を有する紫外線で前記マスクを照明する段階と、
前記照明システムの瞳表面及び前記投影対物器械の少なくとも1つの光学的に共役な瞳表面において、光軸の外側の領域の光強度が該光軸における又はその近くの光強度よりも大きい軸外照明環境を与えるように前記照明を調節する段階と、
前記投影対物器械の瞳表面での又はその近くの光学要素に対する空間的に不均一な放射光負荷によって引き起こされる波面収差が少なくとも部分的に補償されるように、前記軸外照明環境に適応させた方式で前記瞳ミラーの前記表面形状を変更することによって該投影対物器械の前記結像特性を調節する段階と、
を更に含むことを特徴とする請求項55から請求項59のいずれか1項に記載の方法。 - 前記軸外照明環境は、双極照明及び四重極照明のうちの一方であることを特徴とする請求項60に記載の方法。
- 極照明環境が用いられて、瞳表面に近い透過光学要素に多重放射対称性を有する不均一な放射光負荷を引き起こし、
対応する多重放射対称性を有する得られる波面変形が、前記瞳ミラー表面を本質的に多重放射対称性を用いて変形させることによる該瞳ミラー表面の対応する変形によって少なくとも部分的に補償される、
ことを特徴とする請求項60又は請求項61のいずれか1項に記載の方法。 - 瞳ミラー制御ユニットが、前記投影対物器械及び該投影対物器械を含む投影露光装置のうちの少なくとも一方のシミュレーションモデルのモデルパラメータを表すモデルデータを記憶するモデルデータメモリを含むか又はそれに接続されており、
制御システムが、前記モデルデータメモリに記憶された前記モデルデータから制御回路に対する少なくとも1つの入力信号を導出する、
ことを特徴とする請求項55から請求項62のいずれか1項に記載の方法。 - 前記投影露光装置の予測制御が、前記モデルデータに基づいて実施されることを特徴とする請求項63に記載の方法。
Applications Claiming Priority (4)
| Application Number | Priority Date | Filing Date | Title |
|---|---|---|---|
| US83731706P | 2006-08-14 | 2006-08-14 | |
| US60/837,317 | 2006-08-14 | ||
| EP06016914.1 | 2006-08-14 | ||
| EP06016914A EP1890191A1 (en) | 2006-08-14 | 2006-08-14 | Catadioptric projection objective with pupil mirror |
Related Parent Applications (1)
| Application Number | Title | Priority Date | Filing Date |
|---|---|---|---|
| JP2010179225A Division JP5462739B2 (ja) | 2006-08-14 | 2010-08-10 | 瞳ミラーを有する反射屈折投影対物器械、投影露光装置及び方法 |
Publications (2)
| Publication Number | Publication Date |
|---|---|
| JP2014123749A true JP2014123749A (ja) | 2014-07-03 |
| JP5684413B2 JP5684413B2 (ja) | 2015-03-11 |
Family
ID=41591684
Family Applications (8)
| Application Number | Title | Priority Date | Filing Date |
|---|---|---|---|
| JP2009524108A Expired - Fee Related JP5462625B2 (ja) | 2006-08-14 | 2007-08-10 | 瞳ミラーを有する反射屈折投影対物器械、投影露光装置及び方法 |
| JP2010179225A Active JP5462739B2 (ja) | 2006-08-14 | 2010-08-10 | 瞳ミラーを有する反射屈折投影対物器械、投影露光装置及び方法 |
| JP2014004442A Expired - Fee Related JP5684413B2 (ja) | 2006-08-14 | 2014-01-14 | 瞳ミラーを有する反射屈折投影対物器械、投影露光装置及び方法 |
| JP2014004396A Expired - Fee Related JP5684412B2 (ja) | 2006-08-14 | 2014-01-14 | 瞳ミラーを有する反射屈折投影対物器械、投影露光装置及び方法 |
| JP2015003177A Pending JP2015109463A (ja) | 2006-08-14 | 2015-01-09 | 瞳ミラーを有する反射屈折投影対物器械、投影露光装置及び方法 |
| JP2016080405A Pending JP2016157137A (ja) | 2006-08-14 | 2016-04-13 | 瞳ミラーを有する反射屈折投影対物器械、投影露光装置及び方法 |
| JP2017146821A Withdrawn JP2017199031A (ja) | 2006-08-14 | 2017-07-28 | 瞳ミラーを有する反射屈折投影対物器械、投影露光装置及び方法 |
| JP2018015238A Withdrawn JP2018077534A (ja) | 2006-08-14 | 2018-01-31 | 瞳ミラーを有する反射屈折投影対物器械、投影露光装置及び方法 |
Family Applications Before (2)
| Application Number | Title | Priority Date | Filing Date |
|---|---|---|---|
| JP2009524108A Expired - Fee Related JP5462625B2 (ja) | 2006-08-14 | 2007-08-10 | 瞳ミラーを有する反射屈折投影対物器械、投影露光装置及び方法 |
| JP2010179225A Active JP5462739B2 (ja) | 2006-08-14 | 2010-08-10 | 瞳ミラーを有する反射屈折投影対物器械、投影露光装置及び方法 |
Family Applications After (5)
| Application Number | Title | Priority Date | Filing Date |
|---|---|---|---|
| JP2014004396A Expired - Fee Related JP5684412B2 (ja) | 2006-08-14 | 2014-01-14 | 瞳ミラーを有する反射屈折投影対物器械、投影露光装置及び方法 |
| JP2015003177A Pending JP2015109463A (ja) | 2006-08-14 | 2015-01-09 | 瞳ミラーを有する反射屈折投影対物器械、投影露光装置及び方法 |
| JP2016080405A Pending JP2016157137A (ja) | 2006-08-14 | 2016-04-13 | 瞳ミラーを有する反射屈折投影対物器械、投影露光装置及び方法 |
| JP2017146821A Withdrawn JP2017199031A (ja) | 2006-08-14 | 2017-07-28 | 瞳ミラーを有する反射屈折投影対物器械、投影露光装置及び方法 |
| JP2018015238A Withdrawn JP2018077534A (ja) | 2006-08-14 | 2018-01-31 | 瞳ミラーを有する反射屈折投影対物器械、投影露光装置及び方法 |
Country Status (3)
| Country | Link |
|---|---|
| JP (8) | JP5462625B2 (ja) |
| CN (1) | CN101523294B (ja) |
| TW (6) | TW201732443A (ja) |
Families Citing this family (21)
| Publication number | Priority date | Publication date | Assignee | Title |
|---|---|---|---|---|
| CN103135356B (zh) * | 2011-11-23 | 2015-04-15 | 上海微电子装备有限公司 | 反射式光刻投影物镜 |
| CN102436058B (zh) * | 2011-12-14 | 2013-08-21 | 北京理工大学 | 一种用于深紫外波段的全球面折反式准直物镜 |
| JP6028350B2 (ja) * | 2012-03-16 | 2016-11-16 | 株式会社ニコン | 基板処理装置、デバイス製造システム及びデバイス製造方法 |
| DE102013204391B3 (de) * | 2013-03-13 | 2014-05-28 | Carl Zeiss Smt Gmbh | Projektionsobjektiv mit Wellenfrontmanipulator |
| US9651872B2 (en) | 2013-03-13 | 2017-05-16 | Carl Zeiss Smt Gmbh | Projection lens with wavefront manipulator |
| CN103353669B (zh) * | 2013-07-30 | 2015-07-15 | 中国科学院光电技术研究所 | 一种高数值孔径浸没投影物镜 |
| TW201514541A (zh) * | 2013-09-19 | 2015-04-16 | 尼康股份有限公司 | 投影光學系統、投影光學系統的調整方法、曝光裝置、曝光方法以及元件製造方法 |
| CN105116527B (zh) * | 2015-09-25 | 2018-10-30 | 上海新跃仪表厂 | 一种大相对孔径低畸变广角长红外折反射式光学系统 |
| JP6748482B2 (ja) * | 2016-05-25 | 2020-09-02 | キヤノン株式会社 | 露光装置、および、物品の製造方法 |
| CN108152940B (zh) * | 2016-12-05 | 2021-04-27 | 佳能株式会社 | 反射折射光学系统、照明光学系统、曝光装置 |
| CN109581622B (zh) | 2017-09-29 | 2020-12-04 | 上海微电子装备(集团)股份有限公司 | 一种投影物镜 |
| JP2019124796A (ja) * | 2018-01-16 | 2019-07-25 | キヤノン株式会社 | 結像光学系、画像投射装置およびカメラシステム |
| US11067389B2 (en) * | 2018-03-13 | 2021-07-20 | Kla Corporation | Overlay metrology system and method |
| CN109298517B (zh) * | 2018-11-05 | 2020-10-30 | 中国航空工业集团公司洛阳电光设备研究所 | 一种多光谱同轴折反式无焦光学系统 |
| CN114667488B (zh) * | 2019-09-10 | 2025-07-22 | Asml荷兰有限公司 | 光刻过程的子场控制和相关联设备 |
| KR102409108B1 (ko) * | 2020-09-18 | 2022-06-15 | 삼성전기주식회사 | 촬상 광학계 |
| CN113687500B (zh) * | 2021-08-03 | 2024-03-26 | 润坤(上海)光学科技有限公司 | 折转式探测器光学系统 |
| DE102021213827A1 (de) * | 2021-12-06 | 2023-06-07 | Carl Zeiss Smt Gmbh | Verfahren zur Optimierung einer Pupillen-Blendenform zur Nachbildung von Beleuchtungs- und Abbildungseigenschaften eines optischen Produktionssystems bei der Beleuchtung und Abbildung eines Objekts mittels eines optischen Messsystems |
| TWI813395B (zh) * | 2022-07-22 | 2023-08-21 | 新鉅科技股份有限公司 | 光學透鏡組和頭戴式電子裝置 |
| CN115332030B (zh) * | 2022-08-23 | 2025-07-11 | 苏州博众仪器科技有限公司 | 一种物镜及其结构设计方法、透射电子显微镜 |
| CN118981149B (zh) * | 2024-07-09 | 2025-03-07 | 上海微电子装备(集团)股份有限公司 | 基于瞳面调制的垂向测量方法、调焦调平系统及曝光装置 |
Citations (3)
| Publication number | Priority date | Publication date | Assignee | Title |
|---|---|---|---|---|
| JPH01120855U (ja) * | 1988-02-08 | 1989-08-16 | ||
| JPH0215131U (ja) * | 1988-07-13 | 1990-01-30 | ||
| JP2009122247A (ja) * | 2007-11-13 | 2009-06-04 | Kayaba Ind Co Ltd | 使用時に人体皮膚が接触する物品 |
Family Cites Families (12)
| Publication number | Priority date | Publication date | Assignee | Title |
|---|---|---|---|---|
| JP3368091B2 (ja) * | 1994-04-22 | 2003-01-20 | キヤノン株式会社 | 投影露光装置及びデバイスの製造方法 |
| JP3781044B2 (ja) * | 1994-11-07 | 2006-05-31 | 株式会社ニコン | 反射屈折光学系および投影露光装置 |
| JPH10301058A (ja) * | 1997-04-30 | 1998-11-13 | Nikon Corp | 反射屈折投影光学系 |
| DE19824030A1 (de) * | 1998-05-29 | 1999-12-02 | Zeiss Carl Fa | Katadioptrisches Projektionsobjektiv mit adaptivem Spiegel und Projektionsbelichtungsverfahren |
| DE10120446C2 (de) * | 2001-04-26 | 2003-04-17 | Zeiss Carl | Projektionsbelichtungsanlage sowie Verfahren zur Kompensation von Abbildungsfehlern in einer Projektionsbelichtungsanlage, insbesondere für die Mikro-Lithographie |
| JP2005037896A (ja) * | 2003-05-23 | 2005-02-10 | Canon Inc | 投影光学系、露光装置及びデバイスの製造方法 |
| JP2005019628A (ja) * | 2003-06-25 | 2005-01-20 | Nikon Corp | 光学装置、露光装置、並びにデバイス製造方法 |
| CN1910494B (zh) * | 2004-01-14 | 2011-08-10 | 卡尔蔡司Smt有限责任公司 | 反射折射投影物镜 |
| JP2005311020A (ja) * | 2004-04-21 | 2005-11-04 | Nikon Corp | 露光方法及びデバイス製造方法 |
| KR101213831B1 (ko) * | 2004-05-17 | 2012-12-24 | 칼 짜이스 에스엠티 게엠베하 | 중간이미지를 갖는 카타디옵트릭 투사 대물렌즈 |
| US7423765B2 (en) * | 2004-07-31 | 2008-09-09 | Carl Zeiss Smt Ag | Optical system of a microlithographic projection exposure apparatus |
| JP4581662B2 (ja) * | 2004-12-07 | 2010-11-17 | 株式会社ニコン | 投影光学系及び露光装置並びにデバイスの製造方法 |
-
2007
- 2007-08-10 JP JP2009524108A patent/JP5462625B2/ja not_active Expired - Fee Related
- 2007-08-10 CN CN2007800383365A patent/CN101523294B/zh not_active Expired - Fee Related
- 2007-08-13 TW TW105139440A patent/TW201732443A/zh unknown
- 2007-08-13 TW TW104136141A patent/TWI531874B/zh active
- 2007-08-13 TW TW107116998A patent/TW201908871A/zh unknown
- 2007-08-13 TW TW103101879A patent/TW201426205A/zh unknown
- 2007-08-13 TW TW104136142A patent/TWI529502B/zh not_active IP Right Cessation
- 2007-08-13 TW TW96129863A patent/TWI430042B/zh not_active IP Right Cessation
-
2010
- 2010-08-10 JP JP2010179225A patent/JP5462739B2/ja active Active
-
2014
- 2014-01-14 JP JP2014004442A patent/JP5684413B2/ja not_active Expired - Fee Related
- 2014-01-14 JP JP2014004396A patent/JP5684412B2/ja not_active Expired - Fee Related
-
2015
- 2015-01-09 JP JP2015003177A patent/JP2015109463A/ja active Pending
-
2016
- 2016-04-13 JP JP2016080405A patent/JP2016157137A/ja active Pending
-
2017
- 2017-07-28 JP JP2017146821A patent/JP2017199031A/ja not_active Withdrawn
-
2018
- 2018-01-31 JP JP2018015238A patent/JP2018077534A/ja not_active Withdrawn
Patent Citations (3)
| Publication number | Priority date | Publication date | Assignee | Title |
|---|---|---|---|---|
| JPH01120855U (ja) * | 1988-02-08 | 1989-08-16 | ||
| JPH0215131U (ja) * | 1988-07-13 | 1990-01-30 | ||
| JP2009122247A (ja) * | 2007-11-13 | 2009-06-04 | Kayaba Ind Co Ltd | 使用時に人体皮膚が接触する物品 |
Also Published As
| Publication number | Publication date |
|---|---|
| JP2015109463A (ja) | 2015-06-11 |
| CN101523294B (zh) | 2012-08-08 |
| TW201732443A (zh) | 2017-09-16 |
| JP5684412B2 (ja) | 2015-03-11 |
| TWI531874B (zh) | 2016-05-01 |
| JP5462739B2 (ja) | 2014-04-02 |
| TW201604664A (zh) | 2016-02-01 |
| TWI430042B (zh) | 2014-03-11 |
| TW201426205A (zh) | 2014-07-01 |
| TW201908871A (zh) | 2019-03-01 |
| CN101523294A (zh) | 2009-09-02 |
| JP2010500769A (ja) | 2010-01-07 |
| TW200827938A (en) | 2008-07-01 |
| JP2011013681A (ja) | 2011-01-20 |
| JP2016157137A (ja) | 2016-09-01 |
| TWI529502B (zh) | 2016-04-11 |
| JP2014074930A (ja) | 2014-04-24 |
| TW201604663A (zh) | 2016-02-01 |
| JP5462625B2 (ja) | 2014-04-02 |
| JP2017199031A (ja) | 2017-11-02 |
| JP2018077534A (ja) | 2018-05-17 |
| JP5684413B2 (ja) | 2015-03-11 |
Similar Documents
| Publication | Publication Date | Title |
|---|---|---|
| JP5684412B2 (ja) | 瞳ミラーを有する反射屈折投影対物器械、投影露光装置及び方法 | |
| KR101367074B1 (ko) | 동공 미러를 갖는 반사굴절식 투영 대물렌즈, 투영 노광 장치 및 방법 | |
| KR101428136B1 (ko) | 마이크로리소그래피용 투사 대물렌즈, 투사 노광 장치, 투사 노광 방법 및 광학 보정 플레이트 | |
| JP6339117B2 (ja) | 波面マニピュレータを有する投影レンズ | |
| TWI494705B (zh) | 投射曝光方法、投射曝光系統與投射物鏡 | |
| TWI435111B (zh) | 包含偏向鏡之折反射投射物鏡以及投射曝光方法 | |
| TWI759494B (zh) | 用於微影的投射曝光方法與投射曝光裝置 | |
| US9651872B2 (en) | Projection lens with wavefront manipulator | |
| KR101709430B1 (ko) | 고 탄력성 매니퓰레이터를 갖는 투영 노광 장치 | |
| US9298102B2 (en) | Projection lens with wavefront manipulator |
Legal Events
| Date | Code | Title | Description |
|---|---|---|---|
| A975 | Report on accelerated examination |
Free format text: JAPANESE INTERMEDIATE CODE: A971005 Effective date: 20140331 |
|
| A131 | Notification of reasons for refusal |
Free format text: JAPANESE INTERMEDIATE CODE: A131 Effective date: 20140407 |
|
| A601 | Written request for extension of time |
Free format text: JAPANESE INTERMEDIATE CODE: A601 Effective date: 20140704 |
|
| A602 | Written permission of extension of time |
Free format text: JAPANESE INTERMEDIATE CODE: A602 Effective date: 20140709 |
|
| A521 | Request for written amendment filed |
Free format text: JAPANESE INTERMEDIATE CODE: A523 Effective date: 20141007 |
|
| TRDD | Decision of grant or rejection written | ||
| A01 | Written decision to grant a patent or to grant a registration (utility model) |
Free format text: JAPANESE INTERMEDIATE CODE: A01 Effective date: 20141222 |
|
| A61 | First payment of annual fees (during grant procedure) |
Free format text: JAPANESE INTERMEDIATE CODE: A61 Effective date: 20150114 |
|
| R150 | Certificate of patent or registration of utility model |
Ref document number: 5684413 Country of ref document: JP Free format text: JAPANESE INTERMEDIATE CODE: R150 |
|
| R250 | Receipt of annual fees |
Free format text: JAPANESE INTERMEDIATE CODE: R250 |
|
| R250 | Receipt of annual fees |
Free format text: JAPANESE INTERMEDIATE CODE: R250 |
|
| LAPS | Cancellation because of no payment of annual fees |
