JP2014123729A - 粒子ビーム描画プロセスおよび特に電子ビーム描画プロセスにおけるショット雑音の影響のシミュレーション - Google Patents
粒子ビーム描画プロセスおよび特に電子ビーム描画プロセスにおけるショット雑音の影響のシミュレーション Download PDFInfo
- Publication number
- JP2014123729A JP2014123729A JP2013257608A JP2013257608A JP2014123729A JP 2014123729 A JP2014123729 A JP 2014123729A JP 2013257608 A JP2013257608 A JP 2013257608A JP 2013257608 A JP2013257608 A JP 2013257608A JP 2014123729 A JP2014123729 A JP 2014123729A
- Authority
- JP
- Japan
- Prior art keywords
- map
- dose
- standard deviation
- pixels
- pattern
- Prior art date
- Legal status (The legal status is an assumption and is not a legal conclusion. Google has not performed a legal analysis and makes no representation as to the accuracy of the status listed.)
- Granted
Links
Images
Classifications
-
- G—PHYSICS
- G06—COMPUTING OR CALCULATING; COUNTING
- G06F—ELECTRIC DIGITAL DATA PROCESSING
- G06F30/00—Computer-aided design [CAD]
- G06F30/30—Circuit design
- G06F30/32—Circuit design at the digital level
- G06F30/33—Design verification, e.g. functional simulation or model checking
- G06F30/3308—Design verification, e.g. functional simulation or model checking using simulation
-
- G—PHYSICS
- G03—PHOTOGRAPHY; CINEMATOGRAPHY; ANALOGOUS TECHNIQUES USING WAVES OTHER THAN OPTICAL WAVES; ELECTROGRAPHY; HOLOGRAPHY
- G03F—PHOTOMECHANICAL PRODUCTION OF TEXTURED OR PATTERNED SURFACES, e.g. FOR PRINTING, FOR PROCESSING OF SEMICONDUCTOR DEVICES; MATERIALS THEREFOR; ORIGINALS THEREFOR; APPARATUS SPECIALLY ADAPTED THEREFOR
- G03F7/00—Photomechanical, e.g. photolithographic, production of textured or patterned surfaces, e.g. printing surfaces; Materials therefor, e.g. comprising photoresists; Apparatus specially adapted therefor
- G03F7/70—Microphotolithographic exposure; Apparatus therefor
- G03F7/70483—Information management; Active and passive control; Testing; Wafer monitoring, e.g. pattern monitoring
- G03F7/70491—Information management, e.g. software; Active and passive control, e.g. details of controlling exposure processes or exposure tool monitoring processes
- G03F7/705—Modelling or simulating from physical phenomena up to complete wafer processes or whole workflow in wafer productions
-
- G—PHYSICS
- G03—PHOTOGRAPHY; CINEMATOGRAPHY; ANALOGOUS TECHNIQUES USING WAVES OTHER THAN OPTICAL WAVES; ELECTROGRAPHY; HOLOGRAPHY
- G03F—PHOTOMECHANICAL PRODUCTION OF TEXTURED OR PATTERNED SURFACES, e.g. FOR PRINTING, FOR PROCESSING OF SEMICONDUCTOR DEVICES; MATERIALS THEREFOR; ORIGINALS THEREFOR; APPARATUS SPECIALLY ADAPTED THEREFOR
- G03F7/00—Photomechanical, e.g. photolithographic, production of textured or patterned surfaces, e.g. printing surfaces; Materials therefor, e.g. comprising photoresists; Apparatus specially adapted therefor
- G03F7/70—Microphotolithographic exposure; Apparatus therefor
- G03F7/70483—Information management; Active and passive control; Testing; Wafer monitoring, e.g. pattern monitoring
- G03F7/7055—Exposure light control in all parts of the microlithographic apparatus, e.g. pulse length control or light interruption
- G03F7/70558—Dose control, i.e. achievement of a desired dose
-
- G—PHYSICS
- G03—PHOTOGRAPHY; CINEMATOGRAPHY; ANALOGOUS TECHNIQUES USING WAVES OTHER THAN OPTICAL WAVES; ELECTROGRAPHY; HOLOGRAPHY
- G03F—PHOTOMECHANICAL PRODUCTION OF TEXTURED OR PATTERNED SURFACES, e.g. FOR PRINTING, FOR PROCESSING OF SEMICONDUCTOR DEVICES; MATERIALS THEREFOR; ORIGINALS THEREFOR; APPARATUS SPECIALLY ADAPTED THEREFOR
- G03F7/00—Photomechanical, e.g. photolithographic, production of textured or patterned surfaces, e.g. printing surfaces; Materials therefor, e.g. comprising photoresists; Apparatus specially adapted therefor
- G03F7/70—Microphotolithographic exposure; Apparatus therefor
- G03F7/70483—Information management; Active and passive control; Testing; Wafer monitoring, e.g. pattern monitoring
- G03F7/70605—Workpiece metrology
- G03F7/70616—Monitoring the printed patterns
- G03F7/70625—Dimensions, e.g. line width, critical dimension [CD], profile, sidewall angle or edge roughness
-
- G—PHYSICS
- G06—COMPUTING OR CALCULATING; COUNTING
- G06F—ELECTRIC DIGITAL DATA PROCESSING
- G06F30/00—Computer-aided design [CAD]
- G06F30/20—Design optimisation, verification or simulation
-
- H—ELECTRICITY
- H01—ELECTRIC ELEMENTS
- H01J—ELECTRIC DISCHARGE TUBES OR DISCHARGE LAMPS
- H01J2237/00—Discharge tubes exposing object to beam, e.g. for analysis treatment, etching, imaging
- H01J2237/30—Electron or ion beam tubes for processing objects
- H01J2237/317—Processing objects on a microscale
- H01J2237/3175—Lithography
- H01J2237/31793—Problems associated with lithography
Landscapes
- Physics & Mathematics (AREA)
- General Physics & Mathematics (AREA)
- Engineering & Computer Science (AREA)
- Computer Hardware Design (AREA)
- Theoretical Computer Science (AREA)
- Evolutionary Computation (AREA)
- Geometry (AREA)
- General Engineering & Computer Science (AREA)
- Electron Beam Exposure (AREA)
- Exposure And Positioning Against Photoresist Photosensitive Materials (AREA)
Abstract
【解決手段】プロセスは、粒子から成るビームを用いて予め設定されたパターンでサンプルの表面に当該粒子を堆積させるステップであって、当該パターンはピクセルへ細分化され、粒子の名目照射量は当該ピクセルのそれぞれと関連付けられる、堆積させるステップを備える方法において、当該堆積させるステップは、当該ピクセルのそれぞれに実際に堆積した正規化照射量の標準偏差のマップσdを計算するステップであって、当該標準偏差のマップは、各ピクセルと関連付けられた当該名目照射量のマップM0および当該プロセスを特徴付ける点広がり関数PSFから計算される、計算するステップを備え、当該方法はコンピュータによって実行されることを特徴とする。
【選択図】図2
Description
シミュレーションされた照射量の第1および第2マップD1、D2を計算するステップと、
前記サンプル上に少なくとも1つのパターン構造を画定するために、前記マップのそれぞれをしきい値照射量値と比較するステップと、
前記パターン構造のそれぞれのエッジを識別するステップとを備え、
前記位置範囲は、前記エッジ間に含まれ、それゆえに識別され、
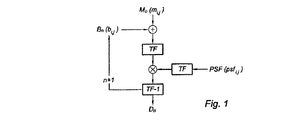
前記シミュレーションされた照射量のマップは、k>0の場合にkσdをそれぞれ決定論的照射量のマップD0に加えることおよび決定論的照射量のマップD0から引くことによって計算され、前記関連付けられた名目照射量のマップM0と前記点広がり関数PSFとを畳み込むことによって得ることができる。
− 前記決定論的照射量のマップD0は、前記名目照射量のマップM0と前記点広がり関数PSFとを畳み込むことによって得られ、
− 前記ショット雑音のマップδnは、前記標準偏差のマップσdに、前記点広がり関数PSFによって与えられた相関長を有する正規化誤差マップEnを1要素ずつ掛けることによって得ることができる。
a)前記決定論的照射量のマップD0、前記正規化照射量の標準偏差のマップσd、および前記マザー誤差マップEを計算してコンピュータメモリ内に格納するステップと、
b)前記マザー誤差マップEの行および列の円順列と前記正規化照射量の標準偏差のマップσdを1要素ずつ掛けることによって、前記ショット雑音のマップδnを計算するステップと、
c)前記決定論的照射量のマップD0を前記ショット雑音のマップδnに加えることによって、シミュレーションされた照射量のマップDを計算するステップとを備え、
前記ステップb)およびc)は、前記マザー誤差マップEの行および列の種々の円順列で複数回繰り返すことができる。
Claims (17)
- 粒子ビーム描画プロセスにおけるショット雑音の影響をシミュレーションする方法であって、前記プロセスは、粒子から成るビームを用いて予め設定されたパターンでサンプルの表面に前記粒子を堆積させるステップであって、前記パターンはピクセルへ細分化され、粒子の名目照射量は前記ピクセルのそれぞれと関連付けられ、前記方法は、前記ピクセルのそれぞれに実際に堆積した正規化照射量の標準偏差のマップσdを計算するステップであって、前記標準偏差のマップは、各ピクセルと関連付けられた前記名目照射量のマップM0および前記プロセスを特徴付ける点広がり関数PSFから計算されることを特徴とし、前記方法はコンピュータによって実行されることを特徴とする、方法。
- 前記描画プロセスを用いて前記サンプル上に生成された少なくとも1つの構造体のエッジに対する位置範囲を決定するステップをさらに備え、前記決定するステップは、
シミュレーションされた照射量の第1および第2マップD1、D2を計算するステップと、
前記サンプル上に少なくとも1つのパターン構造を画定するために、前記マップのそれぞれをしきい値照射量値と比較するステップと、
前記パターン構造のそれぞれのエッジを識別するステップとを備え、
前記位置範囲は、前記エッジ間に含まれ、それゆえに識別され、
前記シミュレーションされた照射量のマップは、k>0の場合にkσdをそれぞれ決定論的照射量のマップD0に加えることおよび決定論的照射量のマップD0から引くことによって計算され、前記関連付けられた名目照射量のマップM0と前記点広がり関数PSFとを畳み込むことによって得られる、請求項1に記載の方法。 - k=3である請求項4に記載の方法。
- ショット雑音のマップδnを決定論的照射量のマップD0に加えることによって、シミュレーションされた照射量のマップDを計算するステップをさらに備え、
前記決定論的照射量のマップD0は、前記名目照射量のマップM0と前記点広がり関数PSFとを畳み込むことによって得られ、
前記ショット雑音のマップδnは、前記標準偏差のマップσdに、前記点広がり関数PSFによって与えられた相関長を有する正規化誤差マップEnを1要素ずつ掛けることによって得られる、請求項1に記載の方法。 - 前記シミュレーションされた照射量のマップを計算するステップは、マザー誤差マップEと呼ばれる単一の正規化誤差マップの行および列のランダム円順列によって得られた正規化誤差マップEnを用いて、複数回繰り返される、請求項6および7のうちのいずれか一項に記載の方法。
- このように得られた前記正規化誤差マップEnは、レジストの物理化学モデルの入力変数として用いられる請求項8に記載の方法。
- 前記サンプル上に少なくとも1つのそれぞれのパターン構造を画定するために、前記シミュレーションされた照射量のマップのそれぞれをしきい値照射量値と比較するステップをさらに備える請求項8に記載の方法。
- 前記パターン構造のそれぞれのエッジを識別するステップをさらに備える請求項10に記載の方法。
- a) 前記決定論的照射量のマップD0、前記正規化照射量の標準偏差のマップσd、および前記マザー誤差マップEを計算してコンピュータメモリ内に格納するステップと、
b) 前記マザー誤差マップEの行および列の円順列と前記正規化照射量の標準偏差のマップσdと畳み込むことによって、前記ショット雑音のマップδnを計算するステップと、
c) 前記決定論的照射量のマップD0を前記ショット雑音のマップδnに加えることによって、シミュレーションされた照射量のマップDを計算するステップとを備え、
前記ステップb)およびc)は、前記マザー誤差マップEの行および列の種々の円順列で複数回繰り返される、請求項8、10または11のうちの一項に記載の方法。 - 前記粒子ビーム描画プロセスは、電子ビーム描画プロセスである請求項1に記載の方法。
- 前記描画プロセスは、前記ビームのベクトルアドレッシングを用い、前記方法は、前記パターンをピクセルに概念的に細分化しかつ前記ピクセルのそれぞれが受ける照射量を決定する工程も備える請求項1に記載の方法。
- 先行する請求項のうちの一項に記載の方法を実装するコンピュータプログラム製品。
- 請求項1から14のうちの一項に記載の方法を実行するようにプログラミングされたコンピュータ。
- 請求項1から14のうちの一項に記載の方法を用いてショット雑音の影響をシミュレーションする先行工程を備える粒子ビーム描画プロセス。
Applications Claiming Priority (2)
| Application Number | Priority Date | Filing Date | Title |
|---|---|---|---|
| FR1262228 | 2012-12-18 | ||
| FR1262228A FR2999737B1 (fr) | 2012-12-18 | 2012-12-18 | Simulation des effets du bruit de grenaille sur un procede de lithographie par faisceau de particules et notamment de lithographie electronique. |
Publications (2)
| Publication Number | Publication Date |
|---|---|
| JP2014123729A true JP2014123729A (ja) | 2014-07-03 |
| JP6405087B2 JP6405087B2 (ja) | 2018-10-17 |
Family
ID=47833278
Family Applications (1)
| Application Number | Title | Priority Date | Filing Date |
|---|---|---|---|
| JP2013257608A Expired - Fee Related JP6405087B2 (ja) | 2012-12-18 | 2013-12-13 | 粒子ビーム描画プロセスおよび特に電子ビーム描画プロセスにおけるショット雑音の影響のシミュレーション |
Country Status (5)
| Country | Link |
|---|---|
| US (1) | US20140172386A1 (ja) |
| EP (1) | EP2746851A3 (ja) |
| JP (1) | JP6405087B2 (ja) |
| FR (1) | FR2999737B1 (ja) |
| TW (1) | TWI604274B (ja) |
Cited By (1)
| Publication number | Priority date | Publication date | Assignee | Title |
|---|---|---|---|---|
| JP2016049732A (ja) * | 2014-09-01 | 2016-04-11 | 東芝テック株式会社 | ラベルプリンタ |
Families Citing this family (3)
| Publication number | Priority date | Publication date | Assignee | Title |
|---|---|---|---|---|
| FR3000234B1 (fr) * | 2012-12-21 | 2015-02-27 | Commissariat Energie Atomique | Procede d'estimation de motifs a imprimer sur plaque ou sur masque par lithographie a faisceau d'electrons et dispositif d'impression correspondant |
| KR102763206B1 (ko) * | 2019-08-30 | 2025-02-04 | 어플라이드 머티어리얼스, 인코포레이티드 | 마스크리스 리소그래피를 위한 다중 톤 방식 |
| CN112560220B (zh) * | 2020-11-13 | 2022-08-09 | 中国人民解放军国防科技大学 | 基于去除函数空间变换补偿的内腔元件离子束加工方法 |
Citations (3)
| Publication number | Priority date | Publication date | Assignee | Title |
|---|---|---|---|---|
| JP2005294716A (ja) * | 2004-04-05 | 2005-10-20 | Nikon Corp | 荷電粒子線露光におけるショットノイズの予測方法 |
| JP2011211197A (ja) * | 2010-03-26 | 2011-10-20 | Tokyo Electron Ltd | 簡略化されたミクロブリッジ形成及び粗さ解析 |
| WO2012035892A1 (ja) * | 2010-09-17 | 2012-03-22 | 日本コントロールシステム株式会社 | 描画方法及び描画装置 |
Family Cites Families (1)
| Publication number | Priority date | Publication date | Assignee | Title |
|---|---|---|---|---|
| JP5279745B2 (ja) * | 2010-02-24 | 2013-09-04 | 株式会社東芝 | マスクレイアウト作成方法、マスクレイアウト作成装置、リソグラフィ用マスクの製造方法、半導体装置の製造方法、およびコンピュータが実行可能なプログラム |
-
2012
- 2012-12-18 FR FR1262228A patent/FR2999737B1/fr not_active Expired - Fee Related
-
2013
- 2013-12-05 EP EP13195869.6A patent/EP2746851A3/fr not_active Withdrawn
- 2013-12-13 US US14/105,648 patent/US20140172386A1/en not_active Abandoned
- 2013-12-13 JP JP2013257608A patent/JP6405087B2/ja not_active Expired - Fee Related
- 2013-12-17 TW TW102146569A patent/TWI604274B/zh not_active IP Right Cessation
Patent Citations (3)
| Publication number | Priority date | Publication date | Assignee | Title |
|---|---|---|---|---|
| JP2005294716A (ja) * | 2004-04-05 | 2005-10-20 | Nikon Corp | 荷電粒子線露光におけるショットノイズの予測方法 |
| JP2011211197A (ja) * | 2010-03-26 | 2011-10-20 | Tokyo Electron Ltd | 簡略化されたミクロブリッジ形成及び粗さ解析 |
| WO2012035892A1 (ja) * | 2010-09-17 | 2012-03-22 | 日本コントロールシステム株式会社 | 描画方法及び描画装置 |
Cited By (1)
| Publication number | Priority date | Publication date | Assignee | Title |
|---|---|---|---|---|
| JP2016049732A (ja) * | 2014-09-01 | 2016-04-11 | 東芝テック株式会社 | ラベルプリンタ |
Also Published As
| Publication number | Publication date |
|---|---|
| EP2746851A3 (fr) | 2017-07-26 |
| FR2999737B1 (fr) | 2015-02-27 |
| TWI604274B (zh) | 2017-11-01 |
| TW201439688A (zh) | 2014-10-16 |
| US20140172386A1 (en) | 2014-06-19 |
| FR2999737A1 (fr) | 2014-06-20 |
| JP6405087B2 (ja) | 2018-10-17 |
| EP2746851A2 (fr) | 2014-06-25 |
Similar Documents
| Publication | Publication Date | Title |
|---|---|---|
| JP6405087B2 (ja) | 粒子ビーム描画プロセスおよび特に電子ビーム描画プロセスにおけるショット雑音の影響のシミュレーション | |
| US7975244B2 (en) | Methodology and system for determining numerical errors in pixel-based imaging simulation in designing lithographic masks | |
| TW201937269A (zh) | 光罩增強技術之設計的模型化 | |
| KR20190115105A (ko) | 오버레이 계측 데이터에 대한 확률적 행위의 영향 결정 | |
| US8477299B2 (en) | Method and apparatus for monitoring mask process impact on lithography performance | |
| US20250363280A1 (en) | Methods for modeling of a design in reticle enhancement technology | |
| US11415897B2 (en) | Calibrating stochastic signals in compact modeling | |
| CN117454831B (zh) | 一种掩模版图形优化方法、系统及电子设备 | |
| TWI579883B (zh) | 利用偏心散射函數來校正電子鄰近效應的方法、用於投射電子束至靶之投射方法、電腦程式、電子微影系統、用於模擬至少一電子微影步驟的系統及電子顯微系統 | |
| JP6336272B2 (ja) | 電子ビーム・リソグラフィによってプレートまたはマスク上に印刷されるパターンを推定する方法、および対応する印刷装置 | |
| JP2014183306A (ja) | パターンエッジを検出するためのシステム、方法、及びコンピュータ可読媒体 | |
| CN103838089A (zh) | 确定掩模图案和曝光条件的方法以及计算机 | |
| TW201820407A (zh) | 多束電子束描繪裝置中之曝光強度分布之求出方法、裝置及程式 | |
| JP5864424B2 (ja) | 描画用電子ビームの最適照射量を求めるための方法及び描画装置 | |
| US20070085030A1 (en) | Critical dimension effects correction in raster pattern generator | |
| Chaudhary et al. | SEM image denoising and contour image estimation using deep learning | |
| Zinn et al. | Simulation of critical dimension error using Monte Carlo method and its experimental verification | |
| JP2003218014A (ja) | 荷電粒子ビーム露光方法 | |
| van de Kraats et al. | Proximity effect in e-beam lithography | |
| JP3120051B2 (ja) | 荷電粒子ビーム描画用の近接効果補正装置 | |
| Klikovits et al. | 3D-MC modelling of particle contamination induced defects in ebeam mask writing | |
| CN119339098B (zh) | 图像处理方法、装置、计算机设备及计算机可读存储介质 | |
| CN116702524B (zh) | 一种利用扩散边界层的刻蚀仿真方法、装置及设备 | |
| CN112989756B (zh) | 集成电路层间耦合动态施加的粗颗粒并行迭代方法及装置 | |
| JP2014029888A (ja) | 描画方法及び描画装置、並びにプログラム |
Legal Events
| Date | Code | Title | Description |
|---|---|---|---|
| A521 | Request for written amendment filed |
Free format text: JAPANESE INTERMEDIATE CODE: A821 Effective date: 20140318 |
|
| A621 | Written request for application examination |
Free format text: JAPANESE INTERMEDIATE CODE: A621 Effective date: 20161019 |
|
| A977 | Report on retrieval |
Free format text: JAPANESE INTERMEDIATE CODE: A971007 Effective date: 20170823 |
|
| A131 | Notification of reasons for refusal |
Free format text: JAPANESE INTERMEDIATE CODE: A131 Effective date: 20170905 |
|
| A521 | Request for written amendment filed |
Free format text: JAPANESE INTERMEDIATE CODE: A523 Effective date: 20171201 |
|
| A131 | Notification of reasons for refusal |
Free format text: JAPANESE INTERMEDIATE CODE: A131 Effective date: 20180306 |
|
| A521 | Request for written amendment filed |
Free format text: JAPANESE INTERMEDIATE CODE: A523 Effective date: 20180522 |
|
| TRDD | Decision of grant or rejection written | ||
| A01 | Written decision to grant a patent or to grant a registration (utility model) |
Free format text: JAPANESE INTERMEDIATE CODE: A01 Effective date: 20180821 |
|
| A61 | First payment of annual fees (during grant procedure) |
Free format text: JAPANESE INTERMEDIATE CODE: A61 Effective date: 20180914 |
|
| R150 | Certificate of patent or registration of utility model |
Ref document number: 6405087 Country of ref document: JP Free format text: JAPANESE INTERMEDIATE CODE: R150 |
|
| LAPS | Cancellation because of no payment of annual fees |
