JP2013032893A - Hot water supply apparatus - Google Patents

Hot water supply apparatus Download PDF

Info

Publication number
JP2013032893A
JP2013032893A JP2011169846A JP2011169846A JP2013032893A JP 2013032893 A JP2013032893 A JP 2013032893A JP 2011169846 A JP2011169846 A JP 2011169846A JP 2011169846 A JP2011169846 A JP 2011169846A JP 2013032893 A JP2013032893 A JP 2013032893A
Authority
JP
Japan
Prior art keywords
hot water
heat recovery
temperature
heat
bathtub
Prior art date
Legal status (The legal status is an assumption and is not a legal conclusion. Google has not performed a legal analysis and makes no representation as to the accuracy of the status listed.)
Granted
Application number
JP2011169846A
Other languages
Japanese (ja)
Other versions
JP5879504B2 (en
Inventor
Makoto Tachimori
誠 朔晦
Teruo Yamamoto
照夫 山本
Tsuneko Imagawa
常子 今川
Tetsuei Kuramoto
哲英 倉本
Takayuki Takatani
隆幸 高谷
Yoshiki Yamaoka
由樹 山岡
Akihiro Shigeta
明広 重田
Yoshio Nishiyama
吉継 西山
Current Assignee (The listed assignees may be inaccurate. Google has not performed a legal analysis and makes no representation or warranty as to the accuracy of the list.)
Panasonic Corp
Original Assignee
Panasonic Corp
Priority date (The priority date is an assumption and is not a legal conclusion. Google has not performed a legal analysis and makes no representation as to the accuracy of the date listed.)
Filing date
Publication date
Application filed by Panasonic Corp filed Critical Panasonic Corp
Priority to JP2011169846A priority Critical patent/JP5879504B2/en
Publication of JP2013032893A publication Critical patent/JP2013032893A/en
Application granted granted Critical
Publication of JP5879504B2 publication Critical patent/JP5879504B2/en
Active legal-status Critical Current
Anticipated expiration legal-status Critical

Links

Images

Landscapes

  • Control For Baths (AREA)
  • Heat-Pump Type And Storage Water Heaters (AREA)

Abstract

【課題】使用者が足し湯運転中に熱回収機能によって浴槽内の湯温が低下することを防止した給湯装置を提供すること。
【解決手段】貯湯槽1と、浴槽3と、前記貯湯槽1内の湯水と前記浴槽3内の湯水とを熱交換する熱交換器4と、制御手段18とを備え、前記浴槽3に湯水を供給する足し湯運転モードと、前記熱交換器4により前記浴槽3の湯水の有する熱を前記貯湯槽1の湯水に回収する熱回収運転モードとを有し、熱回収運転よりも足し湯運転を優先させることを特徴とする給湯装置である。
【選択図】図1
To provide a hot water supply apparatus that prevents a user from lowering the temperature of hot water in a bathtub by a heat recovery function during operation of adding hot water.
A hot water storage tank (1), a bathtub (3), a heat exchanger (4) for exchanging heat between the hot water in the hot water storage tank (1) and the hot water in the bathtub (3), and a control means (18) are provided. And a heat recovery operation mode in which the heat exchanger 4 recovers the heat of the hot water in the bathtub 3 to the hot water in the hot water storage tank 1, and the additional hot water operation than the heat recovery operation. It is a hot water supply device characterized by giving priority to.
[Selection] Figure 1

Description

本発明は、熱回収機能を有する給湯装置に関するものである。   The present invention relates to a hot water supply apparatus having a heat recovery function.

従来、この種の給湯装置には、浴槽の湯を加温する追い焚き運転と浴槽の湯から熱を回収する熱回収運転を機能として備えたものがある(例えば、特許文献1参照)。   Conventionally, this type of hot water supply apparatus includes a reheating operation for heating the hot water in the bathtub and a heat recovery operation for recovering heat from the hot water in the bathtub (for example, see Patent Document 1).

図13は、熱回収運転を機能として有する給湯装置であり、1は貯湯槽、2はヒートポンプユニット、3は浴槽、4は熱交換器、5aは貯湯槽水搬送ポンプ、5bは浴槽水搬送ポンプ、6は熱回収分岐管、7は三方弁、8は高温水供給管、9は低温水供給管、10は給湯管、11は混合弁、12は浴槽水循環配管、13は開閉弁、14は給水管、15は給湯分岐管、16は熱交戻り管である。浴槽水循環配管12は、浴槽3の往き管と戻り管とを環状に接続して構成され、回路上に熱交換器4および浴槽水搬送ポンプ5bを備える。   FIG. 13 shows a hot water supply apparatus having a heat recovery operation as a function. 1 is a hot water storage tank, 2 is a heat pump unit, 3 is a bathtub, 4 is a heat exchanger, 5a is a hot water tank water transport pump, and 5b is a bath water transport pump. , 6 is a heat recovery branch pipe, 7 is a three-way valve, 8 is a high temperature water supply pipe, 9 is a low temperature water supply pipe, 10 is a hot water supply pipe, 11 is a mixing valve, 12 is a bath water circulation pipe, 13 is an on-off valve, 14 is A water supply pipe, 15 is a hot water supply branch pipe, and 16 is a heat exchange return pipe. The bathtub water circulation pipe 12 is configured by connecting the forward pipe and the return pipe of the bathtub 3 in an annular shape, and includes a heat exchanger 4 and a bathtub water conveyance pump 5b on the circuit.

また、混合弁11は、高温水供給管8と低温水供給管9とを入口側に接続し、給湯管10を出口側に接続するように構成され、開閉弁13を介して浴槽水循環配管12と接続される。さらに浴槽内の水温を検知する浴槽水温検知手段17が、浴槽水循環配管12の途中に設けられている。   The mixing valve 11 is configured to connect the high temperature water supply pipe 8 and the low temperature water supply pipe 9 to the inlet side, and connect the hot water supply pipe 10 to the outlet side, and the bathtub water circulation pipe 12 via the on-off valve 13. Connected. Further, a bathtub water temperature detecting means 17 for detecting the water temperature in the bathtub is provided in the middle of the bathtub water circulation pipe 12.

この給湯装置が風呂自動運転を行う場合は、まず、貯湯槽1に貯えられた湯と給水管14から供給される水とを混合弁11で所望温度の湯に混合して浴槽3へ給湯する。浴槽3へ給湯した後は、一定時間だけ湯の温度を一定に保つために保温動作を行う。保温動作は、浴槽湯温が一定温度以下に降下した場合におこない、貯湯槽水搬送ポンプ5aと浴槽水搬送ポンプ5bとを運転して、熱交換器4において、貯湯槽1内の湯(例えば約80℃)により浴槽3内の湯(例えば約35℃)を加温する。   When this hot water supply apparatus performs bath automatic operation, first, hot water stored in the hot water storage tank 1 and water supplied from the water supply pipe 14 are mixed with hot water at a desired temperature by the mixing valve 11 to supply hot water to the bathtub 3. . After the hot water is supplied to the bathtub 3, a heat retaining operation is performed in order to keep the temperature of the hot water constant for a certain period of time. The heat insulation operation is performed when the bath water temperature falls below a certain temperature. The hot water storage tank water transport pump 5a and the bath water transport pump 5b are operated, and the heat exchanger 4 performs hot water (for example, The hot water (for example, about 35 ° C.) in the bathtub 3 is heated by about 80 ° C.).

また、浴槽3の水温が一定温度以下に降下しているかどうかを判断するために、浴槽水搬送ポンプ5bのみを運転させる浴槽水温検知動作を間欠的に行う。浴槽水温検知手段17により浴槽3の水温が一定温度以下に降下していることが検知された場合には保温動作を行い、降下していない場合にはそのまま待機する。一定時間が経過した後には風呂自動運転を自動で終了する。   Moreover, in order to judge whether the water temperature of the bathtub 3 has fallen below the fixed temperature, the bathtub water temperature detection operation | movement which drives only the bathtub water conveyance pump 5b is performed intermittently. When the bath water temperature detecting means 17 detects that the water temperature of the bathtub 3 is lowered below a certain temperature, the heat retaining operation is performed, and when the bath water temperature detecting means 17 is not lowered, it waits as it is. After a certain period of time has elapsed, automatic bath operation is automatically terminated.

次に、追い焚き運転を行う場合は、貯湯槽水搬送ポンプ5aと浴槽水搬送ポンプ5bとが運転を行って、熱交換器4において、貯湯槽1内の湯(例えば約80℃)が浴槽3内の湯(例えば約35℃)を加温する。その結果、浴槽3内の水温は上昇し、貯湯槽1内に湯として貯えられている熱量(蓄熱量)は減少する。   Next, when the reheating operation is performed, the hot water storage tank water transfer pump 5a and the bathtub water transfer pump 5b operate, and the hot water in the hot water storage tank 1 (for example, about 80 ° C.) is stored in the bathtub in the heat exchanger 4. The hot water in 3 (for example, about 35 ° C.) is heated. As a result, the water temperature in the bathtub 3 rises, and the amount of heat (heat storage amount) stored as hot water in the hot water tank 1 decreases.

最後に、熱回収運転を行う場合は、同様に貯湯槽水搬送ポンプ5aと浴槽水搬送ポンプ5bとが運転を行うが、熱交換器4において、貯湯槽1内の水(例えば約10℃)が浴槽3内の水(例えば約35℃)を冷却して熱を回収する。その結果、浴槽3内の水温は降下し、貯湯槽1内に湯として貯えられる熱量(蓄熱量)は増加するので、ヒートポンプユニット2により沸き上げる熱量を軽減することができる。   Finally, in the case of performing the heat recovery operation, the hot water tank water transfer pump 5a and the bath water transfer pump 5b are similarly operated. In the heat exchanger 4, the water in the hot water tank 1 (for example, about 10 ° C.) Cools the water (for example, about 35 ° C.) in the bathtub 3 and recovers heat. As a result, the water temperature in the bathtub 3 drops and the amount of heat (heat storage amount) stored as hot water in the hot water tank 1 increases, so that the amount of heat heated up by the heat pump unit 2 can be reduced.

また、このような運転を制御する方式のひとつに、風呂自動運転を停止した後、熱回収運転を開始するまでの時間をあらかじめ設定し、この時間を満了すると熱回収運転を行うというものがある(例えば、特許文献2参照)。   In addition, as one of the methods for controlling such operation, there is a method of setting a time until the heat recovery operation is started after stopping the automatic bath operation, and performing the heat recovery operation when this time expires. (For example, refer to Patent Document 2).

図14は、特許文献2に記載された従来の給湯装置の制御ブロックを示すものである。   FIG. 14 shows a control block of a conventional hot water supply apparatus described in Patent Document 2.

運転制御手段18は、風呂自動運転検出部19が風呂自動運転の停止を検出した後、熱回収運転を開始させるまでの時間を測定するタイマ20を動作させ、あらかじめ設定された時間を満了すれば熱回収運転制御手段21に熱回収運転を開始させる。   The operation control means 18 operates the timer 20 that measures the time until the heat recovery operation is started after the bath automatic operation detection unit 19 detects the stop of the automatic bath operation, and if the preset time expires. The heat recovery operation control means 21 starts the heat recovery operation.

特開2009−198115号公報JP 2009-198115 A 特開2007−278578号公報JP 2007-278578 A

しかしながら、前記従来の構成では、風呂自動運転停止後に使用者が入浴のため、浴槽内に湯水が張られた状態で、一定量の湯水を供給する足し湯運転をしている時に、熱回収運転を開始する場合があり、浴槽の水温が低下してしまって入浴できなくなるという課題を有していた。   However, in the above-described conventional configuration, the heat recovery operation is performed when an additional hot water operation for supplying a certain amount of hot water is performed in a state where hot water is stretched in the bathtub for the user to take a bath after the automatic bath operation is stopped. There was a problem that the temperature of the water in the bathtub was lowered and bathing became impossible.

本発明は、前記従来の課題を解決するもので、使用者が入浴のため足し湯運転している際に、熱回収運転によって浴槽の水温が低下することを防止した給湯装置を提供することを目的とする。   The present invention solves the above-described conventional problems, and provides a hot water supply apparatus that prevents a water temperature of a bathtub from being lowered by a heat recovery operation when a user is performing a hot water operation for bathing. Objective.

前記従来の課題を解決するために、本発明の給湯装置は、貯湯槽と、浴槽と、前記貯湯槽内の湯水と前記浴槽内の湯水とを熱交換する熱交換器と、制御手段とを備え、前記浴槽に湯水を供給する足し湯運転モードと、前記熱交換器により前記浴槽の湯水の有する熱を前記貯湯槽の湯水に回収する熱回収運転モードとを有し、熱回収運転よりも足し湯運転を優先させることを特徴とするもので、足し湯運転中である場合には熱回収運転をせず、熱回収機能によって浴槽の水温が低下して入浴ができなくなることを防止できる。   In order to solve the conventional problems, a hot water supply apparatus of the present invention includes a hot water storage tank, a bathtub, a heat exchanger that exchanges heat between the hot water in the hot water tank and the hot water in the bathtub, and a control unit. An additional hot water operation mode for supplying hot water to the bathtub, and a heat recovery operation mode for recovering the heat of the hot water in the bathtub to the hot water in the hot water tank by the heat exchanger, rather than the heat recovery operation It is characterized by giving priority to additional hot water operation. When the hot water operation is in progress, heat recovery operation is not performed, and it is possible to prevent the bath water temperature from being lowered due to the heat recovery function and preventing bathing.

本発明によれば、使用者が入浴のため足し湯運転している際に、熱回収運転によって浴槽の水温が低下することを防止した給湯装置を提供できる。   ADVANTAGE OF THE INVENTION According to this invention, when a user is performing additional hot water operation for bathing, the hot water supply apparatus which prevented the water temperature of the bathtub from falling by heat recovery operation can be provided.

本発明の実施の形態1における給湯装置の構成図Configuration diagram of hot water supply apparatus in Embodiment 1 of the present invention 同給湯装置の熱回収運転制御手段のブロック図Block diagram of heat recovery operation control means of the hot water supply device 同給湯装置の風呂自動運転と熱回収運転の制御方法概念図Conceptual diagram of the control method for bath automatic operation and heat recovery operation of the water heater 同給湯装置の追い焚き運転と熱回収運転の制御方法概念図Conceptual diagram of control method for reheating operation and heat recovery operation of the water heater 同給湯装置の風呂自動運転中の浴槽への給湯時の水および湯の流れ方向を示した回路構成図Circuit configuration diagram showing the direction of water and hot water when hot water is supplied to the bathtub during automatic bath operation of the hot water supply device 同給湯装置の風呂自動運転中の保温動作時、および追い焚き運転時の水および湯の流れ方向を示した回路構成図Circuit configuration diagram showing the flow direction of water and hot water during the warming operation during automatic bath operation of the hot water supply device and during the chasing operation 同給湯装置の風呂自動運転中の浴槽水温検知運転時の水および湯の流れ方向を示した回路構成図Circuit configuration diagram showing the flow direction of water and hot water during bath water temperature detection operation during automatic bath operation of the water heater 同給湯装置の熱回収運転時の水および湯の流れ方向を示した回路構成図Circuit configuration diagram showing the flow direction of water and hot water during the heat recovery operation of the water heater 同給湯装置の熱回収運転による貯湯槽内の温度分布の変化を示した図The figure which showed the change of the temperature distribution in the hot water tank by the heat recovery operation of the hot water supply device 同給湯装置のヒートポンプユニットの効率を示した図The figure which showed the efficiency of the heat pump unit of the water heater 同給湯装置の熱回収量とヒートポンプユニットの入力の関係を示した図The figure which showed the relationship between the heat recovery amount of the hot water supply device and the input of the heat pump unit 同給湯装置の熱回収運転制御動作のフローチャートFlow chart of heat recovery operation control operation of the hot water supply device 従来の給湯装置の構成図Configuration diagram of conventional hot water supply equipment 同給湯装置の制御ブロック図Control block diagram of the water heater

第1の発明は、貯湯槽と、浴槽と、前記貯湯槽内の湯水と前記浴槽内の湯水とを熱交換する熱交換器と、制御手段とを備え、前記浴槽に湯水を供給する足し湯運転モードと、前記熱交換器により前記浴槽の湯水の有する熱を前記貯湯槽の湯水に回収する熱回収運転モードとを有し、熱回収運転よりも足し湯運転を優先させることを特徴とする給湯装置で、足し湯運転中である場合には熱回収運転をせず、熱回収機能によって浴槽内の湯温が低下して入浴ができなくなることを防止できる。   The first invention includes a hot water tank, a bathtub, a heat exchanger for exchanging heat between the hot water in the hot water tank and the hot water in the bathtub, and a control means, and an additional hot water that supplies hot water to the bathtub It has an operation mode and a heat recovery operation mode in which the heat of the hot water in the bathtub is recovered in the hot water of the hot water tank by the heat exchanger, and the hot water operation has priority over the heat recovery operation. In the hot water supply device, when the hot water is being operated, the heat recovery operation is not performed, and the heat recovery function can prevent the hot water temperature in the bathtub from being lowered and preventing bathing.

第2の発明は、前記熱回収運転中に前記足し湯運転を行う場合には、前記熱回収運転を停止することを特徴とするもので、熱回収運転中に入浴する使用者があった場合に、即座に熱回収運転を停止することにより、浴槽内の湯温が低下して入浴ができなくなることを防止できる。   The second invention is characterized in that when the additional hot water operation is performed during the heat recovery operation, the heat recovery operation is stopped, and there is a user who takes a bath during the heat recovery operation. In addition, by immediately stopping the heat recovery operation, it is possible to prevent the temperature of the hot water in the bathtub from lowering and preventing bathing.

第3の発明は、前記足し湯運転中で前記熱回収運転を開始しなかった場合、前記足し湯運転終了後に前記熱回収運転を開始することを特徴とするもので、熱回収運転が開始できなかった場合に、使用者の入浴が終われば熱回収運転を改めて開始することにより、省エネルギー性を損なわない運転ができる。   According to a third aspect of the present invention, when the heat recovery operation is not started during the addition hot water operation, the heat recovery operation is started after the addition hot water operation is completed, and the heat recovery operation can be started. If the user has not taken a bath, the heat recovery operation is started again when the user finishes bathing, so that the operation without impairing the energy saving performance can be performed.

第4の発明は、前記熱回収運転中に前記足し湯運転を行うために前記熱回収運転を停止した場合、前記足し湯運転終了後に前記熱回収運転を再開することを特徴とするもので、熱回収運転を停止した場合に、使用者の入浴が終われば熱回収運転を改めて再開することにより、省エネルギー性を損なわない運転ができる。   The fourth invention is characterized in that when the heat recovery operation is stopped in order to perform the addition hot water operation during the heat recovery operation, the heat recovery operation is restarted after the addition hot water operation ends. When the heat recovery operation is stopped, when the user's bathing is completed, the heat recovery operation is restarted again so that the operation without impairing the energy saving performance can be performed.

第5の発明は、前記貯湯槽内の湯水を加熱する加熱手段を備え、前記熱回収運転停止後の前記加熱手段の加熱運転時における入力が略最小となるように、前記熱回収運転を停止させることを特徴とするものである。   5th invention is equipped with the heating means which heats the hot water in the said hot water tank, and stops the said heat recovery operation so that the input at the time of the heating operation of the said heating means after the said heat recovery operation stop becomes substantially the minimum It is characterized by making it.

これにより、熱回収運転中の貯湯槽の温度分布に基づき、加熱手段によって所定の貯湯量を沸き上げるための消費熱量(消費電力)が最小となる時点を判断して、熱回収運転を停止するので、本来の目的であるシステム全体としての効率向上を実現し、省エネルギー性を高める効果がある。   Thus, based on the temperature distribution of the hot water storage tank during the heat recovery operation, the time point at which the heat consumption (power consumption) for boiling up the predetermined hot water storage amount by the heating means is judged to be minimum, and the heat recovery operation is stopped. Therefore, it is possible to improve the efficiency of the entire system, which is the original purpose, and to improve energy saving.

第6の発明は、前記貯湯槽の水温を検知する複数の貯湯温検知手段を備え、前記複数の貯湯温検知手段のうち少なくともひとつの検知温度に基づいて、前記熱回収運転を停止させることを特徴とするもので、熱回収運転を行う際に、熱回収運転の運転停止を最適化することにより、システム効率を向上させ省エネルギー性を高めた給湯装置を提供できる。   6th invention is provided with the some hot water storage temperature detection means which detects the water temperature of the said hot water storage tank, and stops the said heat | fever collection | recovery driving | operation based on at least 1 detection temperature among these hot water storage temperature detection means. In the heat recovery operation, by optimizing the stop of the heat recovery operation, it is possible to provide a hot water supply device with improved system efficiency and energy saving.

第7の発明は、使用者が、前記熱回収運転を起動するための熱回収運転起動スイッチを設けたことを特徴とするもので、自動で設定されるなどした熱回収運転の起動スケジュールによらず、以降の入浴が発生しないと使用者が判断した時点で熱回収運転を始めることができるので、浴槽からの無駄な放熱が抑えられて省エネルギー性が高まるという効果がある。   The seventh invention is characterized in that a user is provided with a heat recovery operation start switch for starting the heat recovery operation, and according to a heat recovery operation start schedule set automatically or the like. In addition, since the heat recovery operation can be started when the user determines that subsequent bathing does not occur, there is an effect that wasteful heat dissipation from the bathtub is suppressed and energy saving is improved.

第8の発明は、前記貯湯槽に接続された給水管と、前記貯湯槽の高温水を供給するように接続された高温水供給管と、低温水を供給するように、前記貯湯槽下部または前記給水管に接続された低温水供給管と、入口側に前記高温水供給管と前記低温水供給管とを接続して前記高温水と前記低温水とを混合する混合弁と、前記熱交換器と前記浴槽内の湯水が
循環するように接続された浴槽循環配管と、前記浴槽へ所定の温度の湯水を供給するように前記混合弁の出口側と前記浴槽循環配管とに接続された給湯管と、前記給湯管の途中に接続された開閉弁と、前記開閉弁の上流で分岐して前記熱交換器に接続された給湯分岐管と、前記熱交換器で前記浴槽の湯水と熱交換した前記貯湯槽の湯水を再び前記貯湯槽へ戻すように前記熱交換器と前記貯湯槽とに接続された熱交戻り管と、前記貯湯槽と前記熱交換器で湯水を循環させる第1の搬送ポンプと、前記浴槽と前記熱交換器で湯水を循環させる第2の搬送ポンプとを備え、前記開閉弁を閉じ、前記混合弁を前記高温水供給管からの湯水よりも前記低温水供給管からの水を優先して給湯管へ供給する開度に調整し、かつ、前記第1の搬送ポンプと前記第2の搬送ポンプを動作させ、前記熱回収運転を行うことを特徴とするものである。
The eighth invention comprises a water supply pipe connected to the hot water storage tank, a high temperature water supply pipe connected to supply high temperature water in the hot water storage tank, and a lower part of the hot water storage tank to supply low temperature water. A low-temperature water supply pipe connected to the water supply pipe; a mixing valve for connecting the high-temperature water supply pipe and the low-temperature water supply pipe to the inlet side to mix the high-temperature water and the low-temperature water; and the heat exchange A hot water supply connected to the outlet side of the mixing valve and the bathtub circulation pipe so as to supply hot water of a predetermined temperature to the bathtub. A pipe, an on-off valve connected in the middle of the hot water supply pipe, a hot water branch pipe branched upstream of the on-off valve and connected to the heat exchanger, and heat exchange with hot water in the bathtub in the heat exchanger The heat exchanger and the storage so that the hot water in the hot water storage tank is returned to the hot water storage tank again. A heat exchange return pipe connected to the tank, a first transfer pump for circulating hot water in the hot water storage tank and the heat exchanger, and a second transfer pump for circulating hot water in the bathtub and the heat exchanger; The open / close valve is closed, the mixing valve is adjusted to an opening degree for supplying water from the low temperature water supply pipe to the hot water pipe with priority over hot water from the high temperature water supply pipe, and the first One transport pump and the second transport pump are operated to perform the heat recovery operation.

これにより、給湯と追い焚きと熱回収の3つの機能を最小限の配管や弁の構成で実現することができ、前記貯湯槽の筐体内設置空間の省スペース化とそれによる装置の小型化を図ることができる。また、給湯と追い焚きと熱回収の3つの機能を、前記混合弁の開度の制御によって実現できるので、制御が簡素化されて誤動作などの不具合が減少するという効果がある。   As a result, the three functions of hot water supply, reheating, and heat recovery can be realized with the minimum configuration of piping and valves, and the installation space in the casing of the hot water tank can be saved and the apparatus can be downsized. Can be planned. In addition, since the three functions of hot water supply, chasing, and heat recovery can be realized by controlling the opening of the mixing valve, there is an effect that the control is simplified and malfunctions such as malfunctions are reduced.

第9の発明は、前記高温水供給管と連通し、前記貯湯槽の略上部に接続された第1の出湯管と、前記貯湯槽の上下方向において前記第1の出湯管が接続された位置と前記給水管が接続された位置との間に接続された第2の出湯管とを備え、前記熱交戻り管は、前記貯湯槽の上下方向において、前記第2の出湯管の前記貯湯槽の接続位置よりも高い位置で、前記貯湯槽に接続されていることを特徴とするものである。   9th invention is the position where the said 1st tap pipe was connected in the up-down direction of the said hot water storage tank, and the 1st hot water pipe connected to the said hot water supply pipe and connected to the substantially upper part of the said hot water storage tank And a second hot water discharge pipe connected between the water supply pipe and the position where the water supply pipe is connected, and the heat exchange return pipe is located in the vertical direction of the hot water storage tank and the hot water storage tank of the second hot water discharge pipe. It is characterized by being connected to the hot water storage tank at a position higher than the connection position.

これにより、温度成層型の貯湯槽において不可避な貯湯槽上部の高温水と下部の低温水との間にできる中間程度の温度の水(以下、中温水)を有効に利用できる結果として、同じ蓄熱量でも貯湯槽下方に低温の水が多く確保できることから浴槽水からの回収熱量を大きくできる。   As a result, it is possible to effectively use water at a medium temperature (hereinafter referred to as medium hot water) between the hot water at the upper part of the hot water tank and the cold water at the lower part, which is unavoidable in the temperature stratified hot water tank. The amount of heat recovered from the bath water can be increased because a large amount of low-temperature water can be secured below the hot water tank.

また、熱回収により発生した中温水を貯湯槽の比較的上部に流入させることは、増加しながら貯湯槽下方に移動する中温水を、熱回収した湯の流入位置よりも下にある第2の出湯管を通じて給湯に利用できるので、貯湯された湯の熱量を最大限有効に使うことができる。同時に加熱手段がヒートポンプユニットである場合には、沸き上げ効率の低下を招く貯湯槽内の中温水が減少することでシステム全体の効率低下を防ぐことができ、熱量の有効利用による良好な使い勝手と高い省エネルギー性とを実現する。   In addition, flowing the warm water generated by the heat recovery into the relatively upper part of the hot water tank means that the hot water that moves below the hot water tank while increasing the temperature of the hot water that is below the inflow position of the hot water recovered. Since it can be used for hot water supply through the hot water outlet, the amount of heat stored in the hot water can be used to the maximum extent possible. At the same time, when the heating means is a heat pump unit, the medium temperature water in the hot water tank that reduces the boiling efficiency can be reduced, so that the efficiency of the entire system can be prevented from being reduced. Realize high energy savings.

さらに、通常、熱回収運転される時間帯は深夜であるが、熱回収運転中に使用者の入浴を検出した場合を想定すると、その時点から浴槽水の追い焚き運転が必要となる。このとき、それ以前の給湯の際に中温水を有効に利用し、深夜になっても貯湯槽の上部の水は比較的高温に保たれて残っているので、追い焚き性能を確保できるという効果があるとともに、中温水が貯湯槽の比較的上部に戻されることで貯湯槽下部の水温の上昇は小さいので、使用者の入浴完了後に熱回収運転を再開した場合にヒートポンプユニットへの流入水温が低く保たれて効率的な運転がなされ、省エネルギー性を損なわない。   Furthermore, normally, the time period during which the heat recovery operation is performed is midnight, but assuming a case where a user's bathing is detected during the heat recovery operation, a bath water reheating operation is required from that point. At this time, the middle temperature water is effectively used at the time of hot water supply before that, and the water in the upper part of the hot water tank remains relatively high even at midnight, so that the reheating performance can be secured. In addition, the rise in the water temperature at the bottom of the hot water tank is small because the medium temperature water is returned to the relatively upper part of the hot water tank, so when the heat recovery operation is resumed after the user completes bathing, the temperature of the water flowing into the heat pump unit Efficient operation is performed while being kept low, and energy efficiency is not impaired.

以下、本発明の実施の形態について、図面を参照しながら説明する。なお、この実施の形態によって本発明が限定されるものではない。   Hereinafter, embodiments of the present invention will be described with reference to the drawings. Note that the present invention is not limited to the embodiments.

(実施の形態1)
図1は本発明の実施の形態1における給湯装置の構成を示す図である。
(Embodiment 1)
FIG. 1 is a diagram showing a configuration of a hot water supply apparatus according to Embodiment 1 of the present invention.

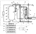
図1において、給湯装置は、貯湯槽1と、この貯湯槽1の水を加熱する加熱手段として
のヒートポンプユニット2と、熱回収を行う対象の浴槽3と、浴槽3の水と貯湯槽1の水とを熱交換するように構成された熱交換器4と、貯湯槽1に接続された給水管14と、貯湯槽1の略上部に接続された第1の出湯管22と、第1の出湯管22と給水管14とが接続された位置の間、すなわち、高さ方向において貯湯槽1の胴部略中央部に接続された第2の出湯管23と、第1の出湯管22と第2の出湯管23とが入口側に接続された高温水混合弁24と、この高温水混合弁24の出口側に接続され、貯湯槽1内の高温水を供給する高温水供給管8と、給水管14から分岐され、貯湯槽1内または給水管14からの低温水を供給する低温水供給管9と、これら高温水供給管8と低温水供給管9とを入口側に接続された混合弁11とを備えている。
In FIG. 1, a hot water supply apparatus includes a hot water tank 1, a heat pump unit 2 as a heating means for heating the water in the hot water tank 1, a bathtub 3 to be subjected to heat recovery, water in the bathtub 3, and the hot water tank 1. A heat exchanger 4 configured to exchange heat with water, a water supply pipe 14 connected to the hot water tank 1, a first hot water pipe 22 connected to substantially the upper part of the hot water tank 1, and a first Between the position where the hot water pipe 22 and the water supply pipe 14 are connected, that is, in the height direction, the second hot water pipe 23 connected to the substantially central part of the trunk of the hot water storage tank 1, and the first hot water pipe 22 A high temperature water mixing valve 24 connected to the inlet side of the second hot water discharge pipe 23, and a high temperature water supply pipe 8 connected to the outlet side of the high temperature water mixing valve 24 for supplying high temperature water in the hot water tank 1 A low-temperature water supply pipe 9 branched from the water supply pipe 14 and supplying low-temperature water in the hot water tank 1 or from the water supply pipe 14; And a mixing valve 11 to these and hot water supply pipe 8 and the low temperature water supply pipe 9 is connected to the inlet side.

また、この混合弁11の出口側に接続された給湯管10と、給湯管10の途中に接続された開閉弁13と、開閉弁13の上流で分岐して熱交換器4の第1の流路に接続された給湯分岐管15と、熱交換器4で浴槽3の水と熱交換した貯湯槽1の水を再び貯湯槽1へ戻すように熱交換器4の第1の流路と貯湯槽1とに接続された熱交戻り管16と、貯湯槽1と熱交換器4の第1の流路内の水を循環させる第1の搬送ポンプとしての貯湯槽水搬送ポンプ5aと、熱交換器4の第2の流路内へ浴槽3の水が循環するように接続された浴槽水循環配管12と、浴槽3と熱交換器4の第2の流路内の水を循環させる第2の搬送ポンプとしての浴槽水搬送ポンプ5bとを備えている。   Further, a hot water pipe 10 connected to the outlet side of the mixing valve 11, an on-off valve 13 connected in the middle of the hot water pipe 10, and a first flow of the heat exchanger 4 branching upstream of the on-off valve 13. The hot water supply branch pipe 15 connected to the road and the first flow path and the hot water storage of the heat exchanger 4 so as to return the water of the hot water storage tank 1 heat-exchanged with the water of the bathtub 3 by the heat exchanger 4 back to the hot water storage tank 1 A heat exchange return pipe 16 connected to the tank 1, a hot water tank water transport pump 5a as a first transport pump for circulating water in the first flow path of the hot water tank 1 and the heat exchanger 4, and a heat The bathtub water circulation pipe 12 connected so that the water of the bathtub 3 circulates in the second flow path of the exchanger 4, and the second for circulating the water in the second flow path of the bathtub 3 and the heat exchanger 4. The bathtub water conveyance pump 5b as a conveyance pump is provided.

ここで熱交戻り管16は、貯湯槽1の上下方向において第1の出湯管22と第2の出湯管23の間の位置で貯湯槽1に接続される。また、給湯管10は、浴槽水循環配管12の途中に接続し、浴槽3への給湯の際はこの浴槽水循環配管12を利用する。   Here, the heat exchange return pipe 16 is connected to the hot water tank 1 at a position between the first hot water pipe 22 and the second hot water pipe 23 in the vertical direction of the hot water tank 1. Moreover, the hot water supply pipe 10 is connected in the middle of the bathtub water circulation pipe 12, and this hot water supply pipe 12 is used when hot water is supplied to the bathtub 3.

また、浴室内に設置されたリモコン25には、人体検知手段としての赤外線センサ26と、使用者が任意に熱回収運転を起動するための熱回収運転起動スイッチ27を設け、貯湯槽1には、貯湯槽1内の水温を検知するための複数の貯湯温検知手段28a〜28e、浴槽水循環配管12には、浴槽3の水温を検知するための浴槽水温検知手段17を設けている。   The remote controller 25 installed in the bathroom is provided with an infrared sensor 26 as a human body detecting means and a heat recovery operation start switch 27 for the user to arbitrarily start the heat recovery operation. The plurality of hot water temperature detecting means 28a to 28e for detecting the water temperature in the hot water tank 1 and the bathtub water circulation pipe 12 are provided with a bath water temperature detecting means 17 for detecting the water temperature of the bathtub 3.

さらに、これら複数の貯湯温検知手段28a〜28eと赤外線センサ26と浴槽水温検知手段17の出力および熱回収運転起動スイッチ27の操作に基づいて、浴槽3への給湯およびそれ以降あらかじめ設定された時間だけ浴槽水の保温と水量維持を行う風呂自動運転を制御する給湯制御手段としての風呂自動運転制御手段29と、浴槽3内の水を加熱する追い焚き運転を制御する追い焚き運転制御手段30と、浴槽3内に湯水が張られた状態で、比較的少量(たとえば10L)の湯水を浴槽3に供給する足し湯運転を制御する足し湯運転制御手段31と、貯湯槽1に浴槽3の水の熱を回収する熱回収運転を制御する熱回収運転制御手段21とからなる運転制御手段18を設けている。   Further, based on the outputs of the plurality of hot water storage temperature detection means 28a to 28e, the infrared sensor 26, the bath water temperature detection means 17 and the operation of the heat recovery operation start switch 27, the hot water supply to the bathtub 3 and the time set in advance thereafter Only bath automatic operation control means 29 as hot water supply control means for controlling automatic bath operation for maintaining the temperature of the bathtub water and maintaining the amount of water, and reheating operation control means 30 for controlling the reheating operation for heating the water in the bathtub 3. The hot water operation control means 31 for controlling the additional hot water operation for supplying a relatively small amount (for example, 10 L) of hot water to the bathtub 3 in a state where the hot water is stretched in the bathtub 3, and the water in the bathtub 3 in the hot water tank 1 An operation control means 18 comprising a heat recovery operation control means 21 for controlling the heat recovery operation for recovering the heat is provided.

図2は熱回収運転制御手段21のブロック図を示し、赤外線センサ26の出力および風呂自動運転制御手段29の動作状態あるいは熱回収運転制御手段21であらかじめ設定された熱回収運転の開始時刻、さらには熱回収運転起動スイッチ27などから熱回収運転の開始を判断する熱回収運転開始判断部32と、ヒートポンプユニット2による沸上運転を制御する沸上運転制御手段(図示せず)から貯湯後の給湯利用に必要な貯湯熱量を取得する所要貯湯熱量取得部33と、貯湯温検知手段28a〜28eにより貯湯温度分布を測定する貯湯温度分布測定部34と、これら所要貯湯熱量取得部33と貯湯温度分布測定部34で得られた結果に基づいて必要な沸上熱量を算出する必要沸上熱量算出部35と、貯湯温度分布測定部34による現在の温度分布と必要沸上熱量算出部35から沸上完了時の温度分布を推定する沸上完了時貯湯温度分布推定部36とを有している。   FIG. 2 shows a block diagram of the heat recovery operation control means 21, the output of the infrared sensor 26, the operation state of the automatic bath operation control means 29, or the start time of the heat recovery operation preset by the heat recovery operation control means 21, Is a heat recovery operation start determination unit 32 that determines the start of the heat recovery operation from the heat recovery operation start switch 27 and the like, and a boiling operation control means (not shown) that controls the boiling operation by the heat pump unit 2. A required hot water storage amount acquisition unit 33 that acquires the amount of hot water storage required for hot water use, a hot water storage temperature distribution measurement unit 34 that measures hot water temperature distribution by the hot water temperature detection means 28a to 28e, the required hot water storage amount acquisition unit 33, and a hot water storage temperature. Based on the result obtained by the distribution measuring unit 34, the current amount by the required boiling heat amount calculating unit 35 that calculates the required boiling heat amount and the hot water storage temperature distribution measuring unit 34 From the temperature distribution and the required heating-up heat quantity calculating section 35 and a heating-up the as hot-water temperature distribution estimating unit 36 for estimating the temperature distribution during heating-up completion.

さらに貯湯温度分布測定部34による現在の温度分布から沸上完了時貯湯温度分布推定
部36での沸き上げ完了時の推定温度分布に至る間のヒートポンプユニット2への入力を推定する沸上所要入力推定部37と、この沸上所要入力推定部37による入力推定値の時間変化に基づいて貯湯槽水搬送ポンプ5a、浴槽水搬送ポンプ5bとを制御するポンプ制御部37とを有している。
Further, the boiling required input for estimating the input to the heat pump unit 2 from the current temperature distribution by the hot water storage temperature distribution measuring unit 34 to the estimated temperature distribution at the completion of boiling by the hot water storage temperature distribution estimating unit 36 at the completion of boiling. It has the estimation part 37 and the pump control part 37 which controls the hot water tank water conveyance pump 5a and the bathtub water conveyance pump 5b based on the time change of the input estimated value by this boiling required input estimation part 37.

以上のように構成された給湯装置について、以下その動作、作用を説明する。   About the hot water supply apparatus comprised as mentioned above, the operation | movement and an effect | action are demonstrated below.

一般的な家庭での湯の利用における基本的な動作として、朝には貯湯槽1にその日使う分の湯が貯えられており、活動している時間帯に順次給湯に利用される。給湯利用中に貯湯量が不足する場合には必要に応じてヒートポンプユニット2を運転し、追加で貯湯運転を行うこともある。近年では、浴槽3への給湯から保温までを自動で行う風呂自動運転の機能を備えている給湯装置が多くなっている。   As a basic operation in the use of hot water in a general home, hot water for the day is stored in the hot water tank 1 in the morning, and is sequentially used for hot water supply during an active time. When the amount of hot water storage is insufficient during use of hot water, the heat pump unit 2 may be operated as necessary, and an additional hot water storage operation may be performed. In recent years, there have been an increasing number of hot water supply apparatuses having a function of automatic bath operation that automatically performs from hot water supply to the bathtub 3 to heat insulation.

風呂自動運転制御手段29により浴槽3への給湯および保温運転を行う場合は、貯湯槽1内に貯えられている湯を用いて浴槽3へ給湯し、浴槽水温が低下した場合には、貯湯槽1内に貯えられている湯の熱を利用して保温運転をおこない、浴槽水温を予め設定された温度に保つ。また、追い焚き運転制御手段30により追い焚き運転を行って浴槽3内の湯を加温する場合も、貯湯槽1内に貯えられている湯の熱を利用して行う。   When the bath automatic operation control means 29 performs hot water supply to the bathtub 3 and heat insulation operation, the hot water stored in the hot water storage tank 1 is used to supply hot water to the bathtub 3, and when the bath water temperature decreases, the hot water storage tank A heat insulation operation is performed using the heat of hot water stored in 1, and the bath water temperature is maintained at a preset temperature. In addition, when the reheating operation is performed by the reheating operation control means 30 and the hot water in the bathtub 3 is heated, the heat of the hot water stored in the hot water tank 1 is used.

これら一日の給湯などの熱利用が終わる時点で貯湯槽1内の湯は大部分が給水と置換され、その後の深夜に再び次の利用のための貯湯運転がおこなわれる。このとき、入浴のために浴槽3に供給された湯は、給湯利用終了時には貯湯槽1内の水温に対して比較的高温で残されていることが多いので、熱回収運転制御手段21が、ヒートポンプユニット2による深夜の沸上運転の前、あるいは運転中に熱回収運転を行って貯湯槽1内に熱を回収する。   Most of the hot water in the hot water storage tank 1 is replaced with hot water at the time when heat use such as hot water supply for one day is finished, and hot water storage operation for the next use is performed again at midnight thereafter. At this time, the hot water supplied to the bathtub 3 for bathing is often left at a relatively high temperature with respect to the water temperature in the hot water tank 1 at the end of use of the hot water supply. A heat recovery operation is performed before or during midnight boiling operation by the heat pump unit 2 to recover heat in the hot water tank 1.

次に、風呂自動運転、追い焚き運転、足し湯運転、および熱回収運転の制御方法について説明する。   Next, control methods for bath automatic operation, reheating operation, additional hot water operation, and heat recovery operation will be described.

風呂自動運転制御手段29は、浴槽3へ所定量の湯を所定温度で自動で給湯し、その後、浴槽水温を予め設定された時間だけ予め設定された温度に保つように間欠的に保温動作を行う(風呂自動運転)。風呂自動運転を行っている間は、保温動作を行う必要があるかないかを判断するために、定期的に浴槽湯温を検出するための浴槽湯温検知動作を行う。   The bath automatic operation control means 29 automatically supplies a predetermined amount of hot water to the bathtub 3 at a predetermined temperature, and then intermittently performs a heat retaining operation so as to maintain the bath water temperature at a preset temperature for a preset time. Perform (automatic bath operation). During bath automatic operation, bath water temperature detection operation for detecting bath water temperature periodically is performed in order to determine whether or not it is necessary to perform heat insulation operation.

浴槽水温の検知は浴槽水温検知手段17でおこない、その結果、浴槽水温が予め設定された温度より所定温度以上(例えば1K以上)低い場合には、保温運転を行って浴槽水温を保ち、所定温度未満の場合には、保温運転をおこなわない。   The bath water temperature is detected by the bath water temperature detecting means 17, and as a result, when the bath water temperature is lower than a preset temperature by a predetermined temperature or more (for example, 1K or more), a heat insulation operation is performed to maintain the bath water temperature. If it is less than 1, do not keep warm.

この予め設定された時間内は、風呂自動運転を優先とし、熱回収運転制御手段21が自動で、あるいは使用者による熱回収運転起動スイッチ27の操作で熱回収運転開始の指示を受けても熱回収運転を行わず、予め設定された時間が経過した後に、熱回収運転を行うように制御する。   During this preset time, automatic bath operation is prioritized, and the heat recovery operation control means 21 is automatically operated or the heat recovery operation start switch 27 is operated by the user to receive an instruction to start the heat recovery operation. Control is performed so that the heat recovery operation is performed after a preset time has elapsed without performing the recovery operation.

逆に、熱回収運転中に風呂自動運転制御手段29が風呂自動運転開始の指示を受けた場合には、風呂自動運転を優先として、熱回収運転制御手段21は熱回収運転を停止し、風呂自動運転制御手段29が風呂自動運転を開始する(図3に概念図を示す)。   On the contrary, when the bath automatic operation control means 29 receives an instruction to start the bath automatic operation during the heat recovery operation, the heat recovery operation control means 21 stops the heat recovery operation, giving priority to the bath automatic operation. The automatic operation control means 29 starts bath automatic operation (conceptual diagram is shown in FIG. 3).

追い焚き運転制御手段30は、浴槽3内の湯を循環加温し、浴槽水温検知手段17が検知する浴槽水温が所定の温度になる、または動作開始から所定の時間経過すると終了する(追い焚き運転)。追い焚き運転制御手段30が追い焚き運転を行っている間は、追い焚
き運転を優先とし、熱回収運転制御手段21は熱回収運転をおこなわず、追い焚き運転が終了した後に、熱回収運転を行うように制御する。
The reheating operation control means 30 circulates and warms the hot water in the bathtub 3 and ends when the bath water temperature detected by the bath water temperature detection means 17 reaches a predetermined temperature or when a predetermined time elapses from the start of the operation (refreshing). operation). While the reheating operation control means 30 is performing the reheating operation, the renewal operation is prioritized, and the heat recovery operation control means 21 does not perform the heat recovery operation. After the reheating operation is completed, the heat recovery operation is performed. Control to do.

逆に、熱回収運転中に追い焚き運転制御手段30が追い焚き運転の指示を受けた場合にも、追い焚き運転を優先として、熱回収運転制御手段21は熱回収運転を停止し、追い焚き運転制御手段30が追い焚き運転を開始する(図4に概念図を示す)。   Conversely, even when the reheating operation control means 30 receives an instruction for reheating operation during the heat recovery operation, the recuperation operation is given priority, and the heat recovery operation control means 21 stops the heat recovery operation and retreats. The operation control means 30 starts a chasing operation (a conceptual diagram is shown in FIG. 4).

足し湯運転制御手段31は、浴槽3内に湯水が張られた状態で、比較的少量(たとえば10L)の湯水を浴槽3に所定温度で自動で供給する(足し湯運転)。足し湯運転制御手段31が足し湯運転を行っている間は、足し湯運転を優先とし、熱回収運転制御手段21は熱回収運転をおこなわず、足し湯運転が終了した後に、熱回収運転を行うように制御する。   The additional hot water operation control means 31 automatically supplies a relatively small amount (for example, 10 L) of hot water to the bathtub 3 at a predetermined temperature in a state where hot water is stretched in the bathtub 3 (addition hot water operation). While the additional hot water operation control means 31 is performing the additional hot water operation, priority is given to the additional hot water operation, and the heat recovery operation control means 21 does not perform the heat recovery operation, and after the additional hot water operation is completed, the heat recovery operation is performed. Control to do.

逆に、熱回収運転中に足し湯運転制御手段31が足し湯運転の指示を受けた場合にも、足し湯運転を優先として、熱回収運転制御手段21は熱回収運転を停止し、足し湯運転制御手段31が足し湯運転を開始する。   Conversely, when the additional hot water operation control means 31 receives an instruction for the additional hot water operation during the heat recovery operation, the heat recovery operation control means 21 stops the heat recovery operation with priority given to the additional hot water operation, and the additional hot water operation. The operation control means 31 starts adding hot water operation.

各々の運転を行う場合の弁およびポンプの動作と、それに伴う水および湯の流れについて図5〜図8を用いて説明する。図中、流れのある経路は太線で示してある。   The operation of the valve and the pump when performing each operation and the flow of water and hot water associated therewith will be described with reference to FIGS. In the figure, the flow path is indicated by a bold line.

まず、風呂自動運転制御手段29が風呂自動運転を行うときの動作について説明する。   First, the operation when the bath automatic operation control means 29 performs bath automatic operation will be described.

最初に浴槽3へ給湯を行う場合における回路中の水および湯の流れを図5に示す。貯湯槽1からは、第1の出湯管22と第2の出湯管23からの湯を高温水混合弁24で混合して高温水供給管8へ供給する。この高温水供給管8に供給された湯と給水管14から低温水供給管9へと供給される給水とが混合弁11にて給湯所望温度の湯に混合され、給湯管10へと供給される。   FIG. 5 shows the flow of water and hot water in the circuit when hot water is first supplied to the bathtub 3. From the hot water storage tank 1, hot water from the first hot water discharge pipe 22 and the second hot water discharge pipe 23 is mixed by the high temperature water mixing valve 24 and supplied to the high temperature water supply pipe 8. The hot water supplied to the high-temperature water supply pipe 8 and the water supplied from the water supply pipe 14 to the low-temperature water supply pipe 9 are mixed with hot water having a desired hot water supply temperature by the mixing valve 11 and supplied to the hot water supply pipe 10. The

ここで、高温水混合弁24から高温水供給管8に供給される湯の温度は、上記の給湯所望温度よりも所定温度以上高い温度(たとえば給湯所望温度が40℃の場合に45℃以上)に調節されている。開閉弁13は開かれ、給湯管10へと供給された所望温度の湯は、浴槽水循環配管12より浴槽3へと給湯される。   Here, the temperature of the hot water supplied from the high-temperature water mixing valve 24 to the high-temperature water supply pipe 8 is a temperature higher than the above-mentioned desired hot water supply temperature by a predetermined temperature or more (for example, 45 ° C. or more when the desired hot water supply temperature is 40 ° C.). It is adjusted to. The on-off valve 13 is opened, and hot water having a desired temperature supplied to the hot water supply pipe 10 is supplied to the bathtub 3 from the bathtub water circulation pipe 12.

なお、高温水混合弁24と混合弁11の開度は、それぞれ出口側に接続された高温水供給管8と給湯管10に供給される湯の温度に基づいてフィードバック制御されるのが一般的であり、高温水混合弁24については第1の出湯管22と第2の出湯管からの湯、混合弁11については高温水供給管8からの湯と低温水供給管9からの給水の温度により変化する。   The opening degree of the high temperature water mixing valve 24 and the mixing valve 11 is generally feedback controlled based on the temperature of hot water supplied to the high temperature water supply pipe 8 and the hot water supply pipe 10 respectively connected to the outlet side. For the high temperature water mixing valve 24, the hot water from the first outlet pipe 22 and the second outlet pipe, and for the mixing valve 11, the hot water from the high temperature water supply pipe 8 and the temperature of the feed water from the low temperature water supply pipe 9. It depends on.

浴槽3内の湯を保温する場合における回路中の水および湯の流れを図6に示す。貯湯槽水搬送ポンプ5aと浴槽水搬送ポンプ5bとが運転を開始し、貯湯槽水搬送ポンプ5aの運転により、貯湯槽1の略上部より第1の出湯管22から高温水混合弁24を経て高温水供給管8へと湯が供給され、さらに混合弁11を経て給湯管10へと供給される。   FIG. 6 shows the flow of water and hot water in the circuit when the hot water in the bathtub 3 is kept warm. The hot water storage tank water transfer pump 5a and the bathtub water transfer pump 5b start operation, and the hot water storage tank water transfer pump 5a starts operation from the upper part of the hot water storage tank 1 through the first hot water discharge pipe 22 through the high temperature water mixing valve 24. Hot water is supplied to the hot water supply pipe 8 and further supplied to the hot water supply pipe 10 via the mixing valve 11.

このとき、開閉弁13を閉じ、給湯管10へと供給された湯は、給湯分岐管15へと供給され、熱交換器4にて浴槽水循環配管12を循環する浴槽3の湯を加熱して、浴槽水温を上昇させる。一方、熱交換器4を出て比較的低温となった湯は熱交戻り管16を経て貯湯槽1へと還流する。   At this time, the on-off valve 13 is closed and the hot water supplied to the hot water supply pipe 10 is supplied to the hot water supply branch pipe 15 to heat the hot water in the bathtub 3 circulating through the bathtub water circulation pipe 12 in the heat exchanger 4. Increase the bath water temperature. On the other hand, the hot water that has left the heat exchanger 4 and has become relatively cold returns to the hot water tank 1 through the heat exchange return pipe 16.

このとき、高温水混合弁24と混合弁11の開度は、それぞれ第1の出湯管22と高温
水供給管8側が全開となり、貯湯槽1上部の高温の湯が熱交換器4に供給されるように制御されるのが一般的であるが、第2の出湯管23と低温水供給管9より一定量の湯または水が流入して混合するものであってもよい。
At this time, the opening degree of the high temperature water mixing valve 24 and the mixing valve 11 is such that the first hot water outlet pipe 22 and the high temperature water supply pipe 8 side are fully opened, and the hot water in the upper part of the hot water tank 1 is supplied to the heat exchanger 4. It is generally controlled so that a certain amount of hot water or water flows from the second hot water outlet pipe 23 and the low temperature water supply pipe 9 and mixes them.

浴槽3内の水温を検知するための浴槽水温検知動作を行う場合における回路中の水および湯の流れを図7に示す。浴槽水搬送ポンプ5bが運転を開始し、浴槽水循環配管12内を浴槽3内の湯が循環する。このとき、開閉弁13を閉じ、貯湯槽水搬送ポンプ5aは運転をおこなわない。浴槽水温検知手段17が浴槽水温を検知し、保温動作をするかしないかを判断する。   FIG. 7 shows the flow of water and hot water in the circuit when the bathtub water temperature detection operation for detecting the water temperature in the bathtub 3 is performed. The bathtub water conveyance pump 5b starts operation, and the hot water in the bathtub 3 circulates in the bathtub water circulation pipe 12. At this time, the on-off valve 13 is closed and the hot water tank water transfer pump 5a does not operate. The bathtub water temperature detection means 17 detects the bathtub water temperature and determines whether or not to perform a heat retaining operation.

次に、追い焚き運転制御手段30が追い焚き運転を行う場合の動作であるが、追い焚き運転を行う場合における回路中の水および湯の流れは風呂自動運転制御手段29が保温動作を行う場合と同じで図6に示す通りであるので省略する。   Next, the operation when the reheating operation control means 30 performs the reheating operation, the flow of water and hot water in the circuit when the reheating operation is performed, when the bath automatic operation control means 29 performs the heat retaining operation. Since this is the same as shown in FIG.

次に、足し湯運転制御手段31が足し湯運転を行う場合の動作であるが、足し湯運転を行う場合における回路中の水および湯の流れは風呂自動運転制御手段29が浴槽3へ給湯を行う場合と同じで図5に示す通りであるので省略する。   Next, the operation when the additional hot water operation control means 31 performs the additional hot water operation. The flow of water and hot water in the circuit when the additional hot water operation is performed is determined by the automatic bath operation control means 29 for supplying hot water to the bathtub 3. Since it is the same as that performed and as shown in FIG.

最後に、熱回収運転制御手段21が、浴槽3に残された湯の熱回収運転を行う場合における回路中の水および湯の流れを図8に示す。熱回収運転を開始すると、貯湯槽水搬送ポンプ5aの運転により、貯湯槽1の略下部より低温水供給管9へと水が供給され、混合弁11を経て給湯管10へと供給される。   Finally, FIG. 8 shows the flow of water and hot water in the circuit when the heat recovery operation control means 21 performs the heat recovery operation of the hot water remaining in the bathtub 3. When the heat recovery operation is started, water is supplied from a substantially lower portion of the hot water tank 1 to the low-temperature water supply pipe 9 by the operation of the hot water tank water transfer pump 5 a, and supplied to the hot water supply pipe 10 through the mixing valve 11.

このとき、開閉弁13を閉じ、給湯管10へと供給された水は、給湯分岐管15へと供給され、熱交換器4にて浴槽水循環配管12を循環する浴槽3の湯と熱交換を行って熱を回収する。一方、熱交換器4を出て比較的高温となった水は熱交戻り管16を経て貯湯槽1へと還流する。このとき、混合弁11の開度は、低温水供給管9側が全開となるように制御されるのが一般的であるが、高温水供給管8より一定量の湯が流入し混合するものであってもよい。   At this time, the on-off valve 13 is closed, and the water supplied to the hot water supply pipe 10 is supplied to the hot water supply branch pipe 15 and exchanges heat with the hot water of the bathtub 3 circulating through the bathtub water circulation pipe 12 in the heat exchanger 4. Go and recover heat. On the other hand, the water that has left the heat exchanger 4 and has reached a relatively high temperature returns to the hot water tank 1 through the heat exchange return pipe 16. At this time, the opening degree of the mixing valve 11 is generally controlled so that the low temperature water supply pipe 9 side is fully opened, but a certain amount of hot water flows from the high temperature water supply pipe 8 and mixes. There may be.

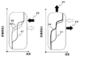
熱回収運転を行った場合の貯湯槽1内の温度分布は図9に示す39、40、41の順に変化する。つまり、浴槽3と熱交換されて熱交戻り管16から貯湯槽1に流入する水42の温度は貯湯槽1の貯湯温よりも低い場合が多く、貯湯槽水搬送ポンプ5aの作用によって貯湯槽1の湯と混合しつつ貯湯槽1の下方に向けて移動する。   When the heat recovery operation is performed, the temperature distribution in the hot water tank 1 changes in the order of 39, 40, and 41 shown in FIG. That is, the temperature of the water 42 that exchanges heat with the bathtub 3 and flows into the hot water tank 1 from the heat exchange return pipe 16 is often lower than the hot water temperature of the hot water tank 1, and the hot water tank is caused by the action of the hot water tank water transfer pump 5a. It moves toward the lower side of the hot water tank 1 while being mixed with the hot water of No. 1.

第2の出湯管23の接続位置は熱交戻り管16の接続位置よりも下部にあるので、給湯が発生すると、下がってきた中温の水43を第2の出湯管23から出湯し、第1の出湯管からの高温水44と混合して利用することができる。   Since the connection position of the second hot water discharge pipe 23 is below the connection position of the heat exchange return pipe 16, when hot water is generated, the medium temperature water 43 that has come down is discharged from the second hot water discharge pipe 23, It can be used by mixing with hot water 44 from a hot water outlet pipe.

図9に示す45は、熱回収後に給湯が発生した場合の温度分布を示している。このように第2の出湯管23が熱交戻り管16の貯湯槽への接続位置よりも下にあることで、回収した熱を効果的に利用することができる。   Reference numeral 45 shown in FIG. 9 indicates a temperature distribution when hot water is generated after heat recovery. Thus, since the 2nd hot water discharge pipe 23 exists below the connection position to the hot water storage tank of the heat exchange return pipe 16, the collect | recovered heat | fever can be utilized effectively.

給湯の発生が比較的少なく、使い切れないで残った中温の水は、ヒートポンプユニット2で再加熱して利用することになるが、ヒートポンプユニット2の運転効率は、図10に示すように加熱前の水温が高いほど低下する。   The occurrence of hot water supply is relatively small, and the medium-temperature water that remains without being used up is reheated and used by the heat pump unit 2, but the operating efficiency of the heat pump unit 2 is as shown in FIG. The higher the water temperature, the lower it.

図9に示した貯湯槽1の温度分布からわかるように、熱回収運転後のヒートポンプユニット2による必要加熱量は、浴槽3からの回収熱量が増加するほど少なくなるものの、それと同時にヒートポンプユニット2で加熱する前の水温は高くなって、再加熱時の運転効
率は低下するので、できるだけ多くの熱回収を行うことが必ずしも省エネルギーにつながらない。
As can be seen from the temperature distribution of the hot water tank 1 shown in FIG. 9, the required heating amount by the heat pump unit 2 after the heat recovery operation decreases as the amount of recovered heat from the bathtub 3 increases. Since the water temperature before heating becomes high and the operation efficiency at the time of reheating is reduced, it is not necessarily energy saving to perform as much heat recovery as possible.

すなわち、ヒートポンプユニット2への入力(消費熱量あるいは消費電力)は、所要貯湯熱量を得るための熱回収前の必要加熱量から熱回収運転によって得られた回収熱量を減じたものを、ヒートポンプユニット2による貯湯運転中の平均効率で除したものとなり、この値は図11に示すように、回収熱量に対して最小値を有する場合がある。   That is, the input (heat consumption or power consumption) to the heat pump unit 2 is obtained by subtracting the recovered heat amount obtained by the heat recovery operation from the necessary heat amount before heat recovery for obtaining the required hot water storage heat amount. As shown in FIG. 11, this value may have a minimum value for the recovered heat amount.

したがって、浴槽3からの熱回収運転を、熱回収運転停止後に行われる再加熱運転において、ヒートポンプユニット2への入力が略最小となる時点で停止することが、より高い省エネルギー効果を得るために必要である。   Therefore, in order to obtain a higher energy saving effect, it is necessary to stop the heat recovery operation from the bathtub 3 at the time when the input to the heat pump unit 2 becomes substantially minimum in the reheating operation performed after the heat recovery operation is stopped. It is.

最小値となる時点を見つける具体的な方法としては、所定の時間間隔で測定される貯湯槽1の温度分布に基づいて予想されるヒートポンプユニット2への入力値の刻々の変化の推移を求めて、その値の減少度合いが小さいか減少しなくなる、あるいは増加に転じることで判断する。   As a specific method for finding the time point at which the minimum value is reached, the change of the input value to the heat pump unit 2 that is predicted based on the temperature distribution of the hot water tank 1 measured at predetermined time intervals is obtained. Judgment is made when the degree of decrease in the value is small or no longer decreases, or starts to increase.

図10に示したように、貯湯槽1内の湯水をヒートポンプユニット2にて加熱する場合、貯湯槽1からヒートポンプユニット2に水を搬送させる部位の温度(本実施の形態においては、貯湯槽1の下部の温度)が低くなるにつれて、ヒートポンプユニット2の運転効率は高くなるが、浴槽3からの熱回収運転時、浴槽3から熱回収した水が貯湯槽1内に流入してくることで、貯湯槽1からヒートポンプユニット2に水を搬送させる部位の温度が上昇し始める状態が存在する。   As shown in FIG. 10, when the hot water in the hot water tank 1 is heated by the heat pump unit 2, the temperature at the site where water is transported from the hot water tank 1 to the heat pump unit 2 (in this embodiment, the hot water tank 1 The operating efficiency of the heat pump unit 2 increases as the temperature of the lower part of the heat pump unit 2 decreases. However, when the heat recovery operation from the bathtub 3 is performed, the water recovered from the bathtub 3 flows into the hot water tank 1. There is a state in which the temperature of the part that transports water from the hot water tank 1 to the heat pump unit 2 starts to rise.

したがって、浴槽3からの熱回収運転時に、貯湯槽1のヒートポンプユニット2に水を搬送させる部位の温度を測定し、その温度の上昇度合いが増加に転じる付近で、浴槽3からの熱回収運転動作を停止させることで、熱回収運転後の加熱運転時におけるヒートポンプユニット2の運転効率の略最大を実現できるのである。   Therefore, at the time of the heat recovery operation from the bathtub 3, the temperature of the part that transports water to the heat pump unit 2 of the hot water tank 1 is measured, and the heat recovery operation operation from the bathtub 3 is performed in the vicinity where the increase in the temperature starts to increase. By stopping the operation, it is possible to achieve substantially the maximum operating efficiency of the heat pump unit 2 during the heating operation after the heat recovery operation.

上記を勘案して高い省エネルギー効果を得るための熱回収運転制御手段21の制御方法について説明する。   A control method of the heat recovery operation control means 21 for obtaining a high energy saving effect in consideration of the above will be described.

図12は熱回収運転制御手段21の動作のフローチャートである。使用者による熱回収運転起動スイッチ27の操作、あるいは風呂自動運転制御手段29による風呂自動運転終了後の所定時間経過後など、熱回収運転の開始を熱回収運転開始判断部32が判断すると、最初に赤外線センサ26によって入浴者の有無を検知し(ステップ1)、ここで入浴者が検知された場合は、熱回収運転を開始しないで終了する(ステップ2)。   FIG. 12 is a flowchart of the operation of the heat recovery operation control means 21. When the heat recovery operation start determination unit 32 determines the start of the heat recovery operation, such as the operation of the heat recovery operation start switch 27 by the user or the elapse of a predetermined time after the completion of the automatic bath operation by the automatic bath operation control unit 29, Then, the presence or absence of a bather is detected by the infrared sensor 26 (step 1). If a bather is detected here, the heat recovery operation is not started and the process ends (step 2).

ステップ1で入浴者を検知しなければ、所要貯湯熱量取得部33で取得された所要貯湯熱量と貯湯温検知手段28a〜28eにより測定された現在の貯湯槽1の温度分布、およびヒートポンプユニット2の沸き上げ温度等の運転条件から貯湯運転完了時の貯湯槽1内の温度分布を予測し、それを現在の温度分布と比較して、その時点からヒートポンプユニット2で加熱する場合の残りの加熱量Qrを求める(ステップ3)。   If no bather is detected in step 1, the required hot water storage heat amount acquired by the required hot water storage heat amount acquisition unit 33, the current temperature distribution of the hot water tank 1 measured by the hot water storage temperature detection means 28 a to 28 e, and the heat pump unit 2 Predict the temperature distribution in the hot water storage tank 1 when the hot water storage operation is completed from the operating conditions such as the boiling temperature, compare it with the current temperature distribution, and the remaining heating amount when heating with the heat pump unit 2 from that point Qr is obtained (step 3).

次に、測定された現在の温度分布から、予測された貯湯運転完了時の温度分布に達するまでの間にヒートポンプユニット2で沸き上げる前の平均水温を推定する(ステップ4)。   Next, the average water temperature before boiling in the heat pump unit 2 is estimated from the measured current temperature distribution until the predicted temperature distribution at the time of completion of the hot water storage operation is reached (step 4).

さらにステップ4で求めた平均水温と図4で示したヒートポンプユニット2の特性とから貯湯運転時の平均効率を求め、ステップ3で求めた残りの加熱量Qrをこの平均効率で
除して、貯湯運転時の入力Qinを推定する(ステップ5)。
Further, the average efficiency during hot water storage operation is obtained from the average water temperature obtained in step 4 and the characteristics of the heat pump unit 2 shown in FIG. 4, and the remaining heating amount Qr obtained in step 3 is divided by this average efficiency to obtain hot water storage water. The input Qin during operation is estimated (step 5).

Qinは前回の評価時刻において求めた値であるQin−fとの差を求め、それがあらかじめ定めた偏差qより小さい場合、すなわち推定入力の変化が次第に小さくなって最小値と判断されたら(ステップ6)、ステップ2で貯湯槽水搬送ポンプ5aと浴槽水搬送ポンプ5bとを停止して熱回収運転を終了する。   Qin obtains a difference from Qin−f which is a value obtained at the previous evaluation time, and when it is smaller than a predetermined deviation q, that is, when a change in estimated input gradually becomes smaller and it is determined to be a minimum value (step) 6) In Step 2, the hot water tank water transfer pump 5a and the bathtub water transfer pump 5b are stopped to end the heat recovery operation.

QinとQin−fとの差がq以上の場合は熱回収運転を継続し、次の評価時刻になれば(ステップ8)、以上の動作を繰り返す。   When the difference between Qin and Qin−f is equal to or greater than q, the heat recovery operation is continued, and when the next evaluation time comes (step 8), the above operation is repeated.

なお、補足として熱回収運転開始後一回目の動作時は、ステップ6での比較はおこなわずにステップ7を実行する。   As a supplement, step 7 is executed without performing the comparison in step 6 at the first operation after the start of the heat recovery operation.

ここでは熱回収運転の開始時に入浴者を検知した場合を説明したが、ステップ1では熱回収運転が開始された後で入浴者が検知された場合にも、熱回収運転は停止されることになる(ステップ2)。   Here, the case where the bather is detected at the start of the heat recovery operation has been described. However, in step 1, the heat recovery operation is also stopped when the bather is detected after the heat recovery operation is started. (Step 2).

さらに、このフローチャートには示していないが、入浴が終わって赤外線センサ26が人体を検知しなくなれば、この手順を再度実行することにより熱回収運転を再開し、上記の動作を行う。   Further, although not shown in this flowchart, when the bathing is over and the infrared sensor 26 no longer detects the human body, the heat recovery operation is restarted by performing this procedure again, and the above operation is performed.

以上が動作の説明であるが、人体検知によらない熱回収運転の停止は、ヒートポンプユニット2の入力の最小値の判断を減少度合いが小さくなったことで行っている。この方法以外に、評価時刻間の入力の差qが0となる場合、またはqの符号が前回の評価時刻と逆になる場合、すなわち推定入力が増加に転じるときを最小値として、熱回収運転を停止してもよい。   The above is the explanation of the operation. However, the stop of the heat recovery operation not based on the human body detection is performed by determining the minimum value of the input of the heat pump unit 2 because the degree of decrease is small. In addition to this method, when the input difference q between the evaluation times is 0, or when the sign of q is reversed from the previous evaluation time, that is, when the estimated input starts to increase, the heat recovery operation is set to the minimum value. May be stopped.

また、測定される貯湯槽1の温度の値の測定誤差等により、推定入力は最小値に至る間に増減のあることも多い。したがって、最近の数回の評価時刻における推定入力を記憶しておき、その移動平均値を用いて最小値に達したかどうかを判断することによって、最小値に達したかどうかの判定精度をより高められる場合もある。   In addition, the estimated input often increases or decreases while reaching the minimum value due to a measurement error of the temperature value of the hot water tank 1 to be measured. Therefore, by storing the estimated input at the latest several evaluation times, and determining whether the minimum value has been reached by using the moving average value, the determination accuracy of whether the minimum value has been reached is further improved. Can be increased.

さらには、以上説明したような、その都度温度分布を評価して入力を求める方法は精度が高いものの計算が煩雑となり、熱回収運転制御手段21の負荷が大きい。その場合は、入力に対して最も影響を与える位置の貯湯温の変化をあらかじめ把握しておき、その位置に対応する貯湯温検知手段28a〜28eのうち、いずれかの温度が上昇し始めたときや所定の温度上昇がみられたとき、あるいは、たとえば貯湯温検知手段28dの検知温度が上昇し、かつ貯湯温検知手段28eの検知温度は上昇しない間は熱回収運転を継続するというように、二つ以上の温度の組み合わせに応じて停止の判断をしてもよい。   Furthermore, as described above, the method of evaluating the temperature distribution each time and obtaining the input is highly accurate, but the calculation is complicated and the load on the heat recovery operation control means 21 is large. In that case, when a change in the hot water storage temperature at the position that most affects the input is grasped in advance, and one of the hot water storage temperature detection means 28a to 28e corresponding to that position starts to rise. When the predetermined temperature rise is observed or, for example, while the detection temperature of the hot water storage temperature detection means 28d is increased and the detection temperature of the hot water storage temperature detection means 28e is not increased, the heat recovery operation is continued. The stop may be determined according to a combination of two or more temperatures.

具体的には、比較的貯湯槽1の下部に近い温度が上昇してくることを検出して熱回収運転を停止させることによってもヒートポンプユニット2の効率を損なうことが少なくなって所望の効果を得ることができる。さらに、貯湯槽1のより上部の温度の変化を考慮すれば、熱回収運転による回収熱量の確保を同時に評価でき、精度は向上する。   Specifically, it is possible to reduce the efficiency of the heat pump unit 2 by reducing the heat recovery operation by detecting that the temperature relatively close to the lower portion of the hot water tank 1 is rising. Can be obtained. Furthermore, if the change of the temperature of the upper part of the hot water tank 1 is taken into consideration, it is possible to simultaneously evaluate the amount of recovered heat by the heat recovery operation, and the accuracy is improved.

このように、本発明の実施の形態によれば、足し湯運転中の場合には熱回収運転をせず、熱回収機能によって浴槽内の湯温が低下して入浴ができなくなることを防止できる。このとき、熱回収運転を開始するタイミングで入浴者がいる場合には熱回収運転を開始せず、また熱回収運転中に足し湯運転が行われた場合にも即座に熱回収運転を停止することによって快適性を損ねない。   As described above, according to the embodiment of the present invention, the heat recovery operation is not performed during the operation of the additional hot water, and it is possible to prevent the hot water temperature in the bathtub from being lowered due to the heat recovery function and being unable to bathe. . At this time, if there is a bather at the timing of starting the heat recovery operation, the heat recovery operation is not started, and if the additional hot water operation is performed during the heat recovery operation, the heat recovery operation is immediately stopped. It does not impair comfort.

さらに、入浴が終われば熱回収運転を改めて開始、あるい再開することにより、省エネルギー性を損なわない運転ができる。熱回収運転の再開は、入浴者を検知しなくなってから所定の時間が経過することなどで自動でもおこなわれるが、入浴者が退室する際に熱回収運転起動スイッチ27を操作することによって即座に再開することができるので、時間経過による浴槽3からの無駄な放熱が抑えられ、省エネルギー性が高まる。   Furthermore, when bathing is completed, the heat recovery operation is started or restarted, so that the operation without impairing the energy saving performance can be performed. The heat recovery operation can be automatically resumed when a predetermined time elapses after the bather is no longer detected. However, the heat recovery operation start switch 27 is operated immediately when the bather leaves the room. Since it can be restarted, wasteful heat dissipation from the bathtub 3 over time is suppressed, and energy saving is enhanced.

また、風呂自動運転と追い焚き運転と足し湯運転と熱回収運転を実現するための配管系の構成において、ひとつの混合弁11の開度調整にてそれらを切り換えているので、機能の向上に対して筐体内に新たな部材の設置スペースを確保する必要がなく、重量や材料の増加、さらには待機電力の増大もなく、省資源、省エネルギーにも寄与する。また、併せて熱交換器4は熱交換効率の高いプレート式とするとともに、貯湯槽1の熱交戻り管16の接続位置近傍に設置することで、熱交換器4自体をコンパクトにした上で最小限の配管長として、同様に省資源となる。   In addition, in the configuration of the piping system for realizing automatic bath operation, reheating operation, additional hot water operation, and heat recovery operation, these are switched by adjusting the opening degree of one mixing valve 11, so that the function can be improved. On the other hand, it is not necessary to secure an installation space for a new member in the housing, and there is no increase in weight, material, standby power, and resource and energy savings. In addition, the heat exchanger 4 is a plate type with high heat exchange efficiency, and is installed near the connection position of the heat exchange return pipe 16 of the hot water tank 1 to make the heat exchanger 4 itself compact. As a minimum pipe length, it will save resources as well.

そして、熱回収運転を行う際には、所要貯湯熱量を沸き上げるためのヒートポンプユニット2への入力が最小となる時点で熱回収運転を停止することによって、本来の目的であるシステム全体としての効率向上を実現し、省エネルギー性を高めることができる。   When the heat recovery operation is performed, the heat recovery operation is stopped when the input to the heat pump unit 2 for boiling up the required hot water storage amount is minimized, so that the efficiency of the entire system, which is the original purpose, is reduced. Improvement can be realized and energy saving can be improved.

構成としては、貯湯槽1下部の水を取り出して熱交換器4で加熱し、貯湯槽1の比較的上部へ戻しているが、熱回収運転による貯湯槽1内の温度分布はこの取り出し位置や戻し位置の違いによって変わる。さらに、貯湯槽水搬送ポンプ5aの能力制御によって熱回収の速度なども制御でき、これら構成や制御の違いに応じて運転効率も変化する。   As a configuration, the water in the lower part of the hot water tank 1 is taken out and heated by the heat exchanger 4 and returned to the relatively upper part of the hot water tank 1. It depends on the difference in the return position. Furthermore, the heat recovery speed and the like can be controlled by controlling the capacity of the hot water tank water transfer pump 5a, and the operation efficiency changes depending on the difference in configuration and control.

したがって、この実施例では、使われ方や貯湯槽1の容量などを考慮して適切な取り出し位置や戻り位置を設定したり、貯湯槽水搬送ポンプ5aの能力制御をおこなえるといった最適化設計の自由度が高いために複数の異なる機種に適用しやすく、その結果、多くの使用者に提供することによって大きな省エネルギー効果を得ることができる。   Therefore, in this embodiment, it is possible to set an appropriate take-out position and return position in consideration of usage, the capacity of the hot water tank 1, and the like, and to optimize the design of the hot water tank water transfer pump 5a. Since the degree is high, it is easy to apply to a plurality of different models, and as a result, a large energy saving effect can be obtained by providing it to many users.

さらに、貯湯槽1からの給湯において、第1の出湯管22と第2の出湯管23とからの湯を高温水混合弁24で適切に混合して貯湯槽1内の中温水を有効に利用するとともに、熱交戻り管16の貯湯槽1への接続位置を第2の出湯管23よりも上にすることによって、温度成層型の貯湯槽において不可避な貯湯槽上部の高温水と下部の低温水との間にできる中温水を有効に利用できる結果、同じ蓄熱量でも貯湯槽下方に低温の水が多く確保できることから浴槽水からの回収熱量を大きくできる。   Furthermore, in hot water supply from the hot water tank 1, hot water from the first hot water discharge pipe 22 and the second hot water discharge pipe 23 is appropriately mixed by the high temperature water mixing valve 24 to effectively use the medium temperature water in the hot water storage tank 1. In addition, by making the connection position of the heat exchange return pipe 16 to the hot water storage tank 1 higher than the second hot water discharge pipe 23, the hot water in the upper part of the hot water tank and the lower temperature in the lower part are inevitable in the temperature stratified hot water tank. As a result of the effective use of the medium-temperature water that can be formed between the water and the water, the amount of heat recovered from the bath water can be increased because a large amount of low-temperature water can be secured below the hot water tank even with the same heat storage amount.

また、熱回収により発生した中温水を貯湯槽1の比較的上部に流入させることは、増加しながら貯湯槽1下方に移動する中温水を、熱回収した湯の流入位置よりも下にある第2の出湯管23を通じて給湯に利用できるので、貯湯された湯の熱量を最大限有効に使うことができる。同時にヒートポンプユニット2の沸き上げ効率の低下を招く貯湯槽1内の中温水が減少することでシステム全体の効率低下を防ぐことができ、熱量の有効利用による良好な使い勝手と高い省エネルギー性とを実現する。   In addition, the flow of the intermediate warm water generated by the heat recovery into the relatively upper portion of the hot water storage tank 1 means that the intermediate warm water that moves below the hot water storage tank 1 while increasing is lower than the inflow position of the hot recovered hot water. Since it can be used for hot water supply through the two hot water outlet pipes 23, the amount of stored hot water can be used to the maximum extent possible. At the same time, the medium temperature water in the hot water tank 1 that reduces the heating efficiency of the heat pump unit 2 is reduced, so that the efficiency of the entire system can be prevented from being lowered. To do.

さらに、足し湯運転中に熱回収運転を行われた場合は、混合して中温水となった水が貯湯槽の下方に移動が発生し、第2の出湯管から出湯される湯温が安定せず足し湯される湯温も安定せず快適性が損なわれるが、熱回収運転より足し湯運転を優先して行うことで、足し湯される湯温は安定し、快適性も損なわれない。   In addition, when heat recovery operation is performed during the additional hot water operation, the water that has been mixed to become hot water moves to the lower side of the hot water tank, and the hot water temperature discharged from the second hot water discharge pipe is stable. The temperature of the hot water added is not stable and comfort is impaired, but by adding priority to the hot water operation over the heat recovery operation, the hot water temperature added is stable and comfort is not impaired. .

また、通常、熱回収運転される時間帯は深夜であるが、熱回収運転中に使用者の入浴を検出した場合を想定すると、その時点から浴槽水の追い焚き運転が必要となる。このとき
、それ以前の給湯の際に中温水を有効に利用し、深夜になっても貯湯槽1の上部の水は比較的高温に保たれて残っているので、追い焚き性能を確保できるという効果があるとともに、中温水が貯湯槽1の比較的上部に戻されることで貯湯槽1下部の水温の上昇は小さく、使用者の入浴完了後に熱回収運転を再開した場合にヒートポンプユニット2への流入水温が低く保たれて効率的な運転がなされ、省エネルギー性を損なわない。
In general, the time period during which the heat recovery operation is performed is midnight. However, assuming that the user's bathing is detected during the heat recovery operation, the bath water reheating operation is required from that point. At this time, the middle temperature water is effectively used at the time of hot water supply before that, and the water in the upper part of the hot water tank 1 remains relatively high even at midnight, so that the reheating performance can be secured. In addition to being effective, the warm water is returned to the relatively upper part of the hot water tank 1 so that the rise in the water temperature at the lower part of the hot water tank 1 is small, and when the heat recovery operation is resumed after the user completes bathing, the heat pump unit 2 The inflow water temperature is kept low and efficient operation is performed, and energy saving is not impaired.

すなわち、使用者の快適性を損ねることなく、高い省エネルギー性能を実現した給湯装置を提供することができるものである。   That is, it is possible to provide a hot water supply device that realizes high energy saving performance without impairing the comfort of the user.

以上のように、本発明にかかる給湯装置は、浴槽の湯からの熱回収運転に際し、入浴者の行動を考慮して快適性と省エネルギー性を両立するので、前記したような家庭用の給湯装置に適用できるほか、業務用などの規模の大きい用途にも適用し、実用性に優れた給湯装置の制御方式を提供できる。   As described above, the hot water supply apparatus according to the present invention achieves both comfort and energy saving in consideration of the behavior of the bather during the heat recovery operation from the hot water in the bathtub. In addition to being applicable to large-scale applications such as commercial use, it is possible to provide a hot water supply device control system with excellent practicality.

1 貯湯槽
2 加熱手段(ヒートポンプユニット)
3 浴槽
4 熱交換器
5a 第1の搬送ポンプ(貯湯槽水搬送ポンプ)
5b 第2の搬送ポンプ(浴槽水搬送ポンプ)
8 高温水供給管
9 低温水供給管
10 給湯管
11 混合弁
12 浴槽水循環配管
13 開閉弁
14 給水管
15 給湯分岐管
16 熱交戻り管
17 浴槽水温検知手段
18 運転制御手段
21 熱回収運転制御手段
22 第1の出湯管
23 第2の出湯管
24 高温水混合弁
25 リモコン
26 人体検知手段(赤外線センサ)
27 熱回収運転起動スイッチ
28 貯湯温検知手段
29 風呂自動運転制御手段
30 追い焚き運転制御手段
31 足し湯運転制御手段
1 Hot water tank 2 Heating means (heat pump unit)
3 Bathtub 4 Heat exchanger 5a First transfer pump (hot water storage tank transfer pump)
5b Second transfer pump (tub water transfer pump)
DESCRIPTION OF SYMBOLS 8 High temperature water supply pipe 9 Low temperature water supply pipe 10 Hot water supply pipe 11 Mixing valve 12 Bath water circulation pipe 13 On-off valve 14 Water supply pipe 15 Hot water branch pipe 16 Heat exchange return pipe 17 Bath water temperature detection means 18 Operation control means 21 Heat recovery operation control means 22 1st tap pipe 23 2nd tap pipe 24 High temperature water mixing valve 25 Remote control 26 Human body detection means (infrared sensor)
27 Heat recovery operation start switch 28 Hot water storage temperature detection means 29 Bath automatic operation control means 30 Reheating operation control means 31 Additional hot water operation control means

Claims (9)

貯湯槽と、浴槽と、前記貯湯槽内の湯水と前記浴槽内の湯水とを熱交換する熱交換器と、制御手段とを備え、前記浴槽に湯水を供給する足し湯運転モードと、前記熱交換器により前記浴槽の湯水の有する熱を前記貯湯槽の湯水に回収する熱回収運転モードとを有し、熱回収運転よりも足し湯運転を優先させることを特徴とする給湯装置。 A hot water storage tank, a bathtub, a heat exchanger for exchanging heat between the hot water in the hot water tank and the hot water in the bathtub, and a control means, an additional hot water operation mode for supplying hot water to the bathtub, and the heat A hot water supply apparatus having a heat recovery operation mode for recovering the heat of the hot water in the bathtub to the hot water in the hot water tank by an exchanger, and giving priority to the hot water operation over the heat recovery operation. 前記熱回収運転中に前記足し湯運転を行う場合には、前記熱回収運転を停止することを特徴とする請求項1に記載の給湯装置。 The hot water supply device according to claim 1, wherein when the additional hot water operation is performed during the heat recovery operation, the heat recovery operation is stopped. 前記足し湯運転中で前記熱回収運転を開始しなかった場合、前記足し湯運転終了後に前記熱回収運転を開始することを特徴とする請求項1に記載の給湯装置。 2. The hot water supply apparatus according to claim 1, wherein when the heat recovery operation is not started during the addition hot water operation, the heat recovery operation is started after the end of the addition water operation. 前記熱回収運転中に前記足し湯運転を行うために前記熱回収運転を停止した場合、前記足し湯運転終了後に前記熱回収運転を再開することを特徴とする請求項2に記載の給湯装置。 3. The hot water supply apparatus according to claim 2, wherein when the heat recovery operation is stopped to perform the additional hot water operation during the heat recovery operation, the heat recovery operation is resumed after the addition hot water operation is completed. 前記貯湯槽内の湯水を加熱する加熱手段を備え、前記熱回収運転停止後の前記加熱手段の加熱運転時における入力が略最小となるように、前記熱回収運転を停止させることを特徴とする請求項3または4に記載の給湯装置。 A heating means for heating the hot water in the hot water storage tank is provided, and the heat recovery operation is stopped so that an input at the time of the heating operation of the heating means after the heat recovery operation is stopped is substantially minimized. The hot-water supply apparatus of Claim 3 or 4. 前記貯湯槽の水温を検知する複数の貯湯温検知手段を備え、前記複数の貯湯温検知手段のうち少なくともひとつの検知温度に基づいて、前記熱回収運転を停止させることを特徴とする請求項5に記載の給湯装置。 6. A plurality of hot water temperature detecting means for detecting the water temperature of the hot water tank is provided, and the heat recovery operation is stopped based on at least one detected temperature of the plurality of hot water temperature detecting means. The hot water supply device described in 1. 使用者が、前記熱回収運転を起動するための熱回収運転起動スイッチを設けたことを特徴とする請求項1〜6のいずれか1項に記載の給湯装置。 The hot water supply apparatus according to any one of claims 1 to 6, wherein a user is provided with a heat recovery operation start switch for starting the heat recovery operation. 前記貯湯槽に接続された給水管と、前記貯湯槽の高温水を供給するように接続された高温水供給管と、低温水を供給するように、前記貯湯槽下部または前記給水管に接続された低温水供給管と、入口側に前記高温水供給管と前記低温水供給管とを接続して前記高温水と前記低温水とを混合する混合弁と、前記熱交換器と前記浴槽内の湯水が循環するように接続された浴槽循環配管と、前記浴槽へ所定の温度の湯水を供給するように前記混合弁の出口側と前記浴槽循環配管とに接続された給湯管と、前記給湯管の途中に接続された開閉弁と、前記開閉弁の上流で分岐して前記熱交換器に接続された給湯分岐管と、前記熱交換器で前記浴槽の湯水と熱交換した前記貯湯槽の湯水を再び前記貯湯槽へ戻すように前記熱交換器と前記貯湯槽とに接続された熱交戻り管と、前記貯湯槽と前記熱交換器で湯水を循環させる第1の搬送ポンプと、前記浴槽と前記熱交換器で湯水を循環させる第2の搬送ポンプとを備え、前記開閉弁を閉じ、前記混合弁を前記高温水供給管からの湯水よりも前記低温水供給管からの水を優先して給湯管へ供給する開度に調整し、かつ、前記第1の搬送ポンプと前記第2の搬送ポンプを動作させ、前記熱回収運転を行うことを特徴とする請求項1〜7のいずれか1項に記載の給湯装置。 A hot water supply pipe connected to the hot water storage tank, a high temperature water supply pipe connected to supply hot water of the hot water storage tank, and a lower part of the hot water storage tank or the water supply pipe to supply low temperature water. A low-temperature water supply pipe, a mixing valve for connecting the high-temperature water supply pipe and the low-temperature water supply pipe to the inlet side to mix the high-temperature water and the low-temperature water, the heat exchanger and the bathtub A bathtub circulation pipe connected to circulate hot water, a hot water pipe connected to the outlet side of the mixing valve and the bathtub circulation pipe to supply hot water of a predetermined temperature to the bathtub, and the hot water pipe An on-off valve connected in the middle of the hot water, a hot water branch pipe branched upstream of the on-off valve and connected to the heat exchanger, and hot water of the hot water tank that exchanged heat with hot water of the bathtub by the heat exchanger Connected to the heat exchanger and the hot water tank so as to return it to the hot water tank again. A heat transfer return pipe, a first transfer pump that circulates hot water in the hot water storage tank and the heat exchanger, and a second transfer pump that circulates hot water in the bathtub and the heat exchanger. The valve is closed, the mixing valve is adjusted to an opening degree that supplies water from the low-temperature water supply pipe to the hot water pipe with priority over hot water from the high-temperature water supply pipe, and the first transport pump and The hot water supply apparatus according to any one of claims 1 to 7, wherein the second recovery pump is operated to perform the heat recovery operation. 前記高温水供給管と連通し、前記貯湯槽の略上部に接続された第1の出湯管と、前記貯湯槽の上下方向において前記第1の出湯管が接続された位置と前記給水管が接続された位置との間に接続された第2の出湯管とを備え、前記熱交戻り管は、前記貯湯槽の上下方向において、前記第2の出湯管の前記貯湯槽の接続位置よりも高い位置で、前記貯湯槽に接続されていることを特徴とする請求項8に記載の給湯装置。 The hot water supply pipe communicates with the first hot water pipe connected to substantially the upper portion of the hot water storage tank, and the position where the first hot water discharge pipe is connected in the vertical direction of the hot water tank and the water supply pipe is connected. A second hot water pipe connected between the hot water storage tank and the heat exchange return pipe in a vertical direction of the hot water storage tank is higher than a connection position of the hot water storage tank of the second hot water pipe. The hot water supply apparatus according to claim 8, wherein the hot water supply apparatus is connected to the hot water storage tank at a position.
JP2011169846A 2011-08-03 2011-08-03 Water heater Active JP5879504B2 (en)

Priority Applications (1)

Application Number Priority Date Filing Date Title
JP2011169846A JP5879504B2 (en) 2011-08-03 2011-08-03 Water heater

Applications Claiming Priority (1)

Application Number Priority Date Filing Date Title
JP2011169846A JP5879504B2 (en) 2011-08-03 2011-08-03 Water heater

Publications (2)

Publication Number Publication Date
JP2013032893A true JP2013032893A (en) 2013-02-14
JP5879504B2 JP5879504B2 (en) 2016-03-08

Family

ID=47788902

Family Applications (1)

Application Number Title Priority Date Filing Date
JP2011169846A Active JP5879504B2 (en) 2011-08-03 2011-08-03 Water heater

Country Status (1)

Country Link
JP (1) JP5879504B2 (en)

Cited By (2)

* Cited by examiner, † Cited by third party
Publication number Priority date Publication date Assignee Title
JP2014156987A (en) * 2013-02-18 2014-08-28 Rinnai Corp Heat pump system
JP2016031227A (en) * 2014-07-25 2016-03-07 株式会社デンソー Hot water storage water heater

Citations (5)

* Cited by examiner, † Cited by third party
Publication number Priority date Publication date Assignee Title
JP2004257692A (en) * 2003-02-27 2004-09-16 Matsushita Electric Ind Co Ltd Water heater
JP2005133973A (en) * 2003-10-28 2005-05-26 Matsushita Electric Ind Co Ltd Heat pump water heater
JP2009198115A (en) * 2008-02-22 2009-09-03 Mitsubishi Electric Corp Hot water storage type hot water supply system and control method of hot water storage type hot water supply system
JP2010014293A (en) * 2008-07-01 2010-01-21 Denso Corp Hot water supply device
JP2010117054A (en) * 2008-11-11 2010-05-27 Denso Corp Water heater

Patent Citations (5)

* Cited by examiner, † Cited by third party
Publication number Priority date Publication date Assignee Title
JP2004257692A (en) * 2003-02-27 2004-09-16 Matsushita Electric Ind Co Ltd Water heater
JP2005133973A (en) * 2003-10-28 2005-05-26 Matsushita Electric Ind Co Ltd Heat pump water heater
JP2009198115A (en) * 2008-02-22 2009-09-03 Mitsubishi Electric Corp Hot water storage type hot water supply system and control method of hot water storage type hot water supply system
JP2010014293A (en) * 2008-07-01 2010-01-21 Denso Corp Hot water supply device
JP2010117054A (en) * 2008-11-11 2010-05-27 Denso Corp Water heater

Cited By (2)

* Cited by examiner, † Cited by third party
Publication number Priority date Publication date Assignee Title
JP2014156987A (en) * 2013-02-18 2014-08-28 Rinnai Corp Heat pump system
JP2016031227A (en) * 2014-07-25 2016-03-07 株式会社デンソー Hot water storage water heater

Also Published As

Publication number Publication date
JP5879504B2 (en) 2016-03-08

Similar Documents

Publication Publication Date Title
JP5126345B2 (en) Hot water storage hot water supply system
JP5919475B2 (en) Water heater
JP5909637B2 (en) Water heater
JP2013032863A (en) Water heater
JP5879504B2 (en) Water heater
JP2013036708A (en) Water heater
JP5163822B1 (en) Water heater
JP5126433B1 (en) Water heater
JP5903654B2 (en) Water heater
JP6628643B2 (en) Hot water supply system
JP5948602B2 (en) Water heater
JP2013032892A (en) Hot water supply apparatus
JP2013036709A (en) Water heating apparatus
JP5126431B1 (en) Water heater
JP5903540B2 (en) Water heater
JP5942087B2 (en) Water heater
JP5934907B2 (en) Water heater
JP5927495B2 (en) Water heater
JP6111409B2 (en) Water heater
JP2013024533A (en) Water heater
JP5942088B2 (en) Water heater
JP5942089B2 (en) Water heater
JP5919492B2 (en) Water heater
JP5927494B2 (en) Water heater
JP2013032865A (en) Water heater

Legal Events

Date Code Title Description
A621 Written request for application examination

Free format text: JAPANESE INTERMEDIATE CODE: A621

Effective date: 20140312

RD01 Notification of change of attorney

Free format text: JAPANESE INTERMEDIATE CODE: A7421

Effective date: 20140414

A711 Notification of change in applicant

Free format text: JAPANESE INTERMEDIATE CODE: A711

Effective date: 20141007

A977 Report on retrieval

Free format text: JAPANESE INTERMEDIATE CODE: A971007

Effective date: 20141120

A131 Notification of reasons for refusal

Free format text: JAPANESE INTERMEDIATE CODE: A131

Effective date: 20141202

A521 Request for written amendment filed

Free format text: JAPANESE INTERMEDIATE CODE: A523

Effective date: 20150130

A131 Notification of reasons for refusal

Free format text: JAPANESE INTERMEDIATE CODE: A131

Effective date: 20150519

A521 Request for written amendment filed

Free format text: JAPANESE INTERMEDIATE CODE: A523

Effective date: 20150702

TRDD Decision of grant or rejection written
A01 Written decision to grant a patent or to grant a registration (utility model)

Free format text: JAPANESE INTERMEDIATE CODE: A01

Effective date: 20150908

A61 First payment of annual fees (during grant procedure)

Free format text: JAPANESE INTERMEDIATE CODE: A61

Effective date: 20150921

R151 Written notification of patent or utility model registration

Ref document number: 5879504

Country of ref document: JP

Free format text: JAPANESE INTERMEDIATE CODE: R151