JP2013031663A - 血管の融着および切断のための器具 - Google Patents

血管の融着および切断のための器具 Download PDF

Info

Publication number
JP2013031663A
JP2013031663A JP2012171781A JP2012171781A JP2013031663A JP 2013031663 A JP2013031663 A JP 2013031663A JP 2012171781 A JP2012171781 A JP 2012171781A JP 2012171781 A JP2012171781 A JP 2012171781A JP 2013031663 A JP2013031663 A JP 2013031663A
Authority
JP
Japan
Prior art keywords
arm
knife
electrode
instrument
blood vessel
Prior art date
Legal status (The legal status is an assumption and is not a legal conclusion. Google has not performed a legal analysis and makes no representation as to the accuracy of the status listed.)
Granted
Application number
JP2012171781A
Other languages
English (en)
Other versions
JP5687663B2 (ja
Inventor
Juergen Hiller
ヒラー ユルゲン
Ralf Kuehner
クーナー ラルフ
Thomas Baur
バウアー トマス
Viktoria Rydzewski
ライデュースキ ビクトリア
Current Assignee (The listed assignees may be inaccurate. Google has not performed a legal analysis and makes no representation or warranty as to the accuracy of the list.)
Erbe Elecktromedizin GmbH
Original Assignee
Erbe Elecktromedizin GmbH
Priority date (The priority date is an assumption and is not a legal conclusion. Google has not performed a legal analysis and makes no representation as to the accuracy of the date listed.)
Filing date
Publication date
Application filed by Erbe Elecktromedizin GmbH filed Critical Erbe Elecktromedizin GmbH
Publication of JP2013031663A publication Critical patent/JP2013031663A/ja
Application granted granted Critical
Publication of JP5687663B2 publication Critical patent/JP5687663B2/ja
Expired - Fee Related legal-status Critical Current
Anticipated expiration legal-status Critical

Links

Images

Classifications

    • AHUMAN NECESSITIES
    • A61MEDICAL OR VETERINARY SCIENCE; HYGIENE
    • A61BDIAGNOSIS; SURGERY; IDENTIFICATION
    • A61B18/00Surgical instruments, devices or methods for transferring non-mechanical forms of energy to or from the body
    • A61B18/04Surgical instruments, devices or methods for transferring non-mechanical forms of energy to or from the body by heating
    • A61B18/12Surgical instruments, devices or methods for transferring non-mechanical forms of energy to or from the body by heating by passing a current through the tissue to be heated, e.g. high-frequency current
    • A61B18/14Probes or electrodes therefor
    • A61B18/1442Probes having pivoting end effectors, e.g. forceps
    • A61B18/1445Probes having pivoting end effectors, e.g. forceps at the distal end of a shaft, e.g. forceps or scissors at the end of a rigid rod
    • AHUMAN NECESSITIES
    • A61MEDICAL OR VETERINARY SCIENCE; HYGIENE
    • A61BDIAGNOSIS; SURGERY; IDENTIFICATION
    • A61B17/00Surgical instruments, devices or methods
    • A61B17/32Surgical cutting instruments
    • A61B17/3209Incision instruments
    • A61B17/3211Surgical scalpels, knives; Accessories therefor
    • AHUMAN NECESSITIES
    • A61MEDICAL OR VETERINARY SCIENCE; HYGIENE
    • A61BDIAGNOSIS; SURGERY; IDENTIFICATION
    • A61B18/00Surgical instruments, devices or methods for transferring non-mechanical forms of energy to or from the body
    • A61B18/18Surgical instruments, devices or methods for transferring non-mechanical forms of energy to or from the body by applying electromagnetic radiation, e.g. microwaves
    • AHUMAN NECESSITIES
    • A61MEDICAL OR VETERINARY SCIENCE; HYGIENE
    • A61BDIAGNOSIS; SURGERY; IDENTIFICATION
    • A61B17/00Surgical instruments, devices or methods
    • A61B17/32Surgical cutting instruments
    • A61B17/3209Incision instruments
    • A61B17/3211Surgical scalpels, knives; Accessories therefor
    • A61B2017/32113Surgical scalpels, knives; Accessories therefor with extendable or retractable guard or blade
    • AHUMAN NECESSITIES
    • A61MEDICAL OR VETERINARY SCIENCE; HYGIENE
    • A61BDIAGNOSIS; SURGERY; IDENTIFICATION
    • A61B18/00Surgical instruments, devices or methods for transferring non-mechanical forms of energy to or from the body
    • A61B2018/00315Surgical instruments, devices or methods for transferring non-mechanical forms of energy to or from the body for treatment of particular body parts
    • A61B2018/00345Vascular system
    • A61B2018/00404Blood vessels other than those in or around the heart
    • A61B2018/00428Severing
    • AHUMAN NECESSITIES
    • A61MEDICAL OR VETERINARY SCIENCE; HYGIENE
    • A61BDIAGNOSIS; SURGERY; IDENTIFICATION
    • A61B18/00Surgical instruments, devices or methods for transferring non-mechanical forms of energy to or from the body
    • A61B2018/00571Surgical instruments, devices or methods for transferring non-mechanical forms of energy to or from the body for achieving a particular surgical effect
    • A61B2018/00607Coagulation and cutting with the same instrument
    • AHUMAN NECESSITIES
    • A61MEDICAL OR VETERINARY SCIENCE; HYGIENE
    • A61BDIAGNOSIS; SURGERY; IDENTIFICATION
    • A61B18/00Surgical instruments, devices or methods for transferring non-mechanical forms of energy to or from the body
    • A61B2018/00571Surgical instruments, devices or methods for transferring non-mechanical forms of energy to or from the body for achieving a particular surgical effect
    • A61B2018/0063Sealing
    • AHUMAN NECESSITIES
    • A61MEDICAL OR VETERINARY SCIENCE; HYGIENE
    • A61BDIAGNOSIS; SURGERY; IDENTIFICATION
    • A61B18/00Surgical instruments, devices or methods for transferring non-mechanical forms of energy to or from the body
    • A61B18/04Surgical instruments, devices or methods for transferring non-mechanical forms of energy to or from the body by heating
    • A61B18/12Surgical instruments, devices or methods for transferring non-mechanical forms of energy to or from the body by heating by passing a current through the tissue to be heated, e.g. high-frequency current
    • A61B18/14Probes or electrodes therefor
    • A61B18/1442Probes having pivoting end effectors, e.g. forceps
    • A61B2018/1452Probes having pivoting end effectors, e.g. forceps including means for cutting
    • A61B2018/1455Probes having pivoting end effectors, e.g. forceps including means for cutting having a moving blade for cutting tissue grasped by the jaws

Landscapes

  • Health & Medical Sciences (AREA)
  • Surgery (AREA)
  • Life Sciences & Earth Sciences (AREA)
  • Engineering & Computer Science (AREA)
  • Molecular Biology (AREA)
  • Public Health (AREA)
  • Heart & Thoracic Surgery (AREA)
  • Medical Informatics (AREA)
  • Nuclear Medicine, Radiotherapy & Molecular Imaging (AREA)
  • Animal Behavior & Ethology (AREA)
  • General Health & Medical Sciences (AREA)
  • Biomedical Technology (AREA)
  • Veterinary Medicine (AREA)
  • Physics & Mathematics (AREA)
  • Plasma & Fusion (AREA)
  • Otolaryngology (AREA)
  • Surgical Instruments (AREA)
  • Knives (AREA)

Abstract

【課題】血管を高品質水準で密封および切断できる、血管の融着および切断用の器具を提供する。
【解決手段】血管をクランプするための2つのアーム19、20と、中央に案内されるナイフ21とを持っている。アームのうちの少なくとも1つにおいてナイフを中央に案内する。アームの1つの上端には、内側に突き出た突起38、39があり、組織のクランプ点が2か所となる。アームが閉じられている場合、上部アーム20によって形成される電極と、距離Aを最大にする電極33上の点との距離Aと、突起38、39とアーム20との間の2つの距離Bとが、同じであるか、距離Aよりもわずかに小さくされ、組織の体積が減少する凝結プロセスにおいて、なおも組織が確実に把持される。距離Aは好ましくは、突起38,39から案内スロット31に向かって次第に小さくなっている。凝結幅は絶縁性の突起38、39によって決まり、したがって再現性がよい。
【選択図】図4

Description

本発明は、組織/血管、特に人または動物の患者の生体中の血管のクランプ、密封および切断のための器具に関する。
血管の密封および切断のための器具は原理的に周知である。独国特許出願公開第60226015(T2)号明細書に一例が記載されている。
これらの器具は、遠位端に血管をクランプするための2つのアームを持つツールが配置された、細長いシャフトを備えている。そのうえ、そこには長手方向に調節可能なナイフが備えられていて、把持されて凝結された血管を切断することができる。作動手段を備えたハンドルがシャフトの近位端に配置され、それを用いてアームを閉じてナイフを作動させることができる。アームはその間にクランプした血管を加熱する電極として設計されており、凝結させることにより血管壁を融着することができる。
血管を切断する場合、切断された血管の端部は確実に密封されなければならない。さらに、そうするための条件を満たさなければならない。たとえば周辺の組織を傷つけてはならない。血管の密封は、血管の大きさと血管壁の厚さにはほとんど依存しない。さらには、特に内視鏡または腹腔鏡の適用のために器具が使用される場合には、狭小な空間しかないことを考慮しなければならない。
これらのことより、本発明の目的は、血管を高品質水準で密封および切断できる、血管の融着および切断用の器具を創生することである。
この目的は、請求項1に記載の器具によって達成される。
本発明による器具は、血管の密封および切断に使用される。この器具には2つのアームがあり、その少なくとも一方がもう一方に対して移動可能なように、好ましくは枢動可能なように取り付けられている。2つのアームは器具のシャフトに対して移動可能なように取り付けられていてもよい。また、一方のアームがシャフトに固定されていて、もう一方が動けるように取り付けられていてもよい。後者が現状では好ましい。アームは、一様でない組織を容易に把持できるように取り付けられている。
第1のアームは、例えばセラミックや好適なプラスチックでできた電気絶縁性の基体を持っており、電極やナイフの案内スロット用の溝状のリセスを持っている。溝状のリセスは、電極形状に合わせられている。電極は凹型のリセスを有している。例えば、円筒型のシェル型に設計されている。ただし、U型断面をした直線的突出部であってもよい。さらには、平坦電極であってもよい。好ましくは、肉厚の小さい板状の部分で形成されていて、基体に固定することで必要な機械的安定性が備えられている。
電極は、電気的接続手段を介してシャフトを貫通する線に接続されている。接続手段は好ましくは絶縁された電気導体である。これは基体にある好適な溝または通路を通って延び、例えば第2のアームが第1のアームに対して可動的に取り付けられている接合部の近くで、基体の外側に沿って延びることができる。基体にはこの目的のために、長手方向に延びるリセスがあって、その内部に線が配置されるようになっていてもよい。これにより、器具のヘッドが外部断面積の最大値を超えないようにして、例えば腹腔鏡に使用する器具をトロカールを通して挿入することができる。
電気導体としては、銀やチタンなどの生体適合性のある材料が使用されるのが好ましい。導体は、ストリップ状の丸線、中空線、平線や網組などとして設計される。
ナイフは、少なくとも基体の案内スロット内部では正確に案内される。ここでナイフは好ましくは電極の中央でかつ第2のアームの中央に案内されて、長手方向のスロット内に入り、そこで動かすことができる。前方に押し出すと、ナイフは少なくとも部分的に第2のアームの長手方向スロットによって案内される。
ナイフを正確に案内することによって、血管を切断する場合に、その前に融着した血管領域の中央を確実に切断することができる。こうして、分離された血管の両端の融着部が均等な長さとなる。正確に中央で切断されないことによる予期しない出血の危険性が最小化される。
ナイフには好ましくは、相互にしっかりと接続された案内片とブレードがある。案内片は好ましくは、例えばプラスチックのレールの形をした、ナイフの移動方向に細長く延びた要素である。それはブレードの金属に接続することができる。ただし、ブレードも、セラミック、ダイアモンド、プラスチックやその他の材料であってもよい。案内片は、代わりに金属であってもよい。また、ブレードの厚い部分で案内片を形成して、案内片とブレードが1つの継ぎ目のないユニットであってもよい。ただし、2つの部分から構成される構造が好ましい。
案内スロット及び/又は長手スロット内におけるナイフの横方向のあそびは、好ましくはブレードの厚さの5倍より小さい。ナイフの横方向のあそびは、好ましくは、最大でブレードの厚さとほぼ同じくらいである。そのようにすればナイフの正確な中心案内、およびそれによる融着組織領域における切断の中心案内が可能となる。ナイフの横方向の案内は案内スロットによって提供することができる。ナイフの横方向の案内を代わりに長手スロットによって提供することもできる。横方向案内は好ましくは、案内スロットと長手スロットの両方で提供される。
ここでナイフの横方向のあそびは、ナイフを中央位置に置いた場合の、案内スロットまたは長手スロットの側面からの案内片の両側面への距離として理解される。こうしてナイフの横方向の可動幅は、遊びの2倍に対応する。
ナイフは好ましくは、電極に対向して接する、直線的かつ長手方向に延びた摺動端を持っている。この摺動端は比較的短く、好ましくはナイフの刃先に直接繋がっている。したがって、2つのアームで把持された血管は全断面に亘って確実に切断され、切断残りの組織がないようになっている。
刃先は好ましくはナイフの先端に配置される。好ましくはナイフの移動方向に対して斜めになっている。この角度は鋭角であってよい。刃先は好ましくはまっすぐで、案内片の方向にのびている。案内片は好ましくは刃先より突き出ていて、切断予定の血管部分がナイフ上に押し出されて、切断によってなくならないようになっている。
第2のアームは、少なくとも電極に面する側が導電面になっている。第2のアームが非金属材料でできている場合には、この面は薄い電極板で形成することができる。ただし、第2のアームは固体金属であることが望ましい。これとは別に、第2のアームは電極に面する側に電極形状に倣う形状を持っている。すなわち、電極と第2のアームの間に、実質的に一定のギャップ幅または中心に向かって小さくなるような空隙が形成されている。それとは無関係に、第2のアームの表面は、たとえば、うねがついていたり、毛羽立っていたり、またはそのほかの形の表面形状がついていたりしてもよい。電極にもまた表面の形状がついていてもよい。仮に電極と第2のアームの表面形状が異なっていたとしても、好ましくは相互に一致または相互に追従する基本形状があって、中央に向かって減少するギャップ幅を持つ空隙が画定されるようになっていることが望ましい。
電極を第1のアームに固定する保持手段は、好ましくはリセスの上端の相向かい合う部分に形成されている。この保持手段は、好ましくは例えば基体と同じ材料でできた電気絶縁性の突起で形成される。この保持手段は好ましくは第2のアームの方向に延びており、したがって、電極の上端を覆うようになっている。器具が閉じられている場合、この突起は好ましくは第2のアームとの間に距離Bのギャップを画定する。これは最大でも、保持手段近くでの空隙の幅Aに等しい。
クランプされる血管の組織は、第2のアームとこの突起との間で把持され、この場合には突起が電気的に絶縁されているために凝結は起きない。組織の特性によってアームが対称的に閉じない場合にも、組織が確実に把持される。たとえば、長さ方向に断面積が変化している血管を把持したとすると、横方向距離Bが違う値となり、つまり大きさが違うことになる。しかしながら、血管はしっかりと把持される。アームと電極との間で把持された組織が熱や凝結の作用によって収縮して、その地点でのクランプ効果が減少したとしても、血管の滑りは確実に防止される。こうして、血管が横に滑って、その結果その後のナイフの動作時に不適切な地点で血管を切断するということが、確実に防止できるようになっている。
たとえば突起により形成された保持手段は2つの機能を持っている。すなわち、電極を保持し、かつ血管の把持を改良する。
好ましくはスペーサ手段が第1と第2のアームの間に設けられている。このスペーサ手段は、第2のアームが電極に接触して短絡することを防止する。さらに、スペーサ手段は意図しない過大な圧力が血管にかかって潰してしまうことを防止する。スペーサ手段は好ましくは金属突起で形成されていて、その反対側に非金属の限界留め具が割り当てられている。金属突起は好ましくは電源に接続されている。つまり電極または第2のアームに接続されている。これは、生体組織が突起と割り当てられた接触面との間に入ると起こりうる、無用なエラーを防止する。突起が対向電極の付近に配置されている場合には、電源への接続によって把持された生体組織の中を特定の電流が流れ、その結果組織が収縮して、第2のアームと電極との間の所望の最小距離の設定をそれ以上には妨げない。これとは別の設計例では、スペーサ手段が電気導体ではない材料で形成されていてもよい。アーム同士の間の短絡の危険性はこれにより低減される。これによって追加的に、凝結領域の拡大が可能となる。
本発明のさらなる有利な実施形態の詳細は、以下の説明、従属クレームまたは図面から明らかとなる。
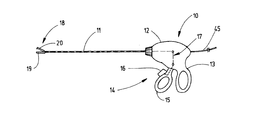
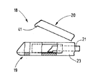
本発明による器具の概略図である。 器具のアームとナイフの概略側面図である。 図2によるアームとナイフの部分切欠図である。 ツールを閉じた状態で単純化して概略表示した、長手軸方向から見たアームとナイフの垂直断面図である。 本発明による器具のヘッドの斜視図である。 長手軸方向から見た基体とナイフを単純化して表した、概略垂直断面図である。
図1は、人体または動物の体に対して手術をする際に、血管を例えばクランプし、融着し、または切断することに利用可能な器具10を示す。器具10は特に内視鏡手術に利用される。これは近位端でハウジング12に保持された細いシャフト11を備えている。ハウジングには、例えばハンドル13ならびに作動要素14の操作手段がある。これは、例えば枢動可能なハンドル部15及び/又は作動ボタンまたはレバー16、ならびに、例えば必要な場合には電気スイッチなどのさらなる要素を備えていてもよい。作動要素14は、図1に鎖線で概略的にのみ示した力伝達手段17を介して、シャフト11の遠位端に配置されている応用部18へ接続されている。この応用部すなわち外科器具のヘッド18は、第1のアーム19、第2のアーム20、およびナイフ21の、図2と3に示されている要素を少なくとも備えている。アーム19、20は相互に近づく方向に移動して血管をクランプし、両者の間に血管をしっかりと把持するように使用される。ナイフ21は血管を切断するために使用される。
この設計例においては、アーム19はシャフト11に固定されていて、アーム20が、ハンドル部15の操作によってアーム19に近づいたり離れたりするように旋回することができる。これに対し、ナイフ21は、図2の矢印22で示すように、作動ボタン16を作動させることによって、シャフト11の長手方向に押し出される。
アーム19には複数の部品がある。例えば、特に図4でわかるように、プラスチックまたはセラミックでできた基体23がある。基体23はシャフト側の端部がシャフト11に固定的に接続されており、そのために図5から分かるように肩部24を持っている。そこから細長い基体23が出てきて反対方向へ延び、そこにまずナイフ21用の案内スロットがある。細長い丸い基体23を貫通して長手方向に延びる案内スロット25には2つの側面26、27がある。それはある距離を置いて互いに平行に向かい合っていて、その間にナイフを案内する。これを具体的に図6に示す。ここで中心位置にあるナイフ21はスロットの各側面26、27からあそびSとして示される距離だけ離れている。この距離は好ましくは最大で、ナイフ21の厚さDほどである。
このナイフはブレード28を含み、その上端にはガイド片29が備えられている。ここでDはガイド片21の厚さとして定義される(図6)。厚さDKはブレード28の厚さである。あそびSは好ましくは厚さDKの5倍を超えない値である。より好ましくは、厚さDKはあそびSの2倍以下である。つまり、ナイフ21は、最大でSの2倍の距離で、側面26、27の間を前後に移動可能である。理想的な場合、厚さDKはあそびS以下である。
ナイフ21は好ましくは、例えばブレード28上に配置された摺動端28aを有し、これはアーム19の基体に沿って摺動可能であり、またナイフを垂直に保持して案内する(図2)。その結果、下の刃先28c(図4、5)に接するブレード28の尖端28bは電極33沿いに、すなわち電極からの近接位置を摩耗なしに移動することができる。
第2のアームが基体23に対して枢動可能に取り付けられる軸受領域、すなわちヒンジ領域30が、まっすぐに延びた案内スロット25に繋がっている。アーム20は、図5には詳細が示されていないが、力伝達手段17に接続されていて、基体23の直交方向に配置されている軸を中心に旋回できるようになっている。
案内スロット25は、長手スロット31としてアーム20に繋がっている。長手スロット31は、少なくとも下向き、つまり基体23に向かう下方向へ開放されている。その幅は好ましくは、少なくとも案内スロット25の幅にほぼ等しくなっている。長手スロット31のスロット側面52、53は、互いに平行な平坦面である。これらの側面が、ナイフ21と共にあそびの寸法S1を画定する。前述のあそびSに関する事柄がここにも当てはまる。
基体23には、アーム20の下に溝型または樋型のリセス32があり、その中に電極33が配置されている。電極33は本設計実施例では、円筒皿型の薄いプレート状に形成されている。これは、アーム19に対向する側に、好ましくは凹面で閉じられた滑らかな曲面を持っている。この電極33はここではリセス32のほぼ全長に亘って存在し、基体23の先端の領域34だけが覆われないようになっている。この電極33の保持手段37が、基体23の上端35、36に配置されている。この手段は図4に示すように、絶縁材料でできていて、好ましくは基体23と一体の部品となっている、スナップ留め突起38、39として形成されている。このスナップ留め突起38、39は、電極33の上端をつかむ保持用の耳となっている。その長さは好ましくは電極33の厚さを幾分超えるようになっていて、露出された電極面よりも少し突き出ている。
上部アーム20には電極33に対向する下側に、電極33の形状に倣った電極面40がある。例えば、電極33が円筒皿の形状をしていれば、電極面40は同様に少し半径の小さい円弧状となっている。この基本形状とは別に、電極33と電極面40はいずれも局所的に形状が違って、窪み、突起、けば、リブなどとなっていてもよい。
第2のアーム20の遠位端には、基体23方向に延びる鼻状の突起41があって、器具が閉じているときには基体23の端部領域34に固定されている。この状態において、電極面40と電極33の内側との間に空隙の幅Aが画定される。この幅Aは好ましくは、突起38/39と電極面40またはそれに隣接するアーム20の側面42、43との間の距離Bよりも、少なくともわずかに大きい。
電極33は、図4、5からわかるように、電気導体44を介して電源へ接続されている。導体44はここではまずシャフト11を通ってハウジング12へ入り、そこから詳細は示されていないがスイッチへ行き、次に供給ライン45を通って電源装置へ至る。
詳細は示されていないが、同様にして導体がアーム20から装置へ延びている。導体44は、例えば絶縁物46を備えた丸ワイヤなどであってよい。それが、電極33と基体23のほぼ中央の地点で電極33に接続されている。特にヒンジ領域30において、導体44は基体23の外側にある側方開放部47を通り、長手方向のリセス49を肩部24まで延びる。その地点で導体44はシャフト11に入る。導体44は具体的には絶縁された銀線であってよい。
以上説明した器具は、以下のように作用する。
血管を密封、切断するために、アーム19と20の間で把持される。ハンドル部15を動作させると、アーム19と20が互いに近づく方向に移動して血管がクランプされ、血管壁が押しつぶされる。ここで、具体的には電極面40と電極33との間で、血管壁が押しつぶされる。血管壁はさらには、突起38、39と電極面40または側面42、43との間でも把持される。理想的には、突起41が基体23の領域34上にあってスラスト軸受として作用し、血管が破砕されることを防止する。
アーム20と電極33の間に、電流または電圧、好ましくは高周波電圧をかけると、凝結プロセスが開始される。その過程において、血管壁の細胞が開き、タンパク質が開放されて変性する。アーム20と電極33との間で把持され、相互に圧力を加えられた血管壁は接着する。この過程において血管壁は体積が減少する。血管壁の体積の収縮とは無関係に、突起38、39とアーム20との間で把持された部分の血管は、少なくとも実質的に正常状態を維持し、したがって、ほとんど収縮しない。その部分はしっかりと把持されたままであり、血管が横にずれることを防止する。これは比較的小さい血管を密封する際には特に重要である。
ただし、残余の組織が突端41とスラスト軸受として作用する領域34の間に入った場合には、空隙距離Aは実際に意図したものよりも少し大きくなる。この場合には、狭い空隙Bが血管の横滑りに対する安全装置として働く。さらに、突端41と電極33の先端48との間の距離は非常に小さくて、そこにある組織はすべて凝結して収縮する。これもまたアーム19と20の間に組織を信頼性良く把持することに役立つ。
凝結プロセスが十分に進めば、外科医は、例えばボタン16を動作させてナイフを作動させることができる。そうすると、案内スロット25と長手スロット31によって中央に案内されて、ナイフがアーム19、20の開放端へ押し出される。ここで、ナイフ21は図4に一点鎖線で示された中心面M内にほぼ正確に載っており、両端が密封された血管領域が、確実にナイフ21の両側に同じ長さだけあるようにされる。その結果、中心を外れた位置での切断の危険性、及びそれによる制御されない出血の危険性が最小化される。
好ましくは、侵襲性が最小の手術に好適であり、例えばトロカールを通して身体内に導入可能である器具10が、血管をクランプするための2つのアーム19,20と、中央に案内されるナイフ21とを持っている。アーム19、20のうちの少なくとも1つにおいて、ナイフを中央に案内することにより、他の方法で凝結組織を中心から外れて切断することによって発生する不利な状況を防ぐことができる。さらに、ナイフ21を正確に中央に案内することで、ナイフの摩耗が低減される。このように本発明は、より良好な切断品質と、ナイフ21のより長い使用寿命を確保する。
アームの1つは好ましくはセラミック基体23を有し、その上端には、内側に突き出た、アンダーカット形状の突起38、39がある。これらの電気的に絶縁された突起は、中心面Mの方向に延びており、2つの改良点を提供する。一方では、電極33の組立が実質的に支援される。他方では、組織のクランプ点が2か所となる。アーム20、19が閉じられている場合、上部アーム(20)によって形成される電極と、距離Aを最大にする電極(33)上の点との距離(A)と、突起(38、39)とアーム(20)との間の2つの距離Bとが、同じであるか、ほぼ同じであるか、距離Aよりもわずかに小さくなるように、突起は形成されてもよい。これは、凝結領域において組織の体積が減少する凝結プロセスにおいて、なおも組織が確実に把持されるという利点を持っている。距離Aは好ましくは、突起38,39から案内スロット31に向かって次第に小さくなっている。本発明の器具では、凝結幅は絶縁性の突起38、39によって決まり、したがって再現性がよい。このことが凝結品質を著しく向上させる。
10 器具
11 シャフト
12 ハウジング
13 ハンドル
14 作動要素
15 ハンドル部
16 作動ボタンまたはレバー
17 力伝達手段
18 作用部、ヘッド
19 第1のアーム
20 第2のアーム
21 ナイフ
22 矢印
23 基体
24 肩部
25 案内スロット
26,27 スロット側面
S 25と21の間のあそび
D ナイフ21の厚さ
DK ブレード28の厚さ
28 ブレード
28a 摺動端
28b 尖端
28c 刃先
29 案内片
30 ヒンジ領域
31 長手スロット
81 31と21の間のあそび
32 リセス
33 電極
34 基体23の端部領域
35,36 上端
37 保持手段
38,39 スナップ留め突起
40 電極面
41 突起
A 33と40の間の空隙の幅
B 38、39と40との間の距離
42,43 アーム20の側面
44 導体
45 供給ライン
46 絶縁物
47 基体23内の側方開放部
48 33の先端
M 中心面
49 長手方向リセス
52,53 31のスロット側面

Claims (15)

  1. 血管の融着および切断用の器具(10)であって、
    溝状のリセス(32)と案内スロット(25)のある電気的に絶縁性の基体(23)を持ち、前記基体(23)上に曲線形状の電極(33)を固定位置に取り付けるための保持手段(37、38、39)が形成されている、第1のアーム(19)と、
    前記電極(33)に近接および離間することができるように前記基体(23)に可動的に取り付けられ、長手方向のスロット(31)を有する、第2のアーム(20)と、
    前記基体(23)の前記案内スロット(25)内で長手方向に移動可能に配置され、かつ前記長手方向スロット(31)内に延伸すなわち長手方向スロットの中へ移動可能であるように配置されたナイフ(21)と、
    を備える器具。
  2. 前記ナイフ(21)は、相互にしっかりと接続されたガイド片(29)とブレード(28)とを備えることを特徴とする、請求項1に記載の器具。
  3. 前記案内スロット(25)内における前記ナイフ(21)の横方向のあそび(S)は前記ブレード(28)の厚さ(D)の5倍より小さいことを特徴とする、請求項2に記載の器具。
  4. 前記ナイフ(28)は、電極(33)に対向して接触する、長手方向に延びた直線状の摺動端(28a)を有することを特徴とする、請求項1に記載の器具。
  5. 前記ナイフ(21)は、前記ナイフ(21)の移動方向に対して斜めを向いた刃先(28c)を先端に有することを特徴とする、請求項1に記載の器具。
  6. 前記ナイフ(21)は、前記電極(33)とは反対側に案内片(29)を有し、前記案内片は基体(23)の前記案内スロット(25)内を長手方向に移動可能に配置され、かつ前記第2のアーム(20)の前記長手スロット(31)の中に突き出るか、またはその中を移動可能であり、また前記案内片が前記基体(23)内、または前記第2のアーム(20)内での前記ナイフ(21)の横方向あそび(S)を決定することを特徴とする、請求項1に記載の器具。
  7. 前記第2のアーム(20)は一体の金属体で形成されていることを特徴とする、請求項1に記載の器具。
  8. 前記第2のアーム(20)は、前記第1のアーム(19)の前記電極(33)に面する側が、前記電極(33)の形状に倣った形状を有することを特徴とする、請求項1に記載の器具。
  9. 前記器具(10)の前記アーム19と20とが閉じている場合、前記電極(33)と前記第2のアーム(20)との間には幅(A)の空隙が画定されることを特徴とする、請求項1に記載の器具。
  10. 前記保持手段(37)は前記リセス(32)の相対向する2つの端部(35、36)上に形成されていることを特徴とする、請求項1に記載の器具。
  11. 前記保持手段(37)は、前記第2のアーム(20)の方向に突き出た、電気絶縁性の突起(38、39)で形成されており、前記器具(10)の前記両アーム19、20が閉じた場合に前記第2のアーム(20)との間に、前記空隙の幅(A)と同じかそれより小さい距離(B)を画定することを特徴とする、請求項9および10に記載の器具。
  12. 前記電極(33)は、前記基体(23)の少なくとも外側の部分に配置された電線(44)を介して電源に接続されていることを特徴とする、請求項1に記載の器具。
  13. 前記基体(23)はハウジング(12)から延びる細長いシャフト(11)へ接続されていて、前記シャフト(11)には、前記第2のアーム(20)及び/又は前記ナイフ(21)を選択的に動かすための力伝達手段(17)があることを特徴とする、請求項1に記載の器具。
  14. 前記第1及び/又は第2のアーム(19、20)上にスペーサ手段が設けられていることを特徴とする、請求項1に記載の器具。
  15. 前記スペーサ手段は、金属製または導電性または電気絶縁性の突起(41)であることを特徴とする、請求項14に記載の器具。
JP2012171781A 2011-08-02 2012-08-02 血管の融着および切断のための器具 Expired - Fee Related JP5687663B2 (ja)

Applications Claiming Priority (2)

Application Number Priority Date Filing Date Title
EP11176289.4A EP2554133B1 (de) 2011-08-02 2011-08-02 Instrument zur Gefäßfusion und -trennung mit zwei Branchen und mit einer gekrümmten Elektrode
EP11176289.4 2011-08-02

Publications (2)

Publication Number Publication Date
JP2013031663A true JP2013031663A (ja) 2013-02-14
JP5687663B2 JP5687663B2 (ja) 2015-03-18

Family

ID=44904682

Family Applications (1)

Application Number Title Priority Date Filing Date
JP2012171781A Expired - Fee Related JP5687663B2 (ja) 2011-08-02 2012-08-02 血管の融着および切断のための器具

Country Status (7)

Country Link
US (1) US9216052B2 (ja)
EP (1) EP2554133B1 (ja)
JP (1) JP5687663B2 (ja)
CN (1) CN102949236B (ja)
BR (1) BR102012019402B1 (ja)
PL (1) PL2554133T3 (ja)
RU (1) RU2515540C2 (ja)

Cited By (1)

* Cited by examiner, † Cited by third party
Publication number Priority date Publication date Assignee Title
JP2014180573A (ja) * 2013-03-15 2014-09-29 Erbe Elektromedizin Gmbh 脈管の融合及び分離のための器具

Families Citing this family (4)

* Cited by examiner, † Cited by third party
Publication number Priority date Publication date Assignee Title
CN102860866A (zh) * 2012-10-10 2013-01-09 邢丽丽 用于熔合和切削血管的装置
US9877782B2 (en) * 2013-03-14 2018-01-30 Ethicon Llc Electrosurgical instrument end effector with compliant electrode
US10314645B2 (en) * 2016-03-16 2019-06-11 Ethicon Llc Surgical end effectors with increased stiffness
CN109807265B (zh) * 2017-12-01 2020-11-17 嘉兴超凡知识产权服务有限公司 一种继电保护小母线剪切钳

Citations (5)

* Cited by examiner, † Cited by third party
Publication number Priority date Publication date Assignee Title
JP2006095316A (ja) * 2004-09-29 2006-04-13 Sherwood Services Ag 細長いナイフストロークと切断機構のための安全装置とを有する、血管シーラーおよび分割器
JP2007075468A (ja) * 2005-09-15 2007-03-29 Sherwood Services Ag 複数電極アレイの端部エフェクタアセンブリを備える双極性鉗子
JP2009148575A (ja) * 2009-01-19 2009-07-09 Covidien Ag 隣接する組織に対する付随的損傷を減少させる電気外科器具
JP2010505478A (ja) * 2006-10-05 2010-02-25 エルベ・エレクトロメディティン・ゲゼルシャフト・ミット・ベシュレンクテル・ハフツング 筒状の軸機器
US20110087221A1 (en) * 2009-10-09 2011-04-14 Tyco Healthcare Group Lp Vessel Sealer and Divider With Captured Cutting Element

Family Cites Families (12)

* Cited by examiner, † Cited by third party
Publication number Priority date Publication date Assignee Title
RU2080094C1 (ru) * 1995-01-16 1997-05-27 Ярослав Петрович Кулик Устройство для лапароскопического рассечения органов и тканей
AU2769399A (en) * 1998-02-17 1999-08-30 James A. Baker Jr. Radiofrequency medical instrument for vessel welding
US6428539B1 (en) * 2000-03-09 2002-08-06 Origin Medsystems, Inc. Apparatus and method for minimally invasive surgery using rotational cutting tool
US6656177B2 (en) * 2000-10-23 2003-12-02 Csaba Truckai Electrosurgical systems and techniques for sealing tissue
ES2348664T3 (es) 2001-04-06 2010-12-10 Covidien Ag Dispositivo obturador y divisor de vasos.
US7270664B2 (en) * 2002-10-04 2007-09-18 Sherwood Services Ag Vessel sealing instrument with electrical cutting mechanism
EP3162309B1 (en) * 2004-10-08 2022-10-26 Ethicon LLC Ultrasonic surgical instrument
US7789878B2 (en) * 2005-09-30 2010-09-07 Covidien Ag In-line vessel sealer and divider
FR2906127B1 (fr) * 2006-09-27 2008-12-26 Guillaume Noury Dispositif de pince electro-chirurgicale
EP2578174B1 (en) * 2006-10-06 2018-07-18 Covidien LP Endoscopic vessel sealer and divider having a flexible articulating shaft
US9498277B2 (en) * 2007-02-01 2016-11-22 Conmed Corporation Apparatus and method for rapid reliable electrothermal tissue fusion and simultaneous cutting
US8512371B2 (en) * 2009-10-06 2013-08-20 Covidien Lp Jaw, blade and gap manufacturing for surgical instruments with small jaws

Patent Citations (5)

* Cited by examiner, † Cited by third party
Publication number Priority date Publication date Assignee Title
JP2006095316A (ja) * 2004-09-29 2006-04-13 Sherwood Services Ag 細長いナイフストロークと切断機構のための安全装置とを有する、血管シーラーおよび分割器
JP2007075468A (ja) * 2005-09-15 2007-03-29 Sherwood Services Ag 複数電極アレイの端部エフェクタアセンブリを備える双極性鉗子
JP2010505478A (ja) * 2006-10-05 2010-02-25 エルベ・エレクトロメディティン・ゲゼルシャフト・ミット・ベシュレンクテル・ハフツング 筒状の軸機器
JP2009148575A (ja) * 2009-01-19 2009-07-09 Covidien Ag 隣接する組織に対する付随的損傷を減少させる電気外科器具
US20110087221A1 (en) * 2009-10-09 2011-04-14 Tyco Healthcare Group Lp Vessel Sealer and Divider With Captured Cutting Element

Cited By (3)

* Cited by examiner, † Cited by third party
Publication number Priority date Publication date Assignee Title
JP2014180573A (ja) * 2013-03-15 2014-09-29 Erbe Elektromedizin Gmbh 脈管の融合及び分離のための器具
KR101619583B1 (ko) * 2013-03-15 2016-05-10 에에르베에 엘렉트로메디찐 게엠베하 혈관 융합 및 분리용 기기
US10617464B2 (en) 2013-03-15 2020-04-14 Erbe Elektromedizin Gmbh Instrument for vessel fusion and separation

Also Published As

Publication number Publication date
US20130035687A1 (en) 2013-02-07
RU2515540C2 (ru) 2014-05-10
CN102949236B (zh) 2015-02-18
US9216052B2 (en) 2015-12-22
EP2554133A1 (de) 2013-02-06
BR102012019402A2 (pt) 2015-09-22
EP2554133B1 (de) 2014-01-22
RU2012132977A (ru) 2014-02-10
PL2554133T3 (pl) 2014-05-30
BR102012019402B1 (pt) 2021-04-06
CN102949236A (zh) 2013-03-06
JP5687663B2 (ja) 2015-03-18

Similar Documents

Publication Publication Date Title
EP2345383B1 (en) Electrosurgical instrument reducing current densities at an insulator conductor junction
EP1527747B1 (en) Electrosurgical instrument which reduces collateral damage to adjacent tissue
EP2100567B1 (en) Bipolar cutting end effector
EP1372505B1 (en) Electrosurgical instrument reducing thermal spread
US8961512B2 (en) Electrosurgical instrument
AU2006201480B2 (en) Electrosurgical instrument reducing flashover
JP5739557B2 (ja) 脈管の融合及び分離のための器具
JP5731580B2 (ja) 組織を融合および切断するための器具
AU2001249932A1 (en) Electrosurgical instrument which reduces collateral damage to adjacent tissue
JP5687663B2 (ja) 血管の融着および切断のための器具
AU2001249912A1 (en) Electrosurgical instrument reducing thermal spread
CA2697569C (en) Electrosurgical instrument which reduces collateral damage to adjacent tissue
AU2001247942B2 (en) Electrosurgical instrument reducing flashover
AU2001247942A1 (en) Electrosurgical instrument reducing flashover

Legal Events

Date Code Title Description
A977 Report on retrieval

Free format text: JAPANESE INTERMEDIATE CODE: A971007

Effective date: 20130830

A131 Notification of reasons for refusal

Free format text: JAPANESE INTERMEDIATE CODE: A131

Effective date: 20130910

A601 Written request for extension of time

Free format text: JAPANESE INTERMEDIATE CODE: A601

Effective date: 20131210

A602 Written permission of extension of time

Free format text: JAPANESE INTERMEDIATE CODE: A602

Effective date: 20131213

A521 Request for written amendment filed

Free format text: JAPANESE INTERMEDIATE CODE: A523

Effective date: 20140109

A131 Notification of reasons for refusal

Free format text: JAPANESE INTERMEDIATE CODE: A131

Effective date: 20140617

A521 Request for written amendment filed

Free format text: JAPANESE INTERMEDIATE CODE: A523

Effective date: 20140903

TRDD Decision of grant or rejection written
A01 Written decision to grant a patent or to grant a registration (utility model)

Free format text: JAPANESE INTERMEDIATE CODE: A01

Effective date: 20150113

A61 First payment of annual fees (during grant procedure)

Free format text: JAPANESE INTERMEDIATE CODE: A61

Effective date: 20150122

R150 Certificate of patent or registration of utility model

Ref document number: 5687663

Country of ref document: JP

Free format text: JAPANESE INTERMEDIATE CODE: R150

R250 Receipt of annual fees

Free format text: JAPANESE INTERMEDIATE CODE: R250

R250 Receipt of annual fees

Free format text: JAPANESE INTERMEDIATE CODE: R250

R250 Receipt of annual fees

Free format text: JAPANESE INTERMEDIATE CODE: R250

R250 Receipt of annual fees

Free format text: JAPANESE INTERMEDIATE CODE: R250

R250 Receipt of annual fees

Free format text: JAPANESE INTERMEDIATE CODE: R250

R250 Receipt of annual fees

Free format text: JAPANESE INTERMEDIATE CODE: R250

LAPS Cancellation because of no payment of annual fees