JP2013011663A - Display - Google Patents

Display Download PDF

Info

Publication number
JP2013011663A
JP2013011663A JP2011142989A JP2011142989A JP2013011663A JP 2013011663 A JP2013011663 A JP 2013011663A JP 2011142989 A JP2011142989 A JP 2011142989A JP 2011142989 A JP2011142989 A JP 2011142989A JP 2013011663 A JP2013011663 A JP 2013011663A
Authority
JP
Japan
Prior art keywords
inspection
electrode
substrate
wiring
circuit board
Prior art date
Legal status (The legal status is an assumption and is not a legal conclusion. Google has not performed a legal analysis and makes no representation as to the accuracy of the status listed.)
Withdrawn
Application number
JP2011142989A
Other languages
Japanese (ja)
Inventor
Seisuke Nii
誠介 新居
Current Assignee (The listed assignees may be inaccurate. Google has not performed a legal analysis and makes no representation or warranty as to the accuracy of the list.)
Kyocera Corp
Original Assignee
Kyocera Corp
Priority date (The priority date is an assumption and is not a legal conclusion. Google has not performed a legal analysis and makes no representation as to the accuracy of the date listed.)
Filing date
Publication date
Application filed by Kyocera Corp filed Critical Kyocera Corp
Priority to JP2011142989A priority Critical patent/JP2013011663A/en
Publication of JP2013011663A publication Critical patent/JP2013011663A/en
Withdrawn legal-status Critical Current

Links

Images

Landscapes

  • Liquid Crystal (AREA)
  • Electroluminescent Light Sources (AREA)
  • Devices For Indicating Variable Information By Combining Individual Elements (AREA)

Abstract

【課題】高い作業効率および高い検査精度で欠けもしくはクラックを検査可能な表示装置を提供することである。
【解決手段】本発明に係る表示装置1は、第1主面22aに表示領域Eを有する第2基
板22と、第2基板22の第1主面22a上に集中的に設けられた外部接続用の複数の電極端子WCPと、第2基板22上に第2基板22の外周に沿って1ヶ所で切れた環状に設けられた検査
用配線Tと、検査用配線Tの一方端側に接続された第1検査用電極TP1と、検査用配線T
の他方端側に接続された第2検査用電極TP2とを備えており、第1検査用電極TP1および第2検査用電極TP2は、複数の電極端子WCPとともに集中的に配置されていることを特徴とする。
【選択図】 図1
A display device capable of inspecting a chip or a crack with high work efficiency and high inspection accuracy is provided.
Display device 1 according to the present invention includes a second substrate 22 having a display area E D the first main surface 22a, external provided intensively on the first major surface 22a of the second substrate 22 A plurality of electrode terminals WCP for connection, an inspection wiring T provided in an annular shape on the second substrate 22 along the outer periphery of the second substrate 22, and one end side of the inspection wiring T Connected first inspection electrode TP1 and inspection wiring T
The second inspection electrode TP2 connected to the other end side of the first inspection electrode TP2, and the first inspection electrode TP1 and the second inspection electrode TP2 are intensively arranged together with the plurality of electrode terminals WCP. Features.
[Selection] Figure 1

Description

本発明は、携帯電話、デジタルカメラ、携帯ゲーム機あるいは携帯型情報端末などの様々な用途に用いられる表示装置に関する。   The present invention relates to a display device used for various purposes such as a cellular phone, a digital camera, a portable game machine, or a portable information terminal.

表示装置としては、液晶層を用いた液晶表示装置、発光素子を用いた発光表示装置などが知られている。   As a display device, a liquid crystal display device using a liquid crystal layer, a light emitting display device using a light emitting element, and the like are known.

上記表示装置のうち、例えば液晶表示装置は、互いに対向する一対の基板を備え、該一対の基板間には液晶層が設けられているとともに、一対の基板を接合するためのシール材が設けられている(例えば、特許文献1)。なお、上記一対の基板はガラスもしくはプラスチックなどの透光性材料で形成されている。   Among the above display devices, for example, a liquid crystal display device includes a pair of substrates facing each other, a liquid crystal layer is provided between the pair of substrates, and a sealing material for bonding the pair of substrates is provided. (For example, Patent Document 1). Note that the pair of substrates is formed of a light-transmitting material such as glass or plastic.

近年、表示装置に対して薄型化の要求があり、表示装置の薄型化を実現するために基板自体の厚みを薄くする傾向にある。   In recent years, there has been a demand for a thin display device, and there is a tendency to reduce the thickness of the substrate itself in order to realize a thin display device.

特開2003−167258公報JP 2003-167258 A

しかしながら、基板自体の厚みを薄くすると、基板の強度が低下する。そのため、例えば、表示装置の製造過程での搬送もしくは基板の分断の際に、基板に衝撃が加われば、基板の一部が欠けたり、基板にクラックが発生する可能性がある。特に、これら欠けもしくはクラックは基板の外周で発生しやすい傾向にある。   However, if the thickness of the substrate itself is reduced, the strength of the substrate is reduced. For this reason, for example, when an impact is applied to the substrate during transportation or division of the substrate in the manufacturing process of the display device, a part of the substrate may be chipped or a crack may occur in the substrate. In particular, these chips or cracks tend to occur on the outer periphery of the substrate.

従来、欠けもしくはクラックの検査は目視により行われていたが、目視による検査では作業効率および検査精度が低いという問題があった。   Conventionally, inspection of chipping or cracking has been performed by visual inspection. However, visual inspection has a problem that work efficiency and inspection accuracy are low.

本発明は、上記の問題点に鑑みてなされたものであり、その目的は、高い作業効率および高い検査精度で欠けもしくはクラックを検査可能な表示装置を提供することである。   The present invention has been made in view of the above-described problems, and an object thereof is to provide a display device capable of inspecting a chip or a crack with high work efficiency and high inspection accuracy.

本発明の表示装置は、主面に表示領域を有する基板と、基板の主面上に集中的に設けられた外部接続用の複数の電極端子と、基板上に基板の外周に沿って1ヶ所で切れた環状に設けられた検査用配線と、検査用配線の一方端側に接続された第1検査用電極と、検査用配線の他方端側に接続された第2検査用電極とを備えており、第1検査用電極および第2検査用電極は、複数の電極端子とともに集中的に配置されていることを特徴とする。   The display device of the present invention includes a substrate having a display area on the main surface, a plurality of electrode terminals for external connection provided intensively on the main surface of the substrate, and one location along the outer periphery of the substrate on the substrate. And an inspection wiring provided in a ring shape cut off at the end, a first inspection electrode connected to one end of the inspection wiring, and a second inspection electrode connected to the other end of the inspection wiring. The first inspection electrode and the second inspection electrode are intensively arranged together with a plurality of electrode terminals.

本発明に係る表示装置は、欠けもしくはクラックの検査における作業効率および検査精度を向上させることができる。   The display device according to the present invention can improve working efficiency and inspection accuracy in chip or crack inspection.

本発明の第1の実施形態における表示装置を表す平面図である。It is a top view showing the display apparatus in the 1st Embodiment of this invention. 図1のI−I線に沿った断面図である。It is sectional drawing along the II line | wire of FIG. 図1の表示装置の第2基板を表す平面図である。It is a top view showing the 2nd board | substrate of the display apparatus of FIG. 第2基板の第1接続領域を表す平面図である。It is a top view showing the 1st connection field of the 2nd substrate. 第2基板と第1外部回路基板との接続部分を表す断面図である。It is sectional drawing showing the connection part of a 2nd board | substrate and a 1st external circuit board. 本発明の第2の実施形態における表示装置を表す平面図である。It is a top view showing the display apparatus in the 2nd Embodiment of this invention. 本発明の第3の実施形態における表示装置を表す平面図である。It is a top view showing the display apparatus in the 3rd Embodiment of this invention. 図7の表示装置における第2基板の第1接続領域を表す平面図である。It is a top view showing the 1st connection field of the 2nd substrate in the display of Drawing 7. 本発明の第4の実施形態における表示装置を表す平面図である。It is a top view showing the display apparatus in the 4th Embodiment of this invention. 図9の表示装置における第2基板と第1外部回路基板との接続部分を表す断面図である。It is sectional drawing showing the connection part of the 2nd board | substrate and 1st external circuit board in the display apparatus of FIG. 図1の表示装置の変形例を表す平面図である。It is a top view showing the modification of the display apparatus of FIG.

[実施の形態1]
本発明の第1の実施形態における表示装置1について、図1〜図5を参照しながら説明する。
[Embodiment 1]
A display device 1 according to a first embodiment of the present invention will be described with reference to FIGS.

表示装置1は、表示パネル2と、表示パネル2に電気的に接続された第1外部回路基板PC1と、表示パネル2に向けて光を出射する光源装置3と、表示パネル2上に配置される
第1偏光板4と、表示パネル2と光源装置3との間に配置される第2偏光板5とを備えている。
The display device 1 is disposed on the display panel 2, the first external circuit board PC 1 electrically connected to the display panel 2, the light source device 3 that emits light toward the display panel 2, and the display panel 2. A first polarizing plate 4, and a second polarizing plate 5 disposed between the display panel 2 and the light source device 3.

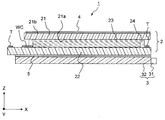
表示パネル2では、第1基板21と第2基板22とが対向配置され、第1基板21と第2基板22との間に液晶層23が設けられ、この液晶層23を取り囲むように第1基板21と第2基板22とを接合するシール材24が設けられている。また、第1外部回路基板PC1は導電性接合部
材BOを介して第2基板22に電気的に接続されている。
In the display panel 2, the first substrate 21 and the second substrate 22 are arranged to face each other, and a liquid crystal layer 23 is provided between the first substrate 21 and the second substrate 22, and the first substrate so as to surround the liquid crystal layer 23. A sealing material 24 that joins the substrate 21 and the second substrate 22 is provided. The first external circuit board PC1 is electrically connected to the second board 22 via the conductive bonding member BO.

第1基板21は、画像表示の際に表示面として用いられる第1主面21aと、第1主面21aとは反対側に位置する第2主面21bとを有している。第1基板21は、例えばガラス、プラス
チックなどの透光性を有する材料によって形成される。第1基板21の第2主面21b上には
、遮光膜、カラーフィルタなどが設けられている。
The first substrate 21 has a first main surface 21a used as a display surface when displaying an image, and a second main surface 21b located on the opposite side of the first main surface 21a. The first substrate 21 is formed of a light-transmitting material such as glass or plastic. On the second main surface 21b of the first substrate 21, a light shielding film, a color filter, and the like are provided.

第2基板22は、第1基板21の第2主面21bに対向する第1主面22aと、第1主面22aの反
対側に位置する第2主面22bとを有している。第2基板22は第1基板21と同様の材料で形
成されている。
The second substrate 22 has a first main surface 22a facing the second main surface 21b of the first substrate 21 and a second main surface 22b located on the opposite side of the first main surface 22a. The second substrate 22 is made of the same material as the first substrate 21.

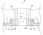
図3に示すように、第2基板22は、第1基板21に重畳する重畳領域EOと、第1基板21
とは重畳しない非重畳領域ENOとを有している。重畳領域EOは画像を表示するための表
示領域EDを含んでいる。非重畳領域ENOは重畳領域EOの外側に位置しており、第1基板21の二つの辺に沿って連続して設けられている。また、非重畳領域ENOは、第1外部回路基板PC1と接続するための第1接続領域EPC1を有する。すなわち、第2基板22における第1接続領域EPC1は第1外部回路基板PC1が対向する領域である。
As shown in FIG. 3, the second substrate 22 includes an overlapping region E O that overlaps the first substrate 21, and the first substrate 21.
And a non-overlapping region E NO that does not overlap. The overlapping area E O includes a display area E D for displaying an image. The non-overlapping area E NO is located outside the overlapping area E O and is provided continuously along the two sides of the first substrate 21. Further, the non-overlapping region ENO has a first connection region E PC1 for connecting to the first external circuit board PC1. That is, the first connection region E PC1 on the second substrate 22 is a region facing the first external circuit substrate PC1.

表示領域EDにおける第2基板22の第1主面22a上には、複数のゲート配線、ゲート絶縁膜、複数のソース配線、複数の薄膜トランジスタ、共通電極、複数の信号電極などが設けられている。 On the first main surface 22a of the second substrate 22 in the display area E D, a plurality of gate lines, the gate insulating film, a plurality of source lines, a plurality of thin film transistors, common electrodes, etc. plurality of signal electrodes are provided .

表示パネル2では、第2基板22に設けられた信号電極と、共通電極との間で電界を発生させて、信号電極と共通電極との間で発生する横電界によって液晶層23中の液晶分子の方向を制御する。なお、表示パネル2は横電界方式を採用しているが、これに限定されるものではなく、例えば縦電界方式を採用してもよい。   In the display panel 2, an electric field is generated between the signal electrode provided on the second substrate 22 and the common electrode, and the liquid crystal molecules in the liquid crystal layer 23 are generated by a lateral electric field generated between the signal electrode and the common electrode. Control the direction of the. The display panel 2 adopts a horizontal electric field method, but is not limited to this, and for example, a vertical electric field method may be adopted.

図3に示すように、非重畳領域ENOにおける第2基板22の第1主面22a上には、配線導
体WC、電極端子WCP、ドライバIC、検査用配線T、第1検査用電極TP1、第2検査用電極TP2が設けられている。また、第2基板22は、第1接続領域EPC1で導電性接合部材BOを介して第1外部回路基板PC1と接続されている。
As shown in FIG. 3, on the first main surface 22a of the second substrate 22 in the non-overlapping region E NO, wiring conductors WC, electrode terminals WCP, the driver IC, inspection wire T, the first inspection electrode TP1, A second inspection electrode TP2 is provided. The second substrate 22 is connected to the first external circuit substrate PC1 through the conductive bonding member BO in the first connection region EPC1 .

配線導体WCは第2基板22の第1主面22a上に設けられている。配線導体WCは、表示パネ
ル2を駆動するための電圧が印加される配線であり、例えば、共通電極、ソース配線、ゲート配線もしくはドライバICなどに接続されている。
The wiring conductor WC is provided on the first main surface 22 a of the second substrate 22. The wiring conductor WC is a wiring to which a voltage for driving the display panel 2 is applied, and is connected to, for example, a common electrode, a source wiring, a gate wiring, or a driver IC.

配線導体WCは導電性を有する材料で形成され、例えば、アルミニウム、モリブデン、チタン、ネオジム、クロム、銅またはこれらを含む合金によって形成されている。なお、配線導体WCはこれら導電性材料を積層させた構造でもよい。   The wiring conductor WC is formed of a conductive material, for example, aluminum, molybdenum, titanium, neodymium, chromium, copper, or an alloy containing these. The wiring conductor WC may have a structure in which these conductive materials are laminated.

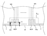
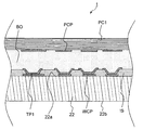
また、電極端子WCPは、配線導体WCを第1外部回路基板PC1に接続させるための外部接続用の端子である。電極端子WCPは、ドライバICから第1接続領域EPC1に延在する配線導体WCの一端側に形成されており、複数の電極端子WCPは第1接続領域EPC1に集中的に配置されている。図4に示すように、複数の電極端子WCPは第1接続領域EPC1内に配置されているとともに、一定方向に沿って配列している。 The electrode terminal WCP is a terminal for external connection for connecting the wiring conductor WC to the first external circuit board PC1. The electrode terminal WCP is formed on one end side of the wiring conductor WC extending from the driver IC to the first connection region E PC1 , and the plurality of electrode terminals WCP are intensively arranged in the first connection region E PC1 . . As shown in FIG. 4, the plurality of electrode terminals WCP are arranged in the first connection region E PC1 and arranged along a certain direction.

電極端子WCPは導電性を有する材料で形成され、配線導体WCと同様の材料で形成しても
よく、図5に示すように上記材料を積層させた構造でもよい。なお、本実施形態における電極端子WCP間には絶縁膜ISが設けられている。
The electrode terminal WCP is formed of a conductive material, may be formed of the same material as the wiring conductor WC, or may have a structure in which the above materials are laminated as shown in FIG. Note that an insulating film IS is provided between the electrode terminals WCP in the present embodiment.

ドライバICはゲート配線、ソース配線などの駆動を制御する機能を有する。ドライバICは、非重畳領域ENOにおける第2基板22の第2主面22a上に位置している。ドライバICは
第1基板21の辺に沿って設けられている。ドライバICには複数の配線導体WCが接続されている。
The driver IC has a function of controlling driving of gate wiring, source wiring, and the like. The driver IC is positioned on the second main surface 22a of the second substrate 22 in the non-overlapping region E NO. The driver IC is provided along the side of the first substrate 21. A plurality of wiring conductors WC are connected to the driver IC.

検査用配線Tは第2基板22の第1主面22a上に設けられている。検査用配線Tは第2基
板22の第1主面22aの外周に沿って1箇所で切れた環状に形成されており、検査用配線T
の切れた部分は第1接続領域EPC1上に位置している。また、検査用配線Tは重畳領域EOおよび非重畳領域ENOの両領域に跨って設けられている。
The inspection wiring T is provided on the first main surface 22 a of the second substrate 22. The inspection wiring T is formed in a ring shape cut at one place along the outer periphery of the first main surface 22a of the second substrate 22, and the inspection wiring T
The broken portion is located on the first connection region E PC1 . Further, the inspection wiring T is provided across both the overlapping region E O and the non-overlapping region E NO .

検査用配線Tは第2基板22の第1主面22aの外周からの距離が例えば200μm以下に設定すると、外周の欠けもしくはクラックを検知しやすくなる。また、検査用配線Tの幅は10μm以下に設定されている。   When the distance from the outer periphery of the first main surface 22a of the second substrate 22 is set to, for example, 200 μm or less, the inspection wiring T can easily detect the outer peripheral chip or crack. Further, the width of the inspection wiring T is set to 10 μm or less.

検査用配線Tは導電性を有する材料によって形成される。検査用配線Tと配線導体WCとを同じ材料を採用すれば、検査用配線Tと配線導体WCとを同一のパターニング工程で形成できるので、表示装置1の製造工程を簡略化できる。   The inspection wiring T is formed of a conductive material. If the same material is used for the inspection wiring T and the wiring conductor WC, the inspection wiring T and the wiring conductor WC can be formed in the same patterning process, so that the manufacturing process of the display device 1 can be simplified.

なお、表示装置1では、検査用配線Tが配線導体WCと同一平面上に形成されているが、これに限定されない。   In the display device 1, the inspection wiring T is formed on the same plane as the wiring conductor WC, but is not limited thereto.

検査用配線Tの一端には第1検査用電極TP1が形成されており、検査用配線Tの他端に
は第2検査用電極TP2が形成されている。なお、表示装置1では、第1検査用電極TP1および第2検査用電極TP2が検査用配線Tの端部に形成されているが、これに限定されない。
すなわち、第1検査用電極TP1が検査用配線Tの一方端部側に形成され、第2検査用電極TP2が検査用配線Tの他方端部側に形成されていればよい。さらに言えば、第1検査用電極
TP1が検査用配線Tのいずれかの部分(第1部分)に形成され、第2検査用電極TP2が検査用配線Tの第1部分とは異なる部分(第2部分)に形成されていればよい。
A first inspection electrode TP1 is formed at one end of the inspection wiring T, and a second inspection electrode TP2 is formed at the other end of the inspection wiring T. In the display device 1, the first inspection electrode TP <b> 1 and the second inspection electrode TP <b> 2 are formed at the end of the inspection wiring T, but the present invention is not limited to this.
That is, it is only necessary that the first inspection electrode TP1 is formed on one end side of the inspection wiring T and the second inspection electrode TP2 is formed on the other end side of the inspection wiring T. Furthermore, the first inspection electrode
If TP1 is formed in any part (first part) of the inspection wiring T and the second inspection electrode TP2 is formed in a part (second part) different from the first part of the inspection wiring T Good.

なお、第1検査用電極TP1および第2検査用電極TP2は、検査用配線Tと同様の材料で形成されている。また、図5に示すように、第1検査用電極TP1および第2検査用電極TP2は、上記材料を積層させた構造であってもよい。また、第1検査用電極TP1および第2検査
用電極TP2の形状は電極端子WCPと同様な形状をしているが、これには限られない。
The first inspection electrode TP1 and the second inspection electrode TP2 are formed of the same material as the inspection wiring T. As shown in FIG. 5, the first inspection electrode TP1 and the second inspection electrode TP2 may have a structure in which the above materials are laminated. The first inspection electrode TP1 and the second inspection electrode TP2 have the same shape as the electrode terminal WCP, but are not limited thereto.

第1検査用電極TP1および第2検査用電極TP2は、第2基板22の第1主面22aに設けられ
ている。第1検査用電極TP1および第2検査用電極TP2は、複数の電極端子WCPの近傍に配
置されており、複数の電極端子WCPとともに集中的に配置されている。第1検査用電極TP1および第2検査用電極TP2は第1接続領域EPC1内に位置している。
The first inspection electrode TP1 and the second inspection electrode TP2 are provided on the first main surface 22a of the second substrate 22. The first inspection electrode TP1 and the second inspection electrode TP2 are arranged in the vicinity of the plurality of electrode terminals WCP, and are arranged together with the plurality of electrode terminals WCP. The first inspection electrode TP1 and the second inspection electrode TP2 is positioned in the first connection region E in PC1.

第1検査用電極TP1および第2検査用電極TP2は複数の電極端子WCPの近傍に配置されて
いるので、第1検査用電極TP1および第2検査用電極TP2は複数の電極端子WCPとともに、
導電性接合部材BOを介して第1外部回路基板PC1に接続されることになる。
Since the first inspection electrode TP1 and the second inspection electrode TP2 are disposed in the vicinity of the plurality of electrode terminals WCP, the first inspection electrode TP1 and the second inspection electrode TP2 together with the plurality of electrode terminals WCP
It is connected to the first external circuit board PC1 via the conductive bonding member BO.

図4に示すように、第1接続領域EPC1では、第1検査用電極TP1および第2検査用電極TP2が、一定方向に配列した複数の電極端子WCPからなる電極端子WCP群の両側に配置され
ている。これによって、検査用配線Tと配線導体WCもしくは電極端子WCPとを交差させる
ことなく、第1検査用電極TP1、第2検査用電極TP2および複数の電極端子WCPをより密集
して配置でき、第1検査用電極TP1および第2検査用電極TP2によって第1接続領域EPC1
が拡張することを低減でき、表示装置1の狭額縁化を図れる。
As shown in FIG. 4, in the first connection region EPC1 , the first inspection electrode TP1 and the second inspection electrode TP2 are arranged on both sides of the electrode terminal WCP group including a plurality of electrode terminals WCP arranged in a certain direction. Has been. Thus, the first inspection electrode TP1, the second inspection electrode TP2, and the plurality of electrode terminals WCP can be more densely arranged without crossing the inspection wiring T and the wiring conductor WC or the electrode terminal WCP. The first connection region E PC1 is formed by one inspection electrode TP1 and a second inspection electrode TP2.
Can be reduced, and the frame of the display device 1 can be narrowed.

第1外部回路基板PC1は、導電性接合部材BOを介して複数の電極端子WCP、第1検査用電極TP1および第2検査用電極TP2に接続されている。第1外部回路基板PC1はその一部が第
2基板22と対向している。
The first external circuit board PC1 is connected to the plurality of electrode terminals WCP, the first inspection electrode TP1, and the second inspection electrode TP2 through the conductive bonding member BO. Part of the first external circuit board PC1 faces the second board 22.

第1外部回路基板PC1は、基体、配線パターンおよび回路電極端子PCPを有する。基体は、配線パターンおよび回路電極端子WCPを支持する機能を有する。基体は絶縁性の材料で
形成され、例えば樹脂が挙げられる。また、基体をポリイミド樹脂などの可撓性を有する材料で形成すれば、第1外部回路基板PC1を柔軟に折り曲げることが可能となるので、表
示装置1を電子機器などに搭載する場合に、よりコンパクトに搭載可能になる。なお、第1外部回路基板PC1と第2基板22とは導電性接合部材BOで接合されている。
The first external circuit board PC1 has a base, a wiring pattern, and circuit electrode terminals PCP. The base has a function of supporting the wiring pattern and the circuit electrode terminal WCP. The base is formed of an insulating material, and examples thereof include a resin. Further, if the base is formed of a flexible material such as polyimide resin, the first external circuit board PC1 can be flexibly bent. Therefore, when the display device 1 is mounted on an electronic device or the like, It becomes possible to mount compactly. The first external circuit board PC1 and the second board 22 are joined by a conductive joining member BO.

導電性接合部材BOは、第1外部回路基板PC1と第2基板22とを電気的に接続する機能を
有する。導電性接合部材BOは、導電性を有する接合部材であって、例えばACF(異方性導
電膜)、複数のボンディングワイヤである。
The conductive bonding member BO has a function of electrically connecting the first external circuit board PC1 and the second board 22. The conductive bonding member BO is a conductive bonding member, for example, an ACF (anisotropic conductive film) and a plurality of bonding wires.

表示装置1では、検査用配線Tが第2基板22の第1主面22aの外周に沿って環状に設け
られているので、衝撃を受け第2基板22の外周に欠け、クラックが発生すると、欠けもしくはクラックに伴い検査用配線Tが断線する。この状態で第1検査用電極TP1および第2
検査用電極TP2を介して検査用配線Tに電圧を印加すれば導通がとれない。したがって、
第1検査用電極TP1および第2検査用電極TP2に電圧を印加し、検査用配線Tの導通確認を行うことで第2基板22の外周での欠け、クラックの発生を検知できるので、検査における作業効率および精度を向上させることができる。
In the display device 1, the inspection wiring T is provided in an annular shape along the outer periphery of the first main surface 22 a of the second substrate 22, and therefore when the impact is cut and the outer periphery of the second substrate 22 is cracked, The inspection wiring T is disconnected due to the chipping or cracking. In this state, the first inspection electrode TP1 and the second inspection electrode
If a voltage is applied to the inspection wiring T via the inspection electrode TP2, conduction cannot be obtained. Therefore,
By applying a voltage to the first inspection electrode TP1 and the second inspection electrode TP2 and confirming the continuity of the inspection wiring T, it is possible to detect the occurrence of chipping and cracks on the outer periphery of the second substrate 22, so in the inspection Work efficiency and accuracy can be improved.

また、表示装置1では、第1検査用電極TP1および第2検査用電極TP2の両方が、複数の電極端子WCPとともに、第1接続領域EPC1に位置し、導電性接合部材BOを介して第1外部回路基板PC1に接続されている。これによって、第1外部回路基板PC1を電気的に接続する
前に、例えば目視によって第2基板22の欠けもしくはクラックの検査を行い、第1外部回路基板PC1の接続後さらに検査用配線Tの導通確認によって欠けもしくはクラックの検査
を行うことが可能になる。したがって、目視および検査用配線Tによる二重の検査が可能なり、欠けもしくはクラックの検査を高い精度で行うことができる。
In the display device 1, both of the first inspection electrode TP1 and the second inspection electrode TP2 is, a plurality of electrode terminals WCP, located in the first connection region E PC1, second through a conductive bonding member BO 1 Connected to external circuit board PC1. As a result, before the first external circuit board PC1 is electrically connected, the second substrate 22 is visually inspected for cracks or cracks, for example, and after the first external circuit board PC1 is connected, the inspection wiring T is further conducted. By checking, it is possible to inspect for cracks or cracks. Therefore, double inspection by visual inspection and inspection wiring T is possible, and inspection of chipping or cracking can be performed with high accuracy.

また、表示装置1では、第1検査用電極TP1および第2検査用電極TP2の両方が、複数の電極端子WCPとともに導電性接合部材BOを介して第1外部回路基板PC1に接続されている。これによって、複数の電極端子WCPに電圧を印加して行う表示装置1の動作確認の検査と
、第1検査用電極TP1および第2検査用電極TP2に電圧を印加して行う第2基板22の外周での欠け、クラックの検査と同時に実行できる。よって、表示装置1の検査時間を短縮することが可能になる。
In the display device 1, both the first inspection electrode TP1 and the second inspection electrode TP2 are connected to the first external circuit board PC1 through the conductive bonding member BO together with the plurality of electrode terminals WCP. Thereby, the inspection of the operation check of the display device 1 performed by applying voltages to the plurality of electrode terminals WCP and the second substrate 22 performed by applying voltages to the first inspection electrode TP1 and the second inspection electrode TP2. It can be executed at the same time as inspection of cracks and cracks on the outer periphery. Therefore, the inspection time of the display device 1 can be shortened.

次に表示装置1の検査方法について説明する。   Next, an inspection method for the display device 1 will be described.

まず、第2基板22上に第2基板22の第1主面22aの外周に沿って1ヶ所で切れた環状に
設けられた検査用配線Tと、検査用配線Tに接続された第1検査用電極TP1と、検査用配
線Tの他方端側に接続された第2検査用電極TP2とを備えた表示装置1において、第1検
査用電極TP1、第2検査用電極TP2および電極端子WCPに対して第1外部回路基板PC1を接続する。
First, the inspection wiring T provided in a ring shape cut at one place along the outer periphery of the first main surface 22a of the second substrate 22 on the second substrate 22, and the first inspection connected to the inspection wiring T. In the display device 1 including the inspection electrode TP1 and the second inspection electrode TP2 connected to the other end side of the inspection wiring T, the first inspection electrode TP1, the second inspection electrode TP2, and the electrode terminal WCP The first external circuit board PC1 is connected to the first external circuit board PC1.

この状態で、外部電源から第1外部回路基板PC1を介して第1検査用電極TP1および第2検査用電極TP2に電圧を印加し、検査用配線Tに導通がとれるか否か確認する。電圧の印
加後、検査用配線Tの導通が確認できなければ、第2基板22の外周に欠けもしくはクラックが発生していると判断できる。一方、検査用配線Tの導通が確認できれば、第2基板22の外周に欠けもしくはクラックが発生していないと判断できる。
In this state, a voltage is applied from the external power source to the first inspection electrode TP1 and the second inspection electrode TP2 via the first external circuit board PC1, and it is confirmed whether or not the inspection wiring T can be conducted. If conduction of the inspection wiring T cannot be confirmed after the voltage is applied, it can be determined that a chip or a crack has occurred on the outer periphery of the second substrate 22. On the other hand, if the continuity of the inspection wiring T can be confirmed, it can be determined that the outer periphery of the second substrate 22 is not chipped or cracked.

なお、第1外部回路基板PC1の接続前に、目視により第2基板22の外周に欠けもしくは
クラックの検査を行うと、目視および検査用配線Tによる二重の検査が可能なり、欠けもしくはクラックの発生をさらに高い精度で検査できる。
In addition, if the outer periphery of the second substrate 22 is visually inspected for cracks or cracks before the connection of the first external circuit board PC1, double inspection by visual inspection and the inspection wiring T is possible. The occurrence can be inspected with higher accuracy.

また、第1検査用電極TP1、第2検査用電極TP2および電極端子WCPに対して第1外部回
路基板PC1を接続しているので、外部電源から第1外部回路基板PC1を介して複数の電極端子WCPに電圧を印加して行う表示装置1の動作確認の検査と、外部電源から第1外部回路
基板PC1を介して第1検査用電極TP1および第2検査用電極TP2に電圧を印加して行う第2
基板22の外周での欠け、クラックの検査とを同時に実行できる。これによって、表示装置1の検査時間を短縮することが可能になる。
Further, since the first external circuit board PC1 is connected to the first inspection electrode TP1, the second inspection electrode TP2, and the electrode terminal WCP, a plurality of electrodes are supplied from the external power source through the first external circuit board PC1. An inspection for confirming the operation of the display device 1 by applying a voltage to the terminal WCP, and applying a voltage from an external power source to the first inspection electrode TP1 and the second inspection electrode TP2 via the first external circuit board PC1. Second to do
Inspection of cracks and cracks on the outer periphery of the substrate 22 can be performed simultaneously. Thereby, the inspection time of the display device 1 can be shortened.

液晶層23は、第1基板21と第2基板22との間に設けられている。液晶層23は、ネマティック液晶、コレステリック液晶、またはスメクティック液晶などの液晶分子を含む。   The liquid crystal layer 23 is provided between the first substrate 21 and the second substrate 22. The liquid crystal layer 23 includes liquid crystal molecules such as nematic liquid crystal, cholesteric liquid crystal, or smectic liquid crystal.

シール材24は、第1基板21と第2基板22とを貼り合わせる機能を有する。シール材24は、第1基板21と第2基板22との間に設けられている。このシール材24は、エポキシ樹脂などの有機材料によって形成される。   The sealing material 24 has a function of bonding the first substrate 21 and the second substrate 22 together. The sealing material 24 is provided between the first substrate 21 and the second substrate 22. The sealing material 24 is formed of an organic material such as an epoxy resin.

光源装置3は、表示パネル2に向けて光を出射する機能を有する。光源装置3は、光源31と、導光板32とを有している。なお、本実施形態における光源装置3では、光源31にLEDなどの点光源を採用しているが、冷陰極管などの線光源を採用してもよい。   The light source device 3 has a function of emitting light toward the display panel 2. The light source device 3 includes a light source 31 and a light guide plate 32. In the light source device 3 according to the present embodiment, a point light source such as an LED is employed as the light source 31, but a linear light source such as a cold cathode tube may be employed.

第1偏光板4は所定の振動方向の光を選択的に透過させる機能を有する。この第1偏光板4は表示パネル2の第1基板21の第1主面21aに対向するように配置されている。   The first polarizing plate 4 has a function of selectively transmitting light in a predetermined vibration direction. The first polarizing plate 4 is disposed so as to face the first main surface 21 a of the first substrate 21 of the display panel 2.

第2偏光板5は所定の振動方向の光を選択的に透過させる機能を有する。この第2偏光板5は、第2基板22の第2主面22bに対向するように配置されている。   The second polarizing plate 5 has a function of selectively transmitting light in a predetermined vibration direction. The second polarizing plate 5 is disposed so as to face the second main surface 22b of the second substrate 22.

[実施の形態2]
図6は、第2の実施形態における表示装置1Aを示す平面図である。
[Embodiment 2]
FIG. 6 is a plan view showing a display device 1A according to the second embodiment.

表示装置1Aは表示装置1に対比して下記の点で異なる。   The display device 1A differs from the display device 1 in the following points.

表示装置1Aは第2外部回路基板PC2を備えている。第2基板22上に配置された複数の
配線導体WCのうち一部の配線導体WCは、第1導電性接合部材BOを介して第1外部回路基板PC1に接続されている。また、他の複数の配線導体WCは、第1導電性接合部材BOとは異なる第2導電性接合部材BOを介して第2外部回路基板PC2に接続されている。すなわち、第
2基板22上に配置された複数の電極端子WCPのうち一部は第1外部回路基板PC1と接続さ
れ、他の電極端子WCPは第2外部回路基板PC2に接続されている。
The display device 1A includes a second external circuit board PC2. Some of the plurality of wiring conductors WC arranged on the second substrate 22 are connected to the first external circuit board PC1 through the first conductive bonding member BO. The other plurality of wiring conductors WC are connected to the second external circuit board PC2 via a second conductive bonding member BO different from the first conductive bonding member BO. That is, some of the plurality of electrode terminals WCP arranged on the second substrate 22 are connected to the first external circuit board PC1, and the other electrode terminals WCP are connected to the second external circuit board PC2.

第2外部回路基板PC2は第1外部回路基板PC1と同様の構造を有している。第2外部回路基板PC2は、その一部が第2基板22と対向している。第2基板22の第2接続領域EPC2は、第2外部回路基板PC2が対向する領域である。 The second external circuit board PC2 has the same structure as the first external circuit board PC1. Part of the second external circuit board PC2 faces the second board 22. The second connection region E PC2 of the second substrate 22 is a region where the second external circuit substrate PC2 faces.

第1外部回路基板PC1および第2外部回路基板PC2は共通の外部駆動回路基板PC3に接続
されている。外部駆動回路基板PC3は外部電源から供給される電圧を第1外部回路基板PC1および第2外部回路基板PC2に印加する。
The first external circuit board PC1 and the second external circuit board PC2 are connected to a common external drive circuit board PC3. The external drive circuit board PC3 applies a voltage supplied from an external power supply to the first external circuit board PC1 and the second external circuit board PC2.

第1検査用電極TP1は第1接続領域EPC1に位置し、第1外部回路基板PC1に第1導電性
接合部材BOを介して接続されている。一方、第2検査用電極TP2は、第2接続領域EPC2に位置し、第2外部回路基板PC2に第2導電性接合部材BOを介して接続されている。
The first inspection electrode TP1 is connected located in the first connection region E PC1, to a first external circuit board PC1 via a first conductive bonding member BO. On the other hand, the second inspection electrode TP2 is located in the second connection region E PC2, are connected via the second conductive bonding member BO to the second external circuit board PC2.

表示装置1Aでは中継配線INが設けられている。中継配線INは検査用配線Tの第1検査用電極TP1と第2検査用電極TP2との間に位置しており、第2基板22の第1主面22aの外周
に沿って形成されている。
In the display device 1A, the relay wiring IN is provided. The relay wiring IN is located between the first inspection electrode TP1 and the second inspection electrode TP2 of the inspection wiring T, and is formed along the outer periphery of the first main surface 22a of the second substrate 22. .

中継配線INは第1外部回路基板PC1と第2外部回路基板PC2とを電気的に接続している。中継配線INはその一端部側が第1導電性接合部材BOを介して第1外部回路基板PC1に接続
されており、他端部側が第2導電性接合部材BOを介して第2外部回路基板PC2に接続され
ている。
The relay wiring IN electrically connects the first external circuit board PC1 and the second external circuit board PC2. One end of the relay wiring IN is connected to the first external circuit board PC1 via the first conductive bonding member BO, and the other end of the relay wiring IN is connected to the second external circuit board PC2 via the second conductive bonding member BO. It is connected to the.

中継配線INの一端部は第1外部回路基板PC1および外部駆動回路基板PC3を介して第1検査用電極TP1に電気的に接続されている。また、中継配線INの一端部は第2外部回路基板PC2および外部駆動回路基板PC3を介して第2検査用電極TP2に電気的に接続されている。   One end of the relay wiring IN is electrically connected to the first inspection electrode TP1 via the first external circuit board PC1 and the external drive circuit board PC3. One end of the relay wiring IN is electrically connected to the second inspection electrode TP2 via the second external circuit board PC2 and the external drive circuit board PC3.

ここで、例えば、第2基板22の第1主面22aの外周に複数の回路基板が接続される場合
、検査用配線Tと配線導体WCもしくは電極端子WCPとを交差させると、検査用配線Tと配
線導体WCもしくは電極端子WCPとを絶縁させるために、少なくともこれらが交差する領域
では、検査用配線Tを配線導体WCもしくは電極端子WCPが形成される層とは異なる層に形
成する必要がある。このように、検査用配線Tと配線導体WCもしくは電極端子WCPとを交
差させると、表示装置の配線構造が多層化し複雑化しやすくなる。
Here, for example, when a plurality of circuit boards are connected to the outer periphery of the first main surface 22a of the second board 22, if the inspection wiring T and the wiring conductor WC or the electrode terminal WCP are crossed, the inspection wiring T In order to insulate the wiring conductor WC or the electrode terminal WCP from each other, it is necessary to form the inspection wiring T in a layer different from the layer in which the wiring conductor WC or the electrode terminal WCP is formed at least in a region where they intersect. . Thus, when the inspection wiring T and the wiring conductor WC or the electrode terminal WCP are crossed, the wiring structure of the display device becomes multi-layered and easily complicated.

これに対して、表示装置1Aでは、中継配線INは第1外部回路基板PC1と第2外部回路
基板PC2とを電気的に接続している。これによって、第2基板22の第1主面22aの外周に複
数の回路基板が接続される場合であっても、中継配線INを利用することで、検査用配線Tを配線導体WCもしくは電極端子WCPと交差させることなく、検査用配線Tの導通確認がで
きる。これによって、表示装置1の配線構造を複雑化させることなく、検査用配線Tの導通を確認できる。
On the other hand, in the display device 1A, the relay wiring IN electrically connects the first external circuit board PC1 and the second external circuit board PC2. As a result, even when a plurality of circuit boards are connected to the outer periphery of the first main surface 22a of the second board 22, the inspection wiring T can be connected to the wiring conductor WC or the electrode terminal by using the relay wiring IN. The conduction of the inspection wiring T can be confirmed without intersecting with the WCP. Thereby, the conduction of the inspection wiring T can be confirmed without complicating the wiring structure of the display device 1.

[実施の形態3]
図7は第3の実施形態における表示装置1Bを表す平面図であり、図8は表示装置1Bの第1接続領域EPC1を表す平面図である。
[Embodiment 3]
FIG. 7 is a plan view showing the display device 1B in the third embodiment, and FIG. 8 is a plan view showing the first connection region E PC1 of the display device 1B.

表示装置1Bは、表示装置1と対比して、複数の検査用配線Tが形成されている点で異なる。   The display device 1B is different from the display device 1 in that a plurality of inspection wirings T are formed.

複数の検査用配線Tは第2基板22の第1主面22aの外周に沿って環状に形成されており
、隣り合う検査用配線Tは近接している。
The plurality of inspection wirings T are formed in an annular shape along the outer periphery of the first main surface 22a of the second substrate 22, and adjacent inspection wirings T are close to each other.

表示装置1Bでは、複数の検査用配線Tが形成されているので、第2基板22の第1主面22aの外周に欠けもしくはクラックが発生した場合であっても、外側から何本目までの検
査用配線Tで導通がとれたかを確認することで、発生した欠けもしくはクラックの規模を検知できる。これによって、発生した欠けもしくはクラックが許容できる範囲か否かを検査することができるので、より精密な検査が可能になる。
In the display device 1B, since a plurality of inspection wirings T are formed, the number of inspections from the outside to the number of inspections can be achieved even when the outer periphery of the first main surface 22a of the second substrate 22 is chipped or cracked. By confirming whether or not electrical connection is established with the wiring T, it is possible to detect the size of the generated chip or crack. As a result, it is possible to inspect whether the generated chipping or cracking is within an allowable range, so that a more precise inspection is possible.

なお、表示装置1では、二本の検査用配線Tが形成されているが、二本以上の検査用配線Tを形成してもよい。   In the display device 1, two inspection wirings T are formed, but two or more inspection wirings T may be formed.

[実施の形態4]
図9は第4の実施形態における表示装置1Cを表す図であり、図10は表示装置1Cでの第1外部回路基板PC1と第2基板22との接続部分を表す断面図である。
[Embodiment 4]
FIG. 9 is a diagram illustrating a display device 1C according to the fourth embodiment, and FIG. 10 is a cross-sectional view illustrating a connection portion between the first external circuit board PC1 and the second substrate 22 in the display device 1C.

表示装置1Cは、表示装置1と対比して、検査用配線T、第1検査用電極TP1および第
2検査用電極TP2が第2基板22の第2主面22bに形成されている点で異なる。
The display device 1 </ b> C is different from the display device 1 in that the inspection wiring T, the first inspection electrode TP <b> 1, and the second inspection electrode TP <b> 2 are formed on the second main surface 22 b of the second substrate 22. .

また、第1外部回路基板PC1の一部は、第2基板22の第2主面22bと対向するように回り込んで設けられている。すなわち、第1外部回路基板PC1は第2基板22の第1主面22aだけでなく第2主面22bにも対向している。よって、第2基板22の第1主面22aおよび第2主面22bの両主面が第1接続領域EPC1を有している。 Further, a part of the first external circuit board PC1 is provided so as to face the second main surface 22b of the second substrate 22. That is, the first external circuit board PC1 faces not only the first main surface 22a of the second substrate 22 but also the second main surface 22b. Therefore, both main surfaces of the first main surface 22a and the second main surface 22b of the second substrate 22 have the first connection region EPC1 .

第1外部回路基板PC1は第1主面22aの第1接続領域EPC1で電極端子WCPと接続され、第2主面22bの第1接続領域EPC1で第1検査用電極TP1および第2検査用電極TP2に接続されている。 The first external circuit board PC1 is connected to the electrode terminal WCP first connection region E PC1 of the first main surface 22a, the first connection region E PC1 in the first inspection electrode TP1 and the second test of the second main surface 22b It is connected to the electrode TP2.

第2基板22の第1主面22aには配線導体WCおよび電極端子WCPが形成されているので、配線導体WCの形成パターンが複雑化すると、第2主面22aの領域によっては検査用配線Tと
配線導体WCもしくは電極端子WCPとが交差してしまい、検査用配線Tと配線導体WCと絶縁
させるために、表示装置の配線構造が複雑化する問題がある。
Since the wiring conductor WC and the electrode terminal WCP are formed on the first main surface 22a of the second substrate 22, if the formation pattern of the wiring conductor WC is complicated, depending on the region of the second main surface 22a, the inspection wiring T And the wiring conductor WC or the electrode terminal WCP cross each other, and the inspection wiring T and the wiring conductor WC are insulated from each other, so that the wiring structure of the display device is complicated.

これに対して、表示装置1Cでは、検査用配線T、第1検査用電極TP1および第2検査
用電極TP2が、配線導体WCおよび電極端子WCPが形成されていない第2基板22の第2主面22bに位置しているので、表示装置の構造を簡略化できる。
On the other hand, in the display device 1C, the inspection wiring T, the first inspection electrode TP1, and the second inspection electrode TP2 are formed on the second main substrate 22 on which the wiring conductor WC and the electrode terminal WCP are not formed. Since it is located on the surface 22b, the structure of the display device can be simplified.

本発明は上記の実施の形態1〜4に特に限定されるものではなく、本発明の範囲内で種
々の変更および改良が可能である。
The present invention is not particularly limited to the above-described first to fourth embodiments, and various modifications and improvements can be made within the scope of the present invention.

また、本発明の表示パネル2は、液晶パネルに限定されるものではなく、プラズマディスプレイ、有機ELディスプレイ、無機ELディスプレイ、あるいは蛍光表示ディスプレイ等であってもよい。   The display panel 2 of the present invention is not limited to a liquid crystal panel, and may be a plasma display, an organic EL display, an inorganic EL display, a fluorescent display, or the like.

表示装置1では、検査用配線Tは配線導体WCを避けて形成されているが、これには限られない。すなわち、図11に示すように、表示装置1では、検査用配線Tと配線導体WCとを重畳させてもよい。図11の表示装置1では、検査用配線Tが配線導体WCと重畳する領域で配線導体WCと立体的に交差している。すなわち、少なくとも当該重畳領域では、検査用配線Tと配線導体WCとの間に絶縁膜が設けられており、この絶縁膜によって、検査用配線Tと配線導体WCとは絶縁されている。図11の表示装置1では、検査用配線Tが配線導体WCと重畳させることで第2基板22の狭額縁化が図れるので、表示装置1の小型化が図れる。   In the display device 1, the inspection wiring T is formed avoiding the wiring conductor WC, but is not limited thereto. That is, as shown in FIG. 11, in the display device 1, the inspection wiring T and the wiring conductor WC may be overlapped. In the display device 1 of FIG. 11, the inspection wiring T intersects the wiring conductor WC in a three-dimensional manner in a region where it overlaps the wiring conductor WC. That is, at least in the overlapping region, an insulating film is provided between the inspection wiring T and the wiring conductor WC, and the inspection wiring T and the wiring conductor WC are insulated by this insulating film. In the display device 1 of FIG. 11, the second substrate 22 can be narrowed by overlapping the inspection wiring T with the wiring conductor WC, so that the display device 1 can be downsized.

1、1A、1B、1C 表示装置
2 液晶パネル
D 表示領域
O 重畳領域
NO 非重畳領域
21 第1基板
22 第2基板(基板)
22a 第1主面 (主面)
22b 第2主面 (反対主面)
WCP 電極端子
T 検査用配線
TP1 第1検査用電極
TP2 第2検査用電極
PC1 第1外部回路基板
PC2 第2外部回路基板
BO 導電性接合部材
1, 1A, 1B, 1C Display device 2 Liquid crystal panel E D Display area E O Overlapping area E NO Non-overlapping area
21 First board
22 Second substrate (substrate)
22a 1st main surface (main surface)
22b 2nd main surface (opposite main surface)
WCP electrode terminal T Inspection wiring
TP1 First inspection electrode
TP2 Second inspection electrode
PC1 First external circuit board
PC2 Second external circuit board
BO Conductive bonding material

Claims (7)

主面に表示領域を有する基板と、前記基板の前記主面上に集中的に設けられた外部接続用の複数の電極端子と、前記基板上に前記基板の外周に沿って1ヶ所で切れた環状に設けられた検査用配線と、前記検査用配線の一方端側に接続された第1検査用電極と、前記検査用配線の他方端側に接続された第2検査用電極とを備えており、
前記第1検査用電極および前記第2検査用電極は、複数の前記電極端子とともに集中的に配置されていることを特徴とする表示装置。
A substrate having a display area on the main surface, a plurality of electrode terminals for external connection provided intensively on the main surface of the substrate, and cut at one place along the outer periphery of the substrate on the substrate An inspection wiring provided in a ring; a first inspection electrode connected to one end of the inspection wiring; and a second inspection electrode connected to the other end of the inspection wiring. And
The display device, wherein the first inspection electrode and the second inspection electrode are intensively arranged together with the plurality of electrode terminals.
主面に表示領域を有する基板と、前記基板の前記主面上に集中的に設けられた外部接続用の複数の電極端子と、複数の前記電極端子に接続された外部回路基板と、前記基板上に前記基板の外周に沿って1ヶ所で切れた環状に設けられた検査用配線と、前記検査用配線の一方端側に接続された第1検査用電極と、前記検査用配線の他方端側に接続された第2検査用電極とを備えており、
前記第1検査用電極および前記第2検査用電極は、前記外部回路基板に導電性接合部材を介して接続されていることを特徴とする表示装置。
A substrate having a display area on a main surface; a plurality of electrode terminals for external connection provided concentrated on the main surface of the substrate; an external circuit substrate connected to the plurality of electrode terminals; and the substrate An inspection wiring provided in an annular shape cut at one location along the outer periphery of the substrate, a first inspection electrode connected to one end side of the inspection wiring, and the other end of the inspection wiring And a second inspection electrode connected to the side,
The display device, wherein the first inspection electrode and the second inspection electrode are connected to the external circuit board via a conductive bonding member.
前記検査用配線、前記第1検査用電極および前記第2検査用電極は、前記基板の前記主面上に設けられている請求項1または2に記載の表示装置。   The display device according to claim 1, wherein the inspection wiring, the first inspection electrode, and the second inspection electrode are provided on the main surface of the substrate. 前記検査用配線、前記第1検査用電極および前記第2検査用電極は、前記基板の前記主面の反対側に位置する反対主面上に設けられている請求項1または2に記載の表示装置。   The display according to claim 1, wherein the inspection wiring, the first inspection electrode, and the second inspection electrode are provided on an opposite main surface that is located on the opposite side of the main surface of the substrate. apparatus. 複数の前記電極端子は、一定方向に沿って配列しており、
前記第1検査用電極および前記第2検査用電極は、複数の前記電極端子の配列に対して前記一定方向の両側に配置されている請求項1〜4のいずれかに記載の表示装置。
The plurality of electrode terminals are arranged along a certain direction,
5. The display device according to claim 1, wherein the first inspection electrode and the second inspection electrode are arranged on both sides in the predetermined direction with respect to an array of the plurality of electrode terminals.
主面に表示領域を有する基板と、前記基板の主面上にそれぞれ集中的に設けられた外部接続用の複数の第1電極端子および複数の第2電極端子と、複数の前記第1電極端子に電気的に接続された第1外部回路基板と、複数の前記第2電極端子に電気的に接続された第2外部回路基板と、前記基板上に前記基板の外周に沿って1ヶ所で切れた環状に設けられた検査用配線と、前記検査用配線の一方端側に接続された第1検査用電極と、前記検査用配線の他端側に接続された第2検査用電極とを備えており、
前記第1検査用電極は前記第1外部回路基板に第1導電性接合部材を介して接続されているとともに、前記第2検査用電極は前記第2外部回路基板に第2導電性接合部材を介して接続されており、
前記第1外部回路基板および前記第2外部回路基板は中継配線を介して電気的に接続されていることを特徴とする表示装置。
A substrate having a display area on the main surface, a plurality of first electrode terminals and a plurality of second electrode terminals for external connection provided intensively on the main surface of the substrate, and a plurality of the first electrode terminals A first external circuit board electrically connected to the second electrode circuit board, a second external circuit board electrically connected to the plurality of second electrode terminals, and a cut on the board at one location along the outer periphery of the board. An inspection wiring provided in an annular shape, a first inspection electrode connected to one end of the inspection wiring, and a second inspection electrode connected to the other end of the inspection wiring. And
The first inspection electrode is connected to the first external circuit board via a first conductive bonding member, and the second inspection electrode is connected to the second external circuit board with a second conductive bonding member. Connected through
The display device, wherein the first external circuit board and the second external circuit board are electrically connected via a relay wiring.
前記検査用配線が互いに近接して複数設けられている請求項1〜6のいずれかに記載の表示装置。   The display device according to claim 1, wherein a plurality of the inspection wirings are provided close to each other.
JP2011142989A 2011-06-28 2011-06-28 Display Withdrawn JP2013011663A (en)

Priority Applications (1)

Application Number Priority Date Filing Date Title
JP2011142989A JP2013011663A (en) 2011-06-28 2011-06-28 Display

Applications Claiming Priority (1)

Application Number Priority Date Filing Date Title
JP2011142989A JP2013011663A (en) 2011-06-28 2011-06-28 Display

Publications (1)

Publication Number Publication Date
JP2013011663A true JP2013011663A (en) 2013-01-17

Family

ID=47685606

Family Applications (1)

Application Number Title Priority Date Filing Date
JP2011142989A Withdrawn JP2013011663A (en) 2011-06-28 2011-06-28 Display

Country Status (1)

Country Link
JP (1) JP2013011663A (en)

Cited By (13)

* Cited by examiner, † Cited by third party
Publication number Priority date Publication date Assignee Title
WO2015106414A1 (en) * 2014-01-16 2015-07-23 华为终端有限公司 Liquid crystal display, detection method for liquid crystal display and electronic device
JP2015169760A (en) * 2014-03-06 2015-09-28 株式会社ジャパンディスプレイ Display device manufacturing method, display device, and display device forming substrate
KR20160129156A (en) * 2015-04-29 2016-11-09 삼성디스플레이 주식회사 Display device
US9823527B2 (en) 2014-02-27 2017-11-21 Mitsubishi Electric Corporation Liquid crystal display
CN107767801A (en) * 2016-08-22 2018-03-06 三星显示有限公司 Display device
CN109256464A (en) * 2018-11-08 2019-01-22 深圳市万普拉斯科技有限公司 OLED display
US10210782B2 (en) 2016-08-01 2019-02-19 Samsung Display Co., Ltd. Display device including crack detection line
CN109597226A (en) * 2018-12-25 2019-04-09 上海天马微电子有限公司 Display panel and display device
CN109791316A (en) * 2017-07-18 2019-05-21 京东方科技集团股份有限公司 Display panel, display equipment, detect display panel sealant layer in crack method and manufacture display panel method
US10347860B2 (en) 2016-03-14 2019-07-09 Samsung Display Co., Ltd. Display device including a crack detection line
JP2021121856A (en) * 2016-09-23 2021-08-26 株式会社半導体エネルギー研究所 Display device
US11138914B2 (en) 2015-02-06 2021-10-05 Samsung Display Co., Ltd. Display device including a crack sensing line
WO2023004539A1 (en) * 2021-07-26 2023-02-02 京东方科技集团股份有限公司 Display substrate and display device

Cited By (31)

* Cited by examiner, † Cited by third party
Publication number Priority date Publication date Assignee Title
US10082689B2 (en) * 2014-01-16 2018-09-25 Huawei Device (Dongguan) Co., Ltd. Liquid crystal display, liquid crystal display testing method, and electronic apparatus
CN105122125B (en) * 2014-01-16 2018-03-09 华为终端(东莞)有限公司 Liquid crystal display, method for detecting liquid crystal display, and electronic device
CN105122125A (en) * 2014-01-16 2015-12-02 华为终端有限公司 Liquid crystal display, detection method for liquid crystal display and electronic device
JP2016529562A (en) * 2014-01-16 2016-09-23 ▲華▼▲為▼終端有限公司Huawei Device Co., Ltd. Liquid crystal display, liquid crystal display test method, and electronic apparatus
WO2015106414A1 (en) * 2014-01-16 2015-07-23 华为终端有限公司 Liquid crystal display, detection method for liquid crystal display and electronic device
US20160370613A1 (en) * 2014-01-16 2016-12-22 Huawei Device Co., Ltd. Liquid crystal display, liquid crystal display testing method, and electronic apparatus
US9823527B2 (en) 2014-02-27 2017-11-21 Mitsubishi Electric Corporation Liquid crystal display
JP2015169760A (en) * 2014-03-06 2015-09-28 株式会社ジャパンディスプレイ Display device manufacturing method, display device, and display device forming substrate
US11682326B2 (en) 2015-02-06 2023-06-20 Samsung Display Co., Ltd. Display device including data line extending portions
US11138914B2 (en) 2015-02-06 2021-10-05 Samsung Display Co., Ltd. Display device including a crack sensing line
US10096667B2 (en) 2015-04-29 2018-10-09 Samsung Display Co., Ltd. Display device
KR20160129156A (en) * 2015-04-29 2016-11-09 삼성디스플레이 주식회사 Display device
KR102417143B1 (en) 2015-04-29 2022-07-05 삼성디스플레이 주식회사 Display device
US10886493B2 (en) 2016-03-14 2021-01-05 Samsung Display Co., Ltd. Display device including a crack detection line
US10347860B2 (en) 2016-03-14 2019-07-09 Samsung Display Co., Ltd. Display device including a crack detection line
US10210782B2 (en) 2016-08-01 2019-02-19 Samsung Display Co., Ltd. Display device including crack detection line
US10692412B2 (en) 2016-08-01 2020-06-23 Samsung Display Co., Ltd. Display device including crack detection line
US11189204B2 (en) 2016-08-01 2021-11-30 Samsung Display Co., Ltd. Display device including crack detection line
CN107767801A (en) * 2016-08-22 2018-03-06 三星显示有限公司 Display device
US11984455B2 (en) 2016-08-22 2024-05-14 Samsung Display Co., Ltd. Display device including a crack detecting line
US9978781B2 (en) 2016-08-22 2018-05-22 Samsung Display Co., Ltd. Display device
JP7077452B2 (en) 2016-09-23 2022-05-30 株式会社半導体エネルギー研究所 Display device
JP2021121856A (en) * 2016-09-23 2021-08-26 株式会社半導体エネルギー研究所 Display device
US11108012B2 (en) 2017-07-18 2021-08-31 Boe Technology Group Co., Ltd. Display panel, display apparatus, method of detecting crack in sealant layer of display panel, and method of fabricating display panel
JP2020533613A (en) * 2017-07-18 2020-11-19 京東方科技集團股▲ふん▼有限公司Boe Technology Group Co.,Ltd. How to detect cracks in display panels, display devices, sealant layers of display panels, and how to manufacture display panels
CN109791316A (en) * 2017-07-18 2019-05-21 京东方科技集团股份有限公司 Display panel, display equipment, detect display panel sealant layer in crack method and manufacture display panel method
CN109256464A (en) * 2018-11-08 2019-01-22 深圳市万普拉斯科技有限公司 OLED display
CN109597226B (en) * 2018-12-25 2022-02-22 上海天马微电子有限公司 Display panel and display device
CN109597226A (en) * 2018-12-25 2019-04-09 上海天马微电子有限公司 Display panel and display device
WO2023004539A1 (en) * 2021-07-26 2023-02-02 京东方科技集团股份有限公司 Display substrate and display device
US12125420B2 (en) 2021-07-26 2024-10-22 Chengdu Boe Optoelectronics Technology Co., Ltd. Display substrate and display apparatus

Similar Documents

Publication Publication Date Title
JP2013011663A (en) Display
KR102265542B1 (en) Flexible display device
JP4982609B2 (en) Active matrix substrate, display device, active matrix substrate inspection method, and display device inspection method
US10534399B2 (en) Flexible display device
WO2020151257A1 (en) Display substrate, tiled screen and manufacturing method therefor
US9536459B2 (en) Testing device and testing method for display panels
KR102245304B1 (en) Display device with power supply in cover type
CN103268029B (en) A kind of display module and display
CN106324927A (en) Display device
US20180063970A1 (en) Display device
CN102347453A (en) Display device and organic light emitting diode display device
CN112309268A (en) A display device and a method for manufacturing the same
WO2020134861A1 (en) Display substrate, display device, and test method for display substrate
US12016116B2 (en) Display device and an inspection method of a display device
KR102362093B1 (en) Display device
JP6427360B2 (en) Display device
WO2022124157A1 (en) Display device
CN107578732A (en) Printed circuit board package and display device including the printed circuit board package
JP2004184839A (en) Display device
WO2014084040A1 (en) Display device
JP5653530B2 (en) Display device
KR20210027704A (en) Display device
KR101781005B1 (en) Flexible printed circuits board
KR20160053460A (en) Display Device Integrated with Sensor
CN105409028B (en) The structure of flexible printed circuit board

Legal Events

Date Code Title Description
A300 Application deemed to be withdrawn because no request for examination was validly filed

Free format text: JAPANESE INTERMEDIATE CODE: A300

Effective date: 20140902