JP2012242583A - 表示装置 - Google Patents
表示装置 Download PDFInfo
- Publication number
- JP2012242583A JP2012242583A JP2011112204A JP2011112204A JP2012242583A JP 2012242583 A JP2012242583 A JP 2012242583A JP 2011112204 A JP2011112204 A JP 2011112204A JP 2011112204 A JP2011112204 A JP 2011112204A JP 2012242583 A JP2012242583 A JP 2012242583A
- Authority
- JP
- Japan
- Prior art keywords
- display
- display device
- imaging unit
- liquid crystal
- image
- Prior art date
- Legal status (The legal status is an assumption and is not a legal conclusion. Google has not performed a legal analysis and makes no representation as to the accuracy of the status listed.)
- Withdrawn
Links
Images
Abstract
【課題】小型且つ軽量で、停電や撮像ユニットに何らかの異常が発生した場合に、外界像を確認することができる、撮像ユニットを備えた表示装置を提供する。
【解決手段】撮像ユニット10と、表示ユニット2と、光学系として拡大用接眼レンズを備え、表示ユニット2が透過型有機ELディスプレイ7とノーマリーホワイト液晶パネル8からなる表示装置1とする。
【選択図】図1
【解決手段】撮像ユニット10と、表示ユニット2と、光学系として拡大用接眼レンズを備え、表示ユニット2が透過型有機ELディスプレイ7とノーマリーホワイト液晶パネル8からなる表示装置1とする。
【選択図】図1
Description
本発明は、撮像ユニットを有する頭部装着型の表示装置に関する。
近年、映像の大画面化が進んできているが、それらの映像を鑑賞する装置は小型化、軽量化が望まれ、眼鏡型やヘルメット型の頭部装着式ディスプレイ装置が開発されている。これらの装置は、表示装置の電子映像を光学系を介して眼の網膜上に投影させるものであり、従来の大型の据え置き型画面表示板を鑑賞する場合と異なり、携帯性の良さや着脱の容易さ等から、あらゆる場所、場面で使用されることが考えられる。
このような表示装置のうち撮像ユニットで撮像した映像にデジタルデータを重ねて外界像が確認できないビデオシースルーでは、従来、停電や撮像ユニットに何らかの異常が発生した場合に、目隠しをされた状態になるという課題があることが知られている。
このような課題を解決するための手段として特許文献1や特許文献2に開示された表示装置が知られている。特許文献1には、電子映像と外界像を切り替える手段を具備した表示装置が開示されており、実施例1では映像信号が出力されていない場合に電子シャッターのオンとオフを連動させている。つまり、映像信号の出力がない場合、電子シャッターを開けることで外界像の表示が見えるように切り替えることを特徴とする。そして切り替え手段として液晶シャッターや透光性セラミックスのPLZT(チタン酸ジルコン酸ランタン鉛)シャッターを用いる。また、実施例2は、電源が落ちた場合に予備電源を用いて前面の不透明でもよいスライドケースを開閉する構成である。また、特許文献2に記載された表示装置は、二つの撮像ユニットを備えており、一方の撮像ユニットが壊れた場合にもう片方の撮像ユニットに表示を切り替える等の手段をとっている。
しかしながら、特許文献1の表示装置では、光学系が投射型のため大型且つ重くなり、携帯性の良さを失う。また、特許文献2の表示装置では、撮像ユニットの故障には対応できるが、表示装置本体の電源が落ちた場合に外界像を確認することができないという課題が生じる。
そこで、本発明は、上記従来技術の課題を解決し、小型且つ軽量で、停電や撮像ユニットに何らかの異常が発生した場合に、外界像を確認することができる、撮像ユニットを備えた表示装置を提供することを目的とする。
本発明の表示装置は、撮像ユニットと、撮像ユニットにより撮像された映像を表示する表示ユニットと、表示ユニットに表示された映像を拡大表示するための表示光学系とを有する表示装置であって、
前記表示ユニットが透過型有機ELディスプレイとノーマリーホワイト液晶パネルとから構成されていることを特徴とする。
前記表示ユニットが透過型有機ELディスプレイとノーマリーホワイト液晶パネルとから構成されていることを特徴とする。
本発明においては、表示ユニットを透過型有機ELディスプレイパネルとノーマリーホワイト液晶パネルとから構成することにより、軽量、小型で携帯性に富んだ表示装置が実現する。また、本発明の表示装置は、停電等により表示装置自体の電源が落ちた場合や撮像ユニットに何らかの異常が発生した場合、表示ユニットが透過性を有するため、外界像を確認することができる。
本発明の表示装置は、撮像ユニットと、該撮像ユニットにより撮像された映像を表示する表示ユニットと、該表示ユニットに表示された映像を拡大表示するための表示光学系を有する表示装置である。そして、上記表示ユニットが、透過型有機ELディスプレイとノーマリーホワイト液晶パネルとから構成されていることを特徴とする。以下、図面を用いて本発明に係る表示装置について具体的に説明する。
(第1の実施の形態)
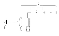
図1は、本発明の第1の実施形態に係る表示装置を示す断面模式図である。図1において、1は本発明の表示装置であり、2は表示ユニット、3は係る表示装置による表示を観察している観察者の瞳、7は透過型有機ELディスプレイ、8はノーマリーホワイト液晶パネル、9は映像出力装置、10は撮像ユニットである。また、11はコントローラ、15は拡大用接眼レンズである。本例では表示光学系が拡大用接眼レンズ15である。
図1は、本発明の第1の実施形態に係る表示装置を示す断面模式図である。図1において、1は本発明の表示装置であり、2は表示ユニット、3は係る表示装置による表示を観察している観察者の瞳、7は透過型有機ELディスプレイ、8はノーマリーホワイト液晶パネル、9は映像出力装置、10は撮像ユニットである。また、11はコントローラ、15は拡大用接眼レンズである。本例では表示光学系が拡大用接眼レンズ15である。
本発明の表示装置1の外装は、頭部に装着可能な形状に設計されている。ELディスプレイ5は、反射電極の面積や厚さを調整するなどの方法で透過型に設定されている。
液晶パネル8は、ノーマリーホワイト液晶から構成されているため、電圧がかかっていない時に透過率が最大となる液晶である。逆に電圧をかけると液晶の配列が変化し透過率が低下する。
図2にこの表示装置1の表示・制御系を示すブロック図を示し、図2に沿って以下に係る表示装置1を装着した観察者の眼球に映像を投影して表示する際の動作を説明する。図2中の実線は電源の供給方向を示している。また点線は次のような信号、データを示している。撮像ユニット10から映像出力装置9に出力される撮像データ。映像出力装置9からELディスプレイ7に出力する映像データ。映像出力装置9からELディスプレイ7にデータが出力していない場合に故障を伝えるデータをコントローラ11に送るデータや、その際にコントローラ11から電源回路系12に送られる液晶パネル8の電源をオフする信号。コントローラ11から映像出力装置9へ出力される、映像出力装置9の輝度などを調整する信号。
図1、図2の表示装置においては、先ず、撮像ユニット10で撮像した映像を映像出力装置9に転送する。映像出力装置9より、映像信号がELディスプレイ7に伝送され、電子映像が表示される。映像出力装置9から映像出力信号が出力されている場合には、同時に、コントローラ11は液晶パネル8の電源をオンにし、液晶パネル8の透過率を低下させて、外界像が液晶パネル8とELディスプレイ7を透過して観察者に認識されるのを阻止する。尚、本発明の表示装置においては、撮像ユニット10で撮像した映像と、該映像以外の画像情報とを重ねてELディスプレイ7に表示することが可能である。
映像出力装置9から映像出力信号が出力されていない場合には、コントローラ11は液晶パネル8の電源をオフにして、液晶パネル8の透過率を大きくする。ELディスプレイ7は透過型であるため、映像が表示されていない場合には背面の表示を透過するため、液晶パネル8の背面の外界像が液晶パネル8、ELディスプレイ7を透過して観察者に認識されることになる。
また、電源回路系自体が故障した場合も、液晶パネル8には電圧がかからないため、液晶パネル8の透過率が大きくなり、表示ユニット2を介して外界像を見ることができる。
このように、本発明においては、映像信号が出力されていない場合や電源系自体が故障した場合も外界像を確認できる表示装置を提供することができる。
(第2の実施形態)
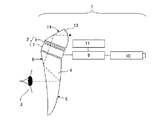
図3は、本発明の第2の実施形態に係る表示装置を示す断面模式図である。図3において、4は自由曲面プリズム、5は凹面鏡、6は反射兼透過面、13は光を外部から取り込む光学系、14は反射面であり、これら以外の図1と同じ部材には同じ符号を付した。本例では表示光学系が自由曲面プリズム4からなる。
図3は、本発明の第2の実施形態に係る表示装置を示す断面模式図である。図3において、4は自由曲面プリズム、5は凹面鏡、6は反射兼透過面、13は光を外部から取り込む光学系、14は反射面であり、これら以外の図1と同じ部材には同じ符号を付した。本例では表示光学系が自由曲面プリズム4からなる。
本例の表示装置1も第1の実施形態と同様に、外装は頭部に装着可能な形状に設計されている。自由曲面プリズム2は三つの自由曲面を備えており、一面を全反射と透過で兼用する面6として、映像を4回屈折反射させている。凹面鏡5は表示装置の輝度を落とさないためには高い反射率である必要がある。
表示ユニット2は第1の実施形態と同じ構成である。
光をとりこむ光学系13としては、反射率が高い金属による反射面14を設けることで前方の視界を確保する方法が容易な方法としてある。それ以外にも反射面14に光学系を追加することで、外界像の焦点距離を調整したりする方法も可能である。
第1の実施形態では、表示光学系が接眼レンズがあることで表示装置1の奥行き方向が大型化してしまうのに対して、第2の実施形態では、表示光学系として自由曲面プリズム4を用いることにより、表示装置を小型化することができる。
1:表示装置、2:表示ユニット、7:透過型有機ELディスプレイ、8:ノーマリーホワイト液晶パネル、10:撮像ユニット
Claims (3)
- 撮像ユニットと、撮像ユニットにより撮像された映像を表示する表示ユニットと、表示ユニットに表示された映像を拡大表示するための表示光学系とを有する表示装置であって、
前記表示ユニットが透過型有機ELディスプレイとノーマリーホワイト液晶パネルとから構成されていることを特徴とする表示装置。 - 前記表示光学系は、自由曲面プリズムからなる請求項1に記載の表示装置。
- 前記表示ユニットは、撮像ユニットにより撮像された映像と、前記映像以外の画像情報とを重ねて表示することが可能で、頭部に装着する形態である請求項1又は2に記載の表示装置。
Priority Applications (1)
| Application Number | Priority Date | Filing Date | Title |
|---|---|---|---|
| JP2011112204A JP2012242583A (ja) | 2011-05-19 | 2011-05-19 | 表示装置 |
Applications Claiming Priority (1)
| Application Number | Priority Date | Filing Date | Title |
|---|---|---|---|
| JP2011112204A JP2012242583A (ja) | 2011-05-19 | 2011-05-19 | 表示装置 |
Publications (1)
| Publication Number | Publication Date |
|---|---|
| JP2012242583A true JP2012242583A (ja) | 2012-12-10 |
Family
ID=47464366
Family Applications (1)
| Application Number | Title | Priority Date | Filing Date |
|---|---|---|---|
| JP2011112204A Withdrawn JP2012242583A (ja) | 2011-05-19 | 2011-05-19 | 表示装置 |
Country Status (1)
| Country | Link |
|---|---|
| JP (1) | JP2012242583A (ja) |
-
2011
- 2011-05-19 JP JP2011112204A patent/JP2012242583A/ja not_active Withdrawn
Similar Documents
| Publication | Publication Date | Title |
|---|---|---|
| US11235706B2 (en) | Display system | |
| US9151984B2 (en) | Active reflective surfaces | |
| US9087471B2 (en) | Adaptive brightness control of head mounted display | |
| JP6636323B2 (ja) | 調光器及びこれを用いた映像表示装置 | |
| TWI515456B (zh) | 提供視力增進之眼戴式顯示系統 | |
| JP3658330B2 (ja) | 複合表示装置及びそれを用いたヘッドマウントディスプレイ装置 | |
| US20100109977A1 (en) | Image display apparatus | |
| JP2011059444A (ja) | 眼鏡型画像表示装置 | |
| US12130440B2 (en) | Ocular optical system, medical viewer, and medical viewer system | |
| JP6780502B2 (ja) | 画像表示装置及び表示装置 | |
| CN114450621A (zh) | 头戴式显示器 | |
| CN104865701A (zh) | 头戴式显示装置 | |
| CN106707531A (zh) | 一种显示装置及穿戴式设备 | |
| CN204166196U (zh) | 单屏双眼近眼显示光学系统 | |
| JP4994912B2 (ja) | 頭部装着型の映像表示装置 | |
| KR20160006049A (ko) | 헤드 마운티드 디스플레이 장치 | |
| JP7465830B2 (ja) | ヘッドマウントディスプレイ | |
| JP2020106635A (ja) | 頭部搭載型表示装置及び頭部搭載型表示装置の表示制御方法 | |
| CN113614615B (zh) | 图像中继装置及图像投影系统 | |
| JP2012242583A (ja) | 表示装置 | |
| JP2019106723A (ja) | 表示装置、およびコンテキストディスプレイとプロジェクタを用いた表示方法 | |
| CN117406443A (zh) | 光学系统、控制设备和具有光学系统的显示设备 | |
| US20120019646A1 (en) | Video display systems | |
| JP2022170640A (ja) | 透過率制御部を備えた表示装置 | |
| JPH07110455A (ja) | ヘッドマウント・ディスプレイ |
Legal Events
| Date | Code | Title | Description |
|---|---|---|---|
| A300 | Withdrawal of application because of no request for examination |
Free format text: JAPANESE INTERMEDIATE CODE: A300 Effective date: 20140805 |