JP2012197186A - ハニカム構造体の製造方法 - Google Patents
ハニカム構造体の製造方法 Download PDFInfo
- Publication number
- JP2012197186A JP2012197186A JP2011060435A JP2011060435A JP2012197186A JP 2012197186 A JP2012197186 A JP 2012197186A JP 2011060435 A JP2011060435 A JP 2011060435A JP 2011060435 A JP2011060435 A JP 2011060435A JP 2012197186 A JP2012197186 A JP 2012197186A
- Authority
- JP
- Japan
- Prior art keywords
- honeycomb
- honeycomb structure
- catalyst
- raw material
- alumina
- Prior art date
- Legal status (The legal status is an assumption and is not a legal conclusion. Google has not performed a legal analysis and makes no representation as to the accuracy of the status listed.)
- Pending
Links
Images
Landscapes
- Exhaust Gas After Treatment (AREA)
- Porous Artificial Stone Or Porous Ceramic Products (AREA)
- Compositions Of Oxide Ceramics (AREA)
- Catalysts (AREA)
Abstract
【解決手段】平均粒径0.5〜10μmでアスペクト比5〜20のアルミナを含有するセラミック原料及び分散媒を含む成形原料を混練して坏土を得る坏土調製工程と、得られた坏土をハニカム形状に押出成形して一方の端面から他方の端面まで貫通する複数のセルが形成されたハニカム成形体を得る成形工程と、得られたハニカム成形体を焼成してハニカム構造体を得る焼成工程と、を備えるハニカム構造体の製造方法。
【選択図】なし
Description
本発明のハニカム構造体の製造方法の一実施形態は、平均粒径0.5〜10μmでアスペクト比5〜20のアルミナを含有するセラミック原料及び分散媒を含む成形原料を混練して坏土を得る坏土調製工程と、得られた坏土をハニカム形状に押出成形して一方の端面から他方の端面まで貫通する複数のセルが形成されたハニカム成形体を得る成形工程と、得られたハニカム成形体を焼成してハニカム構造体を得る焼成工程と、を備えるものである。
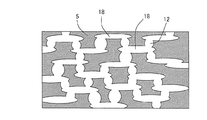
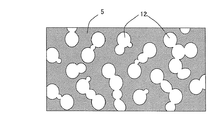
本工程においては、平均粒径0.5〜10μmでアスペクト比5〜20のアルミナを含有するセラミック原料及び分散媒を含む成形原料を混練して坏土を得る。本発明のハニカム構造体の製造方法においては、具体的には、平均粒径0.5〜10μmでアスペクト比5〜20のアルミナを含有するセラミック原料を用いることによって、得られるハニカム構造体の隔壁には上記アルミナに由来する楕円球状または板状の大孔径の気孔が形成され、この大孔径の気孔が互いに連通するように形成される。そのため、上述したように、従来のハニカム触媒体より多くの触媒を担持することができ、圧力損失が小さいハニカム触媒体の担体として使用可能なハニカム構造体を製造することができる。
本工程では、坏土調製工程で得られた坏土をハニカム形状に押出成形して一方の端面から他方の端面まで貫通する複数のセルが形成されたハニカム成形体を得る。押出成形は、所望のセル形状、隔壁厚さ、セル密度を有する口金を用いて行うことができる。口金の材質としては、摩耗し難い超硬合金が好ましい。
本工程では、得られたハニカム成形体を焼成してハニカム構造体を得る。焼成温度は、ハニカム成形体の材質よって適宜決定することができる。例えば、ハニカム成形体の材質がコージェライトの場合、焼成温度は、1380〜1450℃が好ましく、1400〜1440℃が更に好ましい。また、焼成時間は、3〜10時間程度とすることが好ましい。
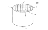
本発明のハニカム構造体の製造方法により作製されるハニカム構造体は、例えば、図1、図2に示すハニカム構造体100のように、一方の端面2から他方の端面3まで貫通する、流体の流路となる複数のセル4を区画形成する多孔質の隔壁5を備えるものである。
本発明のハニカム構造体の製造方法により作製されるハニカム構造体を触媒担体とするハニカム触媒体は、例えば以下のように製造することができる。
触媒は、目的に応じて適宜決定することができる。例えば、三元触媒、酸化触媒、NOX選択還元触媒、NOX吸蔵還元触媒などを挙げることができる。触媒の単位体積当りの担持量は、100〜300g/リットルであることが好ましく、150〜250g/リットルであることが更に好ましい。
水銀ポロシメータ(Micromeritics社製、商品名:Auto Pore III 型式9405)を用いて測定した。
平均細孔径は、水銀ポロシメータ(水銀圧入法)によって測定されたもので、ハニカム構造体に圧入された水銀の累積容量が、多孔質基材の全細孔容積の50%となった際の圧力から算出された細孔径を意味するものとする。水銀ポロシメータとしては、Micromeritics社製、商品名:Auto Pore III 型式9405を用いた。
ハニカム触媒体の容積1リットル当りの、触媒の担持量(g/L)を算出した。
ハニカム触媒体の容積1リットル当りの、触媒に含まれる貴金属の担持量(g/L)を算出した。
[ハニカム構造体の作製]
コージェライト化原料として、27.32質量%のアルミナ(平均粒径1μm、アスペクト比15)、47.57質量%のタルク、2.50質量%のカオリン、及び、22.61質量%のシリカを使用し、このコージェライト化原料100質量部に、分散媒として水を79.0質量部、造孔材を3.00質量部、有機バインダとしてメチルセルロースを7質量部、界面活性剤を0.10質量部、それぞれ添加し、混合、混練して坏土を調製した。各原料の配合を表1に示す。
平均粒子径が40μmであるγAl2O3と平均粒子径が1.5μmであるCeO2との混合物粒子(比表面積50m2/g)をボールミルにて湿式解砕し、細孔を有する平均粒子径2.0μmの解砕粒子を得た。得られた解砕粒子を、Pt及びRhを含む溶液に浸漬して解砕粒子の細孔内にPt及びRhを担持させた。その後、Pt及びRhを担持させた解砕粒子に、酢酸及び水を加えて塗工用スラリーを得た。そして、この塗工用スラリーに、作製したハニカム構造体を浸漬させた。このようにして、ハニカム構造体の隔壁表面、及び、隔壁の細孔表面に触媒を塗工して触媒層を形成した。その後、乾燥させ、更に600℃で3時間焼成させることによってハニカム触媒体を得た。なお、白金(Pt)とロジウム(Rh)との割合(Pt:Rh)は、5:1となるように構成した。
室温条件下、0.5m3/分の流速でエアーを試料(ハニカム触媒体)に流通させ、試料前後の差圧(エアー流入側の圧力とエアー流出側の圧力との差)を測定することで、圧力損失を算出した。なお、表2中、「圧力損失比」とは、比較例2のハニカム触媒体の圧力損失に対する、実施例1〜11、比較例1,3〜9の各ハニカム触媒体の圧力損失の比の値を意味する。
A軸圧縮強度とは、社団法人自動車技術会発行の自動車規格であるJASO規格M505−87に規定されている圧縮強度(MPa)のことである。具体的には、ハニカム構造体(ハニカム触媒体)に、その中心軸方向に圧縮荷重を負荷したときの破壊強度であり、ハニカム構造体が破壊されるときの圧力を「A軸圧縮強度」とする。
熱膨張係数は、JIS R1618に準じて押し棒式熱膨張計法により測定した。
表1に示す配合処方とし、表2に示す、直径、中心軸方向の長さ、隔壁厚さ、セル密度、隔壁の気孔率、隔壁の平均細孔径を満たすハニカム構造体を作製した後、作製したハニカム構造体を用いて、表2に示す、触媒の担持量、及び貴金属の担持量を満たすハニカム触媒体を作製した。作製したハニカム触媒体について、実施例1と同様にして、[圧力損失比]、[A軸圧縮強度]、及び[熱膨張係数]の各評価を行った。評価結果を表2に示す。
Claims (2)
- 平均粒径0.5〜10μmでアスペクト比5〜20のアルミナを含有するセラミック原料及び分散媒を含む成形原料を混練して坏土を得る坏土調製工程と、
得られた前記坏土をハニカム形状に押出成形して一方の端面から他方の端面まで貫通する複数のセルが形成されたハニカム成形体を得る成形工程と、
得られた前記ハニカム成形体を焼成してハニカム構造体を得る焼成工程と、を備えるハニカム構造体の製造方法。 - 前記セラミック原料として、30〜45質量%の前記アルミナを含有するものを用いる請求項1に記載のハニカム構造体の製造方法。
Priority Applications (1)
| Application Number | Priority Date | Filing Date | Title |
|---|---|---|---|
| JP2011060435A JP2012197186A (ja) | 2011-03-18 | 2011-03-18 | ハニカム構造体の製造方法 |
Applications Claiming Priority (1)
| Application Number | Priority Date | Filing Date | Title |
|---|---|---|---|
| JP2011060435A JP2012197186A (ja) | 2011-03-18 | 2011-03-18 | ハニカム構造体の製造方法 |
Publications (1)
| Publication Number | Publication Date |
|---|---|
| JP2012197186A true JP2012197186A (ja) | 2012-10-18 |
Family
ID=47179825
Family Applications (1)
| Application Number | Title | Priority Date | Filing Date |
|---|---|---|---|
| JP2011060435A Pending JP2012197186A (ja) | 2011-03-18 | 2011-03-18 | ハニカム構造体の製造方法 |
Country Status (1)
| Country | Link |
|---|---|
| JP (1) | JP2012197186A (ja) |
Cited By (3)
| Publication number | Priority date | Publication date | Assignee | Title |
|---|---|---|---|---|
| WO2014163036A1 (ja) * | 2013-04-02 | 2014-10-09 | 日立金属株式会社 | セラミックハニカム構造体及びその製造方法 |
| CN109311761A (zh) * | 2016-06-13 | 2019-02-05 | 康宁股份有限公司 | 钛酸铝组合物、钛酸铝制品、及其制造方法 |
| WO2025205989A1 (ja) * | 2024-03-29 | 2025-10-02 | 日本碍子株式会社 | メタン製造反応器 |
Citations (3)
| Publication number | Priority date | Publication date | Assignee | Title |
|---|---|---|---|---|
| JP2003206185A (ja) * | 2002-01-15 | 2003-07-22 | Sumitomo Electric Ind Ltd | 酸化アルミニウムセラミックス多孔体およびその製造方法 |
| JP2009227533A (ja) * | 2008-03-25 | 2009-10-08 | Ngk Insulators Ltd | コーディエライトセラミックスの製造方法 |
| JP2010221637A (ja) * | 2009-03-25 | 2010-10-07 | Ngk Insulators Ltd | 押出成形装置および、それを用いた成形体の製造方法 |
-
2011
- 2011-03-18 JP JP2011060435A patent/JP2012197186A/ja active Pending
Patent Citations (3)
| Publication number | Priority date | Publication date | Assignee | Title |
|---|---|---|---|---|
| JP2003206185A (ja) * | 2002-01-15 | 2003-07-22 | Sumitomo Electric Ind Ltd | 酸化アルミニウムセラミックス多孔体およびその製造方法 |
| JP2009227533A (ja) * | 2008-03-25 | 2009-10-08 | Ngk Insulators Ltd | コーディエライトセラミックスの製造方法 |
| JP2010221637A (ja) * | 2009-03-25 | 2010-10-07 | Ngk Insulators Ltd | 押出成形装置および、それを用いた成形体の製造方法 |
Cited By (7)
| Publication number | Priority date | Publication date | Assignee | Title |
|---|---|---|---|---|
| WO2014163036A1 (ja) * | 2013-04-02 | 2014-10-09 | 日立金属株式会社 | セラミックハニカム構造体及びその製造方法 |
| JPWO2014163036A1 (ja) * | 2013-04-02 | 2017-02-16 | 日立金属株式会社 | セラミックハニカム構造体及びその製造方法 |
| US9981255B2 (en) | 2013-04-02 | 2018-05-29 | Hitachi Metals, Ltd. | Ceramic honeycomb structure and its production method |
| US11033885B2 (en) | 2013-04-02 | 2021-06-15 | Hitachi Metals, Ltd. | Ceramic honeycomb structure and its production method |
| CN109311761A (zh) * | 2016-06-13 | 2019-02-05 | 康宁股份有限公司 | 钛酸铝组合物、钛酸铝制品、及其制造方法 |
| JP2019522615A (ja) * | 2016-06-13 | 2019-08-15 | コーニング インコーポレイテッド | チタン酸アルミニウム組成物、チタン酸アルミニウム物品、及びその製造方法 |
| WO2025205989A1 (ja) * | 2024-03-29 | 2025-10-02 | 日本碍子株式会社 | メタン製造反応器 |
Similar Documents
| Publication | Publication Date | Title |
|---|---|---|
| US10472290B2 (en) | Honeycomb structure and production method for said honeycomb structure | |
| JP5808619B2 (ja) | ハニカム構造体、及びハニカム触媒体 | |
| JP5405538B2 (ja) | ハニカム構造体 | |
| US11033885B2 (en) | Ceramic honeycomb structure and its production method | |
| JP5919215B2 (ja) | ハニカム触媒体 | |
| JP6081831B2 (ja) | ハニカム構造体およびこれを用いたハニカム触媒体、ならびにハニカム構造体の製造方法 | |
| WO2018012566A1 (ja) | ハニカム構造体及び該ハニカム構造体の製造方法 | |
| US11433382B2 (en) | Honeycomb filter and method for manufacturing honeycomb filters | |
| EP2636449A2 (en) | Honeycomb structure and honeycomb catalyst | |
| JP2013212493A (ja) | ハニカム構造体 | |
| EP2735368B1 (en) | Honeycomb catalyst body | |
| JP5508453B2 (ja) | ハニカム構造体及びハニカム触媒体 | |
| JP5937381B2 (ja) | ハニカム構造体 | |
| US9346003B2 (en) | Honeycomb structure | |
| JP2018130668A (ja) | ハニカム構造体 | |
| JP6182298B2 (ja) | ハニカム構造体 | |
| JP5649836B2 (ja) | ハニカム触媒体 | |
| JP2012197186A (ja) | ハニカム構造体の製造方法 | |
| JP5843802B2 (ja) | ハニカム触媒担体 | |
| WO2021044875A1 (ja) | ハニカムフィルタの製造方法 | |
| JP2021037488A (ja) | ハニカムフィルタの製造方法 | |
| JP2019155277A (ja) | ハニカムフィルタ |
Legal Events
| Date | Code | Title | Description |
|---|---|---|---|
| A621 | Written request for application examination |
Free format text: JAPANESE INTERMEDIATE CODE: A621 Effective date: 20131119 |
|
| A977 | Report on retrieval |
Free format text: JAPANESE INTERMEDIATE CODE: A971007 Effective date: 20140326 |
|
| A131 | Notification of reasons for refusal |
Free format text: JAPANESE INTERMEDIATE CODE: A131 Effective date: 20140422 |
|
| A521 | Request for written amendment filed |
Free format text: JAPANESE INTERMEDIATE CODE: A523 Effective date: 20140620 |
|
| A02 | Decision of refusal |
Free format text: JAPANESE INTERMEDIATE CODE: A02 Effective date: 20141202 |
