JP2012190882A - コイル装置およびそれを用いた非接触電力伝送装置 - Google Patents
コイル装置およびそれを用いた非接触電力伝送装置 Download PDFInfo
- Publication number
- JP2012190882A JP2012190882A JP2011051163A JP2011051163A JP2012190882A JP 2012190882 A JP2012190882 A JP 2012190882A JP 2011051163 A JP2011051163 A JP 2011051163A JP 2011051163 A JP2011051163 A JP 2011051163A JP 2012190882 A JP2012190882 A JP 2012190882A
- Authority
- JP
- Japan
- Prior art keywords
- coil
- resonance
- layer
- loop
- power transmission
- Prior art date
- Legal status (The legal status is an assumption and is not a legal conclusion. Google has not performed a legal analysis and makes no representation as to the accuracy of the status listed.)
- Withdrawn
Links
Images
Landscapes
- Coils Or Transformers For Communication (AREA)
Abstract
【課題】磁界共鳴による電力伝送に好適なように、基板上にコイルパターンが形成された共振コイル層を多数層積層して構成され、コイルパターン間に発生する渦電流損失が低減されたコイル装置を提供する。
【解決手段】共振コイル間の磁界共鳴を利用して、送電コイルから送電コイルに電力を伝送する非接触電力伝送に用いる受電コイルまたは送電コイルの少なくとも一方を構成するコイル装置。共振コイルは、基板13、15の表面部にコイル状の銅パターン12a、12bを有する共振コイル層11a〜11dを複数層積層して構成され、共振コイル層の各々の銅パターンが全体として連続したコイルを形成するように互いに接続され、共振コイル層における銅パターンは、隣接する共振コイル層の銅パターンに対して、径方向においてずらして配置されている。
【選択図】図2
【解決手段】共振コイル間の磁界共鳴を利用して、送電コイルから送電コイルに電力を伝送する非接触電力伝送に用いる受電コイルまたは送電コイルの少なくとも一方を構成するコイル装置。共振コイルは、基板13、15の表面部にコイル状の銅パターン12a、12bを有する共振コイル層11a〜11dを複数層積層して構成され、共振コイル層の各々の銅パターンが全体として連続したコイルを形成するように互いに接続され、共振コイル層における銅パターンは、隣接する共振コイル層の銅パターンに対して、径方向においてずらして配置されている。
【選択図】図2
Description
本発明は、磁界共鳴を利用して非接触(ワイヤレス)で電力を伝送する磁界共鳴型の非接触電力伝送装置に用いられる平面コイル装置の改良に関する。
非接触で電力を伝送する方法として、電磁誘導(数100kHz)による電磁誘導型、電場または磁場共鳴を介したLC共振間伝送による電界・磁界共鳴型、電波(数GHz)によるマイクロ波送電型、可視光領域の電磁波(光)によるレーザ送電型が知られている。この中で既に実用化されているのは、電磁誘導型である。これは簡易な回路で実現可能(トランス方式)であるなどの優位性はあるが、送電距離が短いという課題もある。
そこで、最近になって近距離伝送(〜2m)可能な電界・磁界共鳴型の電力伝送が注目を浴びてきた。このうち、電界共鳴型の場合、伝送経路中に手などを入れると、人体が誘電体であるため、エネルギーを熱として吸収して誘電体損失を生じる。これに対して磁界共鳴型の場合、人体がエネルギーをほとんど吸収せず、誘電体損失を避けられる。この点から磁界共鳴型に対する注目度が上昇してきている。
図10は、磁界共鳴を利用した電力伝送装置の構成例の概略を示した正面図である。送電装置1と受電装置2はそれぞれ、ループコイル3aと共振コイル4aを組合わせた送電側のコイル装置、及びループコイル3bと共振コイル4bを組合わせた受電側のコイル装置を備えている。送電装置1のループコイル3aには高周波電力ドライバー5が接続され、交流電源(AC100V)6の電力を送電可能な高周波電力に変換して供給する。受電装置2のループコイル3bには、整流器7を介して負荷(充電器など)8が接続されている。
ループコイル3aは、高周波電力ドライバー5から供給される電気信号により励起され、電磁誘導により共振コイル4aに電気信号を伝送する誘電素子である。共振コイル4aはループコイル3aから出力された電気信号に基づいて磁界を発生させる。この共振コイル4aは、共振周波数f0=1/1/{2π(LC)1/2}(Lは送電側の共振コイル4aのインダクタンスで、Cは浮遊容量を示す)において磁界強度が最大となる。共振コイル4aの電力は、磁界共鳴により受電装置2の共振コイル4bに非接触で伝送される。伝送された電力は、共振コイル4bから電磁誘導によりループコイル3bへ伝送され、整流器7により整流されて負荷8に供給される。
このような磁界共鳴型の非接触電力伝送装置に関し、小型化・軽量化を目的として、特許文献1には、給電コイル(ループコイル)や共鳴コイル(共振コイル)を、銅箔パターンからなる平面コイルとしてプリント基板上に設け、更に共鳴コイルを同一半径で揃えて多数層積層した形態が記載されている。
しかし、特許文献1の技術を用いて共鳴コイルを形成したプリント基板を多層枚積層して電力を伝送しようとすると、隣り合う層間(例えば、上下の層間)での共鳴コイル間における渦電流損失が生じる可能性が高い。特に、小型用モバイルなどに使われる共鳴コイルを形成した各層の厚さは数100μmと薄く、その関係でコイル間距離も短くなり発熱などによる影響も大きくなってしまう。
また、特許文献1では、電力の伝送効率が最も高くなるように、給電コイルと共鳴コイルとの間の距離を予め設定し、その距離となるように薄いプリント基板を多数枚設けている。しかし、そのような構成の場合、給電コイルと共鳴コイルの間の距離を再調整することは困難である。従って、給電側の共鳴コイルと受電側の共鳴コイルの間の距離が多少変化した場合に、給電側の給電コイルと共鳴コイルとの距離を再調整することにより、直ちに対応するのに適した構成とは言えない。
本発明は、このような従来技術における問題点を解決し、磁界共鳴による電力伝送に好適なように、基板上にコイルパターンが形成された共振コイル層を多数層積層して構成され、コイルパターン間に発生する渦電流損失が低減されたコイル装置を提供することを目的とする。
また、そのようなコイル装置を用い、簡単な調整で電力伝送効率を向上させることが可能な非接触電力伝送装置を提供することを目的とする。
本発明のコイル装置は、共振コイルを含む送電コイルと、共振コイルを含む受電コイルとを用い、前記共振コイル間の磁界共鳴を利用して、前記送電コイルから前記送電コイルに電力を伝送する非接触電力伝送に用いる前記受電コイルまたは前記送電コイルの少なくとも一方を構成するものである。
上記課題を解決するために、本発明のコイル装置は、前記共振コイルが、基板の表面部に平面コイル状の銅パターンを有する共振コイル層を複数層積層して構成され、前記共振コイル層の各々の前記銅パターンが全体として連続したコイルを形成するように互いに接続され、各々の前記共振コイル層の前記銅パターンは、隣接する前記共振コイル層の前記銅パターンに対して、径方向においてずらして配置されていることを特徴とする。
本発明によれば、平面コイルが積層された構造の共振コイルにおいて、各層の銅パターンが、隣接する層の銅パターンに対して、径方向においてずらして配置されていることにより、隣接するコイル同士が互いに発生する渦電流を低減させて、渦電流損失による発熱を抑制することができる。
本発明のコイル装置は、上記構成を基本として、以下のような態様をとることができる。
すなわち、各々の前記共振コイル層には、1ループの同心円状の前記銅パターンが1ターン形成され、奇数層の前記共振コイル層における前記銅パターンの半径をR1、偶数層の前記共振コイル層における前記銅パターンの半径をR2、前記銅パターンの幅をdとしたとき、|R1−R2|>dを満足する構成とすることが好ましい。
また、各々の前記共振コイル層には、1ループの同心円状の前記銅パターンが渦巻き状にnターン(nは2以上の整数)形成され、奇数層(または偶数層)の前記共振コイル層における前記銅パターンについて、各ターンの半径をRja(jは1〜nまでの整数)と記述し、偶数層(または奇数層)の前記共振コイル層における前記銅パターンについて、各ターンの半径をRjbと記述し、jは最外周ターンを1として内周側へ向かって増加するものとしたとき、Rja>Rjb>R(j+1)a>R(j+1)b(但し、jは1〜(n−1))の条件を満足する構成とすることができる。
この場合、Rjb=((Rja+R(j+1)a)/2、及びR(j+1)a=((Rjb+R(j+1)b)/2、(但し、jは1〜(n−1))の条件を満足することが好ましい。これにより、奇数層の同一平面上の隣り合う銅パターンのちょうど中間の位置に、偶数層の銅パターンび半径が設定され、隣接する層からの渦電流による損失(発熱など)を、効果的に低減することができる。
さらに、前記銅パターンの幅をdとしたとき、(Rja−R(j+1)a)>2d、(但し、jは1〜(n−1))の条件を満足することが好ましい。これにより、渦電流損失を更に効果的に低減することができる。
また、各ターンごとに前記銅パターンの半径を変更するための切り替え部が設けられた構成とすることができる。
また、前記共振コイルに隣接して配置されたループコイルを備え、前記ループコイルは、基板の表面部に平面コイル状の銅パターンを有するループコイル層を少なくとも一層用いた積層構造を有して、前記共振コイルに積層されており、前記ループコイルと前記共振コイルが隣接する部分における前記共振コイル層と前記ループコイル層は、共通の前記基板の両面に対向して各々形成されている構成とすることができる。
また、前記ループコイルは、複数の前記ループコイル層の積層体であり、各層の前記ループコイル層の前記銅パターンは、互いに電気的に分離されている構成とすることができる。
この場合、前記ループコイル層の各々の前記銅パターンの直径は、前記共振コイルから遠くなる程、小さくなるように設定されていることが好ましい。
さらに、前記ループコイル層の各々の前記基板の直径は、前記共振コイルから遠くなる程、小さくなるように設定されている構成とすることができる。
本発明の非接触電力伝送装置は、共振コイルを含む送電コイルを備えた送電装置と、共振コイルを含む受電コイルを備えた受電装置とを用い、前記受電コイル及び前記送電コイルの前記共振コイル間の磁界共鳴を利用して、前記送電装置から前記受電装置に電力を伝送するように構成され、前記受電コイルまたは前記送電コイルの少なくとも一方は、上記いずれかの構成を有するコイル装置を用いて構成されている。
この非接触電力伝送装置において、前記コイルに含まれる前記ループコイルは、複数の前記ループコイル層の積層体であり、各層の前記ループコイル層の前記銅パターンは、互いに電気的に分離され、複数の前記ループコイル層のうちのいずれか一つを選択的に動作させて、送電または受電を行うように構成されることが好ましい。
これにより、受電側の共振コイルと送電側の共振コイルとの距離が一度設定した後ではあまり変化しない使用形態(例えば、窓ガラスや壁を挟んで電力を伝送するケースなど)の場合は、非接触電力伝送装置の取り付け時に共振コイル間の距離が微妙に異なった場合や、経時変化などで距離が多少変化した場合に、動作させるループコイル層を適宜選択して、ループコイルと共振コイルとの距離を適切に変更することができる。従って、従来技術に比べて、送電側と受電側との共振コイル間の距離が変化した時の調整回路が簡単となり、かつループコイルの移動に使う機構系も不要であり、安価な非接触電力伝送装置を得ることができる。
以下、図面を参照して、本発明を実施するための形態について詳細に説明する。
<実施の形態1>
図1は、各実施の形態に共通する非接触電力伝送装置の概略構成を示す図である。図10に示した電力伝送装置と同様の要素については、同一の参照番号を付して説明の繰り返しを簡略化する。送電装置1及び受電装置2におけるループコイル3a、3bと共振コイル4a、4bは、図10に示したものと機能は同じであるが、小型化のために、銅箔パターンからなる平面コイルを用いて形成される。矢印A1、A2は、ループコイル3a、3bと共振コイル4a、4b間で、電磁誘導により電力が伝送されることを示す。また、矢印Bは、共振コイル4a、4b間で、磁界共鳴により電力が伝送されることを示す。
図1は、各実施の形態に共通する非接触電力伝送装置の概略構成を示す図である。図10に示した電力伝送装置と同様の要素については、同一の参照番号を付して説明の繰り返しを簡略化する。送電装置1及び受電装置2におけるループコイル3a、3bと共振コイル4a、4bは、図10に示したものと機能は同じであるが、小型化のために、銅箔パターンからなる平面コイルを用いて形成される。矢印A1、A2は、ループコイル3a、3bと共振コイル4a、4b間で、電磁誘導により電力が伝送されることを示す。また、矢印Bは、共振コイル4a、4b間で、磁界共鳴により電力が伝送されることを示す。
また図示は省略されているが、この電力伝送装置には、共振コイル4a、4bの位置や共振周波数が変わった時に結合係数やQ値などを制御して、高い伝送効率を得るために用いる回路や、送受電間で情報のやり取りをするための回路等を含むことができる。
なお、以下に説明する実施の形態は、送電コイル1または受電コイル2に共通する。従って、送電コイル1または受電コイル2の少なくとも一方に、本実施の形態の構成を適用することができる。
本実施の形態の構成では、ループコイル3a、3bとしては、1ループの同心円状に1ターンのみ銅パターンを形成した平面コイルを用いる。一方、共振コイル4a、4bとしては、トータルのインダクタンスを大きくするために、1ループの同心円状に平面コイル状の銅箔パターンが形成された共振コイル層を、多数層積層したものを用いる。
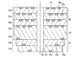
図2は、実施の形態1における、上記非接触電力伝送装置に用いるためのコイル装置を示す断面図である。このコイル装置は、図1の共振コイル4a、4bとして用いられるものであり、共振コイル層の積層体である多層共振コイル10を形成している。多層共振コイル10は、第1〜第4共振コイル層11a〜11dが積層されたものである。各共振コイル層11a〜11dには、銅箔パターン12aまたは12bが設けられている。
互いに隣接する層に形成された銅箔パターン12a、12b同士は、各層の接続のためにビアホール(層間接続ホール、図示省略)により電気的に接続されている。各層の銅箔パターン12a、12bを接続することにより、連続した多層共振コイル10が構成されている。
図3は、多層共振コイル10における各層の銅箔パターン12a、12bの形状を示す平面図である。銅箔パターン12a、12bは、1ループの同心円状に1ターンの銅箔パターンが形成されたものである。
図2に示すように、第1共振コイル層11aは、厚めの主基板13と、その上面に設けられた大径(R1)の銅箔パターン12aと、その上に形成されたSiN層からなる保護層14により構成されている。第2及び第4共振コイル層11b、11dは、主基板13より薄い薄膜基板15と、小径(R2)の銅箔パターン12bと、保護層14とからなる。第3共振コイル層11cは、薄膜基板15と、大径の銅箔パターン12aと、保護層14とからなる。保護層14は、銅箔パターン12a、12bを錆びから保護するために設けられるものである。
銅箔パターン12a、12bの断面形状は、送電方向(厚さ方向)において短く、送電方向に直交する方向(幅d方向)に対しては長くなっている。例えば、本実施の形態では、幅dが約1mmで、厚さが約50μmである。主基板13の厚さは約1mm、薄膜基板15の厚さは約100μmである。
本実施の形態は、各共振コイル層11a〜11dの銅箔パターン12a、12bを、従来例と異なり、隣接する層間同士で径方向にずらしていることを特徴とする。そのために、奇数層(1層目と3層目)の銅箔パターン12aと、偶数層(2層目と4層目)の銅箔パターン12bは、半径が互いに異なるように形成されている。すなわち、奇数層の半径R1、偶数層の半径R2について、R1≠R2の条件を満たするように設定されている。これにより、隣接する層からの渦電流による損失(発熱など)を少なくすることができる。更に、銅箔パターンの幅dに対して、(R1−R2)>dの条件を満足するように各層の銅箔パターンを形成することにより、より確実に渦電流による損失を低減する効果を得ることができる。
図3は、図2の多層共振コイル10における各層の銅箔パターン12a、12bの平面形状の例を示したものである。図3(a)は奇数層の共振コイル層11a、11cの銅箔パターン12a、図3(b)は偶数層の共振コイル層11b、11dの銅箔パターン12bを示す。このように、奇数層では、1ループの同心円状の銅箔パターン12aが半径R1の位置に1ターンのみ形成され、偶数層では、1ループの同心円状の銅箔パターン12bが半径R2の位置に1ターンのみ形成されている。
図3(a)に示すように、銅箔パターン12aには切り替え領域16が設けられ、そこでパターンが不連続となっている。切り替え領域16において、パターンの一方の端部は半径R1を維持して外端17aを形成し、他端は内側に屈曲して半径R2の位置に内端17bを形成している。一方、図3(b)に示すように、銅箔パターン12bにも切り替え領域18が設けられ、そこでパターンが不連続となっている。切り替え領域18では、パターンの一方の端部は外側に屈曲して半径R1に位置する外端19aを形成し、他端は半径R2を維持して内端19bを形成している。
従って、奇数層である第1、第3共振コイル層11a、11cの銅箔パターン12aは、外端17aから半径R1で同心円状に形成され、最終的には切り替え領域16で半径R2の内端17bの位置まで形成されている。偶数層である第2、第4共振コイル層11b、11dの銅箔パターン12bは、内端19bから半径R2で同心円状に形成され、最終的には切り替え領域18で半径R1の外端19aの位置まで形成されている。
奇数層の内端17bと偶数層の内端19bは同じ位置(半径R2)に位置し、ビアホール(層間接続ホール)により次の奇数層と電気的に接続されている。また、偶数層の外端19aと奇数層の外端17aは同じ位置(半径R1)に位置し、ビアホール(層間接続ホール)により電気的に接続されている。
これにより、第1共振コイル層11aの銅箔パターン12aから、第4共振コイル層11dの銅箔パターン12bまで連続した、多層共振コイル10が形成されている。しかも、奇数層と偶数層では銅箔パターンの径が異なり、径方向において銅箔パターンがずれた状態が得られる。また、切り替え部16、18では銅箔パターンが、隣接する層において薄膜基板15の厚みを介して一度交差するものの、大部分の領域では重なっていない。
上記構成では、奇数層の銅箔パターン12aの半径R1が、偶数層の銅箔パターン12bの半径R2より大きい場合について記述したが、逆の関係に設定してもよい。
また、多層共振コイル10として、厚めの主基板13を用いた第1共振コイル層11aの上に、薄膜基板15を用いた3層の第2〜第4共振コイル層11b〜11dを積層した4層構造の例を示したが、必要に応じて積層枚数を適宜変更することができる。また、上記構成では銅箔パターンを用いたが、スパッタ法やめっき法、あるいはスクリーン印刷法等により形成した銅薄膜パターンを用いることもできる。
<実施の形態2>
図4は、実施の形態2におけるコイル装置を示す断面図である。このコイル装置は、共振コイルを構成するものであり、平面コイルの積層体である多層共振コイル20を形成している。図4に示すように、多層共振コイル20は、第1〜第4共振コイル層21a〜21dを積層して構成されている。各共振コイル層21a〜21dには、銅箔パターン22aまたは22bが設けられている。互いに隣接する層に形成された銅箔パターン22a、22b同士は、各層の接続のためにビアホール(層間接続ホール、図示省略)により電気的に接続されて、連続した多層共振コイル20が構成されている。
図4は、実施の形態2におけるコイル装置を示す断面図である。このコイル装置は、共振コイルを構成するものであり、平面コイルの積層体である多層共振コイル20を形成している。図4に示すように、多層共振コイル20は、第1〜第4共振コイル層21a〜21dを積層して構成されている。各共振コイル層21a〜21dには、銅箔パターン22aまたは22bが設けられている。互いに隣接する層に形成された銅箔パターン22a、22b同士は、各層の接続のためにビアホール(層間接続ホール、図示省略)により電気的に接続されて、連続した多層共振コイル20が構成されている。
図5は、図4の多層共振コイル20における各層の銅箔パターン22a、22bの平面形状の例を示したものである。図5(a)は奇数層の共振コイル層21a、21cの銅箔パターン22a、図5(b)は偶数層の共振コイル層21b、21dの銅箔パターン22bを示す。銅箔パターン22a、22bは、1ループの同心円状の銅箔パターンを渦巻き状に形成したものである。ここでは、外周から内周に向けて3ターン形成した例が示されている。すなわち、奇数層では、1ループの同心円状の銅箔パターンが最外周の半径R1aから内周に向かって3ターン形成され、偶数層では、1ループの同心円状の銅箔パターンが最外周の半径R1bから内周に向かって3ターン形成されている。
第1共振コイル層21aは、厚めの主基板13(厚さ約1mm)と、その上面に設けられた最外周ターンの半径がR1aの銅箔パターン22aと、その上に形成された樹脂層からなる絶縁層23により構成されている。第2及び第4共振コイル層21b、21dは、主基板13より薄い薄膜基板15(厚さ約100μm)と、最外周ターンの半径がR1bの銅箔パターン22bと、絶縁層23とからなる。第3共振コイル層21cは、薄膜基板15と、最外周ターンの半径がR1aの銅箔パターン22aと、絶縁層23とからなる。なお、積層数は適宜変更することができる。
本実施の形態でも、各共振コイル層21a〜21dの銅箔パターン22a、22bを、従来例と異なり、隣接する層間同士で径方向にずらしていることを特徴とする。そのために、奇数層(1層目と3層目)の銅箔パターン22aと、偶数層(2層目と4層目)の銅箔パターン22bは、各ターンの半径が異なるように形成されている。
すなわち、奇数層の最外周ターンの銅箔パターンの半径をR1a、その内側の2番目のターンの半径をR2a、最内周ターンの半径をR3aとし、偶数層の最外周ターンの半径をR1b、その内側の2番目のターンの半径をR2b、最内周ターンの半径をR3bとすると、R1a>R1b>R2a>R2b>R3a>R3bの条件を満足する。
更に、R1b=(R1a+R2a)/2、R2a=(R1b+R2b)/2、R2b=(R2a+R3a)/2、R3a=(R2b+R3b)/2となるように、奇数層の同一平面上の隣り合うターンのちょうど中間の半径位置に、偶数層のターンが配置される。これにより、隣接する層からの渦電流による損失(発熱など)を少なくすることができる。
更に、銅箔パターンの幅dに対して、(R1a−R2a)>2d、(R2a−R3a)>2dの条件で各層の銅箔パターンを形成することにより、より確実に渦電流による損失を低減する効果を得ることができる。
銅箔パターン22a、22bの半径に関する上述の関係は、ターン数をn(nは2以上の整数)として、下記のように記載することができる。
奇数層の銅箔パターン22aについて、各ターンの半径をRja(jは1〜nまでの整数)と記述し、偶数層の銅箔パターン22bについて、各ターンの半径をRjbと記述し、jは最外周ターンを1として内周側へ向かって増加するものとすると、各ターンの半径は、下記の条件を満足する。
Rja>Rjb>R(j+1)a>R(j+1)b(但し、jは1〜(n−1))
また、奇数層の同一平面上の隣り合うターンのちょうど中間の半径位置に、偶数層のターンが配置されようにするためには、下記の条件を満足する。
また、奇数層の同一平面上の隣り合うターンのちょうど中間の半径位置に、偶数層のターンが配置されようにするためには、下記の条件を満足する。
Rjb=((Rja+R(j+1)a)/2、及び
R(j+1)a=((Rjb+R(j+1)b)/2、(但し、jは1〜(n−1))
更に、銅パターンの幅dに対して、下記の条件を満足する。
R(j+1)a=((Rjb+R(j+1)b)/2、(但し、jは1〜(n−1))
更に、銅パターンの幅dに対して、下記の条件を満足する。
(Rja−R(j+1)a)>2d(但し、jは1〜(n−1))
また、本実施の形態における絶縁層23は、同一平面上の隣り合う銅箔パターン同士による渦電流による発熱を少なくするために設けられる。例えば、銅箔パターン間に樹脂層を塗布法により約50μm形成したものである。
また、本実施の形態における絶縁層23は、同一平面上の隣り合う銅箔パターン同士による渦電流による発熱を少なくするために設けられる。例えば、銅箔パターン間に樹脂層を塗布法により約50μm形成したものである。
本実施の形態における3ターン形成された銅箔パターン22a、22bの形状について、以下に詳細に説明する。図5(a)に示すように、銅箔パターン22aには切り替え領域24が設けられている。切り替え領域24では、パターンの最外周の端部が半径R1aから外側に屈曲して外端25aを形成し、最内周の端部は内側に屈曲して半径R3bの位置に内端25bを形成している。一方、図5(b)に示すように、銅箔パターン22bにも切り替え領域26が設けられている。切り替え領域26では、パターンの最外周の端部が外側に屈曲して外端25aと同じ半径に位置する外端27aを形成し、最内周の端部は半径R3bを維持して内端27bを形成している。
奇数層の銅箔パターン22aは、外端25aから屈曲して半径R1aの位置で同心円状に1ターン目を形成し、切り替え領域24において屈曲して半径R2aの位置で同心円状に2ターン目を形成し、さらに、切り替え領域24において屈曲して半径R3aの位置で同心円状に3ターン形成した後、内端25bの位置に至っている。
奇数層の内端25bと偶数層の内端27bは、同じ位置でビアホール(層間接続ホール)により電気的に接続されている。偶数層の銅箔パターン22bは、内端27bから外周に向かって、切り替え領域26で屈曲しながら、半径R3b、R2b、R1bの位置でそれぞれ同心円状に各ターンを形成し、3ターンを形成した後、外端27aの位置に至っている。
第2コイル層21bの銅箔パターン22bの外端27aは、第3コイル層21cの銅箔パターン22cの外端24aと、ビアホールにより電気的に接続されている。さらに、第3コイル層21cの銅箔パターン22aの内端25bは、第4コイル層21dの銅箔パターン22bの内端27bと、ビアホールにより電気的に接続されている。以上のようにして、第1〜第4共振コイル層21a〜21dの銅箔パターン22a、22bは、4層が連続した多層共振コイル20を形成している。
本実施の形態は、以上のように、隣接する層での銅箔パターンが径方向にずらして形成されていることが特徴である。切り替え部24、26では、隣接する層において薄膜基板15の厚みを介して1ターン毎に最大で一度交差するものの、大部分の領域では重なっていない。
また、上記構成における銅箔パターンの渦巻き状の方向は、外周を起点とすると、奇数層では右回り(外端25a→内端25b)であるのに対して、偶数層では左回り(外端27a→内端27b)と、逆方向(逆スパイラル)になっている。従って、銅箔パターン22a、22bの中心軸から見て、各層の銅箔パターンを流れる電流の渦巻き方向は、同じ方向になる。これにより、磁場の方向が各層で同じとなるので、効率よく電力を伝送できる。
本実施の形態では、各層において切り替え領域24、26を設けて同心円状の1ループを複数本形成したが、切り替え領域を設けないで1周ごとに、各ターンの直径差(例えばR1a−R2a)の距離だけ内周に移動する通常のスパイラル状に形成しても良い。この場合には、奇数層と偶数層とでスパイラル方向を逆にして交互に積層する。
なお、銅箔パターンの半径、接続、及び渦巻き状の方向に関する上述の関係は、奇数層の各ターンの半径R1a、R2a、R3aが、偶数層の対応するターンの半径R1a、R2a、R3aよりも大きい場合について記述したが、逆の関係に設定してもよい。
また、上記構成では銅箔パターンを用いたが、スパッタ法やめっき法、あるいはスクリーン印刷法等により形成した銅薄膜パターンを用いることもできる。
<実施の形態3>
図6は、実施の形態3におけるコイル装置を示す断面図である。このコイル装置は、図4に示した実施の形態2における多層共振コイル20と同様の構造を有する多層共振コイル30と、図1のループコイル3a、3bを構成する多層ループコイル31が積層されたものである。多層共振コイル30は、第1〜第4共振コイル層32a〜32dを積層して構成されている。多層ループコイル31は、第1〜第3ループコイル層33a〜33cを積層して構成されている。なお、ループコイル層は3層に限られず、目的に応じて適宜層数を変更することができる。
図6は、実施の形態3におけるコイル装置を示す断面図である。このコイル装置は、図4に示した実施の形態2における多層共振コイル20と同様の構造を有する多層共振コイル30と、図1のループコイル3a、3bを構成する多層ループコイル31が積層されたものである。多層共振コイル30は、第1〜第4共振コイル層32a〜32dを積層して構成されている。多層ループコイル31は、第1〜第3ループコイル層33a〜33cを積層して構成されている。なお、ループコイル層は3層に限られず、目的に応じて適宜層数を変更することができる。
第1〜第4共振コイル層32a〜32dは、実施の形態1及び2とは異なり、銅箔パターンではなく銅薄膜パターン34a、34bによりコイルパターンが形成されている。第1〜第3ループコイル層33a〜33cも、銅薄膜パターン35a〜35cによりコイルパターンが形成されている。
主基板36は、多層共振コイル30の第1コイル層32a、及び多層ループコイル31の第1ループコイル層33aを形成するための基板を兼ねている。すなわち、主基板36の上面部には、銅薄膜パターン34aが設けられ、裏面部には銅薄膜パターン35aが設けられている。多層共振コイル30の第2〜第4共振コイル層32b〜32dは、薄膜基板37の上面部に銅薄膜パターン34aまたは34bが形成されたものである。銅薄膜パターン34a、34bの形状及び接続構造は、実施の形態2における銅箔パターン22a、22bと同様である。多層ループコイル31の第2、第3ループコイル層33b、33cは、薄膜基板38、39の上面部にそれぞれ、銅薄膜パターン35b、35cが形成されたものである。
図7は、多層ループコイル31における各層のループコイルを形成する銅薄膜パターン35a〜35cの配置例を示す平面図である。同図(a)、(b)、(c)は、図6における多層ループコイル31の側から見た第1〜第3ループコイル層33a〜33cを、各々示している。主基板36に形成された第1ループコイル層33aを構成する銅薄膜パターン35aは、同心円状の1ループのみのパターンであり、最外周に配置されている。この銅薄膜パターン35aの両端は主基板36の外周縁まで引き延ばされ、電力供給用の端子x1、x2を形成している。また第2ループコイル層33bを構成する銅薄膜パターン35bは、主基板36よりも薄膜基板38の直径が小さい他は、銅薄膜パターン35aと同様な形態となっており、外周縁で電力供給用の端子y1、y2を形成している。第3ループコイル層33cを構成する銅薄膜パターン35cも、薄膜基板39の直径以外は同様であり、外周縁で電力供給用の端子z1、z2を形成している。第1〜第3ループコイル層33a〜33cが積層された多層ループコイル31の平面形状を、図8に示す。銅薄膜パターン35a〜35cの側からみると、それぞれの層の銅薄膜パターンが見える状態に形成されている。ここでは、各電力供給用の端子は同じ方向に形成されている。
本実施の形態におけるコイル装置の特徴について、以下に説明する。従来は、図1に示したようなループコイル3a、3bと共振コイル4a、4bは、別々の基板に設けられていた。そして、受電側の共振コイル4aと送電側の共振コイル4bの距離が変化した時に効率よく電力を伝送できるように、必要に応じてループコイル3a、3bを動かしていた。しかし、受電側の共振コイル4aと送電側の共振コイル4bの距離が、一度設定した後ではあまり変化しない使用形態(例えば、窓ガラスや壁を挟んで電力を伝送するケースなど)では、ループコイル3a、3bをあまり動かさないで対応できる可能性が高い。
そこで、本実施の形態では、ループコイルを薄膜基板に同心円状の1ループで形成したループコイル層を作製し、そのループコイル層を多層積層させて、多層ループコイル31が構成されている。受電側の共振コイルと送電側の共振コイルとの間に存在する物質(空気、水、金属など)によって、ループコイルと共振コイルの調整すべき距離は決まるが、ある程度材質と共振コイル間の距離がわかっていれば、予めループコイルと共振コイルとの距離を基板厚で決定することができる。
しかし、送電装置と受電装置を配置した時に共振コイル間の距離が微妙に異なった場合や、経時変化などで距離が多少変化した場合には、ループコイルと共振コイルの距離が可変であった方がよい。そのため本実施の形態では、ループコイルと共振コイルとの距離が異なる複数のループコイル層を設け、電力伝送効率が小さい場合には、最適な位置にあるループコイル層を選択的に用いることができることが特徴である。
即ち、図6に示されるように、第1〜第3ループコイル層33a〜33cの各々は、多層共振コイル30からの距離が異なり、かつ各々単独で駆動可能である。これにより、最終的に電力伝送効率が最も大きくなる(あるいは受電電力が大きくなる)ループコイル層のみを接続して、選択的に動作させることが可能である。
また、本実施の形態では、ループコイルと共振コイルのある程度の距離を固定するために、主基板36には、その両側に、第1共振コイル層32aの銅薄膜パターン34aと、第1ループコイル層33aの銅薄膜パターン35aが配置されている。
第1〜第4共振コイル層32a〜32dの銅薄膜パターン34a、34b、及び第1〜第3ループコイル層33a〜33cの銅薄膜パターン35a〜35cは、以下のようにして形成することができる。すなわち、主基板36は、熱ナノインプリント装置を用いて両面一体成型を行い、樹脂基板に凹部を形成する。そして、形成された凹部にのみ銅薄膜パターン34a、35aを、めっき法等により形成する。これにより、銅薄膜パターン34aと銅薄膜パターン35aの層方向の位置合わせが容易となる。主基板36としては、例えば、厚さ約1mmの樹脂基板を用いる。このように熱ナノインプリント装置で主基板36に凹部を形成し、この中にのみ銅薄膜パターンを形成することで、同一平面上の隣接する銅薄膜パターン同士の渦電流損失を小さくすることができる(コイル埋め込み型)。
また、第2、第3ループコイル層33b、33cを形成する薄膜基板38、39の厚さは、例えば〜100μmとする。但し、目的や用途に応じて薄膜基板の厚さは変えても良い。層方向への渦電流の影響を少なくするために、層方向に隣接する第1〜第3ループコイル層33a〜33cの銅薄膜パターン35a〜35cは、重ならないように半径方向においてずらして形成されている。また、ループコイルと共振コイルとの間に金属等(ループコイルも)があると伝送効率が悪くなるので、ループコイルの銅薄膜パターン35a〜35cは、第1〜第4共振コイル層32a〜32dの銅薄膜パターン34a、34bと同じ形成半径とならないように設定されている。層方向で銅薄膜パターンが重ならないように、銅薄膜パターンの半径方向の幅も考慮に入れることが望ましい。
上記構成においては、送電側のループコイルを多層化した例を説明したが、場合によっては受電側のループコイルも多層にしてもよい。その方が正確な調整が可能である。
上述のように、3層の多層ループコイル31を用いた場合における、銅薄膜パターン35a〜35cを選択する機能を備えた送電装置の概略構成を、図9に断面で示す。同図は、図8のC−C断面に対応する。図示の判り易さを考慮して、多層共振コイル30の共振コイル層は1層のみ示した。銅薄膜パターン35a〜35c(第1〜第3ループコイル層)の下部には、接続カバー40が装着されている。
接続カバー40には、接続線41及び外部端子42が設けられ、接続線41により、銅薄膜パターン35a〜35cの端子x1、y1、z1と外部端子42が接続されている。端子x2、y2、z2(図8参照)についても同様である。外部端子42は選択回路43と接続されている。選択回路43は高周波電力ドライバー5に接続され、銅薄膜パターン35a〜35cに対して選択的に高周波電力を供給する。
これにより、送電装置と受電装置を最初に設置した時、あるいは再調整する時には、例えば高周波電力ドライバー5から電力を銅薄膜パターン35a〜35cに個別に供給してゆく。その時の受電電力量が一番大きくなる銅薄膜パターン35a〜35cを、選択回路43により自動的に選ぶように構成される。
本実施の形態によれば、薄膜基板を積層することによりループコイルを多層化し、必要に応じて適切な距離に配置されたループコイルを選択することにより、従来技術に比べて、共振コイル間が変化した時の調整回路が簡単となる。しかも、ループコイルの移動に機構系が不要であり、安価な非接触電力伝送装置を得ることが可能である。
以上のように、本発明によれば、薄膜基板を用いて形成された共振コイル層を多数層積層したコイル装置において、隣接するコイル間での渦電流の発生を低減させることができ、渦電流損失による発熱が抑制される。また、送電側の共振コイルと受電側の共振コイルとの距離が多少変化した場合にも、多層ループコイルを形成しているループコイル層を適宜選択することにより、簡単な調整で電力伝送効率を最適化することができる。その結果、確実な磁界共鳴による非接触電力伝送に適したコイル装置を得ることが可能である。
以上、本発明の実施の形態について説明したが、本発明はその要旨の範囲内で様々な変形や変更が可能である。
本発明のコイル装置は、コイルパターン間に発生する渦電流損失が低減されるので、携帯電話やデジタルカメラ等のモバイル機器、TVや電気自動車などへの非接触電力伝送装置に好適である。
1 送電装置
2 受電装置
3a、3b ループコイル
4a、4b 共振コイル
5 高周波電力ドライバー
6 交流電源
7 整流器
8 負荷
10、20、30 多層共振コイル
11a〜11d、21a〜21d、32a〜32d 第1〜第4共振コイル層
12a、12b、22a、22b 銅箔パターン
13、36 主基板
14 保護層
15、37、38、39 薄膜基板
16、18、24、26 切り替え領域
17a、19a、25a、27a 外端
17b、19b、25b、27b 内端
23 絶縁層
31 多層ループコイル
33a〜33c 第1〜第3ループコイル層
34a、34b、35a〜35c 銅薄膜パターン
40 接続カバー
41 接続線
42 外部端子
43 選択回路
2 受電装置
3a、3b ループコイル
4a、4b 共振コイル
5 高周波電力ドライバー
6 交流電源
7 整流器
8 負荷
10、20、30 多層共振コイル
11a〜11d、21a〜21d、32a〜32d 第1〜第4共振コイル層
12a、12b、22a、22b 銅箔パターン
13、36 主基板
14 保護層
15、37、38、39 薄膜基板
16、18、24、26 切り替え領域
17a、19a、25a、27a 外端
17b、19b、25b、27b 内端
23 絶縁層
31 多層ループコイル
33a〜33c 第1〜第3ループコイル層
34a、34b、35a〜35c 銅薄膜パターン
40 接続カバー
41 接続線
42 外部端子
43 選択回路
Claims (12)
- 共振コイルを含む送電コイルと、共振コイルを含む受電コイルとを用い、前記共振コイル間の磁界共鳴を利用して、前記送電コイルから前記送電コイルに電力を伝送する非接触電力伝送に用いる前記受電コイルまたは前記送電コイルの少なくとも一方を構成するコイル装置であって、
前記共振コイルは、基板の表面部に平面コイル状の銅パターンを有する共振コイル層を複数層積層して構成され、前記共振コイル層の各々の前記銅パターンが全体として連続したコイルを形成するように互いに接続され、
各々の前記共振コイル層の前記銅パターンは、隣接する前記共振コイル層の前記銅パターンに対して、径方向においてずらして配置されていることを特徴とするコイル装置。 - 各々の前記共振コイル層には、1ループの同心円状の前記銅パターンが1ターン形成され、
奇数層の前記共振コイル層における前記銅パターンの半径をR1、偶数層の前記共振コイル層における前記銅パターンの半径をR2、前記銅パターンの幅をdとしたとき、
|R1−R2|>dを満足する請求項1記載のコイル装置。 - 各々の前記共振コイル層には、1ループの同心円状の前記銅パターンが渦巻き状にnターン(nは2以上の整数)形成され、
奇数層(または偶数層)の前記共振コイル層における前記銅パターンについて、各ターンの半径をRja(jは1〜nまでの整数)と記述し、偶数層(または奇数層)の前記共振コイル層における前記銅パターンについて、各ターンの半径をRjbと記述し、jは最外周ターンを1として内周側へ向かって増加するものとしたとき、
Rja>Rjb>R(j+1)a>R(j+1)b(但し、jは1〜(n−1))
の条件を満足する請求項1記載のコイル装置。 - Rjb=((Rja+R(j+1)a)/2、及び
R(j+1)a=((Rjb+R(j+1)b)/2、(但し、jは1〜(n−1))
の条件を満足する請求項3記載のコイル装置。 - 前記銅パターンの幅をdとしたとき、
(Rja−R(j+1)a)>2d、(但し、jは1〜(n−1))
の条件を満足する請求項4記載のコイル装置。 - 各ターンごとに前記銅パターンの半径を変更するための切り替え部が設けられた請求項3記載のコイル装置。
- 前記共振コイルに隣接して配置されたループコイルを備え、
前記ループコイルは、基板の表面部に平面コイル状の銅パターンを有するループコイル層を少なくとも一層用いた積層構造を有して、前記共振コイルに積層されており、
前記ループコイルと前記共振コイルが隣接する部分における前記共振コイル層と前記ループコイル層は、共通の前記基板の両面に対向して各々形成されている請求項1記載のコイル装置。 - 前記ループコイルは、複数の前記ループコイル層の積層体であり、各層の前記ループコイル層の前記銅パターンは、互いに電気的に分離されている請求項7記載のコイル装置。
- 前記ループコイル層の各々の前記銅パターンの直径は、前記共振コイルから遠くなる程、小さくなるように設定されている請求項8記載のコイル装置。
- 前記ループコイル層の各々の前記基板の直径は、前記共振コイルから遠くなる程、小さくなるように設定されている請求項9記載のコイル装置。
- 共振コイルを含む送電コイルを備えた送電装置と、共振コイルを含む受電コイルを備えた受電装置とを用い、前記受電コイル及び前記送電コイルの前記共振コイル間の磁界共鳴を利用して、前記送電装置から前記受電装置に電力を伝送する非接触電力伝送装置であって、
前記受電コイルまたは前記送電コイルの少なくとも一方は、請求項1〜10のいずれか1項記載のコイル装置を用いて構成されていることを特徴とする非接触電力伝送装置。 - 前記コイルに含まれる前記ループコイルは、複数の前記ループコイル層の積層体であり、各層の前記ループコイル層の前記銅パターンは、互いに電気的に分離され、
複数の前記ループコイル層のうちのいずれか一つを選択的に動作させて、送電または受電を行うように構成された請求項11記載の非接触電力伝送装置。
Priority Applications (1)
| Application Number | Priority Date | Filing Date | Title |
|---|---|---|---|
| JP2011051163A JP2012190882A (ja) | 2011-03-09 | 2011-03-09 | コイル装置およびそれを用いた非接触電力伝送装置 |
Applications Claiming Priority (1)
| Application Number | Priority Date | Filing Date | Title |
|---|---|---|---|
| JP2011051163A JP2012190882A (ja) | 2011-03-09 | 2011-03-09 | コイル装置およびそれを用いた非接触電力伝送装置 |
Publications (1)
| Publication Number | Publication Date |
|---|---|
| JP2012190882A true JP2012190882A (ja) | 2012-10-04 |
Family
ID=47083759
Family Applications (1)
| Application Number | Title | Priority Date | Filing Date |
|---|---|---|---|
| JP2011051163A Withdrawn JP2012190882A (ja) | 2011-03-09 | 2011-03-09 | コイル装置およびそれを用いた非接触電力伝送装置 |
Country Status (1)
| Country | Link |
|---|---|
| JP (1) | JP2012190882A (ja) |
Cited By (6)
| Publication number | Priority date | Publication date | Assignee | Title |
|---|---|---|---|---|
| JP2015043426A (ja) * | 2013-08-26 | 2015-03-05 | スンシル ユニバーシティー リサーチ コンソルティウム テクノーパークSoongsil University Research Consortium Techno−Park | チップ間の無線電力伝送のためのアンテナ |
| JP2016082187A (ja) * | 2014-10-22 | 2016-05-16 | 日本圧着端子製造株式会社 | 電気的接続装置 |
| JP2018046668A (ja) * | 2016-09-14 | 2018-03-22 | 日本電気株式会社 | 無線給電装置 |
| JP2020005412A (ja) * | 2018-06-28 | 2020-01-09 | 大日本印刷株式会社 | コイル対、送電装置及び受電装置並びに電力伝送システム |
| CN110880638A (zh) * | 2018-09-06 | 2020-03-13 | 艾沛迪股份有限公司 | 一种纳米天线装置的制造方法 |
| WO2024262209A1 (ja) * | 2023-06-22 | 2024-12-26 | オムロン株式会社 | 非接触給電装置及び受電装置 |
-
2011
- 2011-03-09 JP JP2011051163A patent/JP2012190882A/ja not_active Withdrawn
Cited By (11)
| Publication number | Priority date | Publication date | Assignee | Title |
|---|---|---|---|---|
| JP2015043426A (ja) * | 2013-08-26 | 2015-03-05 | スンシル ユニバーシティー リサーチ コンソルティウム テクノーパークSoongsil University Research Consortium Techno−Park | チップ間の無線電力伝送のためのアンテナ |
| JP2016082187A (ja) * | 2014-10-22 | 2016-05-16 | 日本圧着端子製造株式会社 | 電気的接続装置 |
| JP2018046668A (ja) * | 2016-09-14 | 2018-03-22 | 日本電気株式会社 | 無線給電装置 |
| WO2018051934A1 (ja) * | 2016-09-14 | 2018-03-22 | 日本電気株式会社 | 無線給電装置 |
| GB2568195A (en) * | 2016-09-14 | 2019-05-08 | Nec Corp | Wireless power supply device |
| US10944292B2 (en) | 2016-09-14 | 2021-03-09 | Nec Corporation | Wireless power supply device |
| GB2568195B (en) * | 2016-09-14 | 2022-01-12 | Nec Corp | Wireless power supply device |
| JP2020005412A (ja) * | 2018-06-28 | 2020-01-09 | 大日本印刷株式会社 | コイル対、送電装置及び受電装置並びに電力伝送システム |
| JP7196436B2 (ja) | 2018-06-28 | 2022-12-27 | 大日本印刷株式会社 | コイル対、送電装置及び受電装置並びに電力伝送システム |
| CN110880638A (zh) * | 2018-09-06 | 2020-03-13 | 艾沛迪股份有限公司 | 一种纳米天线装置的制造方法 |
| WO2024262209A1 (ja) * | 2023-06-22 | 2024-12-26 | オムロン株式会社 | 非接触給電装置及び受電装置 |
Similar Documents
| Publication | Publication Date | Title |
|---|---|---|
| US10404091B2 (en) | Coil substrate | |
| KR101926594B1 (ko) | 무선충전형 안테나유닛 및 이를 포함하는 무선전력 충전모듈 | |
| US9812256B2 (en) | Coil assembly | |
| JP5505505B2 (ja) | 共振回路及びアンテナ装置 | |
| JP5845405B2 (ja) | 受信側非接触充電モジュール及び受信側非接触充電機器 | |
| JP2012190882A (ja) | コイル装置およびそれを用いた非接触電力伝送装置 | |
| KR101795546B1 (ko) | 무선충전용 차폐유닛 및 이를 포함하는 무선전력 전송모듈 | |
| KR20190138536A (ko) | 무선 전력 전송용 다중 코일 | |
| KR20160138909A (ko) | 무선전력 수신모듈 | |
| WO2012101729A1 (ja) | 非接触充電モジュール及び非接触充電機器 | |
| KR101807604B1 (ko) | 무선전력 전송용 안테나유닛 및 이를 포함하는 무선전력 송신모듈 | |
| JP4835796B1 (ja) | 受信側非接触充電モジュール及び受信側非接触充電機器 | |
| JP5845406B2 (ja) | 受信側非接触充電モジュール及び受信側非接触充電機器 | |
| JP2011045045A (ja) | 送受電用アンテナ及び送電器 | |
| KR20170048189A (ko) | 차량용 안테나 모듈 | |
| US20190252768A1 (en) | Antenna module and electronic device having the same | |
| KR20180128882A (ko) | 무선충전형 안테나유닛 및 이를 포함하는 무선전력 충전모듈 | |
| KR20180132205A (ko) | 무선전력 전송모듈 | |
| WO2023032884A1 (ja) | リング型デバイス | |
| US10903557B2 (en) | Antenna device and electronic device | |
| JP2024145509A (ja) | コイル部品及びこれを用いたワイヤレス電力伝送デバイス | |
| JP2012143092A (ja) | 充電acアダプタ | |
| JP6414650B2 (ja) | コイルアンテナ、給電装置、受電装置およびワイヤレス電力供給システム | |
| KR20160121279A (ko) | 안테나유닛 및 이를 포함하는 무선전력 충전모듈 | |
| JP2018160605A (ja) | 非接触給電機構 |
Legal Events
| Date | Code | Title | Description |
|---|---|---|---|
| A711 | Notification of change in applicant |
Free format text: JAPANESE INTERMEDIATE CODE: A712 Effective date: 20130123 |
|
| A300 | Withdrawal of application because of no request for examination |
Free format text: JAPANESE INTERMEDIATE CODE: A300 Effective date: 20140513 |