JP2012167674A - スクロール流体機械 - Google Patents

スクロール流体機械 Download PDF

Info

Publication number
JP2012167674A
JP2012167674A JP2012101380A JP2012101380A JP2012167674A JP 2012167674 A JP2012167674 A JP 2012167674A JP 2012101380 A JP2012101380 A JP 2012101380A JP 2012101380 A JP2012101380 A JP 2012101380A JP 2012167674 A JP2012167674 A JP 2012167674A
Authority
JP
Japan
Prior art keywords
shaft
scroll
swing column
orbiting
receiving
Prior art date
Legal status (The legal status is an assumption and is not a legal conclusion. Google has not performed a legal analysis and makes no representation as to the accuracy of the status listed.)
Granted
Application number
JP2012101380A
Other languages
English (en)
Other versions
JP5277381B2 (ja
Inventor
Fuseki Ko
富石 黄
Kwangseon Hwang
光宣 黄
Current Assignee (The listed assignees may be inaccurate. Google has not performed a legal analysis and makes no representation or warranty as to the accuracy of the list.)
RichStone Ltd Japan
Original Assignee
RichStone Ltd Japan
Priority date (The priority date is an assumption and is not a legal conclusion. Google has not performed a legal analysis and makes no representation as to the accuracy of the date listed.)
Filing date
Publication date
Application filed by RichStone Ltd Japan filed Critical RichStone Ltd Japan
Priority to JP2012101380A priority Critical patent/JP5277381B2/ja
Publication of JP2012167674A publication Critical patent/JP2012167674A/ja
Application granted granted Critical
Publication of JP5277381B2 publication Critical patent/JP5277381B2/ja
Expired - Fee Related legal-status Critical Current
Anticipated expiration legal-status Critical

Links

Images

Landscapes

  • Rotary Pumps (AREA)

Abstract

【課題】旋回スクロールのスラスト荷重を、旋回軸を支持する軸受や回転軸を支持する軸受で受けないようにし、簡単な構造で大きなスラスト荷重にも耐えられる機械損失の小さいスクロール流体機械を提供する。
【解決手段】旋回軸21に旋回スクロール11を締結して、旋回スクロール11を偏心旋回するスクロール流体機械において、ケーシング1の底部に固定部8を設け、固定部8と旋回スクロール11または旋回軸21の間に、揺動支柱37を設ける。旋回スクロール11のスラスト荷重を揺動支柱37が固定部8に伝達し、固定部8で受ける。
【選択図】図1

Description

本発明は、圧縮機、ブロア、真空ポンプ、液ポンプ、膨張機等のスクロール流体機械に関する。
従来の、旋回軸に旋回スクロールを固着して駆動するスクロール流体機械では、特許文献1に示すように、旋回スクロールのスラスト荷重が旋回軸に伝えられた。旋回軸を支持する軸受と、回転軸を支持する軸受が旋回軸のスラスト荷重を受ける。このため、軸受数が増えると共に、寿命を延ばすために軸受の径を大きくする必要があった。従って、これらの軸受に発生する機械損失は大きかった。また、この構造は複雑で高価であった。
また、従来のスクロール流体機械としては、特許文献2、3に示すように、クランク駆動式で、ケーシングと旋回スクロールとの間に3個以上の揺動支柱を設けたものがある。
特公平7−26618号公報 特開平9−112447号公報 特開2004−332695号公報
しかし、特許文献1に示されたスクロール流体機械は、軸受数が増えると共に、寿命を延ばすために軸受の径を大きくする必要があった。従って、これらの軸受に発生する機械損失は大きかった。また、この構造は複雑で高価であった。
また、特許文献2、3に示されたスクロール流体機械は、3個以上の揺動支柱を設けているから、構造が複雑である。
本発明の課題は、旋回スクロールのスラスト荷重を、旋回軸を支持する軸受(例えばアンギュラ玉軸受)や回転軸を支持する軸受(例えばアンギュラ玉軸受)で受けないようにし、簡単な構造で大きなスラスト荷重にも耐えられる機械損失の小さいスクロール流体機械を提供することである。
本発明は、上述の課題を解決するためになされたものであり、ケーシングと、中空の回転軸と、旋回軸と、旋回スクロールと、固定スクロールを有するスクロール流体機械に適用される。ここで、中空の回転軸はケーシングの中に設けられ、軸受に支持されて回転する。旋回軸は回転軸の中空部に設けられ、回転軸の軸心から偏心した軸受に支持されて旋回する。旋回スクロールは旋回軸の先端に係合され、自転防止機構により自転を防止されて旋回する。固定スクロールは旋回スクロールと対面して設けられ、旋回スクロールとの間に作動室が形成される。
そして、本発明は、ケーシングの底部に固定部を設け、固定部と旋回スクロールの間、または固定部と旋回軸の間にスラスト荷重を受けるための揺動支柱を設け、固定部は揺動支柱の一端と嵌合する受を有する。旋回スクロールまたは旋回軸は揺動支柱の他端と嵌合する受を有する。揺動支柱は、固定部の受と揺動支柱の一端の嵌合部に給油し、さらに旋回スクロール又は旋回軸の受と揺動支柱の他端の嵌合部に給油する、軸中心に貫通した油通路を有する。潤滑油を揺動支柱に供給する手段を有する。固定部の受と嵌合する揺動支柱の一端は支点となる。
旋回スクロールまたは旋回軸の受と嵌合する揺動支柱の他端は旋回スクロールまたは旋回軸に追従して旋回する。
本発明のスクロール流体機械は、旋回スクロールのスラスト荷重を、旋回軸を支持する軸受や回転軸を支持する軸受で受けないで、構造が簡単で機械損失の小さい揺動支柱で固定部に伝達し、固定部が受ける。従って、軸受へのスラスト荷重負担を大幅に減らし、軸受の長寿命化、小型化を実現しながら、大きなスラスト荷重にも耐える、軸受構造が簡単で機械損失の小さいスクロール流体機械を安く製造できる。
実施の形態1の圧縮機を示す断面図 実施の形態1の揺動支柱の製造方法を示す図 参考例1の圧縮機を示す断面図 参考例2の圧縮機を示す断面図 参考例3の圧縮機を示す断面図 参考例4の真空ポンプを示す断面図 参考例4の揺動支柱の組立部分を示す断面図 参考例4の揺動支柱の外観図 参考例4の揺動支柱の組み込み部から揺動支柱を除いた断面図 参考例5の圧縮機の揺動支柱の組立部分を示す断面図 参考例6の圧縮機の揺動支柱の組立部分を示す断面図 参考例7の圧縮機の揺動支柱の組立部分を示す断面図 実施の形態2の圧縮機の揺動支柱の組立部分を示す断面図
(実施の形態1)
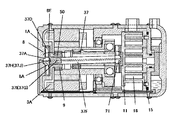
図1は実施の形態1の圧縮機を示す。電動機がステータ3とロータ4により構成される。ステータ3とフレーム5がケーシング1に固着される。主軸受6の外輪6Aがフレーム5に装着される。固定部8がケーシング1のスクロール側とは反対側すなわち底部1Aに設けられる。副軸受9の内輪9Bは固定部8に装着される。固定部8は回転軸10の中空部10Aまで伸びる。回転軸10は中心軸が異なる中空部10Aと10Bを有する。中空部10Aの中心軸は回転軸10の中心軸に一致する。中空部10Bの中心軸は回転軸10の中心軸から実質的に旋回半径の距離だけ偏心している。中空部10Aは回転軸10の後端部に位置する。中空部10Bは回転軸10の先端部から中間部に位置する。中空部10Bの前部には旋回主軸受30の外輪30Aが装着され、後部には旋回副軸受22の外輪22Aが装着される。
主軸受6および副軸受9はラジアル荷重のみを支持する軸受(例えば深溝玉軸受)である。回転軸10の前部は主軸受6の内輪6Bに支持され、後部は副軸受9の外輪9Aに支持される。この構成により、回転軸10は主軸受6と副軸受9に回転自在に支持される。
旋回主軸受30及び旋回副軸受22はラジアル荷重のみを支持する軸受(例えば深溝玉軸受)である。旋回軸21の前部は旋回主軸受30の内輪30Bに支持され、後部は旋回副軸受22の内輪22Bに支持される。この構成により、旋回軸21は旋回主軸受30と旋回副軸受22に回転自在に支持される。
カバー2がボルトによりケーシング1に取り付けられる。カバー2は外周上部に吸入口17、吐出口20を有し、内周に吸入室12を有している。仕切り2Aとガイド円筒23がカバー2内に設けられる。固定スクロール15がカバー2内に設けられる。固定スクロール15は主に鏡板15A、円筒15Bおよびラップ15Cからなる。円筒15Bはガイド円筒23と軸方向に移動可能に嵌合される。円柱状のピン13が仕切り2Aの外周部に埋め込まれる。ピン13の先端は鏡板15Aに設けられた穴に嵌合する。ピン13により固定スクロール15の回転が防止される。
吐出ポート18が鏡板15Aに設けられる。シール部材24が円筒15Bに設けられる。シール部材24は円筒15Bとガイド円筒23の隙間をシールする。この構成により、第1吐出室19がガイド円筒23内に形成される。メッシュ25が第1吐出室19内に設置される。第2吐出室38がガイド円筒23の外周とカバー2で囲まれる部分に形成される。油分離のための衝突板26が第2吐出室38の上部に設けられる。油溜め36が第2吐出室38の下部に設けられる。ガイド円筒23の上部にガス通路23Aが、下部に油落下穴23Bが設けられる。
旋回スクロール11が固定スクロール15と対面して設けられる。旋回スクロール11は主に鏡板11A、ボス11Bおよびラップ11Cからなる。ボス11Bが旋回軸21の先端に係合される。略密閉された作動室(圧縮室)16が旋回スクロール11の鏡板11A、ラップ11C、固定スクロール鏡板15A、およびラップ15Cにより構成される。オルダムリング27が旋回スクロール11の鏡板11Aの背面外周部に設けられる。オルダムリング27が自転防止機構を構成する。
受(凹球面受)8Aが固定部8の先端に設けられる。受21A(凹球面受)が旋回軸21の後端に設けられる。揺動支柱37が受8Aと21Aの間に設けられる。揺動支柱37は一端である球体37Aと他端である37Bの間に円筒37Fを設けて形成される。球体37A、37Bの中心は円筒37Fの軸線上にある。受8Aの球半径と球体37Aの球半径はほぼ等しい。したがって、球体37Aは受8Aからはずれることなく、受8Aに揺動可能に嵌合される。受21Aの球半径と球体37Bの球半径もほぼ等しい。したがって、球体37Bは受21Aはずれることなく、受21Aに揺動可能に嵌合される。揺動支柱37は軸中心に貫通した油通路37Cを有する。旋回スクロール11や旋回軸21に発生する遠心力とバランスをとるために、カウンタウェイト14が回転軸10に設けられる。
第1油通路31および油戻し穴39がフレーム5の下部に設けられる。第1給油パイプ29が油溜め36から仕切り2Aと固定スクロール鏡板15Aを貫通し、フィルタ28を介し、第1油通路31に接続される。分岐油通路31Aが第1油通路31から主軸受6の近傍まで設けられる。第2給油パイプ32の一端が第1油通路31に接続される。第2油通路34が底部1Aに設けられる。第2給油パイプ32の他端が第2油通路34に接続される。第2油通路34は固定部8の油通路8Bに連通する。油通路8Bの終端は受8Aに開口する。油通路21Bが旋回軸21の中心に設けられる。横穴21Cが油通路21Bから旋回主軸受30の近傍まで設けられる。揺動支柱37の油通路37Cは油通路8B、21Bを連通する。
実施の形態1の動作を説明する。電動機に通電すると、ステータ3がロータ4に回転力を与え、回転軸10が回転する。それに伴って、旋回軸21および旋回軸21と一体の旋回スクロール11が旋回する。旋回スクロール11はオルダムリング27により自転を防止され、旋回する。
ガス(作動流体)は、吸入口17から吸入室12に流入し、圧縮室16で圧縮されながら中央に移動し、吐出ポート18から第1吐出室19に流入する。その後ガスはガス通路23Aから上部に流出し、衝突板26に当たり、方向転換し、吐出口20から外部へ吐出される。
油(潤滑油)は第2吐出室38の高圧とケーシング1内の低圧の差圧により、油溜め36から第1給油パイプ29へ流入し、第1油通路31に流れ、分岐油通路31Aから主軸受6の近傍に給油される。油は第2給油パイプ32、第2油通路34、固定部油通路8Bを通り、受8Aと球体37Aの嵌合部(摺動部)に給油される。また、油は油通路37Cを通って球体37Bと受21Aの嵌合部(摺動部)に給油される。受8Aや21Aを漏れ出た油は副軸受9や旋回副軸受22に給油される。油は旋回軸21の油通路21Bへ入り、横穴21Cから旋回主軸受30に給油される。このようにして、各軸受や各摺動部は油潤滑される。
油は最終的にケーシング1内に溜まり、油戻し穴39から吸入室12へ入り、ガスと共に圧縮室16に流入し、吐出ポート18から吐き出される。ガスに含まれる油はメッシュ25でガスと分離され、油落下穴23Bから油溜め36へ落下する。油は、ガスが衝突板26に当たり方向転換する時、さらにガスと分離され、ガイド円筒23を伝って油溜め36に落下する。
ガスが圧縮室16で圧縮されると、旋回スクロール11はガスの圧力により、固定スクロール15から離れる方向にスラスト荷重を受け、旋回軸21を押し下げようとする。旋回軸21は旋回スクロール11から受けたスラスト荷重を揺動支柱37に伝達する。揺動支柱37は旋回軸21から受けたスラスト荷重を固定部8に伝達する。固定部8の受(凹球面受)8Aと嵌合する球体37A(揺動支柱37の一端)は支点となる。旋回軸21の受(凹球面受)21Aと嵌合する球体37B(揺動支柱37の他端)は旋回軸21に追従して旋回する。スラスト荷重により旋回スクロール11から旋回軸21、揺動支柱37を通して固定部8に押し下げる力が働いても、固定部8が固定されているから、揺動支柱37は移動しない。揺動支柱37が移動しないから、旋回軸21も移動しない。旋回軸21が移動しないから旋回スクロール11も移動しない。すなわち、旋回スクロール11は固定スクロール15から離れない。
実施の形態1では、旋回軸21のスラスト荷重を摺動速度の小さい揺動支柱37で固定部8に伝達し、固定部8が受ける。旋回主軸受30、旋回副軸受22、主軸受6および副軸受22はラジアル荷重だけを受け、スラスト荷重を受けない軸受でよい。したがって、圧縮機は、軸受構造が簡単で機械損失が減り、性能が向上する。また、軸受でスラスト荷重を受ける構造と比べてはるかに大きいスラスト荷重を受けることができる。
図2は実施の形態1において、油通路37Cを有する揺動支柱37の製造方法を示す。揺動支柱37は球体37Aおよび37Bの間に円筒37Fを溶接や接着等で接合して形成される。球体37Aに油穴37Mを、球体37Bに油穴37Nを設ける。円筒37Fの中空部は油穴37Lになる。油穴37Lを設けるために、初めから穴の開いた円筒37Fを使うので、円柱に油穴37Lを開ける加工工程が不要になる。従って、油穴37L、37Mおよび37Nからなる油通路37Cを有する揺動支柱37を安く製造できる。
(参考例1)
図3は参考例1の圧縮機を示す。図1と同じ部品と符号の説明は実施の形態1で説明されたので省略される。旋回軸21は貫通する空洞21Fを有する。揺動支柱37の一端は球体37Aであり、他端は球体37Bである。揺動支柱37は空洞21Fを貫通する。旋回スクロール11は主に鏡板11A、ボス11B、ラップ11C、および球受台11Dからなる。球受台11Dがボス11Bの内部に設けられる。球受台11Dは中央部に受(凹球面受)11Fを有する。球体37Bは受11Fと揺動可能に嵌合する。球体37B(揺動支柱37の他端)は円柱状のピン37Eを有する。ピン37Eの軸線は球体37Bの中心を通る。ピン37Eは揺動支柱37と直交する。ボス11Bはガイド溝11Eを有する。ガイド溝11Eの幅はピン37Eの径とほぼ等しい。ピン37Eはガイド溝11Eと摺動可能に嵌合し、揺動支柱37が旋回スクロール11と相対回転するのを防止する。すなわち、旋回スクロール11に対して揺動支柱37が回転するか、揺動支柱37に対して旋回スクロール11が回転するのを防止する。すなわち、揺動支柱37が自転防止機構を構成する。
球体37A(揺動支柱37の一端)は円柱状のピン37Dを有する。ピン37Dの軸線は球体37Aの中心を通る。ピン37Dは揺動支柱37と直交する。ボス7がケーシング1の底部1Aに設けられる。固定部8がボス7に嵌め合わされる。副軸受9は固定部8に装着される。固定部8はガイド溝8Eを有する。ガイド溝8Eの幅はピン37Dの径とほぼ等しい。ピン37Dはガイド溝8Eと摺動可能に嵌合し、揺動支柱37が固定部8と相対回転するのを防止する。したがって、旋回スクロール11は固定部8に対して相対回転が防止され、自転が防止される。このように、揺動支柱37は自転を防止されて揺動し、旋回スクロール11の自転を防止する。
固定部8の受(凹球面受)8Aと嵌合する球体37Aは支点となる。旋回スクロール11の球受台11Dに設けられた受(凹球面受)11Fと嵌合する球体37Bは旋回スクロール11に追従して旋回する。揺動支柱37は旋回スクロール11から受11Fと球体37Bを通じて受けたスラスト荷重を、球体37Aと受8Aを通じて固定部8に伝達する。それにより、固定部8が旋回スクロール11のスラスト荷重を受ける。固定部8は固定されているから、揺動支柱37はスラスト荷重方向へ移動しない。揺動支柱37が移動しないから旋回スクロール11も移動しない。
揺動支柱37は軸中心を貫通する油通路37Cを有する。油は固定部8の油通路8Bから受8Aと球体37Aの嵌合部に給油され、さらに油通路37Cを通り、球体37Bと受11Fの嵌合部に給油される。受8Aから油通路37Cに給油されると共に漏れ出た油は副軸受9、旋回副軸受22およびピン37Dの摺動部に給油される。受11Fから漏れ出た油はピン37Eの摺動部に給油され、旋回軸21の空洞21Fへも入り、横穴21Cから旋回主軸受30に給油される。
参考例1は旋回スクロール11のスラスト荷重を揺動支柱37が受けて固定部8に伝達し、固定部8が受ける。その効果は実施の形態1と同様である。さらに、揺動支柱37が旋回スクロール11の自転を防止する。それにより圧縮機は専用の自転防止部材が不要になり、構造が簡単になる。また、揺動支柱37は往復運動する部材に比べて振動騒音が少ない。
(参考例2)
図4は参考例2の圧縮機を示す。図1乃至3と同じ部品と符号の説明は、実施の形態1および2で説明されたので省略される。旋回スクロール11は主に鏡板11A、ボス11B、ラップ11C、および球受台11Dからなる。球受台11Dがボス11Bの内に設置される。球受台11Dはガイド溝11Eと受(凹球面受)11Fを有する。揺動支柱37は一端である球体37Aおよび他端である37Bの間に円筒37Fを接合して形成される。球体37B(揺動支柱37の他端)は外部に突き出た円柱状のピン37Eを有する。ピン37Eの軸線は球体37Bの中心を通る。ピン37Eは揺動支柱37と直交する。受11Fの球半径は球体37Bの球半径とほぼ等しい。ガイド溝11Eの幅はピン37Eの径とほぼ等しい。球体37Bは受11Fと揺動可能に嵌合する。ピン37Eはガイド溝11Eと摺動可能に嵌合し、揺動支柱37が旋回スクロール11と相対回転するのを防止する。
固定部8がケーシング1の底部1Aに設けられる。固定部8は受8A(凹球面受)とガイド溝8Eを有する。球体37A(揺動支柱37の一端)は外部に突き出た円柱状のピン37Dを有する。ピン37Dの軸線は球体37Aの中心を通る。ピン37Dは揺動支柱37と直交する。受8Aの球半径は球体37Aの球半径とほぼ等しい。ガイド溝8Eの幅はピン37Dの径とほぼ等しい。球体37Aは固定部8の受8Aと揺動可能に嵌合される。固定軸50が固定部8に嵌め合わされて設置される。副軸受9が固定軸50に装着される。ピン37Dを横から装着するために、ピン装着穴50Fが固定軸50に設けられる。ピン37Dはガイド溝8Eと摺動可能に嵌合し、揺動支柱37が固定部8と相対回転することを防止する。したがって、旋回スクロール11は固定部8に対して相対回転が防止され、自転が防止される。このように揺動支柱37は自転を防止されて揺動し、旋回スクロール11の自転を防止する。
固定部8の受(凹球面受)8Aと嵌合する球体37Aは支点となる。旋回スクロール11の受(凹球面受)11Fと嵌合する球体37Bは旋回スクロール11に追従して旋回する。揺動支柱37は旋回スクロール11からのスラスト荷重を受11Fと球体37Bを通じて受け、球体37Aと受8Aを通じて固定部8に伝達する。それにより、固定部8が旋回スクロール11のスラスト荷重を受ける。固定部8は固定されているから、揺動支柱37はスラスト荷重方向へ移動しない。揺動支柱37が移動しないから旋回スクロール11も移動しない。
参考例2は参考例1と同様の効果を奏する。さらに、ガイド溝8Eが副軸受9よりも外側にあるから、ピン37Dの長さを長くすることができる。それにより、揺動支柱37はより安定して旋回スクロール11の自転を防止できる。
(参考例3)
図5は参考例3の圧縮機を示す。図1乃至4と同じ部品と符号の説明は実施の形態1乃至3で説明されたので省略される。揺動支柱37の球体37A(一端)は円筒37Fと分離している。球体37Aは球体軸37Iと球体キー37Jを有する。球体軸37Iは球体37Aと円筒37Fを繋ぐ。円筒37Fは円筒穴37Gと円筒キー溝37Hを有する。円筒穴37Gは球体軸37Iと嵌合する。球体キー37Jが円筒キー溝37Hと嵌合する。このように球体37Aは円筒37Fと一体化され、球体37Aと円筒37Fが互いに回転するのを防止する。
参考例3は参考例2と同様の効果を奏する。さらに、ピン37Dを有する球体37Aを固定軸50の後部から装着できるから、ステータコイル3Aがピン37D装着の邪魔にならない。また、球体37A、ピン37D、ガイド溝8Eおよび固定部8はステータコイル3Aの内側に位置できる。それにより、圧縮機の全長が短くなる。
(参考例4)
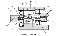
図6、7、8、9は参考例4を示す。図6は揺動支柱37を組み込んだ真空ポンプを示す。図7は揺動支柱37の組立部分を示す。図8は図7の揺動支柱37を90度回転させた外観図である。図9は図7の組立部分を90度回転させ、揺動支柱37を除いた状態を示す。図6、7、8、9と同じ部品と符号の説明は実施の形態1乃至4で説明されたので省略される。球受台8Mが固定部8に装着される。球受台21Mが旋回軸21に装着される。ストッパ8N、21Nの穴8T、21Tに円筒37Fを通した後、円筒37Fの両端に球体37Aまたは37Bを形成する。その後、ボルト8Uがストッパ8Nと球受台8Mを重ねて固定部8に固定する。ボルト21Uがストッパ21Nと球受台21Mを重ねて旋回軸21に固定する。
球受台8Mは受(凹球面受)8Pとガイド溝8Rを有する。ガイド溝8Rの幅はピン37Dの径とほぼ等しい。ストッパ8Nは受(凹球面受)8Qとガイド溝8Sを有する。ガイド溝8Sの幅はピン37Dの径とほぼ等しい。揺動支柱37の一端である球体37Aは受(凹球面受)8P、8Qと揺動可能に嵌合する。ピン37Dはガイド溝8R、8Sと摺動可能に嵌合する。それにより、揺動支柱37は固定部8と軸方向に相対移動しないで、相対回転もしないで揺動運動できる。
球受台21Mは受(凹球面受)21Pとガイド溝21Rを有する。ガイド溝21Rの幅はピン37Eの径とほぼ等しい。ストッパ21Nは受(凹球面受)21Qとガイド溝21Sを有する。ガイド溝21Sの幅はピン37Eの径とほぼ等しい。揺動支柱37の他端である球体37Bは受(凹球面受)21P、21Qと揺動可能に嵌合する。ピン37Eはガイド溝21R、21Sと摺動可能に嵌合する。それにより、揺動支柱37は軸方向に移動せず、回転もしないで揺動運動できる。また、旋回軸21は回転が防止される。旋回軸21と一体の旋回スクロール11は自転を防止される。このように揺動支柱37は自転を防止されて揺動し、旋回スクロール11の自転を防止する。
図6の真空ポンプにおけるスラスト荷重の発生方向は、図1の圧縮機におけるスラスト荷重の発生方向と逆である。圧縮機では作動室(圧縮室)16の圧力が外部より高い。そのため、スラスト荷重は旋回スクロール11が固定スクロール15から離れる方向に発生する。そして、旋回スクロール11が旋回軸21を押し付ける力が働く。しかし、真空ポンプでは作動室(ポンプ室)16の圧力が外部より低い。そのため、スラスト荷重は旋回スクロール11が固定スクロール15に引き寄せられる方向に発生する。そして、旋回スクロール11が旋回軸21を引っ張る力が働く。固定部8の受(凹球面受)8P、8Qと嵌合する球体37A(揺動支柱37の一端)は支点となる。旋回軸21の受(凹球面受)21P、21Qと嵌合する球体37B(揺動支柱37の他端)は旋回軸21に追従して旋回する。揺動支柱37は旋回スクロール11から旋回軸21に伝達されたスラスト荷重を受21P、受21Q、および球体37Bから受け、球体37A、受8Qおよび
8Pから固定部8に伝達する。固定部8は固定されているから揺動支柱37は移動しない。揺動支柱37が移動しないから旋回軸21も移動しない。旋回軸21が移動しないから旋回スクロール11も移動しない。
参考例4では、旋回スクロール11が固定スクロール15から離れる方向にだけではなく、固定スクロール15に引き寄せられる方向にも固定される。それにより、旋回スクロール11は固定スクロール15側に吸引されない。従って、真空ポンプは、スラスト荷重を受ける軸受が不要になり、軸受構造が簡単で機械損失が減る。また、揺動支柱37は旋回スクロール11の自転を防止する。従って、真空ポンプは専用の自転防止部品が不要になり、構造が簡単になる。
(参考例5)
図10は参考例5の揺動支柱60の組立部分を示す。揺動支柱60の一端である球面60A及び他端である球面60Bは揺動支柱60の全長を直径とする球の一部である。固定部8は先端に受(平面受)8Dとバンク8Lを有する。旋回軸21は後端に受(平面受)21Dとバンク21Lを有する。揺動支柱60は受8D、21Dの間に装着される。固定部8の受(平面受)8Dと嵌合する球面60Aは支点となる。旋回軸21の受(平面受)21Dと嵌合する球面60Bは旋回軸21に追従して旋回する。揺動支柱37は、旋回軸21のスラスト荷重を受21D、球面60Bから受け、球面60A、受8Dから固定部8に伝達する。バンク8L、21Lは揺動支柱60が外れないようにするガイドである。揺動支柱60は油穴を有してないから、実施の形態1とは別の方法で給油が行われる。参考例5の圧縮機は、揺動支柱60が受8D、21Dと転がり接触するから機械損失が少ない。
(参考例6)
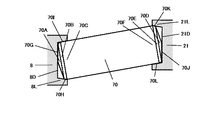
図11は参考例6の揺動支柱70の組立部分を示す。揺動支柱70の一端は円錐部70A、面取部70Bおよび円柱部70Cから成る。揺動支柱70の他端は円錐部70D、面取部70Eおよび円柱部70Fから成る。固定部8は先端に受(平面受)8Dとバンク8Lを有する。旋回軸21は後端に受(平面受)21Dとバンク21Lを有する。揺動支柱70は受8D、21Dの間に装着される。固定部8の受(平面受)8Dと嵌合する円錐部70A、面取部70B及び円柱部70C(揺動支柱70の一端)は支点となる。旋回軸21の受(平面受)21Dと嵌合する円錐部70D、面取部70Eおよび円柱部70F(揺動支柱70の他端)は旋回軸21に追従して旋回する。揺動支柱70は、旋回スクロール11から旋回軸21へ伝達されたスラスト荷重を受21D、円錐部70D、面取部70Eおよび円柱部70Fから受け、円柱部70C、面取部70B、円錐部70Aおよび受8Dから固定部8に伝達する。面取接触部70Hおよび円柱接触部70Iはバンク8Lと接触し、面取接触部70Kおよび円柱接触部70Lはバンク21Lと接触し、揺動支柱70が外れないようにする。面取接触部70H、70Kはバンク8L、21Lと接触した時、揺動支柱70が摩耗しない役割もする。参考例6の圧縮機は、揺動支柱70が受(平面受)8D、21Dと転がり接触するから接触部の滑りが略ゼロとなり、接触部の摩耗及び機械損失が減る。また、受(平面受)8D、21Dと円錐接触部70G、70Jは線接触するから接触部の面積が点接触の場合より広くなり、より大きいスラスト荷重にも耐えられる。
(参考例7)
図12は参考例7の揺動支柱80の組立部分を示す。揺動支柱80の一端は円錐80Aであり、他端は円錐80Bである。固定部8は先端に受(円錐面受)8Gを有する。旋回軸21は後端に受(円錐面受)21Gを有する。揺動支柱80は受8Gと21Gの間に装着される。固定部8の受8Gと嵌合する円錐80A(揺動支柱80の一端)は支点となる。旋回軸21の受21Gと嵌合する円錐80B(揺動支柱80の他端)は旋回軸21に追従して旋回する。揺動支柱80は、旋回スクロール11から旋回軸21へ伝わったスラスト荷重を受21Gおよび円錐80Bから受け、円錐80Aおよび受8Gから固定部8に伝達する。参考例7の圧縮機は、揺動支柱80が受(円錐面受)8Gおよび21Gと転がり接触するから機械損失が小さい。また、受8Gおよび21Gと接触する円錐80Aおよび80Bの面積が広いので揺動支柱80の摩耗が少ない。さらに、円錐面になっている受8Gおよび21Gは揺動支柱80が外れないガイドの役割もするから、圧縮機の構造が簡単になる。
(実施の形態2)
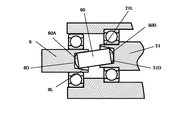
図13は実施の形態2の圧縮機の揺動支柱90の組立部分を示す。図示部分以外は図1と同様である。揺動支柱90の一端は凹球面90Aを、他端は凹球面90Bを有する。固定部8は先端にねじ8Iと一体になった球体8Hを有する。旋回軸21は後端にねじ21Iと一体になった球体21Hを有する。揺動支柱90は球体8H、21Hの間に装着される。固定部8の受(凸球面受)8Kと嵌合する凹球面90A(揺動支柱90の一端)は支点となる。旋回軸21の受(凸球面受)21Kと嵌合する凹球面90B(揺動支柱90の他端)は旋回軸21に追従して旋回する。揺動支柱90は、旋回軸21のスラスト荷重を受(凸球面受)21Kおよび凹球面90Bから受け、凹球面90Aおよび受(凸球面受)8Kから固定部8に伝達する。揺動支柱90は軸中心に貫通した油通路90Cを有する。球体8Hとねじ8Iも軸中心に貫通した油通路8Jを有する。球体21Hとねじ21Iも軸中心に貫通した油通路21Jを有する。油通路8B、8J、90C、21Jおよび21Bは連通し、給油経路を構成する。揺動支柱90の凹球面90Aまたは90Bの一方を球体に換え、それと嵌合する固定部8の先端または旋回軸21の後端に受(凹球面受)を設けてもよい。実施の形態2で、揺動支柱90は比較的大きい径にできるので、大きいスラスト荷重にも耐えられる。

Claims (1)

  1. ケーシングと、
    上記ケーシングの中に設けられ、軸受に支持されて回転する、中空の回転軸と、
    上記回転軸の中空部に設けられ、上記回転軸の軸心から偏心した軸受に支持されて旋回する旋回軸と、
    上記旋回軸の先端に係合され、自転防止機構により自転を防止されて旋回する旋回スクロールと、
    上記旋回スクロールと対面して設けられ、上記旋回スクロールとの間に作動室を形成する固定スクロールとを有するスクロール流体機械において、
    上記ケーシングの底部に固定部を設け、
    上記固定部と上記旋回スクロールの間、または上記固定部と上記旋回軸の間にスラスト荷重を受けるための揺動支柱を設け、
    上記固定部は揺動支柱の一端と嵌合する受を有し、
    上記旋回スクロールまたは上記旋回軸は上記揺動支柱の他端と嵌合する受を有し、
    上記揺動支柱は、上記固定部の受と上記揺動支柱の一端の嵌合部に給油し、さらに上記旋回スクロールまたは上記旋回軸の受と上記揺動支柱の他端の嵌合部に給油する、軸中心に貫通した油通路を有し、
    潤滑油を上記揺動支柱に供給する手段を有し、
    上記固定部の受と嵌合する上記揺動支柱の一端は支点となり、
    上記旋回スクロールまたは上記旋回軸の受と嵌合する上記揺動支柱の他端は上記旋回スクロールまたは上記旋回軸に追従して旋回する請求項1のスクロール流体機械。
JP2012101380A 2012-04-26 2012-04-26 スクロール流体機械 Expired - Fee Related JP5277381B2 (ja)

Priority Applications (1)

Application Number Priority Date Filing Date Title
JP2012101380A JP5277381B2 (ja) 2012-04-26 2012-04-26 スクロール流体機械

Applications Claiming Priority (1)

Application Number Priority Date Filing Date Title
JP2012101380A JP5277381B2 (ja) 2012-04-26 2012-04-26 スクロール流体機械

Related Parent Applications (1)

Application Number Title Priority Date Filing Date
JP2009268165A Division JP5035570B2 (ja) 2009-11-25 2009-11-25 スクロール流体機械

Publications (2)

Publication Number Publication Date
JP2012167674A true JP2012167674A (ja) 2012-09-06
JP5277381B2 JP5277381B2 (ja) 2013-08-28

Family

ID=46972029

Family Applications (1)

Application Number Title Priority Date Filing Date
JP2012101380A Expired - Fee Related JP5277381B2 (ja) 2012-04-26 2012-04-26 スクロール流体機械

Country Status (1)

Country Link
JP (1) JP5277381B2 (ja)

Cited By (2)

* Cited by examiner, † Cited by third party
Publication number Priority date Publication date Assignee Title
JP2014114785A (ja) * 2012-12-12 2014-06-26 Kobe Steel Ltd 発電装置及び発電システム
JP7055518B1 (ja) 2021-11-26 2022-04-18 株式会社石川エナジーリサーチ スクロール圧縮機

Citations (7)

* Cited by examiner, † Cited by third party
Publication number Priority date Publication date Assignee Title
JPS55109793A (en) * 1979-02-17 1980-08-23 Sanden Corp Displacement type fluid compressor
JPS61294186A (ja) * 1985-06-20 1986-12-24 Tokico Ltd スクロ−ル圧縮機
JPH0228589U (ja) * 1988-08-11 1990-02-23
JPH06336983A (ja) * 1993-03-30 1994-12-06 Nippon Soken Inc スクロール型圧縮機
JPH10132193A (ja) * 1996-10-30 1998-05-22 Tokico Ltd 自動グリース供給装置
JPH11303774A (ja) * 1998-04-23 1999-11-02 Tokico Ltd スクロール式流体機械
JPH11336665A (ja) * 1998-05-25 1999-12-07 Nippon Soken Inc 電動式圧縮機

Patent Citations (7)

* Cited by examiner, † Cited by third party
Publication number Priority date Publication date Assignee Title
JPS55109793A (en) * 1979-02-17 1980-08-23 Sanden Corp Displacement type fluid compressor
JPS61294186A (ja) * 1985-06-20 1986-12-24 Tokico Ltd スクロ−ル圧縮機
JPH0228589U (ja) * 1988-08-11 1990-02-23
JPH06336983A (ja) * 1993-03-30 1994-12-06 Nippon Soken Inc スクロール型圧縮機
JPH10132193A (ja) * 1996-10-30 1998-05-22 Tokico Ltd 自動グリース供給装置
JPH11303774A (ja) * 1998-04-23 1999-11-02 Tokico Ltd スクロール式流体機械
JPH11336665A (ja) * 1998-05-25 1999-12-07 Nippon Soken Inc 電動式圧縮機

Cited By (3)

* Cited by examiner, † Cited by third party
Publication number Priority date Publication date Assignee Title
JP2014114785A (ja) * 2012-12-12 2014-06-26 Kobe Steel Ltd 発電装置及び発電システム
JP7055518B1 (ja) 2021-11-26 2022-04-18 株式会社石川エナジーリサーチ スクロール圧縮機
JP2023079132A (ja) * 2021-11-26 2023-06-07 株式会社石川エナジーリサーチ スクロール圧縮機

Also Published As

Publication number Publication date
JP5277381B2 (ja) 2013-08-28

Similar Documents

Publication Publication Date Title
US10815994B2 (en) Mutual rotating scroll compressor
JP5265705B2 (ja) 回転式圧縮機
JP5035570B2 (ja) スクロール流体機械
JPWO2018225155A1 (ja) スクロール圧縮機および冷凍サイクル装置
KR20130080286A (ko) 두 개의 편심부를 갖는 로터리 압축기
KR20180019524A (ko) 스크롤 압축기
JP5277381B2 (ja) スクロール流体機械
KR20180031389A (ko) 상호 회전형 스크롤의 회전력 전달 구조 및 이를 적용한 압축기
WO2017085783A1 (ja) スクロール圧縮機
JP3545826B2 (ja) スクロ−ル圧縮機
JP5667931B2 (ja) スクロール圧縮機
JPH10220369A (ja) スクロール圧縮機
KR101330588B1 (ko) 스크롤 유체기계
KR101563368B1 (ko) 압축기
KR101731443B1 (ko) 밀폐형 압축기
CN112412792B (zh) 压缩机及具有该压缩机的冷冻循环装置
JP2005344600A (ja) 密閉型圧縮機
JP2616066B2 (ja) スクロール圧縮機
KR101563006B1 (ko) 압축기
JP3574904B2 (ja) 密閉式容積形圧縮機
CN101283183A (zh) 旋转式压缩机
KR101567086B1 (ko) 압축기
WO2024116464A1 (ja) スクロール型圧縮機
KR101708308B1 (ko) 밀폐형 압축기 및 그의 제조방법
KR101521304B1 (ko) 압축기

Legal Events

Date Code Title Description
TRDD Decision of grant or rejection written
A977 Report on retrieval

Free format text: JAPANESE INTERMEDIATE CODE: A971007

Effective date: 20130314

A01 Written decision to grant a patent or to grant a registration (utility model)

Free format text: JAPANESE INTERMEDIATE CODE: A01

Effective date: 20130402

A61 First payment of annual fees (during grant procedure)

Free format text: JAPANESE INTERMEDIATE CODE: A61

Effective date: 20130404

R150 Certificate of patent or registration of utility model

Ref document number: 5277381

Country of ref document: JP

Free format text: JAPANESE INTERMEDIATE CODE: R150

Free format text: JAPANESE INTERMEDIATE CODE: R150

LAPS Cancellation because of no payment of annual fees