JP2011197319A - Image forming system - Google Patents

Image forming system Download PDF

Info

Publication number
JP2011197319A
JP2011197319A JP2010063239A JP2010063239A JP2011197319A JP 2011197319 A JP2011197319 A JP 2011197319A JP 2010063239 A JP2010063239 A JP 2010063239A JP 2010063239 A JP2010063239 A JP 2010063239A JP 2011197319 A JP2011197319 A JP 2011197319A
Authority
JP
Japan
Prior art keywords
image forming
image
fixing
forming apparatus
toner image
Prior art date
Legal status (The legal status is an assumption and is not a legal conclusion. Google has not performed a legal analysis and makes no representation as to the accuracy of the status listed.)
Withdrawn
Application number
JP2010063239A
Other languages
Japanese (ja)
Inventor
Shinya Tanaka
真也 田中
Yukiko Iwasaki
有貴子 岩▲崎▼
Hiroomi Tamura
博臣 田村
Kazuya Saito
一矢 斎藤
Kazuaki Kamihara
一暁 神原
Current Assignee (The listed assignees may be inaccurate. Google has not performed a legal analysis and makes no representation or warranty as to the accuracy of the list.)
Ricoh Co Ltd
Original Assignee
Ricoh Co Ltd
Priority date (The priority date is an assumption and is not a legal conclusion. Google has not performed a legal analysis and makes no representation as to the accuracy of the date listed.)
Filing date
Publication date
Application filed by Ricoh Co Ltd filed Critical Ricoh Co Ltd
Priority to JP2010063239A priority Critical patent/JP2011197319A/en
Publication of JP2011197319A publication Critical patent/JP2011197319A/en
Withdrawn legal-status Critical Current

Links

Images

Landscapes

  • Fixing For Electrophotography (AREA)
  • Color Electrophotography (AREA)

Abstract

【課題】本発明は、透明トナー像を必要とないユーザーに対してはコストを負担させず、透明トナー像を必要とするユーザーに対しては、同一画像内で光沢差を付与することができる画像形成システムを提供できる。
【解決手段】用紙P上にカラートナー像を作像するプロセスユニット10Y、M、C、K、及び用紙上のカラートナー像を加熱定着する第一定着装置26を有する第一画像形成装置1と、第一画像形成装置1によって出力された用紙Pに連続して透明トナー像を作像するプロセスユニット30及び用紙P上のカラートナー像及び透明トナー像を加熱定着する第二定着装置37を有する第二画像形成装置2とを備え、第一画像形成装置1に対して第二画像形成装置2がオプション搭載される画像形成システムにおいて、第一定着装置26における定着温度よりも第二定着装置37における定着温度が低い。
【選択図】図1
The present invention does not incur a cost for a user who does not need a transparent toner image, and can give a gloss difference within the same image to a user who needs a transparent toner image. An image forming system can be provided.
A first image forming apparatus having a process unit (10Y, M, C, K) for forming a color toner image on a paper (P) and a first fixing device (26) for fixing the color toner image on the paper by heating. A process unit 30 that continuously forms a transparent toner image on the paper P output by the first image forming apparatus 1 and a second fixing device 37 that heat-fixes the color toner image and the transparent toner image on the paper P. In the image forming system including the second image forming apparatus 2 having the second image forming apparatus 2 as an option with respect to the first image forming apparatus 1, the second fixing temperature is higher than the fixing temperature in the first fixing apparatus 26. The fixing temperature in the device 37 is low.
[Selection] Figure 1

Description

本発明は電子写真方式を用いてトナー像を作像する第一画像形成装置に対して透明トナー像を作像する第二画像形成装置をオプション搭載可能な画像形成システムに関するものである。   The present invention relates to an image forming system in which a second image forming apparatus for forming a transparent toner image can be optionally mounted on a first image forming apparatus for forming a toner image using an electrophotographic system.

画質の多様化が進められている近年においては、光沢感、立体感など、通常のトナーの使用では得ることができない特殊な画質を実現しうる画像形成装置が種々提案されている。   In recent years when image quality has been diversified, various image forming apparatuses have been proposed that can realize special image quality that cannot be obtained by using normal toner, such as glossiness and stereoscopic effect.

例えば、特許文献1では、転写材上にブラック、イエロー、マゼンタ、シアンといった通常の有色トナー像と共に透明トナー像を転写・定着する画像形成装置が提案されている。この画像形成装置によれば、用紙全体に透明樹脂をスプレーしたり、コーティングしたりするものに比べて複雑な機構を組み込む必要がなく、普通紙等を用いても見栄えのよい光沢感のある画像を容易に得ることができる。   For example, Patent Document 1 proposes an image forming apparatus that transfers and fixes a transparent toner image together with normal colored toner images such as black, yellow, magenta, and cyan on a transfer material. According to this image forming apparatus, it is not necessary to incorporate a complicated mechanism as compared with the case where a transparent resin is sprayed or coated on the entire paper, and a glossy image that looks good even if plain paper is used. Can be easily obtained.

また、特許文献2では、転写材上に有色トナー像を転写・定着した後に、透明トナー像を転写・定着する画像形成装置が提案されている。この画像形成装置では、有色トナー像が転写・定着された転写材を転写材搬送経路を通して再給紙し、転写材上の有色トナー像上に透明トナー像を転写した後、先と同じ定着装置により定着して画像を出力する。この画像形成装置によれば、有色トナー像と透明トナー像とを重ね合わせて形成する際の色にじみが生じることを防止するとともに、光沢度の向上を図っている。さらに、有色トナー像の定着時よりも透明トナー像の定着時の定着性を上げる、例えば転写材の搬送速度を遅くすることで光沢度の向上を図っている。   Patent Document 2 proposes an image forming apparatus that transfers and fixes a transparent toner image after transferring and fixing a colored toner image on a transfer material. In this image forming apparatus, the transfer material on which the color toner image is transferred and fixed is re-fed through the transfer material conveyance path, and the transparent toner image is transferred onto the color toner image on the transfer material, and then the same fixing device as before To fix and output an image. According to this image forming apparatus, it is possible to prevent the occurrence of color bleeding when the colored toner image and the transparent toner image are formed in an overlapping manner, and to improve the glossiness. Furthermore, the glossiness is improved by increasing the fixing property when fixing the transparent toner image than when fixing the colored toner image, for example, by lowering the transfer speed of the transfer material.

しかしながら、特許文献1に提案される画像形成装置にあっては、転写材上に有色トナー像と透明トナー像の全てを転写した後に定着を行うために、同一画像内で光沢差を付けることは困難である。特許文献2に記載される画像形成装置にあっても、同一画像内で光沢差を付けることは困難である。透明トナー像定着時の定着性を上げることにより光沢感の向上を図っているが、透明トナー像と同様に有色トナー像の光沢感も一様に向上するため、同一画像内で光沢感が部分的に変化することはないからである。   However, in the image forming apparatus proposed in Patent Document 1, it is not possible to give a gloss difference in the same image in order to perform fixing after transferring all of the colored toner image and the transparent toner image onto the transfer material. Have difficulty. Even in the image forming apparatus described in Patent Document 2, it is difficult to provide a gloss difference within the same image. Although the glossiness is improved by improving the fixability at the time of fixing the transparent toner image, the glossiness of the colored toner image is uniformly improved in the same way as the transparent toner image, so that the glossiness is partially in the same image. Because there is no change.

これに対し、特許文献3では、有色トナー像及び/又は透明トナー像を転写材上に転写・定着した後、透明トナー像を転写材上に転写・定着する画像形成装置が提案されている。この画像形成装置では、一回目の定着工程における定着ニップ内でのトナーの到達溶融粘度η1と、二回目の定着工程における定着ニップ内でのトナーの到達溶融粘度η2が、(到達溶融粘度η1)<(到達溶融粘度η2)の関係を満足している。これにより、二回目の定着工程における透明トナー像の溶融状態を一回目の定着工程よりも抑えることができるので、二回目の画像形成工程で得られる透明トナー像を一回目の画像形成工程で得られる透明トナー像に比べ低光沢部とすることができる。つまり、同一画像面内での任意の部分に対し、高光沢部及び低光沢部を出力可能である。   On the other hand, Patent Document 3 proposes an image forming apparatus in which a color toner image and / or a transparent toner image is transferred and fixed on a transfer material, and then the transparent toner image is transferred and fixed on the transfer material. In this image forming apparatus, the ultimate melt viscosity η1 of the toner in the fixing nip in the first fixing step and the ultimate melt viscosity η2 of the toner in the fixing nip in the second fixing step are (final melt viscosity η1). <(Achieved melt viscosity η2) is satisfied. As a result, the melting state of the transparent toner image in the second fixing step can be suppressed more than in the first fixing step, so that the transparent toner image obtained in the second image forming step can be obtained in the first image forming step. Compared to a transparent toner image to be produced, a low gloss portion can be obtained. That is, it is possible to output a high gloss portion and a low gloss portion for an arbitrary portion within the same image plane.

なお、特許文献4では、後述する課題を解決するための手段における「第一画像形成装置に対してオプション搭載可能な第二画像形成装置」と同様に、「画像形成本体部に付設された特殊トナー像を形成し得る副機能付加ユニット」が開示されている。この画像形成装置では、特殊トナー像を所望しないユーザーに対しては、副機能付加ユニットを付設しない構成をとることができ、余計なコストを負担させることがない。しかしながら、この副機能付加ユニットは、熱発泡性トナーを用いることにより立体感のある画像を得ることを目的とするものである。そのため、副機能付加ユニットでの定着温度が画像形成本体部の定着温度よりも高く設定されている。よって、この付記機能付加ユニットで特殊トナーとして透明トナーを用いた場合には、透明トナー像と有色トナー像との光沢感が一様となり、同一画像内で光沢感を部分的に変化させて出力することは困難である。   In Patent Document 4, as in “Second image forming apparatus that can be optionally mounted on the first image forming apparatus” in the means for solving the problems described later, “special attached to the image forming main body”. A sub-function addition unit capable of forming a toner image is disclosed. In this image forming apparatus, a user who does not desire a special toner image can be configured not to be provided with a sub-function adding unit, and an extra cost is not borne. However, the purpose of this sub-function addition unit is to obtain a three-dimensional image by using a thermally foamable toner. Therefore, the fixing temperature in the sub-function adding unit is set higher than the fixing temperature of the image forming main body. Therefore, when transparent toner is used as the special toner in this additional function addition unit, the glossiness of the transparent toner image and the colored toner image becomes uniform, and the glossiness is partially changed in the same image for output. It is difficult to do.

特許文献3に提案される画像形成装置は、高光沢部及び低光沢部を出力可能であるものの、同一画像形成装置内に、少なくともイエロー・シアン、マゼンタ・ブラック・透明トナーの5つ以上の現像装置及び感光体ドラムを備えたタンデム方式となってしまい、生産コストが非常に高くなってしまう。5つ以上の現像機を備えたリボルバー方式でも同様に生産コストが非常に高くなってしまう。透明トナーを必要とするユーザーは増加しているものの、ほとんどのユーザーにとって、出力画像はモノクロもしくは4色のフルカラー画像のみであるため、全ての画像形成装置に対してあらかじめ透明トナーでの画像形成を可能とするのはコスト高となり適切でない。   Although the image forming apparatus proposed in Patent Document 3 can output a high gloss part and a low gloss part, at least five developments of at least yellow, cyan, magenta, black, and transparent toner in the same image forming apparatus. The tandem system including the apparatus and the photosensitive drum is used, and the production cost becomes very high. Similarly, the revolver system having five or more developing machines also has a very high production cost. Although the number of users who need transparent toner is increasing, for most users, the output image is only a monochrome or four-color full-color image. Making it possible is not appropriate due to high costs.

本発明は以上の問題点に鑑みなされたものである。その目的は、透明トナー像を必要とないユーザーに対してはコストを負担させず、透明トナー像を必要とするユーザーに対しては、同一画像内で光沢差を付与することができる画像形成システムを提供することである。   The present invention has been made in view of the above problems. The purpose of the image forming system is that it does not incur a cost for a user who does not need a transparent toner image, and can give a gloss difference within the same image to a user who needs a transparent toner image. Is to provide.

上記課題を解決するため、請求項1の発明は、記録媒体上に有色トナー像を作像する作像手段、及び記録媒体上の有色トナー像を加熱定着する第一定着手段を有する第一画像形成装置と、第一画像形成装置によって出力された記録媒体に連続して透明トナー像を作像する第二作像手段、及び記録媒体上の有色トナー像及び透明トナー像を加熱定着する第二定着手段を有する第二画像形成装置とを備え、該第一画像形成装置に対して該第二画像形成装置がオプション搭載される画像形成システムにおいて、第一定着手段における定着温度よりも第二定着手段における定着温度が低いことを特徴とするものである。
請求項2の発明は、請求項1の画像形成システムにおいて、上記第一定着手段よりも記録媒体移動方向下流側で、且つ上記第二定着手段よりも記録媒体移動方向上流側で、上記記録媒体の温度を検出する記録媒体温度検出手段を備え、該第二定着手段は、該記録媒体温度検出手段からの検出結果に基づき、定着温度を制御することを特徴とするものである。
請求項3の発明は、請求項1又は2の画像形成システムにおいて、上記第二作像手段は、作像時に排出されるトナーを再利用するためのトナー再利用機構を備えることを特徴とするものである。
請求項4の発明は、請求項1、2又は3の画像形成システムにおいて、上記記録媒体の両面に画像形成を行う場合には、上記第一画像形成装置で該記録媒体の両面に有色トナー像を転写定着した後に、上記第二画像形成装置で該記録媒体の両面に透明トナー像を転写定着させることを特徴とするものである。
本発明において、トナー像は高い定着温度で十分に溶融させると、表面の平滑性が向上し光沢度が高くなり、低い定着温度であまり溶融させないと、表面が粗く光が乱反射して光沢度が低下する。よって、第一定着手段で高い第一定着温度で定着された有色トナー像は光沢度が高く、第二定着手段で低い第二定着温度で定着された透明トナー像は光沢度が低いものとなり、同一画像内で光沢差が生じる。なお、高い定着温度で定着され高い光沢度をもったトナー像は、その後低い定着温度で定着される工程を経ても高い光沢を保ったままである。
In order to solve the above problems, the invention of claim 1 includes a first image forming means for forming a colored toner image on a recording medium, and a first fixing means for heating and fixing the colored toner image on the recording medium. An image forming apparatus; a second image forming unit that continuously forms a transparent toner image on the recording medium output by the first image forming apparatus; and a first image forming apparatus that heat-fixes the colored toner image and the transparent toner image on the recording medium. And an image forming system in which the second image forming apparatus is optionally mounted on the first image forming apparatus. The fixing temperature in the two fixing means is low.
According to a second aspect of the present invention, in the image forming system of the first aspect, the recording is performed on the downstream side in the recording medium movement direction from the first fixing unit and on the upstream side in the recording medium movement direction from the second fixing unit. The recording medium temperature detecting means for detecting the temperature of the medium is provided, and the second fixing means controls the fixing temperature based on the detection result from the recording medium temperature detecting means.
According to a third aspect of the present invention, in the image forming system according to the first or second aspect, the second image forming unit includes a toner reuse mechanism for reusing toner discharged at the time of image formation. Is.
According to a fourth aspect of the present invention, in the image forming system according to the first, second, or third aspect, when image formation is performed on both sides of the recording medium, the first image forming apparatus uses a colored toner image on both sides of the recording medium. After the toner is transferred and fixed, the second image forming apparatus transfers and fixes a transparent toner image on both surfaces of the recording medium.
In the present invention, when the toner image is sufficiently melted at a high fixing temperature, the smoothness of the surface is improved and the glossiness is increased. descend. Therefore, the colored toner image fixed at the high first fixing temperature by the first fixing means has high glossiness, and the transparent toner image fixed at the second fixing temperature low by the second fixing means has low glossiness. Thus, a difference in gloss occurs in the same image. A toner image that is fixed at a high fixing temperature and has a high glossiness remains high gloss even after a process of fixing at a low fixing temperature.

本発明は、透明トナー像を必要とないユーザーに対してはコストを負担させず、透明トナー像を必要とするユーザーに対しては、同一画像内で光沢差を付与することができる画像形成システムを提供できるという優れた効果がある。   The present invention does not incur a cost for a user who does not need a transparent toner image, and can provide a gloss difference within the same image to a user who needs a transparent toner image. There is an excellent effect that can be provided.

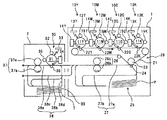
本実施形態に係る画像形成システムを示す概略構成図。1 is a schematic configuration diagram showing an image forming system according to an embodiment. 本実施例に係る測定画像を示す模式図。The schematic diagram which shows the measurement image which concerns on a present Example. 本実施例の係る測定画像の光沢度差を示す特性図。The characteristic view which shows the glossiness difference of the measurement image which concerns on a present Example.

以下、本発明を適用した画像形成システムとして、電子写真方式によって画像を形成する画像形成システムの実施形態について説明する。図1は、本実施形態に係る画像形成システムを示す概略構成図である。この画像形成システムは、第一画像形成装置1と、これにオプション搭載される第二画像形成装置2とを有している。   Hereinafter, an embodiment of an image forming system that forms an image by an electrophotographic method will be described as an image forming system to which the present invention is applied. FIG. 1 is a schematic configuration diagram showing an image forming system according to the present embodiment. This image forming system includes a first image forming apparatus 1 and a second image forming apparatus 2 that is optionally mounted thereon.

まず、第一画像形成装置1の基本的な構成について説明する。第一画像形成装置1は、イエロー(Y),マゼンタ(M),シアン(C),ブラック(K)の有色トナー像を形成するための4つのプロセスユニット10Y,M,C,Kを備えている。以下添字Y、M、C、Kはイエロー、マゼンタ、シアン、ブラックの各色をそれぞれ示す。このプロセスユニット10Y、M、C、Kは、それぞれ各色のトナー像を担持する像担持体である感光体11Y,M,C,Kを備えている。これら各感光体11Y,M,C,Kの周囲には、各感光体11表面を一様に帯電する帯電装置12Y,M,C,Kや、一様に帯電された各感光体11表面を画像データに基づき露光して静電潜像を形成する露光装置13Y,M,C,K、各感光体11表面に形成される静電潜像を現像する現像装置14Y,M,C,K、トナー像転写後の各感光体11表面をクリーニングするクリーニング装置15Y,M,C,K等を備えている。なお、画像データとは、図示しない外付けのスキャナによる原稿読取で得られた画像情報や、外部のパーソナルコンピュータから送られている画像情報等である。また、プロセスユニット10Y,M,C,Kは、感光体11の周囲に配設される各種装置12、14、15とを1つのユニットとして共通の支持体に支持するものであり、第一画像形成装置1本体に対して着脱可能になっている。   First, the basic configuration of the first image forming apparatus 1 will be described. The first image forming apparatus 1 includes four process units 10Y, 10M, 10C, and 10K for forming colored toner images of yellow (Y), magenta (M), cyan (C), and black (K). Yes. In the following, the subscripts Y, M, C, and K indicate yellow, magenta, cyan, and black, respectively. Each of the process units 10Y, 10M, 10C, and 10K includes photoconductors 11Y, 11M, 11C, and 11K, which are image carriers that carry toner images of respective colors. Around these photoconductors 11Y, 11M, 11C, and 11K, charging devices 12Y, 12M, 12C, and 12K that uniformly charge the surface of each photoconductor 11 and the surfaces of each photoconductor 11 that is uniformly charged are provided. Exposure devices 13Y, 13M, 13C, and 13K that form an electrostatic latent image by exposure based on image data, and developing devices 14Y, 14M, 14C, and 14K that develop an electrostatic latent image formed on the surface of each photoconductor 11. Cleaning devices 15Y, 15M, 15C, 15K, etc. are provided for cleaning the surface of each photoconductor 11 after the toner image is transferred. The image data is image information obtained by reading a document by an external scanner (not shown), image information sent from an external personal computer, and the like. Further, the process units 10Y, 10M, 10C, and 10K support various devices 12, 14, and 15 disposed around the photoconductor 11 as a single unit on a common support. It can be attached to and detached from the main body of the forming apparatus 1.

また、第一画像形成装置1は、感光体11Y,M,C,Kに形成された有色トナー画像を用紙Pに転写する転写ユニット20を備えている。この転写ユニット20は、駆動ローラを含む複数のローラにより張架されて図中矢印方向に回転駆動する中間転写ベルト21を備えている。中間転写ユニット20は、感光体11Y,M,C,Kと所定の電圧が印加される一次転写ローラ22Y,M,C,Kとの間に中間転写ベルト21を挟み込んで一次転写ニップを形成する。また、中間転写ユニット20は二次転写バックアップローラ23と所定の電圧が印加される二次転写ローラ24の間に中間転写ベルト21を挟み込んで二次転写ニップを形成している。さらに、中間転写ユニット20は、中間転写ベルト21上に残留する転写残トナーを除去する図示しないクリーニング装置等も備えている。上記プロセスユニット10Y,M,C,Kで形成された感光体11Y,M,C,K上の有色トナー像は、一次転写ニップで中間転写ベルト21に順次重ね合わされて一次転写される。中間転写ベルト21上に転写された4色重ね合わせ有色トナー像は、二次転写ニップで用紙Pに二次転写されることになる。   The first image forming apparatus 1 also includes a transfer unit 20 that transfers the colored toner images formed on the photoreceptors 11Y, 11M, 11C, and 11K to the paper P. The transfer unit 20 includes an intermediate transfer belt 21 that is stretched by a plurality of rollers including a driving roller and is driven to rotate in the direction of an arrow in the figure. The intermediate transfer unit 20 sandwiches the intermediate transfer belt 21 between the photoreceptors 11Y, 11M, 11C, and 11K and primary transfer rollers 22Y, 22M, 22C, and 22K to which a predetermined voltage is applied to form a primary transfer nip. . In addition, the intermediate transfer unit 20 forms a secondary transfer nip by sandwiching the intermediate transfer belt 21 between the secondary transfer backup roller 23 and the secondary transfer roller 24 to which a predetermined voltage is applied. Further, the intermediate transfer unit 20 includes a cleaning device (not shown) that removes transfer residual toner remaining on the intermediate transfer belt 21. The colored toner images on the photoreceptors 11Y, 11M, 11C, and 11K formed by the process units 10Y, 10M, 10C, and 10K are sequentially superimposed and primarily transferred onto the intermediate transfer belt 21 at the primary transfer nip. The four-color superimposed color toner image transferred onto the intermediate transfer belt 21 is secondarily transferred onto the paper P at the secondary transfer nip.

また、第一画像形成装置1は、転写ユニット20の下方に、給紙カセット25、図示しないレジストローラ対、第一定着装置26、また第一画像形成装置1の筐体内で用紙Pを搬送する第一紙搬送路27等を備えている。給紙カセット25は、第一画像形成装置1の筺体内に出し入れ可能に構成され、収容する用紙Pの一番上の用紙を一枚づつレジストローラ対に向けて送り出す。レジストローラ対は、給紙カセット25により供給された用紙Pをローラ間に挟み込み、中間転写ベルト21上の4色重ね合わせ有色トナー像に同期させ得るタイミングで二次転写ニップに送り出す。第一定着装置26は、後述するように、ハロゲンランプ等の発熱源を内包する定着ローラ26aと、これに向けて押圧される加圧ローラ26bとの当接による定着ニップに用紙Pを挟み込み、加熱や加圧の作用によりトナー像を定着せしめる。第一紙搬送路27は、後述するように、給紙カセット25から給紙される用紙Pを二次転写ニップや第一定着装置26に案内するための第一転写定着用紙搬送路27aや、片面に対する転写定着処理を終えた用紙Pを図示しない切換爪で反転させ再び二次転写ニップに案内するための第一反転用紙搬送路27b等から構成される。   Further, the first image forming apparatus 1 conveys the paper P below the transfer unit 20 in a paper feed cassette 25, a registration roller pair (not shown), the first fixing device 26, and the housing of the first image forming apparatus 1. The first paper transport path 27 is provided. The paper feed cassette 25 is configured so as to be able to be taken in and out of the housing of the first image forming apparatus 1, and sends out the uppermost paper of the paper P to be stored one by one toward the registration roller pair. The registration roller pair sandwiches the paper P supplied by the paper feed cassette 25 between the rollers, and sends it to the secondary transfer nip at a timing that can be synchronized with the four-color superimposed color toner image on the intermediate transfer belt 21. As will be described later, the first fixing device 26 sandwiches the paper P in a fixing nip formed by contact between a fixing roller 26a containing a heat source such as a halogen lamp and a pressure roller 26b pressed toward the fixing roller 26a. The toner image is fixed by the action of heating or pressing. As will be described later, the first paper transport path 27 includes a first transfer fixing paper transport path 27 a for guiding the paper P fed from the paper feed cassette 25 to the secondary transfer nip and the first fixing device 26. The sheet P having undergone the transfer and fixing process on one side is constituted by a first reverse sheet conveyance path 27b and the like for reversing the sheet P with a switching claw (not shown) and guiding it again to the secondary transfer nip.

次に、第二画像形成装置2の基本的な構成について説明する。第二画像形成装置2は、画像に対する光沢性付与処理を必要に応じて行うことを要望するユーザーの意志により、第一画像形成装置1に対してオプション搭載されるものである。   Next, a basic configuration of the second image forming apparatus 2 will be described. The second image forming apparatus 2 is optionally mounted on the first image forming apparatus 1 according to the will of a user who desires to perform glossiness imparting processing on an image as necessary.

この第二画像形成装置2は、透明トナー像を形成するためのプロセスユニット30を備えている。このプロセスユニット30は、ドラム状の感光体31の周囲に帯電装置32、露光装置33、現像装置34、転写ローラ36、クリーニング装置35などを有している。このプロセスユニット30の露光装置33は、帯電装置32によって一様に帯電された感光体31上の光沢性付与領域に対応する領域を露光装置によって露光してベタ状の静電潜像を形成する。現像装置34は、この静電潜像を透明トナーにより現像して透明トナー像を形成する。所定の電圧が印加される転写ローラ36は、感光体31との間に用紙Pを挟み込んで転写ニップを形成している。感光体31上に現像された透明トナー像は、転写ニップで用紙Pに転写されることになる。第一画像形成装置1のプロセスユニット10Y,M,C,Kが、通常の有色トナーを用いるのに対し、第二画像形成装置2のプロセスユニット30が透明トナーを用いる点以外は、第一画像形成装置1のものと第二画像形成装置2とは同様の構成である。透明トナーには、有色トナーに顔料成分を添加しないものが使用できる。   The second image forming apparatus 2 includes a process unit 30 for forming a transparent toner image. The process unit 30 includes a charging device 32, an exposure device 33, a developing device 34, a transfer roller 36, a cleaning device 35, and the like around a drum-shaped photoconductor 31. The exposure device 33 of the process unit 30 forms a solid electrostatic latent image by exposing the region corresponding to the glossiness imparting region on the photoreceptor 31 uniformly charged by the charging device 32 by the exposure device. . The developing device 34 develops the electrostatic latent image with a transparent toner to form a transparent toner image. The transfer roller 36 to which a predetermined voltage is applied sandwiches the paper P between the photoreceptor 31 and forms a transfer nip. The transparent toner image developed on the photoreceptor 31 is transferred to the paper P at the transfer nip. The first image except that the process units 10Y, M, C, and K of the first image forming apparatus 1 use normal colored toner, whereas the process unit 30 of the second image forming apparatus 2 uses transparent toner. The configuration of the forming apparatus 1 and the second image forming apparatus 2 are the same. As the transparent toner, a toner having no pigment component added to a colored toner can be used.

また、第二画像形成装置2は、この他に、第二定着装置37、第二画像形成装置2内で用紙を搬送する第二紙搬送路等38等を備えている。上記第二定着装置37は、後述するように、ハロゲンランプ等の発熱源を内包する定着ローラ37aと、これに向けて押圧される加圧ローラ37bとの当接による定着ニップに用紙Pを挟み込み、加熱や加圧の作用によりトナー像を定着せしめる。本実施形態で用いられる透明トナーは、第二定着装置37による加熱定着処理を施される前には白色を帯びる白色トナーであるが、加熱定着処理を施されると透明トナーに変化する性質を有している。第二紙搬送路38は、第一画像形成装置1より排出される用紙Pをプロセスユニット30の転写ニップ及び第二定着装置37に案内するための第二転写定着用紙搬送路38a、片面に対する透明トナー像の転写定着処理を終えた用紙Pを図示しない切換爪で反転させ再度転写ニップに案内するための第二反転用紙搬送路38b、第一画像形成装置1より排出される用紙Pをそのまま機外に排出するための排出用搬送路38等から構成される。   In addition, the second image forming apparatus 2 includes a second fixing device 37, a second paper transport path 38 for transporting paper in the second image forming apparatus 2, and the like. As will be described later, the second fixing device 37 sandwiches the sheet P in a fixing nip formed by contact between a fixing roller 37a including a heat source such as a halogen lamp and a pressure roller 37b pressed toward the fixing roller 37a. The toner image is fixed by the action of heating or pressing. The transparent toner used in the present embodiment is a white toner having a white color before being subjected to the heat fixing process by the second fixing device 37. However, when the heat fixing process is performed, the transparent toner is changed to a transparent toner. Have. The second paper transport path 38 is a second transfer fixing paper transport path 38 a for guiding the paper P discharged from the first image forming apparatus 1 to the transfer nip of the process unit 30 and the second fixing device 37, and is transparent to one side. The second reverse paper conveyance path 38b for reversing the paper P after the toner image transfer and fixing processing by a switching claw (not shown) and guiding it again to the transfer nip, the paper P discharged from the first image forming apparatus 1 as it is. It comprises a discharge conveyance path 38 and the like for discharging outside.

なお、本実施形態に係る画像形成システムにおいては、第一画像形成装置1と第二画像形成装置2との機間位置を調整するための図示しない制御部を備えている。この制御部は、例えば、第一画像形成装置1における用紙Pに対する有色トナー像の形成位置と、第二画像形成装置2における透明トナー像の形成位置との位置ズレを測定した後、その結果に応じて透明トナー部の形成位置を補正する機間位置合わせ処理を実施することができる。本実施形態に係る第二画像形成装置2は、この機間位置合わせ処理で使用したテストシートTを、一般的なプリントジョブにおけるプリントアウト紙と区別して収容するためのテストシート収容カセット39や、テストシートTを搬送するテスト用紙搬送路38dも備えている。このテストシートTには、第一画像形成装置1内の給紙カセット25に収容されている一般的な白色の用紙を用いることができ、また、機間位置合わせ処理に用いられテストシート収容カセット内に収容されたテストシートTを再利用することもできる。   Note that the image forming system according to the present embodiment includes a control unit (not shown) for adjusting the position between the first image forming apparatus 1 and the second image forming apparatus 2. For example, the control unit measures a positional deviation between a color toner image formation position on the paper P in the first image forming apparatus 1 and a transparent toner image formation position in the second image forming apparatus 2, and then determines the result. Accordingly, an inter-machine alignment process for correcting the formation position of the transparent toner portion can be performed. The second image forming apparatus 2 according to the present embodiment includes a test sheet storage cassette 39 for storing the test sheet T used in the inter-machine alignment process in distinction from printout paper in a general print job, A test paper transport path 38d for transporting the test sheet T is also provided. The test sheet T can be a general white sheet accommodated in a sheet feeding cassette 25 in the first image forming apparatus 1 and can be used for inter-machine alignment processing. The test sheet T accommodated therein can be reused.

以上のように構成される第一画像形成装置1及び第二画像形成装置2においては、次のように画像形成が行われる。まず、用紙Pの表面にのみ、有色トナー像及び透明トナー像を形成する片面光沢付与モードについて説明する。例えばイエロー用のプロセスユニット10Yでは、帯電装置12Yにより一様に帯電された感光体11Yの表面に、露光装置13Yで変調及び偏向されたレーザ光が走査されながら照射されて静電潜像が形成される。感光体11Y上の静電潜像は、現像装置14Yで現像されてイエロー色のトナー像となる。中間転写ベルト21を挟んで一次転写ローラ22Yに対向する一次転写ニップでは、感光体11Y上のトナー像が用紙Pに転写される。トナー像が転写された後の感光体11Yの表面は、クリーニング装置15Yでクリーニングされ、次の静電潜像の形成に備えられる。   In the first image forming apparatus 1 and the second image forming apparatus 2 configured as described above, image formation is performed as follows. First, a single-side gloss imparting mode for forming a colored toner image and a transparent toner image only on the surface of the paper P will be described. For example, in the yellow process unit 10Y, the surface of the photoconductor 11Y uniformly charged by the charging device 12Y is irradiated with the laser beam modulated and deflected by the exposure device 13Y while being scanned to form an electrostatic latent image. Is done. The electrostatic latent image on the photoreceptor 11Y is developed by the developing device 14Y to become a yellow toner image. The toner image on the photoreceptor 11Y is transferred onto the paper P in the primary transfer nip that faces the primary transfer roller 22Y with the intermediate transfer belt 21 interposed therebetween. The surface of the photoreceptor 11Y after the toner image is transferred is cleaned by the cleaning device 15Y, and is prepared for the next formation of an electrostatic latent image.

他のプロセスユニット10M、C、Kについても、上述した画像形成行程が中間転写ベルト21の移動に同期して実行され、中間転写ベルト21上に、4色重ね合わせトナー像が形成される。一方、給紙カセット25から給送された用紙は、レジストローラ対により所定のタイミングで送出されて二次転写ニップに搬送される。そして、二次転写ニップで4色重ね合わせトナー像が用紙Pに一括転写される。4色重ね合わせトナー像が一括転写された用紙Pは、第一転写定着用紙搬送路27aを搬送されて第一定着装置26でトナー像が定着せしめられる。第一定着装置26を通過した用紙Pは、切換爪による搬送路選択に応じて、第二画像形成装置2内の第二転写定着用紙搬送路38aに送り込まれる。   For the other process units 10M, 10C, and 10K, the above-described image forming process is executed in synchronization with the movement of the intermediate transfer belt 21, and a four-color superimposed toner image is formed on the intermediate transfer belt 21. On the other hand, the sheet fed from the sheet feeding cassette 25 is sent at a predetermined timing by a pair of registration rollers and conveyed to the secondary transfer nip. Then, the four-color superimposed toner images are collectively transferred onto the paper P at the secondary transfer nip. The paper P onto which the four-color superimposed toner images have been collectively transferred is conveyed through the first transfer fixing paper conveyance path 27a, and the toner image is fixed by the first fixing device 26. The paper P that has passed through the first fixing device 26 is sent to the second transfer fixing paper conveyance path 38a in the second image forming apparatus 2 in accordance with the conveyance path selection by the switching claw.

第二画像形成装置2内のプロセスユニット30では、帯電装置32により一様に帯電された感光体31の表面上に、露光装置33により光沢性を付与すべき光沢性付与領域に対応する領域が露光され、ベタ状の静電潜像が形成される。そして、感光体31上の静電潜像は、現像装置34の透明トナーにより現像され、現像された透明トナー像は、転写ニップで第一画像形成装置1から送り込まれた用紙Pに転写される。透明トナー像が転写された用紙Pは、第二定着装置37による加熱・加圧作用により定着処理が施され、機外に排出される。   In the process unit 30 in the second image forming apparatus 2, an area corresponding to a glossiness imparting area to which glossiness should be imparted by the exposure device 33 is formed on the surface of the photoreceptor 31 uniformly charged by the charging device 32. It is exposed to form a solid electrostatic latent image. The electrostatic latent image on the photoreceptor 31 is developed with the transparent toner of the developing device 34, and the developed transparent toner image is transferred to the paper P sent from the first image forming apparatus 1 at the transfer nip. . The sheet P on which the transparent toner image has been transferred is subjected to a fixing process by the heating / pressurizing action of the second fixing device 37 and is discharged outside the apparatus.

ここで、本実施形態では、第二定着装置37における第二定着温度を第一画定着装置26における第一定着温度よりも低くして定着処理を施している。第二定着温度を低くすることで、透明トナーの溶融が抑えられ表面粗さを保つため、透明トナー像のみ光沢度が低くなる。逆に4色重ね合わせトナー像は、第一定着装置26及び第二定着装置37を通過するため、光沢度は若干上昇する。これによって、同一画像内で4色重ね合わせトナー像と透明トナー像に大きな光沢差を付与することができる。   Here, in this embodiment, the second fixing temperature in the second fixing device 37 is set lower than the first fixing temperature in the first image fixing device 26 to perform the fixing process. By lowering the second fixing temperature, the melting of the transparent toner is suppressed and the surface roughness is maintained, so that only the transparent toner image has a low glossiness. On the other hand, the four-color superimposed toner image passes through the first fixing device 26 and the second fixing device 37, so that the glossiness slightly increases. Thus, a large gloss difference can be given to the four-color superimposed toner image and the transparent toner image in the same image.

次に、用紙Pの表裏の両面に有色トナー像と透明トナー像を形成する両面光沢付与モードが選択された場合について説明する。第一画像形成装置1では、上述した片面光沢付与モードと同様に、用紙Pの表面に4色重ね合わせトナー像の転写処理と定着処理が施される。この転写処理と定着処理が施された用紙Pは、切換爪による搬送路選択に応じて、第一画像形成装置1内の第一反転用搬送路27bに送り込まれ、再度二次転写ニップ部に送り出される。そして、用紙Pの裏面にも、上述したように4色重ね合わせトナー部の二次転写処理と定着処理が施される。表裏の両面に4色重ね合わせトナー像が形成された用紙Pは、切換爪による搬送路選択に応じて、第二画像形成装置2内の第二転写定着用搬送路38aに送り込まれる。   Next, a case where the double-sided gloss imparting mode for forming a colored toner image and a transparent toner image on both the front and back sides of the paper P is selected will be described. In the first image forming apparatus 1, a transfer process and a fixing process of a four-color superimposed toner image are performed on the surface of the paper P, as in the above-described single-side gloss imparting mode. The sheet P on which the transfer process and the fixing process have been performed is sent to the first reversal conveyance path 27b in the first image forming apparatus 1 in accordance with the conveyance path selection by the switching claw, and again enters the secondary transfer nip portion. Sent out. Further, as described above, the secondary transfer process and the fixing process of the four-color superposed toner portion are also performed on the back surface of the paper P. The paper P on which the four-color superimposed toner images are formed on both the front and back sides is sent to the second transfer and fixing conveyance path 38a in the second image forming apparatus 2 according to the conveyance path selection by the switching claw.

第二画像形成装置2では、上述したように第二転写定着用搬送路38aに送り込まれた用紙Pの裏面に透明トナー像の転写処理と定着処理が施される。この転写処理と定着処理が施された用紙Pは、切換爪による搬送路選択に応じて、第二画像形成装置2内の第二反転用搬送路38bに送り込まれ、再度転写ニップ部に送り出される。そして、用紙Pの表面にも、上述したように透明トナー像の二次転写処理と定着処理が施される。そして、用紙Pの表裏の両面に4色重ね合わせ有色トナー像と透明トナー像が形成された用紙Pは、そのまま機外に排出される。   In the second image forming apparatus 2, as described above, the transparent toner image is transferred and fixed on the back surface of the paper P sent to the second transfer and fixing conveyance path 38a. The sheet P on which the transfer process and the fixing process have been performed is sent to the second reversal transport path 38b in the second image forming apparatus 2 according to the transport path selection by the switching claw, and is sent again to the transfer nip portion. . The surface of the paper P is also subjected to the secondary transfer process and the fixing process for the transparent toner image as described above. Then, the paper P on which the four-color superimposed color toner image and the transparent toner image are formed on both the front and back surfaces of the paper P is directly discharged out of the apparatus.

両面印刷の場合には、通常は表面を作像した後に裏面の作像を行うが、本実施形態においては、第一画像形成装置1で両面に4色重ね合わせトナー像を作像した後、第二画像形成装置2で両面に透明トナー像を作成する。第二画像形成装置2で表面に透明トナー像を作像した後、第一画像形成装置1で裏面に4色重ね合わせトナー像を作像しようとすると、4色重ね合わせトナー像と一緒に表面の透明トナー像も高い第一定着温度で定着処理が施されることになる。そのために、透明トナー像の光沢度が高くなってしまい、4色重ね合わせトナー像との光沢差が小さくなってしまうからである。よって、本実施形態では、両面印刷の場合であっても、透明トナー像作像後は、高い温度で定着をさせないことにより、表裏のどちらの面の画像も透明トナーにより光沢差を付与することができる。   In the case of double-sided printing, usually the front side is imaged and then the back side is imaged. In this embodiment, after the four-color superimposed toner image is formed on both sides by the first image forming apparatus 1, A transparent toner image is created on both sides by the second image forming apparatus 2. After forming a transparent toner image on the front surface with the second image forming apparatus 2, when attempting to form a four-color superimposed toner image on the back surface with the first image forming apparatus 1, the surface together with the four-color superimposed toner image The transparent toner image is also subjected to a fixing process at a high first fixing temperature. For this reason, the glossiness of the transparent toner image becomes high, and the gloss difference from the four-color superimposed toner image becomes small. Therefore, in this embodiment, even in the case of double-sided printing, after the transparent toner image is formed, the images on both the front and back sides are given a gloss difference by the transparent toner by not fixing at a high temperature. Can do.

以上の画像形成動作は、光沢性付与処理を行うモードが選択された時の動作であるが、例えば、光沢性付与処理を行わない無処理モードを選択することも可能である。この場合には、第一画像形成装置1から排出された用紙Pは、切換爪による搬送路選択に応じて、第二画像形成装置2内の排出用搬送路38cに送り込まれ、そのまま機外に排出される。   The image forming operation described above is an operation when the mode for performing the glossiness imparting process is selected. For example, it is possible to select the non-processing mode in which the glossiness imparting process is not performed. In this case, the paper P discharged from the first image forming apparatus 1 is sent to the discharge conveyance path 38c in the second image forming apparatus 2 according to the selection of the conveyance path by the switching claw, and is directly outside the apparatus. Discharged.

さらに、本実施形態に係る画像形成システムおいては、第一定着装置26よりも用紙搬送方向下流側で、且つ第二定着装置37よりも用紙搬送方向上流側に、用紙Pの温度を検出する温度検出手段を備えていてもよい。第二定着装置37は、この温度検出手段からの検出結果を基に定着温度を制御することができる。これにより、第二定着装置37では、第一定着装置26で用紙Pに与えられた熱を第二定着装置37における定着工程に利用でき、より少ない熱量での定着が可能となる。   Further, in the image forming system according to the present embodiment, the temperature of the paper P is detected downstream of the first fixing device 26 in the paper transport direction and upstream of the second fixing device 37 in the paper transport direction. There may be provided temperature detecting means. The second fixing device 37 can control the fixing temperature based on the detection result from the temperature detecting means. Thus, in the second fixing device 37, the heat given to the paper P by the first fixing device 26 can be used for the fixing process in the second fixing device 37, and fixing with a smaller amount of heat becomes possible.

また、本実施形態に係る画像形成システムおいては、第二画像形成装置2のプロセスユニット30が、透明トナー像の作像時に排出される透明トナーを再利用するためのトナー再利用機構を備えていてもよい。トナーの再利用に際しては、用紙から発生する紙粉が悪影響を及ぼすことがあるが、第二画像形成装置2には、第一画像形成装置を通過した用紙Pが供給されるため、紙粉の影響がほとんどない。よって、第二画像形成装置2のプロセスユニット30では、トナーを再利用しても紙粉等による異常画像が発生せず、低コストと高品質を両立できる。   Further, in the image forming system according to the present embodiment, the process unit 30 of the second image forming apparatus 2 includes a toner reuse mechanism for reusing the transparent toner discharged when the transparent toner image is formed. It may be. When the toner is reused, paper dust generated from the paper may have an adverse effect. However, since the paper P that has passed through the first image forming apparatus is supplied to the second image forming apparatus 2, There is almost no influence. Therefore, in the process unit 30 of the second image forming apparatus 2, an abnormal image due to paper dust or the like does not occur even when the toner is reused, and both low cost and high quality can be achieved.

以下、具体的な実施例及び比較例により本発明を説明する。本実施例及び比較例では、第一画像形成装置としてリコーフルカラー複写機(imagio MP C5000)を、第二画像形成装置としてリコーモノクロ複写機(imagio MP 5000)を2台連結させて使用した。なお、第二画像形成装置には透明トナーを使用している。そして、下記の実施例及び比較例で示す第一定着温度及び第二定着温度で加熱定着処理を施し測定画像を出力した。測定画像は、図2に示すように、用紙Pに、第一画像形成装置1でシアントナー画像面積率100%の有色トナー部40を形成し、その有色トナー部40の半分の領域に、第二画像形成装置2で画像面積率100%の透明トナー像を重ねあわせた透明トナー部41を形成したものである。そして、この有色トナー部40の光沢度と透明トナー部41の光沢度を測定した。本実施例及び比較例における光沢度は、ハンディ光沢度計グロスメーターPG-3D(東京電色工業社製)を用いて、光の入射角60°の条件で測定した。その結果を図3に示す。   Hereinafter, the present invention will be described with reference to specific examples and comparative examples. In the present example and the comparative example, a Ricoh full color copying machine (imagio MP C5000) was used as the first image forming apparatus, and two Ricoh monochrome copying machines (imagio MP 5000) were connected as the second image forming apparatus. The second image forming apparatus uses transparent toner. Then, a heat fixing process was performed at the first fixing temperature and the second fixing temperature shown in the following examples and comparative examples, and measurement images were output. As shown in FIG. 2, the measurement image is formed by forming a colored toner portion 40 having a cyan toner image area ratio of 100% on the paper P by the first image forming apparatus 1, and in a half area of the colored toner portion 40. In the two-image forming apparatus 2, a transparent toner portion 41 is formed by superimposing transparent toner images having an image area ratio of 100%. Then, the glossiness of the colored toner portion 40 and the glossiness of the transparent toner portion 41 were measured. The glossiness in Examples and Comparative Examples was measured using a handy glossmeter gloss meter PG-3D (manufactured by Tokyo Denshoku Industries Co., Ltd.) at a light incident angle of 60 °. The result is shown in FIG.

[比較例1]
第一画像形成装置1で用紙Pに有色トナー部40を転写した後、定着を行なわずに、第二画像形成装置2で透明トナー部を転写した後、第二定着装置37において定着を行なった。なお、この比較例1の構成は、特許文献1に開示される画像形成装置の構成に相当するものである。
・第一定着装置26の定着は無し
・第二定着装置37の第二定着温度は155℃
[Comparative Example 1]
After the colored toner portion 40 was transferred to the paper P by the first image forming apparatus 1, the transparent toner portion was transferred by the second image forming apparatus 2 without performing fixing, and then fixed by the second fixing device 37. . The configuration of Comparative Example 1 corresponds to the configuration of the image forming apparatus disclosed in Patent Document 1.
・ No fixing of the first fixing device 26 ・ Second fixing temperature of the second fixing device 37 is 155 ° C.

[比較例2]
第一画像形成装置1で用紙Pに有色トナー部40を転写した後、第一定着装置26で定着を行い、第二画像形成装置2で透明トナー部を転写した後、第二定着装置37において定着を行なった。なお、この比較例2の構成は、特許文献2に開示される画像形成装置の構成に相当するものである。
・第一定着装置26の第一定着温度は155℃
・第二定着装置37の第二定着温度は155℃
[Comparative Example 2]
After the colored toner portion 40 is transferred to the paper P by the first image forming apparatus 1, fixing is performed by the first fixing device 26, and the transparent toner portion is transferred by the second image forming apparatus 2, and then the second fixing device 37. Fixing was carried out. The configuration of Comparative Example 2 corresponds to the configuration of the image forming apparatus disclosed in Patent Document 2.
The first fixing temperature of the first fixing device 26 is 155 ° C.
The second fixing temperature of the second fixing device 37 is 155 ° C.

[比較例3]
第一画像形成装置1で用紙Pに有色トナー部40を転写した後、第一定着装置26で定着を行い、第二画像形成装置2で透明トナー部を転写した後、第二定着装置37において定着を行なった。なお、この比較例3の構成は、特許文献4に開示される画像形成装置の構成に相当するものである。
・第一定着装置26の第一定着温度は155℃
・第二定着装置37の第二定着温度は170℃
[Comparative Example 3]
After the colored toner portion 40 is transferred to the paper P by the first image forming apparatus 1, fixing is performed by the first fixing device 26, and the transparent toner portion is transferred by the second image forming apparatus 2, and then the second fixing device 37. Fixing was carried out. The configuration of Comparative Example 3 corresponds to the configuration of the image forming apparatus disclosed in Patent Document 4.
The first fixing temperature of the first fixing device 26 is 155 ° C.
The second fixing temperature of the second fixing device 37 is 170 ° C.

[実施例1]
第一画像形成装置1で用紙Pに有色トナー部40を転写した後、第一定着装置26で定着を行い、第二画像形成装置で透明トナー部を転写した後、第二定着装置37において定着を行なった。
・第一定着装置26の第一定着温度は155℃
・第二定着装置37の第二定着温度は150℃
[Example 1]
After the colored toner portion 40 is transferred to the paper P by the first image forming apparatus 1, fixing is performed by the first fixing device 26, and the transparent toner portion is transferred by the second image forming device and then the second fixing device 37. Fixing was performed.
The first fixing temperature of the first fixing device 26 is 155 ° C.
The second fixing temperature of the second fixing device 37 is 150 ° C.

[実施例2]
第一画像形成装置1で用紙Pに有色トナー部40を転写した後、第一定着装置26で定着を行い、第二画像形成装置2で透明トナー部を転写した後、第二定着装置37において定着を行なった。
・第一定着装置26の第一定着温度は155℃
・第二定着装置37の第二定着温度は140℃
[Example 2]
After the colored toner portion 40 is transferred to the paper P by the first image forming apparatus 1, fixing is performed by the first fixing device 26, and the transparent toner portion is transferred by the second image forming apparatus 2, and then the second fixing device 37. Fixing was carried out.
The first fixing temperature of the first fixing device 26 is 155 ° C.
The second fixing temperature of the second fixing device 37 is 140 ° C.

[実施例3]
第一画像形成装置1で用紙Pに有色トナー部40を転写した後、第一定着装置26で定着を行い、第二画像形成装置2で透明トナー部を転写した後、第二定着装置37において定着を行なった。
・第一定着装置26の第一定着温度は170℃
・第二定着装置37の第二定着温度は140℃
[Example 3]
After the colored toner portion 40 is transferred to the paper P by the first image forming apparatus 1, fixing is performed by the first fixing device 26, and the transparent toner portion is transferred by the second image forming apparatus 2, and then the second fixing device 37. Fixing was carried out.
The first fixing temperature of the first fixing device 26 is 170 ° C.
The second fixing temperature of the second fixing device 37 is 140 ° C.

図3の結果から、第一定着装置26における第一定着温度よりも第二定着装置37における第二定着温度が低い実施例では、同一画像内で光沢差を付与できることがわかる。そして、第一定着温度と第二定着温度との温度差が大きいほど、有色トナー部と透明トナー部との光沢差が大きくなることがわかる。   From the results of FIG. 3, it can be seen that in the example in which the second fixing temperature in the second fixing device 37 is lower than the first fixing temperature in the first fixing device 26, a gloss difference can be imparted within the same image. It can be seen that the greater the temperature difference between the first fixing temperature and the second fixing temperature, the greater the difference in gloss between the colored toner portion and the transparent toner portion.

以上、本実施形態に係る画像形成システムにおいては、第一定着装置26で高い第一定着温度で定着された有色トナー像は光沢度が高く、第二定着装置37で低い第二定着温度で定着された透明トナー像は光沢度が低いものとなり、同一画像内で光沢差が付与されることになる。
また、本実施形態に係る画像形成システムによれば、第一定着装置26よりも用紙搬送方向下流側で、且つ第二定着装置37よりも用紙搬送方向上流側に、用紙Pの温度を検出する温度検出手段を備えている。第二定着装置37は、この温度検出手段からの検出結果を基に定着温度を制御することができる。これにより、第二定着装置37では、第一定着装置26で用紙Pに与えられた熱を第二定着装置37における定着工程に利用でき、より少ない熱量での定着が可能となる。
As described above, in the image forming system according to the present embodiment, the colored toner image fixed at the first fixing device 26 at the high first fixing temperature has a high glossiness and the second fixing device 37 has a low second fixing temperature. The transparent toner image fixed in step 1 has a low glossiness, and a gloss difference is given in the same image.
Further, according to the image forming system according to the present embodiment, the temperature of the paper P is detected downstream of the first fixing device 26 in the paper transport direction and upstream of the second fixing device 37 in the paper transport direction. Temperature detecting means is provided. The second fixing device 37 can control the fixing temperature based on the detection result from the temperature detecting means. Thus, in the second fixing device 37, the heat given to the paper P by the first fixing device 26 can be used for the fixing process in the second fixing device 37, and fixing with a smaller amount of heat becomes possible.

また、本実施形態に係る画像形成システムにおいては、第二画像形成装置2のプロセスユニット30は、透明トナー像の作像時に排出される透明トナーを再利用するためのトナー再利用機構を備えている。第二画像形成装置2のプロセスユニット30では、トナーを再利用しても紙粉等による異常画像が発生せず、低コストと高品質を両立できる。   Further, in the image forming system according to the present embodiment, the process unit 30 of the second image forming apparatus 2 includes a toner reuse mechanism for reusing the transparent toner discharged at the time of forming the transparent toner image. Yes. In the process unit 30 of the second image forming apparatus 2, an abnormal image due to paper dust or the like does not occur even when the toner is reused, and both low cost and high quality can be achieved.

また、本実施形態に係る画像形成システムにおいては、両面印刷の場合であっても、透明トナー像作像後は、高い温度で定着をさせないことにより、表裏のどちらの面の画像も透明トナーにより光沢差を付与することができる。   Further, in the image forming system according to the present embodiment, even in the case of double-sided printing, after the transparent toner image is formed, the image on either side of the front and back surfaces is made of transparent toner by not fixing at a high temperature. A gloss difference can be imparted.

1:第一画像形成装置
2:第二画像形成装置
10:プロセスユニット
20:中間転写ユニット
26:第一定着装置
27:第一紙搬送路
30:プロセスユニット
37:第二定着装置
38:第二紙搬送路
1: First image forming device 2: Second image forming device 10: Process unit 20: Intermediate transfer unit 26: First fixing device 27: First paper transport path 30: Process unit 37: Second fixing device 38: First Two paper transport path

特公平7−38084号公報Japanese Patent Publication No. 7-38084 特開2002−318482号公報JP 2002-318482 A 特開2009−109926号公報JP 2009-109926 A 特開2004−361827号公報JP 2004-361827 A

Claims (4)

記録媒体上に有色トナー像を作像する作像手段、及び記録媒体上の有色トナー像を加熱定着する第一定着手段を有する第一画像形成装置と、
第一画像形成装置によって出力された記録媒体に連続して透明トナー像を作像する第二作像手段、及び記録媒体上の有色トナー像及び透明トナー像を加熱定着する第二定着手段を有する第二画像形成装置とを備え、
該第一画像形成装置に対して該第二画像形成装置がオプション搭載される画像形成システムにおいて、
第一定着手段における定着温度よりも第二定着手段における定着温度が低いことを特徴とする画像形成システム。
A first image forming apparatus having an image forming unit that forms a colored toner image on a recording medium, and a first fixing unit that heat-fixes the colored toner image on the recording medium;
A second image forming unit configured to continuously form a transparent toner image on the recording medium output by the first image forming apparatus; and a second fixing unit configured to heat and fix the colored toner image and the transparent toner image on the recording medium. A second image forming apparatus,
In the image forming system in which the second image forming apparatus is optionally mounted on the first image forming apparatus,
An image forming system, wherein a fixing temperature in the second fixing unit is lower than a fixing temperature in the first fixing unit.
請求項1の画像形成システムにおいて、
上記第一定着手段よりも記録媒体移動方向下流側で、且つ上記第二定着手段よりも記録媒体移動方向上流側で、上記記録媒体の温度を検出する記録媒体温度検出手段を備え、
該第二定着手段は、該記録媒体温度検出手段からの検出結果に基づき、定着温度を制御することを特徴とする画像形成システム。
The image forming system according to claim 1.
A recording medium temperature detecting means for detecting the temperature of the recording medium downstream of the first fixing means in the recording medium moving direction and upstream of the second fixing means in the recording medium moving direction;
The image forming system, wherein the second fixing unit controls a fixing temperature based on a detection result from the recording medium temperature detecting unit.
請求項1又は2の画像形成システムにおいて、
上記第二作像手段は、作像時に排出されるトナーを再利用するためのトナー再利用機構を備えることを特徴とする画像形成システム。
The image forming system according to claim 1 or 2,
The image forming system, wherein the second image forming unit includes a toner reuse mechanism for reusing toner discharged at the time of image formation.
請求項1、2又は3の画像形成システムにおいて、
上記記録媒体の両面に画像形成を行う場合には、上記第一画像形成装置で該記録媒体の両面に有色トナー像を転写定着した後に、上記第二画像形成装置で該記録媒体の両面に透明トナー像を転写定着させることを特徴とする画像形成システム。
The image forming system according to claim 1, 2 or 3.
When image formation is performed on both sides of the recording medium, a colored toner image is transferred and fixed on both sides of the recording medium by the first image forming apparatus, and then transparent on both sides of the recording medium by the second image forming apparatus. An image forming system for transferring and fixing a toner image.
JP2010063239A 2010-03-18 2010-03-18 Image forming system Withdrawn JP2011197319A (en)

Priority Applications (1)

Application Number Priority Date Filing Date Title
JP2010063239A JP2011197319A (en) 2010-03-18 2010-03-18 Image forming system

Applications Claiming Priority (1)

Application Number Priority Date Filing Date Title
JP2010063239A JP2011197319A (en) 2010-03-18 2010-03-18 Image forming system

Publications (1)

Publication Number Publication Date
JP2011197319A true JP2011197319A (en) 2011-10-06

Family

ID=44875629

Family Applications (1)

Application Number Title Priority Date Filing Date
JP2010063239A Withdrawn JP2011197319A (en) 2010-03-18 2010-03-18 Image forming system

Country Status (1)

Country Link
JP (1) JP2011197319A (en)

Cited By (7)

* Cited by examiner, † Cited by third party
Publication number Priority date Publication date Assignee Title
JP2013117711A (en) * 2011-10-31 2013-06-13 Ricoh Co Ltd Recording medium processing method, image forming method, recording medium processing apparatus, and image forming system
JP2013120222A (en) * 2011-12-06 2013-06-17 Konica Minolta Business Technologies Inc Image forming device
US9020382B2 (en) 2011-12-13 2015-04-28 Ricoh Company, Ltd. Image forming apparatus
CN109709783A (en) * 2017-10-26 2019-05-03 东芝泰格有限公司 image forming system
CN111458996A (en) * 2019-01-18 2020-07-28 富士施乐株式会社 Image forming apparatus and foil printing image forming apparatus
JP2021162838A (en) * 2020-03-31 2021-10-11 株式会社リコー Image forming device
US11448995B2 (en) 2019-04-19 2022-09-20 Hewlett-Packard Development Company, L.P. Clear toner based photo-finishing apparatus to realize uniform glossiness of printed image

Cited By (13)

* Cited by examiner, † Cited by third party
Publication number Priority date Publication date Assignee Title
JP2013117711A (en) * 2011-10-31 2013-06-13 Ricoh Co Ltd Recording medium processing method, image forming method, recording medium processing apparatus, and image forming system
JP2013120222A (en) * 2011-12-06 2013-06-17 Konica Minolta Business Technologies Inc Image forming device
USRE47726E1 (en) 2011-12-13 2019-11-12 Ricoh Company, Ltd. Image forming apparatus
US9020382B2 (en) 2011-12-13 2015-04-28 Ricoh Company, Ltd. Image forming apparatus
CN109709783B (en) * 2017-10-26 2022-05-24 东芝泰格有限公司 Image forming system
JP2019078942A (en) * 2017-10-26 2019-05-23 株式会社東芝 Image forming system
CN109709783A (en) * 2017-10-26 2019-05-03 东芝泰格有限公司 image forming system
CN111458996A (en) * 2019-01-18 2020-07-28 富士施乐株式会社 Image forming apparatus and foil printing image forming apparatus
JP2020118733A (en) * 2019-01-18 2020-08-06 富士ゼロックス株式会社 Image forming apparatus and foil image forming apparatus
JP7255195B2 (en) 2019-01-18 2023-04-11 富士フイルムビジネスイノベーション株式会社 Image forming apparatus and foil image forming apparatus
CN111458996B (en) * 2019-01-18 2024-05-14 富士胶片商业创新有限公司 Image forming apparatus and foil printing image forming apparatus
US11448995B2 (en) 2019-04-19 2022-09-20 Hewlett-Packard Development Company, L.P. Clear toner based photo-finishing apparatus to realize uniform glossiness of printed image
JP2021162838A (en) * 2020-03-31 2021-10-11 株式会社リコー Image forming device

Similar Documents

Publication Publication Date Title
US8655252B2 (en) Image control device
JP2011197319A (en) Image forming system
JP2010114498A (en) Image forming apparatus and image reading apparatus
JP2009175548A (en) Image projection device
JP5975287B2 (en) Image forming apparatus, image forming system, and image processing program
JP2005315966A (en) Image forming apparatus
JP2010204494A (en) Exposure apparatus and image forming apparatus
JP2011100035A (en) Image forming apparatus
JP2012098654A (en) Multiple image forming apparatus
JP2011197321A (en) Image forming system
JP2016099589A (en) Image forming apparatus
JP2015158655A (en) Image forming apparatus
JP2020071236A (en) Image forming apparatus
JP2012189918A (en) Image forming apparatus
US10324403B2 (en) Image forming apparatus containing fixing member, blowing section, and hardware processor
JPH0466970A (en) Color printer
JP6573169B2 (en) Image forming apparatus
JP2016212302A (en) Image formation apparatus
JP6237184B2 (en) Fixing apparatus and image forming apparatus
JP2020020956A (en) Image forming apparatus and image forming method
JP2010230971A (en) Image forming apparatus
JP2007156173A (en) Image forming apparatus
JP2011059398A (en) Image forming apparatus
JP2004117896A (en) Apparatus and method for forming image
JP2015060030A (en) Image forming apparatus

Legal Events

Date Code Title Description
A300 Withdrawal of application because of no request for examination

Free format text: JAPANESE INTERMEDIATE CODE: A300

Effective date: 20130604