JP2011190849A - One-way clutch - Google Patents

One-way clutch Download PDF

Info

Publication number
JP2011190849A
JP2011190849A JP2010056520A JP2010056520A JP2011190849A JP 2011190849 A JP2011190849 A JP 2011190849A JP 2010056520 A JP2010056520 A JP 2010056520A JP 2010056520 A JP2010056520 A JP 2010056520A JP 2011190849 A JP2011190849 A JP 2011190849A
Authority
JP
Japan
Prior art keywords
way clutch
outer member
peripheral surface
roller
input
Prior art date
Legal status (The legal status is an assumption and is not a legal conclusion. Google has not performed a legal analysis and makes no representation as to the accuracy of the status listed.)
Granted
Application number
JP2010056520A
Other languages
Japanese (ja)
Other versions
JP5372811B2 (en
Inventor
Shigeru Nakayama
茂 中山
Current Assignee (The listed assignees may be inaccurate. Google has not performed a legal analysis and makes no representation or warranty as to the accuracy of the list.)
Honda Motor Co Ltd
Original Assignee
Honda Motor Co Ltd
Priority date (The priority date is an assumption and is not a legal conclusion. Google has not performed a legal analysis and makes no representation as to the accuracy of the date listed.)
Filing date
Publication date
Application filed by Honda Motor Co Ltd filed Critical Honda Motor Co Ltd
Priority to JP2010056520A priority Critical patent/JP5372811B2/en
Publication of JP2011190849A publication Critical patent/JP2011190849A/en
Application granted granted Critical
Publication of JP5372811B2 publication Critical patent/JP5372811B2/en
Expired - Fee Related legal-status Critical Current
Anticipated expiration legal-status Critical

Links

Images

Landscapes

  • Transmission Devices (AREA)

Abstract

【課題】過大なトルクの入力時におけるワンウェイクラッチの損傷を最小限に抑える。
【解決手段】アウター部材22の内周面とインナー部材23の外周面との間に複数のローラ25をスプリング24で円周方向一方に付勢したので、アウター部材22およびインナー部材23が所定の方向に相対回転すると、アウター部材22の内周面とインナー部材23の外周面との間にローラ25が噛み込んでワンウェイクラッチ21が係合する。ワンウェイクラッチ21が係合した状態でアウター部材22に所定値以上のトルクが入力すると、アウター部材22のノッチ22aが破断してトルクの伝達が遮断されるので、ローラ25のポップアウトを未然に防止してワンウェイクラッチ21の損傷を最小限に抑える。複数のワンウェイクラッチ21が並置されている場合には、損傷した一つのワンウェイクラッチ21で隣接するワンウェイクラッチ21に被害が拡大するのを未然に防止できる。
【選択図】図1
To minimize damage to a one-way clutch when an excessive torque is input.
Since a plurality of rollers 25 are urged in a circumferential direction by a spring 24 between an inner peripheral surface of an outer member 22 and an outer peripheral surface of an inner member 23, the outer member 22 and the inner member 23 are When rotating in the direction, the roller 25 is engaged between the inner peripheral surface of the outer member 22 and the outer peripheral surface of the inner member 23, and the one-way clutch 21 is engaged. If torque of a predetermined value or more is input to the outer member 22 with the one-way clutch 21 engaged, the notch 22a of the outer member 22 is broken and the torque transmission is interrupted, so that the roller 25 is prevented from popping out. Thus, damage to the one-way clutch 21 is minimized. When a plurality of one-way clutches 21 are juxtaposed, it is possible to prevent damage from spreading to the adjacent one-way clutch 21 by one damaged one-way clutch 21 in advance.
[Selection] Figure 1

Description

本発明は、アウター部材の内周面とインナー部材の外周面との間に形成される空間に配置した複数のローラをスプリングで円周方向一方に付勢し、前記アウター部材および前記インナー部材の所定の方向への相対回転により前記ローラを前記アウター部材の内周面と前記インナー部材の外周面との間に噛み込ませてトルクを伝達するワンウェイクラッチに関する。   According to the present invention, a plurality of rollers arranged in a space formed between the inner peripheral surface of the outer member and the outer peripheral surface of the inner member are biased in one circumferential direction by a spring, and the outer member and the inner member are The present invention relates to a one-way clutch that transmits torque by engaging the roller between an inner peripheral surface of the outer member and an outer peripheral surface of the inner member by relative rotation in a predetermined direction.

お互いの端部を突き合わせた状態で同軸上に配置した入力軸および出力軸の対向する端部の外周にコイルスプリングを巻き付け、入力軸の一方向の回転によりコイルスプリングを縮径して入力軸から出力軸への動力伝達を可能にするとともに、入力軸に過大なトルクが入力した場合にコイルスプリングの内周面と出力軸の外周面とをスリップさせてトルクリミット機能を発揮させるワンウェイクラッチにおいて、コイルスプリングの最小締まり径を変化させることでトルクミット値を調整するものが、下記特許文献1により公知である。   Coil springs are wound around the outer periphery of the opposite ends of the input shaft and output shaft that are coaxially arranged with the ends of each other butted, and the coil springs are reduced in diameter by rotating in one direction of the input shaft. In the one-way clutch that enables power transmission to the output shaft, and when the excessive torque is input to the input shaft, slips the inner peripheral surface of the coil spring and the outer peripheral surface of the output shaft to exert the torque limit function. Japanese Patent Application Laid-Open Publication No. 2004-228561 is known that adjusts the torque mitt value by changing the minimum tightening diameter of the coil spring.

特許3071389号公報Japanese Patent No. 3071389

ところで、アウター部材とインナー部材との間にスプリングで付勢された多数のローラを配置したワンウェイクラッチは、その係合時にアウター部材とインナー部材とで形成される楔状の空間にローラが噛み込んでトルク伝達を行うようになっている。しかしながら、発明の詳細な説明の欄で詳述するように、ワンウェイクラッチに過大なトルクが入力すると、アウター部材およびインナー部材とローラとの間に作用する摩擦でローラを噛み込み位置に保持しようとする荷重よりも、楔状の空間からロータを押し出そうとする荷重の方が大きくなり、その瞬間にローラが高速で弾き出されるポップアウト現象が発生する場合がある。このポップアウト現象が発生すると、衝撃で損傷したローラの破片やローラが衝突した相手部材の破片が飛び散り、ワンウェイクラッチに大きな損傷を与える可能性がある。特に、複数のワンウェイクラッチを並置して使用する場合には、損傷したワンウェイクラッチの破片が隣接するワンウェイクラッチを損傷させることで、被害が更に拡大する可能性がある。   By the way, in the one-way clutch in which a large number of rollers urged by a spring are arranged between the outer member and the inner member, the roller is caught in a wedge-shaped space formed by the outer member and the inner member when engaged. Torque is transmitted. However, as described in detail in the detailed description of the invention, when an excessive torque is input to the one-way clutch, an attempt is made to hold the roller in the biting position by the friction acting between the outer member and the inner member and the roller. The load that pushes out the rotor from the wedge-shaped space is larger than the load that is applied, and a pop-out phenomenon may occur in which the roller is ejected at a high speed at that moment. When this pop-out phenomenon occurs, a broken piece of a roller damaged by an impact or a broken piece of a counterpart member that collides with the roller may be scattered, and the one-way clutch may be greatly damaged. In particular, when a plurality of one-way clutches are used side by side, damaged one-way clutch fragments may damage adjacent one-way clutches, thereby further aggravating damage.

本発明は前述の事情に鑑みてなされたもので、過大なトルクの入力時におけるワンウェイクラッチの損傷を最小限に抑えることを目的とする。   The present invention has been made in view of the above circumstances, and an object of the present invention is to minimize damage to a one-way clutch when an excessive torque is input.

上記目的を達成するために、請求項1に記載された発明によれば、アウター部材の内周面とインナー部材の外周面との間に形成される空間に配置した複数のローラをスプリングで円周方向一方に付勢し、前記アウター部材および前記インナー部材の所定の方向への相対回転により前記ローラを前記アウター部材の内周面と前記インナー部材の外周面との間に噛み込ませてトルクを伝達するワンウェイクラッチにおいて、前記アウター部材に所定値以上の荷重の入力により破断する脆弱部を設けたことを特徴とするワンウェイクラッチが提案される。   In order to achieve the above object, according to the first aspect of the present invention, a plurality of rollers arranged in a space formed between the inner peripheral surface of the outer member and the outer peripheral surface of the inner member are circled by a spring. Energized in one circumferential direction, the torque is caused by the roller rotating between the inner peripheral surface of the outer member and the outer peripheral surface of the inner member by relative rotation of the outer member and the inner member in a predetermined direction. In this one-way clutch, a one-way clutch is proposed in which the outer member is provided with a fragile portion that breaks when a load of a predetermined value or more is input.

また請求項2に記載された発明によれば、請求項1の構成に加えて、前記ワンウェイクラッチは複数個が並置されており、前記アウター部材に接続された駆動力入力部材にそれぞれ設けられた歪み検出手段の検出値を比較することで、前記アウター部材の破断を判定する破断判定手段を備えることを特徴とするワンウェイクラッチが提案される。   According to the invention described in claim 2, in addition to the structure of claim 1, a plurality of the one-way clutches are juxtaposed, and are respectively provided on the driving force input members connected to the outer member. There is proposed a one-way clutch characterized by comprising breakage determination means for determining breakage of the outer member by comparing detection values of strain detection means.

尚、実施の形態のコネクティングロッド19は本発明の駆動力入力部材に対応し.実施の形態のノッチ22aは本発明の脆弱部に対応し、実施の形態の歪みゲージ26は本発明の歪み検出手段に対応し、実施の形態の電子制御ユニットUは本発明の破断判定手段に対応する。   The connecting rod 19 of the embodiment corresponds to the driving force input member of the present invention. The notch 22a of the embodiment corresponds to the weak part of the present invention, the strain gauge 26 of the embodiment corresponds to the strain detection means of the present invention, and the electronic control unit U of the embodiment serves as the fracture determination means of the present invention. Correspond.

請求項1の構成によれば、アウター部材の内周面とインナー部材の外周面との間に形成される空間に配置した複数のローラをスプリングで円周方向一方に付勢したので、アウター部材およびインナー部材が所定の方向に相対回転すると、アウター部材の内周面とインナー部材の外周面との間にローラが噛み込んでワンウェイクラッチが係合する。ワンウェイクラッチが係合した状態でアウター部材またはインナー部材に所定値以上の荷重が入力すると、アウター部材の脆弱部が破断してトルクの伝達が遮断されるので、ローラのポップアウトを未然に防止してワンウェイクラッチの損傷を最小限に抑えることができる。   According to the configuration of claim 1, since the plurality of rollers arranged in the space formed between the inner peripheral surface of the outer member and the outer peripheral surface of the inner member are urged in the circumferential direction by the spring, the outer member When the inner member relatively rotates in a predetermined direction, the roller is engaged between the inner peripheral surface of the outer member and the outer peripheral surface of the inner member, and the one-way clutch is engaged. If a load of a predetermined value or more is input to the outer member or inner member with the one-way clutch engaged, the fragile part of the outer member breaks and torque transmission is interrupted, preventing the roller from popping out in advance. Damage to the one-way clutch can be minimized.

また請求項2の構成によれば、複数個が並置されたワンウェイクラッチのアウター部材に接続された駆動力入力部材の歪みを歪み検出手段で検出し、それらの歪みを比較することでアウター部材の破断を判定するので、アウター部材の破断を精度良く判定することができる。   According to the second aspect of the present invention, the distortion of the driving force input member connected to the outer member of the one-way clutch arranged in parallel is detected by the distortion detecting means, and the distortion of the outer member is compared by comparing the distortions. Since the breakage is determined, it is possible to accurately determine the breakage of the outer member.

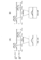
無段変速機の全体側面図(TOP状態)。The whole side view of a continuously variable transmission (TOP state). 同じく無段変速機の全体側面図(LOW状態)。Similarly, the entire side view of the continuously variable transmission (LOW state). 図1の3−3線断面図。FIG. 3 is a sectional view taken along line 3-3 in FIG. 1. TOP状態での作用説明図。The action explanatory view in the TOP state. LOW状態での作用説明図。The action explanatory view in the LOW state. 係合状態にあるワンウェイクラッチの要部拡大図。The principal part enlarged view of the one-way clutch in an engagement state. ワンウェイクラッチの伝達トルクと角度αとの関係を示すグラフ。The graph which shows the relationship between the transmission torque of a one-way clutch, and the angle (alpha). コネクティングロッドの歪みゲージ出力波形を示す図。The figure which shows the distortion gauge output waveform of a connecting rod.

以下、図1〜図8に基づいて本発明の実施の形態を説明する。   Hereinafter, embodiments of the present invention will be described with reference to FIGS.

図1および図3に示すように、本実施の形態の無段変速機Tは同一構造を有する複数個(実施の形態では4個)の変速ユニット10…を軸方向に重ね合わせたもので、それらの変速ユニット10…は平行に配置された共通の入力軸11および共通の出力軸12を備えており、入力軸11の回転が減速または増速されて出力軸12に伝達される。   As shown in FIGS. 1 and 3, the continuously variable transmission T according to the present embodiment is obtained by superimposing a plurality of (four in the embodiment) transmission units 10 having the same structure in the axial direction. These transmission units 10 are provided with a common input shaft 11 and a common output shaft 12 arranged in parallel, and the rotation of the input shaft 11 is decelerated or increased and transmitted to the output shaft 12.

以下、代表として一つの変速ユニット10の構造を説明する。エンジンのような駆動源13に接続されて回転する入力軸11は、電動モータのような変速アクチュエータ14の中空の回転軸14aの内部を相対回転自在に貫通する。変速アクチュエータ14のロータ14bは回転軸14aに固定されており、ステータ14cはケーシングに固定される。変速アクチュエータ14の回転軸14aは、駆動源13の入力軸11と同速度で回転可能であり、かつ入力軸11に対して異なる速度で相対回転可能である。   Hereinafter, the structure of one transmission unit 10 will be described as a representative. An input shaft 11 that rotates by being connected to a drive source 13 such as an engine penetrates a hollow rotary shaft 14a of a speed change actuator 14 such as an electric motor so as to be relatively rotatable. The rotor 14b of the speed change actuator 14 is fixed to the rotating shaft 14a, and the stator 14c is fixed to the casing. The rotation shaft 14 a of the speed change actuator 14 can rotate at the same speed as the input shaft 11 of the drive source 13 and can rotate relative to the input shaft 11 at a different speed.

変速アクチュエータ14の回転軸14aを貫通した入力軸11には第1ピニオン15が固定されており、この第1ピニオン15を跨ぐように変速アクチュエータ14の回転軸14aにクランク状のキャリヤ16が接続される。第1ピニオン15と同径の2個の第2ピニオン17,17が、第1ピニオン15と協働して正三角形を構成する位置にそれぞれピニオンピン16a,16aを介して支持されており、これら第1ピニオン15および第2ピニオン17,17に、円板形の偏心ディスク18の内部に偏心して形成されたリングギヤ18aが噛合する。偏心ディスク18の外周面に、コネクティングロッド19のロッド部19aの一端に設けたリング部19bがボールベアリング20を介して相対回転自在に嵌合する。   A first pinion 15 is fixed to the input shaft 11 passing through the rotation shaft 14 a of the speed change actuator 14, and a crank-shaped carrier 16 is connected to the rotation shaft 14 a of the speed change actuator 14 so as to straddle the first pinion 15. The Two second pinions 17, 17 having the same diameter as the first pinion 15 are supported via pinion pins 16 a, 16 a at positions forming an equilateral triangle in cooperation with the first pinion 15, respectively. The first pinion 15 and the second pinions 17, 17 mesh with a ring gear 18 a formed eccentrically inside a disc-shaped eccentric disk 18. A ring portion 19 b provided at one end of the rod portion 19 a of the connecting rod 19 is fitted to the outer peripheral surface of the eccentric disk 18 via a ball bearing 20 so as to be relatively rotatable.

出力軸12の外周に設けられたワンウェイクラッチ21は、コネクティングロッド19のロッド部19aにピン19cを介して枢支されたリング状のアウター部材22と、アウター部材22の内部に配置されて出力軸12に固定されたインナー部材23と、アウター部材22の内周の円弧面とインナー部材23の外周の平面との間に形成された楔状の空間に配置されてスプリング24…で付勢されたローラ25…とを備える。   A one-way clutch 21 provided on the outer periphery of the output shaft 12 is arranged inside the outer member 22 with a ring-shaped outer member 22 pivotally supported by a rod portion 19a of a connecting rod 19 via a pin 19c. 12, a roller disposed in a wedge-shaped space formed between an inner member 23 fixed to 12 and an arc surface on the inner periphery of the outer member 22 and a flat surface on the outer periphery of the inner member 23, and urged by springs 24. 25.

図3から明らかなように、4個の変速ユニット10…はクランク状のキャリヤ16を共有しているが、キャリヤ16に第2ピニオン17,17を介して支持される偏心ディスク18の位相は各々の変速ユニット10で90°ずつ異なっている。例えば、図3において、左端の変速ユニット10の偏心ディスク18は入力軸11に対して図中上方に変位し、左から3番目の変速ユニット10の偏心ディスク18は入力軸11に対して図中下方に変位し、左から2番目および4番目の変速ユニット10,10の偏心ディスク18,18は上下方向中間に位置している。   As is apparent from FIG. 3, the four transmission units 10 share a crank-shaped carrier 16, but the phases of the eccentric discs 18 supported by the carrier 16 via the second pinions 17 and 17 are respectively. The transmission unit 10 is different by 90 °. For example, in FIG. 3, the eccentric disk 18 of the leftmost transmission unit 10 is displaced upward in the figure with respect to the input shaft 11, and the eccentric disk 18 of the third transmission unit 10 from the left is illustrated in the figure with respect to the input shaft 11. The eccentric disks 18 and 18 of the second and fourth transmission units 10 and 10 from the left are positioned in the middle in the vertical direction.

図1に示すように、各々のコネクティングロッド19…のロッド部19a…には歪みゲージ26…が設けられており、それらの歪みゲージ26…が出力するコネクティングロッド19…の歪み量は電子制御ユニットUに入力される。   As shown in FIG. 1, the rod portions 19a of the connecting rods 19 are provided with strain gauges 26, and the amount of strain of the connecting rods 19 output by the strain gauges 26 is the electronic control unit. U is input.

次に、上記構成を備えた本発明の実施の形態の作用を説明する。   Next, the operation of the embodiment of the present invention having the above configuration will be described.

先ず、無段変速機Tの一つの変速ユニット10の作用を説明する。変速アクチュエータ14の回転軸14aを駆動源13の入力軸11に対して相対回転させると、入力軸11の軸線L1まわりにキャリヤ16が回転する。このとき、キャリヤ16の中心O、つまり第1ピニオン15および2個の第2ピニオン17,17が成す正三角形の中心は入力軸11の軸線L1まわりに回転する。   First, the operation of one transmission unit 10 of the continuously variable transmission T will be described. When the rotation shaft 14 a of the speed change actuator 14 is rotated relative to the input shaft 11 of the drive source 13, the carrier 16 rotates around the axis L <b> 1 of the input shaft 11. At this time, the center O of the carrier 16, that is, the center of the equilateral triangle formed by the first pinion 15 and the two second pinions 17, 17 rotates around the axis L 1 of the input shaft 11.

図1および図4は、キャリヤ16の中心Oが第1ピニオン15(つまり入力軸11)に対して出力軸12と反対側にある状態を示しており、このとき入力軸11に対する偏心ディスク18の偏心量が最大になって変速機TのレシオはTOP状態になる。図2および図5は、キャリヤ16の中心Oが第1ピニオン15(つまり入力軸11)に対して出力軸12と同じ側にある状態を示しており、このとき入力軸11に対する偏心ディスク18の偏心量が最小になって変速機TのレシオはLOW状態になる。   1 and 4 show a state in which the center O of the carrier 16 is on the opposite side of the output shaft 12 with respect to the first pinion 15 (that is, the input shaft 11). The eccentricity is maximized and the ratio of the transmission T is in the TOP state. 2 and 5 show a state in which the center O of the carrier 16 is on the same side as the output shaft 12 with respect to the first pinion 15 (that is, the input shaft 11). The amount of eccentricity is minimized and the ratio of the transmission T is in the LOW state.

図4に示すTOP状態で、駆動源13で入力軸11を回転させるとともに、入力軸11と同速度で変速アクチュエータ14の回転軸14aを回転させると、入力軸11、回転軸14a、キャリヤ16、第1ピニオン15、2個の第2ピニオン17,17および偏心ディスク18が一体になった状態で、入力軸11を中心に反時計方向(矢印A参照)に偏心回転する。図4(A)から図4(B)を経て図4(C)の状態へと回転する間に、偏心ディスク18の外周にリング部19bをボールベアリング20を介して相対回転自在に支持されたコネクティングロッド19は、そのロッド部19aの先端にピン19cで枢支されたアウター部材22を反時計方向(矢印B参照)に回転させる。図4(A)および図4(C)は、アウター部材22の前記矢印B方向の回転の両端を示している。   In the TOP state shown in FIG. 4, when the input shaft 11 is rotated by the drive source 13 and the rotating shaft 14a of the speed change actuator 14 is rotated at the same speed as the input shaft 11, the input shaft 11, the rotating shaft 14a, the carrier 16, In a state where the first pinion 15, the two second pinions 17 and 17 and the eccentric disk 18 are integrated, the input pin 11 rotates eccentrically in the counterclockwise direction (see arrow A). While rotating from FIG. 4A through FIG. 4B to the state of FIG. 4C, the ring portion 19b is supported on the outer periphery of the eccentric disk 18 via the ball bearing 20 so as to be relatively rotatable. The connecting rod 19 rotates the outer member 22 pivotally supported by a pin 19c at the tip of the rod portion 19a in the counterclockwise direction (see arrow B). 4A and 4C show both ends of rotation of the outer member 22 in the arrow B direction.

このようにしてアウター部材22が矢印B方向に回転すると、ワンウェイクラッチ21のアウター部材22およびインナー部材23間の楔状の空間にローラ25…が噛み込み、アウター部材22の回転がインナー部材23を介して出力軸12に伝達されるため、出力軸12は反時計方向(矢印C参照)に回転する。   When the outer member 22 rotates in the arrow B direction in this way, the rollers 25... Bite into the wedge-shaped space between the outer member 22 and the inner member 23 of the one-way clutch 21, and the rotation of the outer member 22 passes through the inner member 23. Therefore, the output shaft 12 rotates counterclockwise (see arrow C).

入力軸11および第1ピニオン15が更に回転すると、第1ピニオン15および第2ピニオン17,17にリングギヤ18aを噛合させた偏心ディスク18が反時計方向(矢印A参照)に偏心回転する。図4(C)から図4(D)を経て図4(A)の状態へと回転する間に、偏心ディスク18の外周にリング部19bをボールベアリング20を介して相対回転自在に支持されたコネクティングロッド19は、そのロッド部19aの先端にピン19cで枢支されたアウター部材22を時計方向(矢印B′参照)に回転させる。図4(C)および図4(A)は、アウター部材22の前記矢印B′方向の回転の両端を示している。   When the input shaft 11 and the first pinion 15 further rotate, the eccentric disk 18 in which the ring gear 18a is engaged with the first pinion 15 and the second pinion 17, 17 rotates eccentrically in the counterclockwise direction (see arrow A). While rotating from FIG. 4 (C) through FIG. 4 (D) to the state of FIG. 4 (A), the ring portion 19b is supported on the outer periphery of the eccentric disk 18 via the ball bearing 20 so as to be relatively rotatable. The connecting rod 19 rotates the outer member 22 pivotally supported by a pin 19c at the tip of the rod portion 19a in the clockwise direction (see arrow B ′). FIG. 4C and FIG. 4A show both ends of the rotation of the outer member 22 in the direction of the arrow B ′.

このようにしてアウター部材22が矢印B′方向に回転すると、アウター部材22とインナー部材23との間の楔状の空間からローラ25…がスプリング24…を圧縮しながら押し出されることで、アウター部材22がインナー部材23に対してスリップして出力軸12は回転しない。   Thus, when the outer member 22 rotates in the direction of the arrow B ′, the rollers 25 are pushed out from the wedge-shaped space between the outer member 22 and the inner member 23 while compressing the springs 24. Slips with respect to the inner member 23 and the output shaft 12 does not rotate.

以上のように、アウター部材22が往復回転したとき、アウター部材22の回転方向が反時計方向(矢印B参照)のときだけ出力軸12が反時計方向(矢印C参照)に回転するため、出力軸12は間欠回転することになる。   As described above, when the outer member 22 reciprocates, the output shaft 12 rotates counterclockwise (see arrow C) only when the rotation direction of the outer member 22 is counterclockwise (see arrow B). The shaft 12 rotates intermittently.

図5は、LOW状態で変速機Tを運転するときの作用を示すものである。このとき、入力軸11の位置は偏心ディスク18の中心Oに一致しているので、入力軸11に対する偏心ディスク18の偏心量はゼロになる。この状態で駆動源13で入力軸11を回転させるとともに、入力軸11と同速度で変速アクチュエータ14の回転軸14aを回転させると、入力軸11、回転軸14a、キャリヤ16、第1ピニオン15、2個の第2ピニオン17,17および偏心ディスク18が一体になった状態で、入力軸11を中心に反時計方向(矢印A参照)に偏心回転する。しかしながら、偏心ディスク18の偏心量がゼロであるため、コネクティングロッド19の往復運動のストロークもゼロになり、出力軸12は回転しない。   FIG. 5 shows an operation when the transmission T is operated in the LOW state. At this time, since the position of the input shaft 11 coincides with the center O of the eccentric disk 18, the eccentric amount of the eccentric disk 18 with respect to the input shaft 11 becomes zero. In this state, when the input shaft 11 is rotated by the drive source 13 and the rotating shaft 14a of the speed change actuator 14 is rotated at the same speed as the input shaft 11, the input shaft 11, the rotating shaft 14a, the carrier 16, the first pinion 15, In a state where the two second pinions 17 and 17 and the eccentric disk 18 are integrated, the input pin 11 rotates eccentrically in the counterclockwise direction (see arrow A). However, since the eccentric amount of the eccentric disk 18 is zero, the stroke of the reciprocating motion of the connecting rod 19 is also zero, and the output shaft 12 does not rotate.

従って、変速アクチュエータ14を駆動してキャリヤ16の位置を図1のTOP状態と図2のLOW状態との間に設定すれば、ゼロレシオおよび所定レシオ間の任意のレシオでの運転が可能になる。   Therefore, if the speed change actuator 14 is driven and the position of the carrier 16 is set between the TOP state of FIG. 1 and the LOW state of FIG. 2, operation at an arbitrary ratio between the zero ratio and the predetermined ratio becomes possible.

無段変速機Tは、並置された4個の変速ユニット10…の偏心ディスク18…の位相が相互に90°ずつずれているため、4個の変速ユニット10…が交互に駆動力を伝達することで、つまり4個のワンウェイクラッチ21…の何れかが必ず係合状態にあることで、出力軸12を連続回転させることができる。   In the continuously variable transmission T, the phases of the eccentric disks 18 of the four transmission units 10 arranged in parallel are shifted from each other by 90 °, so that the four transmission units 10 alternately transmit the driving force. In other words, any one of the four one-way clutches 21 is always in an engaged state, so that the output shaft 12 can be continuously rotated.

次に、ワンウェイクラッチ21に発生するポップアウト現象について説明する。ポップアウト現象とは、係合状態にあるワンウェイクラッチ21に過剰なトルクが入力したとき、アウター部材22およびインナー部材23間に噛み込んだローラ45が急激に弾き出されることを言う。   Next, the pop-out phenomenon that occurs in the one-way clutch 21 will be described. The pop-out phenomenon means that when an excessive torque is input to the one-way clutch 21 that is in an engaged state, the roller 45 that is caught between the outer member 22 and the inner member 23 is suddenly ejected.

図6は係合状態にあるワンウェイクラッチ21の要部拡大図である。ローラ25は円弧面よりなるアウター部材22の内周面と、平面よりなるインナー部材23の外周面との間に挟まれるが、実際には円弧面であるアウター部材22の内周面を、ローラ25との接点Poを通る接線Toで置き換えて考える。接点Poでアウター部材22の内周面に接するローラ25の接線Toと、接点Piでインナー部材23の外周面に接するローラ25の接線Tiとは角度2αで交差しており、ローラ25の中心Cは前記角度2αの二等分線L上に位置している。   FIG. 6 is an enlarged view of a main part of the one-way clutch 21 in the engaged state. The roller 25 is sandwiched between the inner peripheral surface of the outer member 22 made of an arc surface and the outer peripheral surface of the inner member 23 made of a flat surface. Consider a tangent line To passing through a contact point Po with 25. The tangent line To of the roller 25 that contacts the inner peripheral surface of the outer member 22 at the contact Po intersects the tangent line Ti of the roller 25 that contacts the outer peripheral surface of the inner member 23 at the contact Pi at an angle 2α, and the center C of the roller 25 Is located on the bisector L of the angle 2α.

アウター部材22およびローラ25の接点Poには、法線方向の法線荷重Nと接線To方向の接線荷重Nμとが作用しており、それらの前記二等分線L方向の成分であるNsinαがローラ25を押し出すように作用し、μNcosαがローラ25を噛み込ませる方向に作用する。アウター部材22およびインナー部材23が同一の材料で構成されている場合、インナー部材23およびローラ25の接点Piには、法線方向の法線荷重Nと接線Ti方向の接線荷重Nμとが作用しており、それらの前記二等分線L方向の成分であるNsinαがローラ25を押し出すように作用し、μNcosαがローラ25を噛み込ませる方向に作用する。   A normal load N in the normal direction and a tangential load Nμ in the tangent line To direction act on the contact Po between the outer member 22 and the roller 25, and Nsin α, which is a component in the bisector L direction, is generated. It acts to push out the roller 25 and acts in the direction in which μN cos α bites the roller 25. When the outer member 22 and the inner member 23 are made of the same material, the normal load N in the normal direction and the tangential load Nμ in the tangential Ti direction act on the contact Pi of the inner member 23 and the roller 25. Nsin α, which is a component in the bisector L direction, acts to push the roller 25, and μN cos α acts in a direction in which the roller 25 is engaged.

よって、ローラ25がポップアウトする条件は、2Nsinα>2μNcosαであり、μ>tanαが成立したときにローラ25がポップアウトすることになる。ちなみに、μ=0.080とするとα=4.57degとなり、αを4.57deg未満に抑えればポップアウトを防止することができる。   Therefore, the condition for the roller 25 to pop out is 2Nsin α> 2 μN cos α, and the roller 25 pops out when μ> tan α is satisfied. Incidentally, if μ = 0.080, α = 0.57 deg. If α is suppressed to less than 4.57 deg, pop-out can be prevented.

図6において、ワンウェイクラッチ21の伝達トルクが大きくなるほど、ローラ25は図中左側に移動してアウター部材22およびインナー部材23に強く噛み込むため、接点Poにおける接線Toが立ち上がって角度αが大きくなる。従って、ワンウェイクラッチ21の伝達トルクが大きくなると、角度αが大きくなってポップアウトが発生する可能性が高くなる。   In FIG. 6, as the transmission torque of the one-way clutch 21 increases, the roller 25 moves to the left side in the drawing and strongly engages the outer member 22 and the inner member 23, so that the tangent line To at the contact point Po rises and the angle α increases. . Therefore, when the transmission torque of the one-way clutch 21 increases, the angle α increases and the possibility of pop-out increases.

無段変速機Tの運転中に一つの変速ユニット10のワンウェイクラッチ21のローラ25がポップアウトすると、ポップアウトしたローラ25が衝突する衝撃で破片が飛び散り、その変速ユニット10だけでなく、他の変速ユニット10…にも被害が及ぶ可能性があるため、ポップアウトを未然に防止することが必要である。   If the roller 25 of the one-way clutch 21 of one transmission unit 10 pops out during operation of the continuously variable transmission T, debris is scattered by the impact of the impact of the popped-out roller 25, and not only the transmission unit 10 but also other transmission units 10 Since there is a possibility of damage to the transmission units 10..., It is necessary to prevent pop-outs in advance.

図7は、横軸にワンウェイクラッチ21の伝達トルクをとり、縦軸に角度αをとったもので、伝達トルクおよび角度αの関係は放物線状のラインで示される。伝達トルクがT3以上(α≧4.57deg)の領域はポップアウトが発生する領域である。無段変速機Tの通常の運転状態で使用する領域は、伝達トルクがT1未満(α<4.0deg)の領域である。そして、伝達トルクがT2(α=4.3deg)のとき、ワンウェイクラッチ21のアウター部材22がノッチ22a(図1参照)において破断するように、そのノッチ22aの強度が設定されている。   In FIG. 7, the horizontal axis represents the transmission torque of the one-way clutch 21, and the vertical axis represents the angle α. The relationship between the transmission torque and the angle α is indicated by a parabolic line. A region where the transmission torque is T3 or more (α ≧ 4.57 deg) is a region where pop-out occurs. The region used in the normal driving state of the continuously variable transmission T is a region where the transmission torque is less than T1 (α <4.0 deg). The strength of the notch 22a is set so that the outer member 22 of the one-way clutch 21 is broken at the notch 22a (see FIG. 1) when the transmission torque is T2 (α = 4.3 deg).

従って、無段変速機Tの出力トルクが次第に増加し、変速ユニット10のワンウェイクラッチ21の伝達トルクが通常の運転状態の上限値であるT1を超えてT2に達すると、アウター部材22がノッチ22aが破断する。アウター部材22のノッチ22aが破断すると、アウター部材22およびインナー部材23の間隔が広がって前記法線荷重Nが消滅するためにポップアウトが発生する虞はなくなり、そのワンウェイクラッチ21は非係合状態になって駆動力を伝達しなくなる。アウター部材22のノッチ22aが破断した場合、その被害はアウター部材22だけに止まり、破片がワンウェイクラッチ21の内部に飛散して損傷を拡大することが防止される。   Therefore, when the output torque of the continuously variable transmission T gradually increases and the transmission torque of the one-way clutch 21 of the transmission unit 10 exceeds T1 which is the upper limit value of the normal operation state and reaches T2, the outer member 22 is notched 22a. Breaks. When the notch 22a of the outer member 22 is broken, the distance between the outer member 22 and the inner member 23 is widened, and the normal load N disappears, so that there is no possibility of pop-out, and the one-way clutch 21 is in an unengaged state. It becomes impossible to transmit the driving force. When the notch 22a of the outer member 22 is broken, the damage is stopped only by the outer member 22, and the fragments are prevented from being scattered inside the one-way clutch 21 and expanding the damage.

図8は、コネクティングロッド19に設けた歪みゲージ26の出力波形を示すものである。各変速ユニット10が駆動力を伝達しているとき、図8(A)に示すように、コネクティングロッド19は周期的な圧縮荷重を受けるが、特定のワンウェイクラッチ21のアウター部材22が破断すると、図8(B)に示すように、伝達トルクが急激に減少するために前記圧縮荷重の振幅が小さくなる。よって、電子制御ユニットUは、特定のコネクティングロッド19の歪みゲージ26の出力波形の振幅が、他のコネクティングロッド19の歪みゲージ26の出力波形の振幅よりも小さくなったとき、ワンウェイクラッチ21のアウター部材22の破断を判定して警報を発することができる。これにより、ワンウェイクラッチ21のポップアウトに起因する無段変速機Tの重大な損傷を未然に防止することができる。   FIG. 8 shows an output waveform of the strain gauge 26 provided on the connecting rod 19. When each transmission unit 10 is transmitting driving force, as shown in FIG. 8A, the connecting rod 19 receives a periodic compressive load, but when the outer member 22 of a specific one-way clutch 21 breaks, As shown in FIG. 8B, the amplitude of the compressive load becomes small because the transmission torque decreases rapidly. Therefore, when the amplitude of the output waveform of the strain gauge 26 of the specific connecting rod 19 becomes smaller than the amplitude of the output waveform of the strain gauge 26 of the other connecting rod 19, the electronic control unit U An alarm can be issued by determining the breakage of the member 22. Thereby, the serious damage of the continuously variable transmission T resulting from the pop-out of the one-way clutch 21 can be prevented in advance.

以上、本発明の実施の形態を説明したが、本発明はその要旨を逸脱しない範囲で種々の設計変更を行うことが可能である。   The embodiments of the present invention have been described above, but various design changes can be made without departing from the scope of the present invention.

例えば、本発明のワンウェイクラッチ21は無段変速機T以外の任意の用途に適用可能である。   For example, the one-way clutch 21 of the present invention can be applied to any use other than the continuously variable transmission T.

また本発明のワンウェイクラッチ21は、複数個を並置することなく1個で使用することも可能である。   Moreover, the one-way clutch 21 of this invention can also be used by one, without arranging two or more.

19 コネクティングロッド(駆動力入力部材)
21 ワンウェイクラッチ
22 アウター部材
22a ノッチ(脆弱部)
23 インナー部材
24 スプリング
25 ローラ
26 歪みゲージ(歪み検出手段)
U 電子制御ユニット(破断判定手段)
19 Connecting rod (driving force input member)
21 One-way clutch 22 Outer member 22a Notch (fragile part)
23 Inner member 24 Spring 25 Roller 26 Strain gauge (strain detection means)
U Electronic control unit (breakage determination means)

Claims (2)

アウター部材(22)の内周面とインナー部材(23)の外周面との間に形成される空間に配置した複数のローラ(25)をスプリング(24)で円周方向一方に付勢し、前記アウター部材(22)および前記インナー部材(23)の所定の方向への相対回転により前記ローラ(25)を前記アウター部材(22)の内周面と前記インナー部材(23)の外周面との間に噛み込ませてトルクを伝達するワンウェイクラッチにおいて、
前記アウター部材(22)に所定値以上の荷重の入力により破断する脆弱部(22a)を設けたことを特徴とするワンウェイクラッチ。
A plurality of rollers (25) arranged in a space formed between the inner peripheral surface of the outer member (22) and the outer peripheral surface of the inner member (23) are biased in the circumferential direction by a spring (24), By the relative rotation of the outer member (22) and the inner member (23) in a predetermined direction, the roller (25) is moved between the inner peripheral surface of the outer member (22) and the outer peripheral surface of the inner member (23). In a one-way clutch that transmits torque by biting in between,
The one-way clutch characterized in that the outer member (22) is provided with a fragile portion (22a) that breaks when a load of a predetermined value or more is input.
前記ワンウェイクラッチ(21)は複数個が並置されており、前記アウター部材(22)に接続された駆動力入力部材(19)にそれぞれ設けられた歪み検出手段(26)の検出値を比較することで、前記アウター部材(22)の破断を判定する破断判定手段(U)を備えることを特徴とする、請求項1に記載のワンウェイクラッチ。   A plurality of the one-way clutches (21) are juxtaposed, and the detection values of the strain detection means (26) provided in the driving force input member (19) connected to the outer member (22) are compared. The one-way clutch according to claim 1, further comprising a break determination means (U) for determining breakage of the outer member (22).
JP2010056520A 2010-03-12 2010-03-12 One way clutch Expired - Fee Related JP5372811B2 (en)

Priority Applications (1)

Application Number Priority Date Filing Date Title
JP2010056520A JP5372811B2 (en) 2010-03-12 2010-03-12 One way clutch

Applications Claiming Priority (1)

Application Number Priority Date Filing Date Title
JP2010056520A JP5372811B2 (en) 2010-03-12 2010-03-12 One way clutch

Publications (2)

Publication Number Publication Date
JP2011190849A true JP2011190849A (en) 2011-09-29
JP5372811B2 JP5372811B2 (en) 2013-12-18

Family

ID=44795988

Family Applications (1)

Application Number Title Priority Date Filing Date
JP2010056520A Expired - Fee Related JP5372811B2 (en) 2010-03-12 2010-03-12 One way clutch

Country Status (1)

Country Link
JP (1) JP5372811B2 (en)

Cited By (6)

* Cited by examiner, † Cited by third party
Publication number Priority date Publication date Assignee Title
WO2013039172A1 (en) * 2011-09-14 2013-03-21 本田技研工業株式会社 Drive control device
JP2014009792A (en) * 2012-07-02 2014-01-20 Honda Motor Co Ltd Vehicle power-transmission device
JP2014009793A (en) * 2012-07-02 2014-01-20 Honda Motor Co Ltd Power transmission device for vehicle
JP2014066299A (en) * 2012-09-26 2014-04-17 Honda Motor Co Ltd Vehicular power transmission
JP2015209888A (en) * 2014-04-25 2015-11-24 本田技研工業株式会社 Vehicle power transmission system
JP2016109144A (en) * 2014-12-02 2016-06-20 本田技研工業株式会社 Power transmission device for vehicle

Citations (6)

* Cited by examiner, † Cited by third party
Publication number Priority date Publication date Assignee Title
JPH06249256A (en) * 1993-02-25 1994-09-06 Ntn Corp Torque limiter
JPH0819900A (en) * 1994-07-01 1996-01-23 Murata Mach Ltd Load detection/meeting device for press machine
JP2003166465A (en) * 2001-11-29 2003-06-13 Toyota Industries Corp Rotating machinery for vehicles
JP2005247126A (en) * 2004-03-04 2005-09-15 Hitachi Ltd Propeller shaft protector
JP2006242254A (en) * 2005-03-02 2006-09-14 Sanden Corp Power transmission device
JP2010025310A (en) * 2008-07-24 2010-02-04 Honda Motor Co Ltd transmission

Patent Citations (6)

* Cited by examiner, † Cited by third party
Publication number Priority date Publication date Assignee Title
JPH06249256A (en) * 1993-02-25 1994-09-06 Ntn Corp Torque limiter
JPH0819900A (en) * 1994-07-01 1996-01-23 Murata Mach Ltd Load detection/meeting device for press machine
JP2003166465A (en) * 2001-11-29 2003-06-13 Toyota Industries Corp Rotating machinery for vehicles
JP2005247126A (en) * 2004-03-04 2005-09-15 Hitachi Ltd Propeller shaft protector
JP2006242254A (en) * 2005-03-02 2006-09-14 Sanden Corp Power transmission device
JP2010025310A (en) * 2008-07-24 2010-02-04 Honda Motor Co Ltd transmission

Cited By (8)

* Cited by examiner, † Cited by third party
Publication number Priority date Publication date Assignee Title
WO2013039172A1 (en) * 2011-09-14 2013-03-21 本田技研工業株式会社 Drive control device
JP5638146B2 (en) * 2011-09-14 2014-12-10 本田技研工業株式会社 Drive control device
US9211882B2 (en) 2011-09-14 2015-12-15 Honda Motor Co., Ltd. Drive control device
JP2014009792A (en) * 2012-07-02 2014-01-20 Honda Motor Co Ltd Vehicle power-transmission device
JP2014009793A (en) * 2012-07-02 2014-01-20 Honda Motor Co Ltd Power transmission device for vehicle
JP2014066299A (en) * 2012-09-26 2014-04-17 Honda Motor Co Ltd Vehicular power transmission
JP2015209888A (en) * 2014-04-25 2015-11-24 本田技研工業株式会社 Vehicle power transmission system
JP2016109144A (en) * 2014-12-02 2016-06-20 本田技研工業株式会社 Power transmission device for vehicle

Also Published As

Publication number Publication date
JP5372811B2 (en) 2013-12-18

Similar Documents

Publication Publication Date Title
JP5372811B2 (en) One way clutch
JP4909322B2 (en) transmission
JP6617051B2 (en) Clutch device
JP6114681B2 (en) Torque limiter
KR20140035347A (en) Friction clutch plate with damping springs
JP6511085B2 (en) Pulley structure
US9611908B2 (en) Electromechanical brake device
JP2006275178A (en) Electromagnetic clutch
JP5729560B2 (en) Rotation fluctuation absorbing damper pulley
JP6168523B2 (en) Power transmission device for vehicle
CN103968026B (en) Vehicle power transmission apparatus
JP5932621B2 (en) One-way clutch and continuously variable transmission
CN104179837B (en) One-way clutch
RU2495288C1 (en) Worm safety clutch
JP6130196B2 (en) One-way clutch and continuously variable transmission
JP7192466B2 (en) power transmission device
JP6011972B2 (en) Power transmission device for vehicle
JP6133116B2 (en) One-way clutch and continuously variable transmission
CN201155534Y (en) an overrunning clutch
JP6213840B2 (en) Power transmission device for vehicle
JP6016241B2 (en) Power transmission device for vehicle
RU2609613C1 (en) Safety coupling
RU2021552C1 (en) Ball protecting clutch
CN104653753B (en) Power transmission apparatus for vehicle
JP2014105822A (en) One-way clutch and continuously variable transmission

Legal Events

Date Code Title Description
A621 Written request for application examination

Free format text: JAPANESE INTERMEDIATE CODE: A621

Effective date: 20121128

A977 Report on retrieval

Free format text: JAPANESE INTERMEDIATE CODE: A971007

Effective date: 20130819

TRDD Decision of grant or rejection written
A01 Written decision to grant a patent or to grant a registration (utility model)

Free format text: JAPANESE INTERMEDIATE CODE: A01

Effective date: 20130828

A61 First payment of annual fees (during grant procedure)

Free format text: JAPANESE INTERMEDIATE CODE: A61

Effective date: 20130918

R150 Certificate of patent or registration of utility model

Ref document number: 5372811

Country of ref document: JP

Free format text: JAPANESE INTERMEDIATE CODE: R150

Free format text: JAPANESE INTERMEDIATE CODE: R150

R250 Receipt of annual fees

Free format text: JAPANESE INTERMEDIATE CODE: R250

LAPS Cancellation because of no payment of annual fees