JP2011163243A - 燃料フィルタ装置 - Google Patents
燃料フィルタ装置 Download PDFInfo
- Publication number
- JP2011163243A JP2011163243A JP2010028322A JP2010028322A JP2011163243A JP 2011163243 A JP2011163243 A JP 2011163243A JP 2010028322 A JP2010028322 A JP 2010028322A JP 2010028322 A JP2010028322 A JP 2010028322A JP 2011163243 A JP2011163243 A JP 2011163243A
- Authority
- JP
- Japan
- Prior art keywords
- fuel
- housing
- filter
- filter device
- filter medium
- Prior art date
- Legal status (The legal status is an assumption and is not a legal conclusion. Google has not performed a legal analysis and makes no representation as to the accuracy of the status listed.)
- Pending
Links
- 239000000446 fuel Substances 0.000 title claims abstract description 79
- 238000001914 filtration Methods 0.000 claims abstract description 11
- 230000002093 peripheral effect Effects 0.000 claims description 22
- XLYOFNOQVPJJNP-UHFFFAOYSA-N water Substances O XLYOFNOQVPJJNP-UHFFFAOYSA-N 0.000 claims description 12
- 238000005304 joining Methods 0.000 claims description 5
- 239000011347 resin Substances 0.000 claims description 3
- 229920005989 resin Polymers 0.000 claims description 3
- 230000000149 penetrating effect Effects 0.000 claims description 2
- 239000000853 adhesive Substances 0.000 description 8
- 230000001070 adhesive effect Effects 0.000 description 8
- 239000011162 core material Substances 0.000 description 8
- 238000004804 winding Methods 0.000 description 5
- 238000000465 moulding Methods 0.000 description 3
- 238000012856 packing Methods 0.000 description 3
- 238000003466 welding Methods 0.000 description 3
- 238000002485 combustion reaction Methods 0.000 description 2
- 238000010586 diagram Methods 0.000 description 2
- 229920006122 polyamide resin Polymers 0.000 description 2
- 238000007599 discharging Methods 0.000 description 1
- 238000009826 distribution Methods 0.000 description 1
- 230000010354 integration Effects 0.000 description 1
- 239000000463 material Substances 0.000 description 1
- 238000000034 method Methods 0.000 description 1
- 238000012986 modification Methods 0.000 description 1
- 230000004048 modification Effects 0.000 description 1
- 238000005192 partition Methods 0.000 description 1
- 230000035515 penetration Effects 0.000 description 1
- 238000007789 sealing Methods 0.000 description 1
- 239000007787 solid Substances 0.000 description 1
- 238000003860 storage Methods 0.000 description 1
Images
Landscapes
- Filtration Of Liquid (AREA)
Abstract
【課題】ハウジングが扁平状であっても濾過性能を向上することが可能な燃料フィルタ装置を提供すること。
【解決手段】ハウジング10のケース11の筒状部111は、軸線方向に直交する断面形状が扁平形状であり、フィルタエレメント20は、筒状部111の軸線方向に延びる複数のチューブ状濾材23が並設された濾材22を有しており、濾材22を構成する各チューブ状濾材23の内部空間28から外部空間29へ燃料が通過する際に燃料の濾過を行う。
【選択図】図2
【解決手段】ハウジング10のケース11の筒状部111は、軸線方向に直交する断面形状が扁平形状であり、フィルタエレメント20は、筒状部111の軸線方向に延びる複数のチューブ状濾材23が並設された濾材22を有しており、濾材22を構成する各チューブ状濾材23の内部空間28から外部空間29へ燃料が通過する際に燃料の濾過を行う。
【選択図】図2
Description
本発明は、例えば車両の内燃機関に供給される燃料を濾過する燃料フィルタ装置に関する。
従来から、扁平状のハウジング内に、濾過材料を折り畳む等して扁平なブロック状としたフィルタエレメントを配設し、扁平なフィルタエレメントの一方の扁平面から他方の扁平面に燃料を流通して濾過する燃料フィルタ装置が知られている(例えば、特許文献1参照。)。
しかしながら、上記従来技術の燃料フィルタ装置では、フィルタエレメントの両扁平面とハウジングの両扁平壁面との間に、それぞれ燃料が通過するための間隙を形成する必要がある。そのため、フィルタエレメントの濾過面積を大きく確保することが困難であり、良好な濾過性能を確保し難いという問題がある。
本発明は、上記点に鑑みてなされたものであり、ハウジングが扁平状であっても濾過性能を向上することが可能な燃料フィルタ装置を提供することを目的とする。
上記目的を達成するため、請求項1に記載の発明では、
筒状部を有するハウジングと、
ハウジング内に収容され、ハウジング内を通過する燃料を濾過するフィルタエレメントと、を備える燃料フィルタ装置において、
ハウジングの筒状部は、軸線方向に直交する断面形状が扁平形状であり、
フィルタエレメントは、筒状部の軸線方向に延びる複数のチューブ状濾材が並設されて、外周面が前記筒状部の内周面に沿っており、それぞれのチューブ状濾材の内部空間と外部空間との間を燃料が移動する際に燃料の濾過を行うことを特徴としている。
筒状部を有するハウジングと、
ハウジング内に収容され、ハウジング内を通過する燃料を濾過するフィルタエレメントと、を備える燃料フィルタ装置において、
ハウジングの筒状部は、軸線方向に直交する断面形状が扁平形状であり、
フィルタエレメントは、筒状部の軸線方向に延びる複数のチューブ状濾材が並設されて、外周面が前記筒状部の内周面に沿っており、それぞれのチューブ状濾材の内部空間と外部空間との間を燃料が移動する際に燃料の濾過を行うことを特徴としている。
これによると、軸線方向に直交する断面形状が扁平形状である筒状部を有するハウジング内に、筒状部の軸線方向に延びる複数のチューブ状濾材を並設したフィルタエレメントを筒状部の内周形状に対応して配設し、フィルタエレメントの複数のチューブ状濾材で燃料を濾過することができる。したがって、フィルタエレメントの濾過面積を大きく確保することが容易であり、ハウジングが扁平状であっても濾過性能を向上することが可能である。
また、請求項2に記載の発明では、フィルタエレメントは、チューブ状濾材が並列に接続されてなるシート体が巻回されていることを特徴としている。これによると、ハウジングの筒状部の軸線方向に延びる複数のチューブ状濾材が並設されて、外周面が筒状部の内周面に沿うようなフィルタエレメントを容易に形成することができる。
また、請求項3に記載の発明では、フィルタエレメントは、平板状の第1濾材と波板状の第2濾材とが接合されてチューブ状濾材が並列に接続されてなるシート体が形成されていることを特徴としている。これによると、チューブ状濾材が並列に接続されてなるシート体を、平板状の第1濾材と波板状の第2濾材との接合により容易に形成することができる。
また、請求項4に記載の発明では、フィルタエレメントは、筒状部の軸線方向に延びる芯材の周囲にシート体が巻回されていることを特徴としている。これによると、チューブ状濾材が並列に接続されてなるシート体を巻回してフィルタエレメントを構成する際に、シート体の巻回を安定して行うことが可能である。
また、請求項5に記載の発明では、芯材は、内部に筒状部の軸線方向に貫通する貫通路が形成されていることを特徴としている。これによると、芯材の貫通路を燃料通路とすることができる。したがって、ハウジング内への燃料の導入口および導出口を、ハウジングのうち、筒状部の軸線方向におけるフィルタエレメントの同一端部側に設けることが可能である。
また、請求項6に記載の発明のように、請求項5に記載の燃料フィルタ装置を、筒状部の軸線方向が上下方向となるように配置すれば、ハウジング内のフィルタエレメントよりも下方に、ハウジング内を通過する燃料から分離された水を貯留する水溜室を容易に形成することができる。
また、請求項7に記載の発明では、ハウジングは、樹脂製であることを特徴としている。これによると、軸線方向に直交する断面形状が扁平形状である筒状部を有するハウジングを形成することが容易である。
また、請求項8に記載の発明では、車両のエンジンルーム内に搭載されて、エンジンルーム内に収容されたエンジンに供給する燃料がハウジング内を通過するようになっており、エンジンルームを構成する壁面のうち、車両の側方側の壁面もしくは車室側の壁面に沿って配設されることを特徴としている。
これによると、ハウジングが扁平状である燃料フィルタ装置を、エンジンルームの車両側方側の壁面もしくは車室側の壁面に沿って配設して、車両衝突時等に他の車両搭載部品が干渉してハウジングが変形することを抑止することが可能である。
以下、本発明を適用した実施の形態を図に基づいて説明する。
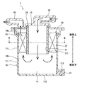
図1は、本発明を適用した燃料フィルタ装置1の概略構成を示す縦断面図であり、図2は、図1のII−II線断面図である。
図1に示す燃料フィルタ装置1は、例えば、内燃機関であるディーゼルエンジンに燃料を供給するコモンレールシステムに用いられ、車両のエンジンルーム内等に図1に示す姿勢で搭載されて、燃料タンク内の燃料を高圧ポンプに供給する燃料供給経路に介装され、燃料中から水分や異物等を除去するものである。
図1に示すように、燃料フィルタ装置1は、ハウジング10、ハウジング10内に収容されたフィルタエレメント20、ハウジング10の上面に設けられてハウジング10内に燃料を導入するための導入パイプ30、および、ハウジング10内から燃料を導出するための導出パイプ40等を備えている。
燃料フィルタ装置1のハウジング10は、外殻を構成するカップ状(有底筒状)のケース11と、ケース11の上方開口端に取り付けられるキャップ12とにより構成されている。ケース11およびキャップ12は、いずれも例えばポリアミド樹脂からなり、ケース11の上端部から径外方向に張り出したフランジ部とキャップ12の外周縁部とを、例えば溶着により相互に接合して、ケース11にキャップ12が取り付けられている。
ハウジング10内には、フィルタエレメント20が収容されている。フィルタエレメント20は、パルプ材等からなる濾材22、濾材22の中心を上下方向に貫通するように配設された例えばポリアミド樹脂製のセンタパイプ21(中心円筒)、センタパイプ21の上端面に設けられたパッキン24、および濾材22の外周面の上部に設けられた接着剤25から構成されている。
パッキン24は、センタパイプ21の上端とキャップ12の下面との間を、導入パイプ30の下流開口を取り囲むように周状にシールするシール部材である。また、接着剤25は、濾材22の外周面とケース11の後述する筒状部111の内周面との間をシールするシール部材である。パッキン24は、センタパイプ21の上端とキャップ12の下面との間をシールするものであれば、例えば2色成形等によりキャップ12側に予め設けるものであってもよい。また、接着剤25は、濾材22の外周面とケース11の筒状部111の内周面との間をシールするものであれば、例えば2色成形等によりケース11側に予め設けるものであってもよい。
ケース11は、上下方向に延びる筒状部111と筒状部111の下方端を閉塞するように設けられた底面部112とが一体成形されている。フィルタエレメント20は、ハウジング10内において筒状部111の内側の比較的上部に配設されて、外周面が筒状部111の内周面に沿って、全周に亘って接している。ハウジング10内には、フィルタエレメント20の濾材22よりも上方に上部空間10aが形成されるとともに、フィルタエレメント20よりも下方には、上部空間よりも大きな下部空間10bが形成されている。
この下部空間10bは、ハウジング10内を通過する燃料から分離された水を貯留するための水溜室13をなしている。筒状部111の最下部には水溜室13に貯留した水をハウジング10外に排出するためのドレン口113が形成されており、ドレン口113には、ドレン口113を開閉するためのドレンコック14が装着されている。
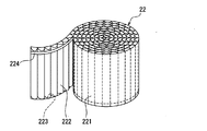
図2に示すように、ケース11の筒状部111は、軸線方向(紙面表裏方向)に直交する断面が長円形状をなす扁平形状となっている。ここで、長円形状とは、2つの等しい長さの平行線と、平行線の両端部同士を繋ぐ2つの半円からなる形状である。一方、フィルタエレメント20のセンタパイプ21も、軸線方向に直交する断面が長円形状をなす扁平形状となっている。
そして、筒状部111の内周面とセンタパイプ21の外周面とは、周方向において間隔が均一となっており、筒状部111の内周面とセンタパイプ21の外周面との間に濾材22が配設されている。センタパイプ21は、本実施形態において芯材に相当し、センタパイプ21の内部は、上下方向(筒状部111の軸線方向)に貫通する貫通路211が形成されている。芯材であるセンタパイプ21の周囲にシート状の濾材22が巻かれて、フィルタエレメント20の主要部を構成している。
図3は、センタパイプ21の周囲に巻回されたシート状の濾材22の2層分を拡大図示した斜視図であり、一部断面を示している。なお、図3に示す濾材22は、図示上方側が図1における下方側となる。図2および図3に示すように、濾材22は、平板状の第1濾材221と波板状の第2濾材222とを接着してシート体としている。本実施形態の第2濾材222は、半円状の円弧が連続する断面を有する波板状であり、隣り合う円弧間の折り返し部が第1濾材221と接着している。
図3に示すように、濾材22は、第1濾材221と第2濾材222とが接着されて、内部に内部空間28を形成している。内部空間28は、横断面(筒状部111の軸線に直交する断面)が半円状の空間であり、上下方向に延びて、図3図示下方端の底部(図1においては天井部)が接着剤223により閉塞されている。したがって、濾材22は、半円柱状の空間(所謂かまぼこ型の空間)である内部空間28を形成する有底のチューブ状濾材23が一列に並び、並列に接続されてなるシート体である。
このシート体をなす濾材22をセンタパイプ21の周囲に巻回する際に、隣接する層の第1濾材221と第2濾材222との間に接着剤224を介在させて接着することで、濾材22は一体化される。これにより、隣接する層の第1濾材221と第2濾材222との間に、内部空間28を形成する有底のチューブ状濾材23にとって外部となる外部空間29が形成される。接着剤224は、有底のチューブ状濾材23の開口側の端部近傍(図3図示上方側の端部近傍)で隣接する層の第1濾材221と第2濾材222とを接着しており、接着剤224よりも図示下方側の空間が外部空間29となっている。
図4に、シート体をなす濾材22を巻回する際の接着剤223、224の配設位置を示している。なお、図4では、濾材22の中心に芯材を設けず、濾材22を円柱状に巻回する場合を示している。
上述の構成の燃料フィルタ装置1では、導入パイプ30を介してハウジング10内へ導入された燃料は、センタパイプ21の貫通路211を流れて下部空間10bへ流入する。下部空間10bでは流入した燃料中から凝集した水分等が沈降し、水溜室13に貯留される。下部空間10bに流入した燃料は、フィルタエレメント20の濾材22中を通過し、その際に微細な水滴の凝集や異物の除去が行われる。
上述した濾材構造により、一体化された濾材22に、図1図示下方側の端面(図3図示上方側の端面)から流入した燃料は、全て図2および図3に示す内部空間28内へ流入し、第1濾材221および第2濾材222のいずれかを通過する際に濾過されて、外部空間29へ流出する。濾材22中を通過して水分や異物が除去された燃料は、外部空間29から図1に示す上部空間10aを流れて導出パイプ40を介してハウジング10外へ導出される。
上述の構成の燃料フィルタ装置1によれば、ハウジング10のケース11の筒状部111は、軸線方向に直交する断面形状が扁平形状であり、フィルタエレメント20は、筒状部111の軸線方向に延びる複数のチューブ状濾材23が並設された濾材22を有しており、濾材22を構成する各チューブ状濾材23の内部空間28から外部空間29へ燃料が通過する際に燃料の濾過を行う。これによれば、扁平な筒状部111の軸線方向に延びる複数のチューブ状濾材23を並設した濾材22で燃料を濾過することができるので、フィルタエレメント20の濾材22の濾過面積を確保することが容易であり、ハウジング10が扁平状であっても濾過性能を向上することが容易である。
また、フィルタエレメント20の濾材22は、チューブ状濾材23が並列に接続されたシート体をセンタパイプ21の周囲に巻回して構成しており、外周面が筒状部111の内周面に沿うようなフィルタエレメント20を容易に形成することができる。また、センタパイプ21があるため、シート体の巻回も安定して行うことが可能であり極めて容易である。
また、巻回するためのシート体をなす濾材22は、平板状の第1濾材221と波板状の第2濾材222とを接着することで容易に形成することができる。
また、センタパイプ21を用いて貫通路211に燃料を流通するので、導入パイプ30および導出パイプ40を、いずれもフィルタエレメント10より上方に設けることができ、ハウジング10内の下部空間10bを水溜室13とすることができる。
また、ハウジング10のケース11やセンタパイプ21は扁平形状をなしているが、いずれも樹脂製であり、成形により容易に形成することができる。
本実施形態の燃料フィルタ装置1は、車両のエンジンルーム内に搭載されることを前述したが、例えば、図5に示すように、車両90のエンジンルーム92内に搭載されて、エンジンルーム92内に収容されたエンジン91に供給する燃料を濾過するものとして、エンジンルーム92を構成する壁面のうち、車室との隔壁93のエンジンルーム側の面(車室側の壁面)に沿うように配設することができる。また、図5に二点鎖線で示したように、エンジンルーム92を構成する壁面のうち、車両側方側の側壁94のエンジンルーム側の面(側方側の壁面)に沿うように配設することも可能である。
これらによれば、ハウジング10が扁平状である燃料フィルタ装置1は、車両衝突時等に他の車両搭載部品が干渉し難く、搭載位置の設定の自由度も大きい。
(他の実施形態)
以上、本発明の好ましい実施形態について説明したが、本発明は上述した実施形態に何ら制限されることなく、本発明の主旨を逸脱しない範囲において種々変形して実施することが可能である。
以上、本発明の好ましい実施形態について説明したが、本発明は上述した実施形態に何ら制限されることなく、本発明の主旨を逸脱しない範囲において種々変形して実施することが可能である。
上記実施形態では、平板状の第1濾材221と波板状の第2濾材222とを接着して複数のチューブ状濾材23が並列に接続されたシート体を形成しており、各チューブ状濾材23の内部空間28は、横断面が半円状をなしていたが、これに限定されるものではない。例えば、第2濾材222の波板形状を変更して、内部空間28の横断面を略三角形状としてもよいし、第1濾材221の形状を変更して、内部空間28の横断面を円形状としてもかまわない。また、平板状の第1濾材221と波板状の第2濾材222との接合方法も接着に限定されず、例えば溶着であってもかまわない。
また、複数のチューブ状濾材23が並列に接続されたシート体は、2つの板状濾材を組み合わせて形成するものに限らず、円筒状のチューブ状濾材を複数組み合わせてシート体としてもかまわない。
また、燃料が濾材22を通過する際には、燃料は内部空間28から外部空間29へ向かって流通したが、外部空間29から内部空間28へ向かって燃料が流通するように濾材22を用いてもかまわない。
また、上記実施形態では、センタパイプ21の貫通路211を利用して、ハウジング10内への燃料の導入口(導入パイプ30)および導出口(導出パイプ40)を、筒状部111の軸線方向におけるフィルタエレメント20の同一端部側(上方側)に設けていたが、これに限定されるものではない。例えば、センタパイプ21ではなく中実の芯材を用い、フィルタエレメント20の外周面を筒状部111の内周面に沿わせるとともに、両面間に間隙を設けて燃料通路とし、ハウジング10内への燃料の導入口および導出口を、筒状部111の軸線方向におけるフィルタエレメント20の同一端部側に設けるものであってもよい。
また、水溜室13を設ける必要がなければ、ハウジング10内への燃料の導入口および導出口は、フィルタエレメント20よりも上方になくてもかまわない。また、ハウジング10内への燃料の導入口および導出口を、筒状部111の軸線方向におけるフィルタエレメント20の両端部側に(フィルタエレメントを挟んで両側に)設けるものであってもかまわない。すなわち、ハウジング10内をほぼ一方向に燃料が流通するものであってもかまわない。
また、上記実施形態では、複数のチューブ状濾材23が並列に接続されたシート体を形成して巻回し、フィルタエレメント20の濾材22を構成していたが、これに限定されるものではない。例えば、シート体を形成することなく、複数のチューブ状濾材23をハウジング10内への収容形状となるように直接一体化してもかまわない。
また、上記実施形態では、ハウジング10の筒状部111は、軸線方向に直交する断面が長円形状であったが、扁平形状であればこれに限定されるものではない。例えば、筒状部は、軸線に直交する断面形状が、楕円状、角丸矩形状(四隅の角が丸い矩形状)等であってもかまわない。
また、上記実施形態では、ハウジング10は、ケース11とキャップ12とを組み合わせて構成していたが、これに限定されるものではなく、例えば、3部材以上を組み合わせてハウジングを構成してもかまわない。また、ハウジング10を構成する際の複数の部材の接合は、溶着によるものに限定されず、例えば、接着であってもよいし、螺子止めによるものであってもよい。
また、上記実施形態では、燃料フィルタ装置1は、ディーゼルエンジンに燃料を供給するコモンレールシステムに用いられるものであったが、これに限定されるものではない。例えば、分配型ポンプを用いたディーゼルエンジンへの燃料供給系に採用するものであってもよいし、ガソリンエンジンへの燃料供給系に採用するものであってもかまわない。
1 燃料フィルタ装置
10 ハウジング
11 ケース(ハウジングの一部)
12 キャップ(ハウジングの一部)
13 水溜室
20 フィルタエレメント
21 センタパイプ(芯材)
22 濾材
23 チューブ状濾材
211 貫通路
221 第1濾材
222 第2濾材
10 ハウジング
11 ケース(ハウジングの一部)
12 キャップ(ハウジングの一部)
13 水溜室
20 フィルタエレメント
21 センタパイプ(芯材)
22 濾材
23 チューブ状濾材
211 貫通路
221 第1濾材
222 第2濾材
Claims (8)
- 筒状部を有するハウジングと、
前記ハウジング内に収容され、前記ハウジング内を通過する燃料を濾過するフィルタエレメントと、を備える燃料フィルタ装置において、
前記筒状部は、軸線方向に直交する断面形状が扁平形状であり、
前記フィルタエレメントは、前記軸線方向に延びる複数のチューブ状濾材が並設されて、外周面が前記筒状部の内周面に沿っており、それぞれの前記チューブ状濾材の内部空間と外部空間との間を燃料が移動する際に燃料の濾過を行うことを特徴とする燃料フィルタ装置。 - 前記フィルタエレメントは、前記チューブ状濾材が並列に接続されてなるシート体が巻回されていることを特徴とする請求項1に記載の燃料フィルタ装置。
- 前記フィルタエレメントは、平板状の第1濾材と波板状の第2濾材とが接合されて前記シート体が形成されていることを特徴とする請求項2に記載の燃料フィルタ装置。
- 前記フィルタエレメントは、前記軸線方向に延びる芯材の周囲に前記シート体が巻回されていることを特徴とする請求項2または請求項3に記載の燃料フィルタ装置。
- 前記芯材は、内部に前記軸線方向に貫通する貫通路が形成されていることを特徴とする請求項4に記載の燃料フィルタ装置。
- 前記軸線方向が上下方向となるように配置され、
前記ハウジング内には、前記フィルタエレメントよりも下方に、前記ハウジング内を通過する燃料から分離された水を貯留する水溜室が形成されていることを特徴とする請求項5に記載の燃料フィルタ装置。 - 前記ハウジングは、樹脂製であることを特徴とする請求項1ないし請求項6のいずれか1つに記載の燃料フィルタ装置。
- 車両のエンジンルーム内に搭載されて、前記エンジンルーム内に収容されたエンジンに供給する燃料が前記ハウジング内を通過するようになっており、
前記エンジンルームを構成する壁面のうち、前記車両の側方側の壁面もしくは車室側の壁面に沿って配設されることを特徴とする請求項1ないし請求項7のいずれか1つに記載の燃料フィルタ装置。
Priority Applications (1)
| Application Number | Priority Date | Filing Date | Title |
|---|---|---|---|
| JP2010028322A JP2011163243A (ja) | 2010-02-11 | 2010-02-11 | 燃料フィルタ装置 |
Applications Claiming Priority (1)
| Application Number | Priority Date | Filing Date | Title |
|---|---|---|---|
| JP2010028322A JP2011163243A (ja) | 2010-02-11 | 2010-02-11 | 燃料フィルタ装置 |
Publications (1)
| Publication Number | Publication Date |
|---|---|
| JP2011163243A true JP2011163243A (ja) | 2011-08-25 |
Family
ID=44594215
Family Applications (1)
| Application Number | Title | Priority Date | Filing Date |
|---|---|---|---|
| JP2010028322A Pending JP2011163243A (ja) | 2010-02-11 | 2010-02-11 | 燃料フィルタ装置 |
Country Status (1)
| Country | Link |
|---|---|
| JP (1) | JP2011163243A (ja) |
Cited By (1)
| Publication number | Priority date | Publication date | Assignee | Title |
|---|---|---|---|---|
| JP2014194215A (ja) * | 2013-03-01 | 2014-10-09 | Kyosan Denki Co Ltd | フィルタエレメント組立体および燃料フィルタ装置 |
Citations (6)
| Publication number | Priority date | Publication date | Assignee | Title |
|---|---|---|---|---|
| JPS62279814A (ja) * | 1986-05-23 | 1987-12-04 | ロ−ベルト・ボツシユ・ゲゼルシヤフト・ミツト・ベシユレンクテル・ハフツング | 液体の浄化用フイルタ |
| JPH0383611U (ja) * | 1989-12-11 | 1991-08-26 | ||
| WO1996023569A1 (en) * | 1995-02-03 | 1996-08-08 | Nippondenso Co., Ltd. | Filter |
| JP2006512206A (ja) * | 2003-07-22 | 2006-04-13 | ローベルト ボツシユ ゲゼルシヤフト ミツト ベシユレンクテル ハフツング | 燃料フィルタ |
| JP2008163810A (ja) * | 2006-12-27 | 2008-07-17 | Denso Corp | 燃料濾過装置 |
| JP2009074495A (ja) * | 2007-09-21 | 2009-04-09 | Denso Corp | 燃料濾過装置 |
-
2010
- 2010-02-11 JP JP2010028322A patent/JP2011163243A/ja active Pending
Patent Citations (6)
| Publication number | Priority date | Publication date | Assignee | Title |
|---|---|---|---|---|
| JPS62279814A (ja) * | 1986-05-23 | 1987-12-04 | ロ−ベルト・ボツシユ・ゲゼルシヤフト・ミツト・ベシユレンクテル・ハフツング | 液体の浄化用フイルタ |
| JPH0383611U (ja) * | 1989-12-11 | 1991-08-26 | ||
| WO1996023569A1 (en) * | 1995-02-03 | 1996-08-08 | Nippondenso Co., Ltd. | Filter |
| JP2006512206A (ja) * | 2003-07-22 | 2006-04-13 | ローベルト ボツシユ ゲゼルシヤフト ミツト ベシユレンクテル ハフツング | 燃料フィルタ |
| JP2008163810A (ja) * | 2006-12-27 | 2008-07-17 | Denso Corp | 燃料濾過装置 |
| JP2009074495A (ja) * | 2007-09-21 | 2009-04-09 | Denso Corp | 燃料濾過装置 |
Cited By (2)
| Publication number | Priority date | Publication date | Assignee | Title |
|---|---|---|---|---|
| JP2014194215A (ja) * | 2013-03-01 | 2014-10-09 | Kyosan Denki Co Ltd | フィルタエレメント組立体および燃料フィルタ装置 |
| DE102014102436B4 (de) | 2013-03-01 | 2024-03-07 | Kyosan Denki Co., Ltd. | Filterelement-Baugruppe und Kraftstofffiltervorrichtung |
Similar Documents
| Publication | Publication Date | Title |
|---|---|---|
| RU2603163C2 (ru) | Фильтрующий элемент | |
| US10302050B2 (en) | Filter element, filter housing of an air filter and air filter | |
| US10105630B2 (en) | Hollow filter element of a filter for filtering fluid, filter, filter housing, and seal of a hollow filter element | |
| CN104981281B (zh) | 过滤装置,特别是空气过滤器 | |
| US20070169449A1 (en) | Method and apparatus for precluding telescoping in a fluted filter device | |
| US10561969B2 (en) | Filter element having supporting elements, filter having a filter element, and filter housing of a filter | |
| US9873073B2 (en) | Air filter element | |
| CN106604769B (zh) | 气体过滤的过滤装置和气体过滤的过滤装置的过滤器元件 | |
| US11090594B2 (en) | Filter element comprising two offset outlets in communication with filter inner space, as well| as corresponding housing | |
| US9284925B2 (en) | Flat filter element of a filter, filter and support device of a filter | |
| US10344718B2 (en) | Filter element, in particular for gas filtration | |
| US20160305376A1 (en) | Filter element, in particular for gas filtration | |
| US20170056792A1 (en) | Filter Element and Filter Arrangement | |
| US20100263338A1 (en) | Reduced Restriction Air Filter | |
| KR102468898B1 (ko) | 액체 필터 및 액체 필터를 포함한 탱크 필터 시스템 | |
| US9855521B2 (en) | Filter element, filter arrangement and method for producing the filter element | |
| JP2011163243A (ja) | 燃料フィルタ装置 | |
| US9897049B2 (en) | Air intake tract with a hydrocarbon adsorber and related manufacturing methods | |
| CN105764592A (zh) | 用于过滤装置的滤芯 | |
| JP6036575B2 (ja) | 燃料フィルタ装置 | |
| JP5821774B2 (ja) | 燃料フィルタ用フィルタエレメントおよびそれを備える燃料フィルタ装置 | |
| JP6070248B2 (ja) | 燃料フィルタ装置 | |
| US20170241387A1 (en) | Filter unit, filter system, and motor vehicle with filter system | |
| US20240246018A1 (en) | Filter element for filtering air and air filter | |
| CN112566710B (zh) | 用于过滤吸取在叠置的两个过滤介质层之间的液体的装置 |
Legal Events
| Date | Code | Title | Description |
|---|---|---|---|
| A621 | Written request for application examination |
Free format text: JAPANESE INTERMEDIATE CODE: A621 Effective date: 20121126 |
|
| A131 | Notification of reasons for refusal |
Free format text: JAPANESE INTERMEDIATE CODE: A131 Effective date: 20131224 |
|
| A02 | Decision of refusal |
Free format text: JAPANESE INTERMEDIATE CODE: A02 Effective date: 20140527 |