JP2011144575A - Structure of photovoltaic panel-installed roof, and method for constructing the same - Google Patents

Structure of photovoltaic panel-installed roof, and method for constructing the same Download PDF

Info

Publication number
JP2011144575A
JP2011144575A JP2010007055A JP2010007055A JP2011144575A JP 2011144575 A JP2011144575 A JP 2011144575A JP 2010007055 A JP2010007055 A JP 2010007055A JP 2010007055 A JP2010007055 A JP 2010007055A JP 2011144575 A JP2011144575 A JP 2011144575A
Authority
JP
Japan
Prior art keywords
roof
base
vertical core
panel
power generation
Prior art date
Legal status (The legal status is an assumption and is not a legal conclusion. Google has not performed a legal analysis and makes no representation as to the accuracy of the status listed.)
Pending
Application number
JP2010007055A
Other languages
Japanese (ja)
Inventor
Yoshihide Ishino
欣秀 石野
Current Assignee (The listed assignees may be inaccurate. Google has not performed a legal analysis and makes no representation or warranty as to the accuracy of the list.)
Individual
Original Assignee
Individual
Priority date (The priority date is an assumption and is not a legal conclusion. Google has not performed a legal analysis and makes no representation as to the accuracy of the date listed.)
Filing date
Publication date
Application filed by Individual filed Critical Individual
Priority to JP2010007055A priority Critical patent/JP2011144575A/en
Publication of JP2011144575A publication Critical patent/JP2011144575A/en
Pending legal-status Critical Current

Links

Images

Classifications

    • YGENERAL TAGGING OF NEW TECHNOLOGICAL DEVELOPMENTS; GENERAL TAGGING OF CROSS-SECTIONAL TECHNOLOGIES SPANNING OVER SEVERAL SECTIONS OF THE IPC; TECHNICAL SUBJECTS COVERED BY FORMER USPC CROSS-REFERENCE ART COLLECTIONS [XRACs] AND DIGESTS
    • Y02TECHNOLOGIES OR APPLICATIONS FOR MITIGATION OR ADAPTATION AGAINST CLIMATE CHANGE
    • Y02BCLIMATE CHANGE MITIGATION TECHNOLOGIES RELATED TO BUILDINGS, e.g. HOUSING, HOUSE APPLIANCES OR RELATED END-USER APPLICATIONS
    • Y02B10/00Integration of renewable energy sources in buildings
    • Y02B10/10Photovoltaic [PV]

Landscapes

  • Roof Covering Using Slabs Or Stiff Sheets (AREA)

Abstract

<P>PROBLEM TO BE SOLVED: To provide a structure of a photovoltaic panel-installed roof, which can be constructed with a good appearance by hardly causing the conspicuousness of the photovoltaic panel installed in a partial area, and a method for constructing the structure. <P>SOLUTION: On a roof surface 1 on which the photovoltaic panel P is installed, longitudinal core materials 11 are arranged at required lateral intervals on a first roof substrate 10 made of a lower sheathing roof board 8 over the whole surface; a thin plate-like roofing material 17 for covering a surface of the longitudinal core material 11 and that the first roof substrate 10 is laid in a panel installation area 3; the photovoltaic panel P is installed on the longitudinal core material 11 which is covered with the thin plate-like roofing material 17; a second roof substrate 14 is installed on the longitudinal core materials 11 in a roof surface section except the panel installation area 3; and the roofing material is laid on the second roof substrate. <P>COPYRIGHT: (C)2011,JPO&INPIT

Description

本発明は、屋根における少なくとも一つの屋根面に太陽光発電パネルを設置してなる屋根の構造及びその施工法に関するものである。   The present invention relates to a roof structure in which a photovoltaic power generation panel is installed on at least one roof surface of the roof, and a construction method thereof.

近年、地球環境問題やエネルギー問題の関心が高くなり、それとともに自然エネルギーの利用の観点から、和瓦等による瓦葺き屋根においても、太陽光発電システムを利用するために太陽光発電パネルを設置することが多くなってきている。この場合、瓦葺き屋根の特徴を残すために、太陽光発電パネルは該屋根面の周辺部に瓦葺きの部分を残して中央部の領域に設置されることが多い。   In recent years, interest in global environmental issues and energy issues has increased, and from the standpoint of using natural energy, solar panels have been installed to use solar power generation systems on tiled roofs such as Japanese tiles. There are many more. In this case, in order to leave the characteristics of the tiled roof, the photovoltaic power generation panel is often installed in the central region leaving the tiled part around the roof surface.

従来、既設の瓦葺き屋根に太陽光発電パネルを設置する場合、特許文献1の例のように、屋根瓦等の屋根材をそのまま残して、その上に太陽光発電パネルを支持して設置するのが一般的であった。この場合、太陽光発電パネルを支持し固定するための支持材を、屋根材を貫通させるか、又は該部の屋根材を取り除いて、屋根下地を構成する野地板や垂木に固定する必要があり、特殊な支持構造を必要とし、屋根の防水性を考慮して設置施工するのが難しいものである。その上、前記太陽光発電パネルが瓦葺きの屋根面部分よりも高く突出して支持されることになるため、周辺部に瓦葺きの屋根面部分を残していても、該屋根面全体を前方から見上げた場合には、太陽光発電パネルの部分が目立って視覚され、瓦葺き屋根の外観を損ない、甚だ不体裁なものである。   Conventionally, when installing a photovoltaic power generation panel on an existing tiled roof, as in the example of Patent Document 1, the roofing material such as a roof tile is left as it is, and the photovoltaic power generation panel is supported and installed thereon. Was common. In this case, it is necessary to fix the supporting material for supporting and fixing the photovoltaic power generation panel to the roof plate or the rafter constituting the roof base by penetrating the roofing material or removing the roofing material of the part. It requires a special support structure and is difficult to install in consideration of the waterproof property of the roof. In addition, since the photovoltaic power generation panel is supported to protrude higher than the roof surface portion of the tiled roof, the entire roof surface is looked up from the front even if the roof surface portion of the tiled roof is left in the peripheral portion. In some cases, the part of the photovoltaic panel is conspicuously visible, detracting from the appearance of the tiled roof, and is very unpleasant.

また、新築又は既設の瓦葺き屋根において太陽光発電パネルを設置する場合に、例えば特許文献2に見られるように、屋根面における太陽光発電パネルの設置領域(単にパネル設置領域ともいう)の瓦等の屋根材を取り除いた状態の屋根下地に、防水性を有する薄板状の取付用パネルを接着剤を介して固定し、この取付用パネルの上面に、太陽電池モジュールを、その下部に雨水通路を確保するように保持して設置することが提案されている。   In addition, when installing a photovoltaic power generation panel on a newly built or existing tiled roof, as seen in Patent Document 2, for example, tiles in the installation area of the photovoltaic power generation panel on the roof surface (also simply referred to as panel installation area), etc. A waterproof sheet-like mounting panel is fixed to the roof base with the roofing material removed with an adhesive, a solar cell module is mounted on the top surface of the mounting panel, and a rainwater passage is formed below the mounting panel. It has been proposed to hold and install in a secure manner.

この場合、前記パネル設置領域以外の屋根面部分、すなわちパネル設置領域より前方下方に続く軒先領域のほか、前記パネル設置領域の上部及び左右両側部に隣接する屋根面部分では、元の瓦葺き構造のままであり、屋根下地面から屋根上面までの高さはそれほど高くはない。そのため、下部に空気通路や雨水通路を確保して設置された前記太陽電池モジュールよりなる太陽光発電パネルが他の屋根面部分よりも高く突出した状態になって、やはり該屋根面を前方から見上げた場合には、太陽光発電パネルの部分が目立ち、周辺部に瓦葺きの屋根面部分を残していても、瓦葺き屋根の外観を損ない、甚だ不体裁なものである。   In this case, in addition to the roof surface part other than the panel installation area, that is, the eaves area that extends forward and downward from the panel installation area, the roof surface part adjacent to the upper part of the panel installation area and the left and right side parts has the original tiled structure. The height from the roof base surface to the roof top surface is not so high. Therefore, the solar power generation panel composed of the solar cell module installed with the air passage and the rainwater passage in the lower part protrudes higher than the other roof surface portion, and the roof surface is also looked up from the front. In this case, even if the solar power generation panel is conspicuous and a tiled roof surface part is left in the peripheral part, the appearance of the tiled roof is damaged, and it is very unnatural.

前記の取付用パネルに代えて、屋根下地上に金属製屋根材を敷設しておき、該金属製屋根材上に太陽光発電パネルを設置することとして、その下に雨水通路を確保することも考えられるが、この場合にも、前記と同様の問題が生じる。   Instead of the mounting panel described above, a metal roofing material is laid on the roof base, and a solar power generation panel is installed on the metal roofing material. Although it is conceivable, the same problem as described above also occurs in this case.

なお、スレート葺きや金属屋根の場合においても、一部の領域に太陽光発電パネルを設置した場合には、周辺部の屋根面部分に対して太陽光発電パネルがかなり高くなり、外観的に不体裁なものである。   Even in the case of a slate roof or metal roof, if a solar power generation panel is installed in a part of the area, the solar power generation panel becomes considerably high with respect to the peripheral roof surface part, and the appearance is not good. Appearance.

特開平9−13611号公報JP-A-9-13611 特開2002−4525号公報Japanese Patent Laid-Open No. 2002-4525

本発明は、上記に鑑みてなしたものであり、瓦葺き屋根やスレート葺き屋根等のどのような屋根面においても、一部の領域に設置される太陽光発電パネルが目立ち難く、外観的に体裁よく施工できる太陽光発電パネル設置屋根の構造及びその施工法を提供するものである。   The present invention has been made in view of the above, and on any roof surface such as a tiled roof or a slate thatched roof, a photovoltaic power generation panel installed in a part of the area is inconspicuous, and appearance is appearance. The structure of a roof with a solar power panel that can be well constructed and its construction method are provided.

上記の課題を解決する本発明は、少なくとも一つの屋根面の所定領域に太陽光発電パネルを設置してなる屋根であって、前記太陽光発電パネルを設置した屋根面は、全面に渡って下部野地板による第1の屋根下地上に横方向所要間隔に縦芯材が配置され、該屋根面におけるパネル設置領域には、前記縦芯材及び第1の屋根下地の表面を覆う薄板状屋根材が敷設されるとともに、該薄板状屋根材により覆われた縦芯材の上に前記太陽光発電パネルが設置され、前記パネル設置領域以外の屋根面部分には、前記縦芯材上に上部野地板による第2の屋根下地が設けられ、該第2の屋根下地の上に屋根材が葺設されてなることを特徴とする。   The present invention for solving the above problems is a roof in which a photovoltaic power generation panel is installed in a predetermined region of at least one roof surface, and the roof surface on which the photovoltaic power generation panel is installed is a lower part over the entire surface. A thin-plate roof material is disposed on the first roof base made of a field board at a required interval in the horizontal direction, and the panel installation area on the roof surface covers the surface of the vertical core material and the first roof base. And the solar power generation panel is installed on the vertical core material covered with the thin plate-like roof material, and the upper surface is formed on the vertical core material on the roof surface portion other than the panel installation area. A second roof base is provided by a base plate, and a roof material is provided on the second roof base.

この太陽光発電パネル設置屋根の構造によれば、パネル設置領域以外の屋根面部分においては、縦芯材の上に第2の屋根下地が設けられ、その上に屋根材が葺設されているので、これらの屋根材による屋根上面が本来の第1の屋根下地上に屋根材を葺設している場合よりも高くなり、そのため、パネル設置領域の縦芯材の上に設置された太陽光発電パネルと同程度の高さか又はやや高くなり、該屋根面を前方下方から見上げた場合に、太陽光発電パネルが目立ち難くて見栄えがよく、いずれの屋根においても体裁良好なものとなる。また、パネル設置領域に敷設された薄板状屋根材により屋根構造に必要な防水性を確保できる。   According to the structure of the photovoltaic power generation panel installation roof, in the roof surface portion other than the panel installation area, the second roof base is provided on the vertical core material, and the roof material is installed on the roof. Therefore, the roof top surface by these roof materials becomes higher than the case where the roof material is installed on the original first roof base, so that the sunlight installed on the vertical core material in the panel installation area. When the roof surface is looked up from the lower front side, the solar power generation panel is not noticeable and looks good, and the appearance is good on any roof. Moreover, the waterproof property required for a roof structure can be ensured by the thin-plate-like roof material laid in the panel installation area.

前記の太陽光発電パネル設置屋根の構造において、前記パネル設置領域と、その前方下方に続く軒先領域とに連続して、前記縦芯材及び第1の屋根下地の表面を覆う薄板状屋根材が敷設され、前記軒先領域における第2の屋根下地が前記薄板状屋根材により覆われた縦芯材の上に設けられ、前記パネル設置領域の縦芯材上に設置された太陽光発電パネルの下に空隙を保有し、該空隙が前記軒先領域の第2の屋根下地の下の空隙を通じて軒先まで連通しているものとすることができる。   In the structure of the photovoltaic power generation panel installation roof, a thin roof material covering the vertical core material and the surface of the first roof base is continuously provided in the panel installation area and the eaves area continuing downward in front of the panel installation area. A solar power generation panel installed on a vertical core material that is laid and provided on a vertical core material in which the second roof base in the eaves region is covered with the thin plate roof material. It is assumed that a gap is held in the eaves, and the gap communicates with the eaves through a gap below the second roof base in the eaves area.

この場合、パネル設置領域の前方下方に続く軒先領域にまで前記薄板状屋根材が連続して設けられ、太陽光発電パネルの下の空隙が第2の屋根下地の下の空隙を経て軒先まで連通しているため、雨水等は前記パネル設置領域から軒先まで流れて排水される。そのため、縦芯材及び第1の屋根下地の表面を覆う薄板状屋根材の下端部を軒先領域の瓦等の屋根材表面上に連続させるための特殊な加工や別の防水部材は不要になる。   In this case, the thin plate-like roof material is continuously provided up to the eaves area that continues to the front lower side of the panel installation area, and the gap under the photovoltaic power generation panel communicates with the eaves via the gap under the second roof base. Therefore, rainwater etc. flows from the panel installation area to the eaves and is drained. Therefore, there is no need for special processing or another waterproof member for continuing the lower end portion of the thin roof material covering the vertical core material and the surface of the first roof base on the roof material surface such as tiles in the eaves area. .

前記の太陽光発電パネル設置屋根の構造において、前記パネル設置領域の薄板状屋根材の上端及び左右両側端の縁部が、パネル設置領域の上部及び左右両側部に隣接する屋根面部分の第2の屋根下地の下に入り込んで上方に折曲され起ち上がった状態で終端しているものとする。これにより、パネル設置領域に入り込む雨水が他の屋根面部分の第2の屋根下地の下に入り込んで雨漏りするのを防止できる。   In the structure of the solar panel mounting roof described above, the edges of the upper and left and right side edges of the thin plate-like roof material in the panel setting area are the second roof surface portions adjacent to the upper part and the left and right side parts of the panel setting area. It is assumed that it terminates in a state where it enters under the roof base of, and is bent upward and raised. Thereby, it is possible to prevent rainwater entering the panel installation area from entering under the second roof base of another roof surface portion and leaking rain.

前記太陽光発電パネル設置屋根の構造において、前記縦芯材が、第1の屋根下地における下部野地板の下の垂木の位置に合わせて配置されて固定されてなるものが好ましく、これにより、太陽光発電パネルを安定性よく固定支持できる。   In the structure of the solar power generation panel installation roof, the vertical core member is preferably arranged and fixed in accordance with the position of the rafter below the lower base plate in the first roof base, The photovoltaic panel can be fixed and supported with stability.

前記太陽光発電パネル設置屋根の構造において、前記薄板状屋根材が金属製屋根材であり、前記縦芯材及び第1の屋根下地の表面に沿うように加工されて敷設されてなるものとすることができる。   In the structure of the photovoltaic power generation panel installation roof, the thin plate-like roof material is a metal roof material, and is processed and laid along the surfaces of the vertical core material and the first roof base. be able to.

また、本発明は、前記の太陽光発電パネル設置屋根の施工法として、屋根における少なくとも一つの屋根面の所定領域に太陽光発電パネルを設置する際、前記太陽光発電パネルを設置する屋根面の全面にわたって下部野地板による第1の屋根下地上に縦芯材を横方向所要間隔に配置しておいて、該屋根面におけるパネル設置領域には、前記縦芯材及び第1の屋根下地の表面を覆う薄板状屋根材を敷設するとともに、該薄板状屋根材により覆われた縦芯材の上に前記太陽光発電パネルを設置する一方、前記パネル設置領域以外の屋根面部分には、前記縦芯材上に上部野地板による第2の屋根下地を設け、該第2の屋根下地上に屋根材を葺設することを特徴とする。   Further, the present invention provides a method for constructing a roof for installing the photovoltaic power generation panel, wherein when installing the photovoltaic power generation panel in a predetermined area of at least one roof surface of the roof, Longitudinal core members are arranged at a required interval in the horizontal direction on the first roof base by the lower base plate over the entire surface, and the panel installation area on the roof surface includes the surfaces of the vertical core member and the first roof base. And the solar power generation panel is installed on the vertical core material covered with the thin roof material, while the roof surface portion other than the panel installation area is provided with the vertical roof material. A second roof base made of an upper base plate is provided on the core material, and the roof material is provided on the second roof base.

これにより、新築の屋根や改修屋根等の施工において、設屋根面の所定領域に太陽光発電パネルを容易にかつ体裁よく設置でき、前記のように外観的に見栄えのよい太陽光発電パネル設置屋根を好適に実施できる。   As a result, in the construction of newly constructed roofs, renovated roofs, etc., photovoltaic panels can be easily and neatly installed in predetermined areas of the installed roof surface, and as described above, photovoltaic panels with a good appearance are installed. Can be suitably implemented.

前記屋根構造の施工法において、前記パネル設置領域と、その前方下方に続く軒先領域とに連続して、前記縦芯材及び第1の野地板表面を覆う薄板状屋根材を敷設し、前記軒先領域では前記薄板状屋根材により覆われた縦芯材の上に第2の屋根下地を設けて、その上に屋根材を葺設し、前記パネル設置領域の縦芯材上に設置した太陽光発電パネルの下に有する空隙を、前記第2の屋根下地の下の空隙を通じて軒先まで連通させることができる。   In the construction method of the roof structure, the thin roof material covering the vertical core material and the first field plate surface is laid continuously to the panel installation region and the eaves region that continues to the front lower side thereof, and the eaves In the area, the second roof base is provided on the vertical core material covered with the thin plate-like roof material, the roof material is installed thereon, and the sunlight installed on the vertical core material in the panel installation area A gap provided under the power generation panel can be communicated to the eaves through the gap under the second roof base.

上記のように、本発明の太陽光発電パネル設置屋根の構造及びその施工法によれば、瓦葺き屋根やスレート葺き屋根等のどのような屋根面においても、一部の領域に設置される太陽光発電パネルが目立ち難く、外観的に体裁よく施工できる太陽光発電パネル設置屋根を得ることができる。特に、パネル設置領域以外の他の屋根面部分の全体が同一面の高さに形成されることになるため、瓦葺きの屋根面の外観を損なうことがなく、外観的な体裁が良好なものになる。   As described above, according to the structure of the photovoltaic power generation panel installation roof of the present invention and the construction method thereof, the sunlight installed in a partial area on any roof surface such as a tiled roof or a slate thatched roof. It is possible to obtain a photovoltaic power generation panel installation roof on which the power generation panel is not conspicuous and can be constructed in a good appearance. In particular, the entire roof surface portion other than the panel installation area is formed at the same height, so that the appearance of the tiled roof surface is not impaired and the appearance is good. Become.

本発明の太陽光発電パネル設置屋根の1実施例を示す一部の略示斜視図である。It is a partial schematic perspective view which shows one Example of the photovoltaic power generation panel installation roof of this invention. 同上の屋根勾配方向に沿う方向で断面した略示断面図である。It is the schematic sectional drawing cut in the direction along a roof gradient direction same as the above. 同上の一部の拡大断面図である。It is a partial expanded sectional view same as the above. 図2のA−A線の一部の略示断面図である。FIG. 3 is a schematic cross-sectional view of a part of the line AA in FIG. 2. 同上の一部の拡大断面図である。It is a partial expanded sectional view same as the above. 薄板状屋根材の敷設施工状態の他の実施例を示す一部の拡大断面図である。It is a partial expanded sectional view which shows the other Example of the laying construction state of a thin-plate roof material. 太陽光発電パネルの固定状態を例示する一部の拡大断面図である。It is a partial expanded sectional view which illustrates the fixed state of a photovoltaic power generation panel. 他の実施例の屋根勾配方向に沿う方向で断面した略示断面図である。It is the schematic sectional drawing cut in the direction in alignment with the roof gradient direction of another Example. 図8のB−B線の一部の略示断面図である。FIG. 9 is a schematic cross-sectional view of a part of line BB in FIG. 8.

次ぎに本発明の実施の形態を図面に示す実施例に基づいて説明する。   Next, embodiments of the present invention will be described based on examples shown in the drawings.

本発明において屋根面に設置使用する太陽光発電パネルPは、従来の太陽光発電パネルの構成と実質的に同様で、複数のソーラーセルを含む太陽電池モジュールと、その周縁部を支持するフレームとよるなるものであり、従来公知の構造をそのまま利用できるので、ここでの詳しい説明は省略する。   The photovoltaic power generation panel P installed and used on the roof surface in the present invention is substantially the same as the configuration of the conventional photovoltaic power generation panel, and includes a solar cell module including a plurality of solar cells, and a frame that supports the peripheral portion thereof. Therefore, since a conventionally known structure can be used as it is, a detailed description thereof is omitted here.

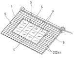
太陽光発電パネルPを瓦葺き屋根の少なくとも一つの屋根面1において、該屋根面1の所定領域、例えば、図1のように該屋根面1の周辺部を除く中央部の領域に、瓦等の屋根材2を取り除いた状態で前記の太陽光発電パネルPが縦横に並列して設置され、他の領域部分は屋根材2が葺設されている。図1〜図6の第1の実施例は、屋根材2として瓦2aを葺設した瓦葺き屋根の場合を示している。図中の符号3は前記太陽光発電パネルPが設置された領域(本発明では、パネル設置領域とする)を示し、4は該パネル設置領域3の前方下方に続く軒先領域を示し、5,5は両側部領域を、6は上部領域をそれぞれ示す。   In at least one roof surface 1 of the tiled roof, the photovoltaic power generation panel P is placed on a predetermined region of the roof surface 1, for example, in a central region excluding the peripheral portion of the roof surface 1 as shown in FIG. With the roof material 2 removed, the solar power generation panels P are installed side by side in the vertical and horizontal directions, and the roof material 2 is installed in other areas. The first embodiment of FIGS. 1 to 6 shows a case of a tiled roof in which tiles 2 a are installed as the roofing material 2. Reference numeral 3 in the figure denotes an area where the photovoltaic power generation panel P is installed (in the present invention, it is referred to as a panel installation area), 4 denotes an eaves area that continues to the front lower side of the panel installation area 3, Reference numeral 5 denotes both side regions, and 6 denotes an upper region.

屋根の基本的な構造は従来と同様であり、棟から軒先に向かって延びる垂木7が屋根面の勾配方向(縦方向)と直交する横方向に並列して所要間隔に配設され、その上に下部野地板8が敷設され、さらに必要に応じて下部野地板8上に防水性シート等のルーフィング材9が敷設されることにより、下部野地板8による本来の第1の屋根下地10が形成されている。   The basic structure of the roof is the same as in the past, and rafters 7 extending from the ridge toward the eaves are arranged in parallel in the horizontal direction perpendicular to the gradient direction (vertical direction) of the roof surface at the required interval. A lower base plate 8 is laid on the base plate 8 and, if necessary, a roofing material 9 such as a waterproof sheet is laid on the lower base plate 8 to form the original first roof base 10 by the lower base plate 8. Has been.

本発明の場合、前記太陽光発電パネルPを設置した屋根面1は、全面に渡って前記下部野地板8による第1の屋根下地10上に横方向所要間隔に並列して縦芯材11が配置されている。前記縦芯材11の配置は、適宜設定できるが、実施上は前記垂木7との対応位置に配置し該垂木7に固定するのが、支持強度を保持する上で好ましい。   In the case of the present invention, the roof surface 1 on which the photovoltaic power generation panel P is installed has the longitudinal core material 11 arranged in parallel with the required distance in the horizontal direction on the first roof base 10 by the lower base plate 8 over the entire surface. Has been placed. The arrangement of the vertical core member 11 can be set as appropriate. However, in practice, it is preferable to arrange the vertical core member 11 at a position corresponding to the rafter 7 and fix it to the rafter 7 in order to maintain support strength.

そして、記縦芯材11が配置された屋根面1におけるパネル設置領域3以外の前記各領域の屋根面部分、すなわち前記軒先領域4、両側部領域5,5、上部領域6の各屋根面部分には、前記縦芯材11の上に上部野地板12が敷設され、その上に必要に応じて防水性シート等のルーフィング材13が敷設されることにより、上部野地板12による第2の屋根下地14が形成され、さらに前記第2の屋根下地14、すなわち本来の第1の屋根下地10より高位置の屋根下地14の上に屋根材2としての瓦2aが葺設されて、瓦葺き構造をなしている。この実施例の場合、前記屋根材2としての瓦2aは、前記第2の屋根下地14の上に配された横桟材15に対して引っ掛ける所謂引っ掛け桟工法により葺設されている。なお、前記第2の屋根下地14の下には、前記第1の屋根下地10との間に、前記縦芯材11による高さに相当する空隙16を保有している。   And the roof surface part of each said area | region other than the panel installation area | region 3 in the roof surface 1 where the vertical core material 11 is arrange | positioned, ie, each roof surface part of the said eaves area | region 4, the side part area | regions 5, 5, and the upper area | region 6. In this case, an upper base plate 12 is laid on the vertical core member 11, and a roofing member 13 such as a waterproof sheet is laid on the upper base plate 12 as necessary. A foundation 14 is formed, and a tile 2a as a roofing material 2 is installed on the second roof foundation 14, that is, the roof foundation 14 positioned higher than the original first roof foundation 10 to form a tiled structure. There is no. In the case of this embodiment, the tile 2a as the roofing material 2 is installed by a so-called hooking method in which the roofing material 2 is hooked to the horizontal railing 15 arranged on the second roof base 14. A space 16 corresponding to the height of the vertical core member 11 is provided between the first roof base 10 and the second roof base 14.

また、前記パネル設置領域3には、前記縦芯材11及び第1の屋根下地10の表面をこれに沿って覆う薄板状屋根材17が敷設されるとともに、該薄板状屋根材17により覆われた縦芯材11の上には前記太陽光発電パネルPがその下に空隙18を保有するように設置されている。前記薄板状屋根材17は、前記縦芯材11の部分では該縦芯材11に対応した凸状をなし、前記空隙18は前記薄板状屋根材17の上に形成される。   In the panel installation area 3, a thin plate-like roof material 17 covering the surfaces of the vertical core material 11 and the first roof base 10 along the same is laid and covered with the thin plate-like roof material 17. The solar power generation panel P is installed on the vertical core member 11 so as to have a gap 18 below it. The thin plate-like roof material 17 has a convex shape corresponding to the vertical core material 11 at the vertical core material 11, and the gap 18 is formed on the thin plate-like roof material 17.

図示する実施例の場合、前記薄板状屋根材17は、前記パネル設置領域3と、その前方下方に続く軒先領域4とに連続して、前記縦芯材11及び第1の屋根下地10の表面をこれに沿って覆うように敷設され、前記軒先領域4の上部野地板12による第2の屋根下地14が、該薄板状屋根材17により覆われた縦芯材11の上に設けられている。これにより、前記パネル設置領域3の太陽光発電パネルPの下に保有する空隙18が前記第2の屋根下地14の下の空隙16を通じて軒先19まで連通しており、前記パネル設置領域3内の雨水等を前記第2の屋根下地14の下の空隙16を通じて軒先19まで流せるようになっている。通常、軒先部分には雨樋(図示省略)が設けられる。   In the case of the illustrated embodiment, the sheet-like roof material 17 is continuous with the panel installation area 3 and the eaves area 4 that extends below the front thereof, and the surfaces of the vertical core material 11 and the first roof base 10. The second roof base 14 by the upper base plate 12 of the eaves edge region 4 is provided on the vertical core member 11 covered with the thin plate-like roof material 17. . Thereby, the space | gap 18 held under the photovoltaic power generation panel P of the said panel installation area | region 3 is connected to the eaves 19 through the space | gap 16 under the said 2nd roof base | substrate 14, The inside of the said panel installation area | region 3 Rain water or the like can flow to the eaves 19 through the gap 16 under the second roof base 14. Usually, a gutter (not shown) is provided at the eaves portion.

前記の薄板状屋根材17としては、トタン等の鉄板や鋼板あるいは銅板等の金属製屋根材を前記縦芯材11及び第1の屋根下地10の表面に沿うように加工して敷設使用するほか、防水処理を施したシート等の薄板状の屋根材を単独又は複数組みあわせて使用できるが、前記縦芯材11及び前記第1の屋根下地10の表面に沿わせる板金加工の容易性や強度等の点から、金属製屋根材が特に好適に用いられる。   As the thin plate-like roof material 17, a metal roof material such as an iron plate such as tin or a steel plate or a copper plate is processed and laid and used along the surfaces of the vertical core material 11 and the first roof base 10. A sheet-like roof material such as a waterproof sheet can be used alone or in combination, but the ease and strength of sheet metal processing along the surfaces of the vertical core material 11 and the first roof base 10 In view of the above, a metal roofing material is particularly preferably used.

前記薄板状屋根材17として金属製屋根材を使用する場合、必ずしもパネル設置領域3の全面にわたって1枚の金属製板材よりなるものとする必要はなく、複数枚の金属製板材を防水効果を損なわないように組み合わせて構成することができる。通常、金属製屋根材は所定幅で長尺の金属製板材から加工されてなるものであることから、前記パネル設置領域3の薄板状屋根材17としての使用においては、主として屋根勾配方向に連続したものとし、屋根横方向に複数枚を連接して構成するのが望ましい。   When a metal roof material is used as the thin plate-like roof material 17, it is not always necessary to use a single metal plate material over the entire panel installation region 3, and the waterproof effect of a plurality of metal plate materials is impaired. It can be configured in combination so as not to. Usually, since the metal roofing material is processed from a long metal plate material having a predetermined width, in use as the thin plate-like roofing material 17 in the panel installation region 3, it is mainly continuous in the roof gradient direction. It is desirable that a plurality of pieces are connected in the lateral direction of the roof.

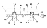
例えば、図6のように、各縦芯材11又は一つおきもしくは複数おきの縦芯材11を境界として分離形成した金属製板材25を、前記境界となる縦芯材11,11間に配置し、その側端部25aを縦芯材11の側面に沿わせるように折曲起立させるとともに、縦芯材11の部分において、伏凹形に加工した金属製板材26を、縦芯材11の両側面に沿う前記側端部25aの外側より挟持するように被せて、木ネジやネジ釘等(図示省略)により縦芯材11に固定する。これにより、金属製屋根材の加工及び施工が容易になる。   For example, as shown in FIG. 6, metal plate members 25 separately formed with each vertical core member 11 or every other or plural vertical core members 11 as a boundary are arranged between the vertical core members 11, 11 serving as the boundary. The side end portion 25a is bent upright along the side surface of the vertical core member 11, and the metal plate material 26 processed into a concave shape in the vertical core member 11 portion is attached to the vertical core member 11. It covers so that it may be clamped from the outside of the side end portion 25a along both side surfaces, and is fixed to the vertical core member 11 with wood screws, screw nails or the like (not shown). This facilitates processing and construction of the metal roofing material.

前記薄板状屋根材17は、左右両側端の縁部17aは、前記パネル設置領域3の左右両側又は該パネル設置領域3と軒先領域4との左右両側に隣接する両側部領域5,5の屋根面部分の第2の屋根下地14の下に入り込んで上方に折曲され起ち上がった状態で終端し、風雨の際に、パネル設置領域3の雨水が他の屋根面部分の第2の屋根下地14の下に入り込んだ場合の水切りをなすように形成されており、雨漏りを防止できるようになっている。前記薄板状屋根材17の上端の縁部17bについても、上部領域6の屋根面部分の第2の屋根下地14の下に入り込ませて、この部分の薄板状屋根材17と第2の屋根下地14との間に面戸用漆喰20を詰め、雨水が上部に入り込まないようにする。   The thin plate-like roofing material 17 has edge portions 17a on both left and right side edges, the roofs of both side regions 5, 5 adjacent to the left and right sides of the panel installation region 3 or both the left and right sides of the panel installation region 3 and the eaves region 4. It ends under the second roof base 14 of the surface portion, bends upward and rises up, and in the case of wind and rain, the rainwater in the panel installation area 3 becomes the second roof base of the other roof surface portion. 14 is formed so as to drain water when entering under 14 so that rain leakage can be prevented. The edge 17b at the upper end of the thin plate roof material 17 is also inserted under the second roof base 14 in the roof surface portion of the upper region 6, and the thin plate roof material 17 and the second roof base in this portion are inserted. 14 is filled with plaster 20 for face doors so that rainwater does not enter the upper part.

なお、前記第2の屋根下地12の下の空隙16、及び太陽光発電パネルPの下の空隙18の屋根面に対し直交する方向の間隔寸法は、前記縦芯材11の高さ寸法によって適宜設定され、例えば1.0〜3.0cmの範囲に設定されるが、もちろん前記範囲以外の寸法とすることも可能である。   In addition, the space | interval dimension of the direction orthogonal to the roof surface of the space | gap 16 under the said 2nd roof base | substrate 12 and the space | gap 18 under the photovoltaic power generation panel P is suitably with the height dimension of the said vertical core material 11. For example, it is set in the range of 1.0 to 3.0 cm, but it is of course possible to set the dimensions outside the above range.

前記太陽光発電パネルPを、前記縦芯材11の部分に固定支持する手段としては、例えば図7に示すように、太陽光発電パネルPの外周部のフレームの一部に有する取付部片p1を、木ネジやネジ釘あるいはボルト等の固定具21により前記縦芯材11、下部野地板8及び垂木7に対して固定するほか、縦芯材11の部分の上に該縦芯材11と交叉する横方向のフレーム材(図示せず)を配設しておき、該フレーム材により太陽光発電パネルPを固定する等、種々の固定手段を利用できる。   As means for fixing and supporting the solar power generation panel P to the portion of the vertical core member 11, for example, as shown in FIG. Is fixed to the vertical core member 11, the lower base plate 8 and the rafter 7 with a fixing tool 21 such as a wood screw, a screw nail, or a bolt, and the vertical core member 11 is placed on the vertical core member 11. Various fixing means can be used, such as arranging a transverse frame material (not shown) to cross and fixing the photovoltaic power generation panel P with the frame material.

図中の符号24は軒先領域4の上端部、すなわちパネル設置領域3側の端部において被覆した金属板よりなる被覆保護材であり、第2の屋根下地14と屋根材2との間に雨水が侵入するのを防止し端部を保護するためのものである。   Reference numeral 24 in the drawing is a covering protective material made of a metal plate covered at the upper end of the eaves area 4, that is, at the end on the panel installation area 3 side, and rainwater is placed between the second roof base 14 and the roofing material 2. Is to prevent the intrusion and protect the end.

なお、前記薄板状屋根材17は、パネル設置領域3のみに敷設して、該パネル設置領域3内の薄板状屋根材17の上を流れる雨水を軒先領域4における屋根材2の上面に流し出すようにして実施することも可能であるが、この場合、前記薄板状屋根材17の下端部を、軒先領域4の屋根材上面に雨水を誘導できる形状に加工しておく必要があるので、特に屋根材上面が複雑な形状になる瓦葺き屋根の場合には、上記した実施例のように、薄板状屋根材17をパネル設置領域3に連続して軒先領域4にも敷設して、雨水等を軒先領域の第2の屋根下地14の下の空隙15を流すようにするのが好ましい。   Note that the thin roof material 17 is laid only in the panel installation region 3, and rainwater flowing on the thin roof material 17 in the panel installation region 3 flows out to the upper surface of the roof material 2 in the eaves region 4. However, in this case, it is necessary to process the lower end portion of the thin plate-like roof material 17 into a shape that can guide rainwater to the upper surface of the roof material in the eaves region 4. In the case of a tiled roof having a complicated shape on the top surface of the roofing material, the thin plate-like roofing material 17 is laid in the eaves region 4 continuously to the panel installation region 3 as in the above-described embodiment, and rainwater or the like is provided. It is preferable that the air gap 15 below the second roof base 14 in the eaves area flows.

図8及び図9は、スレート葺き屋根における第2の実施例を示している。この第2の実施例においては、屋根材2としてスレート2bを用いる以外は、基本的に上記した第1の実施例と同様であるので、同じ構成部材や構成部分には同符号を付して詳しい説明を省略する。   8 and 9 show a second embodiment of a slate thatched roof. This second embodiment is basically the same as the first embodiment described above except that the slate 2b is used as the roofing material 2, so that the same components and components are denoted by the same reference numerals. Detailed description is omitted.

この第2の実施例の概略を説明すると、太陽光発電パネルPを設置した屋根面1は、全面に渡って下部野地板8とルーフィング材9による第1の屋根下地10上に横方向所要間隔に並列して縦芯材11が配置されている。そして、前記パネル設置領域3以外の軒先領域4、両側部領域5,5、上部領域6の各屋根面部分には、前記縦芯材11の上に上部野地板12及びルーフィング材13とによる第2の屋根下地14が設けられ、その上に屋根材2としての板状のスレート2bが葺設され、所謂スレート葺きの屋根構造をなしている。前記第2の屋根下地14の下には空隙16を保有している。   The outline of the second embodiment will be described. The roof surface 1 on which the photovoltaic power generation panel P is installed has a horizontal required distance on the first roof base 10 by the lower base plate 8 and the roofing material 9 over the entire surface. A vertical core member 11 is arranged in parallel with each other. In addition, the roof surface portions of the eaves region 4, the side regions 5, 5, and the upper region 6 other than the panel installation region 3 are formed by the upper base plate 12 and the roofing material 13 on the vertical core material 11. Two roof bases 14 are provided, and a plate-like slate 2b as a roofing material 2 is provided on the roof base 14 to form a so-called slate-fired roof structure. A gap 16 is held under the second roof base 14.

また、前記屋根面1のパネル設置領域3と、その前方下方に続く軒先領域4には、前記縦芯材11及び下部野地板8による第1の屋根下地10の表面をこれに沿って覆う金属製屋根材等の薄板状屋根材17が前記両領域3,4に連続して敷設されている。そのため、前記軒先領域4では、前記上部野地板12とルーフィング材13による第2の屋根下地14が、前記薄板状屋根材17により覆われた縦芯材11の上に設けられている。なお、前記薄板状屋根材17の敷設形態や縁部の処理は第1の実施例の場合と同様にされている。   Moreover, the metal which covers the surface of the 1st roof base | substrate 10 by the said vertical core material 11 and the lower field board 8 in the panel installation area | region 3 of the said roof surface 1, and the eaves edge area | region 4 following the front lower part along this. A thin plate-like roof material 17 such as a roof-made roof material is continuously laid in the both regions 3 and 4. Therefore, in the eaves edge region 4, the second roof base 14 made of the upper base plate 12 and the roofing material 13 is provided on the vertical core material 11 covered with the thin plate-like roof material 17. The laying form and edge processing of the thin plate roof material 17 are the same as those in the first embodiment.

なお、このスレート葺きの屋根の場合、両側部領域5,5の各屋根面部分におけるパネル設置領域3側の端部には登り木22を配し、該登り木22を包被するとともにスレート2bの端縁を覆いかつ端縁がパネル設置領域3側に垂下するように板金加工された金属製縁部材23が設けられ、前記スレート2bの端部を保護し防水するように形成されている。また、軒先領域4の上端部には金属板よりなる被覆保護材24が被覆される。   In the case of this slate-roofed roof, a climbing tree 22 is arranged at the end of each roof surface portion of both side areas 5 and 5 on the panel installation area 3 side, and the climbing tree 22 is covered and the slate 2b. A metal edge member 23 is provided so as to protect the end of the slate 2b and to be waterproofed. The upper end portion of the eaves area 4 is covered with a covering protective material 24 made of a metal plate.

上記のような太陽光発電パネル設置屋根は、主として新築の屋根、改修屋根等において次のようにして施工することができる。   The roof with the photovoltaic power generation panel as described above can be constructed mainly as follows on a newly built roof, a modified roof, and the like.

新築屋根の場合、まず、太陽光発電パネルPを設置する屋根面1の全面に渡って、下部野地板8の上にルーフィング材9を敷設した第1の屋根下地10を形成しておき、この第1の屋根下地10の上に、横方向所要間隔に並列して縦芯材11を配置する。この際、前記縦芯材11を垂木7の位置に合わせて配置し固定する。こうして、パネル設置領域3とその前方下方に続く軒先領域4において、前記縦芯材11及び第1の屋根下地10の表面をこれに沿って覆う薄板状屋根材17を前記両領域3,4に連続して敷設する。   In the case of a new roof, first, a first roof base 10 in which a roofing material 9 is laid on the lower base plate 8 is formed over the entire roof surface 1 on which the photovoltaic power generation panel P is installed. On the first roof base 10, the vertical core member 11 is arranged in parallel with the required distance in the horizontal direction. At this time, the vertical core member 11 is arranged and fixed in accordance with the position of the rafter 7. In this way, in the panel installation region 3 and the eaves region 4 that extends below the front thereof, the thin roof material 17 that covers the surfaces of the vertical core member 11 and the first roof base 10 along this is provided in the regions 3 and 4. Lay continuously.

次に、前記パネル設置領域3以外の軒先領域4、両側部領域5,5、上部領域6の各屋根面部分において、前記縦芯材11の上に上部野地板12を敷設しさらにルーフィング材13を敷設して第2の屋根下地14を設ける。特に、軒先領域4では、前記薄板状屋根材17により覆われた縦芯材11の上に第2の屋根下地14を設ける。   Next, an upper base plate 12 is laid on the vertical core member 11 in the roof surface portions of the eaves region 4, the side regions 5, 5, and the upper region 6 other than the panel installation region 3, and the roofing material 13 And a second roof base 14 is provided. In particular, in the eaves area 4, the second roof base 14 is provided on the vertical core material 11 covered with the thin plate-like roof material 17.

そして、前記パネル設置領域3以外の軒先領域4、両側部領域5,5、上部領域6の各屋根面部分の第2の屋根下地14上に屋根材2を葺設する。例えば、瓦葺き屋根の場合は、屋根材としての瓦2aを、図2及び図4のように引っ掛け桟工法により葺設し、軒先領域4の上端部に被覆保護材24を被せる等の処理を行う。またスレート葺きの屋根の場合は、屋根材としてのスレート2bを、図8及び図9のように葺設し、両側部領域5,5のパネル設置領域側の端部に金属製縁部材23を設け、軒先領域4の上端部に被覆保護材24を被せる等の必要な仕上げ処理を行う。   Then, the roof material 2 is installed on the second roof base 14 of each roof surface portion of the eaves region 4, the side regions 5, 5, and the upper region 6 other than the panel installation region 3. For example, in the case of a tiled roof, a tile 2a as a roofing material is installed by hooking as shown in FIGS. 2 and 4, and a process such as covering the upper end portion of the eaves region 4 with a covering protective material 24 is performed. . In the case of a slate-roofed roof, the slate 2b as a roofing material is installed as shown in FIGS. 8 and 9, and the metal edge member 23 is provided at the end of the both side regions 5 and 5 on the panel installation region side. And a necessary finishing process such as covering the upper end of the eaves area 4 with the covering protective material 24 is performed.

これと同時に、あるいは前後して、パネル設置領域3において、薄板状屋根材17により覆われた縦芯材11の上に前記太陽光発電パネルPを該パネルの下に空隙18を保有するように設置する。これにより、上記した構造の太陽光発電パネル設置屋根を容易に施工できる。   At the same time or before and after this, in the panel installation region 3, the photovoltaic power generation panel P is held on the vertical core member 11 covered with the thin plate-like roof material 17, and the gap 18 is held under the panel. Install. Thereby, the photovoltaic power generation panel installation roof of an above-described structure can be constructed easily.

既設の屋根の改修工事の施工の際に、同時に、少なくとも一つの屋根面の所定領域に太陽光発電パネルを設置する場合は、先ず、前記太陽光発電パネルPを設置する屋根面1の全体の既設の屋根材(瓦等)を取り除き、その後、屋根面1の全面にわたる元の野地板による屋根下地を、本発明での下部野地板8による第1の屋根下地10として、その上に縦芯材11を配置して上記と同様に施工することにより、容易に実施できる。既設の屋根の屋根面の略全面に太陽光発電パネルPを設置する場合あるいは一部的に太陽光発電パネルを設置する場合も、既設の屋根面の屋根材を取り除いて同様に実施できる。   When installing a photovoltaic power generation panel in a predetermined area of at least one roof surface at the same time when renovating an existing roof, first, the entire roof surface 1 on which the photovoltaic power generation panel P is installed is installed. The existing roofing material (tile, etc.) is removed, and then the roof base made of the original base plate over the entire roof surface 1 is used as the first roof base 10 made of the lower base plate 8 in the present invention, and the vertical core is formed thereon. It can implement easily by arrange | positioning the material 11 and constructing similarly to the above. Even when the photovoltaic power generation panel P is installed on almost the entire roof surface of the existing roof or when the photovoltaic power generation panel is partially installed, the same can be implemented by removing the roof material of the existing roof surface.

前記のようにして施工される本発明の太陽光発電パネル設置屋根の構造によれば、一つの屋根面1のパネル設置領域3以外の屋根面部分においては、縦芯材11の上に第2の屋根下地14が設けられ、その上に屋根材2が葺設されているので、これらの屋根材2による屋根上面が本来の第1の屋根下地10上に屋根材を葺設している場合よりも高くなり、そのため、パネル設置領域3の縦芯材11の上に支持されて設置された太陽光発電パネルPと同程度の高さか又はやや高くなり、屋根面1を前方下方から見上げた場合に、太陽光発電パネルPが目立ち難くて見栄えがよく、瓦葺き屋根及びスレート葺き屋根等のいずれの屋根においても、体裁良好なものとなる。   According to the structure of the photovoltaic power generation panel installation roof of the present invention constructed as described above, the second roof top portion 11 on the roof core portion other than the panel installation region 3 of one roof surface 1 is the second. When the roof base 14 is provided and the roof material 2 is installed on the roof base 14, the roof top surface of the roof material 2 is provided on the original first roof base 10. Therefore, it is as high as or slightly higher than the photovoltaic power generation panel P supported and installed on the vertical core member 11 in the panel installation region 3, and the roof surface 1 is looked up from the lower front side. In this case, the solar power generation panel P is not noticeable and looks good, and the appearance is good on any roof such as a tiled roof and a slate thatched roof.

また、前記パネル設置領域3に敷設された薄板状屋根材17により屋根構造に必要な防水性を確保できる。特に、前記薄板状屋根材17が軒先領域4にまで前記薄板状屋根材17が連続して設けられ、図のように太陽光発電パネルPの下の空隙18が第2の屋根下地14の下の空隙16を経て軒先19まで連通していると、雨水等は前記パネル設置領域3から軒先19まで流れて排水される。そのため、縦芯材11及び第1の屋根下地10の表面を覆う薄板状屋根材17の下端部を軒先領域4の屋根材上面に連続させるための特殊な加工や別の防水部材は不要になり、本発明の太陽光発電パネル設置屋根を容易に施工でき実施できる。なお、前記太陽光発電パネルPの下の空隙18は、空気通路としての役目も果たし、これにより太陽光発電パネルPの温度上昇を抑制する効果があり、ひいては太陽光発電パネルの温度上昇による発電効率の低下を防止できることになる。   Moreover, the waterproof property required for the roof structure can be ensured by the thin plate-like roof material 17 laid in the panel installation region 3. In particular, the thin plate-like roof material 17 is continuously provided up to the eaves region 4, and the gap 18 under the photovoltaic power generation panel P is below the second roof base 14 as shown in the figure. When communicating with the eaves 19 through the gap 16, rainwater or the like flows from the panel installation area 3 to the eaves 19 and is drained. This eliminates the need for special processing or another waterproofing member for connecting the lower end portion of the thin roof material 17 covering the surfaces of the vertical core material 11 and the first roof base 10 to the roof material upper surface of the eaves region 4. The solar panel mounting roof of the present invention can be easily constructed and implemented. The air gap 18 under the photovoltaic power generation panel P also serves as an air passage, thereby suppressing an increase in temperature of the photovoltaic power generation panel P. As a result, power generation due to an increase in temperature of the photovoltaic power generation panel. A decrease in efficiency can be prevented.

上記した実施例においては、各種の粘土瓦、例えば和瓦、洋瓦、セメント瓦等の各種の瓦を使用した瓦葺き屋根あるいはスレート葺き屋根のほか、金属製屋根等においても利用でき、同様の効果を奏し得る。   In the above-described embodiment, in addition to tiled roofs or slate thatched roofs using various clay tiles, for example, various types of tiles such as Japanese tiles, Western tiles, cement tiles, etc., the same effect can be used. Can be played.

P…太陽光発電パネル、p1…取付部片、1…屋根面、2…屋根材、2a…瓦、2b…スレート、3…パネル設置領域、4…軒先領域、5…両側部領域、6…上部領域、7…垂木、8…下部野地板、9…ルーフィング材、10…第1の屋根下地、11…縦芯材、12…上部野地板、13…ルーフィング材、14…第2の屋根下地、15…横桟材、16…空隙、17…薄板状屋根材、18…空隙、19…軒先、20…面戸用漆喰、21…固定具、22…登り木、23…金属製縁部材、24…被覆保護材、25…金属製板材、25a…側端部、26…金属製板材。   P ... Solar power generation panel, p1 ... mounting piece, 1 ... roof surface, 2 ... roofing material, 2a ... tile, 2b ... slate, 3 ... panel installation area, 4 ... eaves area, 5 ... both sides area, 6 ... Upper region 7: Rafter, 8 ... Lower base plate, 9 ... Roofing material, 10 ... First roof base, 11 ... Vertical core member, 12 ... Upper base plate, 13 ... Roofing material, 14 ... Second roof base , 15 ... Horizontal beam, 16 ... Gap, 17 ... Thin roof material, 18 ... Gap, 19 ... Eaves, 20 ... Stucco for face door, 21 ... Fixing tool, 22 ... Climbing tree, 23 ... Metal edge member, 24 ... coating protective material, 25 ... metal plate material, 25a ... side end, 26 ... metal plate material.

Claims (7)

少なくとも一つの屋根面の所定領域に太陽光発電パネルを設置してなる屋根であって、
前記太陽光発電パネルを設置した屋根面は、全面に渡って下部野地板による第1の屋根下地上に横方向所要間隔に縦芯材が配置され、該屋根面におけるパネル設置領域には、前記縦芯材及び第1の屋根下地の表面を覆う薄板状屋根材が敷設されるとともに、該薄板状屋根材により覆われた縦芯材の上に前記太陽光発電パネルが設置され、前記パネル設置領域以外の屋根面部分には、前記縦芯材上に上部野地板による第2の屋根下地が設けられ、該第2の屋根下地の上に屋根材が葺設されてなることを特徴とする太陽光発電パネル設置屋根の構造。
A roof formed by installing a photovoltaic panel in a predetermined area of at least one roof surface
The roof surface on which the solar power generation panel is installed is arranged with a vertical core material at a required interval in the horizontal direction on the first roof base by the lower base plate over the entire surface, A thin plate-like roof material covering the vertical core material and the surface of the first roof base is laid, and the photovoltaic power generation panel is installed on the vertical core material covered with the thin plate-like roof material, and the panel installation A roof surface portion other than the region is provided with a second roof base made of an upper base plate on the vertical core material, and a roof material is provided on the second roof base. The structure of the roof with photovoltaic panels.
前記パネル設置領域と、その前方下方に続く軒先領域とに連続して、前記縦芯材及び第1の屋根下地の表面を覆う薄板状屋根材が敷設され、前記軒先領域における第2の屋根下地が前記薄板状屋根材により覆われた縦芯材の上に設けられ、前記パネル設置領域の縦芯材上に設置された太陽光発電パネルの下に空隙を保有し、該空隙が前記軒先領域の第2の屋根下地の下の空隙を通じて軒先まで連通している請求項1に記載の太陽光発電パネル設置屋根の構造。   A thin plate-like roof material covering the vertical core material and the surface of the first roof base is laid in succession to the panel installation area and the eaves area following the front lower side thereof, and a second roof base in the eaves area. Is provided on the vertical core material covered with the thin plate-like roof material, and has a gap under the photovoltaic power generation panel installed on the vertical core material of the panel installation area, the gap being the eaves area. The structure of the photovoltaic power generation panel installation roof of Claim 1 which is connected to the eaves through the space | gap under the said 2nd roof base | substrate. 前記パネル設置領域の薄板状屋根材の左右両側端の縁部が、パネル設置領域の左右両側部に隣接する屋根面部分の第2の屋根下地の下に入り込んで上方に折曲され起ち上がった状態で終端している請求項1又は2に記載の太陽光発電パネル設置屋根の構造。   Edges of the left and right side edges of the thin plate-like roofing material in the panel installation area enter under the second roof base of the roof surface part adjacent to the left and right side parts of the panel installation area and are bent upward and raised. The structure of the photovoltaic panel installation roof of Claim 1 or 2 terminated in the state. 前記縦芯材が、第1の屋根下地における下部野地板の下の垂木の位置に合わせて配置されて固定されてなる請求項1〜3のいずれか1項に記載の太陽光発電パネル設置屋根の構造。   The photovoltaic panel installation roof according to any one of claims 1 to 3, wherein the vertical core member is arranged and fixed in accordance with a position of a rafter below the lower base plate in the first roof base. Structure. 前記薄板状屋根材が金属製屋根材であり、前記縦芯材及び第1の屋根下地の表面に沿うように加工されて敷設されてなる請求項1〜4のいずれか1項に記載の太陽光発電パネル設置屋根の構造。   The sun according to any one of claims 1 to 4, wherein the thin plate-shaped roof material is a metal roof material, and is processed and laid along the surfaces of the vertical core material and the first roof base. The structure of the roof with photovoltaic panels. 屋根における少なくとも一つの屋根面の所定領域に太陽光発電パネルを設置する際、
前記太陽光発電パネルを設置する屋根面の全面にわたって下部野地板による第1の屋根下地上に縦芯材を横方向所要間隔に配置しておいて、該屋根面におけるパネル設置領域には、前記縦芯材及び第1の屋根下地の表面を覆う薄板状屋根材を敷設するとともに、該薄板状屋根材により覆われた縦芯材の上に前記太陽光発電パネルを設置する一方、前記パネル設置領域以外の屋根面部分には、前記縦芯材上に上部野地板による第2の屋根下地を設け、該第2の屋根下地上に屋根材を葺設することを特徴とする太陽光発電パネル設置屋根の施工法。
When installing a photovoltaic panel in a predetermined area of at least one roof surface on the roof,
The vertical core material is arranged at a required interval in the horizontal direction on the first roof base by the lower base plate over the entire roof surface on which the solar power generation panel is installed, and the panel installation region on the roof surface includes While laying a thin plate-like roof material that covers the surface of the vertical core material and the first roof base, the solar panel is installed on the vertical core material covered with the thin plate-like roof material, while the panel installation A solar power generation panel, wherein a roof surface portion other than a region is provided with a second roof base made of an upper base plate on the vertical core material, and a roof material is installed on the second roof base. Installation method of the installation roof.
前記パネル設置領域と、その前方下方に続く軒先領域とに連続して、前記縦芯材及び第1の野地板表面を覆う薄板状屋根材を敷設し、前記軒先領域では前記薄板状屋根材により覆われた縦芯材の上に第2の屋根下地を設けて、その上に屋根材を葺設し、前記パネル設置領域の縦芯材上に設置した太陽光発電パネルの下に有する空隙を、前記第2の屋根下地の下の空隙を通じて軒先まで連通させることを特徴とする請求項6に記載の太陽光発電パネル設置屋根の施工法。   Continuously with the panel installation area and the eaves area following the front lower side, laying the thin roof material covering the vertical core material and the first field plate surface, in the eaves area by the thin roof material A second roof base is provided on the covered vertical core material, a roof material is installed thereon, and a gap is provided under the photovoltaic power generation panel installed on the vertical core material in the panel installation region. The method for constructing a photovoltaic power generation panel installation roof according to claim 6, wherein the roof is communicated to the eaves through a gap under the second roof base.
JP2010007055A 2010-01-15 2010-01-15 Structure of photovoltaic panel-installed roof, and method for constructing the same Pending JP2011144575A (en)

Priority Applications (1)

Application Number Priority Date Filing Date Title
JP2010007055A JP2011144575A (en) 2010-01-15 2010-01-15 Structure of photovoltaic panel-installed roof, and method for constructing the same

Applications Claiming Priority (1)

Application Number Priority Date Filing Date Title
JP2010007055A JP2011144575A (en) 2010-01-15 2010-01-15 Structure of photovoltaic panel-installed roof, and method for constructing the same

Publications (1)

Publication Number Publication Date
JP2011144575A true JP2011144575A (en) 2011-07-28

Family

ID=44459655

Family Applications (1)

Application Number Title Priority Date Filing Date
JP2010007055A Pending JP2011144575A (en) 2010-01-15 2010-01-15 Structure of photovoltaic panel-installed roof, and method for constructing the same

Country Status (1)

Country Link
JP (1) JP2011144575A (en)

Cited By (3)

* Cited by examiner, † Cited by third party
Publication number Priority date Publication date Assignee Title
JP2011236636A (en) * 2010-05-10 2011-11-24 Tajimaohyohkakou Co Ltd Roof and interfacing member
CN114182892A (en) * 2021-12-13 2022-03-15 浙江东南网架股份有限公司 Photovoltaic roof and construction method thereof
CN117081473A (en) * 2023-10-16 2023-11-17 隆基绿能科技股份有限公司 A photovoltaic roof system

Cited By (4)

* Cited by examiner, † Cited by third party
Publication number Priority date Publication date Assignee Title
JP2011236636A (en) * 2010-05-10 2011-11-24 Tajimaohyohkakou Co Ltd Roof and interfacing member
CN114182892A (en) * 2021-12-13 2022-03-15 浙江东南网架股份有限公司 Photovoltaic roof and construction method thereof
CN117081473A (en) * 2023-10-16 2023-11-17 隆基绿能科技股份有限公司 A photovoltaic roof system
CN117081473B (en) * 2023-10-16 2024-02-02 隆基绿能科技股份有限公司 Photovoltaic roofing system

Similar Documents

Publication Publication Date Title
US20090019795A1 (en) Roof Cover or Facade Siding
EP2707556B1 (en) Modular roof system for a building
US6877287B2 (en) Device with flat, panel-shaped components
GB2466003A (en) Securing A Solar Energy Collection Device As Part Of A Roof
CN111980309A (en) Sloping roof system adopting modular tile hanging downstream frame and construction method
JP5662003B2 (en) Installation structure of solar cell module
JP5791027B2 (en) Solar cell module installation structure
JP2011144575A (en) Structure of photovoltaic panel-installed roof, and method for constructing the same
JP2005264618A (en) Solar roof
JP2011144574A (en) Structure of photovoltaic panel-installed roof, and method for constructing the same
JP3206829U (en) Installation structure on roof of reinforced foundation
JP6350807B2 (en) Solar cell array cover, solar cell module mounting fixture, and solar cell array
JP6062635B2 (en) Roof structure
JP2006090082A (en) Starter metal fittings and method of roofing plate roof materials
JP2005036604A (en) Roof material and roof with solar cell module
AU2019204459B2 (en) A Roof
JP4928225B2 (en) Waterproof structure on the roof
JP5601923B2 (en) Attaching roof exterior materials
JP6912195B2 (en) Roof structure with solar power generation equipment
JP3163740U (en) Installation structure of solar cell module
JP6804194B2 (en) Solar power roof
JP2024098658A (en) Sheet roofing material
JP2005207033A (en) Solar battery module and roof mounting method using the same
JP3158425U (en) Solar module roofing tools
JP6688067B2 (en) Keraba cosmetics