JP2011128004A - 気液二相流における気体流速計 - Google Patents

気液二相流における気体流速計 Download PDF

Info

Publication number
JP2011128004A
JP2011128004A JP2009286612A JP2009286612A JP2011128004A JP 2011128004 A JP2011128004 A JP 2011128004A JP 2009286612 A JP2009286612 A JP 2009286612A JP 2009286612 A JP2009286612 A JP 2009286612A JP 2011128004 A JP2011128004 A JP 2011128004A
Authority
JP
Japan
Prior art keywords
total pressure
gas
liquid
measurement hole
tube
Prior art date
Legal status (The legal status is an assumption and is not a legal conclusion. Google has not performed a legal analysis and makes no representation as to the accuracy of the status listed.)
Withdrawn
Application number
JP2009286612A
Other languages
English (en)
Inventor
Shinya Urata
信也 浦田
Masaaki Taniguchi
雅章 谷口
Current Assignee (The listed assignees may be inaccurate. Google has not performed a legal analysis and makes no representation or warranty as to the accuracy of the list.)
Mitsubishi Heavy Industries Ltd
Original Assignee
Mitsubishi Heavy Industries Ltd
Priority date (The priority date is an assumption and is not a legal conclusion. Google has not performed a legal analysis and makes no representation as to the accuracy of the date listed.)
Filing date
Publication date
Application filed by Mitsubishi Heavy Industries Ltd filed Critical Mitsubishi Heavy Industries Ltd
Priority to JP2009286612A priority Critical patent/JP2011128004A/ja
Publication of JP2011128004A publication Critical patent/JP2011128004A/ja
Withdrawn legal-status Critical Current

Links

Images

Landscapes

  • Measuring Volume Flow (AREA)

Abstract

【課題】取り回し容易に気体の流速が測定可能であり、耐久性が高い気液二相流における気体流速計を提供することを目的とする。
【解決手段】本発明にかかる気液二相流における気体流速計は、全圧測定孔を備え、気液二相流において気体の全圧を測定する全圧管と、静圧測定孔を備え、気液二相流において気体の静圧を測定する静圧管とを有し、前記静圧管は、その外周面の少なくとも1部が前記全圧管に覆われ、前記静圧測定孔は、前記全圧管の外面に開口して設けられ、又は前記全圧管の外面から突出して設けられることを特徴とする。
【選択図】図1

Description

本発明は、気体と液体とが混ざり合う流れにおける気体の流速計に関する。
火力発電設備等から排出される排ガスには、亜硫酸等の硫黄酸化物が含まれる。該硫黄酸化物を除去する手段として、湿式の脱硫装置が知られている。該脱硫装置は、排ガスが通過する脱硫塔の内部に、硫黄酸化物を吸収することができる石灰水等の吸収剤を噴射して、前記排ガスと前記吸収剤とを気液接触させることにより、前記排ガスに含まれる硫黄酸化物を除去する方式のものである。
前記吸収剤は、前記脱硫塔の断面において、流量が一定となるように噴射される。従って、前記脱硫塔を流れる前記排ガスの流速も、前記脱硫塔の断面において一定であることが、脱硫効率を向上させる上で望ましい。そこで、前記脱硫塔の内部を流れる前記排ガスの流速を確認するために、気体と液体とが混ざり合う流れ(以下、気液二相流と称す)において、気体の流速を測定することができる流速計が必要となる。
従来、気体の流速は、JISで規格されているピトー管を用いて測定可能であることが知られている。該ピトー管は、気体の流れに対して平行に設置される鼻管と、該鼻管に垂直に連通される元管とによってL字型に形成される。前記鼻管は、該鼻管の先端部に設けられ、気体の流れに対向して開口する全圧測定孔と、該鼻管の側面に設けられる静圧測定孔とを有する。また、前記ピトー管はその内部に、前記全圧測定孔と連通する全圧管と、前記静圧測定孔と連通する静圧管とを備える。
前記ピトー管によれば、前記全圧測定孔を介して前記全圧管に働く全圧と、前記静圧測定孔を介して前記静圧管に働く静圧とを測定することができる。気体の流速V(m/sec)は、前記全圧と前記静圧とを用いて、次式により求められる。
V=(2×g/γ×ΔP)1/2 (m/sec) (式1)
ここに、γは気体比重量(Kg/m)、gは重力加速度(m/s)、ΔPは全圧と静圧との圧力差(mmAq)である。
しかしながら、気液二相流において、前記ピトー管を用いて気体の流速を測定しようとすると、液体が前記全圧測定孔又は前記静圧測定孔から入り込み、前記全圧管又は前記静圧管を詰まらせてしまうという問題があった。
そこで、特許文献1においては、上に向かって流れる気体と下に向かって流れる液体との気液二相流において、下に向けて開口する全圧測定孔を備えた全圧管と、該全圧管の上に該全圧管と平行に配置され、先端に水平方向に向けて開口する静圧測定孔を備えた静圧管とを有する気体流速計が開示されている。また、特許文献1においては、上記に加えて、前記静圧測定孔の上部に、前記静圧測定孔を覆うプロテクタを有する気体流速計等が開示されている。
特許文献1に開示の気体流速計によれば、液体が流れる方向と同じ方向に向かって全圧測定孔が開口しているため、全圧測定孔に液体が入り込むことなく気体の流速を測定することができる。また、前記プロテクタを有することにより、前記静圧測定孔に液体が入り込むことを防ぐことができる。
特開2002−236068号公報(図2)
しかしながら、特許文献1に開示の気体流速計は、全圧管と静圧管とが平行かつ上下に配置された構造であり、前記全圧管と前記静圧管とは溶接等によって固定される。従って、特許文献1に開示の気体流速計は、その断面形状が縦長となり、取り回しがしにくいという問題があった。また、亜硫酸等の硫黄酸化物を含んだ排ガス等が流れる厳しい環境で使用されるため、耐久性をさらに向上させることが必要であった。
本発明は、上記に鑑みてなされたものであって、取り回し容易に気体の流速が測定可能であり、耐久性が高い気液二相流における気体流速計を提供することを目的とする。
上述した課題を解決し、目的を達成するために、本発明にかかる気液二相流における気体流速計は、全圧測定孔を備え、気液二相流において気体の全圧を測定する全圧管と、静圧測定孔を備え、気液二相流において気体の静圧を測定する静圧管とを有し、前記静圧管は、その外周面の少なくとも1部が前記全圧管に覆われ、前記静圧測定孔は、前記全圧管の外面に開口して設けられ、又は前記全圧管の外面から突出して設けられることを特徴とする。
この気体流速計は、前記静圧管の外周面の少なくとも1部が前記全圧管に覆われた、いわゆる2重管構造になっている。従って、この気体流速計によれば、実質、全圧管一本について持ち運び、設置すればよいため、取り回し容易に気液二相流における気体の流速の測定が可能である。
また、この気体流速計は、2重管構造であり、前記全圧管と前記静圧管とを固定するために溶接等される範囲が少ない構造となっている。従って、本発明にかかる気液二相流における気体流速計は、亜硫酸等の硫黄酸化物を含んだ排ガス等が流れる厳しい環境で使用された場合でも、溶接等された箇所が腐食等することに起因する強度低下が起きにくい、耐久性が高い構造となっている。
本発明の好ましい態様としては、前記全圧測定孔は、前記全圧管の長手方向と直交する方向に開口して設けられ、前記全圧管は、該全圧管における該全圧管の長手方向と直交する断面において、該全圧測定孔が開口している方向とは反対側に設けられた液体回収手段を備えることを特徴とする。
この気体流速計によれば、前記液体回収手段が設けられるため、前記全圧測定孔から前記全圧管に流入した液体を、前記全圧管の外部に排出することができる。従って、この気体流速計を用いて、気液二相流における気体の流速を測定する際に、前記全圧測定孔から液体が流入する場合であっても、液体が全圧管に溜まることなく、気体の流速の測定が可能である。
本発明の好ましい態様としては、前記全圧管は、該全圧管における該全圧管の長手方向と直交する断面において、該全圧測定孔の開口している方向と同じ側に設けられた全圧取出し口を備えることを特徴とする。
この気体流速計において、前記全圧取出し口は、前記全圧測定孔の開口している方向と同じ側に設けられている。そのため、例えば、気体が地面に対して上から下に流れる気液二相流において、前記全圧測定孔を気体の流れに対向して開口するようにこの気体流速計を設置した場合に、前記全圧測定孔を介して流入し、前記全圧管内部に集まった液体によって、前記全圧取出し口が詰まることを防止することができる。
本発明の好ましい態様としては、前記全圧測定孔は、前記全圧管の長手方向において、前記静圧測定孔が設けられる側の端部に設けられ、前記液体回収手段は、前記全圧管の長手方向において、前記全圧測定孔が設けられる側の端部とは異なる側の端部に設けられ、前記全圧管は、該全圧管の内部に前記全圧測定孔から前記液体回収手段に向かって傾斜した傾斜部を備えることを特徴とする。
この気体流速計は、前記全圧管の内部に、前記全圧測定孔から前記液体回収手段に向かって傾斜した傾斜部を備えている。従って、前記全圧測定孔から流入した液体が、全圧管に滞ることなく、傾斜板に沿って随時前記液体回収手段に導かれる。この気体流速計によれば前記液体回収手段に流入する単位時間あたりの液体の量を測定することで、気液二相流における液体の流量を求めることができる。例えば、液体が地面に対して上から下に流れる気液二相流において、液体の流れに対向して前記全圧測定孔が開口するように本発明にかかる気液二相流における気体流速計を設置した場合に、この気液二相流における液体の流量を測定することが可能となる。
本発明の好ましい態様としては、前記全圧測定孔は、前記全圧管の長手方向と直交する方向に開口して設けられ、前記全圧管は、該全圧管の、前記全圧測定孔から流入した液体が溜まる側に、該液体を回収する液体回収手段を備えることを特徴とする。
この気体流速計では、前記液体回収手段が、前記全圧測定孔から流入した液体が溜まる側に備えられるため、前期全圧測定孔から前記全圧管に流入した液体をより効率よく、前記全圧管の外部に排出することが可能になる。例えば、気体が地面に対して水平に流れる気液二相流において、前記全圧測定孔を気体の流れに対向して開口するように本発明にかかる気液二相流における気体流速計を設置した場合に、前記全圧測定孔を介して流入した液体を、より効率よく外部に排出することができる。
本発明にかかる気液二相流における気体流速計は、取り回し容易に気液二相流における気体の流速測定が可能であるとともに、気液二相流において気体の流速を測定する場合の耐久性を向上させることができるという効果を奏する。
図1は、実施例1にかかる気液二相流における気体流速計の構成を示す図である。 図2は、実施例1にかかる気液二相流における気体流速計の変形例を示す図である。 図3−1は、実施例1にかかる気体流速計の、脱硫装置における気体の流速測定の一例を示す図である。 図3−2は、実施例1にかかる気体流速計の、別の脱硫装置における気体の流速測定の一例を示す図である。 図4は、実施例2にかかる気液二相流における気体流速計の構成を示す図である。 図5−1は、実施例2にかかる気体流速計の、脱硫装置における気体の流速測定及び液体の流量測定の一例を示す図である。 図5−2は、実施例2にかかる気体流速計の、別の脱硫装置における気体の流速測定の一例を示す図である。 図5−3は、実施例2にかかる気体流速計の、別の脱硫装置における液体の流速測定の一例を示す図である。 図6は、実施例3にかかる気液二相流における気体流速計の構成を示す図である。
以下に、本発明にかかる気液二相流における気体流速計の実施例を図面に基づいて詳細に説明する。なお、この実施例によりこの発明が限定されるものではない。
図1は、実施例1にかかる気液二相流における気体流速計1の構成を示す図である。図1に示すように気体流速計1は、気液二相流において、気体の全圧を測定する全圧管7と、気体の静圧を測定する静圧管13とを有し、全圧管7には全圧測定孔3が、静圧管13には、静圧測定孔9が備えられている。
全圧管7は、全圧導入部20と全圧取出し口5とを備える。全圧導入部20は、静圧測定孔9が設けられる側の全圧管7の外周面に設けられた筒型の構造体である。この静圧測定孔9は、一方の開口部が、全圧管7の長手方向の管の内部に開口しており、もう一方の開口部が上述した全圧測定孔3を形成している。ここで、この全圧測定孔3は、全圧管7の長手方向と直交する方向に開口するように、言い換えると全圧管7の軸と直交する方向に開口するように設けられている。
全圧取出し口5は、全圧管7の長手方向と直交する全圧管7の断面において、全圧測定孔3が開口している方向と同じ側に設けられている。この全圧取出し口5には、例えば、圧力計といった全圧検出手段が設けられている。
一方、静圧管13は、上述した静圧測定孔9と静圧取出し口11とを備える。また、この静圧管13は、両端部を残して、外周面が全圧管7に覆われている。そして、静圧測定孔9は、静圧管13の一方の端面に設けられ、全圧管7の外面、言い換えると全圧管7の端面から突出して設けられる。また、静圧取り出し口11は、全圧管7の外面から突出した静圧管13の、静圧測定孔9がある側とは逆側の端部に設けられる。この静圧取り出し口11には、圧力計といった静圧検出手段が設けられる。
ここで、気体流速計1では、静圧管13の外周面の1部が、全圧管7によって覆われる構造となっているが、静圧管13の外周面の全部が、全圧管7によって覆われる構造としてもよい。すなわち、静圧測定孔9が全圧管7の端面に開口して設けられ、静圧管13のもう一方の端部が全圧管7の内部に設けられる構造としてもよい。この時、例えば静圧取出し口11は、全圧管7の外面に開口して設けられる。
また、気体流速計1は、液体回収手段19を有している。この液体回収手段19は、全圧管7における全圧管7の長手方向と直交する断面において、全圧測定孔3が開口する方向とは反対側に設けられている。また、この液体回収手段19は、全圧管7の内部と外部との連通と密封とを切り替えることができる手段であり、気体流速計1では液体回収管15と液体回収用バルブ17とを備えている。液体回収手段19は、これに限られず、例えばドレンボルトや栓を用いてもよい。
気体流速計1は、静圧管13が、両端を残して、外周面を全圧管7に覆われる2重管構造となっている。従って、気体流速計1によれば、実質、全圧管一本について持ち運び、設置すればよいため、取り回し容易に気液二相流における気体の流速の測定が可能である。また、気体流速計1において、全圧管7と静圧管13との固定が必要な箇所は、全圧管7の外面と静圧管13との接触部のみである。つまり、気体流速計1によれば、特許文献1に開示の気体流速計と比較して、全圧管7と静圧管13とを固定するための溶接等の範囲を小さくすることができる。これにより、気体流速計1が、亜硫酸等の硫黄酸化物を含んだ排ガス等が流れる厳しい環境で使用される場合でも、溶接等された箇所が腐食することに起因する強度低下の問題を起きにくくすることができる。
また、気体流速計1は、静圧管13が、両端を残して、外周面を全圧管7に覆われる2重管構造となっている。従って、ピトー管の内部に、全圧管と静圧管とを備えるJISに規格されているピトー管と比較して、全圧測定孔3、全圧管7、静圧測定孔9及び静圧管13は、流体が通過する部分の寸法を大きく設定することができる。従って、全圧測定孔3から液体が全圧管7に流入した場合であっても、全圧測定孔3又は静圧管13に液体が詰まらない大きさの径に設定することができる。また、液体が、静圧測定孔9から静圧管13に流入した場合であっても、静圧測定孔9又は静圧管13に液体が詰まらない大きさの径に設定することができる。
ここで、気体流速計1において、全圧測定孔3の直径は8mm以上、30mm以下とされるのが好ましい。全圧測定孔3の径がこれより小さくなると、全圧測定孔3に液体が流入した場合に全圧測定孔3に液体が詰まるおそれがあるからである。一方、全圧測定孔3の径の大きさがこれより大きくなると、気体の流速を測定する際に分解能が低下し、気体流速の計測精度低下を招くおそれがあるからである。また全圧管7の内径は、15mm以上、30mm以下とされるのが好ましい。全圧管7の内径の下限が、全圧測定孔3の径の下限よりも大きく設定される理由は、全圧管7の内部には、静圧管13が設けられるため、全圧管7の内部に液体が詰まることを抑制するために、静圧管13の外径を考慮した値に設定する必要があるからである。
さらに、気体流速計1において、静圧測定孔9の径は5mm以上、10mm以下とされ、静圧管13の内径は、5mm以上、10mm以下とされるのが好ましい。静圧測定孔9の径及び静圧管13の内径がこれより小さくなると、静圧測定孔9から静圧管13に液体が流入した場合に、静圧測定孔9又は静圧管13に液体が詰まるおそれがあるからである。一方、静圧測定孔9の径及び静圧管13の内径がこれより大きくなると、気体の流速を測定する際に分解能が低下するからである。
また、気体流速計1によれば、全圧取出し口5が、全圧管7における全圧管7の長手方向と直交する断面において、全圧測定孔3が開口している方向と同じ側に設けられている。このため、例えば、気体が地面に対して上から下向きに流れる気液二相流において、気体流速計1が、全圧測定孔3が気体の流れに対向して開口するように、言い換えると全圧測定孔3が地面に対して上向きに開口するように設置される場合には、次の効果を得ることができる。すなわち、全圧取出し口5は、全圧測定孔3から全圧管7に液体が流入した際に、液体が溜まる全圧管7の下側とは逆側の全圧管7の上側に配置されるため、全圧測定孔3から全圧管7に液体が流入した場合であっても、全圧取出し口5に液体が詰まることはなく、全圧を測定することができる。
なお、気体流速計1は、全圧取出し口5が、全圧管7における全圧管7の長手方向と直交する断面において、全圧測定孔3が開口している方向と同じ側に設けられるとともに、全圧管7の外周面に突出して設けられている。しかしながら、全圧取出し口5は、例えば、全圧管7の端面から突出して設けられていてもよい。この場合であっても、この全圧取出し口5は、全圧管7における全圧管7の長手方向と直交する断面において、全圧管7の全圧測定孔3が開口している方向と同じ側に設けられる。
また、気体流速計1によれば、静圧測定孔9は、全圧管7の外面、言い換えると全圧管7の端面から突出して設けられている。このように、静圧測定孔9が、全圧管7の端面から突出して設けられることで、気体流速計1は静圧管13の内部に液体が入りにくい構造になっている。なお、静圧測定孔9は、このように全圧管7の端面から突出させて設けられることが液体の流入を防止する上でより好ましいが、全圧管7の端面に開口して設けられてもよい。本実施例では、静圧測定孔9及び静圧管13の内径は、上述した通り、液体が詰まらない大きさに設定される。よって、万が一少量の液体が流入した場合であっても、静圧測定孔9及び静圧管13に液体が詰まることはなく、正確に静圧を測定することが可能であるからである。
また、気体流速計1によれば、液体回収手段19が、全圧管7における全圧管7の長手方向と直交する断面において、全圧測定孔3が開口している方向とは反対側に設けられている。従って、液体が全圧測定孔3から全圧管7に流入した場合には、その液体を集めて、全圧管7の外部に排出することができる。例えば、気体が地面に対して上から下向きに流れる気液二相流において、気体流速計1が、全圧測定孔3が気体の流れに対向して開口するように設置される場合を想定する。この場合、全圧測定孔3から流入し、全圧管7の下側に集められた液体は、液体回収手段19を構成する液体回収用バルブ17を開くことによって、全圧管7の外部に排出される。よって、本発明にかかる気液二相流における気体流速計1を用いて、気体の流速を測定する際に、前記全圧測定孔3から液体が流入する場合であっても、液体が全圧管7の内部に溜まり、気体の流速を測定することができなくなることはない。
なお、気体流速計1では、液体回収手段19を設けることで、全圧管7の内部に溜まった液体の排出を可能としている。しかしながら、全圧測定孔3から流入する液体の量が少量の場合には、次の理由から、必ずしもこの液体回収手段19を設けなくとも、正確な全圧を測定することが可能である。気体流速計1では、全圧測定孔3及び全圧管7の径は、上述した通り、液体が詰まらない程度の大きさに設定されることが可能であり、全圧測定孔3から少量の液体が流入した場合であっても、全圧測定孔3又は全圧管7に液体が詰まることを抑制することができる。また、例えば、気体が地面に対して上から下向きに流れる気液二相流において、気体流速計1が、全圧測定孔3が気体の流れに対向して開口するように設置される場合には、全圧取出し口5が、全圧管の液体が溜まる側とは逆側に配置される。よって、全圧取出し口5に液体が詰まることを防止することができる。
また、気体流速計1では、液体回収手段19を構成する液体回収管15は、全圧管7における全圧管7の長手方向と直交する断面において、全圧測定孔3が開口している方向とは反対側に設けられるとともに、その一方の端面が全圧管7の端面に開口して設けられている。しかしながら、液体回収管15は、例えばその一方の端面が全圧管7の外周面に開口して設けられていてもよい。この場合であっても、液体回収管15は、全圧管7における全圧管7の長手方向と直交する断面において、全圧測定孔3が開口している方向とは反対側に設けられる。
また、気体流速計1において、全圧測定孔3は全圧導入部20の端面に必ずしも設ける必要はなく、全圧管7の外周面に直接開口して設けられてもよい。さらには、図2のように構成されてもよい。ここで、図2は、実施例1にかかる気液二相流における気体流速計の変形例を示す図である。なお、図1と同一部材には同一符号を付して重複した説明は省略する。
すなわち、図2において、全圧管7は、全圧管長手方向の部分と、全圧管曲がり部49とから構成されている。全圧管曲がり部49は、全圧管7の一方の端部が曲げられることにより構成され、その端面における開口部が全圧測定孔3となっている。ここで、全圧管曲がり部49は、全圧測定孔3の開口方向が全圧管7の長手方向と直交するように構成される。
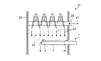
ここで、気体流速計1を使用して、気液二相流における気体の流速を測定する方法について説明する。図3−1は、実施例1にかかる気体流速計の、脱硫装置における気体の流速測定の一例を示す図である。図3−1において、気体流速計1は、脱硫装置21を流れる気液二相流の気体の流速を測定するために用いられている。この脱硫装置21は、内部を排ガス23が通過する脱硫塔25と、脱硫塔25内に石灰水27を噴射する石灰水噴射手段29とを有する。脱硫塔25内を流れる排ガス23と、排ガス23に含まれる亜硫酸等の硫黄酸化物を吸収することができる吸収剤である石灰水27とを気液接触させることにより、排ガス23に含まれる前記硫黄酸化物を除去するものである。
図3−1における脱硫塔25の内部では、排ガス23と石灰水27が共に地面に対して上から下に流れている。気体流速計1は、この脱硫塔25の内部に、脱硫塔25の外周面に設けられた開口部31から挿入され、任意の位置に設置される。この時、気体流速計1は、気体流速計1の長手方向が、気体の流れる方向と直交するように設置されると共に、全圧測定孔3が排ガス23の流れと対向して開口するように設置される。また、この気体流速計1の設置は、脱硫塔25の開口部31に設けられたフランジ等の固定手段によって固定されることにより行われる。気体流速計1は、長手方向の断面形状が円となっているため、前記固定手段によって容易に固定することができる。
このように設置された気体流速計1によって、全圧測定孔3から全圧管7に導入した全圧と、静圧測定孔9から静圧管13に導入した静圧とが測定され、この全圧と静圧から、排ガス23の流速が測定される。具体的には、全圧管7内の全圧Pが圧力計等の全圧検出手段によって算出され、静圧管13内の静圧Pが圧力計等の静圧検出手段によって算出される。この全圧Pと静圧Pとを用いて、全圧Pと静圧Pの差である動圧ΔPを算出し、この動圧ΔPを用いて、以下の式2から排ガス23の流速Vが算出される。なお、気体流速計1には、式2を用いて、流速Vを算出する流速算出手段を設けることができる。
V=(2×g/γ×ΔP)1/2×C (m/sec) (式2)
ここに、γは気体比重量(Kg/m)、gは重力加速度(m/s)である。また、Cは補正係数であり、次のように決定する。
まず、上述したJISに規格されているピトー管を用いて、気体のみが流れる場における気体の流速を、上述した式1を用いて求める。次いで、気体流速計1を用いて、前記ピトー管を用いた流速の測定と同一の条件で、気体のみが流れる場における前記気体の流速を、上述した式1から求める。そして、前記ピトー管を用いて求めた前記気体の流速と、気体流速計1を用いて求めた前記気体の流速との関係から、前記Cの値を決定する。
ここで、脱硫塔25の内部においては、排ガス23と石灰水27が共に地面に対して上から下に流れており、全圧測定孔3は排ガス23の流れに対向して開口しているため、全圧管7には、全圧測定孔3を介して、排ガス23とともに、石灰水27が流入する。この石灰水27が全圧管7に溜まった場合には、液体回収用バルブ17を開くことによって、石灰水27を、液体回収管15から全圧管7の外部に排出する。このようにして、気体流速計1によれば、気液二相流における気体の流速を測定することができる。
次に、図3−1とは異なった方向に気体が流れる気液二相流において、気体流速計1を使用した気体の流速を測定する方法について説明する。図3−2は、実施例1にかかる気体流速計の、別の脱硫装置における気体の流速測定の一例を示す図である。なお、図3−1と同一部材には同一符号を付して重複した説明は省略する。図3−2において、気体流速計1は、脱硫装置22の内部を流れる気液二相流の気体の流速を測定するために用いられている。この脱硫装置22は、図3−1における脱硫装置21と同じ構造を有しており、異なるのは排ガス23が地面に対して下から上へと流れていることである。つまり、図3−2における脱硫塔25の内部では、排ガス23が地面に対して下から上へと流れ、石灰水27が地面に対して上から下に流れている。
図3−2において、気体流速計1は、気体流速計1の長手方向が、気体の流れる方向と直交するように設置されると共に、全圧測定孔3が排ガス23の流れと対向して開口するように設置される。つまり、図3−2において気体流速計1は、全圧測定孔3が石灰水27の流れと同じ方向、言い換えると全圧測定孔3が地面に対して下向きに開口して設置される。従って、全圧測定孔3から石灰水27が流入することなく、全圧管7によって、全圧を測定することが可能である。このように設置された気体流速計1によって、全圧測定孔3から全圧管7に導入した全圧と、静圧測定孔9から静圧管13に導入した静圧とが測定され、この全圧と静圧から、排ガス23の流速が測定される。なお、排ガス23の流速は、式2を用いて、上述した方法と同様にして求められる。
図4は、実施例2にかかる気液二相流における気体流速計の構成を示す図である。なお、気体流速計1と同一部材には同一符号を付して重複した説明は省略する。図4に示すように、実施例2にかかる気体流速計61は全圧管7を有し、全圧管7はその内部に全圧測定孔3から液体回収手段19に向かって傾斜する傾斜板69を備えている点で、気体流速計1とは異なっている。
気体流速計61によれば、全圧測定孔3から全圧管7に液体が流入した場合に、傾斜板69に沿って液体回収管15へ向かって流れるので、前記液体が全圧管7に滞ることがない。従って、液体回収用バルブ17を開いておけば、全圧測定孔3から流入した液体は、随時液体回収手段19に導かれることとなる。この液体の量を測定することによって、全圧測定孔3に流入した単位時間あたりの液体の量を把握することができる。つまり、気体流速計61によれば、気液二相流における気体の流速を測定することができるとともに、気液二相流における液体の流量も測定することができる。
なお、傾斜板69は、必ずしも平面である必要はなく、例えば、全圧管7の長手方向と直交する断面形状がU字型、又はV字型であってもよい。この時、傾斜板69は、全圧管の長手方向と直交する断面において、液体回収管15がある所にU字やV字の谷の部分を設けるように構成されたものとする。こうすることで、全圧測定孔3から全圧管7に液体が流入した場合に、該液体が、全圧管7に滞ることをより防止することができ、液量測定の正確さが向上される。
また、気体流速計61においては、全圧管7の内部に傾斜板69を設けることによって、全圧測定孔3から液体回収手段19に向かって傾斜部が構成されている。しかしながら、全圧管7の外壁の厚みが、全圧測定孔3から液体回収手段19に向かって、薄くなるように変化させることによって、全圧測定孔3から液体回収手段19に向かって傾斜部が構成される構造としてもよい。
ここで、気体流速計61を使用して、気液二相流における気体の流速と液体の流量とを測定する方法について説明する。図5−1は、実施例2にかかる気体流速計の、脱硫装置における気体の流速測定及び液体の流量測定の一例を示す図である。図5−1において、気体流速計61は、脱硫装置21内部の気液二相流の測定に用いられている。脱硫装置21における脱硫塔25の内部では、排ガス23と石灰水27が共に地面に対して上から下に流れている。まず、気体である排ガス23の流速を測定する場合には、気体流速計61は、脱硫塔25の内部に、気体流速計61の長手方向が、気体の流れる方向と直交するように設置されると共に、全圧測定孔3が排ガス23の流れと対向して開口するように設置される。この時、液体回収用バルブ17は、閉じられている。
このように設置された気体流速計61によって、全圧測定孔3から全圧管7に導入した全圧と、静圧測定孔9から静圧管13に導入した静圧とが測定される。この全圧と静圧の差から動圧を求め、該動圧を用いて、実施例1における式2から、排ガス23の流速を求めることができる。なお、気体流速計61には、式2を用いて、流速Vを算出する流速算出手段を設けることができる。また、式2におけるCの値は、本実施例2において次のように決定する。
まず、上述したJISに規格されているピトー管を用いて、気体のみが流れる場における気体の流速を、上述した式1を用いて求める。次いで、気体流速計61を用いて、前記ピトー管を用いた流速の測定と同一の条件で、気体のみが流れる場における前記気体の流速を、上述した式1から求める。そして、前記ピトー管を用いて求めた前記気体の流速と、気体流速計61を用いて求めた前記気体の流速との関係から、前記Cの値を決定する。
一方、液体である石灰水27の流量を測定する場合には、気体流速計61は、石灰水27の流れに対向して全圧測定孔が開口するように設置される。脱硫装置21においては、気体である排ガス23と液体である石灰水27が共に上から下に向かって流れているため、気体流速計61は、気体の流速を測定する場合と同様に設置される。また、この時、液体回収用バルブ17は、開いた状態になっている。
こうして設置された気体流速計61の全圧管7の内部には、全圧測定孔3から、石灰水27が流入する。この石灰水27は、全圧管7の内部に設けられた傾斜板69によって、全圧管7の内部に滞ることなく、随時液体回収手段19へ導かれる。この液体回収手段19に導かれた石灰水27の量を測定することで、全圧測定孔3が開口している箇所における石灰水27の流量を把握することができる。
次に、図5−1とは異なった方向に気体が流れる気液二相流において、気体流速計61を使用して気体の流速と液体の流量とを測定する方法について説明する。図5−2は、実施例2にかかる気体流速計の、別の脱硫装置における気体の流速測定の一例を示す図である。なお、図5−1と同一部材には同一符号を付して重複した説明は省略する。図5−2において、気体流速計61は、脱硫装置22の内部を流れる気液二相流の気体の流速を測定するために用いられている。この脱硫装置22は、図5−1における脱硫装置21と同じ構造を有しており、異なるのは排ガス23が地面に対して下から上へと流れていることである。つまり、図5−2における脱硫塔25の内部では、排ガス23が地面に対して下から上へと流れ、石灰水27が地面に対して上から下に流れている。
図5−2において、気体流速計61は、気体流速計61の長手方向が、気体の流れる方向と直交するように設置されると共に、全圧測定孔3が排ガス23の流れと対向して開口するように設置される。つまり、図5−2において気体流速計61は、全圧測定孔3が石灰水27の流れと同じ方向、言い換えると全圧測定孔3が地面に対して下向きに開口して設置される。従って、全圧測定孔3から石灰水27が流入することはなく、全圧管7に水が溜まるという問題は生じない。また、この時、液体回収用バルブ17は閉じた状態とされる。
このように設置された気体流速計61によって、全圧測定孔3から全圧管7に導入した全圧と、静圧測定孔9から静圧管13に導入した静圧とが測定され、この全圧と静圧から、排ガス23の流速が測定される。なお、排ガス23の流速は、式2を用いて、上述した方法と同様にして求められる。
一方、図5−3は、実施例2にかかる気体流速計の、別の脱硫装置における液体の流量測定の一例を示す図である。なお、図5−2と同一部材には同一符号を付して重複した説明は省略する。図5−3において、気体流速計61は、脱硫装置22の内部を流れる気液二相流の石灰水27の流量の測定するために用いられている。液体である石灰水27の流量を測定する場合には、気体流速計61は、石灰水27の流れに対向して全圧測定孔3が開口するように設置される。脱硫装置22においては、気体である排ガス23が下から上に、液体である石灰水27が上から下に向かって流れている。従って、気体流速計61は、気体の流速を測定する場合に設置された向きから、全圧管7の長手方向の軸を中心に、180度回転させた向きに設置される。また、この時、液体回収用バルブ17は、開いた状態にされる。
こうして設置された気体流速計61の全圧管7の内部には、全圧測定孔3から、石灰水27が流入する。この石灰水27は、全圧管7の内部に設けられた傾斜板69によって、全圧管7の内部に滞ることなく、随時液体回収手段19へ導かれる。この液体回収手段19に導かれた石灰水27の量を測定することで、全圧測定孔3が開口している箇所における石灰水27の流量を把握することができる。
図6は、実施例3にかかる気液二相流における気体流速計の構成を示す図である。なお、気体流速計1と同一部材には同一符号を付して重複した説明は省略する。図6に示すように、実施例3にかかる気体流速計81は、全圧測定孔83と、全圧取出し口85と、液体回収管95との位置関係が図1に示す気体流速計1と異なる。つまり、全圧管87の長手方向と直交する断面において、全圧測定孔83は地面に対して水平方向に開口して設けられ、全圧取出し口85は地面に対して上側に設けられ、液体回収管95は地面に対して下側に設けられる。なお、図6においては、全圧取出し口85は、全圧管87の外周面に突出して設けられているが、例えば、全圧管87の端面から突出して設けられてもよい。
ここで、液体回収手段99には、液体回収管95と液体回収用バルブ97とが備えられ、全圧測定孔93は、全圧導入部105の端面に設けられているが、この構成は気体流速計1と同様のものである。また、その他の構成についても、特に言及しない限り、気体流速計1と同様の構成となっている。
図6において、気体流速計81は、気体103が地面に対して水平に流れ、液体101が、地面に対して上から下向きに流れる気液二相流の流れの中に設置されている。気体流速計81は、全圧管87で気体の全圧を測定するために、全圧測定孔3が気体103の流れに対向して開口するように設置されている。この時、液体101が全圧測定孔83から流入する可能性がある。
気体流速計81によれば、気体流速計81が、全圧測定孔83の開口方向が地面に対して上向きとなるように設置されない場合であっても、液体回収手段99が全圧管87の液体101が溜まる側に設けられている。言い換えると、図6の流れにおいては、液体回収手段99が全圧管87の、地面に対して下側に設けられている。従って、全圧管87に全圧測定孔83を介して液体101が流入した場合に、全圧管87に溜まることなく全圧管87の外部に排出される。つまり、気体流速計81によれば、気液二相流において、気体103が地面に対して垂直に流れていない場合であっても、全圧管87に液体101が溜まることなく、気体の流速を測定することができる。
以上のように、本発明にかかる気液二相流における気体流速計は、気液二相流における気体の測定を、取り回し容易行うことに有用であり、特に、亜硫酸等の硫黄酸化物を含んだ排ガス等が流れる厳しい環境で使用される場合に適している。
1、61、81 気体流速計
3、83 全圧測定孔
5、85 全圧取出し口
7、87 全圧管
9 静圧測定孔
11 静圧取出し口
13 静圧管
15、95 液体回収管
17、97 液体回収用バルブ
19、99 液体回収手段
20、105 全圧導入部
21、22 脱硫装置
23 排ガス
25 脱硫塔
27 石灰水
29 石灰水噴射手段
31 開口部
49 全圧管曲がり部
69 傾斜板
101 液体
103 気体

Claims (5)

  1. 全圧測定孔を備え、気液二相流において気体の全圧を測定する全圧管と、
    静圧測定孔を備え、気液二相流において気体の静圧を測定する静圧管とを有し、
    前記静圧管は、その外周面の少なくとも1部が前記全圧管に覆われ、
    前記静圧測定孔は、前記全圧管の外面に開口して設けられ、又は前記全圧管の外面から突出して設けられることを特徴とする気液二相流における気体流速計。
  2. 前記全圧測定孔は、前記全圧管の長手方向と直交する方向に開口して設けられ、
    前記全圧管は、該全圧管における該全圧管の長手方向と直交する断面において、該全圧測定孔が開口している方向とは反対側に設けられた液体回収手段を備えることを特徴とする請求項1に記載の気液二相流における気体流速計。
  3. 前記全圧管は、該全圧管における該全圧管の長手方向と直交する断面において、該全圧測定孔の開口している方向と同じ側に設けられた全圧取出し口を備えることを特徴とする請求項1又は請求項2に記載の気液二相流における気体流速計。
  4. 前記全圧測定孔は、前記全圧管の長手方向において、前記静圧測定孔が設けられる側の端部に設けられ、
    前記液体回収手段は、前記全圧管の長手方向において、前記全圧測定孔が設けられる側の端部とは異なる側の端部に設けられ、
    前記全圧管は、該全圧管の内部に前記全圧測定孔から前記液体回収手段に向かって傾斜した傾斜部を備えることを特徴とする請求項2又は請求項3に記載の気液二相流における気体流速計。
  5. 前記全圧測定孔は、前記全圧管の長手方向と直交する方向に開口して設けられ、
    前記全圧管は、該全圧管の、前記全圧測定孔から流入した液体が溜まる側に、該液体を回収する液体回収手段を備えることを特徴とする請求項1に記載の気液二相流における気体流速計。
JP2009286612A 2009-12-17 2009-12-17 気液二相流における気体流速計 Withdrawn JP2011128004A (ja)

Priority Applications (1)

Application Number Priority Date Filing Date Title
JP2009286612A JP2011128004A (ja) 2009-12-17 2009-12-17 気液二相流における気体流速計

Applications Claiming Priority (1)

Application Number Priority Date Filing Date Title
JP2009286612A JP2011128004A (ja) 2009-12-17 2009-12-17 気液二相流における気体流速計

Publications (1)

Publication Number Publication Date
JP2011128004A true JP2011128004A (ja) 2011-06-30

Family

ID=44290752

Family Applications (1)

Application Number Title Priority Date Filing Date
JP2009286612A Withdrawn JP2011128004A (ja) 2009-12-17 2009-12-17 気液二相流における気体流速計

Country Status (1)

Country Link
JP (1) JP2011128004A (ja)

Cited By (7)

* Cited by examiner, † Cited by third party
Publication number Priority date Publication date Assignee Title
JP2014169995A (ja) * 2013-02-06 2014-09-18 Mitsubishi Heavy Ind Ltd 物理量の計測システム及び解析モデルの構築方法
CN105467154A (zh) * 2015-12-29 2016-04-06 浙江大学 一种带固定装置的针式毕托管及其流速测量方法
CN110631235A (zh) * 2019-09-26 2019-12-31 国药奇贝德(上海)工程技术有限公司 一种风速风量测量装置及具有该装置的高效风口
CN111157062A (zh) * 2020-03-11 2020-05-15 修武县宏源冷暖设备有限公司 风量显示风口及风量检测方法
CN111551218A (zh) * 2020-05-18 2020-08-18 重庆市科学技术研究院 一种皮托管流量测定仪
CN111551219A (zh) * 2020-05-18 2020-08-18 重庆市科学技术研究院 一种皮托管结构
CN112964315A (zh) * 2021-04-09 2021-06-15 西安热工研究院有限公司 一种大型垂直烟风煤粉管道阵列式流量测量装置

Cited By (10)

* Cited by examiner, † Cited by third party
Publication number Priority date Publication date Assignee Title
JP2014169995A (ja) * 2013-02-06 2014-09-18 Mitsubishi Heavy Ind Ltd 物理量の計測システム及び解析モデルの構築方法
CN105467154A (zh) * 2015-12-29 2016-04-06 浙江大学 一种带固定装置的针式毕托管及其流速测量方法
CN110631235A (zh) * 2019-09-26 2019-12-31 国药奇贝德(上海)工程技术有限公司 一种风速风量测量装置及具有该装置的高效风口
CN110631235B (zh) * 2019-09-26 2023-10-24 国药奇贝德(上海)工程技术有限公司 一种风速风量测量装置及具有该装置的高效风口
CN111157062A (zh) * 2020-03-11 2020-05-15 修武县宏源冷暖设备有限公司 风量显示风口及风量检测方法
CN111551218A (zh) * 2020-05-18 2020-08-18 重庆市科学技术研究院 一种皮托管流量测定仪
CN111551219A (zh) * 2020-05-18 2020-08-18 重庆市科学技术研究院 一种皮托管结构
CN111551218B (zh) * 2020-05-18 2021-11-09 重庆市科学技术研究院 一种皮托管流量测定仪
CN111551219B (zh) * 2020-05-18 2021-11-09 重庆市科学技术研究院 一种皮托管结构
CN112964315A (zh) * 2021-04-09 2021-06-15 西安热工研究院有限公司 一种大型垂直烟风煤粉管道阵列式流量测量装置

Similar Documents

Publication Publication Date Title
JP2011128004A (ja) 気液二相流における気体流速計
CN101477020B (zh) 测量脱硫吸收塔浆液密度的方法
CN208187625U (zh) 适用于湿烟气压力测量的防堵压力测量装置
CN208919544U (zh) 一种防堵塞的水利管道
CN209625045U (zh) 一种湿法脱硫塔检测装置
CN108593196A (zh) 一种适用于湿烟气压力测量的防堵压力测量装置
CN112666045A (zh) 一种在线式连续测量酸碱度及密度的系统装置及其方法
CN102435230A (zh) 三角堰坡面小区径流流量测量系统
CN105424106B (zh) 一种v锥流量计竖直安装结构
CN204807498U (zh) 一种脱硝系统逃逸氨在线连续监测的装置
CN216646170U (zh) 一种密度计排空装置及脱硫吸收塔
CN206756633U (zh) 脱硫塔密度在线测量装置
KR101310447B1 (ko) 유량측정장치
KR101208330B1 (ko) 복합식 비만관 유량 측정방법
CN208537342U (zh) 浆液密度测量装置
CN218239713U (zh) 一种脱硫浆液测量装置
CN214622182U (zh) 一种用于湿法脱硫系统浆液的液位密度一体化测量系统
CN211043030U (zh) 一种脱硫吸收塔浆液密度测量装置
KR200425372Y1 (ko) 역(逆)사이펀 원리를 이용한 개수로(開水路)의유량측정장치
CN210268996U (zh) 一种石灰石湿法脱硫除雾器差压测量装置
CN201116881Y (zh) 硫磺池液位测量装置
CN102759494A (zh) 一种测量脱硫塔浆液密度的取源装置及方法
CN110567635A (zh) 一种石灰石湿法脱硫除雾器差压测量装置及压差测量方法
CN209294787U (zh) 一种真空绝热深冷压力容器
CN214660102U (zh) 一种高压大流量油井多参数计量装置

Legal Events

Date Code Title Description
A300 Withdrawal of application because of no request for examination

Free format text: JAPANESE INTERMEDIATE CODE: A300

Effective date: 20130305