JP2011106944A - 示差屈折率計 - Google Patents

示差屈折率計 Download PDF

Info

Publication number
JP2011106944A
JP2011106944A JP2009261825A JP2009261825A JP2011106944A JP 2011106944 A JP2011106944 A JP 2011106944A JP 2009261825 A JP2009261825 A JP 2009261825A JP 2009261825 A JP2009261825 A JP 2009261825A JP 2011106944 A JP2011106944 A JP 2011106944A
Authority
JP
Japan
Prior art keywords
flow cell
light
parallel light
position detection
differential refractometer
Prior art date
Legal status (The legal status is an assumption and is not a legal conclusion. Google has not performed a legal analysis and makes no representation as to the accuracy of the status listed.)
Granted
Application number
JP2009261825A
Other languages
English (en)
Other versions
JP5482132B2 (ja
Inventor
Takashi Fujii
崇史 藤井
Current Assignee (The listed assignees may be inaccurate. Google has not performed a legal analysis and makes no representation or warranty as to the accuracy of the list.)
Tosoh Corp
Original Assignee
Tosoh Corp
Priority date (The priority date is an assumption and is not a legal conclusion. Google has not performed a legal analysis and makes no representation as to the accuracy of the date listed.)
Filing date
Publication date
Application filed by Tosoh Corp filed Critical Tosoh Corp
Priority to JP2009261825A priority Critical patent/JP5482132B2/ja
Publication of JP2011106944A publication Critical patent/JP2011106944A/ja
Application granted granted Critical
Publication of JP5482132B2 publication Critical patent/JP5482132B2/ja
Active legal-status Critical Current
Anticipated expiration legal-status Critical

Links

Images

Landscapes

  • Investigating Or Analysing Materials By Optical Means (AREA)

Abstract

【課題】 限られた大きさの受光素子を有した位置検出光センサを用いても、平行光を効率的に受光素子まで導き、かつ十分な測定感度および測定範囲を有する示差屈折率計を提供すること。
【解決手段】 概ね平行光を生成する光源部と、アパーチャと、内部が平行光の光軸に対して傾斜した斜板で仕切られた参照液と試料液を通過させるための二つの中空部を有するフローセルと、フローセルを透過した平行光の偏向を検出するための位置検出光センサと、アパーチャとフローセルとの間またはフローセルと位置検出光センサとの間に位置検出光センサにおける平行光の照射位置を偏向方向と直交する方向に収束可能なシリンドリカルレンズと、位置検出光センサの出力信号から屈折率を演算する演算部と、を備えた示差屈折率計により前記課題を解決することができた。
【選択図】 図6

Description

本発明は、屈折率の変化に基づき溶液の濃度を測定する示差屈折率計に関する。特に本発明は液体クロマトグラフ用の検出器として有用である。
物質が溶媒に溶け込むと、一般に溶媒の屈折率は変化する。そのため、液体クロマトグラフではカラムから溶出される成分の汎用的な検出器として、溶媒(以下、参照液という)と、成分が溶けた溶媒(以下、試料液という)の屈折率の差を測定する示差屈折率計が用いられる。示差屈折率計としては、屈折率による反射光強度の変化を検出するフレネル型示差屈折率計と、屈折角の変化を検出する偏向型(ブライス型ともいう)示差屈折率計が知られている。
通常用いられる偏向型示差屈折率計は、光源部から生成された平行光がフローセルに導入され、フローセルを通過する参照液と試料液の屈折率に応じて平行光の進行方向が偏向され、その偏向の程度を位置検出光センサにより検出する、というものである。フローセルは、石英ガラスなどの透明体の内部に光の進行方向(光軸)に対して傾斜した斜板で仕切られた2つの直角三角形断面を有する流路を設けており、前記2つの流路に試料液と参照液をそれぞれ通過させた状態で平行光を透過させる。透過した平行光の進行方向の角度変化(偏向)の大きさから、屈折率の差の原因である試料液中の試料濃度を求めることができる。偏向型示差屈折率計には、フローセルへの平行光透過のさせ方により、1回透過させるシングルパス方式(たとえば特許文献1の第21図)と、2回透過させるダブルパス方式(たとえば特許文献2の第5図)とがある。
一般に、光源部と測定セルと受光部とを備えた光学的分析装置に関して良好な感度またはS/N比を得るためには、光源部は、十分量の測定用光量を、測定セルを介して受光部に供給する必要がある。たとえば特許文献2の示差屈折率検出装置では、光源として、タングステンランプに比較して発光出力が劣る発光ダイオードを使用しているが、光源とアパーチャとの間に集光レンズを介在配置することにより光量を高めた後、コリメーターレンズを通ってフローセルに平行光を透過させる構成を開示している。
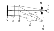
示差屈折率計の測定感度向上のために、光源部から生成する平行光をより効率的に受光部に導くための別の方法として、光源部とフローセルとの間に備えたアパーチャの開口部を屈折による平行光の偏向方向と直交する方向に拡大することが考えられる。アパーチャの開口部を偏向方向と直交する方向に拡大すると、受光部にある受光素子面上に結像される照射位置は大きくなるが、受光素子の大きさに限りがある以上、照射位置が受光素子をはみ出す場合、はみ出した部分の平行光がむだになる。偏向型示差屈折率計中の位置検出光センサ10にフローセルを透過した平行光を照射したときの、標準的な照射位置13を図1(a)に示す。図1(a)の状態から、アパーチャを偏向方向と直交する方向に拡大した場合、照射位置13が図1(b)に示す位置まで拡大すると位置検出光センサ10内の受光素子11をはみ出た分の平行光がむだになる。また、当該照射位置まで受光素子を拡大させようとすると、経済的に不利となる。
照射位置13が図1(b)に示す位置まで拡大した場合、照射位置13を受光素子11に収めるための方法として、アパーチャを通過した平行光に球面レンズを通過させて収束する方法がある。前記方法を用いて収束した照射位置13を模式的に図1(c)に示す。前記方法は照射位置の縦横比を一定のまま収束する方法である。したがって、図1に示す分割型フォトダイオードを位置検出光センサ10として用いた場合、照射位置が平行光の偏向方向側にも収束されるため、照射位置13に占める位置検出光センサ10にある受光素子間ギャップ12の割合が相対的に大きくなる。すなわち、受光素子11に照射する光量が減るので感度(S/N比)低下の一因となる。また、照射位置13の平行光の偏向方向側の長さが受光素子間ギャップ12長さの2倍から3倍程度まで短くなると、2つの受光素子11に光を均等に入れるのが困難となったり、一方の受光素子11に光が入りにくくなるため、測定範囲が狭くなる問題があった。さらに、アパーチャを平行光の偏向方向に広げる場合、平行光がフローセルの有効な導入領域をはみ出すおそれや、受光素子11に結像する照射位置13の位置検出可能な測定範囲が狭くなる問題があった。
特公平7−018791号公報 特公平6−017870号公報
本発明は、限られた大きさの受光素子を有した位置検出光センサを用いても、平行光を効率的に受光素子まで導き、かつ十分な測定感度および測定範囲を有する示差屈折率計を提供することを目的とする。
本発明者は、偏向型示差屈折率計において、偏向方向と直交する方向に拡大したアパーチャにより、光源の発光出力を多めに採取する場合、照射位置の偏向方向と直交する方向に収束効果を有するシリンドリカルレンズを使用することにより、限られた大きさの受光素子を有した位置検出光センサを用いても測定感度を損なうことなく十分な測定範囲を有する示差屈折率計が得られることを見いだし、本発明を完成させた。
すなわち、第一の発明は、
概ね平行光を生成する光源部と、
アパーチャと、
内部が平行光の光軸に対して傾斜した斜板で仕切られた、参照液と試料液を通過させるための二つの中空部を有するフローセルと、
フローセルを透過した平行光の偏向を検出するための位置検出光センサと、
位置検出光センサの出力信号から屈折率を演算する演算部と、
を備えた示差屈折率計において、
位置検出光センサにおける平行光の照射位置を偏向方向と直交する方向に収束可能なシリンドリカルレンズを、アパーチャとフローセルとの間、またはフローセルと位置検出光センサとの間に、さらに備えた、示差屈折率計である。
また、第二の発明は、光源部とフローセルと位置検出光センサとが当該順序で概ね直線に配置された、第一の発明に記載の示差屈折率計である。
また、第三の発明は、
フローセルを透過した平行光を反射し再びフローセルに平行光を透過させるためのミラーをさらに備え、
位置検出光センサが再びフローセルを透過した平行光の偏向を検出するセンサである、第一の発明に記載の示差屈折率計である。
以下、本発明を詳細に説明する。
本発明の示差屈折率計は、アパーチャを平行光の偏向方向と直交する方向に拡大することで得られた、図1(b)に示す照射位置13を位置検出光センサ10における受光素子11内に収めるために、アパーチャとフローセルとの間、またはフローセルと位置検出光センサとの間にシリンドリカルレンズを備えていることを特徴としている。照射位置13を収束させるには、通常の球面レンズを用いる方法がある。しかしながら、前記方法では収束させる必要がない照射位置13の平行光の偏向方向側も集光してしまう。位置検出光センサ10として図1に示す分割型フォトダイオードを用いる場合、照射位置13が平行光の偏向方向に収束すると、照射位置13に占める前記フォトダイオードの受光素子間ギャップ12の割合が相対的に大きくなるため、感度低下、測定範囲縮小の原因(図1(c)参照)となる。シリンドリカルレンズを用いれば、照射位置13は偏向方向と直交する方向にしか収束しないため、受光素子間ギャップ12の影響を抑えることができる。シリンドリカルレンズを備えることにより得られた照射位置13を模式的に図1(d)に示す。本発明の示差屈折率計におけるシリンドリカルレンズは照射位置13の偏向方向と直交する方向に収束効果を発揮するように設けるため、得られた照射位置13の面積は図1(a)における照射位置13と同等となり、その光量はアパーチャを偏向方向と直交する方向に拡大した図1(b)の照射位置13と同じとなる。また、シリンドリカルレンズによる収束効果は照射位置13の平行光の偏向方向には及ばないため、受光素子間ギャップ12の影響が相対的に大きくなることはなく、測定範囲に悪影響を及ぼすことなく十分な測定感度を得ることが可能となる。
本発明の示差屈折率計の一態様として、
概ね平行光を生成する光源部と、
アパーチャと、
内部が平行光の光軸に対して傾斜した斜板で仕切られた、参照液と試料液を通過させるための二つの中空部を有するフローセルと、
フローセルを透過した平行光の偏向を検出するための位置検出光センサと、
が当該順序で概ね直線に配置された、いわゆるシングルパス方式の示差屈折率計において、
位置検出光センサにおける平行光の照射位置を偏向方向と直交する方向に収束可能なシリンドリカルレンズを、アパーチャとフローセルとの間またはフローセルと位置検出光センサとの間にさらに備えた、示差屈折率計があげられる。前記態様では、光学系の部品点数が少なく、各構成要素の位置や角度の調整が比較的容易であるという利点を有する。
また、本発明の示差屈折率の別の態様として、
概ね平行光を生成する光源部と、
アパーチャと、
内部が平行光の光軸に対して傾斜した斜板で仕切られた、参照液と試料液を通過させるための二つの中空部を有するフローセルと、
フローセルを透過した平行光を反射し再びフローセルに平行光を透過させるためのミラーと、
再びフローセルを透過した(2回フローセルを透過した)平行光の偏向を検出するための位置検出光センサと、
を備えた、いわゆるダブルパス方式の示差屈折率計において、位置検出光センサにおけるフローセルを透過した平行光の照射位置を偏向方向と直交する方向に収束可能なシリンドリカルレンズを、アパーチャとフローセルとの間またはフローセルと位置検出光センサとの間にさらに備えた、示差屈折率計があげられる。前記態様では、平行光がフローセルを往復するので、屈折率変化による平行光の角度変化が2倍となり感度が向上するという利点を有する。
本発明の示差屈折率計で用いるシリンドリカルレンズは、少なくとも一方向すなわち照射位置の偏向方向と直交する方向に平行光を収束する効果を有するシリンドリカル面を有するレンズであればよい。シリンドリカルレンズの例として、円柱形からなるシリンドリカルレンズ、円柱を縦に割った形状(かまぼこ状)からなる平凸形のシリンドリカルレンズ、円柱の側面を円形にくり抜いた形状からなるシリンドリカルレンズをあげることができる。また、平行光の偏向方向と、偏向方向と直交する方向に異なる屈折力を有するトーリック面を有したレンズであっても、平行光の偏向方向への屈折力が測定感度や測定範囲に悪影響を及ぼさなければ、本発明の示差屈折率計におけるシリンドリカルレンズとして使用することができる。
本発明の示差屈折率計において光源部は概ね平行光を生成する必要がある。指向性の良いレーザー光源を使用するときはそのままでもよいが、点光源を使用するときは、点光源からでた光を平行光に変換させる必要がある。平行光への変換方法としては、以下の方法が例示できる。
(1)レンズ付ランプやレンズ付発光ダイオードを用いる方法。
(2)輝度の高い光源と適正に選択されたレンズを組み合わせる方法。
(3)光源から十分離れた位置にフローセルを設置する方法。
このうち、本発明の示差屈折率計における平行光への変換方法としては、良質な平行光が得られる(2)の方式が最も好ましい。(2)の方式で用いる光源としては、タングステンランプ、ハロゲン封入タングステンランプ、発光ダイオードが例示できる。なお、本発明の示差屈折率計は、平行光の偏向方向と直交する方向に拡大したアパーチャを用いることができるため、光源部からの平行光をより多く位置検出光センサに照射させることができる。そのため、発光出力が比較的小さい発光ダイオードを光源として適用した場合、特に本発明の効果が発揮される。(2)の方式で使用するレンズの口径はレンズの有効径がアパーチャの透過部を包含するように適宜選択すればよい。また、光源から発した光を有効に利用するためにレンズと光源との距離はなるべく近づけて、有効立体角を広げたほうが好ましい。(2)の方式で使用するレンズは球面レンズのほかに、球面収差を抑えるための非球面レンズや、アクロマティックレンズに代表される貼合せレンズを用いることもできる。なお、本発明における光源部が発する平行光は、概ね平行光であればよく、平行光に対して僅かに収束する光、あるいは僅かに発散する光であってもよい。平行光断面内の光強度分布は、フローセル中の参照液流路や試料液流路の幅方向および前記フローセルを透過した光の偏向方向に対して概ね均一であればよい。また、光強度分布の均一性を改善するために、ビーム変換レンズを使ったり、平行光の強度分布と逆の空間分布を示す吸収特性をもたせたフィルタなどを用いてもよい。
本発明の示差屈折率計で用いるフローセルの一態様として、試料液と参照液をそれぞれ通過させるための一対の中空部(直角三角形断面をもつ液体流路)をもつフローセルをあげることができる。フローセルの材質は光の透過性と液体に対する耐蝕性を考慮して適宜選択すればよいが、多くの場合、透明な石英ガラスが用いられる。また、光が通過する部分以外の全て、あるいは一部を黒色石英ガラスといった不透明体材料で作ってもよい。フローセルの別の態様として、試料液に溶解した目的成分の広がりを防ぐために、試料液を流す中空部の断面積を参照液を流す中空部の断面積より小さくしたフローセルをあげることができる。
本発明の示差屈折率計で用いる位置検出光センサとしては、図1に示した受光素子が左右に2分割されたフォトダイオードのほかにも、2×2分割されたフォトダイオード、さらに細かく分割されたフォトダイオード、1次元CCDセンサ、および1次元CMOSセンサといったセンサを用いることができる。さらに、2次元CCDセンサ、および2次元CMOSセンサといったセンサも本発明における位置検出光センサとして使用可能である。
位置検出センサにて検出した平行光は、光源の発光量に変動がなければ、各受光素子に生じる光電流を電流電圧変換回路等を用いて電圧信号に変換した後、差回路を使うことによって、出力として示差屈折率信号を得ることができる。また、差回路と和回路を使って2素子の差信号と和信号を求め、さらに割算回路を使って差信号を和信号で割ることによって、出力として示差屈折率信号を得ることもできる。示差屈折率信号を得る際は、ノイズ信号を抑制するために適宜フィルタ回路を用いることができる。電流電圧変換回路にはノイズやドリフトを減らすため、オフセット電流やバイアス電流が小さい高精度オペアンプを使うのが好ましい。また、アナログ演算回路を用いる代わりに、各受光面から得られた電圧信号を、ΔΣ型AD変換器などのAD変換器でデジタル値に変換し、デジタル回路で割算演算を行ない、示差屈折率信号を得ることができる。AD変換器の前には適宜アンチエリアスフィルタ回路を挿入することができる。また、デジタル値に変換した後、デジタルフィルタを掛けてもよい。
以下、本発明の示差屈折率計の具体的態様を図2から5を用いて説明する。
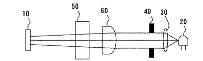
図2は、
光源20および球面レンズ30からなる概ね平行光を生成する光源部と、
アパーチャ40と、
内部が平行光の光軸に対して傾斜した斜板で仕切られた、参照液と試料液を通過させるための二つの中空部を有するフローセル50と、
フローセルを透過した平行光の偏向を検出するための位置検出光センサ10と、
が当該順序で概ね直線に配置された、シングルパス方式の示差屈折率計において、シリンドリカルレンズ60を位置検出光センサ10とフローセル50との間に設けた態様を示す。光源20によって発せられた光はその直後に設けた球面レンズ30によって概ね平方光を生成した後、偏向方向と直交する方向に拡大したアパーチャ40を通過させる。アパーチャを通過した平行光は、フローセル50透過後、シリンドリカルレンズ60によって偏向方向と直交する方向に収束させ、位置検出光センサ10に照射する。図3は、図2のうち、シリンドリカルレンズ60をフローセル50のアパーチャ40側に設けた態様を示す。
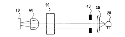
図4は、
光源20および球面レンズ30からなる概ね平行光を生成する光源部と、
アパーチャ40と、
内部が平行光の光軸に対して傾斜した斜板で仕切られた、参照液と試料液を通過させるための二つの中空部を有するフローセル50と、
フローセル50を透過した平行光を反射し再びフローセル50に平行光を透過させるためのミラー70と、
再びフローセル50を透過した(2回フローセル50を透過した)平行光の偏向を検出するための位置検出光センサ10と、
を備えた、いわゆるダブルパス方式の示差屈折率計において、シリンドリカルレンズ60を位置検出光センサ10とフローセル50との間に設けた態様を示す。光源20によって発せられた光は偏向方向と直交する方向に拡大したアパーチャ40を通過後、球面レンズ30を通過することで概ね平方光を生成する。球面レンズ30を通過した平行光は、フローセル50透過後、ミラー70によって反射し、再びフローセル50および球面レンズ30を通過する。球面レンズ30を通過した平行光は、シリンドリカルレンズ60を通過することで、さらに偏向方向と直交する方向に収束した後、位置検出光センサ10に照射される。図5は、図4のうち、球面レンズ30を光源20の直後に、シリンドリカルレンズ60をフローセル50のアパーチャ40側に、それぞれ設けた態様を示す。
本発明の示差屈折率計は、偏向方向に直交した方向に拡大したアパーチャを通過した平行光をシリンドリカルレンズにより偏向方向に直交した方向に収束させて、位置検出光センサにフローセルを透過した平行光を照射させている。よって、従来と同じ大きさの受光素子を用いた場合は、測定範囲に悪影響を及ぼすことなく、より多くの光量を位置検出光センサの受光素子に照射させることができ、光量が比較的少ない光源であっても、測定感度の高い示差屈折率計を提供することができる。一方、光量が十分な光源を使用した場合は、従来よりも小さな受光素子からなる位置検出光センサを用いることができるため、より安価に示差屈折率計を製造することができる。
本発明の示差屈折率計における位置検出光センサ10への照射位置13を、従来技術と比較して説明した図である。 本発明の示差屈折率計の一態様(シングルパス方式示差屈折率計において、フローセル50と位置検出光センサ10との間にシリンドリカルレンズ60を設けた態様)を示した構成図(側面図)である。 本発明の示差屈折率計の別の態様(シングルパス方式示差屈折率計において。アパーチャ40とフローセル50との間にシリンドリカルレンズ60を設けた態様)を示した構成図(側面図)である。 本発明の示差屈折率計の別の態様(ダブルパス方式示差屈折率計において、フローセル50と位置検出光センサ10との間にシリンドリカルレンズ60を設けた態様)を示した構成図(側面図)である。 本発明の示差屈折率計の別の態様(ダブルパス方式示差屈折率計において、アパーチャ40とフローセル50との間にシリンドリカルレンズ60を設けた態様)を示した構成図(側面図)である。 実施例1において、本発明のシングルパス方式示差屈折率計(シリンドリカルレンズあり)とシリンドリカルレンズを用いない従来のシングルパス方式示差屈折率計との信号ベースラインの比較を表す図である。
以下、本発明を実施例によりさらに詳細に説明するが、本発明は実施例に限定されるものではない。
実施例1
図2に示す、シリンドリカルレンズ60をフローセル50と位置検出光センサ10との間に設けたシングルパス方式示差屈折率計と、図2からシリンドリカルレンズ60を除いた従来の示差屈折率計とを用いて、それぞれの信号ベースラインを比較した。測定条件を下記に示す。
測定条件:
溶離液/試料液:ともに純水
流速:試料液側/参照液側ともに0.2mL/分
カラム:試料液側/参照液側ともにダミーカラムφ0.1×2m×2個直列
ポンプ・カラム・検出器の設定温度:40℃
室内設定温度:25℃
それぞれの示差屈折率計を用いたときの、1分間の信号ベースライン変化を示したクロマトグラムを図6に示す。横軸は時間[分]、縦軸は屈折率単位[RIU]をそれぞれ示す。なお、明確な比較ができるよう縦軸の絶対値はずらしている(出力信号の絶対値に意味はなく、信号の振れ幅が有意な値である)。シリンドリカルレンズをさらに備えた本発明の示差屈折率計は、従来の示差屈折率計と比較してノイズが縮小しており、従来の示差屈折率計よりも高感度な検出が可能であることが確認された。
10:位置検出光センサ
11:受光素子
12:受光素子間ギャップ
13:照射位置
20:光源
30:球面レンズ
40:アパーチャ
50:フローセル
60:シリンドリカルレンズ
70:ミラー

Claims (3)

  1. 概ね平行光を生成する光源部と、
    アパーチャと、
    内部が平行光の光軸に対して傾斜した斜板で仕切られた、参照液と試料液を通過させるための二つの中空部を有するフローセルと、
    フローセルを透過した平行光の偏向を検出するための位置検出光センサと、
    位置検出光センサの出力信号から屈折率を演算する演算部と、
    を備えた示差屈折率計において、
    位置検出光センサにおける平行光の照射位置を偏向方向と直交する方向に収束可能なシリンドリカルレンズを、アパーチャとフローセルとの間、またはフローセルと位置検出光センサとの間に、さらに備えた、示差屈折率計。
  2. 光源部とフローセルと位置検出光センサとが当該順序で概ね直線に配置された、請求項1に記載の示差屈折率計。
  3. フローセルを透過した平行光を反射し再びフローセルに平行光を透過させるためのミラーをさらに備え、
    位置検出光センサが再びフローセルを透過した平行光の偏向を検出するセンサである、請求項1に記載の示差屈折率計。
JP2009261825A 2009-11-17 2009-11-17 示差屈折率計 Active JP5482132B2 (ja)

Priority Applications (1)

Application Number Priority Date Filing Date Title
JP2009261825A JP5482132B2 (ja) 2009-11-17 2009-11-17 示差屈折率計

Applications Claiming Priority (1)

Application Number Priority Date Filing Date Title
JP2009261825A JP5482132B2 (ja) 2009-11-17 2009-11-17 示差屈折率計

Publications (2)

Publication Number Publication Date
JP2011106944A true JP2011106944A (ja) 2011-06-02
JP5482132B2 JP5482132B2 (ja) 2014-04-23

Family

ID=44230591

Family Applications (1)

Application Number Title Priority Date Filing Date
JP2009261825A Active JP5482132B2 (ja) 2009-11-17 2009-11-17 示差屈折率計

Country Status (1)

Country Link
JP (1) JP5482132B2 (ja)

Cited By (3)

* Cited by examiner, † Cited by third party
Publication number Priority date Publication date Assignee Title
WO2019069527A1 (ja) * 2017-10-04 2019-04-11 株式会社島津製作所 示差屈折率検出器
CN111337454A (zh) * 2020-04-17 2020-06-26 湖南文理学院 基于激光干涉技术的溶液浓度快速检测方法
CN112567228A (zh) * 2018-10-18 2021-03-26 聚合物表征股份有限公司 具有扩展的测量范围的偏转型折射仪

Citations (2)

* Cited by examiner, † Cited by third party
Publication number Priority date Publication date Assignee Title
JPH04361139A (ja) * 1991-06-07 1992-12-14 Shimamura Keiki Seisakusho:Yugen 液体クロマトグラフィー用示差屈折率検出装置
JPH07146123A (ja) * 1993-11-25 1995-06-06 Alps Electric Co Ltd 傾き検出装置およびこれを使用した入力装置

Patent Citations (2)

* Cited by examiner, † Cited by third party
Publication number Priority date Publication date Assignee Title
JPH04361139A (ja) * 1991-06-07 1992-12-14 Shimamura Keiki Seisakusho:Yugen 液体クロマトグラフィー用示差屈折率検出装置
JPH07146123A (ja) * 1993-11-25 1995-06-06 Alps Electric Co Ltd 傾き検出装置およびこれを使用した入力装置

Non-Patent Citations (3)

* Cited by examiner, † Cited by third party
Title
JPN6013036051; BRANDENBURG,A.: '"Differential refractometry by an integrated-optical Young interferometer"' Sensors and Actuators B Volumes 38-39, 1997, Pages 266-271 *
JPN6013036053; CAMPBELL,D.N.他: '"Recording Differential Refractometer"' INDUSTRIAL AND ENGINEERING CHEMISTRY Volume 46, Number 7, 195407, Pages 1409-1412 *
JPN7013002717; BALDINI,F. 他: '"A compact optical system for the interrogation of microcantilevers"' Proceedings of SPIE Volume 6619, 2007, Article 661924 *

Cited By (9)

* Cited by examiner, † Cited by third party
Publication number Priority date Publication date Assignee Title
WO2019069527A1 (ja) * 2017-10-04 2019-04-11 株式会社島津製作所 示差屈折率検出器
CN111094946A (zh) * 2017-10-04 2020-05-01 株式会社岛津制作所 差示折光检测器
JPWO2019069527A1 (ja) * 2017-10-04 2020-10-15 株式会社島津製作所 示差屈折率検出器
CN111094946B (zh) * 2017-10-04 2022-07-12 株式会社岛津制作所 差示折光检测器
CN112567228A (zh) * 2018-10-18 2021-03-26 聚合物表征股份有限公司 具有扩展的测量范围的偏转型折射仪
US20210262994A1 (en) * 2018-10-18 2021-08-26 Polymer Characterization, S.A. Deflection-type refractometer with extended measurement range
US11953476B2 (en) * 2018-10-18 2024-04-09 Polymer Characterization, S.A. Deflection-type refractometer with extended measurement range
CN112567228B (zh) * 2018-10-18 2024-06-11 聚合物表征股份有限公司 具有扩展的测量范围的偏转型折射仪
CN111337454A (zh) * 2020-04-17 2020-06-26 湖南文理学院 基于激光干涉技术的溶液浓度快速检测方法

Also Published As

Publication number Publication date
JP5482132B2 (ja) 2014-04-23

Similar Documents

Publication Publication Date Title
CN102147234B (zh) 激光三角测距传感器
US7423756B2 (en) Internally-calibrated, two-detector gas filter correlation radiometry (GFCR) system
JP2007219514A (ja) 光タップモジュール
JP2011242397A (ja) クロマティック共焦点センサ光学ペン
JP5976750B2 (ja) 透明基板の表面パターン不良測定装置
JP5482132B2 (ja) 示差屈折率計
KR100474864B1 (ko) 광 투과율 측정방법 및 그 장치
US20150177160A1 (en) Non-Imaging Coherent Line Scanner Systems and Methods for Optical Inspection
JP5309785B2 (ja) 示差屈折率計
JP2008064594A (ja) 濁度計
CN106092968A (zh) 光学检测装置及方法
TWI637422B (zh) 用於電子束偵測之裝置及具有電子束偵測之電光系統
JP2006047166A (ja) 濁度計
US7460235B2 (en) Two-detector gas filter correlation radiometry (GFCR) system using two-dimensional array detection of defocused image and detected-signal summation
CN102103017A (zh) 一种新型非制冷红外焦平面成像系统
EP3511699B1 (en) Refractometer apparatus and method for optically measuring a refractive index difference
JP2009281958A (ja) 示差屈折率計
JP2010025905A (ja) 示差屈折率計
JP2010038741A (ja) 示差屈折率計
JP2009294112A (ja) 示差屈折率計
US9461443B2 (en) Optical system having reduced pointing-error noise
JP6179180B2 (ja) 示差屈折率計
CN207730671U (zh) 手持式libs光学系统
US20050051717A1 (en) Angle detection device for rotational body
CN102124318A (zh) 在例如流式细胞计中补偿由光与流体流中移动的粒子或生物细胞的相互作用产生的散射光信号的方法和设备

Legal Events

Date Code Title Description
A621 Written request for application examination

Free format text: JAPANESE INTERMEDIATE CODE: A621

Effective date: 20121024

A977 Report on retrieval

Free format text: JAPANESE INTERMEDIATE CODE: A971007

Effective date: 20130717

A131 Notification of reasons for refusal

Free format text: JAPANESE INTERMEDIATE CODE: A131

Effective date: 20130730

A521 Written amendment

Free format text: JAPANESE INTERMEDIATE CODE: A523

Effective date: 20130927

TRDD Decision of grant or rejection written
A01 Written decision to grant a patent or to grant a registration (utility model)

Free format text: JAPANESE INTERMEDIATE CODE: A01

Effective date: 20140121

A61 First payment of annual fees (during grant procedure)

Free format text: JAPANESE INTERMEDIATE CODE: A61

Effective date: 20140203

R151 Written notification of patent or utility model registration

Ref document number: 5482132

Country of ref document: JP

Free format text: JAPANESE INTERMEDIATE CODE: R151