JP2010097712A - コネクタ接続装置、コネクタ挿抜工具およびコネクタ挿抜管理システム - Google Patents

コネクタ接続装置、コネクタ挿抜工具およびコネクタ挿抜管理システム Download PDF

Info

Publication number
JP2010097712A
JP2010097712A JP2008265323A JP2008265323A JP2010097712A JP 2010097712 A JP2010097712 A JP 2010097712A JP 2008265323 A JP2008265323 A JP 2008265323A JP 2008265323 A JP2008265323 A JP 2008265323A JP 2010097712 A JP2010097712 A JP 2010097712A
Authority
JP
Japan
Prior art keywords
connector
light
identification information
connector adapter
information
Prior art date
Legal status (The legal status is an assumption and is not a legal conclusion. Google has not performed a legal analysis and makes no representation as to the accuracy of the status listed.)
Granted
Application number
JP2008265323A
Other languages
English (en)
Other versions
JP5047922B2 (ja
Inventor
Shigenori Uruno
重則 宇留野
Yuji Azuma
裕司 東
Masaki Wake
正樹 和氣
Current Assignee (The listed assignees may be inaccurate. Google has not performed a legal analysis and makes no representation or warranty as to the accuracy of the list.)
NTT Inc
Original Assignee
Nippon Telegraph and Telephone Corp
Priority date (The priority date is an assumption and is not a legal conclusion. Google has not performed a legal analysis and makes no representation as to the accuracy of the date listed.)
Filing date
Publication date
Application filed by Nippon Telegraph and Telephone Corp filed Critical Nippon Telegraph and Telephone Corp
Priority to JP2008265323A priority Critical patent/JP5047922B2/ja
Publication of JP2010097712A publication Critical patent/JP2010097712A/ja
Application granted granted Critical
Publication of JP5047922B2 publication Critical patent/JP5047922B2/ja
Expired - Fee Related legal-status Critical Current
Anticipated expiration legal-status Critical

Links

Images

Landscapes

  • Mechanical Coupling Of Light Guides (AREA)
  • Details Of Connecting Devices For Male And Female Coupling (AREA)
  • Manufacturing Of Electrical Connectors (AREA)

Abstract

【課題】 コネクタプラグの挿抜作業者に作業対象とするコネクタアダプタ端子を確実に認識させて作業対象の誤認を未然に防止する。
【解決手段】 コネクタプラグの接続・抜去を行うコネクタアダプタ12がユニット化されたコネクタ接続盤111〜113を回路基板131〜133に装着し、各基板のコネクタアダプタ12に対応する位置に光表示素子14を配置し、表示制御装置17によって光表示素子14の変調駆動を制御する。このようにして、コネクタ挿抜作業時に、コネクタアダプタ12を特定できる識別情報を変調発光させ、作業者がその発光情報の識別機能を備えた工具を用いて識別情報を確認しながら挿抜作業を行えるようにした。
【選択図】 図1

Description

本発明は、それぞれコネクタプラグが接続される複数のコネクタアダプタ端子をユニット化したコネクタ接続盤を複数個配列してなるコネクタ接続装置と、このコネクタ接続装置に対して任意のコネクタプラグ挿抜するためのコネクタ挿抜工具と、コネクタ接続装置の全コネクタアダプタそれぞれに関する情報を管理して挿抜作業者/管理者に提示するコネクタ挿抜管理システムに関する。
従来のコネクタ接続盤は、多数のコネクタのアダプタ端子(以下、コネクタアダプタと記す)をユニット化し、任意のコネクタアダプタに対してコネクタプラグを接続または抜去することが可能となされている。ところで、この種のコネクタ接続盤にあっては、高密度実装のためにコネクタの誤接続、誤抜去が多くなっている。このことから、コネクタアダプタそれぞれの近傍にLED等の発光素子を配置し、コネクタプラグの接続・抜去対象となるコネクタアダプタの近傍に配置された発光素子を点灯させることで、接続・抜去対象のアダプタ位置を案内することが提案されている(例えば特許文献1参照)。
特開2007−232960号公報
しかしながら、上記のようなコネクタ接続装置における発光素子点灯による接続・抜去案内方法では、接続・抜去対象コネクタアダプタを目視で案内するようにしているにすぎず、作業者は作業対象のアダプタに関する情報が直接得られないため、作業対象の誤認を生じてしまい、誤接続または誤抜去を引き起こすおそれがある。
本発明の目的は、コネクタプラグの挿抜作業者に作業対象とするコネクタアダプタを確実に認識させて作業対象の誤認を未然に防止し、接続状態の変更があっても正確な配線作業と正確な配線データを構築することのできるコネクタ接続装置、コネクタ挿抜工具およびそのコネクタ挿抜管理システムを提供することを目的とする。
上記目的を達成するために本発明は以下のような態様による構成とする。
(1)複数のコネクタアダプタ端子にコネクタプラグを接続または抜去するコネクタ接続装置において、前記複数のコネクタアダプタ端子それぞれの近傍に個別に対応付けられて配置される複数の光表示素子と、前記複数の光表示素子をそれぞれ変調駆動する表示制御手段と、前記複数のコネクタアダプタ端子それぞれを識別するための識別情報を取得する情報取得手段とを具備し、前記表示制御手段は、前記情報取得手段から各コネクタアダプタ端子の識別情報を取得し、当該識別情報により各コネクタアダプタ端子に対応する光表示素子を変調駆動することを特徴とする。
(2)(1)の構成において、前記情報取得手段は、予め前記複数のコネクタアダプタ端子それぞれの識別情報を格納し、個々のコネクタの接続・抜去作業を実行する毎にその履歴を前記コネクタ情報に追加することを特徴とする。
(3)(1)または(2)の構成において、前記表示制御手段は、前記光表示素子を少なくとも前記識別情報により変調駆動して可視光領域で発光させるもモード、前記識別情報により変調駆動して非可視光領域で発光させるモードを備えることを特徴とする。
(4)(1)乃至(3)の構成において、さらに、前記複数のコネクタアダプタ端子それぞれの近傍に個別に対応付けられて配置されて信号光を受光する複数の受光素子と、前記複数の受光素子それぞれで受光された光信号を復調することによって任意の情報を取得する受信手段とを備えることを特徴とする。
(5)複数のコネクタアダプタ端子にコネクタプラグを接続または抜去するコネクタ接続装置であって、前記複数のコネクタアダプタ端子それぞれの近傍に個別に対応付けられて配置される複数の光表示素子と、前記複数の光表示素子をそれぞれ変調駆動する表示制御手段と、前記複数のコネクタアダプタ端子それぞれを識別するための識別情報を取得する情報取得手段とを具備し、前記表示制御手段が、前記情報取得手段からコネクタアダプタ端子の識別情報を取得し、当該識別情報により各コネクタアダプタ端子に対応する光表示素子を変調駆動するコネクタ接続装置に用いられ、前記複数のコネクタアダプタ端子の任意の端子に対して前記コネクタプラグを接続または抜去するコネクタ挿抜工具において、前記コネクタプラグの挿抜部に配置され、前記コネクタアダプタ端子に対応付けられて配置された光表示素子の表示光を受光する受光素子と、前記受光素子で受光された表示光を復調して前記識別情報を取得する受信手段とを具備することを特徴とする。
(6)(5)の構成において、前記コネクタ接続装置がさらに、前記複数のコネクタアダプタ端子それぞれの近傍に個別に対応付けられて配置されて信号光を受光する複数の受光素子と、前記複数の受光素子それぞれで受光された光信号を復調することによって情報を取得する受信手段とを備えるとき、前記コネクタプラグの挿抜部に配置され、前記複数のコネクタアダプタ端子それぞれに対応付けられて配置された複数の受光素子に向けて表示光を発する光表示素子と、任意の情報により前記光表示素子を変調駆動する表示制御部とを具備することを特徴とする。
(7)複数のコネクタアダプタ端子にコネクタプラグを接続または抜去するコネクタ接続装置であって、前記複数のコネクタアダプタ端子それぞれの近傍に個別に対応付けられて配置される複数の光表示素子と、前記複数の光表示素子をそれぞれ変調駆動する表示制御手段と、前記複数のコネクタアダプタ端子それぞれを識別するための識別情報を取得する情報取得手段とを備え、前記表示制御手段が、前記情報取得手段から各コネクタアダプタ端子の識別情報を取得し、当該識別情報により各コネクタアダプタ端子に対応する前記光表示素子を変調駆動するコネクタ接続装置と、前記複数のコネクタアダプタ端子の任意の端子に対して前記コネクタプラグを接続または抜去する挿抜部に配置され、前記コネクタアダプタ端子に対応付けられて配置された光表示素子の表示光を受光する受光素子と、前記受光素子で受光された表示光を復調して前記コネクタアダプタ端子の識別情報を取得する受信手段とを備えるコネクタ挿抜工具とを具備し、前記コネクタ接続装置は、前記コネクタプラグに予め付与される識別情報により当該プラグの挿抜を行うコネクタアダプタ端子に対応する光表示素子を変調駆動し、前記コネクタ挿抜工具は、前記光表示素子の表示光を受光して前記コネクタプラグの識別情報を復調することで挿抜対象のコネクタアダプタ端子を識別することを特徴とする。
(8)(7)の構成において、前記コネクタ接続装置は、さらに、前記複数のコネクタアダプタ端子それぞれの近傍に個別に対応付けられて配置されて信号光を受光する複数の受光素子と、前記複数の受光素子それぞれで受光された光信号を復調することによって情報を取得する受信手段とを備え、前記コネクタ挿抜工具は、前記コネクタプラグの挿抜部に配置され、前記複数のコネクタアダプタ端子それぞれに対応付けられて配置された複数の受光素子に向けて表示光を発する光表示素子と、任意の情報により前記光表示素子を変調駆動する表示制御部とを備え、前記コネクタ接続装置とコネクタ挿抜工具との間で表示光による双方向通信を行うことを特徴とする。
(9)(7)または(8)の構成において、前記コネクタ接続装置の情報取得手段は、前記複数のコネクタアダプタ端子それぞれに対して行われた挿抜の履歴を蓄積する情報記憶部を備えることを特徴とする。
以上のように、本発明では、コネクタアダプタ端子近傍にコネクタアダプタ端子を識別する光表示素子を設け、光表示素子を識別情報により変調駆動して発光させることで、コネクタアダプタ端子の識別や配線情報の更新を即時に実行することが可能となり、正確で経済的な挿抜管理システムを構築することが可能となる。
したがって、本発明によれば、コネクタプラグの挿抜作業者に作業対象とするコネクタアダプタを確実に認識させて作業対象の誤認を未然に防止し、接続状態の変更があっても正確な配線作業と正確な配線データを構築することのできるコネクタ接続装置、コネクタ挿抜工具およびそのコネクタ挿抜管理システムを提供することができる。
以下、図面を参照して本発明の実施の形態を詳細に説明する。
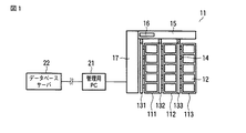
図1は本発明の一実施形態に係るコネクタ接続装置の構成を示す概念図である。図1において、111〜113はそれぞれn連(図では5連)MU(Miniature Unit)コネクタアダプタ12を一体形成した既存のコネクタ接続盤である。各コネクタ接続盤111〜113は、それぞれm列(図では3列)に配置されたプリント配線による回路基板131〜133に装着される。回路基板131〜133には、それぞれ装着されたコネクタ配線盤111〜113の各コネクタアダプタ12の近傍に対応付けられて位置するように、LED等の発光素子による光表示素子14がプラグ挿入方向に向けて配置される。
各回路基板131〜133はそれぞれマザーボード15に並列に装着配線される。マザーボード15は、全コネクタアダプタ12のコネクタ接続情報を格納するための情報記憶部16を備え、各光表示素子14の表示を作業者の操作入力または管理用コンピュータ装置21からの指定入力に応じて制御する表示制御装置17に接続される。この表示制御装置17は、上記管理用コンピュータ装置21を通じて、多数のコネクタ接続装置の全コネクタアダプタの接続に関する情報を一元管理するデータベースサーバ22に接続され、任意のコネクタ接続装置におけるコネクタアダプタの識別情報を取得可能となされている。
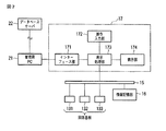
上記表示制御装置17は、情報記憶部16と共にコネクタ挿抜管理機能を構成するものである。図2にコネクタ挿抜管理機能の具体的な構成を示す。図2において、表示制御装置17は、上記管理用コンピュータ装置21と接続して情報の入出力を行うインターフェース部171と、作業者の指示操作入力を受け付ける操作入力部172と、全コネクタアダプタ12に対応する各光表示素子14を表示制御する表示処理部173と、表示処理部173の処理に要する情報を表示する表示部174とを備える。上記表示処理部173は、インターフェース部171を通じて管理用コンピュータ装置21から入力される指示、または操作入力部172からの操作入力による指示に従って、情報記憶部16から各コネクタアダプタ12に対応する識別情報を取り出して、光表示素子14の表示情報を制御する。
上記情報記憶部16への情報の書き込みや変更は、表示処理部173及び表示部174を用いて操作入力部172からの操作入力指示に従って行われる。また、インターフェース部171を通じて管理用コンピュータ装置21からの指示を受けてもよい。上記情報記憶部16には、コネクタ接続盤111〜113の各コネクタアダプタ12のコネクタプラグ等との接続情報、接続先の装置、サービス提供先のリスト、配線作業の履歴、作業者などの情報を必要に応じて保持され、管理用コンピュータ装置21、データベースサーバ22が接続されていなくでも、任意の情報を取得可能となされている。保持データとしてはテキストデータのほかに音声や画像として保持することもできるものとする。
上記回路基板131〜133は、図3に示すように、光表示素子141〜14n毎に、表示情報判別部A1〜An、変調駆動部B1〜Bnを備え、表示制御部17から表示すべき識別情報が与えられると、管理している光表示素子を対象としているか判別し、対象としている系統では、変調駆動部B1〜Bnにおいて、入力した表示情報によって光表示素子141〜14nを変調駆動し、これによって識別情報を信号光に乗せて送出する。変調方式としては、一般的には強度変調または周波数変調が利用可能であり、可視光で変調するモードと非可視光で変調するモードを備えることで、作業者が特定の端子を目視で確認することが可能となる。
上記構成において、以下にその運用について説明する。
図1に示すように、光表示素子14はコネクタ接続盤111〜113のコネクタアダプタ12の端子近傍に設置され、光表示素子14の表示状態は表示制御装置17により制御される。光表示素子12は回路基板131〜133のコネクタ接続盤側のコネクタアダプタ12に対応する近傍に取り付けられる。n連MUコネクタアダプタで構成されるコネクタ接続盤111〜113においては、回路基板131〜133に表示素子3をコネクタアダプタ12の端子位置にあわせて配置する。表示制御装置17と光表示素子14との間はマトリクス回路によって接続することで配線数を最小限にすることができる。また光表示素子14を回路基板131〜133に取り付けることで、既設のコネクタ接続盤に容易に取り付けることができる。表示制御装置17と光表示素子14との配線はマトリクス回路にすることで、複数の光表示素子14の配線数を少なくすることができる。
また、指定のコネクタアダプタ12にコネクタプラグ(図示せず)を接続するときは、指定の端子を目視できる表示光で発光させることで、接続端子を明示することができる。コネクタアダプタ12に対応する端子表示光は点灯、消灯の他に点滅表示を行い、それぞれに意味付けすることができる。コネクタアダプタ12の両サイドに光表示素子14を実装した回路基板が配置されている場合は、コネクタ端子の両サイドの光表示素子14を発光させることで、より正確にコネクタ端子の位置を明示することができる。これにより、作業者は発光している光表示素子14の近傍に位置する端子にコネクタプラグを接続すればよく、端子を探す作業が簡略化することができる。
光表示素子14の表示光の表示色を変えることで、提供しているサービスの種別などを明示することもできる。光表示素子14はLEDを使用することができる。小型のLEDも普及しており、高密度に集積されたMUコネクタ接続盤などでも十分に設置可能である。
本実施形態では、コネクタ接続盤111〜113が接続されるマザーボード15に情報記憶部16が実装される。これにより、情報記憶部16にはコネクタアダプタ12の各々の端子に関する情報を保持することができる。また、コネクタプラグ等との接続情報も含めて保持することができる。また、情報記憶部16には接続先の装置、サービスを提供先のリスト、配線作業の履歴、作業者などの情報を保持することができる。保持データとしてはテキストデータのほかに音声や画像として保持することもできる。
このような情報記憶部16への情報の書き込みや変更は、表示制御装置17の情報処理部173と表示部174を使用する。また、インターフェース部171から汎用PC(Personal Computer)による管理用コンピュータ装置21に接続し、当該コンピュータ装置21との間で識別情報を入出力することができる。
図4は、上記表示制御装置17による一連の処理の流れを示すフローチャートである。まず、コネクタ接続・抜去の実行指示入力を判断し(ステップS1)、指示入力を判別すると、コネクタ選択画面を表示し(ステップS2)、コネクタ指定入力を受け付ける(ステップS3)。コネクタ指定入力があった場合には、該当する識別情報を情報記憶部16から取得してコネクタ位置を表示して、例えばコネクタ接続盤単位で複数のアダプタ端子位置を変調発光させる(ステップS4)。このように変調された信号を受光して指定の端子であることを確認しながらコネクタ接続・発去の準備を行い(ステップS5)、指定のコネクタ接続・抜去を行って(ステップS6)一連の処理を終了する。
図5は本発明の実施形態に適用されるコネクタ端子識別機能を示す概念図である。図5において、Lは変調した表示光である。本実施形態のコネクタ端子識別部は変調した表示光を発光する光表示素子14による。光表示素子14は点灯や点滅、消灯、表示色などの目視確認ができる表示形態のほかに、コネクタアダプタ12の個々の端子情報で変調をかける。変調方法としては、強度変調や周波数変調が利用できる。端子情報を光信号で提示する場合、どの端子を検知しても即座に情報を取得できることが必要である。検知時間は1秒以下が好ましい。
また、コネクタ接続盤の高密度化が進められ、現在では4000心以上のMUコネクタ接続盤が普及している。このため、作業の効率性を考慮すると、これら多数のコネクタアダプタ端子についてどの端子でも1秒以内で検知できるようにすることが望ましい。そのためには、一定個数の端子をブロックにして、ブロック内の端子に対応する光表示素子14を同時に発光させるとよい。検証実験では、256端子以下を1ブロックに形成することで、1秒以下の検知時間を確保することができた。
図6は上記実施形態の構成に、さらにコネクタ端子識別用の変調表示光検知部18を回路基板131〜133に配置した場合の構成を示す図である。変調表示光検知部18で受光された信号光は、回路基板131〜133に設けられる復調部(図示せず)で復調されて上記表示制御装置17に送られる。すなわち、外部からの変調表示光を受光すると、その光受信信号を復調して伝送情報を受け取り、表示制御装置17で識別する機能を有する。尚、変調表示光検知部18の受光方向及びその変調表示光検知部18に隣接する光表示素子14からの表示光Lに指向性を持たせることで、隣接する表示光は読み込まない。
光表示素子14の表示光を受信するための光受信端末、変調表示光検知部18に対する外部からの表示光の光源はコネクタプラグの挿抜を行うコネクタ挿抜工具に装備することができる。図7は本実施形態のコネクタ挿抜工具31の構成を示すもので、この工具31はレバー311を引くことで工具先端部でコネクタプラグ30を把持することができる。この工具先端部に、光表示素子32、変調表示光検知部33を装備させ、信号処理部・IF(インターフェース)部34で前述の管理用コンピュータ装置21と接続して受信光、送信光の信号処理を実行する。これにより、回路基板131〜133とコネクタ挿抜工具31との間で双方向の通信を行うことができる。コネクタ挿抜工具31側から送信する光信号をコマンド信号にすれば、回路基板131〜133側で受信したコマンドを解析し、情報を出力または表示することもできる。
ここで、光表示素子32としてLED等を使用し、変調表示光検知部33にはフォトダイオードを用いることができる。コネクタ挿抜工具31に変調表示光検知部33を取り付けることで、コネクタプラグ30の挿抜時に変調した表示光を検知することができる。変調した表示光は全ての端子近傍で発光させることができるため、コネクタ挿抜時に任意の端子でコネクタ挿抜を行ってもどの端子を作業しているかが即時に判別することができる。作業指示書によるコネクタ挿抜作業は、通常が特定の端子を指定して行うので、誤った端子のコネクタ挿抜を行おうとすると、その誤りを事前にチェックすることができる。
コネクタ挿抜工具31にはロック機構部312を実装する。このロック機構部312により誤った端子の作業を実施しようとすると、前記のチェック機能によりコネクタプラグ30の挿抜ができないようにロックをかけることができる。特にコネクタの抜去は接続している通信が遮断されるために影響が大きい。本実施形態により、これらのヒューマンエラーを回避する機能が容易に構築することができる。
尚、変調表示光検知部18による信号識別処理は、コネクタアダプタ近傍以外でもよく、例えばコネクタ接続盤111〜113に設置することもできる。このようにした場合には、外部から変調した表示光のみを送信する機能を有するものからコマンド等を送信することで、接続情報や配線架情報、配線作業履歴等の情報を表示させることもできる。
また、このコネクタ挿抜工具31の信号処理部・IF部34は管理用コンピュータ装置21を通じてデータベースサーバ22に接続可能であり、識別情報を用いてコネクタ挿抜を管理する機能を有する。
図8は本実施形態のコネクタ挿抜管理をシステム化した場合の構成を示す概念図である。このとき、コネクタプラグ30には、予め識別用のIDが付与されており、各コネクタの情報はデータベースサーバ22で管理されている。コネクタ接続盤111〜113において個々のコネクタ12の接続を行う場合、コネクタアダプタ12の端子とコネクタプラグIDを指示する。これらの指示を受けて、表示制御装置17ではコネクタ接続盤111〜113の各光表示素子14を目視できる表示光で発光させる。作業者はコネクタプラグ30のIDを読み取り、正しいプラグをコネクタ挿抜工具31に把持し、表示している端子に接続する。このとき、コネクタ挿抜工具31の変調表示光検知部33で端子情報を取得し、指示内容と照合する。正しいと判断できた場合に接続を実施する。このとき、接続情報を管理用コンピュータ装置21を通じてデータベースサーバ22に通信してデータベースサーバ22の更新を即時に行うことができる。コネクタの抜去時も同様に実施することができる。
また、図8の実施形態において、図6に示す光表示素子14及び変調表示光検知部18と同様に、コネクタ挿抜工具31に光表示素子312と変調表示光検知部33を具備した場合には、さらにコネクタ接続盤111〜113とコネクタ挿抜工具31間において双方向の通信機能を提供することができる。コネクタ挿抜工具31側からコネクタ接続盤111〜113側にコネクタプラグ30のID情報を送信することや処理命令を送付することができる。コネクタ挿抜工具30側からコネクタプラグIDを送信した場合、コネクタ接続盤111〜113側のコネクタアダプタ端子12の検知部18がコネクタプラグIDを検知して、コネクタプラグIDとコネクタアダプタ端子の接続関係が認識される。この結果をデータベースシステムや情報記憶部16に保持することができる。
ところで、コネクタ接続盤111〜113におけるコネクタの接続や抜去作業は、通常、コネクタアダプタ端子やコネクタプラグID(番号)を指定して行われる。配線作業において指定どおりに作業が行われているかどうかを目視で確認しているが、本発明では、これらの確認を作業時に即座に実施することができ、誤接続や誤抜去を未然に防止することができる。また、正しい接続や抜去が行われたときには即座にDBに登録する機能を提供することができる。
コネクタ挿抜工具30側やコネクタ接続盤111〜113側の光表示素子14からコマンドを送信する場合には、作業性を考慮すると1秒以下でコマンドが認識できる必要があるが、これらのコマンドを変調信号で送付する場合、コマンド送信時間はコネクタアダプタ1端子当たり10ms以内にすることでコマンドを認識できる時間を1秒以内にすることができる。
コネクタ接続盤近傍のマザーボード15に実装した情報記憶部16には、接続情報として接続先の氏名や氏名ID、通信サービスの情報、伝送装置の情報、接続作業を行った作業者の情報や作業者履歴などの情報を記録でき正確で経済的な光配線管理システムを構築できる。
尚、この発明は上記実施形態そのままに限定されるものではなく、実施段階ではその要旨を逸脱しない範囲で構成要素を変形して具体化できる。また、上記実施形態に開示されている複数の構成要素の適宜な組み合わせにより、種々の発明を形成できる。例えば、実施形態に示される全構成要素から幾つかの構成を削除してもよい。さらに、異なる実施形態例に亘る構成要素を適宜組み合わせても良い。
本発明の一実施形態に係るコネクタ接続装置の構成を示す概念図。 上記実施形態のコネクタ挿抜管理機能の具体的な構成を示すブロック図。 上記実施形態に用いられる回路基板の具体的な構成を示すブロック図。 上記実施形態に用いられる表示制御装置による一連の処理の流れを示すフローチャート。 本発明の実施形態に適用されるコネクタ端子識別機能を示す概念図。 上記実施形態の構成に、さらにコネクタ端子識別用の変調表示光検知部18を回路基板131〜133に配置した場合の構成を示す概念図。 上記実施形態のコネクタ挿抜工具の構成を示すブロック図。 上記実施形態のコネクタ挿抜管理をシステム化した場合の構成を示す概念図。
符号の説明
111〜113…コネクタ接続盤、12…コネクタアダプタ、131〜133…回路基板、14…光表示素子、15…マザーボード、16…情報記憶部、17…表示制御装置、171…インターフェース部、172…操作入力部、173…表示処理部、174…表示部、18…変調表示光検知部、21…管理用コンピュータ装置、22…データベースサーバ、30…コネクタプラグ、31…コネクタ挿抜工具、311…レバー、312…ロック機構部、32…光表示素子、33…変調表示光検知部、34…信号処理部・IF(インターフェース)部。

Claims (9)

  1. 複数のコネクタアダプタ端子にコネクタプラグを接続または抜去するコネクタ接続装置において、
    前記複数のコネクタアダプタ端子それぞれの近傍に個別に対応付けられて配置される複数の光表示素子と、
    前記複数の光表示素子をそれぞれ変調駆動する表示制御手段と、
    前記複数のコネクタアダプタ端子それぞれを識別するための識別情報を取得する情報取得手段とを具備し、
    前記表示制御手段は、前記情報取得手段から各コネクタアダプタ端子の識別情報を受け取り、当該識別情報により各コネクタアダプタ端子に対応する光表示素子を変調駆動することを特徴とするコネクタ接続装置。
  2. 前記情報取得手段は、予め前記複数のコネクタアダプタ端子それぞれの識別情報を格納し、個々のコネクタの接続・抜去作業を実行する毎にその履歴を前記識別情報に追加することを特徴とする請求項1記載のコネクタ接続装置。
  3. 前記表示制御手段は、前記光表示素子を少なくとも前記識別情報により変調駆動して可視光領域で発光させるモード、前記識別情報により変調駆動して非可視光領域で発光させるモードを備えることを特徴とする請求項1または2記載のコネクタ接続装置。
  4. さらに、前記複数のコネクタアダプタ端子それぞれの近傍に個別に対応付けられて配置されて信号光を受光する複数の受光素子と、
    前記複数の受光素子それぞれで受光された光信号を復調することによって任意の情報を取得する受信手段とを備えることを特徴とする請求項1乃至3記載のいずれか記載のコネクタ接続装置。
  5. 複数のコネクタアダプタ端子にコネクタプラグを接続または抜去するコネクタ接続装置であって、前記複数のコネクタアダプタ端子それぞれの近傍に個別に対応付けられて配置される複数の光表示素子と、前記複数の光表示素子をそれぞれ変調駆動する表示制御手段と、前記複数のコネクタアダプタ端子それぞれを識別するための識別情報を取得する情報取得手段とを具備し、前記表示制御手段が、前記情報取得手段から各コネクタアダプタ端子の識別情報を取得し、当該識別情報により各コネクタアダプタ端子に対応する光表示素子を変調駆動するコネクタ接続装置に用いられ、
    前記複数のコネクタアダプタ端子の任意の端子に対して前記コネクタプラグを接続または抜去するコネクタ挿抜工具において、
    前記コネクタプラグの挿抜部に配置され、前記コネクタアダプタ端子に対応付けられて配置された光表示素子の表示光を受光する受光素子と、
    前記受光素子で受光された表示光を復調して前記識別情報を取得する受信手段と
    を具備することを特徴とするコネクタ挿抜工具。
  6. 前記コネクタ接続装置がさらに、前記複数のコネクタアダプタ端子それぞれの近傍に個別に対応付けられて配置されて信号光を受光する複数の受光素子と、前記複数の受光素子それぞれで受光された光信号を復調することによって情報を取得する受信手段とを備えるとき、
    前記コネクタプラグの挿抜部に配置され、前記複数のコネクタアダプタ端子それぞれに対応付けられて配置された複数の受光素子に向けて表示光を発する光表示素子と、
    任意の情報により前記光表示素子を変調駆動する表示制御部と
    を具備することを特徴とする請求項5記載のコネクタ挿抜工具。
  7. 複数のコネクタアダプタ端子にコネクタプラグを接続または抜去するコネクタ接続装置であって、前記複数のコネクタアダプタ端子それぞれの近傍に個別に対応付けられて配置される複数の光表示素子と、前記複数の光表示素子をそれぞれ変調駆動する表示制御手段と、前記複数のコネクタアダプタ端子それぞれを識別するための識別情報を取得する情報取得手段とを備え、前記表示制御手段が、前記情報取得手段から各コネクタアダプタ端子の識別情報を取得し、当該識別情報により各コネクタアダプタ端子に対応する光表示素子を変調駆動するコネクタ接続装置と、
    前記複数のコネクタアダプタ端子の任意の端子に対して前記コネクタプラグを接続または抜去する挿抜部に配置され、前記コネクタアダプタ端子に対応付けられて配置された光表示素子の表示光を受光する受光素子と、前記受光素子で受光された表示光を復調して前記コネクタアダプタ端子の識別情報を取得する受信手段とを備えるコネクタ挿抜工具とを具備し、
    前記コネクタ接続装置は、前記コネクタプラグに予め付与される識別情報により当該プラグの挿抜を行うコネクタアダプタ端子に対応する光表示素子を変調駆動し、
    前記コネクタ挿抜工具は、前記光表示素子の表示光を受光して前記コネクタプラグの識別情報を復調することで挿抜対象のコネクタアダプタ端子を識別することを特徴とするコネクタ挿抜管理システム。
  8. 前記コネクタ接続装置は、さらに、前記複数のコネクタアダプタ端子それぞれの近傍に個別に対応付けられて配置されて信号光を受光する複数の受光素子と、前記複数の受光素子それぞれで受光された光信号を復調することによって情報を取得する受信手段とを備え、
    前記コネクタ挿抜工具は、前記コネクタプラグの挿抜部に配置され、前記複数のコネクタアダプタ端子それぞれに対応付けられて配置された複数の受光素子に向けて表示光を発する光表示素子と、任意の情報により前記光表示素子を変調駆動する表示制御部とを備え、
    前記コネクタ接続装置とコネクタ挿抜工具との間で表示光による双方向通信を行うことを特徴とする請求項7記載のコネクタ挿抜管理システム。
  9. 前記コネクタ接続装置の情報取得手段は、前記複数のコネクタアダプタ端子それぞれに対して行われた挿抜の履歴を蓄積する情報記憶部を備えることを特徴とする請求項7または8記載のコネクタ挿抜管理システム。
JP2008265323A 2008-10-14 2008-10-14 コネクタ挿抜工具及びコネクタ挿抜管理システム Expired - Fee Related JP5047922B2 (ja)

Priority Applications (1)

Application Number Priority Date Filing Date Title
JP2008265323A JP5047922B2 (ja) 2008-10-14 2008-10-14 コネクタ挿抜工具及びコネクタ挿抜管理システム

Applications Claiming Priority (1)

Application Number Priority Date Filing Date Title
JP2008265323A JP5047922B2 (ja) 2008-10-14 2008-10-14 コネクタ挿抜工具及びコネクタ挿抜管理システム

Publications (2)

Publication Number Publication Date
JP2010097712A true JP2010097712A (ja) 2010-04-30
JP5047922B2 JP5047922B2 (ja) 2012-10-10

Family

ID=42259263

Family Applications (1)

Application Number Title Priority Date Filing Date
JP2008265323A Expired - Fee Related JP5047922B2 (ja) 2008-10-14 2008-10-14 コネクタ挿抜工具及びコネクタ挿抜管理システム

Country Status (1)

Country Link
JP (1) JP5047922B2 (ja)

Cited By (3)

* Cited by examiner, † Cited by third party
Publication number Priority date Publication date Assignee Title
JP2010145534A (ja) * 2008-12-16 2010-07-01 Fujikura Ltd 光接続ユニットおよび光コネクタ挿抜工具
JP2011085645A (ja) * 2009-10-13 2011-04-28 Fujikura Ltd 光コネクタ挿抜工具
JP2012247700A (ja) * 2011-05-30 2012-12-13 Nippon Telegr & Teleph Corp <Ntt> 配線作業支援装置及び方法

Citations (4)

* Cited by examiner, † Cited by third party
Publication number Priority date Publication date Assignee Title
JP2004282389A (ja) * 2003-03-14 2004-10-07 Global Com:Kk 照明光通信装置及び照明素子
JP2005204412A (ja) * 2004-01-15 2005-07-28 Sankosha Corp 配線管理システム
JP2005339983A (ja) * 2004-05-27 2005-12-08 Fujitsu Ltd コネクタ識別・接続管理装置
JP2007254051A (ja) * 2006-03-20 2007-10-04 Toshiba Elevator Co Ltd エレベータシステム

Patent Citations (4)

* Cited by examiner, † Cited by third party
Publication number Priority date Publication date Assignee Title
JP2004282389A (ja) * 2003-03-14 2004-10-07 Global Com:Kk 照明光通信装置及び照明素子
JP2005204412A (ja) * 2004-01-15 2005-07-28 Sankosha Corp 配線管理システム
JP2005339983A (ja) * 2004-05-27 2005-12-08 Fujitsu Ltd コネクタ識別・接続管理装置
JP2007254051A (ja) * 2006-03-20 2007-10-04 Toshiba Elevator Co Ltd エレベータシステム

Cited By (3)

* Cited by examiner, † Cited by third party
Publication number Priority date Publication date Assignee Title
JP2010145534A (ja) * 2008-12-16 2010-07-01 Fujikura Ltd 光接続ユニットおよび光コネクタ挿抜工具
JP2011085645A (ja) * 2009-10-13 2011-04-28 Fujikura Ltd 光コネクタ挿抜工具
JP2012247700A (ja) * 2011-05-30 2012-12-13 Nippon Telegr & Teleph Corp <Ntt> 配線作業支援装置及び方法

Also Published As

Publication number Publication date
JP5047922B2 (ja) 2012-10-10

Similar Documents

Publication Publication Date Title
US8564440B2 (en) RFID system, RFID cable system, and RFID cable laying method
US8094975B2 (en) System and method for factory work logging
US7507113B2 (en) Wire harness assembly assist program
US8701979B2 (en) Cabling work aiding system and work aiding method
JP2005339983A (ja) コネクタ識別・接続管理装置
CN1326025C (zh) 磁盘阵列装置及其连接支持方法
JPH09508980A (ja) 光ファイバー接続モニター装置、パッチパネル制御システムならびにその使用法
JP2006054118A (ja) 配線支援システム
JP3814613B2 (ja) 配線接続管理システム
JP4987888B2 (ja) コネクタ挿抜管理システム、コネクタ挿抜管理方法及びコネクタ挿抜工具
JP5047922B2 (ja) コネクタ挿抜工具及びコネクタ挿抜管理システム
CN105792029B (zh) 一种智能odn标识系统及装置
JP2007189774A (ja) 配線管理システム
CN115328843A (zh) 用于安装在多个机架中的智能接线装备的具有本地支持的机架控制器
JP2003114247A (ja) 信号伝送線識別装置
JP2007158993A (ja) 配線管理システム
US7090531B2 (en) Plug-connection verification for detecting a properly made electrical plug connection
JP6213267B2 (ja) ネットワークスイッチ、情報処理システム及び接続支援方法
JP5696600B2 (ja) 誤作業防止システム
CN103217744B (zh) 光学器件、用于管理光学器件的系统和方法
US11189115B2 (en) Method of showing explanation about warning light and program for showing explanation about warning light
KR101109890B1 (ko) 지하철용 엘이디 모듈 테스터
US20060024014A1 (en) Wiring board
JP2010145534A (ja) 光接続ユニットおよび光コネクタ挿抜工具
US20170315302A1 (en) Quartz plastic composite optical fiber assembly, recognition method and device

Legal Events

Date Code Title Description
A621 Written request for application examination

Free format text: JAPANESE INTERMEDIATE CODE: A621

Effective date: 20101215

A977 Report on retrieval

Free format text: JAPANESE INTERMEDIATE CODE: A971007

Effective date: 20120319

A131 Notification of reasons for refusal

Free format text: JAPANESE INTERMEDIATE CODE: A131

Effective date: 20120417

A521 Written amendment

Free format text: JAPANESE INTERMEDIATE CODE: A523

Effective date: 20120618

RD04 Notification of resignation of power of attorney

Free format text: JAPANESE INTERMEDIATE CODE: A7424

Effective date: 20120627

TRDD Decision of grant or rejection written
A01 Written decision to grant a patent or to grant a registration (utility model)

Free format text: JAPANESE INTERMEDIATE CODE: A01

Effective date: 20120710

A01 Written decision to grant a patent or to grant a registration (utility model)

Free format text: JAPANESE INTERMEDIATE CODE: A01

A61 First payment of annual fees (during grant procedure)

Free format text: JAPANESE INTERMEDIATE CODE: A61

Effective date: 20120718

FPAY Renewal fee payment (event date is renewal date of database)

Free format text: PAYMENT UNTIL: 20150727

Year of fee payment: 3

R150 Certificate of patent or registration of utility model

Ref document number: 5047922

Country of ref document: JP

Free format text: JAPANESE INTERMEDIATE CODE: R150

Free format text: JAPANESE INTERMEDIATE CODE: R150

S531 Written request for registration of change of domicile

Free format text: JAPANESE INTERMEDIATE CODE: R313531

R350 Written notification of registration of transfer

Free format text: JAPANESE INTERMEDIATE CODE: R350

LAPS Cancellation because of no payment of annual fees