JP2010097411A - 個人情報開示支援装置 - Google Patents

個人情報開示支援装置 Download PDF

Info

Publication number
JP2010097411A
JP2010097411A JP2008267665A JP2008267665A JP2010097411A JP 2010097411 A JP2010097411 A JP 2010097411A JP 2008267665 A JP2008267665 A JP 2008267665A JP 2008267665 A JP2008267665 A JP 2008267665A JP 2010097411 A JP2010097411 A JP 2010097411A
Authority
JP
Japan
Prior art keywords
information
life log
disclosure
service
user
Prior art date
Legal status (The legal status is an assumption and is not a legal conclusion. Google has not performed a legal analysis and makes no representation as to the accuracy of the status listed.)
Granted
Application number
JP2008267665A
Other languages
English (en)
Other versions
JP5190324B2 (ja
Inventor
Shinichiro Naganori
真一郎 永徳
Tomohiro Yamada
智広 山田
Narimune Matsumura
成宗 松村
Nobuhiro Muto
伸洋 武藤
Current Assignee (The listed assignees may be inaccurate. Google has not performed a legal analysis and makes no representation or warranty as to the accuracy of the list.)
NTT Inc
Original Assignee
Nippon Telegraph and Telephone Corp
Priority date (The priority date is an assumption and is not a legal conclusion. Google has not performed a legal analysis and makes no representation as to the accuracy of the date listed.)
Filing date
Publication date
Application filed by Nippon Telegraph and Telephone Corp filed Critical Nippon Telegraph and Telephone Corp
Priority to JP2008267665A priority Critical patent/JP5190324B2/ja
Publication of JP2010097411A publication Critical patent/JP2010097411A/ja
Application granted granted Critical
Publication of JP5190324B2 publication Critical patent/JP5190324B2/ja
Expired - Fee Related legal-status Critical Current
Anticipated expiration legal-status Critical

Links

Images

Landscapes

  • Storage Device Security (AREA)
  • Information Retrieval, Db Structures And Fs Structures Therefor (AREA)
  • Management, Administration, Business Operations System, And Electronic Commerce (AREA)

Abstract

【課題】多種類のライフログ情報に対しその情報開示の許否を簡単かつ短時間に設定可能とする。
【解決手段】ユーザ端末において、ライフログ生成プログラム132の制御の下で、ライフログ情報をその形式を表す情報“What”、“Whom”、“Where”を付加してライフログ蓄積部142に蓄積する。そして、ライフログ情報の表示要求の入力に応じて、ライフログ連結表示制御プログラム133の制御の下、上記ライフログ蓄積部142からサービス種別ごとに該当するライフログ情報を読み出し、この読み出された複数のライフログ情報を同一時間帯に含まれるもの同士で「“What”情報・“Whom”情報@“Where”情報」のように連結して、表示デバイス20に表示させるようにしたものである。
【選択図】 図1

Description

この発明は、例えば携帯端末やパーソナル・コンピュータのデータベースに蓄積されているユーザの行動履歴に関する情報を開示する際に使用される個人情報開示支援装置に関する。
近年、各種センサの小型化により、携帯電話機をはじめユーザが常時所持する携帯端末やパーソナル・コンピュータ内に各種センサを搭載し、ユーザの状態を常時センシングすることが可能となってきている。また、上記センシングにより得られるユーザの日常生活の状態を表す情報、つまりライフログ又は体験情報と呼ばれるユーザの行動履歴に関する情報を開示することで、当該ユーザに対しその行動履歴に応じた各種サービスを提供する試みがなされている。
しかしながら、センシングにより得られる情報の中には、ユーザが開示したくない情報も含まれている場合がよくある。このため、ユーザが安心してサービスを利用できるようにするには、ライフログ情報を開示する際にユーザ自身が情報開示の可否を設定できるようにすることが不可欠である。
そこで、例えば写真をはじめとしたライフログ情報を時間軸上に並べた状態で一覧表示し、ユーザが確認可能とする技術が提案されている(例えば、非特許文献1を参照。)。又、Web情報の閲覧履歴を可視化する技術も提案されている(例えば、特許文献1を参照。)。
特開2007−280011号公報
ところが、先に例示した従来の技術では、ユーザのライフログ情報が時系列でそのまま表示されるものとなっている。このため、ユーザが利用するサービスの種類や内容に関わらずすべてのライフログ情報が、ユーザが情報開示の許否を判断する対象として表示される。したがって、情報開示の許否設定に関わるユーザの作業が著しく煩雑になり、情報開示に多くの手間と時間がかかるという課題があった。
この発明は上記事情に着目してなされたもので、その目的とするところは、多種類の個人情報に対しその情報開示の許否を簡単かつ短時間に設定可能とした個人情報開示支援装置を提供することにある。
上記目的を達成するためにこの発明の一態様は、データベースに記憶されているユーザの行動履歴に関する複数種類からなる複数の個人情報の開示を支援する個人情報開示支援装置にあって、上記個人情報の各々にその種類を表す識別情報を付加する。この状態で、上記個人情報の開示要求が入力された場合に、上記データベースから当該開示要求に該当する複数の個人情報を読み出し、この読み出された複数の個人情報を当該個人情報に付加された識別情報と予め指定された連結条件をもとに関連性のあるもの同士で種類を超えて連結する。そして、この連結された複数の個人情報を1つの提示単位として上記ユーザに提示するように構成したものである。
したがって、個人情報の開示要求が入力されると、当該開示要求に該当する複数の個人情報のうち関連性のあるもの同士が種類を超えて連結されて1つの提示単位としてユーザに提示される。このため、ユーザは提示された個人情報に対する情報開示の許否設定作業を上記提示単位ごとに効率良く行えるようになる。
すなわち、この発明によれば、多種類のライフログ情報に対しその情報開示の許否を簡単かつ短時間に設定可能とした個人情報開示支援装置を提供することができる。
以下、図面を参照してこの発明に係わる実施形態を説明する。
図1は、この発明の一実施形態に係わる個人情報開示支援装置の機能を備えたユーザ端末のハードウエアとソフトウエアの構成を示すブロック図、図2は図1に示したユーザ端末の機能構成を示すブロック図である。
ユーザ端末は、例えば携帯可能なパーソナル・コンピュータ又は携帯電話機からなり、マイクロプロセッサからなる中央処理ユニット(CPU;Central Processing Unit)11を備える。このCPU11には、バス12を介してプログラムメモリ13及びデータメモリ14が接続され、さらに通信インタフェース(通信I/F)15、複数のセンサインタフェース(センサI/F)161,162,…及び入出力インタフェース(入出力I/F)18が接続されている。
通信I/F15は、CPU11の制御の下で、図示しない通信ネットワークにより規定される通信プロトコルに従い、Webサーバとの間でライフログ情報を送信しかつこのライフログ情報に応じたサービス情報を受信するための通信を行う。通信プロトコルとしては、例えばTCP/IP(Transmission Control Protocol/Internet Protocol)が使用される。
センサI/F161,162,…にはそれぞれ異なるセンサ171,172,…が接続される。センサ171,172,…は、例えばGPS(Global Positioning System)センサ、歩数を計測する万歩計(登録商標)、ユーザの心拍や体温等を計測するバイタルセンサからなる。このうちGPSセンサは、CPU11の制御の下で、図示しない複数のGPS衛星が送信するGPS信号をそれぞれ受信する。そして、このGPSセンサが接続されたセンサI/Fは、上記受信された各GPS信号をもとに時刻、緯度及び経度を含むセンシングデータ(位置データ)を求める。
入出力I/F18には、入力デバイス19及び表示デバイス20が接続される。入力デバイス19は、例えばパーソナル・コンピュータやPDA(Personal Digital Assistant)であればキーボード、携帯電話機であればダイヤルキーパッドと複数の機能キーにより構成される。なお、その他にタッチパネルなどを用いることも可能である。表示デバイス20は液晶又は有機ELディスプレイからなる。入出力I/F18は、上記入力デバイス19による操作情報をCPU11に伝えると共に、CPU11からの指示に従いライフログ情報等の表示データを上記表示デバイス20に表示させる。
データメモリ14には、この発明を実施するために必要なデータベースとして、サービス情報蓄積部141と、ライフログ蓄積部142と、開示判断情報一時蓄積部143が設けられている。サービス情報蓄積部141は、Webサーバから送られるサービス情報を格納するために用いられる。ライフログ蓄積部142は、上記センシングデータをもとに生成されるライフログ情報を格納するために用いられる。開示判断情報一時蓄積部143は、ライフログ情報に対し設定された開示判断情報を格納するために用いられる。
プログラムメモリ13には、この発明を実施するために必要なアプリケーション・プログラムとして、サービス登録/削除制御プログラム131と、ライフログ生成プログラム132と、ライフログ連結表示制御プログラム133と、開示判断情報設定制御プログラム134が格納されている。
サービス登録/削除制御プログラム131は、入力デバイス19におけるユーザ登録/削除操作に応じて、Webサーバが提供するサービスに対するユーザ登録処理と、ユーザ登録を削除する処理を、上記CPU11に実行させる。
ユーザ登録処理では、Webサーバからサービスの属性を表す情報を取得して上記サービス情報蓄積部141に格納する処理が行われる。サービスの属性を表す情報には、サービス名と、サービスが要求するライフログ情報の種類名と、このライフログ情報を生成するために必要なライフログ生成ツール名と、ライフログの種類をグループ化するときのグループ名が含まれる。
ライフログ生成プログラム132は、センサI/Fから定期的又は必要時に読み込んだセンシングデータ(位置データ)や、入力デバイス19においてユーザが手動入力したデータをもとに、その時点でのユーザのライフログ情報を生成して上記ライフログ蓄積部142に記憶させる処理を、上記CPU11に実行させる。
ライフログ情報には、ユーザ名と、ライフログの値と、ライフログの種類名と、ライフログの生成に使用したライフログ生成ツール名と、ライフログの形式名と、ライフログの発生時刻が含まれる。ライフログの形式名としては、“Where”、“Whom”、“What”の3種類が定義される。“Where”は、場所(地名、施設名、店名など)を表す情報である。“Whom”は、誰と一緒にいる(いた)かを表す情報である。“What”は、発生した出来事を表す情報である。
ライフログ連結表示制御プログラム133は、以下の処理を上記CPU11に実行させる。
(1) 上記ライフログ情報の表示要求が入力された場合に、上記サービス情報蓄積部141からサービスごとにその属性情報を読み出してサービス表示データを生成すると共に、ライフログ蓄積部142から上記サービスに対応するライフログ情報を選択的に読み出してライフログ表示データを生成する。そして、この生成されたライフログ表示データを上記サービス表示データと合成し、この合成された表示データを表示デバイス20に表示させる処理。
(2) 上記ライフログ表示データを生成する際に、ライフログ情報に含まれる時刻情報と形式名を表す情報をもとに、同一時間帯に含まれる形式の異なる複数種のライフログ情報を連結する処理。
開示判断情報設定制御プログラム134は、以下の処理を上記CPU11に実行させる。
(1) 上記ライフログ表示データが表示された状態で、ライフログ情報に対するユーザによる開示判断情報の変更要求の入力を受け付け、この変更要求に応じて開示判断情報一時蓄積部143に記憶されている該当する開示判断情報を変更する。
(2) 上記変更要求に応じてライフログ表示データを更新し、この更新されたライフログ表示データを表示デバイス20に表示させる処理。
次に、以上のように構成された装置の動作を説明する。
(1)サービス情報の登録処理
ユーザが入力デバイス19においてサービスに対する登録要求を入力すると、次のようにサービス登録処理が実行される。図3はその処理手順と処理内容を示すフローチャートである。
すなわち、上記サービス登録要求が入力されると、CPU11はステップS31において、通信I/F15から該当するWebサーバに対しアクセスし、当該Webサーバからサービスの属性を表す情報を取得する。このときサービス属性情報は、サービス名と、サービスが要求するライフログ情報の種類名と、このライフログ情報を生成するために必要なライフログ生成ツール名が、例えば図5に示すようにファイル形式で記述されたものとなっている。しかし、ライフログ情報の種類名だけだと、ユーザにとってはどのような種類を表すライフログであるか理解しにくい。そこで、CPU11はステップS32により、複数のライフログの種類をまとめてグループ化し、グループごとに名前を付ける。そして、このグループ名を付加したサービス属性情報をデータメモリ14内のサービス情報蓄積部141に格納する。図6はこのサービス情報蓄積部141に格納されるサービス属性情報の一例を示すものである。
(2)サービス情報の削除処理
ユーザがサービス削除要求を入力すると、登録済みのサービス属性情報の削除が以下のように行われる。図4はその処理手順と処理内容を示すフローチャートである。
サービス情報の表示要求を入力すると、CPU11は先ずステップS41において、サービス情報蓄積部141から登録済みのサービス属性情報を読み出してその一覧リストを表示デバイス20に表示させる。この状態でユーザが、入力デバイス19により削除対象のサービス属性情報を指定したのち削除操作を行うと、CPU11はステップS42において、上記指定された削除対象のサービス属性情報をサービス情報蓄積部141から消去する。
(3)ライフログ情報の蓄積処理
上記サービス情報の登録がなされると、以後ユーザ端末では登録されたサービスを利用する上で必要なライフログ情報の蓄積処理が以下のように行われる。
すなわち、CPU11は定期的にセンサI/F161,162,…からセンシングデータを読み込み、この読み込んだ各センシングデータをもとにその時点でのユーザのライフログ情報を生成して上記ライフログ蓄積部142に記憶させる。また、ユーザが入力デバイス19において一緒に行動している人の名前や出来事名などを入力した場合にも、CPU11は当該入力データをもとにライフログ情報を生成して、上記ライフログ蓄積部142に記憶させる。
図8は、こうしてライフログ蓄積部142に蓄積されたライフロログ情報の一例を示すものである。同図に示したようにライフログ情報は、ユーザ名と、ライフログの値と、ライフログの種類名と、ライフログの生成に使用したライフログ生成ツール名と、ライフログの形式名と、ライフログの発生開始時刻と終了時刻により構成される。ライフログの形式名は、“Where”、“Whom”、“What”の3種類からなる。“Where”は、場所(地名、施設名、店名など)を表す情報である。“Whom”は、誰と一緒にいる(いた)かを表す情報である。“What”は、発生した出来事を表す情報である。
(4)全ライフログ情報の表示処理
表示モードとして、ユーザが全ライフログ表示モードを指定入力すると、ユーザ端末では以下のように表示制御が行われる。図7はその処理手順と処理内容を示すフローチャートである。
すなわち、CPU11は、先ずステップS71においてデータメモリ14内のサービス情報蓄積部141に格納されている全てのサービス属性情報を読み出し、このサービス属性情報からサービス名を抽出する。そして、ステップS72により、上記抽出されたサービス名の数だけサービスタブを設定し、さらにステップS73により上記設定した各サービスタブにそれぞれ例えば図9に示すようにサービス名を表示する。
CPU11は、次にステップS74においてデータメモリ14のライフログ蓄積部142から、上記サービスタブを設定したサービスごとに、該当するライフログ情報を読み出す。続いてステップS75において、上記読み出したライフログ情報から形式名が“What”の情報を抽出し、この抽出した“What”の情報ごとに当該“What”の情報と発生時刻が同一時間帯に含まれる、形式名が“Whom”の情報と“Where”の情報を検索する。そして、ステップS76において、上記“What”の情報ごとに、上記検索された同一時間帯に含まれる“Whom”の情報と“Where”の情報を、「“What”情報・“Whom”情報@“Where”情報」のように連結する。そして、この連結されたライフログ情報を、上記サービスタブのうち対応するタブの表示データに重畳して表示デバイス20に表示させる。図9はその表示結果の一例を示すもので、ライフログ情報は時系列に並べた状態で表示される。
ライフログ情報の連結処理の一例を図10に示す。すなわち、いま仮にライフログ情報が図8に示すようにライフログ蓄積部142に蓄積されていたとする。この場合CPU11は、形式名が“What”と定義された「バラエティ」、「ドラマ」、「ニュース」等に対して、同一時間帯に“Whom”及び“Where”としてそれぞれ定義された情報「友人宅」等を検索し、この検索された「友人宅」等を上記「バラエティ」、「ドラマ」、「ニュース」等と連結する。この結果、「バラエティ@友人宅」、「ドラマ@友人宅」、「ニュース@友人宅」のように、従来であれば独立して表示される種類(形式)の異なる複数のライフログ情報が連結された状態で表示される。
なお、上記ライフログ情報の表示形態は、ユーザのGUI(Graphical User Interface)操作により時間粒度を変化させたり、時間軸方向にスクロールすることが可能である。図11及び図12はその一例を示すものである。すなわち、図11に示すように表示画面には時間粒度コントロール用のスライドバーが表示され、ユーザがこのスライドバーを操作すると、時間粒度つまり時間当たりの表示密度が変化する。また、図12に示すように表示画面に時間軸移動バーを表示し、この時間軸移動バーをユーザが操作すれば、ライフログ情報の表示が時間軸方向にスクロールされる。
(5)サービスが選択されたときのライフログ情報の連結表示処理
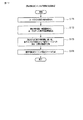
表示モードとして、ユーザがサービス別のライフログ表示モードを指定すると、ユーザ端末では以下のように表示制御が行われる。図13はその処理手順と処理内容を示すフローチャートである。
すなわち、CPU11は、先ずステップS131においてユーザによるサービスの種類の選択入力を受け付ける。サービスの種類が選択入力されると、次にステップS132においてデータメモリ14内のサービス情報蓄積部141から、上記選択されたサービスを利用する上で必要なライフログ情報の種類名を表す情報を読み出す。そして、ステップS133において、上記読み出されたライフログ情報の種類名に対応するライフログ情報をライフログ蓄積部142から読み出す。
CPU11は、続いてステップS134において、上記読み出したライフログ情報から形式名が“What”の情報を抽出し、この抽出した“What”の情報ごとに当該“What”の情報と発生時刻が同一時間帯に含まれる、形式名が“Whom”の情報と“Where”の情報を検索する。そして、該当する情報が検索されれば、ステップS135において上記“What”の情報ごとに、上記検索された同一時間帯に含まれる“Whom”の情報及び“Where”の情報を、図10に示したように「“What”情報・“Whom”情報@“Where”情報」のように連結する。そして、この連結されたライフログ情報を、上記選択されたサービス種別に対応するタブの表示データに重畳して表示デバイス20に表示させる。
(6)ライフログ開示許否の指定受付処理
ライフログ情報が表示された状態でユーザが開示許否の指定操作を行うと、ユーザ端末では以下のようにライフログ情報に対する開示判断情報の設定処理が行われる。図14はその処理手順と処理内容を示すフローチャート、図15は処理動作を説明するための図である。
すなわち、ステップS142によりライフログ情報が表示された状態で、CPU11は図15に示すようにステップS151において、該当するサービスが必要とするライフログ情報の種類をその操作ガイダンスと共に表示デバイス20に表示させる。この状態でユーザが入力デバイス19を操作して、上記表示されたライフログ情報の種類のうち開示したくないライフログ情報の種類を選択(例えばチェックを外す)したとする(ステップS152)。そうするとCPU11は、ステップS143により上記開示可否の変更要求を受け付け、ステップS144に移行して開示可否情報を変更すると共に、開示判断情報一時蓄積部143に蓄積されている対応する開示判断情報をステップS145により更新する。
またそれと共にCPU11は、ステップS141において、上記更新された開示可否情報に応じて、開示が拒否された種類に該当するライフログ情報を表示対象から外してライフログ情報の表示データを再構成する。そして、この再構成された表示データをステップS142により表示デバイス20に表示させる。例えば、いま図15に示すようにライフログの種類のうち、「自分の視聴(予定)番組」を開示対象から除外するべくそのチェックを外すと、ステップS153のように「自分の視聴(予定)番組」に該当するライフログ情報が非表示となる。
また、上記開示許否の設定処理はライフログ情報の種類ごとに行う以外に、ライフログ情報のデータごとに行うようにしてもよい。図16はこのデータごとに開示許否の設定を行う場合の動作例を示す図である。すなわち、ステップS161においてユーザは表示中のライフログ情報の各データのうち開示を許可しないデータを個別に選択指定する。そうするとCPU11は、ステップS161において上記選択指定されたデータを認識し、この選択指定されたデータを開示対象から除外するべく開示判断情報を更新すると共に、ステップS162において当該データを非表示とする。例えば、図16においてユーザが「アニメ@TV」を開示しないデータとして選択指定すると、このデータが開示対象から除外されると共に、非表示に設定される。
なお、ライフログ情報の種類ごとに開示許否の設定を行う場合、及びデータごとに開示許否の設定する場合のいずれの場合でも、上記開示対象から除外された種類のライフログ情報の表示方法としては、非表示とする以外に、文字色を開示対象のライフログ情報の文字色とは異なる色にしたり、文字の表示濃度を薄くしたり、文字の表示サイズを小さくするといったものが考えられる。
(7)開示判断後のライフログ情報の生成処理
上記開示可否の設定処理の終了後に、ユーザが入力デバイス19により「送信ボタン」を押下したとする。そうするとCPU11は、ステップS146により上記送信ボタンの操作を開示判断の決定命令と見なし、開示判断後のライフログ情報の生成処理に移行する。図17はその処理手順と処理内容を示すフローチャートである。
ユーザからの開示判断決定命令が入力されると、CPU11はステップS171からステップS172に移行し、開示判断情報一時蓄積部143から更新後の開示判断情報を読み出す。続いてステップS173において、上記読み出した開示判断情報をもとに、各ライフログ情報に対しそれぞれ開示/非開示を表す情報を付加する。そして、ステップS174により開示判断済ライフログ記述ファイルを生成する。図18はこの開示判断済ライフログ記述ファイルの一例を示すもので、Webサーバに送信される。
以上述べたようにこの実施形態では、ライフログ生成プログラム132の制御の下で、ライフログ情報をその形式を表す情報“What”、“Whom”、“Where”を付加してライフログ蓄積部142に蓄積する。そして、ライフログ情報の表示要求の入力に応じて、ライフログ連結表示制御プログラム133の制御の下、上記ライフログ蓄積部142からサービス種別ごとに該当するライフログ情報を読み出し、この読み出された複数のライフログ情報を同一時間帯に含まれるもの同士で「“What”情報・“Whom”情報@“Where”情報」のように連結して、表示デバイス20に表示させるようにしている。
したがって、ライフログ情報のうち同一時間帯に含まれるもの同士がその種類(形式)を超えて連結されて1つの表示データとして表示される。このため、ユーザは表示されたライフログ情報に対する情報開示の許否設定を上記表示データごとに効率良く行うことが可能となり、これにより情報開示の許否を簡単かつ短時間に設定できるようになる。
なお、この発明は上記実施形態に限定されるものではない。例えば、前記実施形態では同一時間帯に含まれる“What”情報、“Whom”情報、“Where”情報を連結するようにしたが、同一地域内における“What”情報及び“Whom”情報を“Where”情報と連結したり、同種の出来事に対応する“Whom”情報及び“Where”情報を“What”情報と連結するようにしてもよい。
また、行動履歴に関する情報には、万歩計(登録商標)のセンシングデータをもとに生成されるユーザの移動速度又は移動距離を表す情報や、バイタルセンサのセンシングデータをもとに生成されるユーザのバイタル情報や安否情報等を含めるようにしてもよい。その他、ライフログ情報の種類や構成、ライフログ情報の表示フォーマット、表示されたライフログ情報に対する開示許否の設定手法、ユーザ端末の種類とその構成等についても、この発明の要旨を逸脱しない範囲で種々変形して実施できる。
要するにこの発明は、上記実施形態そのままに限定されるものではなく、実施段階ではその要旨を逸脱しない範囲で構成要素を変形して具体化できる。また、上記実施形態に開示されている複数の構成要素の適宜な組み合せにより種々の発明を形成できる。例えば、実施形態に示される全構成要素から幾つかの構成要素を削除してもよい。さらに、異なる実施形態に亘る構成要素を適宜組み合せてもよい。
この発明の一実施形態に係わる個人情報開示支援装置の機能を備えたユーザ端末のハードウエアとソフトウエアの構成を示すブロック図である。 図1に示したユーザ端末の機能構成を示すブロック図である。 図1に示したユーザ端末におけるサービス情報の登録処理手順と処理内容を示すフローチャートである。 図1に示したユーザ端末におけるサービス情報の削除処理手順と処理内容を示すフローチャートである。 サービス情報の記述ファイルの一例を示す図である。 サービス情報の記憶結果の一例を示す図である。 ライフログ情報の表示処理の手順と内容を示すフローチャートである。 ライフログ情報の記憶結果の一例を示す図である。 ライフログ情報の表示結果の一例を示す図である。 ライフログ情報の連結結果の一例を示す図である。 GUI操作による時間粒度の変更例を示す図である。 GUI操作による時間軸方向のスクロール例を示す図である。 サービスが選択されたときのライフログ情報の連結表示処理の手順と内容を示すフローチャートである。 開示判断情報の変更要求の入力に応じたライフログ情報の表示更新処理の手順と内容を示すフローチャートである。 ライフログ情報に対しその種類ごとに開示の許否を指定する処理の一例を示す図である。 ライフログ情報に対しそのデータごとに開示の許否を指定する処理の一例を示す図である。 開始時判断済のライフログ情報の生成処理の手順と内容を示すフローチャートである。 開示判断済ライフログ情報の記述ファイルの一例を示す図である。
符号の説明
11…CPU、12…バス、13…プログラムメモリ、14…データメモリ、15…通信インタフェース、161,162,…センサインタフェース、171,172,…センサ、18…入出力インタフェース、19…入力デバイス、20…表示デバイス、131…サービス登録/削除制御プログラム、132…ライフログ生成プログラム、133…ライフログ連結表示制御プログラム、134…開示判断情報設定制御プログラム、141…サービス情報蓄積部、142…ライフログ蓄積部、143…開示判断情報一時蓄積部。

Claims (1)

  1. データベースに蓄積されているユーザの行動履歴に関する種類の異なる複数の個人情報の開示を支援する個人情報開示支援装置であって、
    前記個人情報の各々にその種類を表す識別情報を付加する手段と、
    前記個人情報の開示要求の入力に応じて、前記データベースから当該開示要求に該当する複数の個人情報を読み出し、この読み出された複数の個人情報を当該個人情報に付加された識別情報と予め指定された連結条件をもとに関連性のあるもの同士で種類を超えて連結する手段と、
    前記連結された個人情報を1つの提示単位として前記ユーザに提示する手段と
    を具備することを特徴とする個人情報開示支援装置。
JP2008267665A 2008-10-16 2008-10-16 個人情報開示支援装置 Expired - Fee Related JP5190324B2 (ja)

Priority Applications (1)

Application Number Priority Date Filing Date Title
JP2008267665A JP5190324B2 (ja) 2008-10-16 2008-10-16 個人情報開示支援装置

Applications Claiming Priority (1)

Application Number Priority Date Filing Date Title
JP2008267665A JP5190324B2 (ja) 2008-10-16 2008-10-16 個人情報開示支援装置

Publications (2)

Publication Number Publication Date
JP2010097411A true JP2010097411A (ja) 2010-04-30
JP5190324B2 JP5190324B2 (ja) 2013-04-24

Family

ID=42259046

Family Applications (1)

Application Number Title Priority Date Filing Date
JP2008267665A Expired - Fee Related JP5190324B2 (ja) 2008-10-16 2008-10-16 個人情報開示支援装置

Country Status (1)

Country Link
JP (1) JP5190324B2 (ja)

Cited By (2)

* Cited by examiner, † Cited by third party
Publication number Priority date Publication date Assignee Title
JP2012203882A (ja) * 2011-03-28 2012-10-22 Nippon Telegr & Teleph Corp <Ntt> 非公開処理方法及び非公開処理プログラム
JPWO2021130892A1 (ja) * 2019-12-25 2021-07-01

Citations (2)

* Cited by examiner, † Cited by third party
Publication number Priority date Publication date Assignee Title
JP2002222273A (ja) * 2001-01-26 2002-08-09 Namco Ltd 情報提供システム、プログラムおよび情報記憶媒体
JP2008027364A (ja) * 2006-07-25 2008-02-07 Fr Telecom 行動情報の多次元管理システム及び行動情報の多次元管理方法

Patent Citations (2)

* Cited by examiner, † Cited by third party
Publication number Priority date Publication date Assignee Title
JP2002222273A (ja) * 2001-01-26 2002-08-09 Namco Ltd 情報提供システム、プログラムおよび情報記憶媒体
JP2008027364A (ja) * 2006-07-25 2008-02-07 Fr Telecom 行動情報の多次元管理システム及び行動情報の多次元管理方法

Non-Patent Citations (2)

* Cited by examiner, † Cited by third party
Title
CSNG200600684035; 本庄 勝 Masaru HONJO: 'セマンティックスを用いた携帯端末で取得されるライフログ管理基盤の検討 A Study on Semantic Lifelog Ma' 情報処理学会研究報告 IPSJ SIG Technical Reports 第2006巻 第14号, 20060217, p203-208, 社団法人情報処理学会 Information Processing Socie *
JPN6012035010; 本庄 勝 Masaru HONJO: 'セマンティックスを用いた携帯端末で取得されるライフログ管理基盤の検討 A Study on Semantic Lifelog Ma' 情報処理学会研究報告 IPSJ SIG Technical Reports 第2006巻 第14号, 20060217, p203-208, 社団法人情報処理学会 Information Processing Socie *

Cited By (4)

* Cited by examiner, † Cited by third party
Publication number Priority date Publication date Assignee Title
JP2012203882A (ja) * 2011-03-28 2012-10-22 Nippon Telegr & Teleph Corp <Ntt> 非公開処理方法及び非公開処理プログラム
JPWO2021130892A1 (ja) * 2019-12-25 2021-07-01
JP7414078B2 (ja) 2019-12-25 2024-01-16 日本電気株式会社 変換テーブル生成装置、音声対話システム、変換テーブル生成方法、およびコンピュータプログラム
US12367351B2 (en) 2019-12-25 2025-07-22 Nec Corporation Conversion table generation device, conversion table generation method, and recording medium for decision making support

Also Published As

Publication number Publication date
JP5190324B2 (ja) 2013-04-24

Similar Documents

Publication Publication Date Title
US12166736B2 (en) Media item attachment system
JP5872691B2 (ja) 画像へのテキストによる提案
US11321105B2 (en) Interactive informational interface
US20150301990A1 (en) User specific visual identity control across multiple platforms
JP2010176195A (ja) ウェブ・アプリケーション内のコンポーネントの接続先候補を提示するための方法、並びにそのコンピュータ・プログラム及びコンピュータ・システム
CN107924420A (zh) 对包括在网页的屏幕截图中的链接进行标记的方法和设备
EP2321948B1 (en) Method to identify and transfer to a wireless device actionable items based on user selected content
JP5289379B2 (ja) 地図表示装置、方法、プログラム及び地図表示サーバ
JP2017076166A (ja) 情報処理装置、情報処理方法及びプログラム
JP5190324B2 (ja) 個人情報開示支援装置
US10614424B1 (en) Assisted creation for time based events
JP6088781B2 (ja) サーバ装置、プログラム及び制御方法
CN105824523A (zh) 一种下载应用软件的方法及移动终端
CN102637185A (zh) 智能型数据管理方法及系统
WO2016004173A1 (en) Generating tasks
CN106663280B (zh) 可获实体的自动识别
JP7554324B2 (ja) 情報処理装置、情報処理方法、及び情報処理プログラム
JP5426501B2 (ja) ドキュメント閲覧システム及びドキュメント画像配信装置並びにドキュメント閲覧方法
JP6288308B2 (ja) 情報処理装置、ルート登録方法およびルート登録プログラム
JP2010072805A (ja) 投稿・閲覧支援システム
JP2011525660A (ja) コマンド駆動ウェブサイト・ブラウジング
CN114092139A (zh) 一种资源的监控方法、装置、计算机设备和存储介质
JP2018147290A (ja) センサのメタデータ生成装置、センサのメタデータ生成システム、センサのメタデータ生成方法及びセンサのメタデータ生成プログラム
JP6235744B1 (ja) ウェブページ制作支援システム
JP2017049932A (ja) 電子機器及び情報閲覧プログラム

Legal Events

Date Code Title Description
A621 Written request for application examination

Free format text: JAPANESE INTERMEDIATE CODE: A621

Effective date: 20110111

A977 Report on retrieval

Free format text: JAPANESE INTERMEDIATE CODE: A971007

Effective date: 20120614

RD04 Notification of resignation of power of attorney

Free format text: JAPANESE INTERMEDIATE CODE: A7424

Effective date: 20120627

A131 Notification of reasons for refusal

Free format text: JAPANESE INTERMEDIATE CODE: A131

Effective date: 20120710

A521 Request for written amendment filed

Free format text: JAPANESE INTERMEDIATE CODE: A523

Effective date: 20120808

TRDD Decision of grant or rejection written
A01 Written decision to grant a patent or to grant a registration (utility model)

Free format text: JAPANESE INTERMEDIATE CODE: A01

Effective date: 20130122

A61 First payment of annual fees (during grant procedure)

Free format text: JAPANESE INTERMEDIATE CODE: A61

Effective date: 20130128

FPAY Renewal fee payment (event date is renewal date of database)

Free format text: PAYMENT UNTIL: 20160201

Year of fee payment: 3

R150 Certificate of patent or registration of utility model

Ref document number: 5190324

Country of ref document: JP

Free format text: JAPANESE INTERMEDIATE CODE: R150

Free format text: JAPANESE INTERMEDIATE CODE: R150

S531 Written request for registration of change of domicile

Free format text: JAPANESE INTERMEDIATE CODE: R313531

R350 Written notification of registration of transfer

Free format text: JAPANESE INTERMEDIATE CODE: R350

LAPS Cancellation because of no payment of annual fees