JP2010096412A - 耐久性部材 - Google Patents
耐久性部材 Download PDFInfo
- Publication number
- JP2010096412A JP2010096412A JP2008267137A JP2008267137A JP2010096412A JP 2010096412 A JP2010096412 A JP 2010096412A JP 2008267137 A JP2008267137 A JP 2008267137A JP 2008267137 A JP2008267137 A JP 2008267137A JP 2010096412 A JP2010096412 A JP 2010096412A
- Authority
- JP
- Japan
- Prior art keywords
- coating layer
- seawater
- thermal spray
- heat transfer
- spray coating
- Prior art date
- Legal status (The legal status is an assumption and is not a legal conclusion. Google has not performed a legal analysis and makes no representation as to the accuracy of the status listed.)
- Granted
Links
- 239000011247 coating layer Substances 0.000 claims abstract description 102
- 239000013535 sea water Substances 0.000 claims abstract description 89
- 238000005260 corrosion Methods 0.000 claims abstract description 60
- 230000007797 corrosion Effects 0.000 claims abstract description 58
- 230000015271 coagulation Effects 0.000 claims abstract description 21
- 238000005345 coagulation Methods 0.000 claims abstract description 21
- 239000006200 vaporizer Substances 0.000 claims abstract description 20
- 239000003949 liquefied natural gas Substances 0.000 claims abstract description 18
- 238000005507 spraying Methods 0.000 claims description 58
- 239000004020 conductor Substances 0.000 claims description 40
- 239000000463 material Substances 0.000 claims description 26
- 229910000838 Al alloy Inorganic materials 0.000 claims description 20
- 229920005989 resin Polymers 0.000 claims description 18
- 239000011347 resin Substances 0.000 claims description 18
- 239000000203 mixture Substances 0.000 claims description 6
- 239000007921 spray Substances 0.000 claims description 3
- 229910052751 metal Inorganic materials 0.000 abstract description 67
- 239000002184 metal Substances 0.000 abstract description 67
- 229910045601 alloy Inorganic materials 0.000 abstract description 64
- 239000000956 alloy Substances 0.000 abstract description 64
- 239000000758 substrate Substances 0.000 abstract description 8
- 239000000523 sample Substances 0.000 description 29
- 230000000694 effects Effects 0.000 description 21
- 230000008016 vaporization Effects 0.000 description 14
- 238000009834 vaporization Methods 0.000 description 14
- 230000008014 freezing Effects 0.000 description 13
- 238000007710 freezing Methods 0.000 description 13
- 239000011248 coating agent Substances 0.000 description 9
- 238000000576 coating method Methods 0.000 description 9
- IJGRMHOSHXDMSA-UHFFFAOYSA-N Atomic nitrogen Chemical compound N#N IJGRMHOSHXDMSA-UHFFFAOYSA-N 0.000 description 8
- 230000002093 peripheral effect Effects 0.000 description 8
- 238000010828 elution Methods 0.000 description 7
- 229910000831 Steel Inorganic materials 0.000 description 6
- 238000000034 method Methods 0.000 description 6
- 239000010959 steel Substances 0.000 description 6
- 239000007788 liquid Substances 0.000 description 5
- 238000011156 evaluation Methods 0.000 description 4
- 229910052757 nitrogen Inorganic materials 0.000 description 4
- 230000001603 reducing effect Effects 0.000 description 4
- 229910001297 Zn alloy Inorganic materials 0.000 description 3
- 238000005536 corrosion prevention Methods 0.000 description 3
- 238000010586 diagram Methods 0.000 description 3
- 230000003628 erosive effect Effects 0.000 description 3
- 230000003405 preventing effect Effects 0.000 description 3
- 238000007751 thermal spraying Methods 0.000 description 3
- 238000003466 welding Methods 0.000 description 3
- 229910018137 Al-Zn Inorganic materials 0.000 description 2
- 229910018573 Al—Zn Inorganic materials 0.000 description 2
- PXHVJJICTQNCMI-UHFFFAOYSA-N Nickel Chemical compound [Ni] PXHVJJICTQNCMI-UHFFFAOYSA-N 0.000 description 2
- 230000005678 Seebeck effect Effects 0.000 description 2
- 229910052782 aluminium Inorganic materials 0.000 description 2
- XAGFODPZIPBFFR-UHFFFAOYSA-N aluminium Chemical compound [Al] XAGFODPZIPBFFR-UHFFFAOYSA-N 0.000 description 2
- 239000003795 chemical substances by application Substances 0.000 description 2
- 238000005516 engineering process Methods 0.000 description 2
- 238000010285 flame spraying Methods 0.000 description 2
- 239000010410 layer Substances 0.000 description 2
- 150000002739 metals Chemical class 0.000 description 2
- VNWKTOKETHGBQD-UHFFFAOYSA-N methane Chemical compound C VNWKTOKETHGBQD-UHFFFAOYSA-N 0.000 description 2
- 238000007789 sealing Methods 0.000 description 2
- 238000007711 solidification Methods 0.000 description 2
- 230000008023 solidification Effects 0.000 description 2
- XLYOFNOQVPJJNP-UHFFFAOYSA-N water Substances O XLYOFNOQVPJJNP-UHFFFAOYSA-N 0.000 description 2
- 229910018134 Al-Mg Inorganic materials 0.000 description 1
- 229910018467 Al—Mg Inorganic materials 0.000 description 1
- 229910018571 Al—Zn—Mg Inorganic materials 0.000 description 1
- 229910001369 Brass Inorganic materials 0.000 description 1
- 229910000881 Cu alloy Inorganic materials 0.000 description 1
- 229910001335 Galvanized steel Inorganic materials 0.000 description 1
- 206010053759 Growth retardation Diseases 0.000 description 1
- 229910000861 Mg alloy Inorganic materials 0.000 description 1
- 239000004264 Petrolatum Substances 0.000 description 1
- HCHKCACWOHOZIP-UHFFFAOYSA-N Zinc Chemical compound [Zn] HCHKCACWOHOZIP-UHFFFAOYSA-N 0.000 description 1
- 229910007570 Zn-Al Inorganic materials 0.000 description 1
- PNEYBMLMFCGWSK-UHFFFAOYSA-N aluminium oxide Inorganic materials [O-2].[O-2].[O-2].[Al+3].[Al+3] PNEYBMLMFCGWSK-UHFFFAOYSA-N 0.000 description 1
- QVGXLLKOCUKJST-UHFFFAOYSA-N atomic oxygen Chemical compound [O] QVGXLLKOCUKJST-UHFFFAOYSA-N 0.000 description 1
- 239000010953 base metal Substances 0.000 description 1
- 239000011324 bead Substances 0.000 description 1
- 230000033228 biological regulation Effects 0.000 description 1
- 238000005422 blasting Methods 0.000 description 1
- 239000010951 brass Substances 0.000 description 1
- 230000005587 bubbling Effects 0.000 description 1
- 238000005253 cladding Methods 0.000 description 1
- 230000000052 comparative effect Effects 0.000 description 1
- 150000001875 compounds Chemical class 0.000 description 1
- 230000007547 defect Effects 0.000 description 1
- 239000008397 galvanized steel Substances 0.000 description 1
- 238000010438 heat treatment Methods 0.000 description 1
- 238000007654 immersion Methods 0.000 description 1
- 238000005304 joining Methods 0.000 description 1
- 229910001092 metal group alloy Inorganic materials 0.000 description 1
- 239000003345 natural gas Substances 0.000 description 1
- 229910052759 nickel Inorganic materials 0.000 description 1
- 239000001301 oxygen Substances 0.000 description 1
- 229910052760 oxygen Inorganic materials 0.000 description 1
- 229940066842 petrolatum Drugs 0.000 description 1
- 235000019271 petrolatum Nutrition 0.000 description 1
- 239000011148 porous material Substances 0.000 description 1
- 238000001556 precipitation Methods 0.000 description 1
- 230000002035 prolonged effect Effects 0.000 description 1
- 239000011342 resin composition Substances 0.000 description 1
- 239000000565 sealant Substances 0.000 description 1
- 239000004065 semiconductor Substances 0.000 description 1
- 239000010935 stainless steel Substances 0.000 description 1
- 229910001220 stainless steel Inorganic materials 0.000 description 1
- 239000002344 surface layer Substances 0.000 description 1
- 230000005676 thermoelectric effect Effects 0.000 description 1
- 238000011144 upstream manufacturing Methods 0.000 description 1
- 229920001567 vinyl ester resin Polymers 0.000 description 1
- 229910052725 zinc Inorganic materials 0.000 description 1
- 239000011701 zinc Substances 0.000 description 1
Images
Classifications
-
- F—MECHANICAL ENGINEERING; LIGHTING; HEATING; WEAPONS; BLASTING
- F28—HEAT EXCHANGE IN GENERAL
- F28F—DETAILS OF HEAT-EXCHANGE AND HEAT-TRANSFER APPARATUS, OF GENERAL APPLICATION
- F28F19/00—Preventing the formation of deposits or corrosion, e.g. by using filters or scrapers
- F28F19/02—Preventing the formation of deposits or corrosion, e.g. by using filters or scrapers by using coatings, e.g. vitreous or enamel coatings
- F28F19/06—Preventing the formation of deposits or corrosion, e.g. by using filters or scrapers by using coatings, e.g. vitreous or enamel coatings of metal
Landscapes
- Engineering & Computer Science (AREA)
- Physics & Mathematics (AREA)
- Thermal Sciences (AREA)
- Mechanical Engineering (AREA)
- General Engineering & Computer Science (AREA)
- Heat-Exchange Devices With Radiators And Conduit Assemblies (AREA)
Abstract
【解決手段】熱源である海水との熱交換によって液化天然ガスを気化させるオープンラック式気化器100の伝熱管20またはヘッダー管30,40として用いる耐久性部材において、基材20aの外表面の一部または全部に溶射皮膜層20bを形成し、溶射皮膜層20bの表面であって、その温度がオープンラック式気化器100の運転時に海水凝固温度以下になる部位と、海水凝固温度まで降下しない部位とを金属・合金線21で接続してある。
【選択図】図1
Description
例えば、特許文献1では、犠牲防食金属皮膜(Zn−Al合金等)を溶射やクラッド等で伝熱管表面(アルミニウム母材表面)に形成し、それにより耐食性の向上を図る技術が提案されている。また、特許文献2では、高い耐食性を得るために、外面層にペトロラタムを含有する有機物被覆層を形成したオープンラック式気化器用伝熱管あるいはヘッダー管が提案されている。さらに、特許文献3では、鋼構造物および/またはコンクリート鋼構造物の表面に液状ビニルエステル樹脂組成物の未硬化物を塗布し、透明樹脂シートを塗膜上に重ねて覆い、その上から紫外線を照射することにより全体を接着一体化する鋼構造物またはコンクリート鋼構造物の防食方法が提案されている。
すなわち、異種の導体が接触している状態で導体間に温度差があると、導体間に電位差が生じることが知られている(この現象をゼーベック効果(熱電効果)という)。ORVにおいても、Al合金製のヘッダー管や伝熱パネルの基材と皮膜との間で、ゼーベック効果により熱起電力が生じていると考えられる。異種の金属・合金間で生じる熱起電力は、半導体で生じる熱起電力に比較すると小さいため、これまで着眼された例はないが、熱交換器のように大きな温度差が短距離にて生じ、かつ長期間その状態に置かれる場合、熱起電力による腐食の進行が存在することが分かった。つまり、前述の如く、管表面が極低温となるLNG導入側の下部ヘッダー管30や伝熱パネル10の下部において、犠牲防食金属皮膜層の消耗が著しく激しいのは、熱起電力による影響であると考えられる。
海水の氷結する領域は、下部ヘッダー管から伝熱パネルの下部に架けてであり、残りの領域には氷結しない。つまり、氷結する領域と氷結しない領域が伝熱パネルの上下に分かれているので、氷結した部位の熱起電力を低減させるためには、同一の伝熱パネル内で両方の領域を電気的に接続すればよい。
伝熱管内を流れる液化天然ガスの温度は、気化前の位置では必ず気化温度以下になっており、気化後の位置では海水により暖められて気化温度以上になっている。このため、伝熱管は長手方向の温度差によっても熱起電力を発生している。よって、溶射皮膜層の表面温度がオープンラック式気化器の運転時に海水凝固温度以下になる部位と、海水凝固温度まで降下しない部とを電気的に接続しておくと、伝熱管の長手方向の温度差の影響が少なくなり、熱起電力の低減作用が向上する。
このようにすると、裸導線と溶射皮膜層とのガルバニック腐食による溶射皮膜層の溶出が生じなくなり、溶射皮膜層の耐久性が向上する。また、樹脂被覆された導線を使用すると、樹脂が損傷しない限り導線の表面腐食電位を考慮しなくてもよくなり、材料選択の幅が広がる。
このような導線を用いると、導線と溶射皮膜層とのガルバニック腐食による導線の溶出が加速しなくなり、導線の寿命が長くなる。
このような裸導線を用いると、溶射皮膜層とのガルバニック腐食を防止でき、寿命が長くなる。
裸導線にAl合金を用いる場合、Al合金製の耐久性部材側の内部インピーダンスと、これとバイパスされるAl合金導線の外部インピーダンスがほぼ同等となるので、電荷の移動量が増え、バイパス効果が高まる。
このようにすると、電荷を基材側に直接逃がすことができるので、溶射皮膜層に電荷を逃がす場合に較べてバイパス効果が向上し、溶射皮膜層の腐食防止作用が一層向上する。
図1は図4に示したORVの部分斜視図、図2は図1のA−A線断面図で、熱起電力による電位の低減作用を説明する模式図である。
本実施形態に係る耐久性部材は、図4のオープンラック式気化器(ORV)100の伝熱管20または下部・上部ヘッダー管30,40として用いるものである。なお、ORV100の概略構成は図2に示したものと同一であるので、ここでは説明を省略する。
他の耐久性部材である下部・上部ヘッダー管30,40も同様に構成してある。
以下、各部の構成について説明する。
基材20aはORV用伝熱管に用いられるものであれば、特にその材質は問わないが、通常3000系、5000系あるいは6000系アルミニウム合金が用いられる。
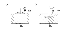
溶射皮膜層20bは、基材20bよりも電位が卑な金属を溶射して基材20bの外表面に形成したもので、その犠牲防食作用により基材20bの腐食損傷を防止する効果がある。なお、溶射皮膜層20bの形成はフレーム溶射、電気式溶射、高速フレーム溶射等で行われる。溶射皮膜層20bの材料としては、例えば、Al−Zn合金、Al−Mg合金、Al−Zn−Mg合金等を用いることができる。また、Al−Zn合金を用いる場合は、例えば、Al−2質量%Zn合金が挙げられる。なお、前記理由から、溶射被覆層6は、基材2よりも卑な(イオン化傾向が大きい)金属である必要がある。溶射皮膜層20bの厚さは、特に限定されるものではないが、数十μm〜数mm程度とすればよい。
同図(a)は、溶射皮膜層20bの表面に金属・合金線21を接合してある。すなわち、金属・合金線21の先端を折り曲げ、溶射皮膜層20bに固着してある。一方、同図(b)は、金属・合金線21の先端が溶射皮膜層20bを貫き、基材20aに固着してある。すなわち、金属・合金線21の先端折曲部を基材20aに埋設して面一にし、その上に溶射皮膜層20bを形成してある。なお、溶射皮膜層20bと金属・合金線21の間に形成される隙間は、出来るだけ小さくするのが望ましい。
アルミニウム合金A5083製の管(厚さ5mm、内径100mm)を300mm長さに切断し、片方の開口部に同じ厚さのアルミニウム合金A5083製の板を溶接して有底筒状の試験サンプル(No.1〜10)を作成した。次いで、その外周面及び外底面をショットブラスト(アルミナ#16〜#20)にて粗面化し、その上にAl-2%Zn合金からなる溶射皮膜21bを厚さ300μmで被覆した。試験サンプルの内面は処理していない。No.1,2,3,5,9,10の試験サンプルでは、上部開口面から30mmの範囲の外周面も溶射皮膜20bを被覆しなかった。その後、1mmφの金属・合金線21をサンプルの底面から20mm高さの外周位置と上部開口面から20mm下の外周位置面に1本または8本接続した。No.8のサンプルでは、底面から20mm高さの箇所のみに1本の金属・合金線21の一端を接続した。No.4,6,8の試験サンプルに用いた金属・合金線21は溶射皮膜20bと同一組成の溶射素線を用いた。
水槽中に温度を30℃に調整した人工海水を入れ、その中に試験サンプルを浸し、その周りに人工海水が循環するようにした。なお、試験サンプルの上部開口面から10mmの範囲は海水中に浸していない。試験サンプルの外周面及び内周面であって、底面からの高さが 20mmの位置に電圧計のプローブを取り付けて、外周面及び内周面間の電位差を測定した。内外面の温度差が無い場合、電位差は0である。サンプルの内部に液体窒素を200mm高さまで10分間連続添加し、その間の最大電位差にてバイパス効果を評価した。金属・合金線21を取り付けない試験サンプル(No.7)では最大0.36mVの電位差が生じた。なお、試験サンプルの底面から20mm高さの外周は氷に覆われていた。一方、上部開口面から20mm下の外周は凍っていない。液体窒素の添加を止めると、液体窒素が蒸発し、さらに内外面の温度差が無くなれば電位差は0となった。各試験サンプルについて同様の試験を行い、金属・合金線21を取り付けない試験サンプル(No.7)と比較して、最大電位差が50%以上低減すれば◎(効果大)、10%以上低減すれば○(効果有り)、10%未満の低減または同等であれば×(効果無し)とした。
以上の熱起電力の評価後、外周を30℃に調整した人工海水中に試験サンプルを2週間浸漬した。1日2回、サンプル中に液体窒素を200mm高さまで10分間連続添加した。その後、上下の金属・合金線21の接続位置付近の腐食状況を観察し、試験サンプルの外表面の溶射皮膜20bに腐食損傷が認められる場合×(ガルバニック腐食助長)、金属・合金線径が0.1mm以上細くなるかもしくは被覆樹脂が損傷している場合△(線が短寿命)、試験サンプルの外表面も金属・合金線21も変化が認められない場合○(良好)と評価した。
20 伝熱管
20a 基材
20b 溶射皮膜層
21 金属・合金線
22 溶接ビード
30 下部ヘッダー管
40 上部ヘッダー管
50 下部マニホールド
60 上部マニホールド
70 トラフ
100 オープンラック式気化器(ORV)
Claims (7)
- 熱源である海水との熱交換によって液化天然ガスを気化させるオープンラック式気化器の伝熱管またはヘッダー管として用いる耐久性部材であって、
当該耐久性部材を形成するアルミニウム合金製の管状基材の外表面の一部または全部にアルミニウム合金製の溶射皮膜層を形成し、前記溶射皮膜層の表面温度が前記オープンラック式気化器の運転時に海水凝固温度以下になる部位と、海水凝固温度まで降下しない部位とを電気的に接続したことを特徴とする耐久性部材。 - 前記電気的に接続する部位は、同一の伝熱パネル内にある少なくても2箇所であることを特徴とする請求項1に記載の耐久性部材。
- 前記伝熱管は、前記溶射皮膜層の表面温度が前記オープンラック式気化器の運転時に海水凝固温度以下になる部位と、海水凝固温度まで降下しない部位とを電気的に接続してあることを特徴とする請求項1または請求項2に記載の耐久性部材。
- 前記電気的な接続は、海水中の表面腐食電位が前記溶射皮膜層の表面腐食電位以下の裸導線または樹脂被覆された導線で行うことを特徴とする請求項1ないし請求項3のいずれか1項に記載の耐久性部材。
- 前記裸導線または前記樹脂被覆された導線と前記溶射皮膜層との表面腐食電位差が所定値以内であることを特徴とする請求項4に記載の耐久性部材。
- 前記裸導線が前記溶射皮膜層と同一組成であるか、あるいは、前記溶射皮膜層を形成にした溶射素線であることを特徴とする請求項5項に記載の耐久性部材。
- 前記海水凝固温度まで降下しない部位において、前記裸導線または樹脂被覆された導線の先端が前記溶射皮膜層を貫いて前記基材に直接接続してあることを特徴とする請求項4ないし請求項6のいずれか1項に記載の耐久性部材。
Priority Applications (1)
| Application Number | Priority Date | Filing Date | Title |
|---|---|---|---|
| JP2008267137A JP5088747B2 (ja) | 2008-10-16 | 2008-10-16 | 耐久性部材 |
Applications Claiming Priority (1)
| Application Number | Priority Date | Filing Date | Title |
|---|---|---|---|
| JP2008267137A JP5088747B2 (ja) | 2008-10-16 | 2008-10-16 | 耐久性部材 |
Publications (2)
| Publication Number | Publication Date |
|---|---|
| JP2010096412A true JP2010096412A (ja) | 2010-04-30 |
| JP5088747B2 JP5088747B2 (ja) | 2012-12-05 |
Family
ID=42258227
Family Applications (1)
| Application Number | Title | Priority Date | Filing Date |
|---|---|---|---|
| JP2008267137A Expired - Fee Related JP5088747B2 (ja) | 2008-10-16 | 2008-10-16 | 耐久性部材 |
Country Status (1)
| Country | Link |
|---|---|
| JP (1) | JP5088747B2 (ja) |
Cited By (1)
| Publication number | Priority date | Publication date | Assignee | Title |
|---|---|---|---|---|
| JP2019168119A (ja) * | 2018-03-22 | 2019-10-03 | 住友精密工業株式会社 | オープンラック式熱交換装置の運転方法、及び、オープンラック式熱交換装置 |
Citations (2)
| Publication number | Priority date | Publication date | Assignee | Title |
|---|---|---|---|---|
| JPH09178391A (ja) * | 1995-12-26 | 1997-07-11 | Kobe Steel Ltd | Lng気化器 |
| JP2007078237A (ja) * | 2005-09-13 | 2007-03-29 | Kobe Steel Ltd | Lng気化器用伝熱管およびその製造方法 |
-
2008
- 2008-10-16 JP JP2008267137A patent/JP5088747B2/ja not_active Expired - Fee Related
Patent Citations (2)
| Publication number | Priority date | Publication date | Assignee | Title |
|---|---|---|---|---|
| JPH09178391A (ja) * | 1995-12-26 | 1997-07-11 | Kobe Steel Ltd | Lng気化器 |
| JP2007078237A (ja) * | 2005-09-13 | 2007-03-29 | Kobe Steel Ltd | Lng気化器用伝熱管およびその製造方法 |
Cited By (2)
| Publication number | Priority date | Publication date | Assignee | Title |
|---|---|---|---|---|
| JP2019168119A (ja) * | 2018-03-22 | 2019-10-03 | 住友精密工業株式会社 | オープンラック式熱交換装置の運転方法、及び、オープンラック式熱交換装置 |
| JP7045230B2 (ja) | 2018-03-22 | 2022-03-31 | 住友精密工業株式会社 | オープンラック式熱交換装置の運転方法、及び、オープンラック式熱交換装置 |
Also Published As
| Publication number | Publication date |
|---|---|
| JP5088747B2 (ja) | 2012-12-05 |
Similar Documents
| Publication | Publication Date | Title |
|---|---|---|
| ES2797741T3 (es) | Recubrimiento pulverizado resistente a la corrosión y método para formar el mismo | |
| JP2003277992A (ja) | 耐食性に優れたステンレス鋼製の自動車用燃料タンクまたは給油管 | |
| JP4796362B2 (ja) | Lng気化器用伝熱管およびその製造方法 | |
| BR112018067413B1 (pt) | Sistema e método de proteção catódica para um componente ou substrato de metal e componente projetado para uso submarino | |
| CN104204711B (zh) | 用于铝热交换器的失效模式保护的牺牲铝翅片 | |
| KR101954563B1 (ko) | 염가이며 염해 내식성이 우수한 자동차용 부재 및 급유관 | |
| CN111705290A (zh) | 一种耐腐蚀铝合金型材 | |
| JP5088747B2 (ja) | 耐久性部材 | |
| JP5144629B2 (ja) | オープンラック式気化器の伝熱管およびヘッダー管 | |
| WO2017159054A1 (ja) | アルミニウム合金製部材及びlng気化器 | |
| JP5383981B2 (ja) | オープンラック式気化器の表面保護方法 | |
| KR20010105359A (ko) | 갈바닉 부식에 대해 향상된 저항성을 나타내는 제품 | |
| JP3762146B2 (ja) | 金属部材の接合構造および接合方法 | |
| JP5206964B2 (ja) | オープンラック式気化器の表面保護方法 | |
| JP5336797B2 (ja) | オープンラック式気化器の伝熱管およびヘッダー管の製造方法 | |
| JP6022910B2 (ja) | 金属接合体及びこれを用いた熱交換器 | |
| US9683296B2 (en) | Method and apparatus for controlling steel corrosion under thermal insulation (CUI) | |
| JP5088748B2 (ja) | 耐久性部材、および、これを用いたオープンラック式気化器 | |
| JPH11270996A (ja) | Lng気化器 | |
| JP2009144936A (ja) | 耐久性部材、および、これを用いたオープンラック式気化器 | |
| JP2012177535A (ja) | 耐食性アルミニウム合金部材、および、オープンラック式気化器の伝熱管またはヘッダー管 | |
| JP2004293811A (ja) | オープンラック式気化器用伝熱管あるいはヘッダー管 | |
| JP2011094170A (ja) | 熱交換部材 | |
| ES2249268T3 (es) | Articulo que presenta resistencia mejorada a la corrosion en forma de hormiguero. | |
| JP4464762B2 (ja) | 耐食性に優れた液化ガス気化器用Al合金部材及び液化ガス気化器 |
Legal Events
| Date | Code | Title | Description |
|---|---|---|---|
| A621 | Written request for application examination |
Free format text: JAPANESE INTERMEDIATE CODE: A621 Effective date: 20110401 |
|
| A977 | Report on retrieval |
Free format text: JAPANESE INTERMEDIATE CODE: A971007 Effective date: 20120723 |
|
| TRDD | Decision of grant or rejection written | ||
| A01 | Written decision to grant a patent or to grant a registration (utility model) |
Free format text: JAPANESE INTERMEDIATE CODE: A01 Effective date: 20120807 |
|
| A01 | Written decision to grant a patent or to grant a registration (utility model) |
Free format text: JAPANESE INTERMEDIATE CODE: A01 |
|
| A61 | First payment of annual fees (during grant procedure) |
Free format text: JAPANESE INTERMEDIATE CODE: A61 Effective date: 20120904 |
|
| FPAY | Renewal fee payment (event date is renewal date of database) |
Free format text: PAYMENT UNTIL: 20150921 Year of fee payment: 3 |
|
| R150 | Certificate of patent or registration of utility model |
Ref document number: 5088747 Country of ref document: JP Free format text: JAPANESE INTERMEDIATE CODE: R150 Free format text: JAPANESE INTERMEDIATE CODE: R150 |
|
| R250 | Receipt of annual fees |
Free format text: JAPANESE INTERMEDIATE CODE: R250 |
|
| R250 | Receipt of annual fees |
Free format text: JAPANESE INTERMEDIATE CODE: R250 |
|
| R250 | Receipt of annual fees |
Free format text: JAPANESE INTERMEDIATE CODE: R250 |
|
| R250 | Receipt of annual fees |
Free format text: JAPANESE INTERMEDIATE CODE: R250 |
|
| LAPS | Cancellation because of no payment of annual fees |
