JP2010090822A - 立軸バルブ型水車発電設備 - Google Patents

立軸バルブ型水車発電設備 Download PDF

Info

Publication number
JP2010090822A
JP2010090822A JP2008262119A JP2008262119A JP2010090822A JP 2010090822 A JP2010090822 A JP 2010090822A JP 2008262119 A JP2008262119 A JP 2008262119A JP 2008262119 A JP2008262119 A JP 2008262119A JP 2010090822 A JP2010090822 A JP 2010090822A
Authority
JP
Japan
Prior art keywords
water
flow path
opening
horizontal
swash plate
Prior art date
Legal status (The legal status is an assumption and is not a legal conclusion. Google has not performed a legal analysis and makes no representation as to the accuracy of the status listed.)
Granted
Application number
JP2008262119A
Other languages
English (en)
Other versions
JP5058118B2 (ja
Inventor
Hiroshi Komiya
浩 小宮
Fumihide Hoshino
文秀 星野
Koji Hamaguchi
晃二 濱口
Current Assignee (The listed assignees may be inaccurate. Google has not performed a legal analysis and makes no representation or warranty as to the accuracy of the list.)
Toshiba Corp
Original Assignee
Toshiba Corp
Priority date (The priority date is an assumption and is not a legal conclusion. Google has not performed a legal analysis and makes no representation as to the accuracy of the date listed.)
Filing date
Publication date
Application filed by Toshiba Corp filed Critical Toshiba Corp
Priority to JP2008262119A priority Critical patent/JP5058118B2/ja
Publication of JP2010090822A publication Critical patent/JP2010090822A/ja
Application granted granted Critical
Publication of JP5058118B2 publication Critical patent/JP5058118B2/ja
Active legal-status Critical Current
Anticipated expiration legal-status Critical

Links

Images

Classifications

    • YGENERAL TAGGING OF NEW TECHNOLOGICAL DEVELOPMENTS; GENERAL TAGGING OF CROSS-SECTIONAL TECHNOLOGIES SPANNING OVER SEVERAL SECTIONS OF THE IPC; TECHNICAL SUBJECTS COVERED BY FORMER USPC CROSS-REFERENCE ART COLLECTIONS [XRACs] AND DIGESTS
    • Y02TECHNOLOGIES OR APPLICATIONS FOR MITIGATION OR ADAPTATION AGAINST CLIMATE CHANGE
    • Y02EREDUCTION OF GREENHOUSE GAS [GHG] EMISSIONS, RELATED TO ENERGY GENERATION, TRANSMISSION OR DISTRIBUTION
    • Y02E10/00Energy generation through renewable energy sources
    • Y02E10/20Hydro energy

Landscapes

  • Hydraulic Turbines (AREA)

Abstract

【課題】軸バルブ型水車発電設備における空気吸込み渦の発生を抑制する。
【解決手段】立軸バルブ型水車発電設備は、回転軸が鉛直方向を向くように配置された水車と、水車に接続されてその水車によって駆動される発電機2を有する。自由水面20が形成されて水車の上方に向かって水がほぼ水平に流れるように形成された水平流路80と、水平流路80の底部に形成された開口部71から発電機2に向かって下向きに延びて、水平流路80を流通した水が水車に向かって下向きに流れるように形成された縦方向流路70と、を有する。開口部71の上方の自由水面20近傍に配置されて、終端部82側が下がるように且つ終端部82側が自由水面20下にあるように固定された斜板10を有する。
【選択図】図2

Description

本発明は、水平流路を流れる水を縦方向流路に取り込んで水車に供給する立軸バルブ型水車発電設備に関する。
水車にプロペラ状の翼を用いて回転させるとともに、あわせて設置されるガイドベーンも可動とし、水車を通過する流体の流量変化に対して、高い効率で運転できるようにしたものをカプラン水車という。そのカプラン水車を用いた発電設備の一種である立軸バルブ型水力発電設備は、比較的低落差用に適用されることが多い。
このため、水車上方の水平流路上部水面から縦方向流路の入口に至るまでの鉛直方向距離がフランシス水車などに比べて短い。また、同様に水車内を流れる水量が相対的に多い。
特開2005−163563号公報 特開2007−120461号公報
例えば特許文献1に開示されているように、立軸バルブ型水力発電設備を運転したときに、水平流路の水面から水車に向かって、空気吸込み渦といわれる強い旋回速度成分を有するロープ状の渦流が局所的に発生する場合がある。
この渦(空気吸い込み渦)は水車運転によって水が急激に水車流路へと吸引されることによって発生するものであるが、水面から水車へと連続的に発生する。このために、水車にはこの渦による大きな水力エネルギ損失が発生したり、渦が水車に衝突することで振動や騒音を発生し水車をはじめとする主要機器の運転にも支障をきたしたりすることになる。
一般にこの空気吸込み渦は、水が流れる流路の形状に密接に関係するものであり、水平流路の水流方向速度の不均一性が旋回方向の流れを発達させ渦流となって成長するものである。また、この空気吸込み渦は、流路内のフローパターンの均一性と深く関係するものであり、流路内のフローパターンが一様で乱れがない場合は渦が発生しないことが知られている。
しかし、水平流路内のフローパターンを一様にすることは、土木工事上の制限や施工上の問題等があり困難な場合が多く、このために空気吸込み渦が発生し易い状況となっている。
立軸バルブ型水力発電所の水路のように、水平流路の末端底部に開口部(給水口)を有し、水平流路の下方の垂直方向に縦方向流路を形成する場合、水流の方向は水平方向から鉛直下向きに変えられるため、水平流路の末端部には下降流れが生じることになる。そのため水面に発生する渦は下方に向かって伸長しやすくなる場合がある。このとき、水平流路の水位が低くなり、水車の水量が多いほど渦強度が増し空気吸込み渦となり、縦方向流路の給水口に向かって空気が連続的あるいは断続的に吸い込まれるようになる。
この空気吸込み渦の発生により、水車内に空気が流入することで水車運転状態に変動が生じ水車主機をはじめとする機器の運転にも支障をきたす場合がある。また、水車には大きなエネルギ損失が発生する。
このような空気吸込み渦を回避する方法は、例えば、特許文献1に開示されているように、発電機のバルブの上面部に一端を固定支持して他端を流水路に突出した整流棒を配置することによって、水流は整流棒を中心とした穏やかな旋回を有する流れとなり局部的渦流が発生しにくくなることが知られている。
しかし、この方法では、渦が発生して棒のまわりに定常的にまとわりついた場合、渦により丸棒が加振力を受けて振動するようになり、構造物の健全性上好ましくない場合も考えられる。
また特許文献2に開示されているように、水平流路から水を取り入れるための導水口の水面付近に、ほぼ水平となるように水平整流板を配置することによって、渦の発生を抑制させることなどが知られている。
また汎用のポンプでは、上記のような空気吸込み渦を回避する手段として、吸込み配管形状の適正化や旋回流抑制の吸込み装置等が考察されているが、立軸バルブ水車においては、そのようなものが実用化されていない。
以上述べたように、立軸バルブ型水車発電設備においては、水車の流水路を形成する水面に空気の吸込みによる渦流が、水車に向かって発生する。この空気吸込み渦が水車に到達すると、水力エネルギ損失が増大し水車性能が低下する。仮に運転可能であっても、水車性能の低下は避けられない。
この水車は、低落差領域に適用されることから、比較的小さな損失であっても有効落差に対する比率として表される水車損失の観点からは、無視できない大きなものになる。また、渦流が水車に衝突および接触する際には、騒音および振動等の水車の運転に支障を来たす現象が生ずる。
本発明は上記課題を解決するためになされたものであって、その目的は、立軸バルブ型水車発電設備における空気吸込み渦の発生を抑制することにある。
上記目的を達成するための本発明に係る立軸バルブ型水車発電設備は、回転軸が鉛直方向を向くように配置された水車と、前記水車に接続されてその水車によって駆動される発電機と、自由水面が形成されて給水口から終端部近くの前記水車の上方に向かってほぼ水平に水が流れるように形成された水平流路と、前記水平流路の底部の前記終端部寄りに形成された開口部から前記発電機に向かって下向きに延びて、前記水平流路を流通した水が前記水車に向かって下向きに流れるように形成された縦方向流路と、前記開口部の上方の前記自由水面近傍に配置されて、前記終端部側が下がるように前記自由水面に対して所定の傾きを保ち、前記終端部側が前記自由水面下にあるように配置された斜板と、を有することを特徴とする。
また、本発明に係る立軸バルブ型水車発電設備は、回転軸が鉛直方向を向くように配置された水車と、前記水車に接続されてその水車によって駆動される発電機と、自由水面が形成されて給水口から終端部近くの前記水車の上方に向かってほぼ一定の幅でほぼ水平に水が流れるように形成された水平流路と、前記水平流路の底部の前記終端部寄りに形成された開口部から前記発電機に向かって下向きに延びて、前記水平流路を流通した水が前記水車に向かって下向きに流れるように形成された縦方向流路と、それぞれが前記開口部の上方で前記水平流路の両側の壁面それぞれに取り付けられて前記終端部側が前記自由水面下にあるように且つ前記終端部側が下がるように前記自由水面に対して所定の傾きを保つように配置されて、前記開口部の上方が開放されるように構成された斜板と、を有することを特徴とする。
また、本発明に係る立軸バルブ型水車発電設備は、回転軸が鉛直方向を向くように配置された水車と、前記水車に接続されてその水車によって駆動される発電機と、自由水面が形成されて給水口から終端部近くの前記水車の上方に向かってほぼ水平に水が流れるように形成されて、前記給水口から前記開口部の前記給水口側端部までほぼ一定の幅になるように形成された水平流路と、前記水平流路の底部の前記終端部寄りに形成された円形の開口部から前記発電機に向かって下向きに延びて、前記水平流路を流通した水が前記水車に向かって下向きに流れるように形成された縦方向流路と、を有し、前記開口部の上方の前記水平流路の両側の壁面それぞれには、前記終端部側が下がるように且つ前記自由水面に対して所定の傾きを有し前記開口部の上方が開放されるように構成された傾斜面が形成されていること、を特徴とする。
また、本発明に係る立軸バルブ型水車発電設備は、回転軸が鉛直方向を向くように配置された水車と、前記水車に接続されてその水車によって駆動される発電機と、自由水面が形成されて給水口から終端部近くの前記水車の上方に向かってほぼ水平に水が流れるように形成された水平流路と、前記水平流路の底部の前記終端部寄りに形成された開口部から前記発電機に向かって下向きに延びて、前記水平流路を流通した水が前記水車に向かって下向きに流れるように形成された縦方向流路と、前記水平流路底部から上方に延びて、前記開口部よりも前記終端部側で、前記水平流路の両側の壁面それぞれと前記終端部とからなる隅部それぞれを水平方向から覆うように配置された多孔質部材の隔壁と、を有することを特徴とする。
本発明によれば、立軸バルブ型水車発電設備における空気吸込み渦の発生を抑制することが可能となる。
以下、本発明に係る立軸バルブ型水車発電設備の実施形態について、図面を参照して説明する。
[第1の実施形態]
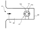
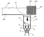
先ず、図1および図2を用いて本発明の立軸バルブ型水車発電設備に係る第1の実施形態の構成および作用について説明する。図1は、本実施形態の立軸バルブ型水車発電設備を示す概略平面図である。図2は、図1の概略側断面図である。
本実施形態の立軸バルブ型水車発電設備は、自由水面20が形成されて給水口81から終端部82に向かってほぼ水平に水が流れる水平流路80と、水平流路80の底部の終端部82寄りに形成された円形の開口部71から下向きに延びて水平流路80を流通した水が下向きに流れるように形成された縦方向流路70と、を有する。水平流路80の給水口81付近の水流方向および縦方向流路70の開口部71より下方の水流方向は、矢印50で示している。
縦方向流路70の下方には、鉛直に延びる主軸3を有する水車発電機21が配置されている。
水車発電機21は、たまご型をしたバルブ1を有し、このバルブ1内には発電機固定子および回転子を主要構成部材とした発電機2が配置されている。主軸3は鉛直方向に配置され、主軸3の上方側の端部には、回転子が結合されており、下方側の端部にはランナ4が取り付けられている。
このランナ4の上方には流量を調節するガイドベーン5が複数枚円周状に配置されており、複数のガイドベーン5は、これらの外周部に位置するリンク機構等により連動するように形成されている。
ガイドベーン5の上方側(上流側)にはバルブ1を支えるためのステー6と呼ばれる支持部材が、バルブ1から縦方向流路70の外側に向かって放射状に配置されている。また、発電機2の内部を点検するための点検口が、バルブ1の上方と下方それぞれに配置されている。
さらに、開口部71の上方の自由水面20近傍には、斜板10が配置されている。この斜板10は、水平流路80の短手方向長さ、すなわち水平流路80の幅と、ほぼ同じ幅の略長方形状の平板である。この斜板10の終端部82側の終端部側端辺10aが下がるように自由水面20に対して所定の傾きを保ち、終端部側端辺10aが自由水面20より下方にあるように、すなわち水没するように固定されている。終端部側端辺10aは、自由水面20とほぼ平行になるように配置しておくとよい。
斜板10の給水口側端辺10bの自由水面20からの高さは、空気吸込み渦は最低水位のときに最も発生しやすいので、自由水面20の水位が最低水位のときに、水平流路80を流れる水が給水口側端辺10bを乗り越えられない程度の高さ以上となるように設定しておくとよい。
本実施形態によれば、水車発電機21を運転するときには、水平流路80の給水口81側から終端部82に向かって水平に流れる水は、斜板10によって下向きに偏向されてスムーズに開口部71に流入される。このとき、水平流路80の給水口81側(上流側)で発生した小さな剥離渦が壊されるため、斜板10よりも終端部82側(下流側)の水面は安定し終端部82近傍で渦が発生することを抑制可能になる。
これにより、水面から水車発電機21に向かって発生する空気吸込み渦の発生を抑制できる。したがって、エネルギ損失を抑制し効率的に水車発電機21を運転することが可能になる。
[第2の実施形態]
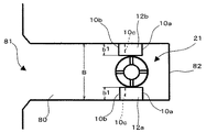
本発明に係る立軸バルブ型水車発電設備の第2の実施形態について図3〜図7を用いて以下に説明する。この実施形態は第1の実施形態の変形例であって、第1の実施形態と同一部分または類似部分には、同一符号を付して、重複説明を省略する。図3は、本実施形態の立軸バルブ型水車発電設備を示す概略平面図である。図4は、図3の概略側断面図である。図5は、斜板10と自由水面20とのなす角度αを定めるために模型実験を行って、角度αと渦発生回数との関係を検討した結果を示したグラフである。図6は、終端部側端辺10aの水没深さhを定めるために模型実験を行って、水没深さhおよび開口部直径D0の比(h/D0)と、渦発生回数との関係を検討した結果を示したグラフである。図7は、開口部71と斜板10との相対位置を定めるために模型実験を行って、水平幅方向交線10cおよび開口部71中心の水平距離ΔXと開口部71の直径D0との比に対する渦発生回数を検討した結果を示したグラフである。
本実施形態では、図4に示す斜板10の水流を受ける面と自由水面20とがなす角度αは、式(1)満たすように構成されている。
30°≦α≦60° …(1)
また、開口部71の直径をD0としたときに、斜板10の終端部側端辺10aから自由水面20までの水没深さhは、式(2)を満たすように、斜板10が固定されている。
h/D0≧0.15 …(2)
また、斜板10と自由水面20とが交わってなる水平幅方向交線10cと、開口部71の中心との水平方向距離をΔXとしたときに、このΔXと開口部直径D0との比(ΔX/D0)は、水平幅方向交線10cが開口部71の中心よりも給水口81側(上流側)のときは、0より大きくて且つ0.3以下となる。また、水平幅方向交線10cが開口部71の中心よりも終端部82側(下流側)のときは、0より大きくて且つ0.2以下となる。
このとき、水平幅方向交線10cが開口部71の中心よりも給水口81側(上流側)にあるときのΔXを正として、この逆の場合を負としたときには、式(3)を満たす。
−0.2≦ΔX/D0≦0.3 …(3)
なお、図4におけるΔXは、正の値をとっている。
上記のように角度α、水没深さh、水平方向距離ΔXを定めることによって、自由水面20に発生する渦を抑制することが可能になる。
以下に、これらのパラメータ(α、h、ΔX)を定めるために行った模型試験について説明する。
模型実験は標準的な形状の直線形の水路を用い、縦方向流路70の開口部の直径をD0、水平流路の幅をB、水平流路80の終端部82から開口部71の中心までの水平距離をXとすると、式(4)および式(5)を満たす寸法比とした。
B/D0=1.59 …(4)
X/D0=0.74 …(5)
水車の吸込水槽としての標準は定められていないため、「JSME S 004−1984」の標準的なポンプ吸込水槽を参照した。
水平流路80の底面から自由水面20までの垂直方向距離(水深)Zは、実際の水車発電設備の最低水位から最高水位までを想定して、式(6)を満たす寸法比とした。
Z/D0=0.83〜1.0 …(6)
実験流速は、「ポンプ吸込水槽の模型試験方法(TSJ S 002:2005)」に準拠して、実物のフルード数一致条件から中間流速をカバーする範囲とした。
先ず、角度αを定めるために行った模型試験について説明する。
図5に示すように、斜板10の角度をαとして、この角度αを0°(水平)から90°(鉛直)の範囲で変化させたときの渦発生回数を計測した。実験条件は水平流路80の通常の流速に基づいた中間流速として、水位は発電設備としてとりうる最低水位とした。
このとき、斜板10の水没深さhは、α≧30°のときh/D0≒0.19となるように設定した。また、自由水面20および斜板10が交わって形成される水平幅方向交線10cと開口部71の中心との水平方向距離ΔXは、ΔX=0、すなわち開口部71の中心の真上に水平幅方向交線10cがあるように設定した。
図5に示すように、α=0°では斜板10が水平になるため斜板10が水流を偏向させる効果がなく、開口部71後部(終端部82側)に空気吸込み渦が常時発生する。角度αを大きくしていくと、渦の発生頻度が次第に減少していく。α=30°前後では渦の発生がほぼなくなる。渦が発生しない範囲は、α=60°程度までで、これよりも角度αを大きくしていくと、斜板10の給水口81側(上流側)に渦が発生し、さらに終端部82側(下流側)にも小さな渦が発生する。
この結果から、斜板10の水流を受ける面と水平流路80の自由水面20とにより形成される角度αは、上記の式(1)で示す範囲に設定することが望ましい。
次に、水没深さhを定めるために行った模型試験について説明する。
図6に示すように、斜板10の終端部側端辺10aの水没深さをhとして、この水没深さhと開口部直径D0との比(h/D0)を、0.05〜0.3の範囲で変化させたときの渦発生回数を計測した。
実験条件は上記の角度αを検討したときと同様に、流速は中間流速、水位は最低水位とした。また、斜板10の角度αは、上記で検討した渦の抑制効果のある範囲の中央値、すなわちα=45°とした。また、開口部71の中心と水平幅方向交線10cとの水平方向距離ΔXは、ΔX=0、すなわち開口部71の中心の真上に水平幅方向交線10cがあるように設定した。
図6に示すように、h/D0=0.1から渦の発生が減少し、h/D0=0.15以上では、渦の発生が認められない。
この結果から、終端部側端辺10aと自由水面20までの垂直方向距離、すなわち水没深さhは、上記式(2)を満たすように設定することが望ましい。
次に、水平方向距離ΔXを定めるために行った模型試験について説明する。
図7に示すように、水平幅方向交線10cと開口部71の中心との水平方向距離をΔXと、開口部直径D0との比(ΔX/D0)を、−0.3から0.56の範囲で変化させたときの渦発生回数を計測した。
ここで、ΔXの符号は、水平幅方向交線10cが開口部71の中心よりも給水口81側(上流側)にあるときを正として、この逆を負としている。
実験条件は上記の角度αを検討したときと同様に、流速は中間流速、水位は最低水位とした。また、斜板10の角度αは、上記で検討した渦の抑制効果のある範囲の中央値、すなわちα=45°とした。また、終端部側端辺10aの水没深さhは、h/D0=0.19を満たすように設定した。
図7に示すように、ΔX/D0が、ΔX/D0≧0.3のときには、斜板10の終端部82側(下流側)に渦が発生し、Δx/D0≦−0.2のときには、斜板10の給水口81側(上流側)に渦が発生する。
この結果から、水平幅方向交線10cと開口部71の中心との水平方向距離ΔXは、上記式(3)を満たすように設定することが望ましい。
[第3の実施形態]
本発明に係る立軸バルブ型水車発電設備の第3の実施形態について図8および図9を用いて以下に説明する。この実施形態は第1の実施形態の変形例であって、第1の実施形態と同一部分または類似部分には、同一符号を付して、重複説明を省略する。図8は、本発明に係る立軸バルブ型水車発電設備の第3の実施形態を示す概略平面図である。図9は、図8の概略側断面図である。
本実施形態では、第1および第2の実施形態で用いた斜板10に代わって、面内に格子が形成された格子斜板11が水平流路80に取り付けられている。固定方法は、第1の実施形態と同様である。
格子斜板11は、水平流路幅方向に延びた複数の格子板11aを有する。これらの格子板11aは、格子斜板11の傾きに沿って、互いに間隔をあけて配列されている。格子板11aは細長い平板であって、短手方向が鉛直になるように配置されている。すなわち、格子板11a同士の間を鉛直方向に水が流通しやすいように構成されている。
水平流路80から開口部71を通り縦方向流路70に水流が偏向されるとき、流路が急閉塞することに伴い縦方向流路内の圧力が上昇する。このとき、開口部71の下方から上方に向かって流れる上昇流が発生する場合がある。この上昇流によって、斜板10には大きな圧力が作用することがある。
これに対して、本実施形態では、斜板10の代わりに格子斜板11を用いているため、仮にこのような上昇流が格子斜板11に衝突しても、上両流の一部は格子斜板11を上方に向かって通りに抜けるため大きな抵抗を受けることがない。
本実施形態によれば、第1の実施形態と同様に、水面から水車発電機21に向かって発生する空気吸込み渦の発生を抑制できる。したがって、エネルギ損失を抑制し効率的に水車発電機を運転することが可能になる。
また、流路の急閉塞に伴う上昇流が生じた場合であっても、流路内の水流を健全な状態に維持することが可能である。
[第4の実施形態]
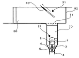
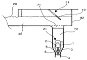
本発明に係る立軸バルブ型水車発電設備の第4の実施形態について図10および図11を用いて以下に説明する。この実施形態は第1の実施形態の変形例であって、第1の実施形態と同一部分または類似部分には、同一符号を付して、重複説明を省略する。図10は、本実施形態の立軸バルブ型水車発電設備であって、斜板10が下方に配置された状態を示す概略側断面図である。図11は、図10における斜板10が上方に配置された状態を示す概略側断面図である。
本実施形態では、水平流路80の壁面に、斜板上下移動装置31が配置されている。この斜板上下移動装置31は、斜板10が所定の傾きを保持したまま、この傾きに沿って上下方向に移動可能に構成されている。
図10では、水車発電機21が運転しているときの斜板10の位置を示しており、第1の実施形態と同様に、空気吸込み渦の発生を抑制することができる。
水車発電機21のメンテナンスや交換等の作業をする必要が生じた場合、作業員は、水車発電機21の上方からアクセスする。斜板10が、図10の状態で固定されている場合には、この斜板10が水車発電機21へのアクセスの障害になる場合がある。
これに対して、斜板上下移動装置31によって、図11に示すように、図10での斜板10の位置から斜板10の傾きを保ちながら上方へ移動することができる。これにより、水車発電機21の上方が開放された状態になるため、作業員が水車発電機21へ容易にアクセスすることができる。また、所定の傾きを保ったまま斜板10が上下に移動できるため、斜板10をメンテナンス前の状態に容易に戻すことができる。
以上の説明からわかるように本実施形態によれば、水車発電機21が稼働しているときは、空気吸込み渦の発生を抑制でき、且つ水車発電機21のメンテナンス等を行うときは、メンテナンス作業をより効率よく行うことが可能になる。
[第5の実施形態]
本発明に係る立軸バルブ型水車発電設備の第5の実施形態について図12および図13を用いて以下に説明する。この実施形態は第4の実施形態(図10、図11)の変形例であって、第4の実施形態と同一部分または類似部分には、同一符号を付して、重複説明を省略する。図12は、本実施形態の立軸バルブ型水車発電設備であって、斜板10が終端部82側に配置された状態を示す概略側断面図である。図13は、図12における斜板10が給水口81側に配置された状態を示す概略側断面図である。
本実施形態では、水平流路80の壁面に、斜板水平移動装置32が配置されている。この斜板水平移動装置32は、斜板10が所定の傾きを保持したまま、水平流路80が延びる方向に沿って水平に平行移動可能に構成されている。
図12では、水車発電機21が運転しているときの斜板の位置を示しており、第1の実施形態と同様に、空気吸込み渦の発生を抑制することができる。
水車発電機のメンテナンスや交換等の作業をする必要が生じた場合、作業員は、水車発電機21の上方からアクセスする。斜板10が図12の状態で固定されている場合には、この斜板10が水車発電機21へのアクセスの障害になる場合がある。
これに対して、斜板水平移動装置32によって、図13に示すように、斜板10の傾きを保ちながら給水口81に向かって水平に平衡移動することができる。これにより、水車発電機21の上方が開放された状態にすることができる。
以上の説明からわかるように本実施形態によれば、第4の実施形態と同様に効果を得ることが可能となる。
[第6の実施形態]
本発明に係る立軸バルブ型水車発電設備の第6の実施形態について図14および図15を用いて以下に説明する。この実施形態は第4の実施形態の変形例であって、第4の実施形態(図10、図11)と同一部分または類似部分には、同一符号を付して、重複説明を省略する。図14は、本実施形態の立軸バルブ型水車発電設備であって、分割可能な分割斜板14が閉じた状態を示す概略側断面図である。図15は、図14における分割斜板14が開いた状態を示す概略側断面図である。
本実施形態では、水平流路80の壁面に、分割斜板回動装置33が配置されている。この分割斜板回動装置33は、水平流路80の両側の壁面それぞれに所定の傾きを保ちながら固定された傾斜回動軸41を有している。
さらに、本実施形態では、第1〜第5の実施形態で説明した斜板10に代わって、水平流路80が延びる方向に沿って中央で2つに分割可能な分割斜板14を用いている。分割されていない状態の分割斜板14は、第1の実施形態で用いている斜板10と同様の機能を有している。中央で2つに分割可能な分割斜板14それぞれは、水平流路80の両側の壁面に設けられた傾斜回動軸41の周りを回動可能に構成されている。
図14では、水車発電機21が運転しているときの斜板の位置を示しており、第1の実施形態と同様に、空気吸込み渦の発生を抑制することができる。このときの分割斜板14は、上記の斜板10と同じ状態を保持している。
水車発電機21のメンテナンスや交換等の作業をする必要が生じた場合、作業員は、水車発電機21の上方からアクセスする。分割斜板14が、図14の状態で固定されている場合には、この分割斜板14が水車発電機21へのアクセスの障害になる場合がある。
これに対して、2つに分割された分割斜板14それぞれが、傾斜回動軸41の周りを回動して、図15に示すように傾斜回動軸41の周りを回動すると、水車発電機21の上方が開放された状態になる。
以上の説明からわかるように本実施形態によれば、第4の実施形態と同様に効果を得ることが可能となる。
[第7の実施形態]
本発明に係る立軸バルブ型水車発電設備の第7の実施形態について図16および図17を用いて以下に説明する。この実施形態は第4の実施形態(図10、図11)の変形例であって、第4の実施形態と同一部分または類似部分には、同一符号を付して、重複説明を省略する。図16は、本実施形態の立軸バルブ型水車発電設備であって、斜板10が所定の角度を保った状態を示す概略側断面図である。図17は、図16における斜板10の水流を受ける面が鉛直な状態を示す概略側断面図である。
本実施形態では、開口部71よりも終端部82側の水平流路80の底部に、斜板回動装置35が取り付けられている。この斜板回動装置35は、水平流路80の幅方向に水平に延びて水平流路80の底部に取り付けられた水平回動軸45と、この水平回動軸45周りを回動可能に構成された回動板35aを有する。
さらに、斜板10の終端部側端辺10aが、回動板35aの水平回動軸45と遠い方の端辺に平行に取り付けられている。
本実施形態の斜板10は、水平回動軸45周りを回動可能に構成されている。水車発電機21のメンテナンス等を行うときは、斜板10を回動させて、斜板10の面が鉛直になるように固定する。これにより、水車発電機21の上方を開放された状態になる。
以上の説明からわかるように本実施形態によれば、第4の実施形態と同様に効果を得ることが可能となる。
[第8の実施形態]
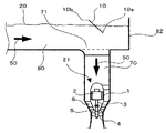
本発明に係る立軸バルブ型水車発電設備の第8の実施形態について図18および図19を用いて以下に説明する。この実施形態は第2の実施形態(図3、図4)の変形例であって、第2の実施形態と同一部分または類似部分には、同一符号を付して、重複説明を省略する。図18は、本実施形態の立軸バルブ型水車発電設備を示す概略平面図である。図19は、図18の概略側断面図である。
本実施形態では、2つの小斜板、すなわち第1小斜板12a、第2小斜板12bを有する。これらの小斜板12a、12bは、水平流路80の両側の壁面それぞれに1つずつ取り付けられている。
これら第1および第2小斜板12a、12bそれぞれの水平流路幅方向をb1して、水平流路80の給水口81側の幅をB、開口部直径をD0とすると、第1および第2小斜板12a、12bは、上記b1が式(7)を満たすように構成されている。
b1≦(B―D0)/2 …(7)
すなわち、開口部71の上方の自由水面20は、大気開放された状態になっている。
また、これらの第1および第2小斜板12a、12bそれぞれは、第2の実施形態と同様に、角度α、水没深さh、水平方向距離ΔXが定められている。
本実施形態によれば、第2の実施形態と同様の効果を得ることが可能であるとともに、開口部71の上方には障害物がなく開放されているため、水車発電機21のメンテナンス等を行うときは、水車発電機21の上方からのアクセスが容易になる。
[第9の実施形態]
本発明に係る立軸バルブ型水車発電設備の第9の実施形態について図20および図21を用いて以下に説明する。この実施形態は第8の実施形態の変形例であって、第8の実施形態と同一部分または類似部分には、同一符号を付して、重複説明を省略する。図20は、本実施形態の立軸バルブ型水車発電設備を示す概略平面図である。図21は、図20の概略側断面図である。
本実施形態では、開口部71の上方の水平流路80の両側の壁面それぞれには、終端部82側が下がるように、且つ自由水面20に対して所定の傾きを有しながら水流を受ける傾斜面13が形成されている。
開口部71よりも給水口81側の水平流路80の幅をB、開口部71よりも終端部82側の水平流路80の幅をCとして、各傾斜面13の水平流路幅方向をb2とすると、傾斜面13は、上記b2が式(8)を満たすように構成される。
b2=(B−C)/2 …(8)
また、各傾斜面13と自由水面20とのなす角度αは、第2の実施形態と同様に、式(1)を満たすように形成されている。
また、第8の実施形態と同様に、各傾斜面13と自由水面20とが交わってなる交線を水平幅方向交線10cとして、開口部71の中心と水平幅方向交線10cとの水平方向距離をΔXとすると、ΔX/D0は、式(3)を満たすように構成されている。
本実施形態によれば、第8の実施形態と同様の効果を得ることが可能であるとともに、流路が固定されているため耐久性を向上させることができる。
[第10の実施形態]
本発明に係る立軸バルブ型水車発電設備の第10の実施形態について図22および図23を用いて以下に説明する。この実施形態は第1の実施形態の変形例であって、第1の実施形態と同一部分または類似部分には、同一符号を付して、重複説明を省略する。図22は、本実施形態の立軸バルブ型水車発電設備を示す概略平面図である。図23は、図22の概略側断面図である。
本実施形態では、水平流路80底部から上方に延びた平板状の3つの第1隔壁27a、第2隔壁27b、および第3隔壁27cが、開口部71の中心よりも終端部82側に配列されている。
水平流路80の一方の壁面に第1隔壁27aが取り付けられて、もう一方の壁面に第3隔壁27cが取り付けられている。第2隔壁27bは、第1隔壁27aと第3隔壁27cとを連結するように配置されている。すなわち、3枚の隔壁27a、27b、27cによって、開口部71の終端部82側の外側半周を囲うように配置されて、且つ水平流路80を開口部71が形成された側と終端部82側とを隔てるように構成されている。
さらに、第1隔壁27aと第2隔壁27bとの連結部と、終端部82とを連結するように、第4隔壁27dが設けられている。同様に、第3隔壁27cと第2隔壁27bとの連結部と、終端部82とを連結するように、第5隔壁27eが設けられている。
これらの隔壁27a、27b、27c、27d、27eは、水流に対して所定の抵抗力を作用させながら水が流通可能に構成されて、例えば、例えばパンチングメタルや穴あきコンクリート等の多孔質部材により形成されている。
水車発電機21を運転するときに、水平流路80を給水口81から終端部82に向かって流れる水の一部は、終端部82に向かって開口部71の上方を通り過ぎる。
終端部82付近の水は、第1隔壁27a、第2隔壁27b、および第3隔壁27cを流通することによって、流速が小さくなり整流される。
流速が小さくなり整流された状態で、終端部82に達するため、循環流の発生を抑制することができる。このとき、終端部82近傍の水は、第4および第5隔壁27d、27eを流通するため、より整流効果をより高めることができる。
第1〜第3隔壁27a、27b、27cよりも終端部82側の水面は、安定しているため、終端部82付近での渦の発生が抑制される。このため、空気吸込み渦の発生が抑制可能になるため、水車発電機21を安定して運転することができる。したがって、エネルギ損失を抑制し効率的に水車発電機を運転することが可能になる。
[第11の実施形態]
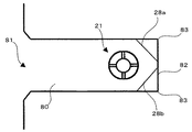
本発明に係る立軸バルブ型水車発電設備の第11の実施形態について図24および図25を用いて以下に説明する。この実施形態は第10の実施形態の変形例であって、第10の実施形態と同一部分または類似部分には、同一符号を付して、重複説明を省略する。図24は、本実施形態の立軸バルブ型水車発電設備を示す概略平面図である。図25は、図24の概略側断面図である。
本実施形態では、2つの隅隔壁、すなわち第1隅隔壁28a、第2隅隔壁28bを有する。これらの第1および第2隅隔壁28a、28bそれぞれは、開口部71よりも終端部82側で、水平流路80の両側の壁面それぞれと終端部82とで形成された2つの隅部83それぞれを、水平方向から覆うように配置されている。これらの第1および第2隅隔壁28a、28bの材質等は、第10の実施形態で説明した第1〜第5隔壁27a〜27eと同様である。
水車発電機21を運転するときに、水平流路80を給水口81から終端部82に向かって流れる水の一部は、開口部71の上方を通り過ぎて終端部82に向かう。終端部82に到達した水は、左右に分かれて第1隅隔壁28aおよび第2隅隔壁28bを流通することによって、流速が小さくなり整流される。このため、循環流の発生を抑制することができる。
終端部82側の水面が安定しているため、第10の実施形態と同様に、終端部82付近での渦の発生が抑制される。このため、空気吸込み渦の発生が抑制可能となり、水車発電機21を安定して運転することができる。したがって、エネルギ損失を抑制し効率的に水車発電機を運転すること可能になる。
[その他の実施形態]
上記実施形態の説明は、本発明を説明するための例示であって、特許請求の範囲に記載の発明を限定するものではない。また、本発明の各部構成は上記実施形態に限らず、特許請求の範囲に記載の技術的範囲内で種々の変形が可能である。
例えば、第3の実施形態の格子斜板11を第2の実施形態に用いてもよい。また、第4〜第7の実施形態の特徴と、第2の実施形態の特徴を組み合わせてもよい。
さらに、第10および第11の実施形態の特徴に第1の実施形態の特徴を組み合わせることも可能である。
本発明に係る立軸バルブ型水車発電設備の第1の実施形態を示す概略平面図である。 図1の概略側断面図である。 本発明に係る立軸バルブ型水車発電設備の第2の実施形態を示す概略平面図である。 図3の概略側断面図である。 図4の斜板と自由水面とのなす角度αを定めるに模型実験を行って、角度αに対する渦発生回数の関係を検討した結果を示したグラフである。 図4の斜板の終端部側端辺の水没深さhを定めるために模型実験を行って、水没深さhと開口部直径D0との比に対する渦発生回数の関係を検討した結果を示したグラフである。 図4の開口部と斜板との相対位置を定めるために模型実験を行って、水平方向距離ΔXと開口部直径D0との比に対する渦発生回数を検討した結果を示したグラフである。 本発明に係る立軸バルブ型水車発電設備の第3の実施形態を示す概略平面図である。 図8の概略側断面図である。 本発明に係る立軸バルブ型水車発電設備の第4の実施形態であって、斜板が下方に移動した状態を示す概略側断面図である。 図10の実施形態で、斜板が上方に移動した状態を示す概略側断面図である。 本発明に係る立軸バルブ型水車発電設備の第5の実施形態であって、斜板が終端部側に移動した状態を示す概略側断面図である。 図12の実施形態で、斜板が給水口側に移動した状態を示す概略側断面図である。 本発明に係る立軸バルブ型水車発電設備の第6の実施形態であって、分割可能な分割斜板が閉じた状態を示す概略側断面図である。 図14の実施形態で、分割斜板が開いた状態を示す概略側断面図である。 本発明に係る立軸バルブ型水車発電設備の第7の実施形態であって、斜板が所定の角度を保った状態を示す概略側断面図である。 図16の実施形態で、斜板の水流を受ける面が垂直な状態を示す概略側断面図である。 本発明に係る立軸バルブ型水車発電設備の第8の実施形態を示す概略平面図である。 図18の概略側断面図である。 本発明に係る立軸バルブ型水車発電設備の第9の実施形態を示す概略平面図である。 図20の概略側断面図である。 本発明に係る立軸バルブ型水車発電設備の第10の実施形態を示す概略平面図である。 図22の概略側断面図である。 本発明に係る立軸バルブ型水車発電設備の第11の実施形態を示す概略平面図である。 図24の概略側断面図である。
符号の説明
1…バルブ、2…発電機、3…主軸、4…ランナ、5…ガイドベーン、6…ステー、
10…斜板、10a…終端部側端辺、10b…給水口側端辺、10c…水平幅方向交線、
11…格子斜板、11a…格子板、12a…第1小斜板、12b…第2小斜板、13…傾斜面、14…分割斜板、20…自由水面、21…水車発電機、27a…第1隔壁、27b…第2隔壁、27c…第3隔壁、27d…第4隔壁、27e…第5隔壁、28a…第1隅隔壁、28b…第2隅隔壁、31…斜板上下移動装置、32…斜板水平移動装置、33…分割斜板回動装置、35…斜板回動装置、35a…回動板、41…傾斜回動軸、45…水平回動軸、70…縦方向流路、71…開口部、80…水平流路、81…給水口、82…終端部、83…隅部

Claims (13)

  1. 回転軸が鉛直方向を向くように配置された水車と、
    前記水車に接続されてその水車によって駆動される発電機と、
    自由水面が形成されて給水口から終端部近くの前記水車の上方に向かってほぼ水平に水が流れるように形成された水平流路と、
    前記水平流路の底部の前記終端部寄りに形成された開口部から前記発電機に向かって下向きに延びて、前記水平流路を流通した水が前記水車に向かって下向きに流れるように形成された縦方向流路と、
    前記開口部の上方の前記自由水面近傍に配置されて、前記終端部側が下がるように前記自由水面に対して所定の傾きを保ち、前記終端部側が前記自由水面下にあるように配置された斜板と、
    を有することを特徴とする立軸バルブ型水車発電設備。
  2. 前記斜板が前記所定の傾きを保持したまま、前記所定の傾きに沿って上下方向に移動可能に構成されていることを特徴とする請求項1に記載の立軸バルブ型水車発電設備。
  3. 前記斜板が前記所定の傾きを保持したまま、前記水平流路が延びる方向に水平移動可動に構成されていることを特徴とする請求項1に記載の立軸バルブ型水車発電設備。
  4. 前記水平流路の壁面それぞれに前記所定の傾きを保つように配置された傾斜回動軸を有し、
    前記斜板は、前記水平流路が延びる方向に沿って2つに分割可能に形成されて、2つに分割された前記斜板それぞれは、前記各傾斜回動軸の周りを回動可能に構成されていることを特徴とする請求項1に記載の立軸バルブ型水車発電設備。
  5. 前記開口部よりも前記終端部側の前記水平流路の底部に配置されて、前記水平流路の幅方向に水平に延びた水平回動軸を有し、
    前記斜板は、前記水平回動軸周りに回動可能に構成されていることを特徴とする請求項1に記載の立軸バルブ型水車発電設備。
  6. 回転軸が鉛直方向を向くように配置された水車と、
    前記水車に接続されてその水車によって駆動される発電機と、
    自由水面が形成されて給水口から終端部近くの前記水車の上方に向かってほぼ一定の幅でほぼ水平に水が流れるように形成された水平流路と、
    前記水平流路の底部の前記終端部寄りに形成された開口部から前記発電機に向かって下向きに延びて、前記水平流路を流通した水が前記水車に向かって下向きに流れるように形成された縦方向流路と、
    それぞれが前記開口部の上方で前記水平流路の両側の壁面それぞれに取り付けられて前記終端部側が前記自由水面下にあるように且つ前記終端部側が下がるように前記自由水面に対して所定の傾きを保つように配置されて、前記開口部の上方が開放されるように構成された斜板と、
    を有することを特徴とする立軸バルブ型水車発電設備。
  7. 前記所定の傾きは、30度以上で60度以下であることを特徴とする請求項1ないし請求項6のいずれか一項に記載の立軸バルブ型水車発電設備。
  8. 前記開口部は円形であって、その開口部の直径をD0として、前記斜板の前記終端部側の端部から前記自由水面までの水位をhとして、前記水平流路の水位が最低水位であるときに、
    h/D0≧0.15を満たすように構成されていることを特徴とする請求項1ないし請求項7のいずれか一項に記載の立軸バルブ型水車発電設備。
  9. 前記開口部は円形であって、その開口部の直径をD0として、
    前記斜板と前記自由水面とが交わってなる水平方向交線と、前記開口部の中心との水平方向距離をΔXとしたときに、
    ΔX/D0は、
    前記水平方向交線が前記開口部の中心よりも前記給水口側のときは、0より大きくて且つ0.3以下となり、
    前記水平方向交線が前記開口部の中心よりも前記終端部側のときは、0より大きくて且つ0.2以下となるように構成されていること、
    を特徴とする請求項1ないし請求項8のいずれか一項に記載の立軸バルブ型水車発電設備。
  10. 前記斜板は、面内に格子が形成されていることを特徴とする請求項1ないし請求項9のいずれか一項に記載の立軸バルブ型水車発電設備。
  11. 回転軸が鉛直方向を向くように配置された水車と、
    前記水車に接続されてその水車によって駆動される発電機と、
    自由水面が形成されて給水口から終端部近くの前記水車の上方に向かってほぼ水平に水が流れるように形成されて、前記給水口から前記開口部の前記給水口側端部までほぼ一定の幅になるように形成された水平流路と、
    前記水平流路の底部の前記終端部寄りに形成された円形の開口部から前記発電機に向かって下向きに延びて、前記水平流路を流通した水が前記水車に向かって下向きに流れるように形成された縦方向流路と、
    を有し、
    前記開口部の上方の前記水平流路の両側の壁面それぞれには、前記終端部側が下がるように且つ前記自由水面に対して所定の傾きを有し前記開口部の上方が開放されるように構成された傾斜面が形成されていること、
    を特徴とする立軸バルブ型水車発電設備。
  12. 回転軸が鉛直方向を向くように配置された水車と、
    前記水車に接続されてその水車によって駆動される発電機と、
    自由水面が形成されて給水口から終端部近くの前記水車の上方に向かってほぼ水平に水が流れるように形成された水平流路と、
    前記水平流路の底部の前記終端部寄りに形成された開口部から前記発電機に向かって下向きに延びて、前記水平流路を流通した水が前記水車に向かって下向きに流れるように形成された縦方向流路と、
    前記水平流路底部から上方に延びて、前記開口部よりも前記終端部側で、前記水平流路の両側の壁面それぞれと前記終端部とからなる隅部それぞれを水平方向から覆うように配置された多孔質部材の隔壁と、
    を有することを特徴とする立軸バルブ型水車発電設備。
  13. 前記隔壁は、前記開口部よりも前記終端部側に配置されて、前記水平流路を前記開口部が配置された側と前記終端部側とを隔てるように構成されていることを特徴とする請求項12に記載の立軸バルブ型水車発電設備。
JP2008262119A 2008-10-08 2008-10-08 立軸バルブ型水車発電設備 Active JP5058118B2 (ja)

Priority Applications (1)

Application Number Priority Date Filing Date Title
JP2008262119A JP5058118B2 (ja) 2008-10-08 2008-10-08 立軸バルブ型水車発電設備

Applications Claiming Priority (1)

Application Number Priority Date Filing Date Title
JP2008262119A JP5058118B2 (ja) 2008-10-08 2008-10-08 立軸バルブ型水車発電設備

Publications (2)

Publication Number Publication Date
JP2010090822A true JP2010090822A (ja) 2010-04-22
JP5058118B2 JP5058118B2 (ja) 2012-10-24

Family

ID=42253785

Family Applications (1)

Application Number Title Priority Date Filing Date
JP2008262119A Active JP5058118B2 (ja) 2008-10-08 2008-10-08 立軸バルブ型水車発電設備

Country Status (1)

Country Link
JP (1) JP5058118B2 (ja)

Cited By (3)

* Cited by examiner, † Cited by third party
Publication number Priority date Publication date Assignee Title
CN112412683A (zh) * 2020-12-17 2021-02-26 东方电气集团东方电机有限公司 一种利用自重复位的水轮机中心补气阀
CN113175406A (zh) * 2021-04-23 2021-07-27 西北农林科技大学 一种亲鱼型贯流式水轮机
CN116123148A (zh) * 2023-02-20 2023-05-16 扬州大学 一种基于节能降噪的表面带规则凹坑的新型灯泡体结构

Citations (4)

* Cited by examiner, † Cited by third party
Publication number Priority date Publication date Assignee Title
JP2005163563A (ja) * 2003-11-28 2005-06-23 Toshiba Corp 立軸バルブ型水車発電設備
JP2007120461A (ja) * 2005-10-31 2007-05-17 Toshiba Corp 立軸バルブ水車発電設備
JP2008180092A (ja) * 2007-01-23 2008-08-07 Toshiba Corp 立軸バルブ型水車発電設備およびその運転制御方法
JP2009235951A (ja) * 2008-03-26 2009-10-15 Toshiba Corp 立軸バルブ型水車発電設備

Patent Citations (4)

* Cited by examiner, † Cited by third party
Publication number Priority date Publication date Assignee Title
JP2005163563A (ja) * 2003-11-28 2005-06-23 Toshiba Corp 立軸バルブ型水車発電設備
JP2007120461A (ja) * 2005-10-31 2007-05-17 Toshiba Corp 立軸バルブ水車発電設備
JP2008180092A (ja) * 2007-01-23 2008-08-07 Toshiba Corp 立軸バルブ型水車発電設備およびその運転制御方法
JP2009235951A (ja) * 2008-03-26 2009-10-15 Toshiba Corp 立軸バルブ型水車発電設備

Cited By (4)

* Cited by examiner, † Cited by third party
Publication number Priority date Publication date Assignee Title
CN112412683A (zh) * 2020-12-17 2021-02-26 东方电气集团东方电机有限公司 一种利用自重复位的水轮机中心补气阀
CN113175406A (zh) * 2021-04-23 2021-07-27 西北农林科技大学 一种亲鱼型贯流式水轮机
CN116123148A (zh) * 2023-02-20 2023-05-16 扬州大学 一种基于节能降噪的表面带规则凹坑的新型灯泡体结构
CN116123148B (zh) * 2023-02-20 2023-09-29 扬州大学 一种基于节能降噪的表面带规则凹坑的新型灯泡体结构

Also Published As

Publication number Publication date
JP5058118B2 (ja) 2012-10-24

Similar Documents

Publication Publication Date Title
KR101333762B1 (ko) 좌우대칭형 에어포일을 구비한 워터 터어빈
US9234524B2 (en) Boundary layer controlled logarithmic spiral blade
JP2010249120A (ja) 渦防止装置およびポンプ装置
JP6121239B2 (ja) プルアウト型立軸ポンプ
JP2008180130A (ja) 軸流水車およびその運転方法
KR20160039226A (ko) 발전하기 위한 어셈블리
JP5058118B2 (ja) 立軸バルブ型水車発電設備
JP5025273B2 (ja) ポンプ装置及びポンプゲート装置
Lillahulhaq et al. Unsteady simulations of Savonius and Icewind turbine blade design using fluid-structure interaction method
CN107013400B (zh) 一种液力透平
CN118728619A (zh) 水力驱动器及其应用的水力风机
JP2009235951A (ja) 立軸バルブ型水車発電設備
JP2009036114A (ja) 立軸バルブ型水車発電設備
JP2007120461A (ja) 立軸バルブ水車発電設備
JP2010011997A (ja) 電動送風機及びこれを用いた電気掃除機
JP4846139B2 (ja) 水力機械
CN113818550B (zh) 泵站
JP2007113554A (ja) 水力機械のガイドベーン及びそのガイドベーンを備えた水力機械
CN219795658U (zh) 一种箱式风机的导流结构和一种箱式风机
KR102337146B1 (ko) 소수력 발전장치
KR102820376B1 (ko) 유속 조절부가 구비된 조류발전 듀얼 터빈 시스템 및 운전방법
JP4876797B2 (ja) 水力機械及び水力機械用ステーリング
KR20150097351A (ko) 연직축 풍차
CN110064355A (zh) 一种导流结构塔板及其板式塔
KR102031614B1 (ko) 구조 보강된 익형 블레이드를 가지는 관로형 터빈

Legal Events

Date Code Title Description
A621 Written request for application examination

Free format text: JAPANESE INTERMEDIATE CODE: A621

Effective date: 20110128

RD04 Notification of resignation of power of attorney

Free format text: JAPANESE INTERMEDIATE CODE: A7424

Effective date: 20110420

TRDD Decision of grant or rejection written
A977 Report on retrieval

Free format text: JAPANESE INTERMEDIATE CODE: A971007

Effective date: 20120629

A01 Written decision to grant a patent or to grant a registration (utility model)

Free format text: JAPANESE INTERMEDIATE CODE: A01

Effective date: 20120703

A01 Written decision to grant a patent or to grant a registration (utility model)

Free format text: JAPANESE INTERMEDIATE CODE: A01

A61 First payment of annual fees (during grant procedure)

Free format text: JAPANESE INTERMEDIATE CODE: A61

Effective date: 20120731

FPAY Renewal fee payment (event date is renewal date of database)

Free format text: PAYMENT UNTIL: 20150810

Year of fee payment: 3

R151 Written notification of patent or utility model registration

Ref document number: 5058118

Country of ref document: JP

Free format text: JAPANESE INTERMEDIATE CODE: R151

FPAY Renewal fee payment (event date is renewal date of database)

Free format text: PAYMENT UNTIL: 20150810

Year of fee payment: 3