JP2010083189A - ウィンター用ワイパー - Google Patents

ウィンター用ワイパー Download PDF

Info

Publication number
JP2010083189A
JP2010083189A JP2008251512A JP2008251512A JP2010083189A JP 2010083189 A JP2010083189 A JP 2010083189A JP 2008251512 A JP2008251512 A JP 2008251512A JP 2008251512 A JP2008251512 A JP 2008251512A JP 2010083189 A JP2010083189 A JP 2010083189A
Authority
JP
Japan
Prior art keywords
yoke
blade rubber
wiper
cover body
support member
Prior art date
Legal status (The legal status is an assumption and is not a legal conclusion. Google has not performed a legal analysis and makes no representation as to the accuracy of the status listed.)
Granted
Application number
JP2008251512A
Other languages
English (en)
Other versions
JP5342713B2 (ja
Inventor
Yasuhito Zukoshi
泰仁 図越
Current Assignee (The listed assignees may be inaccurate. Google has not performed a legal analysis and makes no representation or warranty as to the accuracy of the list.)
MITA CO Ltd
Original Assignee
MITA CO Ltd
Priority date (The priority date is an assumption and is not a legal conclusion. Google has not performed a legal analysis and makes no representation as to the accuracy of the date listed.)
Filing date
Publication date
Application filed by MITA CO Ltd filed Critical MITA CO Ltd
Priority to JP2008251512A priority Critical patent/JP5342713B2/ja
Publication of JP2010083189A publication Critical patent/JP2010083189A/ja
Application granted granted Critical
Publication of JP5342713B2 publication Critical patent/JP5342713B2/ja
Active legal-status Critical Current
Anticipated expiration legal-status Critical

Links

Images

Abstract

【課題】キャップを取外すことなく、ブレードゴムを取外しかつ再取付けでき、省資源と経済性を向上できるウィンターワイパーを提供する。
【解決手段】ワイパーブレードゴムと、該ワイパーブレードゴムを保持する細長いヨークと、該ヨークを弾性支持する細長い支持部材とを有し、上記ヨークの表面に上記ブレードゴムが装着される溝部が形成されており、上記支持部材と上記ヨークが弾性袋状のカバー体によって覆われており、上記ブレードゴムの基部が上記カバー体の下側部と共に上記ヨークの溝部に挿入固定されており、該カバー体の両端にキャップが上記支持部材および上記ヨークの両端に冠着されていることによって上記支持部材および上記ヨークが該カバー体の内部に密封されているウィンター用ワイパーにおいて、上記ヨーク表面の溝部の一部に上記ブレードゴム基部の一端を受入れ可能な幅広の挿入口が形成されていることを特徴とするウィンター用ワイパー。
【選択図】図1

Description

本発明は、支持部材およびヨークを被覆するカバー体を有し、冬季や寒冷地において、支持部分等に水分が侵入凍結してワイパーの機能が阻害されるのを防止するようにしたウィンター用ワイパーについて、ブレードゴムの装着を容易にしたワイパーの改良に関する。
冬季や寒冷地では、車輌用ワイパーにおいて、ワイパーブレードゴムを保持するヨークや、該ヨークを弾性支持する支持部材(レバー機構)に付着した水分が凍結したり、雪や氷が凝着したりすると、フロントガラスの払拭作用に支障をきたすばかりでなく、異常摩擦による異音を生じさせたり、ひいてはワイパーブレードゴムの寿命を低下させる原因となる。こうしたことから、ヨークと支持部材を袋状のカバー体によって被覆したウィンター用ワイパーが知られている(特許文献1〜5)。
ウィンター用ワイパーは、特許文献1〜3に記載されているように、ヨークEとこのヨークEを弾性支持する支持部材Fがカバー体Aによって覆われている。このカバー体Aの下部(図4における下部)はホルダーBによって支持部材に固定されており、カバー体Aの両端はゴム製などのキャップC、Cによって水密状態になるように接着などの手段を介して固着されている(図4〜図5参照)。
ヨークEの表面には長手方向に沿って延びる溝部E1が形成されており、ワイパーブレードゴムDの基部は、通常のワイパーと同様に、この溝部E1に挿入して固定されている。ヨークEの溝部E1の両側縁部は相対向して突き出ており、係合縁部E2を形成している。ワイパーブレードゴムDの基部には長手方向に沿って溝状の頸部D1が形成されており、この頸部D1に上記ヨーク溝部の係合縁部E2が係合してブレードゴムDがヨークEに保持されている。
図4のウィンター用ワイパーでは、ヨークEおよび支持部材Fがカバー体Aによって覆われており、このカバー体の上部(図4に示す上部)はブレードゴムDの基部と共にヨークEの溝部に押し込まれており、カバー体Aの両端部はキャップCによって固着されている。
図4のウィンター用ワイパーにおいて、キャップC、Cを外した状態で、カバー体Aに覆われたヨークEの端部から溝部E1にブレードゴムDの端部を差し込み、長手方向に沿ってブレードゴムDを溝部E1に滑らせて引き込むことによって、ブレードゴムDの基部がカバー体Aと共にヨークEの溝部E1に装着される。
実開平5−54123号公報 実開平5−56696号公報 特開平11−59335号公報 特開2002−19585号公報 特開2008−74314号公報
上記従来例において、ワイパーブレードゴムDを取付けた後で、ヨークEの両端がカバー体Aを封止するキャップC,Cによって固着されているため、ワイパーブレードゴムDをヨークEに取り付けた後は、ワイパーブレードゴムDに不具合を生じた場合、溝部E1の端部を解放させることができず、ワイパーブレードゴムの取り外しや交換が不可能になる。このため、ワイパー全体を交換しなければならず、コスト高になる。
この問題を解決するため、キャップCを着脱自在なものとすることも考えられるが、再固着の処理がきちんと行われないと、カバー体A内に水分が浸入してウィンター用ワイパーとしての機能を失う懸念がある。
本発明は、上記従来技術の問題を解決したものであり、キャップを取外すことなく装着した状態で、ワイパーブレードゴムのみを取外しかつ再取付けできるウィンター用ワイパーを提供することを目的とする。
上記課題を解決するために、本発明は以下に示す構成を備えたウィンター用ワイパーを提供する。
〔1〕ワイパーブレードゴムと、該ワイパーブレードゴムを保持する細長いヨークと、該ヨークを弾性支持する細長い支持部材とを有し、上記ヨークの表面に上記ブレードゴムが装着される溝部が形成されており、上記支持部材と上記ヨークが弾性袋状のカバー体によって覆われており、上記ブレードゴムの基部が上記カバー体の下側部と共に上記ヨークの溝部に挿入固定されており、該カバー体の両端に被冠したキャップが上記支持部材および上記ヨークの両端に冠着されていることによって上記支持部材および上記ヨークが該カバー体の内部に密封されているウィンター用ワイパーにおいて、上記ヨーク表面の溝部の一部に上記ブレードゴム基部の一端を受入れ可能な幅広の挿入口が形成されていることを特徴とするウィンター用ワイパー。
〔2〕上記挿入口がヨーク端部の近傍に形成されている上記[1]に記載するウィンター用ワイパー。
〔3〕上記挿入口がヨーク表面の溝部に沿って間隔を置いて複数箇所に形成されている上記[1]に記載するウィンター用ワイパー。
〔4〕上記挿入口の端縁がテーパ状に形成されている上記[1]〜上記[3]の何れかに記載するウィンター用ワイパー。
本発明のワイパーは、ヨーク溝部にブレードゴムの端部を受入れ可能な幅広の挿入口が形成されているので、ヨークと支持部材がカバー体によって覆われ、このカバー体の両端がキャップによって封止されている状態でも、カバー体の上からこの挿入口にワイパーブレードゴム端部を押し入れてブレードゴムを固定することができ、また、この挿入口からワイパーブレードゴム端部を引き出して、該ブレードゴムを取り外すことができる。このように、カバー体の密封状態を維持したまま、ワイパーブレードゴムの取外しや再取付けを簡単に行うことができるので、大幅なコスト低減を図ることができる。
以下、本発明を図示する実施形態に基づいて具体的に説明する。
本発明のワイパーは、ワイパーブレードゴムと、該ワイパーブレードゴムを保持する細長いヨークと、該ヨークを弾性支持する細長い支持部材とを有し、上記ヨークの表面に上記ブレードゴムが装着される溝部が形成されており、上記支持部材と上記ヨークが弾性袋状のカバー体によって覆われており、上記ブレードゴムの基部が上記カバー体の下側部と共に上記ヨークの溝部に挿入固定されており、該カバー体の両端に被冠したキャップが上記支持部材および上記ヨークの両端に冠着されていることによって上記支持部材および上記ヨークが該カバー体の内部に密封されているウィンター用ワイパーにおいて、上記ヨーク表面の溝部の一部に上記ブレードゴム基部の一端を受入れ可能な幅広の挿入口が形成されていることを特徴とするウィンター用ワイパーである。
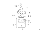
本発明に係るワイパーの実施形態を図1〜図3に示す。図1は、本発明の一実施形態に係るウィンター用ワイパーの斜視図であり、ワイパーのブレードゴムを取り外し、ヨークの溝部が見えるようにカバー体の上部を切り欠いた状態を示す。カバー体を切り欠かずにブレードゴムを取付けた外観は図4に示す従来例と同じである。
図示するように、本発明のワイパーは、ブレードゴム5と、該ブレードゴム5を保持する細長いヨーク3と、該ヨーク3を弾性支持する細長い支持部材6とを有する。上記ヨーク3の表面には上記ブレードゴム5が装着される溝部31が形成されている。上記支持部材6と上記ヨーク3は弾性袋状のカバー体1によって覆われている。
上記ブレードゴム5の基部52は、上記カバー体1の下側部(図2では上側部)と共に上記ヨーク3の溝部31に挿入されて固定されている。該カバー体1の両端にはキャップ2、2が被冠されており、該キャップ2、2が支持部材6およびヨーク3の両端に冠着されることによって上記支持部材6および上記ヨーク3が該カバー体1の内部に密封されている。
図1に示すように、上記ヨーク3の表面(図1に示す上面)に設けられている溝部31の一部に挿入口4が形成されている。該挿入口4はブレードゴム基部52の一端を受入れることができる広さに形成されている。
図1の実施形態では、挿入口4は、ヨーク溝部31の長さ方向の端部(図1の右端部)近傍に設けられている。該挿入口4は、溝部31の係合縁部32の一部を切り欠いて、ブレードゴム基部52を受け入れることができる大きさに形成されている。この挿入口4の前後縁部(長手方向を横切る方向の縁部)はテーパ状に形成するとよい。このテーパを設けることによって、ブレードゴム5がテーパに案内されて溝部31に挿入されやすくなる。
ブレードゴム5は、例えば、図2に示す断面形状を有し、リップ部53が窓ガラス等に押しあてられる。一方、ブレードゴム基部52はヨーク3の溝部31に挿入され、ブレードゴム基部52の溝状頸部51に溝部31の係合縁部32が係合して固定される。なお、ウィンターワイパーの製作時には、ワイパーブレードゴム5をキャップ2によって封止されていない端部の側から溝部31に引き込んで装着させても良い。
ブレードゴム5が破損し、またはリップ部53が磨耗等して交換の必要を生じた場合には、ブレードゴム5の挿入口4に近い部分を引上げて、ブレードゴム5の端部を挿入口4の方向に引き寄せ、この端部を挿入口4から引き出す。次いで、この端部を溝部31に沿って外方に引けば、ブレードゴム5が挿入口4から引き出され、カバー体1によって覆われたヨーク3から簡単に取り外すことができる。
新しいブレードゴムを取付けるには、カバー体1の上から挿入口4の位置を確認して、ブレードゴム5の端部を挿入口4の上方に位置させる。図3に示すように、挿入口4はブレードゴム5の基部52を受け入れる広さに形成されているので、ブレードゴム基部52を挿入口4に押し入れることができる。次いで、ブレードゴム5を端部に向かって押し込むと、ブレードゴム基部52は溝部31の内部に押し込まれてブレードゴム5の頸部51に溝部31の係合縁部32が係合し、ブレードゴム5の端部52が溝部31から外れなくなる。この状態でブレードゴム5を溝部31に沿って滑らせることによって、ブレードゴム基部52が溝部31に嵌合した状態で押し込まれ、ブレードゴム5をカバー体1によって覆われたヨーク3に装着することができる。
挿入口4がワイパーの端部近傍に形成されている場合、挿入口のある端部Xとは反対側の端部Yに向かってブレードゴム5を押し込むことによって、ブレードゴム基部52が溝部31に嵌合した状態でブレードゴム5を端部Yに向かって装着することができる。挿入口4からはみ出たブレードゴム端部は挿入口4に押し当てて上記と逆方向の端部Xに向かって押し込むことにより、ブレードゴム全体を装着することができる。
装着されたワイパーブレードゴム5は、溝部31の係合縁部32が頸部51にしっかりと係合しているので、払拭動を行った際にも溝部31から離脱せず、安定に作動することができる。
図示する例では、溝部に形成される挿入口は端部近傍に形成されているが、挿入口はヨークの長手方向に沿って任意の位置に設けることができる。この挿入口は一つに限らず、ヨークの長手方向に間隔を置いて複数箇所に形成しても良い。挿入口の位置や個数はヨークの長さやブレードゴムの挿入操作の手間を勘案して適宜に定めれば良い。
また、挿入口の形状や大きさは制限されず、ブレードゴムの端部を受入れ可能な幅広のものであれば良い。受入れ可能とは、溝部の幅よりも広いものであればよく、例えば、ブレードゴム基部の幅より狭くても、ブレードゴム基部を溝部に対して斜に挿入することによって溝部に嵌合できる広さであれば良い。
挿入口は、ブレードゴムの端部をスムースに挿入できるようにするとともにブレードゴムの取替え時に端縁によってカバー体を破損ないようにするために、前後端縁がテーパ状に形成すると良い。
本発明の一実施形態に係るウィンターワイパーの斜視図であり、ヨークの溝部が見えるようにカバー体の一部を切り欠いた状態を示す。 図1のウィンターワイパーを取付ける直前の状態を示す断面図。 図1のウィンターワイパーの端部を挿入口に押し込んだ状態を示す断面図。 従来例を示す外観斜視図。 従来例の断面図。
符号の説明
1−カバー体、2−キャップ、3−ヨーク、31−溝部、32−係合縁部、4−挿入口、5−ブレードゴム、51−ブレードゴム頸部、52−ブレードゴム基部、53−ブレードゴムのリップ部、6−支持部材、A−カバー体、C−キャップ、E−ヨーク、E1−溝部、E2−係合縁部、D−ブレードゴム、D1−ブレードゴム頸部

Claims (4)

  1. ワイパーブレードゴムと、該ワイパーブレードゴムを保持する細長いヨークと、該ヨークを弾性支持する細長い支持部材とを有し、上記ヨークの表面に上記ブレードゴムが装着される溝部が形成されており、上記支持部材と上記ヨークが弾性袋状のカバー体によって覆われており、上記ブレードゴムの基部が上記カバー体の下側部と共に上記ヨークの溝部に挿入固定されており、該カバー体の両端に被冠したキャップが上記支持部材および上記ヨークの両端に冠着されていることによって上記支持部材および上記ヨークが該カバー体の内部に密封されているウィンター用ワイパーにおいて、上記ヨーク表面の溝部の一部に上記ブレードゴム基部の一端を受入れ可能な幅広の挿入口が形成されていることを特徴とするウィンター用ワイパー。
  2. 上記挿入口がヨーク端部の近傍に形成されている請求項1に記載するウィンター用ワイパー。
  3. 上記挿入口がヨーク表面の溝部に沿って間隔を置いて複数箇所に形成されている請求項1に記載するウィンター用ワイパー。
  4. 上記挿入口の端縁がテーパ状に形成されている請求項1〜請求項3の何れかに記載するウィンター用ワイパー。
JP2008251512A 2008-09-29 2008-09-29 ウィンター用ワイパー Active JP5342713B2 (ja)

Priority Applications (1)

Application Number Priority Date Filing Date Title
JP2008251512A JP5342713B2 (ja) 2008-09-29 2008-09-29 ウィンター用ワイパー

Applications Claiming Priority (1)

Application Number Priority Date Filing Date Title
JP2008251512A JP5342713B2 (ja) 2008-09-29 2008-09-29 ウィンター用ワイパー

Publications (2)

Publication Number Publication Date
JP2010083189A true JP2010083189A (ja) 2010-04-15
JP5342713B2 JP5342713B2 (ja) 2013-11-13

Family

ID=42247596

Family Applications (1)

Application Number Title Priority Date Filing Date
JP2008251512A Active JP5342713B2 (ja) 2008-09-29 2008-09-29 ウィンター用ワイパー

Country Status (1)

Country Link
JP (1) JP5342713B2 (ja)

Citations (2)

* Cited by examiner, † Cited by third party
Publication number Priority date Publication date Assignee Title
JPH035548U (ja) * 1989-06-01 1991-01-21
JP2007153327A (ja) * 2005-12-05 2007-06-21 Adm21 Co Ltd ワイパーブレード

Patent Citations (2)

* Cited by examiner, † Cited by third party
Publication number Priority date Publication date Assignee Title
JPH035548U (ja) * 1989-06-01 1991-01-21
JP2007153327A (ja) * 2005-12-05 2007-06-21 Adm21 Co Ltd ワイパーブレード

Also Published As

Publication number Publication date
JP5342713B2 (ja) 2013-11-13

Similar Documents

Publication Publication Date Title
CN103108782B (zh) 具有阻流件的平坦刮水片
US8028368B2 (en) Windshield wiper
EP2214938B1 (fr) Balai d'essuyage pour vitres de vehicule
US20100154158A1 (en) Windshield wiper device
EP2159115B1 (en) Windscreen wiper device
US20100146727A1 (en) Connecting element for the articulated connection of a wiper blade to a wiper arm
KR20080058385A (ko) 와이퍼 블레이드 및 윈드스크린 와이퍼 블레이드 암 사이의잠금장치
EP2709880B1 (fr) Dispositif de projection de liquide pour balai d'essuyage
US9415750B2 (en) Windscreen wiper device
KR100732691B1 (ko) 차량용 와이퍼 블레이드
CA2872877A1 (en) Windscreen wiper device
US20100263155A1 (en) Windscreen wiper device
JP5204914B1 (ja) ウインドワイパー
US20130227808A1 (en) Wiper lever assembly and wiper blade
FR2988367A1 (fr) Becquet arriere pour un vehicule automobile
FR2994146A1 (fr) Systeme de connexion entre un bras d'essuyage et un balai d'essuyage
EP0739795B1 (fr) Raclette d'essuyage et balai d'essuie-glace équipé d'une telle-raclette
JP5342713B2 (ja) ウィンター用ワイパー
CN103547492A (zh) 刮水片
FR2952144A1 (fr) Joint de finition adapte pour etre fixe entre deux vitrages et vehicule automobile comportant deux vitrages separes par un interstice comportant un tel joint de finition.
WO2013190699A1 (ja) ワイパブレード
KR20080093335A (ko) 자동차 유리 세척용 블레이드 조립체
JP5834745B2 (ja) ワイパーブレード
JP3795307B2 (ja) ウインター用ワイパー
EP2543562B1 (en) Windshield wiper combining assembly of combining driven wiper arm

Legal Events

Date Code Title Description
A621 Written request for application examination

Free format text: JAPANESE INTERMEDIATE CODE: A621

Effective date: 20110928

A977 Report on retrieval

Free format text: JAPANESE INTERMEDIATE CODE: A971007

Effective date: 20130423

A131 Notification of reasons for refusal

Free format text: JAPANESE INTERMEDIATE CODE: A131

Effective date: 20130501

A521 Request for written amendment filed

Free format text: JAPANESE INTERMEDIATE CODE: A523

Effective date: 20130628

TRDD Decision of grant or rejection written
A01 Written decision to grant a patent or to grant a registration (utility model)

Free format text: JAPANESE INTERMEDIATE CODE: A01

Effective date: 20130724

A61 First payment of annual fees (during grant procedure)

Free format text: JAPANESE INTERMEDIATE CODE: A61

Effective date: 20130810

R150 Certificate of patent or registration of utility model

Free format text: JAPANESE INTERMEDIATE CODE: R150

Ref document number: 5342713

Country of ref document: JP

Free format text: JAPANESE INTERMEDIATE CODE: R150

R250 Receipt of annual fees

Free format text: JAPANESE INTERMEDIATE CODE: R250

R250 Receipt of annual fees

Free format text: JAPANESE INTERMEDIATE CODE: R250

R250 Receipt of annual fees

Free format text: JAPANESE INTERMEDIATE CODE: R250

R250 Receipt of annual fees

Free format text: JAPANESE INTERMEDIATE CODE: R250

R250 Receipt of annual fees

Free format text: JAPANESE INTERMEDIATE CODE: R250

R250 Receipt of annual fees

Free format text: JAPANESE INTERMEDIATE CODE: R250

R250 Receipt of annual fees

Free format text: JAPANESE INTERMEDIATE CODE: R250

R250 Receipt of annual fees

Free format text: JAPANESE INTERMEDIATE CODE: R250

R250 Receipt of annual fees

Free format text: JAPANESE INTERMEDIATE CODE: R250

R250 Receipt of annual fees

Free format text: JAPANESE INTERMEDIATE CODE: R250