JP2010083066A - 光学素子成形用金型およびこれを用いた光学素子の製造方法 - Google Patents

光学素子成形用金型およびこれを用いた光学素子の製造方法 Download PDF

Info

Publication number
JP2010083066A
JP2010083066A JP2008256265A JP2008256265A JP2010083066A JP 2010083066 A JP2010083066 A JP 2010083066A JP 2008256265 A JP2008256265 A JP 2008256265A JP 2008256265 A JP2008256265 A JP 2008256265A JP 2010083066 A JP2010083066 A JP 2010083066A
Authority
JP
Japan
Prior art keywords
optical
lens
optical element
mold
transfer
Prior art date
Legal status (The legal status is an assumption and is not a legal conclusion. Google has not performed a legal analysis and makes no representation as to the accuracy of the status listed.)
Granted
Application number
JP2008256265A
Other languages
English (en)
Other versions
JP5254731B2 (ja
Inventor
Kazutaka Shibuya
和孝 渋谷
Hiroyuki Shinohara
浩之 篠原
Current Assignee (The listed assignees may be inaccurate. Google has not performed a legal analysis and makes no representation or warranty as to the accuracy of the list.)
Enplas Corp
Original Assignee
Enplas Corp
Priority date (The priority date is an assumption and is not a legal conclusion. Google has not performed a legal analysis and makes no representation as to the accuracy of the date listed.)
Filing date
Publication date
Application filed by Enplas Corp filed Critical Enplas Corp
Priority to JP2008256265A priority Critical patent/JP5254731B2/ja
Publication of JP2010083066A publication Critical patent/JP2010083066A/ja
Application granted granted Critical
Publication of JP5254731B2 publication Critical patent/JP5254731B2/ja
Expired - Fee Related legal-status Critical Current
Anticipated expiration legal-status Critical

Links

Images

Landscapes

  • Moulds For Moulding Plastics Or The Like (AREA)

Abstract

【課題】不要光を除去することによって良好な光学性能を発揮することができる光学素子を得ることができる光学素子成形用金型およびこれを用いた光学素子の製造方法を提供すること。
【解決手段】第2の転写面14が、第1の光学機能面2aの光軸に相当する第1の転写面12の中心軸に直交するとともに光拡散用の粗面形状を有するような面形状に形成され、第5の転写面20が、第2の光学機能面2bの光軸に相当する第4の転写面18の中心軸に直交するとともに光拡散用の粗面形状を有するような面形状に形成されていること。
【選択図】図1

Description

本発明は、光学素子成形用金型およびこれを用いた光学素子の製造方法に係り、特に、光学機能面の周囲に非光学機能面を有する光学素子を成形するための光学素子成形用金型およびこれを用いた光学素子の製造方法に関する。
従来から、例えば、携帯電話、携帯型のコンピュータやテレビ電話等に搭載するためのCCD、CMOS等の固体撮像素子を利用したカメラに用いられるレンズの製造には、樹脂材料の射出成形等の金型を用いた製造方法が適用されていた。
この種の金型を用いたレンズの製造方法においては、固定型と可動型とを接触させた状態(金型を閉じた状態)において、固定型と可動型との間に溶融した樹脂材料を流入して冷却・硬化することによって、固定型と可動型との間の空間(キャビティ)内にレンズを一体成形するようになっていた。
ここで、図3は、従来の金型によって成形されたレンズ1の一例を示したものであり、このレンズ1は、光学機能部2と、この光学機能部2の外周に周設された非光学機能部3と、この非光学機能部3の外周に周設されたフランジ部4とを有している。
光学機能部2は、平面円形状の第1レンズ面2aと、この第1レンズ面2aにレンズ1の厚み方向において対向する平面円形状の第2レンズ面2bとの2つのレンズ面2a、2bを有している。
非光学機能部3は、第1レンズ面2aに対するレンズ1の径方向の外側位置に、第1レンズ面2aの外周に隣接するように形成された第1非光学機能面3aを有しており、この第1非光学機能面3aは、第1レンズ面2aの光軸OAに直交する第1レンズ面2aと同心の平面円環状の平坦面(鏡面)に形成されている。
また、非光学機能部3は、第2レンズ面2bに対する径方向の外側位置に、第2レンズ面2bの外周に隣接するように形成された第2非光学機能面3bを有しており、この第2非光学機能面3bは、第2レンズ面2bの光軸OAに直交する第2レンズ面2bと同心の平面円環状の平坦面(鏡面)に形成されている。
フランジ部4は、第1非光学機能面3aに対する径方向の外側位置に、第1非光学機能面3aを包囲するように形成された円環状の第1フランジ面4aを有しており、また、第2非光学機能面3bに対する径方向の外側位置に、第2非光学機能面3bを包囲するように形成された円環状の第2フランジ面4bを有している。
このようなレンズ1の成形においては、第1レンズ面2aの光軸OAと第2レンズ面2bの光軸OAとが互いに一致した成形品を成形することが、レンズ1の光学性能を適切に発揮させるために重要とされていた。
このため、レンズ1の成形に際しては、固定型および可動型のそれぞれにおける非光学機能面3a、3bの転写面を基準としながら、固定型および可動型のそれぞれにおけるレンズ面2a、2bの転写面同士の同軸調整およびチルト調整を行うようになっていた。具体的には、非光学機能面3a、3bの転写面同士を互いに平行かつ互いに同軸(同心)上に位置させることによって、レンズ面2a、2bの転写面同士の同軸調整およびチルト調整を行うようになっていた。
このような同軸・チルト調整は、調整前の金型によって一旦レンズ1の試作品を成形して、成形されたレンズ1の非光学機能面3a、3b同士が互いに平行かつ同心に位置しているか否かに基づいて行われることもあった。
したがって、金型における非光学機能面3a、3bの転写面は、成形段階においてレンズ面2a、2bの光軸同士を互いに一致させる上で不可欠な構成であった。
特開平2−157810号公報
しかるに、このように固定型と可動型との同軸・チルト調整を適切に行ったとしても、従来は、非光学機能面3a、3bが平坦面(鏡面)に形成されていたため、レンズ1を用いて撮像を行う場合には、本来レンズ1の光学性能に関与すべきでない非光学機能面3a、3bにおける光透過や光反射が起こることによって、撮像された画像上に不要光によるフレアやゴーストが現れてしまうといった問題が生じていた。
そこで、本発明は、このような問題点に鑑みなされたものであり、不要光を除去して良好な光学性能を発揮することができる光学素子を得ることができる光学素子成形用金型およびこれを用いた光学素子の製造方法を提供することを目的とするものである。
前述した目的を達成するため、本発明の請求項1に係る光学素子成形用金型の特徴は、互いに接離可能とされた第1の金型および第2の金型を備え、接触状態における前記第1の金型と前記第2の金型との間の空間内に光学素子を成形可能とされた光学素子成形用金型であって、前記第1の金型は、前記光学素子における第1の光学機能面を成形するための第1の転写面、および前記第1の光学機能面の外周に隣接する前記光学素子における第1の非光学機能面を成形するための第2の転写面が形成された第1の金型駒と、この第1の金型駒の外側に周設され、前記第1の非光学機能面を包囲する前記光学素子における第1のフランジ面を成形するための第3の転写面が形成された第2の金型駒とを備え、前記第2の金型は、前記第1の光学機能面に前記光学素子の厚み方向において対向する前記光学素子における第2の光学機能面を成形するための第4の転写面、および前記第2の光学機能面の外周に隣接する前記光学素子における第2の非光学機能面を成形するための第5の転写面が形成された第3の金型駒と、この第3の金型駒の外側に周設され、前記第2の非光学機能面を包囲する前記光学素子における第2のフランジ面を成形するための第6の転写面が形成された第4の金型駒とを備え、前記第2の転写面は、前記第1の光学機能面の光軸に相当する前記第1の転写面の中心軸に直交するとともに光拡散用の粗面形状を有するような面形状に形成され、前記第5の転写面は、前記第2の光学機能面の光軸に相当する前記第4の転写面の中心軸に直交するとともに光拡散用の粗面形状を有するような面形状に形成されている点にある。
そして、この請求項1に係る発明によれば、光拡散用の粗面形状を有する第1の非光学機能面および第2の非光学機能面によって不要光を拡散することにより、第1の光学機能面および第2の光学機能面を通る光の光路上から不要光を除去することができる光学素子を製造することが可能となる。
また、請求項2に係る光学素子成形用金型の特徴は、請求項1において、前記第2の転写面および前記第5の転写面が、平坦な金属面上にブラスト加工またはシボ加工を施してなる点にある。
そして、この請求項2に係る発明によれば、簡便な加工によって光拡散機能を備えた第1の光学機能面および第2の光学機能面を形成することができるので、光学素子の光学性能を安価に向上させることが可能となる。
さらに、請求項3に係る光学素子成形用金型の特徴は、請求項1または2において、前記光学素子としてのレンズの成形に用いられる点にある。
そして、この請求項3に係る発明によれば、レンズの光学性能を向上させることが可能となる。
さらにまた、請求項4に係る光学素子の製造方法の特徴は、請求項1〜3のいずれか1項に記載の光学素子成形用金型を用いて光学素子を成形する点にある。
そして、このような方法によれば、光学性能が向上された光学素子を製造することが可能となる。
本発明によれば、不要光を除去して良好な光学性能を発揮することができる光学素子を得ることができる。
以下、本発明に係る光学素子成形用金型およびこれを用いた光学素子の製造方法として、レンズ成形用金型およびこれを用いたレンズの製造方法の実施形態について、図1および図2を参照して説明する。
なお、従来と基本的構成が同一もしくはこれに類する箇所については、同一の符号を用いて説明する。
まず、本実施形態においては、便宜上、本実施形態におけるレンズ成形用金型を用いて成形された光学素子としてのレンズについて説明する。
図1に示すように、本実施形態におけるレンズ5は、光学機能部2と、この光学機能部2の外周に周設された非光学機能部6と、この非光学機能部6の外周に周設されたフランジ部4とを有しており、このレンズ5は、樹脂材料の射出成形によって一体的に形成されている。
また、光学機能部2は、第1の光学機能面としての平面円形状の第1レンズ面2aと、この第1レンズ面2aにレンズ5の厚み方向において対向する第2の光学機能面としての第1レンズ面2aよりも小径な平面円形状の第2レンズ面2bとの2つのレンズ面2a、2bを有している。これらのレンズ面2a、2bは、非球面であってもよい。
非光学機能部6は、第1レンズ面2aに対するレンズ5の径方向の外側位置に、第1レンズ面2aの外周に隣接するように形成された第1の非光学機能面としての第1非光学機能面6aを有している。
この第1非光学機能面6aは、その巨視的(大まか)な形状が、第1レンズ面2aの光軸OAに直交する第1レンズ面2aと同心の平面円環状(換言すれば、円環状の帯状)に形成されているとともに、その微視的(詳細)な形状が、粗面形状に形成されており、この粗面形状によって、第1非光学機能面6aに入射した光を拡散させることが可能とされている。
なお、第1非光学機能面6aの粗面形状は、例えば、面6a全体にわたってあたかも平坦面上にブラスト加工が施されたような粗面形状であってもよく、あるいは、平坦面上にシボが形成されたような粗面形状であってもよい。
また、非光学機能部6は、第2レンズ面2bに対する径方向の外側位置に、第2レンズ面2bの外周に隣接するように形成された第2の非光学機能面としての第2非光学機能面6bを有している。
この第2非光学機能面6bは、その巨視的な形状が、第2レンズ面2bの光軸OAに直交する第2レンズ面2bと同心の平面円環状(換言すれば、円環状の帯状)に形成されているとともに、その微視的(詳細な)な形状が、粗面形状に形成されており、この粗面形状によって、第2非光学機能面6bに入射した光を拡散させることが可能とされている。
この第2非光学機能面6bの粗面形状も、例えば、面6b全体にわたってあたかも平坦面上にブラスト加工が施されたような粗面形状や、平坦面上にシボが形成されたような粗面形状であってもよい。
フランジ部4は、第1非光学機能面6aに対する径方向の外側位置に、第1非光学機能面6aを包囲するように形成された平面円環状の第1のフランジ面4aを有しており、また、第2非光学機能面6bに対する径方向の外側位置に、第2非光学機能面6bを包囲するように形成された平面円環状の第2のフランジ面4bを有している。
なお、本実施形態において、第1レンズ面2aの光軸OAと第2レンズ面2bの光軸OAとは互いに一致している。
そして、このようなレンズ1は、図2に示すような本実施形態におけるレンズ成形用金型8を用いた樹脂材料の射出成形によって製造されるようになっている。
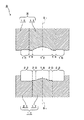
図2に示すように、レンズ成形用金型8は、大別して、第1の金型としての上型9と、第2の金型としての下型10とを有しており、上型9は固定型、下型10は可動型とされている。そして、可動型とされた下型10が固定型とされた上型9に対して接離することによって、両金型9、10が互いに接離(開閉)可能とされている。
上型9は、第1の金型駒としての上型側レンズ駒11を有しており、この上型側レンズ駒11には、レンズ5における第1レンズ面2aを成形するための第1の転写面としての第1転写面12が形成されている。
また、上型側レンズ駒11における第1転写面12の径方向(図2における横方向)の外側位置には、第1非光学機能面6aを成形するための第2の転写面としての第2転写面14が、第1転写面12に連なるように形成されている。
さらに、上型9は、上型側レンズ駒11の外側に周設された第2の金型駒としての上型側枠駒15を有しており、この上型側枠駒15には、レンズ5における第1フランジ面4aを成形するための第3の転写面としての第3転写面16が形成されている。
一方、下型10は、第3の金型駒としての下型側レンズ駒17を有しており、この下側型レンズ駒17には、レンズ5における第2レンズ面2bを成形するための第4の転写面としての第4転写面18が形成されている。
また、下側側レンズ駒17における第4転写面18の径方向の外側位置には、第2非光学機能面6bを成形するための第5の転写面としての第5転写面20が、第4転写面18に連なるように形成されている。
さらに、下型10は、下型側レンズ駒17の外側に周設された第4の金型駒としての下型側枠駒21を有しており、この下型側枠駒21には、レンズ5における第2フランジ面4bおよびフランジ部4の外周面4cを成形するための第6の転写面としての第6転写面22が形成されている。
このようなレンズ成形用金型8は、上型9と下型10との接触状態(金型8が閉じられた状態)における第1〜第7転写面12、14、16、18、20、22、23に囲まれた上型9と下型10との間の空間によって、レンズ5の成形位置となるキャビティが形成されるようになっている。
また、上型9と下型10との接触状態における 上型9と下型10との間には、キャビティに連通されたゲートおよびこのゲートに連通されたランナが形成されるようになっている。
さらに、上型9には、ランナに連通された図示しないスプールが形成されている。
さらにまた、本実施形態において、第2転写面14は、その巨視的(大まか)な形状が、第1レンズ面2aの光軸OAに相当する第1転写面12の中心軸Sに直交するような第1転写面12と同心の平面円環状に形成されている。
さらに、第2転写面14は、その微視的(詳細な)な形状が、粗面形状(光拡散用の粗面形状)に形成されており、この粗面形状を樹脂材料に転写させることによって、光拡散機能を有する第1非光学機能面6aを成形することが可能とされている。
この第2転写面14の粗面形状は、既存の金型における平坦な金属面(鏡面)上に、ブラスト加工やシボ加工を施すことによって簡便かつ安価に形成されたものであってもよい。
また、第5転写面20は、その巨視的な形状が、第2レンズ面2bの光軸OAに相当する第4転写面18の中心軸Sに直交するような第4転写面18と同心の平面円環状に形成されている。
さらに、第5転写面20は、その微視的な形状が、粗面形状(光拡散用の粗面形状)に形成されており、この粗面形状を樹脂材料に転写させることによって、光拡散機能を有する第2非光学機能面6bを成形することが可能とされている。
この第5転写面20の粗面形状も、第2転写面14の粗面形状と同様に、既存の金型における平坦な金属面(鏡面)上に、ブラスト加工やシボ加工を施すことによって簡便かつ安価に形成されたものであってもよい。
さらに、レンズ成形用金型8には、成形品を可動型である下型10から離型させるための図示しない離型手段が配設されている。この離型手段は、エジェクタピンであってもよいが、小型のレンズ5の成形に対応するための小型のレンズ成形用金型8においては、下型側レンズ駒17を突き出すことによって成形品を下型10から離型させる所謂コア突き方式の離型手段を設けることが望ましい。
次に、このようなレンズ成形用金型8を用いてレンズ5を成形する場合には、まず、第1転写面12の中心軸Sと第4転写面18の中心軸Sとを互いに一致させる金型9、10間の同軸・チルト調整を行い、両金型9、10を互いに接触させる。この同軸・チルト調整は、調整前のレンズ成形用金型8によって一旦レンズ5の試作品を成形し、成形されたレンズ5の試作品の寸法精度に基づいて金型の調整量を予め算出し、算出された調整量に基づいて行うようにしてもよい。
次いで、接触状態の金型9、10における第1〜第7転写面12、14、16、18、20、22、23に囲まれたキャビティ内に、スプール、ランナおよびゲートを通して溶融状態の樹脂材料を供給する。
このとき、第2転写面14と第5転写面20とを互いに平行かつ同心(同軸)上に位置させることによって、第2転写面14と第5転写面20とを基準とした金型9、10間の同軸・チルト調整を簡便かつ正確に行うことができる。
そして、キャビティ内に供給された樹脂材料を冷却硬化させることによって、第1〜第7転写面12、14、16、18、20、22、23の形状が樹脂材料に転写されて、キャビティ内に成形品におけるレンズ5部分が成形される。このとき、ゲート、ランナおよびスプール内の樹脂材料も冷却硬化されることによって、レンズ5部分と一体をなす成形品が成形される。
なお、本実施形態においては、上型側レンズ駒11と上型側枠駒15との境界(以下、上型9側の駒割と称する)が、第1転写面12の外周から径方向の外側に離間した位置に形成されているため、成形品の成形時に、上型9側の駒割の位置に成形品のバリが生じたとしても、このバリが第1レンズ面2aの形状に悪影響を及ぼすことはない。
同様に、本実施形態においては、下型側レンズ駒17と下型側枠駒21との境界(以下、下側10側の駒割と称する)が、第4転写面18の外周から径方向の外側に離間した位置に形成されているため、成形品の成形時に、下型10側の駒割の位置に成形品のバリが生じたとしても、このバリが第2レンズ面2bの形状に悪影響を及ぼすことはない。
次いで、レンズ成形用金型8内に成形された成形品をレンズ成形用金型8から離型させ、離型された成形品からレンズ5部分を分断することによって、図1に示したようなレンズ5が得られる。
以上述べたように、本実施形態によれば、第1非光学機能面6aおよび第2非光学機能面6bによって不要光を拡散することにより、第1光学機能面6aおよび第2光学機能面6bを通る光の光路上から不要光を除去して良好な光学性能を発揮することができるレンズ5を得ることが可能となる。
また、本実施形態においては、第1レンズ面2aと第1非光学機能面6aとがともに同一の金型駒である上型側レンズ駒11によって成形され、第2レンズ面2bと第2非光学機能面6bとがともに同一の金型駒である下型側レンズ駒17によって成形されているため、成形されたレンズ5の寸法精度を検査する際におけるレンズ厚の測定を高精度に行うことができる。
すなわち、レンズ厚を直接デジマチックインジケータ(株式会社ミツトヨ製)を用いて測定する場合には、安定性が悪く測定値に対する信頼性も低いものとなる。
これに対して、本実施形態のレンズ5によれば、まず、第1非光学機能面6aを基準とした第1レンズ面2aの面頂の高さ、第2非光学機能面6bを基準とした第2レンズ面2bの高さを、それぞれ超高精度三次元測定機(UA3P)によって測定し、次いで、両非光学機能面6a、6b間の距離をデジマチックインジケータで測定し、最後に、第1レンズ面2aの面頂の高さ、第2レンズ面2bの面頂の高さ、および両非光学機能面6a、6b間の距離を足し合わせることによって、レンズ厚の測定値を算出することができる。このとき、第1レンズ面2aの面頂の高さは、第1レンズ面2aと同一の金型駒(上型側レンズ駒11)によって成形された第1非光学機能面6aを基準として測定し、また、第2レンズ面2bの面頂の高さは、第2レンズ面2bと同一の金型駒(下型側レンズ駒21)によって成形された第2非光学機能面6bを基準として測定するため、測定値の精度は良く、信頼性がある。また、両非光学機能面6a、6b間の距離も、両非光学機能面6a、6bの平面形状に基づいて容易かつ高精度に測定することができる。
なお、本発明は、前述した実施の形態に限定されるものではなく、必要に応じて種々の変更が可能である。
本実施形態におけるレンズ成形用金型によって製造されたレンズを示す構成図 本実施形態におけるレンズ成形用金型を示す構成図 従来から採用されていたレンズの一例を示す構成図
符号の説明
2a 第1レンズ面
2b 第2レンズ面
12 第1転写面
14 第2転写面
18 第4転写面
20 第5転写面

Claims (4)

  1. 互いに接離可能とされた第1の金型および第2の金型を備え、接触状態における前記第1の金型と前記第2の金型との間の空間内に光学素子を成形可能とされた光学素子成形用金型であって、
    前記第1の金型は、
    前記光学素子における第1の光学機能面を成形するための第1の転写面、および前記第1の光学機能面の外周に隣接する前記光学素子における第1の非光学機能面を成形するための第2の転写面が形成された第1の金型駒と、
    この第1の金型駒の外側に周設され、前記第1の非光学機能面を包囲する前記光学素子における第1のフランジ面を成形するための第3の転写面が形成された第2の金型駒と
    を備え、
    前記第2の金型は、
    前記第1の光学機能面に前記光学素子の厚み方向において対向する前記光学素子における第2の光学機能面を成形するための第4の転写面、および前記第2の光学機能面の外周に隣接する前記光学素子における第2の非光学機能面を成形するための第5の転写面が形成された第3の金型駒と、
    この第3の金型駒の外側に周設され、前記第2の非光学機能面を包囲する前記光学素子における第2のフランジ面を成形するための第6の転写面が形成された第4の金型駒と
    を備え、
    前記第2の転写面は、前記第1の光学機能面の光軸に相当する前記第1の転写面の中心軸に直交するとともに光拡散用の粗面形状を有するような面形状に形成され、
    前記第5の転写面は、前記第2の光学機能面の光軸に相当する前記第4の転写面の中心軸に直交するとともに光拡散用の粗面形状を有するような面形状に形成されていること
    を特徴とする光学素子成形用金型。
  2. 前記第2の転写面および前記第5の転写面が、平坦な金属面上にブラスト加工またはシボ加工を施してなること
    を特徴とする請求項1に記載の光学素子成形用金型。
  3. 前記光学素子としてのレンズの成形に用いられることを特徴とする請求項1または2に記載の光学素子成形用金型。
  4. 請求項1〜3のいずれか1項に記載の光学素子成形用金型を用いて光学素子を成形することを特徴とする光学素子の製造方法。
JP2008256265A 2008-10-01 2008-10-01 光学素子成形用金型およびこれを用いた光学素子の製造方法 Expired - Fee Related JP5254731B2 (ja)

Priority Applications (1)

Application Number Priority Date Filing Date Title
JP2008256265A JP5254731B2 (ja) 2008-10-01 2008-10-01 光学素子成形用金型およびこれを用いた光学素子の製造方法

Applications Claiming Priority (1)

Application Number Priority Date Filing Date Title
JP2008256265A JP5254731B2 (ja) 2008-10-01 2008-10-01 光学素子成形用金型およびこれを用いた光学素子の製造方法

Publications (2)

Publication Number Publication Date
JP2010083066A true JP2010083066A (ja) 2010-04-15
JP5254731B2 JP5254731B2 (ja) 2013-08-07

Family

ID=42247495

Family Applications (1)

Application Number Title Priority Date Filing Date
JP2008256265A Expired - Fee Related JP5254731B2 (ja) 2008-10-01 2008-10-01 光学素子成形用金型およびこれを用いた光学素子の製造方法

Country Status (1)

Country Link
JP (1) JP5254731B2 (ja)

Cited By (1)

* Cited by examiner, † Cited by third party
Publication number Priority date Publication date Assignee Title
JPWO2013153940A1 (ja) * 2012-04-09 2015-12-17 コニカミノルタ株式会社 光学部品の製造方法

Citations (4)

* Cited by examiner, † Cited by third party
Publication number Priority date Publication date Assignee Title
JPH02157810A (ja) * 1988-12-12 1990-06-18 Omron Tateisi Electron Co 光学素子
JPH10332906A (ja) * 1997-06-03 1998-12-18 Sharp Corp 複合レンズ体および光ピックアップ
WO2008053692A1 (en) * 2006-11-01 2008-05-08 Konica Minolta Opto, Inc. Optical element, resin molding metal die and optical element manufacturing method
JP2008188845A (ja) * 2007-02-03 2008-08-21 Fujinon Corp レンズ成形用金型の製造方法、及びレンズの製造方法

Patent Citations (4)

* Cited by examiner, † Cited by third party
Publication number Priority date Publication date Assignee Title
JPH02157810A (ja) * 1988-12-12 1990-06-18 Omron Tateisi Electron Co 光学素子
JPH10332906A (ja) * 1997-06-03 1998-12-18 Sharp Corp 複合レンズ体および光ピックアップ
WO2008053692A1 (en) * 2006-11-01 2008-05-08 Konica Minolta Opto, Inc. Optical element, resin molding metal die and optical element manufacturing method
JP2008188845A (ja) * 2007-02-03 2008-08-21 Fujinon Corp レンズ成形用金型の製造方法、及びレンズの製造方法

Cited By (1)

* Cited by examiner, † Cited by third party
Publication number Priority date Publication date Assignee Title
JPWO2013153940A1 (ja) * 2012-04-09 2015-12-17 コニカミノルタ株式会社 光学部品の製造方法

Also Published As

Publication number Publication date
JP5254731B2 (ja) 2013-08-07

Similar Documents

Publication Publication Date Title
TWI484239B (zh) 塑膠鏡筒製造方法
US8842376B2 (en) Plastic optical lens
US20130265660A1 (en) Lens unit and imaging apparatus
CN104093548A (zh) 光学元件的制造方法
TWI437304B (zh) 光學透鏡元件和該塑膠透鏡成型模具及塑膠透鏡的製造方法
CN104718482A (zh) 模制透镜的透镜单元结构与模制透镜的成型模具
JP5254731B2 (ja) 光学素子成形用金型およびこれを用いた光学素子の製造方法
US20140055868A1 (en) Plastic Lens with Improved Eccentricity and Method for Manufacturing the Same
JP2006281765A (ja) 光学素子の表面精度改善方法及びその装置
JP2007199107A (ja) レンズ及びそれを用いた撮像装置
JP2009259393A (ja) 成形レンズ
JP5835473B2 (ja) 光学部品の製造方法
JP2008100481A (ja) 絞り一体型レンズ、及び、その製造方法
JP2008296538A (ja) 光学素子および光学素子の成形金型ならびに光学素子の成形方法
JP4168705B2 (ja) 光学素子及びこれを成形するための金型
CN110978428A (zh) 一种精密的模具脱模机构及模具
US8294885B2 (en) Auxiliary device for helping to measure coaxiality of lenses
JP6278195B2 (ja) レンズ保持部材の製造方法、その製造方法に用いるスライドコア金型
JP6357904B2 (ja) 型装置及び光学素子
JP2008076834A (ja) プラスチックレンズ
KR20150060023A (ko) 렌즈 성형용 금형
CN110709227B (zh) 成型模具
JP2019177575A (ja) レンズ成形金型
JP2011177925A (ja) 光学素子の成形装置
JP2006058850A (ja) 光学レンズ及びその製造方法

Legal Events

Date Code Title Description
A621 Written request for application examination

Free format text: JAPANESE INTERMEDIATE CODE: A621

Effective date: 20111003

A977 Report on retrieval

Free format text: JAPANESE INTERMEDIATE CODE: A971007

Effective date: 20130311

TRDD Decision of grant or rejection written
A01 Written decision to grant a patent or to grant a registration (utility model)

Free format text: JAPANESE INTERMEDIATE CODE: A01

Effective date: 20130319

A61 First payment of annual fees (during grant procedure)

Free format text: JAPANESE INTERMEDIATE CODE: A61

Effective date: 20130418

R150 Certificate of patent or registration of utility model

Ref document number: 5254731

Country of ref document: JP

Free format text: JAPANESE INTERMEDIATE CODE: R150

Free format text: JAPANESE INTERMEDIATE CODE: R150

FPAY Renewal fee payment (event date is renewal date of database)

Free format text: PAYMENT UNTIL: 20160426

Year of fee payment: 3

R250 Receipt of annual fees

Free format text: JAPANESE INTERMEDIATE CODE: R250

R250 Receipt of annual fees

Free format text: JAPANESE INTERMEDIATE CODE: R250

R250 Receipt of annual fees

Free format text: JAPANESE INTERMEDIATE CODE: R250

LAPS Cancellation because of no payment of annual fees