JP2010076050A - ロボットハンド - Google Patents

ロボットハンド Download PDF

Info

Publication number
JP2010076050A
JP2010076050A JP2008247483A JP2008247483A JP2010076050A JP 2010076050 A JP2010076050 A JP 2010076050A JP 2008247483 A JP2008247483 A JP 2008247483A JP 2008247483 A JP2008247483 A JP 2008247483A JP 2010076050 A JP2010076050 A JP 2010076050A
Authority
JP
Japan
Prior art keywords
links
robot hand
linear motion
link
hinges
Prior art date
Legal status (The legal status is an assumption and is not a legal conclusion. Google has not performed a legal analysis and makes no representation as to the accuracy of the status listed.)
Granted
Application number
JP2008247483A
Other languages
English (en)
Other versions
JP4592794B2 (ja
Inventor
Atsushi Sugawara
淳 菅原
Current Assignee (The listed assignees may be inaccurate. Google has not performed a legal analysis and makes no representation or warranty as to the accuracy of the list.)
Toshiba Corp
Original Assignee
Toshiba Corp
Priority date (The priority date is an assumption and is not a legal conclusion. Google has not performed a legal analysis and makes no representation as to the accuracy of the date listed.)
Filing date
Publication date
Application filed by Toshiba Corp filed Critical Toshiba Corp
Priority to JP2008247483A priority Critical patent/JP4592794B2/ja
Publication of JP2010076050A publication Critical patent/JP2010076050A/ja
Application granted granted Critical
Publication of JP4592794B2 publication Critical patent/JP4592794B2/ja
Active legal-status Critical Current
Anticipated expiration legal-status Critical

Links

Images

Landscapes

  • Manipulator (AREA)

Abstract

【課題】一つのロボットハンドによって、種々の把持対象物の形状や性質に合わせて、異なる向きに安定に把持することができるようにする。
【解決手段】多角形リンク機構18は、少なくとも4個のリンク30a、30b、31a〜31dと、これらのリンクそれぞれに取り付けられて互いに隣接するリンク同士を回動可能に連接するヒンジ32a〜32hと、を備える。リンク同士がヒンジを介して直列に環状に連接されて多角形を形成する。互いに対向するヒンジまたはリンクに直動駆動機構が配置されてそれらのヒンジまたはリンク同士の間隔を拡張収縮させる。直動駆動機構の動作によって互いの相対的向きが変化する少なくとも3個のリンクのそれぞれに指11a〜11dが固定されている。多角形リンク機構の拡張収縮に伴い指の配置位置が可変できる。
【選択図】図1

Description

この発明は、複数の指を備えたロボットハンドに関する。
製造業やサービス業、さらには家庭内で、人の手の作業を代行できるロボットハンドへの需要がある。
たとえば飲食業界で、人手不足対策として、大きさの異なる皿、椀、コップ、トレイ、箸、スプーンなどの食器をハンドリングするロボットハンドへの需要がある。できれば、一つのハンドですべての食器類を把持できることが望ましい。その場合に必要な機能としては、(1)椀の中に指を入れない把持、(2)箸、スプーンなどを摘める器用な指先、(3)椀やコップを上下ひっくり返す機能(食器洗い機への装填用)などが挙げられる。
一方、たとえば、バレットテクノロジー社から販売されているバレットハンド(商品名)では、三本指で指の内転・外転(横方向への開閉)ができるので、茶碗などを上から鷲掴みしたり、コップを横から把持したりすることができる。
また、野菜など球状のものを鷲掴みするロボットが特許文献1に記載されている。
特開平10−175184号公報
特許文献1に記載された技術は鷲掴み専用としてしか使えない。
また、バレットハンドでは、完全な拇指対向ができていないので、箸やスプーンを簡単につかめない(わざわざ3本指を使わなければならない)。そして、茶碗をひっくり返す場合、拇指対向になっていない3本指では不安定である。また、内転・外転用に一つのモータを使っているが、外力に反して状態を維持するために、このモータには、大きなトルク、または、大きな減速機が必要である。指の根元なので、大きな力がかかっている。
本発明は、一つのロボットハンドによって、種々の把持対象物の形状や性質に合わせて、異なる向きに安定に把持することができるようにすることを目的とする。
上記目的を達成するために、本発明に係るロボットハンドは、少なくとも4個のリンクと、これらのリンクそれぞれに取り付けられて前記少なくとも4個のリンクのうちの互いに隣接するリンク同士を互いに平行なリンクヒンジ軸周りに回動可能に連接する前記リンクと同数のヒンジと、を備えて、リンク同士がヒンジを介して直列に環状に連接されて多角形を形成する多角形リンク機構と、互いに対向する前記ヒンジまたはリンクに接続されてそれらのヒンジまたはリンク同士の少なくとも一つの組の間隔を拡張収縮させる直動駆動機構と、前記少なくとも4個のリンクのうちの少なくとも3個のリンクであって前記直動駆動機構の動作によって互いの相対的向きの少なくとも一部が変化する少なくとも3個のリンクのそれぞれに固定されて、それぞれに、前記リンクヒンジ軸に平行でない指関節回動軸の周りに回動可能な少なくとも一つの指関節を備えた少なくとも3本の指と、を有し、前記少なくとも3本の指により把持対象物を把持可能に構成されていることを特徴とする。
本発明によれば、一つのロボットハンドによって、種々の把持対象物の形状や性質に合わせて、異なる向きに安定に把持することができ、種々の動作を行なうことができる。また、小型化、軽量化が可能である。
以下、本発明に係るロボットハンドの実施形態について、図面を参照しながら説明する。ここで、同一または類似の部分には共通の符号を付して、重複説明は省略する。
[第1の実施形態]
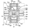
本発明の第1の実施形態について、図1ないし図9を用いて説明する。ここで、図1は第1の実施形態のロボットハンドの対角対向状態の指先方向から見た平面図、図2は図1のII矢視立面図である。図3は第1の実施形態のロボットハンドの隣接対向状態の指先方向から見た平面図、図4は図3のIV矢視立面図である。図5は図1のV−V線矢視立面図である。図6は第1の実施形態のロボットハンドの対角対向状態で指関節を延ばした状態の指関節の位置関係を示す模式的斜視図、図7は第1の実施形態のロボットハンドの対角対向状態で指関節を曲げて皿を鷲掴みにするときの状態の指関節の位置関係を示す模式的斜視図である。図8は第1の実施形態のロボットハンドの隣接対向状態で指関節を延ばした状態の指関節の位置関係を示す模式的斜視図、図9は第1の実施形態のロボットハンドの隣接対向状態でコップを脇から掴むときの状態の指関節の位置関係を示す模式的斜視図である。ただし、図1および図3は、回転駆動機構33の図示の都合上、回転駆動機構33のモータをはずした状態を示している。
この実施形態のロボットハンドは4本の指11a、11b、11c、11dを有する。各指は、先端部から順に、指先部12、末節部13、末節14、基節部15、基節16、根元部17が連接されて構成されている。指先部12は、把持対象物(図示せず)に接触する部位なので、弾性体で被覆されていることが好ましい。また、この部位に触覚センサ等があると、把持対象物の位置や加圧力を検出できるので、より一層好ましい。末節14、基節16は、関節であり、互いに平行な指関節回動軸の周りに回動して指11a、11b、11c、11dを屈曲できるようになっている。基節部15および根元部17それぞれにはモータ(図示せず)が縦に入っており、このモータの駆動力を傘歯車(図示せず)により方向を変えて、末節14および基節16を回動させることができる。
各指11a、11b、11c、11dの根元部17は、八角形リンク18の8個のリンクのうちの4個に一つずつ取り付けてある。
八角形リンク18は、8個のリンクそれぞれの両端に配置されたヒンジを介して隣接するリンク同士を連接して八角形リンクとしたものである。8個のリンクのうちの二つは直動リンク30a、30bであって、他の6個のリンクは中間リンク31a、31b、31c、31d、31e、31fである。
各リンクの両端にヒンジが設けられ、直動リンク30aのヒンジ32aが、中間リンク31a、ヒンジ32b、中間リンク31b、ヒンジ32c、中間リンク31dを順に介して直動リンク30bのヒンジ32dに連接している。直動リンク30aのヒンジ32eは、中間リンク31d、ヒンジ32f、中間リンク31e、ヒンジ32g、中間リンク31fを順に介して直動リンク30bのヒンジ32hに連接している。各ヒンジは基板21に垂直なリンクヒンジ軸の周りに回動可能である。
なお、指関節回動軸は、たとえば基板21に平行であって、リンクヒンジ軸と平行ではない。
直動リンク30a、30bはスライダ部19の上に取り付けられており、スライダ部19は、スライダベース部20に取り付けてある。そしてスライダベース部20は、基板21の上に取り付けてある。スライダ部19は、スライダベース部20の上で直線的に平行移動できるように構成されている。
直動リンク30a、30bは直動駆動機構により互いの向きを変えずに相互間距離を伸ばしたり縮めたりできるようになっている。直動駆動機構は、直動リンク30a、30bの間を結ぶ中央位置に配置された回転駆動機構33と、回転駆動機構33によって回転するボールネジ22を含む。ボールネジ22は、直動リンク30a、30bに固定された雌ネジ(図示せず)に螺合している。
中間リンク31b、31eは、直動リンク30a、30bと同様にスライダ部19の上に取り付けられており、このスライダ部19は、スライダベース部20に取り付けてある。ただし、中間リンク31b、31eはボールネジ22と螺合していない。他の中間リンク31a、31c、31d、31fにはスライダ部19、スライダベース部20がなく、これらの中間リンクはそれぞれの両端のヒンジを介して隣接する他のリンクにより支持されている。
4本の指11a、11b、11c、11dの根元部17はそれぞれ、中間リンク31a、31c、31d、31fに取り付けられていて、基板21に対してほぼ垂直方向に、互いに同じ向きに延びている。
回転駆動機構33は、図1、図3、図5に示すように、モータ23と、ピニオンギア41、42、シャフト43、傘歯車44、45などを含む。ピニオンギア41はモータ23の回転軸に固定され、ピニオンギア42を駆動する。ピニオンギア42はモータ23の軸に平行なシャフト43を駆動し、傘歯車44、45によって回転軸が直角に曲げられ、ボールネジ22を回転駆動する。モータ23は正転、逆転が可能で、その回転によってボールネジ22が回転し、直動リンク30a、30bが互いに近づいたり遠ざかったりするように構成されている。
直動リンク30a、30bが互いに遠ざかった状態では、図1および図2に示すように、互いに対角位置にある指を取り付けた中間リンク31aと中間リンク31f同士が対向し、同様に、互いに対角位置にある指を取り付けた中間リンク31cと中間リンク31d同士が対向している。この状態を対角対向状態と呼ぶ。
直動リンク30a、30bが互いに近づいた状態では、図3および図4に示すように、互いに隣接位置にある指を取り付けた中間リンク31aと中間リンク31e同士が対向し、同様に、互いに隣接位置にある指を取り付けた中間リンク31dと中間リンク31f同士が対向している。この状態を位置にある隣接対向状態と呼ぶ。
対角対向状態は、図6および図7に示すように、皿35(椀などでもよい)を上から鷲掴みするときに適しており、隣接対向状態は、図3のように飲み物が入ったコップ36(椀などでもよい)を横から掴むときに適している。
以上説明したように、この実施形態によれば、簡単な直動駆動機構を操作するだけで、ロボットハンドを対角対向状態から隣接対向状態に、また、逆方向に変化させることができ、一つのロボットハンドで種々の仕事をさせることができる。
[第2の実施形態]
本発明の第2の実施形態について、図10および図11を用いて説明する。ここで、図10は本発明に係るロボットハンドの第2の実施形態における対角対向状態の指先方向から見た平面図であり、図11は第2の実施形態における隣接対向状態の指先方向から見た平面図である。
この実施形態では、直動駆動機構として、ボールネジなどを用いず、カム52とカムフォロワ51を用いる。直動リンク30a、30bをはさむ中央位置にカム52が配置され、カム52は図示しないモータによって回転駆動される。カムフォロワ51は、図示しないバネなどによってカム52に常に押し付けられている。カム52の回転によりカムフォロワ51が図10、図11の上下方向に動き、それによって直動リンク30a、30bが、互いに近づいたり遠ざかったりする動作ができるようになっている。直動駆動機構以外の構成は第1の実施形態と同様である。
上記構成により、第1の実施形態と同様に、簡単な直動駆動機構を操作するだけで、ロボットハンドを対角対向状態(図10)から隣接対向状態(図11)に、また、逆方向に変化させることができる。これにより、一つのロボットハンドで種々の仕事をさせることができる。特にこの実施形態ではボールネジを使用しないので、構造が単純で埃などに強い。
なお、第1の実施形態では直動リンク30a、30bが互いに遠ざかったときに図1の対角対向状態になっているのに対して、第2の実施形態では逆に直動リンク30a、30bが互いに近づいたときに図10の対角対向状態になっている。このように直動リンクの動作と対角対向状態・隣接対向状態の変化の関係は任意に設定することができる。
[第3の実施形態]
本発明の第3の実施形態について、図12および図13を用いて説明する。ここで、図12は本発明に係るロボットハンドの第3の実施形態における対角対向状態の指先方向から見た平面図であり、図13は第3の実施形態における隣接対向状態の指先方向から見た平面図である。
この実施形態では、直動駆動機構として、ボールネジやカムなどを用いず、ソレノイドを用いる。すなわち、直動リンク30aにソレノイド鉄心61の一端が固定され、直動リンク30bにソレノイドコイル62の一端が固定されていて、ソレノイド鉄心61の他端がソレノイドコイル62の他端に挿入されている。ソレノイドコイル62に通電すると、ソレノイド鉄心61がソレノイドコイル62に引き込まれて図12の対角対向状態になる。ソレノイドコイル62への通電を停止すると、図示しないバネの力によって、ソレノイド鉄心61がソレノイドコイル62から抜ける方向に移動して図13の隣接対向状態になる。直動駆動機構以外の構成は第1または第2の実施形態と同様である。
本実施形態は、モータを用いず、回転駆動部を持たないので、構造が簡単で、コスト低減が可能である。
なお、上記説明では、ソレノイドコイル62に通電するとソレノイド鉄心61がソレノイドコイル62に引き込まれ、通電を止めるとソレノイド鉄心61がソレノイドコイル62から抜ける方向に移動するものとしたが、逆の構成も可能である。
[第4の実施形態]
本発明の第4の実施形態について、図14および図15を用いて説明する。ここで、図14は本発明に係るロボットハンドの第4の実施形態における対角対向状態の指先方向から見た平面図であり、図15は第4の実施形態における隣接対向状態の指先方向から見た平面図である。
この実施形態では、八角形リンク18および直動駆動機構は第1の実施形態と同様の構成であるが、4本の指でなく、3本の指11a、11b、11cが採用される点が第1の実施形態と異なる。図示の例では、3本の指11a、11b、11cがそれぞれ、中間リンク31b、31d、31fに取り付けられている。
この場合、図14の対角対向状態では3本の指が中心を向き、図15の隣接対向状態では、指11aと指11cとが向かい合い、指11bは指11aおよび指11cの側方に向いている。
[第5の実施形態]
本発明の第5の実施形態について、図16および図17を用いて説明する。ここで、図16は本発明に係るロボットハンドの第5の実施形態における対角対向状態の指先方向から見た平面図であり、図17は第5の実施形態における隣接対向状態の指先方向から見た平面図である。
この実施形態では、八角形リンク18および直動駆動機構は第1の実施形態と同様の構成であり、さらに、4本の指11a、11b、11c、11dが中間リンク31a、31c、31d、31fに取り付けられていることも第1の実施形態と同様である。この実施形態では、これら4本の指に加えて、さらに2本の指11e、11fが、直動リンク30a、30bにそれぞれ取り付けられている。
この実施形態で、図16の対角対向状態では6本の指が中心を向き、図17の隣接対向状態では、指11a、11b、11eと指11c、11d、11fとが互いに対向する。
[第6の実施形態]
本発明の第6の実施形態について、図18および図19を用いて説明する。ここで、図18は本発明に係るロボットハンドの第6の実施形態における対角対向状態の指先方向から見た平面図であり、図19は第6の実施形態における隣接対向状態の指先方向から見た平面図である。ただし、これらの図では、スライダ部19、スライダベース部20、基板21の図示を省略する(以下の図でも同様である)。
この実施形態では、12角形リンク91が採用され、互いに対向する位置に直動リンク30a、30bが配置され、各直動リンク30a、30bの一方のヒンジ32a、32b同士が5個の中間リンク31a、31b、31c、31d、31eによって連接され、各直動リンクの一方のヒンジ32c、32d同士が他の5個の中間リンク31f、31g、31h、31i、31jによって連接されている。
この実施形態では、直動駆動機構として、ラックギア92とピニオンギア93を用いている。すなわち、図示しないモータによってピニオンギア93を回転駆動することによって、ラックギア92は直線運動をし、その結果、直動リンク30a、30bが互いに近づいたり遠ざかったりする。
直動リンク30a、30bにはそれぞれ、指11a、11gが取り付けられている。中間リンク31a、31b、31c、31d、31eには指11b、11c、11d、11e、11fが取り付けられ、中間リンク31f、31g、31h、31i、31jには指11n、11k、11j、11i、11hが取り付けられている。
直動リンク30a、30b同士が最も遠ざかった状態では、図19に示すように、直動リンク30a、30bに取り付けられた指11aと指11gとが互いに対向し、他の10本の指のうち互いに隣接する5本の指11b、11c、11d、11e、11fがそれぞれ、互いに隣接する5本の指11h、11i、11j、11k、11nと対向する。
この実施形態では、図18に示す対角対向状態のときに各ヒンジの屈曲角度が互いに等しくなるようにヒンジの屈曲しやすさが調整されている。その結果、図19の状態からピニオンギア93の回転によって直動リンク30a、30b同士が近づくと、図18に示す対角対向状態になって、各リンクが中心を向き、それに伴って各指が中心を向く。なお、ヒンジの屈曲しやすさは、たとえば、ヒンジにバネ70をつけてそのバネ70の強さを調整することによって実現できる。
この実施形態のように指の数が多いと、形が不定の野菜などを掴むときに有効である。
[第7の実施形態]
本発明の第7の実施形態について、図20を用いて説明する。ここで、図20は、本発明に係るロボットハンドの第7の実施形態における対角対向状態の指先方向から見た平面図である。この実施形態は第6の実施形態の変形であって、直動リンク30a、30b同士が最も遠ざかった隣接対向状態は、第6の実施形態と同様に図19に示すようになる。
この実施形態では、ヒンジの屈曲しやすさの調整が第6の実施形態と異なり、屈曲しやすいヒンジと屈曲しにくいヒンジとがある。これにより、直動リンク30a、30b同士が互いに近づいたときに、図20に示すように、4個のヒンジ32e、32f、32g、32hのみが屈曲し、他のヒンジが屈曲しないで、12角形リンク91全体で正方形または長方形をなすようにすることができる。
[第8の実施形態]
本発明の第8の実施形態について、図21および図22を用いて説明する。ここで、図21は本発明に係るロボットハンドの第8の実施形態における対角対向状態の指先方向から見た平面図であり、図22は第8の実施形態における隣接対向状態の指先方向から見た平面図である。
この実施形態では、2個の直動リンク30a、30bと、4個の中間リンク31a、31b、31c、31dがヒンジ32a、32b、32c、32d、32e、32fによって相互に連結され、六角形リンクが形成されている。第6の実施形態と同様に、直動リンク30a、30bは、ラックギア92とピニオンギア93によって互いに近づいたり遠ざかったりできるように構成されている。4個の中間リンク31a、31b、31c、31dそれぞれに、指11a、11b、11c、11dが取り付けられている。
直動リンク30a、30b同士が遠ざかったときには図22に示す隣接対向状態となり、直動リンク30a、30b同士が近づいたときに図21に示す対角対向状態となる。
この実施形態では、前記他の各実施形態と同様の効果を得られるほか、リンクおよびヒンジの数が少ないので、部品数が少なくて簡単な構成とすることができる。
[第9の実施形態]
本発明の第9の実施形態について、図23および図24を用いて説明する。ここで、図23は本発明に係るロボットハンドの第9の実施形態における対角対向状態の指先方向から見た平面図であり、図24は第9の実施形態における隣接対向状態の指先方向から見た平面図である。
この実施形態では、直動リンクが存在せず、4個の中間リンク31a、31b、31c、31dが、4個のヒンジ32a、32b、32c、32dによって順次連結されて四角形リンクが形成されている。中間リンク31a、31b、31c、31dそれぞれに、指11a、11b、11c、11dが取り付けられている。互いに対向するヒンジ32b、32dにラックギア92が固定され、ピニオンギア93の回転によってヒンジ32b、32d同士が近づいたり遠ざかったりするように構成されている。ヒンジ32b、32d同士が遠ざかったときには図24に示す隣接対向状態となり、ヒンジ32b、32d同士が近づいたときに図23に示す対角対向状態となる。
この実施形態では、前記他の各実施形態と同様の効果を得られるほか、リンクおよびヒンジの数がさらに少ないので、部品数が少なくて簡単な構成とすることができる。
[他の実施形態]
以上説明した各実施形態は単なる例示であって、本発明はこれらに限定されるものではない。たとえば、各実施形態の特徴を種々に組み合わせることもできる。たとえば、直動駆動機構として、第2の実施形態のカム機構または第3の実施形態のソレノイドを第4〜第7の実施形態に適用してもよい。また、第6〜第9の実施形態のラックギアとピニオンギアの組み合わせによる機構を第1〜第5の実施形態に適用してもよい。
また、直動駆動機構として、リンク同士を直動駆動する場合とヒンジ同士を直動駆動する場合について説明したが、直動駆動機構は、特定のリンクと特定のヒンジの間で直動駆動するものであってもよい。
本発明に係るロボットハンドの第1の実施形態における対角対向状態の指先方向から見た平面図。 図1のII矢視立面図。 本発明に係るロボットハンドの第1の実施形態における隣接対向状態の指先方向から見た平面図。 図3のIV矢視立面図。 図1のV−V線矢視立面図。 本発明に係るロボットハンドの第1の実施形態における対角対向状態で指関節を延ばした状態の指関節の位置関係を示す模式的斜視図。 本発明に係るロボットハンドの第1の実施形態における対角対向状態で指関節を曲げて皿を鷲掴みにするときの状態の指関節の位置関係を示す模式的斜視図。 本発明に係るロボットハンドの第1の実施形態における隣接対向状態で指関節を延ばした状態の指関節の位置関係を示す模式的斜視図。 本発明に係るロボットハンドの第1の実施形態における隣接対向状態でコップを脇から掴むときの状態の指関節の位置関係を示す模式的斜視図。 本発明に係るロボットハンドの第2の実施形態における対角対向状態の指先方向から見た平面図。 本発明に係るロボットハンドの第2の実施形態における隣接対向状態の指先方向から見た平面図。 本発明に係るロボットハンドの第3の実施形態における対角対向状態の指先方向から見た平面図。 本発明に係るロボットハンドの第3の実施形態における隣接対向状態の指先方向から見た平面図。 本発明に係るロボットハンドの第4の実施形態における対角対向状態の指先方向から見た平面図。 本発明に係るロボットハンドの第4の実施形態における隣接対向状態の指先方向から見た平面図。 本発明に係るロボットハンドの第5の実施形態における対角対向状態の指先方向から見た平面図。 本発明に係るロボットハンドの第5の実施形態における隣接対向状態の指先方向から見た平面図。 本発明に係るロボットハンドの第6の実施形態における対角対向状態の指先方向から見た平面図。 本発明に係るロボットハンドの第6の実施形態における隣接対向状態の指先方向から見た平面図。 本発明に係るロボットハンドの第7の実施形態における対角対向状態の指先方向から見た平面図。 本発明に係るロボットハンドの第8の実施形態における対角対向状態の指先方向から見た平面図。 本発明に係るロボットハンドの第8の実施形態における隣接対向状態の指先方向から見た平面図。 本発明に係るロボットハンドの第9の実施形態における対角対向状態の指先方向から見た平面図。 本発明に係るロボットハンドの第9の実施形態における隣接対向状態の指先方向から見た平面図。
符号の説明
11a、11b、11c、11d、11e、11f、11g、11h、11i、11j、11k、11n : 指
12 : 指先部
13 : 末節部
14 : 末節
15 : 基節部
16 : 基節
17 : 根元部
18 : 八角形リンク
19 : スライダ部
20 : スライダベース部
21 : 基板
22 : ボールネジ
23 : モータ
30a、30b : 直動リンク
31a、31b、31c、31d、31e、31f、31g、31h、31i、31j : 中間リンク
32a、32b、32c、32d、32e、32f、32g、32h : ヒンジ
33 : 回転駆動機構
35 : 皿
36 : コップ
41、42 : ピニオンギア
43 : シャフト
44、45 : 傘歯車
51 : カムフォロワ
52 : カム
61 : ソレノイド鉄心
62 : ソレノイドコイル
91 : 12角形リンク
92 : ラックギア
93 : ピニオンギア

Claims (10)

  1. 少なくとも4個のリンクと、これらのリンクそれぞれに取り付けられて前記少なくとも4個のリンクのうちの互いに隣接するリンク同士を互いに平行なリンクヒンジ軸周りに回動可能に連接する前記リンクと同数のヒンジと、を備えて、リンク同士がヒンジを介して直列に環状に連接されて多角形を形成する多角形リンク機構と、
    互いに対向する前記ヒンジまたはリンクに接続されてそれらのヒンジまたはリンク同士の少なくとも一つの組の間隔を拡張収縮させる直動駆動機構と、
    前記少なくとも4個のリンクのうちの少なくとも3個のリンクであって前記直動駆動機構の動作によって互いの相対的向きの少なくとも一部が変化する少なくとも3個のリンクのそれぞれに固定されて、それぞれに、前記リンクヒンジ軸に平行でない指関節回動軸の周りに回動可能な少なくとも一つの指関節を備えた少なくとも3本の指と、
    を有し、
    前記少なくとも3本の指により把持対象物を把持可能に構成されていることを特徴とするロボットハンド。
  2. 前記リンクは、
    前記直動駆動機構に連結されることによって互いの間隔が拡張収縮する第1の直動リンクおよび第2の直動リンクと、
    前記第1の直動リンクに配置された第1のヒンジと前記第2の直動リンクに配置された第2のヒンジとを、互いに直列に接続されて連接する少なくとも2個の中間リンクと、
    前記第1の直動リンクに配置された第3のヒンジと前記第2の直動リンクに配置された第4のヒンジとを、互いに直列に接続されて連接する少なくとも2個の中間リンクと、
    を含むこと、
    を特徴とする請求項1に記載のロボットハンド。
  3. 前記直動駆動機構は、前記第1の直動リンクと第2の直動リンクとの相対的な向きを維持しながら前記第1の直動リンクと第2の直動リンクとの間隔を拡張収縮するように構成されていること、を特徴とする請求項1または請求項2に記載のロボットハンド。
  4. 前記直動駆動機構は前記ヒンジのうちの互いに対向するヒンジ同士の間隔を拡張収縮させるように構成されていること、を特徴とする請求項1に記載のロボットハンド。
  5. 前記複数のヒンジの回動のしやすさが不均等になるように付勢する付勢機構をさらに有すること、を特徴とする請求項1ないし請求項4のいずれか一項に記載のロボットハンド。
  6. 前記直動駆動機構は、回転軸を有するモータと、この回転軸の回転を直線運動に変える変換機構とを備えていること、を特徴とする請求項1ないし請求項5のいずれか一項に記載のロボットハンド。
  7. 前記変換機構はボールネジ機構を含むことを特徴とする請求項6に記載のロボットハンド。
  8. 前記変換機構は、前記回転軸の回転によって回転するカムと、このカムの回転によって直線的に駆動されるカムフォロワとを含むことを特徴とする請求項6に記載のロボットハンド。
  9. 前記直動駆動機構は、ソレノイドを含むこと、を特徴とする請求項1ないし請求項5のいずれか一項に記載のロボットハンド。
  10. 前記少なくとも3本の指は、それぞれが複数の指関節を有し、同じ指の複数の指関節は互いに平行な複数の指関節回動軸周りに回動可能に構成されていること、を特徴とする請求項1ないし請求項9のいずれか一項に記載のロボットハンド。
JP2008247483A 2008-09-26 2008-09-26 ロボットハンド Active JP4592794B2 (ja)

Priority Applications (1)

Application Number Priority Date Filing Date Title
JP2008247483A JP4592794B2 (ja) 2008-09-26 2008-09-26 ロボットハンド

Applications Claiming Priority (1)

Application Number Priority Date Filing Date Title
JP2008247483A JP4592794B2 (ja) 2008-09-26 2008-09-26 ロボットハンド

Publications (2)

Publication Number Publication Date
JP2010076050A true JP2010076050A (ja) 2010-04-08
JP4592794B2 JP4592794B2 (ja) 2010-12-08

Family

ID=42207085

Family Applications (1)

Application Number Title Priority Date Filing Date
JP2008247483A Active JP4592794B2 (ja) 2008-09-26 2008-09-26 ロボットハンド

Country Status (1)

Country Link
JP (1) JP4592794B2 (ja)

Cited By (6)

* Cited by examiner, † Cited by third party
Publication number Priority date Publication date Assignee Title
CN103963046A (zh) * 2014-04-11 2014-08-06 广西大学 一种空间球面体机构
US8814241B2 (en) 2010-09-17 2014-08-26 Samsung Electronics Co., Ltd. Robot hand
JP2018518377A (ja) * 2015-06-11 2018-07-12 ソフト ロボティクス, インコーポレイテッド モジュール式ロボットシステム
DE102018222312A1 (de) 2017-12-28 2019-07-04 Fanuc Corporation Greifhand
WO2024053293A1 (ja) * 2022-09-09 2024-03-14 株式会社ブリヂストン ロボットハンド
WO2024053294A1 (ja) * 2022-09-09 2024-03-14 株式会社ブリヂストン ロボットハンド

Citations (8)

* Cited by examiner, † Cited by third party
Publication number Priority date Publication date Assignee Title
JPS6076986A (ja) * 1983-09-30 1985-05-01 株式会社東芝 ロボツト
JPS60180792A (ja) * 1984-02-29 1985-09-14 株式会社東芝 遠隔作業装置
JPS63161689U (ja) * 1987-04-10 1988-10-21
JPH0680579U (ja) * 1993-04-28 1994-11-15 安藤電気株式会社 位置変換機構
JPH11245187A (ja) * 1988-08-31 1999-09-14 Univ Pennsylvania 機械的に巧みな握持を行なう方法
JP2001071912A (ja) * 1999-09-08 2001-03-21 Toshiba Corp ジャッキング装置を用いた運搬装置及び運搬装置の使用方法
JP2006255805A (ja) * 2005-03-15 2006-09-28 Thk Co Ltd ロボットハンド
JP2007098499A (ja) * 2005-10-03 2007-04-19 Nippon Soken Inc マニピュレータ、そのマニピュレータを備える多自由度マニピュレータ、6自由度マニピュレータ、二足歩行ロボット及び車両用電動シート装置、並びに、位置角度センサ

Patent Citations (8)

* Cited by examiner, † Cited by third party
Publication number Priority date Publication date Assignee Title
JPS6076986A (ja) * 1983-09-30 1985-05-01 株式会社東芝 ロボツト
JPS60180792A (ja) * 1984-02-29 1985-09-14 株式会社東芝 遠隔作業装置
JPS63161689U (ja) * 1987-04-10 1988-10-21
JPH11245187A (ja) * 1988-08-31 1999-09-14 Univ Pennsylvania 機械的に巧みな握持を行なう方法
JPH0680579U (ja) * 1993-04-28 1994-11-15 安藤電気株式会社 位置変換機構
JP2001071912A (ja) * 1999-09-08 2001-03-21 Toshiba Corp ジャッキング装置を用いた運搬装置及び運搬装置の使用方法
JP2006255805A (ja) * 2005-03-15 2006-09-28 Thk Co Ltd ロボットハンド
JP2007098499A (ja) * 2005-10-03 2007-04-19 Nippon Soken Inc マニピュレータ、そのマニピュレータを備える多自由度マニピュレータ、6自由度マニピュレータ、二足歩行ロボット及び車両用電動シート装置、並びに、位置角度センサ

Cited By (10)

* Cited by examiner, † Cited by third party
Publication number Priority date Publication date Assignee Title
US8814241B2 (en) 2010-09-17 2014-08-26 Samsung Electronics Co., Ltd. Robot hand
CN103963046A (zh) * 2014-04-11 2014-08-06 广西大学 一种空间球面体机构
CN103963046B (zh) * 2014-04-11 2015-11-04 广西大学 一种空间球面体机构
JP2018518377A (ja) * 2015-06-11 2018-07-12 ソフト ロボティクス, インコーポレイテッド モジュール式ロボットシステム
DE102018222312A1 (de) 2017-12-28 2019-07-04 Fanuc Corporation Greifhand
US10953553B2 (en) 2017-12-28 2021-03-23 Fanuc Corporation Gripping hand
DE102018222312B4 (de) 2017-12-28 2022-04-21 Fanuc Corporation Greifhand
WO2024053293A1 (ja) * 2022-09-09 2024-03-14 株式会社ブリヂストン ロボットハンド
WO2024053294A1 (ja) * 2022-09-09 2024-03-14 株式会社ブリヂストン ロボットハンド
EP4585809A4 (en) * 2022-09-09 2025-12-24 Bridgestone Corp ROBOT HAND

Also Published As

Publication number Publication date
JP4592794B2 (ja) 2010-12-08

Similar Documents

Publication Publication Date Title
JP4592794B2 (ja) ロボットハンド
EP2487010B1 (en) Robot hand and robot apparatus
KR101484109B1 (ko) 로봇 핸드 및 판자 모양 물품의 핸들링 방법
JP6811267B2 (ja) 柔軟劣駆動把持具
Kim Design of low inertia manipulator with high stiffness and strength using tension amplifying mechanisms
JP4918004B2 (ja) 多指ロボットハンド
JP5010382B2 (ja) マニピュレータおよびロボット
KR101778031B1 (ko) 로봇 핸드
US10618182B2 (en) Underactuated mechanical finger capable of linear motion with compensatory displacement, mechanical gripper and robot containing the same
US20120175903A1 (en) Robot hand
JP2016068192A (ja) ロボットハンド及びロボット
JP2009006460A (ja) ロボットハンド
JP2008207263A (ja) ロボットハンド
JP2011240422A (ja) ロボットハンド、およびロボット
CN108724239A (zh) 柔性机械手
JP2006255805A (ja) ロボットハンド
JP2018167374A (ja) 指機構およびこの指機構を組み込んだ人間型ハンド
Yamaguchi et al. Underactuated robot hand for dual-arm manipulation
JP2011062788A (ja) マニピュレータ装置およびマニピュレータの制御方法
JP2019063886A (ja) ロボットハンドの指の駆動機構、および、その駆動機構を具備する指を備えるロボットハンド
CN107984484A (zh) 末端精确补偿直线平夹自适应机器人手指装置
JP5648353B2 (ja) ロボットハンド、およびロボット
CN104875182B (zh) 一种可实现被动包络的可变手掌型柔性机械手爪
CN104858885A (zh) 一种可实现被动包络的固定手掌型柔性机械手爪
JP5044668B2 (ja) ロボットハンド

Legal Events

Date Code Title Description
A977 Report on retrieval

Free format text: JAPANESE INTERMEDIATE CODE: A971007

Effective date: 20100812

TRDD Decision of grant or rejection written
A01 Written decision to grant a patent or to grant a registration (utility model)

Free format text: JAPANESE INTERMEDIATE CODE: A01

Effective date: 20100817

A01 Written decision to grant a patent or to grant a registration (utility model)

Free format text: JAPANESE INTERMEDIATE CODE: A01

A61 First payment of annual fees (during grant procedure)

Free format text: JAPANESE INTERMEDIATE CODE: A61

Effective date: 20100914

FPAY Renewal fee payment (event date is renewal date of database)

Free format text: PAYMENT UNTIL: 20130924

Year of fee payment: 3

R151 Written notification of patent or utility model registration

Ref document number: 4592794

Country of ref document: JP

Free format text: JAPANESE INTERMEDIATE CODE: R151

FPAY Renewal fee payment (event date is renewal date of database)

Free format text: PAYMENT UNTIL: 20130924

Year of fee payment: 3