JP2010075284A - 保育器 - Google Patents

保育器 Download PDF

Info

Publication number
JP2010075284A
JP2010075284A JP2008244595A JP2008244595A JP2010075284A JP 2010075284 A JP2010075284 A JP 2010075284A JP 2008244595 A JP2008244595 A JP 2008244595A JP 2008244595 A JP2008244595 A JP 2008244595A JP 2010075284 A JP2010075284 A JP 2010075284A
Authority
JP
Japan
Prior art keywords
treatment
door
incubator
treatment door
newborn
Prior art date
Legal status (The legal status is an assumption and is not a legal conclusion. Google has not performed a legal analysis and makes no representation as to the accuracy of the status listed.)
Granted
Application number
JP2008244595A
Other languages
English (en)
Other versions
JP5164158B2 (ja
Inventor
Terumi Matsubara
照巳 松原
Eiji Koike
英二 小池
Naoki Honma
直樹 本間
Shinichi Kobayashi
心一 小林
Hidetoshi Sato
英敏 佐藤
Kazuo Matsubara
一雄 松原
Current Assignee (The listed assignees may be inaccurate. Google has not performed a legal analysis and makes no representation or warranty as to the accuracy of the list.)
Atom Medical Corp
Original Assignee
Atom Medical Corp
Priority date (The priority date is an assumption and is not a legal conclusion. Google has not performed a legal analysis and makes no representation as to the accuracy of the date listed.)
Filing date
Publication date
Application filed by Atom Medical Corp filed Critical Atom Medical Corp
Priority to JP2008244595A priority Critical patent/JP5164158B2/ja
Publication of JP2010075284A publication Critical patent/JP2010075284A/ja
Application granted granted Critical
Publication of JP5164158B2 publication Critical patent/JP5164158B2/ja
Active legal-status Critical Current
Anticipated expiration legal-status Critical

Links

Images

Classifications

    • AHUMAN NECESSITIES
    • A61MEDICAL OR VETERINARY SCIENCE; HYGIENE
    • A61GTRANSPORT, PERSONAL CONVEYANCES, OR ACCOMMODATION SPECIALLY ADAPTED FOR PATIENTS OR DISABLED PERSONS; OPERATING TABLES OR CHAIRS; CHAIRS FOR DENTISTRY; FUNERAL DEVICES
    • A61G2210/00Devices for specific treatment or diagnosis
    • A61G2210/50Devices for specific treatment or diagnosis for radiography

Landscapes

  • Accommodation For Nursing Or Treatment Tables (AREA)

Abstract

【課題】新生児収容室内の新生児の体調が変調をきたしにくく、また、新生児収容室内の新生児に対して処置者が迅速且つ効率的に処置を施すことができる、保育器を提供する。
【解決手段】左右側処置扉22による左右側処置窓33の開放及び閉鎖のために左右側処置窓33に沿って左右側処置扉22を下降及び上昇させる処置扉支持体48を具備している。左右側処置扉22が下降及び上昇を停止する際に発生する衝撃が自由回動の場合よりも少ない。また、左右側処置窓33の開放時に左右側処置扉22の内面が保育器11の外方を向かない。更に、隣接している保育器や他の機器等との間に左右側処置扉22の回動半径分の空間が不要である。
【選択図】図1

Description

本発明は、自らの力では体温調節等をできない新生児に適切な生理的環境を提供してこの新生児を保護育成するための保育器に関する。
保育器には、新生児に適切な生理的環境を提供する新生児収容室が設けられている。閉鎖型の保育器では、新生児収容室内の新生児を外部から視認することができる様に新生児収容室の側面及び天面の略全域が透明部材によって形成されており、新生児収容室内では温度のみならず湿度や酸素濃度等も制御される。開放型の保育器でも、新生児収容室の側面の略全域が透明部材によって形成されており、新生児収容室の上方に配置されている熱線放射源によって新生児収容室内の臥床台の温度や新生児自身の体温が制御される。更に、新生児収容室の天蓋を下降及び上昇させることによって閉鎖型と開放型とに随時に切り換えることのできる切換型の保育器もある。
しかし、新生児収容室内の新生児に対して医師や看護士等の処置者が処置を施す必要のある場合もある。そこで、閉鎖型や切換型の保育器では、比較的簡単な処置のために、新生児収容室の幾つかの側面に手入窓が設けられており、比較的複雑な処置のために、新生児収容室の幾つかの側面の略全域に処置窓が設けられると共にこの処置窓を開放及び閉鎖する処置扉が処置窓に備えられている。また、開放型の保育器でも、複雑な処置のために、新生児収容室の側面が開放されたり取り外されたりする。
そして、従来の閉鎖型や切換型の保育器では、新生児収容室の下方に位置している基部に軸受部が設けられており、処置扉はこの軸受部を中心にして保育器の外方へ自由回動することによって処置窓を開放し且つ反対方向へ自由回動することによって処置窓を閉鎖する(例えば、特許文献1)。また、従来の開放型の保育器でも、新生児収容室の側面を開放する場合は、同様な構造が考えられていた。
特開2002−028199公報
ところが、処置扉が基部の軸受部を中心にして自由回動すると、処置扉が基部や透明部材に衝突して停止するまで処置扉を手で保持していなければ、処置扉が基部や透明部材に衝突して停止する際に大きな衝撃が発生し、新生児収容室内の新生児にストレスを与えて、新生児の体調が変調をきたす可能性がある。
また、処置扉が基部の軸受部を中心にして回動すると、処置扉が基部に衝突して停止している状態では、新生児収容室の内方に臨む処置扉の内面が保育器の外方を向いている。このため、新生児収容室内の新生児に対して処置者が処置を施す際に、処置者の衣服の一部や身体の一部が処置扉の内面に接触して雑菌や塵埃が処置扉の内面に付着する可能性が高く、処置扉を反対方向へ回動させて処置窓を閉鎖すると、これらの雑菌や塵埃が新生児収容室内へ持ち込まれ、これが原因で新生児の体調が変調をきたす可能性もある。
更に、保育器は一般に多数が整列されて使用される場合が多く、保育器の周辺にポンプや監視装置等の他の機器が配置されている場合も多い。そして、処置扉が基部の軸受部を中心にして回動するためには、隣接している保育器や他の機器等との間に少なくとも処置扉の回動半径分の空間が必要である。このため、保育器同士の間に十分な空間が必要であるが、十分な空間を確保することは一般に困難であり、処置扉の回動の前後に処置者が処置窓の前から移動したり他の機器等を処置窓の近傍から移動させたりする必要がある。この結果、新生児収容室内の新生児に対して処置者が迅速且つ効率的に処置を施すことが容易でない。
従って、本発明は、新生児収容室内の新生児に処置窓の開閉による衝撃によってストレスを与えたり処置窓の開放及び閉鎖後に雑菌や塵埃が新生児収容室内へ持ち込まれたりすることが少なくて新生児の体調が変調をきたしにくく、また、新生児収容室内の新生児に対して処置者が迅速且つ効率的に処置を施すことができる、保育器を提供することを目的としている。
請求項1に係る保育器は、第一の処置扉による第一の処置窓の開放及び閉鎖のためにこの第一の処置窓に沿って第一の処置扉を下降及び上昇させる摺動機構を具備しており、摺動には摩擦力が伴う。このため、第一の処置扉が下降及び上昇を停止する際に発生する衝撃が自由回動の場合よりも少なくて、新生児収容室内の新生児に第一の処置窓の開閉による衝撃によって与えるストレスが少ない。
また、第一の処置扉による第一の処置窓の開放及び閉鎖のためにこの第一の処置窓に沿って第一の処置扉を下降及び上昇させる摺動機構を具備しているので、第一の処置窓の開放時に第一の処置扉の内面が保育器の外方を向かない。このため、処置者の衣服の一部や身体の一部が第一の処置扉の内面に接触して雑菌や塵埃が第一の処置扉の内面に付着する可能性が低くて、第一の処置窓の開放及び閉鎖後に新生児収容室内へ持ち込まれる雑菌や塵埃が少ない。
更に、第一の処置扉による第一の処置窓の開放及び閉鎖のためにこの第一の処置窓に沿って第一の処置扉を下降及び上昇させる摺動機構を具備しているので、隣接している保育器や他の機器等との間に第一の処置扉の回動半径分の空間が不要である。このため、第一の処置窓の開放及び閉鎖の前後に処置者が第一の処置窓の前から移動したり他の機器等を第一の処置窓の近傍から移動させたりする必要がない。
請求項2に係る保育器は、第一の処置扉に係合されていてこの第一の処置扉に上昇の方向への力を印加している定荷重ばねを具備している。このため、第一の処置扉が下降を停止する際に発生する衝撃が自由回動の場合よりも更に少なくて、新生児収容室内の新生児に第一の処置窓の開閉による衝撃によって与えるストレスが更に少ない。また、処置者が少ない力で第一の処置扉を上昇させることができる。
請求項3に係る保育器は、第一の処置扉の下降または上昇の途中で第一の処置扉と嵌合してこの第一の処置扉の下降を防止する嵌合機構と、嵌合を解除または回避する不嵌合機構とを具備している。このため、新生児収容室の天蓋を下降及び上昇させることによって閉鎖型と開放型とに随時に切り換えることのできる切換型の保育器において、天蓋を上昇させ且つ第一の処置窓の開放の途中で第一の処置扉の下降を防止させることによって、第一の処置窓を途中まで開放している第一の処置扉によって新生児収容室内からの新生児の転落を防止しつつ新生児に容易に処置を施すことができる。
また、開放型の保育器においても、第一の処置窓を途中まで開放している第一の処置扉によって新生児収容室内からの新生児の転落を防止しつつ新生児に容易に処置を施すことができる。しかも、嵌合機構は第一の処置扉の下降を防止するだけであって上昇は防止しないので、第一の処置扉の上昇の途中で処置者が不嵌合機構を操作する必要がない。
請求項4に係る保育器は、第一の処置扉の一部分を第一の処置扉の上昇の方向から第一の処置窓の外方へ回動させる回動機構を具備している。このため、第一の処置扉の一部分の内面を上向きにした略水平状態や外向きにした状態にこの一部分を維持することができて、第一の処置扉の一部分の内面を楽な姿勢で清拭することができる。
請求項5に係る保育器は、第二の処置扉によって開放及び閉鎖される第二の処置窓に対して接近及び離隔が可能な移動体と、基端側取付部及び先端側取付部が移動体及び第二の処置扉に夫々回動可能に取り付けられており、先端側取付部同士の間隔が基端側取付部同士の間隔よりも狭い、一対のリンクと、第二の処置窓に対する移動体の接近及び離隔に際して一対のリンクを第二の処置窓に対して接近及び下降並びに離隔及び上昇させる様に案内する案内部とを具備している。
このため、第二の処置扉を第二の処置窓から引いて離隔させると、移動体が第二の処置窓に接近すると共に案内部によって一対のリンクが第二の処置窓に対して接近及び下降する。第二の処置窓に対するこの接近及び下降によって一対のリンクが回動し、一対のリンクのこの回動によって第二の処置扉はその上端部を第二の処置窓側へ接近させる様に傾斜しつつ下降する。逆に、第二の処置扉を第二の処置窓へ押して接近させると、第二の処置扉が第二の処置窓に対して平行になりつつ上昇して第二の処置窓を閉鎖することができる。
請求項6に係る保育器は、一端部で支持されている状態で上昇及び下降することによって新生児収容室の天面を開放及び閉鎖する天蓋と、この天蓋が最上昇位置以外の位置にある場合には、天蓋の他端部に対応する第二の処置扉の下降を抑止する抑止機構とを具備している。
処置窓の開放時にこの処置窓にエアカーテンを形成する保育器でも、温度等を制御された空気を循環させるために、新生児収容室の総ての処置窓にエアカーテンを形成できる訳ではない。このため、天蓋の他端部に対応する第二の処置窓を、エアカーテンを形成不能な処置窓の少なくとも一つにすることによって、天蓋が最上昇位置以外の位置まで上昇されて新生児収容室の天面が開放されている場合には、エアカーテンを形成可能で且つ開放されている処置窓にはエアカーテンを形成することができ、エアカーテンを形成不能な第二の処置窓は下降を抑止されている第二の処置扉で必ず閉鎖されているので、新生児収容室内を新生児に適切な生理的環境から逸脱しにくくすることができる。
また、天蓋の最下降位置近傍でこの天蓋が処置者の身体の一部等による衝撃等を受けても、天蓋の他端部に対応する第二の処置扉によっても天蓋が支持されるので、天蓋が一端部と他端部との両方で安定的に支持される。一方、天蓋の最上昇位置では天蓋が処置者の身体の一部等による衝撃等を受ける可能性が低いので、天蓋が一端部以外で支持されていなくても支障はなく、天蓋の他端部に対応する第二の処置窓も少なくとも部分的に開放することができる。
請求項1に係る保育器では、新生児収容室内の新生児に第一の処置窓の開閉による衝撃によって与えるストレスが少なく、また、第一の処置窓の開放及び閉鎖後に新生児収容室内へ持ち込まれる雑菌や塵埃が少ないので、新生児の体調が変調をきたしにくい。更に、第一の処置窓の開放及び閉鎖の前後に処置者が第一の処置窓の前から移動したり他の機器等を第一の処置窓の近傍から移動させたりする必要がないので、新生児収容室内の新生児に対して処置者が迅速且つ効率的に処置を施すことができる。
請求項2に係る保育器では、新生児収容室内の新生児に第一の処置窓の開閉による衝撃によって与えるストレスが更に少ないので、新生児の体調が変調を更にきたしにくい。また、処置者が少ない力で第一の処置扉を上昇させることができるので、処置者の作業の負担が少ない。
請求項3に係る保育器では、新生児収容室の天蓋を下降及び上昇させることによって閉鎖型と開放型とに随時に切り換えることのできる切換型の保育器や開放型の保育器において、第一の処置窓を途中まで開放している第一の処置扉によって新生児収容室内からの新生児の転落を防止しつつ新生児に容易に処置を施すことができ、しかも、第一の処置扉の上昇の途中で処置者が不嵌合機構を操作する必要がないので、新生児の安全の確保と処置者の負担の軽減とを図ることができる。
請求項4に係る保育器では、第一の処置扉の一部分の内面を上向きにした略水平状態や外向きにした状態にこの一部分を維持することができて、第一の処置扉の一部分の内面を楽な姿勢で清拭することができるので、保育器の内部を清潔な状態に維持し易くて、このことによっても新生児の体調が変調をきたしにくい。
請求項5に係る保育器では、第二の処置扉を第二の処置窓から引いて離隔させると、第二の処置扉はその上端部を第二の処置窓側へ接近させる様に傾斜しつつ下降し、逆に、第二の処置扉を第二の処置窓へ押して接近させると、第二の処置扉が第二の処置窓に対して平行になりつつ上昇して第二の処置窓を閉鎖することができる。従って、第二の処置扉を下降させて第二の処置窓を開放したときに、第二の処置扉の上端部が第二の処置窓に接近しており、第二の処置窓と第二の処置扉の上端部との隙間が少なく、新生児収容室内に収容されている新生児の足がこの隙間に嵌まりにくくて、新生児の安全性が更に高い。また、第二の処置窓と第二の処置扉の上端部との隙間が少ないので、新生児収容室内に収容されている新生児に処置者が第二の処置窓から接近し易くて、処置者が処置をし易い。
請求項6に係る保育器では、新生児収容室の天蓋が最上昇位置以外の位置まで上昇されて新生児収容室の天面が開放されている場合には、新生児収容室内を新生児に適切な生理的環境から逸脱しにくくすることができるので、このことによっても新生児の体調が変調をきたしにくい。また、天蓋の最下降位置近傍でこの天蓋が処置者の身体の一部等による衝撃等を受けても、天蓋が一端部と他端部との両方で安定的に支持されるので、本来は一端部でしか支持されていない天蓋の破損が防止される。一方、天蓋の最上昇位置では、天蓋の他端部に対応する第二の処置窓も少なくとも部分的に開放することができるので、新生児に容易に処置を施すことができる。
以下、新生児収容室の天蓋を下降及び上昇させることによって閉鎖型と開放型とに随時に切り換えることのできる切換型の保育器に適用した本発明の一実施形態を、図1〜34を参照しながら説明する。以下においては、
(1)全体の概要
(2)左右側処置扉の昇降
(3)左右側処置扉の回動
(4)足側処置扉の昇降
(5)足側処置扉の下降の制限
に分けて本実施形態を説明する。
(1)全体の概要
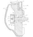
図2が、閉鎖型の状態にある本実施形態の保育器を示している。この保育器11では、架台12に車輪13と支柱14とが取り付けられており、この支柱14に基部15が支持されている。基部15内には温度や湿度等の制御機構(図示せず)が設けられており、基部15上に新生児収容室16が設けられており、基部15下に収納用の引き出し17が取り付けられている。架台12には支柱14に沿って基部15等の高さを調節するためのペダル18も設けられている。
新生児収容室16内には臥床台21(図1)が配置されており、この臥床台21上に臥床する新生児(図示せず)の左側及び右側に位置する一対の左右側処置扉22と足側に位置する足側処置扉23と頭側に位置する頭側処置壁24とが新生児収容室16の側面に設けられている。架台12には左右一対の支柱25も取り付けられている。左右一対の支柱25内には別の左右一対の支柱26(図3)が入れ子状に配置されており、夫々の支柱26が夫々の支柱25内を摺動することができる。
新生児収容室16の天蓋27と赤外線加熱器28とが左右一対の支柱26の一方及び他方に夫々支持されており、支柱26が支柱25内を摺動することによって天蓋27と赤外線加熱器28とは互いに独立に昇降することができる。天蓋27も透明材料によって形成されている。支柱25には、赤外線加熱器28が部屋の壁面(図示せず)に衝突することを防止する保護具31も取り付けられている。足側処置扉23及び頭側処置壁24には各種のチューブ等を挿通させるためのグロメット32(図24)が取り付けられている。
頭側処置壁24は基部15に対して固定されていて動かすことができないが、左右側処置扉22及び足側処置扉23は基部15に対して昇降可能である。図1は左右側処置扉22が最下降位置まで下降されて左右側処置窓33を開放している状態を示しており、この状態から天蓋27に当接する最上昇位置まで左右側処置扉22を上昇させれば左右側処置窓33が閉鎖される。
図5は、左右側処置扉22及び足側処置扉23が最上昇位置まで上昇されて左右側処置窓33及び足側処置窓34(図23)を閉鎖しており且つ天蓋27が最上昇位置まで上昇されている状態を、示している。従って、この状態では、新生児収容室16の天面が開放されている。図4は左右側処置扉22及び足側処置扉23が中間位置まで下降されている状態を示しており、図3は左右側処置扉22及び足側処置扉23が最下降位置まで下降されている状態を示している。なお、後述する様に、左右側処置扉22と足側処置扉23とは互いに独立に昇降可能である。
(2)左右側処置扉の昇降
図6、7に示されている様に、左右側処置扉22には、二重壁構造の透明な外壁35及び内壁36、左右一対の被案内レール37、枠体38、枠体覆い41、左右一対の蝶番42、X線カセッテ扉43等が備えられている。外壁35及び内壁36には、左右一対の手入窓44と、これらの手入窓44を開閉する左右一対の手入扉45と、X線カセッテ開口46とが備えられている。左右一対の被案内レール37の夫々の上端部近傍には、被案内レール37よりも大径の部分を有するストッパ47が取り付けられている。X線カセッテ開口46における気密性の向上のために、このX線カセッテ開口46の閉鎖時にはX線カセッテ扉43の一部がX線カセッテ開口46の内部へ挿入されている。
図8、9は、基部15のうちで一対の左右側処置扉22における夫々の両方の側縁部に対応する位置つまり基部15の四隅に取り付けられている、四つの処置扉支持体48のうちの一つを示している。これらの処置扉支持体48には垂直方向へ延びる案内溝51が設けられており、左右側処置扉22の昇降に際しては、この左右側処置扉22の両方の側縁部における被案内レール37が案内溝51内を摺動する。
図2、8、10に示されている様に、左右側処置扉22の昇降時にこの左右側処置扉22に対向する基部15の側面のうちで処置扉支持体48の近傍には、垂直方向へ延びる一対の係合溝52が設けられている。また、図8、10、11に示されている様に、係合溝52の上端部及び中間部に係合溝52よりも深い嵌合孔53、54が夫々設けられている。更に、図10、11に示されている様に、係合溝52のうちで、嵌合孔53と嵌合孔54との中間部から嵌合孔54に到る部分と、嵌合孔54と係合溝52の下端部との中間部から下端部に到る部分とに、係合溝52が徐々に深くなる傾斜面55、56が夫々設けられている。
図12〜14は左右側処置扉22の一部を示しており、図12、13は枠体覆い41が取り外されている状態、図14は枠体覆い41が取り付けられている状態を夫々示している。図12、13に示されている様に、枠体38にはピン57によってレバー58が揺動可能に取り付けられている。図1〜6に示されている様に、枠体覆い41には開口61が設けられており、この開口61の近傍にレバー58が位置している。処置者は、開口61から枠体覆い41内へ指を入れ、レバー58を手前に引くことによって、このレバー58を揺動させることができる。レバー58には、手前に引かれていない場合に開口61内の奥側に位置するためのばね等の付勢手段(図示せず)が備えられている。
枠体38には水平方向へ延びる枠部62が設けられており、この枠部62内に摺動体63が水平方向へ摺動可能に嵌合されている。枠体38にはピン64が取り付けられており、摺動体63に設けられている水平方向へ長い長孔65を介してピン64の基端部が摺動体63内へ突出している。ピン64のこの基端部には、垂直方向へ延びる別のピン66が固定されている。図14に示されている様に枠体38とピン64との間には圧縮コイルばね67が介装されており、枠体38から枠体覆い41とは反対方向へ圧縮コイルばね67がピン64を付勢している。
図12、13に示されている様に、摺動体63には、レバー58から離隔するに連れて枠体38からの高さが高くなる一対の傾斜面68が設けられている。上述の様に枠体38から枠体覆い41とは反対方向へ圧縮コイルばね67がピン64を付勢しているので、このピン64に固定されているピン66はその両端部の外周面において傾斜面68と常に当接している。なお、この当接による摩擦力が少なくなる様に、ピン66の外周面と傾斜面68の表面とが形成されている。
図12、13に示されている様に摺動体63に連結棒71の一端部が取り付けられており、図12に示されている様にこの連結棒71の他端部がレバー58内に位置している。レバー58には枠体覆い41から離隔するに連れて摺動体63からの距離が遠くなる傾斜面72が設けられており、この傾斜面72の傾斜方向へ長い長孔73が傾斜面72に設けられている。また、半球状に近い形状の鍔74がレバー58内の連結棒71の他端部に取り付けられている。
上述の様に、レバー58は開口61内の奥側へ付勢されており、また、ピン64は枠体38から枠体覆い41とは反対方向へ付勢されている。このため、レバー58が手前に引かれていない状態では、摺動体63の傾斜面68のうちでレバー58からの距離が最も近い部分にピン66が位置して、摺動体63がレバー58から最も遠い位置にある。この結果、レバー58側から摺動体63側へ連結棒71が引き寄せられており、レバー58の長孔73のうちで摺動体63からの距離が最も近い部分に連結棒71の鍔74が位置している。また、上述の様に摺動体63の傾斜面68のうちでレバー58からの距離が最も近い部分にピン66が位置しているので、図14に示されている様にピン64の先端部が枠体38から枠体覆い41とは反対方向へ突出している。
処置者が開口61から枠体覆い41内へ指を入れてレバー58を手前に引くと、レバー58の長孔73のうちで摺動体63からの距離が最も近い部分から最も遠い部分へ連結棒71の鍔74が傾斜面72上を相対的に移動し、この移動に伴って摺動体63側からレバー58側へ連結棒71が引き寄せられる。この結果、枠部62に沿って摺動体63がレバー58に接近し、摺動体63の傾斜面68のうちでレバー58からの距離が最も近い部分から最も遠い部分へピン66が傾斜面68上を相対的に移動し、ピン64の先端部が枠体38から枠体覆い41とは反対方向へ突出しなくなる。
図12、13には一つの摺動体63、ピン64、連結棒71等しか示されていないが、これらはレバー58の左右に一つずつ備えられており、図7には一対のピン64の先端部が枠体38から枠体覆い41とは反対方向へ突出している状態が示されている。更に、図1、2に示されている様に、定荷重ばね75が枠体38の下端辺に係合されて左右側処置扉22に上昇方向への力を印加しており、定荷重ばね75による上昇方向への力と左右側処置扉22の自重とが略均衡している。
図2に示されている様に左右側処置扉22が左右側処置窓33を閉鎖している状態では、図15に示されている様に、枠体38から枠体覆い41とは反対方向へ突出しているピン64の先端部が基部15の嵌合孔53に嵌合しており、この嵌合によって左右側処置扉22の下降が防止されている。左右側処置扉22を下降させて左右側処置窓33を開放するためには、上述の様に枠体覆い41の開口61から枠体覆い41内へ指を入れてレバー58を手前に引き、ピン64の先端部を基部15から枠体38側へ後退させて、ピン64の先端部と基部15の嵌合孔53との嵌合を解除する。
この解除状態で、定荷重ばね75による左右側処置扉22の支持に抗して下方向の力を左右側処置扉22に印加すると、左右側処置扉22の被案内レール37が処置扉支持体48の案内溝51に案内されつつ、左右側処置扉22が下降し始める。しかし、定荷重ばね75の作用によって、左右側処置扉22は急激には下降しない。ピン64の先端部と基部15の嵌合孔53との嵌合が解除されると同時にレバー58の操作も解除すると、ピン64の先端部は、係合溝52に係合し、次に左右側処置扉22の下降に伴って傾斜面55に係合し、更に左右側処置扉22の下降に伴って図16に示されている様に基部15の嵌合孔54と嵌合して、左右側処置扉22の更なる下降が防止される。
図16は、左右側処置扉22が中間位置まで下降されている状態を示しており、図4に対応している。図16の状態において再び枠体覆い41の開口61から枠体覆い41内へ指を入れてレバー58を手前に引くと、左右側処置扉22が更に下降し、図17に示されている様にストッパ47の下面が処置扉支持体48の上面に当接して、左右側処置扉22の更なる下降が防止される。図17は、左右側処置扉22が最下降位置まで下降されている状態を示しており、図3に対応している。図15の状態においてレバー58を手前に引いて左右側処置扉22が下降し始めた後もレバー58の操作を解除しなければ、左右側処置扉22は図16の中間位置で停止することなく、図17の最下降位置まで下降する。
逆に、左右側処置窓33を左右側処置扉22で閉鎖するために、図17の最下降位置から左右側処置扉22を上昇させるためには、レバー58を手前に引くことなく左右側処置扉22を持ち上げるだけでよい。この場合も、定荷重ばね75の作用によって、比較的少ない力で左右側処置扉22を持ち上げることができる。左右側処置扉22が上昇し始めると、レバー58を手前に引いていなくても、ピン64の先端部は、傾斜面56によって係合溝52と円滑に係合し、まず嵌合孔54に嵌合する。この状態で左右側処置扉22の持ち上げを停止すれば、左右側処置扉22は図16の中間位置で停止する。
ピン64の先端部が嵌合孔54に嵌合した後も左右側処置扉22の持ち上げを停止しなければ、ピン64の先端部は、傾斜面55及び係合溝52を通り、嵌合孔53に嵌合して、左右側処置扉22は図15の最上昇位置で停止する。左右側処置扉22を持ち上げる場合は、ピン64の先端部が嵌合孔54に嵌合した後も、レバー58を手前に引いていなくても、ピン64の先端部は、傾斜面55によって嵌合孔54から円滑に脱出して係合溝52と係合する。
(3)左右側処置扉の回動
図6に示されている様に、左右側処置扉22の外壁35の両方の側縁部の上端部には欠如部76が設けられており、これらの欠如部76の下方にも別の欠如部77が設けられている。被案内レール37の上端部であってストッパ47上には欠如部76に上方から嵌合可能で且つ回動可能な摘み78が取り付けられており、被案内レール37の上端部近傍には欠如部77と係合して外壁35等を支持する鉤部81が設けられている。また、外壁35の上端辺近傍には、外壁35や内壁36等を持ち上げたりするための把手82が設けられている。
図15〜17に示されている様に、枠体38には外壁35用の嵌合溝83が設けられており、欠如部77が鉤部81と係合している状態では外壁35の下端部が嵌合溝83内に嵌合している。図18(a)に示されている様に、被案内レール37のうちで蝶番42に隣接する部分には三角形に近い形状の凹部84が設けられており、図18(b)に示されている様に、蝶番42には凹部84内に位置する回動軸85が備えられている。蝶番42には、当接用の凸部86と、X線カセッテ扉43の回動軸(図示せず)が挿入される軸受孔87と、X線カセッテ扉43の回動防止軸(図示せず)が嵌合される凹部88とが設けられている。
左右側処置扉22の外壁35や内壁36等を回動させるためには、まず、摘み78を回動させて、この摘み78と外壁35の欠如部76との嵌合を解除する。そして、把手82を持って、外壁35、内壁36、蝶番42、及びX線カセッテ扉43を持ち上げて、外壁35の下端部と嵌合溝83との嵌合を解除すると同時に外壁35の欠如部77と鉤部81との係合を解除する。このとき、蝶番42の回動軸85が被案内レール37の凹部84内を移動するので、上述の様に外壁35や内壁36等が持ち上げられる。
次に、外壁35や内壁36等を手前に回動させていくと、図19に示されている様に、蝶番42の凸部86が枠体覆い41の上面に当接して回動が停止する。この状態では、外壁35や内壁36等が90°回動して略水平になっており、内壁36の内面が上向きになっている。図19に示されている様に、この回動時に、被案内レール37、枠体38、及び枠体覆い41は回動されない。なお、図19(a)では、左側の蝶番42及びX線カセッテ扉43の図示が省略されている。
外壁35や内壁36等を回動させるためには、上述の様にこれらの外壁35や内壁36等を持ち上げる必要があるので、左右側処置扉22が最上昇位置にある場合には、図5に示されている様に天蓋27が上昇されている必要がある。更に、左右側処置扉22が最下降位置にある場合には、外壁35や内壁36等を回動させようとしても外壁35の外面が処置扉支持体48に当接するので、この回動を行うことができない。なお、本実施形態の保育器11では外壁35や内壁36等が上述の様に90°までしか回動しないが、この回動が可能な角度は90°以外でもよく、例えば内壁36の内面が外向きになる様に180°まで回動可能であってもよい。
(4)足側処置扉の昇降
図20〜22に示されている様に、基部15内には、左右側処置扉22の枠体38と平行に且つ水平方向へ延びる案内レール91と、この案内レール91に案内されて移動可能な移動体92とが備えられている。移動体92には一対のリンク93、94の基端側取付部95、96が回動可能に取り付けられており、これら一対のリンク93、94の先端側取付部97、98は足側処置扉23の下端部近傍に回動可能に取り付けられている。
基端側取付部95及び先端側取付部97の間隔と基端側取付部96及び先端側取付部98の間隔とは互いに等しいが、先端側取付部97、98同士の間隔は基端側取付部95、96同士の間隔よりも狭い。リンク93にはローラ101が取り付けられており、このローラ101を回転させつつ案内する案内溝102が基部15内に備えられている。案内溝102には、足側処置扉23から最も離隔している部分から足側処置扉23へ接近するに連れて水平方向へ延びている水平部103と、その後に下降しつつ足側処置扉23へ接近している傾斜部104とが設けられている。
ローラ101が案内溝102の水平部103内を転動している間は、移動体92が案内レール91に案内されて移動するだけであり、リンク93、94同士の相対的な位置関係つまり基端側取付部95、96及び先端側取付部97、98同士の相対的な位置関係は変動しない。しかし、ローラ101が案内溝102の傾斜部104内を転動している間は、移動体92が案内レール91に案内されて移動するだけでなく、リンク93がその基端側取付部95を中心にして回動し、先端側取付部97、98が共に足側処置扉23に取り付けられているので、リンク94もその基端側取付部96を中心にして回動する。
上述の様に、基端側取付部95及び先端側取付部97の間隔と基端側取付部96及び先端側取付部98の間隔とは互いに等しいが、先端側取付部97、98同士の間隔は基端側取付部95、96同士の間隔よりも狭いので、基端側取付部95、96及び先端側取付部97、98で形成されている形状は平行四辺形ではない。もし、先端側取付部97、98同士の間隔と基端側取付部95、96同士の間隔とが互いに等しくて、基端側取付部95、96及び先端側取付部97、98で形成されている形状が平行四辺形であれば、リンク93、94がそれらの基端側取付部95、96を中心にして回動しても、基端側取付部95、96同士を結ぶ直線と先端側取付部97、98同士を結ぶ直線とは互いに平行なままである。
しかし、上述の形状が平行四辺形ではないので、足側処置扉23に取り付けられている先端側取付部97、98同士の間隔を維持するために、図20〜22に示されている様に、ローラ101が案内溝102の傾斜部104内を下降するに連れて、先端側取付部97、98同士を結ぶ直線のうちで先端側取付部98側の部分が基端側取付部95、96同士を結ぶ直線へ接近する様に、先端側取付部97、98同士を結ぶ直線が傾斜していく。逆に、ローラ101が案内溝102の傾斜部104内を上昇するに連れて、先端側取付部97、98同士を結ぶ直線のうちで先端側取付部98側の部分が基端側取付部95、96同士を結ぶ直線から離隔する様に、先端側取付部97、98同士を結ぶ直線が傾斜していく。
図20〜22には一対の左右側処置扉22のうちの一方の左右側処置扉22側におけるリンク93、94等しか示されていないが、基部15における他方の左右側処置扉22側にも図20〜22と左右対称形状のリンク93、94等が備えられている。従って、足側処置扉23の左右両端部に先端側取付部97、98によってリンク93、94が取り付けられている。
一方、図23〜25に示されている様に、足側処置扉23には、透明壁105、枠体106、枠体覆い107等が備えられている。枠体覆い107は枠体106の一部のみを覆っており、この枠体覆い107には欠如部108が設けられている。図24、25は枠体覆い107が取り外されている状態の足側処置扉23を示しており、左右側処置扉22におけるレバー58と同様なレバー111が枠体106に取り付けられている。
レバー111は、欠如部108の近傍に位置しており、一対のピン112を中心にして枠体106に対して揺動可能である。処置者は、欠如部108から枠体覆い107内へ指を入れ、レバー111を手前に引くことによって、このレバー111を揺動させることができる。レバー111には、手前に引かれていない場合に欠如部108内の奥側に位置するためのばね等の付勢手段(図示せず)が備えられている。
枠体106には一対のピン113が取り付けられており、これらのピン113の一端部がレバー111内に位置している。なお、図24、25では、右側のピン112、113の図示が省略されている。ピン113の中間部にEリング114(図26)が取り付けられており、このEリング114と枠体106との間に圧縮コイルばね115(図26)が介装されている。このため、レバー111側から処置扉支持体48側へ圧縮コイルばね115がピン113を付勢している。
レバー111には枠体覆い107から離隔するに連れて処置扉支持体48からの距離が遠くなる傾斜面116が設けられており、この傾斜面116の傾斜方向へ長い長孔117が傾斜面116に設けられている。また、半球状に近い形状の鍔118がレバー111内のピン113の一端部に取り付けられている。上述の様に、レバー111は欠如部108内の奥側へ付勢されており、また、ピン113はレバー111側から処置扉支持体48側へ付勢されている。図27、28に示されている様に、枠体106のうちでレバー111の両側に凹部121が設けられており、この凹部121内で且つピン113の上方に移動体122が配置されている。
図28、29に示されている様に、移動体122の底面には、レバー111に接近するに連れて枠体覆い107から離隔する様にピン113の軸心方向と斜交する係合溝123が設けられている。また、図27、28に示されている様に、移動体122には、足側処置扉23の厚さ方向へ延びるピン124が固定されており、このピン124の先端部は足側処置扉23から基部15側へ常に突出している。
図26に示されている様に、ピン113の直径を貫通している別のピン125がピン113に固定されており、図示されてはいないが、ピン125の上端部が移動体122の係合溝123に係合している。このため、ピン113が枠体覆い107に沿って移動するに連れて、移動体122が凹部121内を枠体覆い107に対して垂直に近い方向へ移動し且つピン124も枠体覆い107に対して垂直に近い方向へ移動する。
レバー111が手前に引かれていない状態では、レバー111側から処置扉支持体48側へピン113が引き寄せられており、レバー111の長孔117のうちで処置扉支持体48からの距離が最も近い部分にピン113の鍔118が位置している。また、ピン125が係合溝123のうちでレバー111から最も遠い部分つまり枠体覆い107に最も近い部分に係合している。この結果、図24〜26に示されている様にピン113の他端部が枠体106から処置扉支持体48側へ突出すると共に、足側処置扉23から基部15側へのピン124の突出量が多くなっている。
処置者が欠如部108から枠体覆い107内へ指を入れてレバー111を手前に引くと、レバー111の長孔117のうちで左右側処置扉22からの距離が最も近い部分から遠い部分へピン113の鍔118が傾斜面116上を相対的に移動し、この移動に伴って処置扉支持体48側からレバー111側へピン113が引き寄せられる。また、ピン125が係合溝123のうちでレバー111に最も近い部分つまり枠体覆い107から最も遠い部分に係合する。この結果、ピン113の他端部が枠体106から処置扉支持体48側へ突出しなくなると共に、足側処置扉23から基部15側へのピン124の突出量が少なくなる。
図26は、足側処置扉23が足側処置窓34を閉鎖している状態の、足側処置扉23と処置扉支持体48とを示している。この図26に示されている様に、処置扉支持体48のうちで足側処置扉23が嵌合される垂直面に、ピン113の他端部を収容することのできる凹部126が設けられている。
また、図30に示されている様に、足側処置扉23の昇降時にこの足側処置扉23に対向する基部15の側面のうちで処置扉支持体48の近傍には、垂直方向へ延びておりピン124と係合することのできる一対の係合溝127が設けられている。係合溝127の上端部には係合溝127よりも深い嵌合部128が設けられており、この嵌合部128の上方は開放されている。更に、係合溝127のうちで、嵌合部128から係合溝127の下端部に到る部分に、係合溝127が徐々に深くなる傾斜面131が設けられている。
従って、図20、23に示されている様に足側処置扉23が足側処置窓34を閉鎖している状態では、図26に示されている様にピン113の他端部が処置扉支持体48の凹部126に係合しており、この係合によって足側処置扉23の下降が防止されている。図20、23に示されている閉鎖状態から図21、24に示されている中間位置まで足側処置扉23を下降させるためには、レバー111を手前に引いて、ピン113の他端部と処置扉支持体48の凹部126との係合を解除する。
図21、24に示されている中間位置まで足側処置扉23が下降した時点でレバー111を手前に引いていなければ、ピン124の先端部が係合溝127の嵌合部128に上方から嵌合し、この嵌合によって足側処置扉23の更なる下降が防止される。図21、24に示されている様に足側処置扉23が中間位置まで下降している状態でレバー111を再び手前に引くことによってピン124の先端部と嵌合部128との嵌合を解除するか、またはこの中間位置まで足側処置扉23が下降した時点でもレバー111をまだ手前に引いたままであれば、ピン124の先端部が傾斜面131上を摺動し、図22、25に示されている様に足側処置扉23が最下降位置まで更に下降して足側処置窓34を開放する。
逆に、図22、25に示されている最下降位置から足側処置扉23を上昇させるためには、レバー111を手前に引くことなく足側処置扉23を持ち上げるだけでよい。この場合、図21、24に示されている中間位置で足側処置扉23の持ち上げを中止すれば、この中間位置で足側処置扉23が停止する。この中間位置でも足側処置扉23の持ち上げを継続すれば、図20、23に示されている最上昇位置まで足側処置扉23が上昇する。
(5)足側処置扉の下降の制限
図28に示されている様に、足側処置扉23の枠体106のうちで基部15側の面に掛け金受け132が取り付けられている。基部15のうちで、最上昇位置にある足側処置扉23の掛け金受け132に対向する部分に、図31、32に示されている様に掛け金基板133が取り付けられており、この掛け金基板133に掛け金134が取り付けられている。掛け金134は、中心軸135を中心にして、且つ掛け金基板133の案内孔136に被案内軸137を案内されつつ、揺動可能である。
掛け金134は、図32の位置から図31の位置へ、つまり掛け金受け132と係合する方向へ、引張コイルばね138で付勢されている。掛け金134の被駆動軸141にはワイヤ142の一端部が固定されており、このワイヤ142は基部15の内部や一対の支柱25のうちの天蓋27用の支柱25の内部を通過している。図33、34に示されている様に、この支柱25の頂部近傍にワイヤ142の他端部が固定されており、この他端部近傍に被押圧体143が固定されている。一対の支柱26のうちの天蓋27用の支柱26の下端部近傍には押圧体144が取り付けられており、支柱25内における支柱26の摺動と共に押圧体144も支柱25内を昇降する。
図34に示されている様に、天蓋27が最上昇位置近傍まで上昇していて保育器11が開放型の状態になっていれば、押圧体144が被押圧体143を下方から上方へ押圧している。この押圧によってワイヤ142が引っ張られており、この引っ張りによって掛け金134がばねによる付勢に抗して図32の位置まで揺動している。掛け金134が図32の位置にあれば、掛け金134が掛け金受け132と係合していないので、上述の様にレバー111を手前に引くこと等によって、足側処置扉23を最上昇位置から下降させることができる。
しかし、図33に示されている様に、天蓋27が最上昇位置近傍から僅かでも下降していれば、押圧体144が被押圧体143を下方から上方へ押圧していない。このためワイヤ142が引っ張られておらず、掛け金134がばねによる付勢によって図31の位置まで揺動している。掛け金134が図31の位置にあれば、掛け金134が掛け金受け132と係合しているので、レバー111を手前に引いても、足側処置扉23を最上昇位置から下降させることができない。本実施形態では、掛け金134と掛け金受け132とを係合させる機械的な機構によって足側処置扉23の下降が抑止されているが、この抑止は例えば電気的な機構によって行われてもよい。
なお、以上の実施形態は切換型の保育器に本発明を適用したものであるが、本発明は閉鎖型や開放型の保育器にも適用することができる。
本発明は、自らの力では体温調節等をできない新生児に適切な生理的環境を与えてその保護育成を図るための保育器の製造等に利用することができる。
本発明の一実施形態の保育器を左右側処置扉側から見た側面図であり、閉鎖型保育器の状態にあって、左右側処置扉が最下降位置まで下降され且つ足側処置扉が最上昇位置まで上昇されている状態を示している。 本発明の一実施形態の保育器を左右側処置扉側から見た側面図であり、閉鎖型保育器の状態にあって、左右側処置扉及び足側処置扉が最上昇位置まで上昇されている状態を示している。 本発明の一実施形態の保育器を左右側処置扉側から見た側面図であり、開放型保育器の状態にあって、左右側処置扉及び足側処置扉が最下降位置まで下降されている状態を示している。 本発明の一実施形態の保育器を左右側処置扉側から見た側面図であり、開放型保育器の状態にあって、左右側処置扉及び足側処置扉が中間位置まで下降されている状態を示している。 本発明の一実施形態の保育器を左右側処置扉側から見た側面図であり、開放型保育器の状態にあって、左右側処置扉及び足側処置扉が最上昇位置まで上昇されている状態を示している。 本発明の一実施形態の保育器における左右側処置扉の外面の斜視図である。 本発明の一実施形態の保育器における左右側処置扉の内面の斜視図である。 本発明の一実施形態の保育器における処置扉支持体の近傍部の斜視図である。 図8の処置扉支持体の横断面図である。 本発明の一実施形態の保育器における基部の一部を左右側処置扉側から見た側面図である。 図10のXI−XI線に沿う縦断面図である。 本発明の一実施形態の保育器における左右側処置扉の一部を示しており、枠体覆いが取り外されている状態の斜視図である。 本発明の一実施形態の保育器における左右側処置扉の一部を示しており、枠体覆いが取り外されている状態の正面図である。 本発明の一実施形態の保育器における左右側処置扉の一部を示しており、枠体覆いに覆われている状態の縦断面図である。 本発明の一実施形態の保育器の縦断面図であり、左右側処置扉が最上昇位置まで上昇されている状態を示している。 本発明の一実施形態の保育器の縦断面図であり、左右側処置扉が中間位置まで下降されている状態を示している。 本発明の一実施形態の保育器の縦断面図であり、左右側処置扉が最下降位置まで下降されている状態を示している。 本発明の一実施形態の保育器における左右側処置扉の一部の斜視図であり、(a)は被案内レール、(b)は蝶番を示している。 本発明の一実施形態の保育器における外壁や内壁等が回動された状態の左右側処置扉を示しており、(a)は正面図、(b)は側面図である。 本発明の一実施形態の保育器の一部を左右側処置扉側から見た側面図であり、左右側処置扉が取り外され且つ足側処置扉が最上昇位置まで上昇されている状態を示している。 本発明の一実施形態の保育器の一部を左右側処置扉側から見た側面図であり、左右側処置扉が取り外され且つ足側処置扉が中間位置まで下降されている状態を示している。 本発明の一実施形態の保育器の一部を左右側処置扉側から見た側面図であり、左右側処置扉が取り外され且つ足側処置扉が最下降位置まで下降されている状態を示している。 本発明の一実施形態の保育器を足側処置扉側から見た側面図であり、足側処置扉が最上昇位置まで上昇されている状態を示している。 本発明の一実施形態の保育器を足側処置扉側から見た側面図であり、足側処置扉の枠体覆いが取り外され且つ足側処置扉が中間位置まで下降されている状態を示している。 本発明の一実施形態の保育器を足側処置扉側から見た側面図であり、足側処置扉の枠体覆いが取り外され且つ足側処置扉が最下降位置まで下降されている状態を示している。 本発明の一実施形態の保育器における足側処置扉及び処置扉支持体の一部の横断面図である。 本発明の一実施形態の保育器における足側処置扉の一部の斜視図であり、足側処置扉の枠体覆いが取り外されている状態を示している。 本発明の一実施形態の保育器における足側処置扉の一部の縦断面図である。 本発明の一実施形態の保育器の足側処置扉における移動体の平面図である。 本発明の一実施形態の保育器を足側処置扉側から見た側面図であり、足側処置扉が取り外されている状態を示している。 本発明の一実施形態の保育器における基部の掛け金と足側処置扉の掛け金受けとの平面図であり、掛け金と掛け金受けとが係合している状態を示している。 本発明の一実施形態の保育器における基部の掛け金と足側処置扉の掛け金受けとの平面図であり、掛け金と掛け金受けとが係合していない状態を示している。 本発明の一実施形態の保育器を足側処置扉側から見た側面図であり、閉鎖型保育器の状態を示している。 本発明の一実施形態の保育器を足側処置扉側から見た側面図であり、開放型保育器の状態を示している。
符号の説明
11 保育器
16 新生児収容室
22 左右側処置扉(第一の処置扉)
23 足側処置扉(第二の処置扉)
27 天蓋
33 左右側処置窓(第一の処置窓)
34 足側処置窓(第二の処置窓)
42 蝶番(回動機構)
48 処置扉支持体(摺動機構)
53 嵌合孔(嵌合機構)
54 嵌合孔(嵌合機構)
58 レバー(不嵌合機構)
64 ピン(嵌合機構)
75 定荷重ばね
92 移動体
93 リンク
94 リンク
95 基端側取付部
96 基端側取付部
97 先端側取付部
98 先端側取付部
102 案内溝(案内部)
132 掛け金受け(抑止機構)
134 掛け金(抑止機構)
142 ワイヤ(抑止機構)
143 被押圧体(抑止機構)
144 押圧体(抑止機構)

Claims (6)

  1. 新生児収容室の側面に処置窓が設けられておりこの処置窓に処置扉が備えられている保育器において、
    第一の前記処置扉による第一の前記処置窓の開放及び閉鎖のためにこの第一の処置窓に沿って前記第一の処置扉を下降及び上昇させる摺動機構
    を具備することを特徴とする保育器。
  2. 前記第一の処置扉に係合されていてこの第一の処置扉に前記上昇の方向への力を印加している定荷重ばね
    を具備することを特徴とする請求項1に記載の保育器。
  3. 前記下降または前記上昇の途中で前記第一の処置扉と嵌合してこの第一の処置扉の前記下降を防止する嵌合機構と、
    前記嵌合を解除または回避する不嵌合機構と
    を具備することを特徴とする請求項1に記載の保育器。
  4. 前記第一の処置扉の一部分を前記上昇の方向から前記第一の処置窓の外方へ回動させる回動機構
    を具備することを特徴とする請求項1に記載の保育器。
  5. 第二の前記処置扉によって開放及び閉鎖される第二の処置窓に対して接近及び離隔が可能な移動体と、
    基端側取付部及び先端側取付部が前記移動体及び前記第二の処置扉に夫々回動可能に取り付けられており、前記先端側取付部同士の間隔が前記基端側取付部同士の間隔よりも狭い、一対のリンクと、
    前記接近及び離隔に際して前記一対のリンクを前記第二の処置窓に対して接近及び下降並びに離隔及び上昇させる様に案内する案内部と
    を具備することを特徴とする請求項1に記載の保育器。
  6. 一端部で支持されている状態で上昇及び下降することによって前記新生児収容室の天面を開放及び閉鎖する天蓋と、
    この天蓋が最上昇位置以外の位置にある場合には、前記天蓋の他端部に対応する第二の前記処置扉の下降を抑止する抑止機構と
    を具備することを特徴とする請求項1に記載の保育器。
JP2008244595A 2008-09-24 2008-09-24 保育器 Active JP5164158B2 (ja)

Priority Applications (1)

Application Number Priority Date Filing Date Title
JP2008244595A JP5164158B2 (ja) 2008-09-24 2008-09-24 保育器

Applications Claiming Priority (1)

Application Number Priority Date Filing Date Title
JP2008244595A JP5164158B2 (ja) 2008-09-24 2008-09-24 保育器

Publications (2)

Publication Number Publication Date
JP2010075284A true JP2010075284A (ja) 2010-04-08
JP5164158B2 JP5164158B2 (ja) 2013-03-13

Family

ID=42206482

Family Applications (1)

Application Number Title Priority Date Filing Date
JP2008244595A Active JP5164158B2 (ja) 2008-09-24 2008-09-24 保育器

Country Status (1)

Country Link
JP (1) JP5164158B2 (ja)

Cited By (4)

* Cited by examiner, † Cited by third party
Publication number Priority date Publication date Assignee Title
JP2014018223A (ja) * 2012-07-12 2014-02-03 Atom Medical Corp 保育器およびその使用方法
USD706932S1 (en) 2012-09-28 2014-06-10 Atom Medical Corporation Strut for an incubator
USD706931S1 (en) 2012-09-28 2014-06-10 Atom Medical Corporation Strut for an incubator
CN112662519A (zh) * 2021-01-15 2021-04-16 王立友 一种细胞恒温培养箱的支撑架

Citations (4)

* Cited by examiner, † Cited by third party
Publication number Priority date Publication date Assignee Title
JPS56116457A (en) * 1980-01-08 1981-09-12 Airco Inc Nursing instrument for premature birth infant
JPH0523238A (ja) * 1991-07-24 1993-02-02 Paramount Bed Co Ltd 小児用ベツド
JPH0511866U (ja) * 1991-07-30 1993-02-19 パラマウントベツド株式会社 昇降型側柵
JP2000350751A (ja) * 1999-05-21 2000-12-19 Datex Ohmeda Inc 幼児ケア器械のキャノピーの昇降機構

Patent Citations (4)

* Cited by examiner, † Cited by third party
Publication number Priority date Publication date Assignee Title
JPS56116457A (en) * 1980-01-08 1981-09-12 Airco Inc Nursing instrument for premature birth infant
JPH0523238A (ja) * 1991-07-24 1993-02-02 Paramount Bed Co Ltd 小児用ベツド
JPH0511866U (ja) * 1991-07-30 1993-02-19 パラマウントベツド株式会社 昇降型側柵
JP2000350751A (ja) * 1999-05-21 2000-12-19 Datex Ohmeda Inc 幼児ケア器械のキャノピーの昇降機構

Cited By (4)

* Cited by examiner, † Cited by third party
Publication number Priority date Publication date Assignee Title
JP2014018223A (ja) * 2012-07-12 2014-02-03 Atom Medical Corp 保育器およびその使用方法
USD706932S1 (en) 2012-09-28 2014-06-10 Atom Medical Corporation Strut for an incubator
USD706931S1 (en) 2012-09-28 2014-06-10 Atom Medical Corporation Strut for an incubator
CN112662519A (zh) * 2021-01-15 2021-04-16 王立友 一种细胞恒温培养箱的支撑架

Also Published As

Publication number Publication date
JP5164158B2 (ja) 2013-03-13

Similar Documents

Publication Publication Date Title
JP5283477B2 (ja) 保育器
EP2172176B1 (en) Incubator with hand insertion door
CA2478285C (en) Infant care apparatus with fixed overhead heater
JP4509303B2 (ja) 幼児ケア器械の加熱器扉作動機構
JP5164158B2 (ja) 保育器
US7676866B2 (en) Height-adjustable bedframes
JP2001037589A (ja) ベッド等の仰臥台における昇降式の側柵の昇降機構
US20200253804A1 (en) Medical examination table with retractable moving wheels
RU2602055C2 (ru) Боковой поручень кровати
CA2965721C (en) Side rail for hospital and/or nursing-care bed
KR100954780B1 (ko) 탈부착 가능한 베드부가 구비된 이동용 리프트 장치
JP5960527B2 (ja) 保育器
US10660813B2 (en) Medical examination table with retractable moving wheels
JP5956243B2 (ja) 保育器
JP4771533B2 (ja) 仰臥台における側柵の支持機構
JP4101353B2 (ja) 保育器
KR102475931B1 (ko) 낙상 방지용 침대
JP6535644B2 (ja) ベッド装置
EP2644177A1 (en) Footboard Egress Design
KR20250110435A (ko) 소아용 의료 침대
US11547623B2 (en) System for latching an infant care station
CN207024241U (zh) 改良式眼科弱视训练桌
JP4203794B2 (ja) 自閉戸体の開戸保持装置およびストッパ機能付きドアハンドル
KR200422027Y1 (ko) 사체 운반용 카트
KR20240006176A (ko) 램프 장치 및 이의 제어 방법

Legal Events

Date Code Title Description
A621 Written request for application examination

Free format text: JAPANESE INTERMEDIATE CODE: A621

Effective date: 20110914

A521 Request for written amendment filed

Free format text: JAPANESE INTERMEDIATE CODE: A523

Effective date: 20111027

TRDD Decision of grant or rejection written
A01 Written decision to grant a patent or to grant a registration (utility model)

Free format text: JAPANESE INTERMEDIATE CODE: A01

Effective date: 20121212

A977 Report on retrieval

Free format text: JAPANESE INTERMEDIATE CODE: A971007

Effective date: 20121213

A61 First payment of annual fees (during grant procedure)

Free format text: JAPANESE INTERMEDIATE CODE: A61

Effective date: 20121213

FPAY Renewal fee payment (event date is renewal date of database)

Free format text: PAYMENT UNTIL: 20151228

Year of fee payment: 3

R150 Certificate of patent or registration of utility model

Ref document number: 5164158

Country of ref document: JP

Free format text: JAPANESE INTERMEDIATE CODE: R150

Free format text: JAPANESE INTERMEDIATE CODE: R150

R250 Receipt of annual fees

Free format text: JAPANESE INTERMEDIATE CODE: R250

R250 Receipt of annual fees

Free format text: JAPANESE INTERMEDIATE CODE: R250

R250 Receipt of annual fees

Free format text: JAPANESE INTERMEDIATE CODE: R250

R250 Receipt of annual fees

Free format text: JAPANESE INTERMEDIATE CODE: R250

R250 Receipt of annual fees

Free format text: JAPANESE INTERMEDIATE CODE: R250

R250 Receipt of annual fees

Free format text: JAPANESE INTERMEDIATE CODE: R250

R250 Receipt of annual fees

Free format text: JAPANESE INTERMEDIATE CODE: R250

R250 Receipt of annual fees

Free format text: JAPANESE INTERMEDIATE CODE: R250

R250 Receipt of annual fees

Free format text: JAPANESE INTERMEDIATE CODE: R250

R250 Receipt of annual fees

Free format text: JAPANESE INTERMEDIATE CODE: R250

R250 Receipt of annual fees

Free format text: JAPANESE INTERMEDIATE CODE: R250