JP2010073377A - ヒュージブルリンクユニットおよび該ヒュージブルリンクユニットを収容した電気接続箱 - Google Patents

ヒュージブルリンクユニットおよび該ヒュージブルリンクユニットを収容した電気接続箱 Download PDF

Info

Publication number
JP2010073377A
JP2010073377A JP2008237208A JP2008237208A JP2010073377A JP 2010073377 A JP2010073377 A JP 2010073377A JP 2008237208 A JP2008237208 A JP 2008237208A JP 2008237208 A JP2008237208 A JP 2008237208A JP 2010073377 A JP2010073377 A JP 2010073377A
Authority
JP
Japan
Prior art keywords
housing
bus bar
fusible link
junction box
vehicle
Prior art date
Legal status (The legal status is an assumption and is not a legal conclusion. Google has not performed a legal analysis and makes no representation as to the accuracy of the status listed.)
Granted
Application number
JP2008237208A
Other languages
English (en)
Other versions
JP5062118B2 (ja
Inventor
Itsuro Yoshikawa
逸郎 吉川
Current Assignee (The listed assignees may be inaccurate. Google has not performed a legal analysis and makes no representation or warranty as to the accuracy of the list.)
Sumitomo Wiring Systems Ltd
Original Assignee
Sumitomo Wiring Systems Ltd
Priority date (The priority date is an assumption and is not a legal conclusion. Google has not performed a legal analysis and makes no representation as to the accuracy of the date listed.)
Filing date
Publication date
Application filed by Sumitomo Wiring Systems Ltd filed Critical Sumitomo Wiring Systems Ltd
Priority to JP2008237208A priority Critical patent/JP5062118B2/ja
Publication of JP2010073377A publication Critical patent/JP2010073377A/ja
Application granted granted Critical
Publication of JP5062118B2 publication Critical patent/JP5062118B2/ja
Expired - Fee Related legal-status Critical Current
Anticipated expiration legal-status Critical

Links

Images

Landscapes

  • Fuses (AREA)

Abstract

【課題】車両のバッテリーと接続されたヒュージブルリンク一体型のバスバーを収容するハウジングの非難燃材化を図り、衝撃荷重が負荷され、破断したハウジングから突き出した前記バスバーと金属部品とショートしてハウジングが焼損するのを防止する。
【解決手段】車両のエンジンルームに搭載される電気接続箱のケース内部に装着され、バッテリーと接続されるヒュージブルリンク一体型のバスバーと、前記バスバーの少なくとも一部を収容するハウジングを備え、前記バスバーとハウジングとに外部より破断可能な最弱部を設け、前記バスバーとハウジングの最弱部を、少なくとも対向する位置に設けていることを特徴とするヒュージブルリンクユニットを提供する。
【選択図】図4

Description

本発明は、ヒュージブルリンクユニットおよび該ヒュージブルリンクユニットを収容した電気接続箱に関し、詳しくは、バッテリーに接続されたヒュージブルリンク一体型のバスバーを収容した電気接続箱において、車両衝突時に前記バスバーを収容したハウジングが破断して、バスバーが周辺金属等とショートすることに起因するハウジングの焼損を防止するものである。
近年、ヒュージブルリンク一体型のバスバーが車両用の電気接続箱で用いられている。このヒュージブルリンク一体型のバスバーは、入力部と複数の溶断部および出力部とを導電性金属板を打ち抜いて一体に形成しているものである。
この種のヒュージブルリンク一体型のバスバーは、専用のハウジングに収容して電気接続箱のケース内部に取り付けられる。
図15(A)に示すように、ヒュージブルリンク一体型バスバー2は、バッテリー用端子部2bと、複数の細幅とした溶断部2cと、複数の出力端子部2dとを共通回路部2aを介して一体的に形成している。 図15(B)に示すように、該バスバー2をハウジング3に収容してヒュージブルリンクユニット1を形成し、該ヒュージブルリンクユニット1を電気接続箱のケース(図示せず)に収容している。(特開2004−213906号公報(特許文献1)参照)
しかしながら、前記従来のヒュージブルリンクユニット1は、バスバー2の最弱部とハウジング3の最弱部とが必ずしも一致していないため、車両衝突の際に、衝撃荷重が負荷されることによってバスバー2が破断する位置とハウジング3が破断する位置とがずれ、図16に示すように、ハウジング3の破断位置からバスバー2の破断片が外部に突出して剥き出しになりやすかった。そのため、この剥き出しになったバスバー2が、近接位置に設置されているラジエータサポートのアッパー部と接触してレアショートし、火花の飛散によってハウジング3が焼損をうける恐れがある。
この問題に対し、ハウジング3の材料を難燃材とする対策が実施されていたが、難燃材は高価でコスト高となることから、非難燃材を採用してもショート発生を防止できるようにすることが要望されている。
特開2004−213906号公報
本発明は前記問題に鑑みてなされたもので、バッテリーと接続されたヒュージブルリンク一体型のバスバーを収容するハウジングを非難燃材化した場合でも、車両衝突の際に、ヒュージブルリンク一体型のバスバーを収容しているハウジングの破断位置からバスバーが突出して剥き出しとなり、周辺金属等と接触してショートしてハウジングが焼損するのを防止するヒュージブルリンクユニットおよび該ユニットを収容した電気接続箱の提供を課題としている。
前記課題を解決するために、本発明は、車両のエンジンルームに搭載される電気接続箱のケース内部に装着され、バッテリーと接続されるヒュージブルリンク一体型のバスバーと、
前記バスバーの少なくとも一部を収容するハウジングとを備え、
前記バスバーとハウジングとに外力により破断可能な最弱部を設け、
前記バスバーとハウジングの最弱部を、少なくとも対向する位置に設けていることを特徴とするヒュージブルリンクユニットを提供している。
このように、ヒュージブルリンクユニットにおいて、ハウジングの最弱部の位置とヒュージブルリンク一体型のバスバーの最弱部の位置とを一致させることにより、車両衝突時に破断位置が一致し、バスバーがハウジングから突き出ることを防止できる。よって、電源と接続したバスバーが突出して周辺金属材と接触してショートが発生するのを防止できる。また、ハウジングを安価な非難燃材製で形成してもショート発生により焼損するのを防止することができる。
前記衝撃荷重は、車両衝突時に負荷され、車両の前方あるいは斜め前方向から負荷される場合が多い。従って、前記バスバーおよびハウジングは、垂直方向に配置(縦置き)されている場合は車両の左右方向に屈曲して破断し、水平方向に配置(横置き)されている場合は上下方向に屈曲して破断する場合が多く、いずれの場合も破断線は車両前後方向に対して略直交方向に発生する。
前記ヒュージブルリンク一体型のバスバーの最弱部は、切欠部(ノッチ)、凹部や溝による薄肉部、細幅部、穴、あるいは、ミシン目状の不連続穴または不連続溝等によって形成している。該最弱部は、車両前後方向に対して直交方向全長に連続または不連続に形成することが好ましく、これにより、車両の前方あるいは斜め前方向から衝撃荷重が負荷された場合のバスバーの破断位置および破断形状をより確実に一定化することができる。
前記ハウジングは、ポリプロピレンやナイロン等の樹脂成形品からなる。該ハウジングの最弱部はハウジングの縦断面の略全周に連続的にあるいは不連続的に、切欠部(ノッチ)、凹部や溝による薄肉部、ミシン目状の不連続穴または不連続溝、あるいは、中空化等によって形成している。このように、ハウジングに最弱部を設けることで、車両の前方あるいは斜め前方向から衝撃荷重が負荷された場合のハウジングの破断位置および破断形状をより確実に一定化することができる。
前記バスバーは共通回路部に連続してバッテリー用端子部を形成すると共に、該共通回路部から分岐させた複数の細幅とした溶断部を介して出力端子部を形成しており、前記バスバーの共通回路部に前記最弱部を設け、該最弱部の断面積を共通回路部の他の部位よりは小とすると共に、前記溶断部よりは大としている。
前記共通回路部からの分岐回路にオルタネータ用端子部を形成する場合は、該オルタネータ用端子部と連続する共通回路部と、バッテリー用端子部と連続する共通回路部との間に第二溶断部を形成し、該第二溶断部をバスバーの前記最弱部としてもよい。
また、前記ヒュージブルリンクユニットを電気接続箱のケース内に、車両の前後方向に延在するように配置して収容していることを特徴とする電気接続箱を提供している。
さらに、車両のエンジンルームに搭載される電気接続箱であって、
バッテリーと接続され、共通回路部を介して接続されるバッテリー用端子部を含むバッテリー系回路部とオルタネータ用端子部を含むオルタネータ系回路部を有するヒュージブルリンク一体型のバスバーと、該バスバーの少なくとも一部を収容するハウジングとを備えたヒュージブルリンクユニットを、車両の前後方向に延在させて前記電気接続箱のケース内に収容し、前記バスバーの前記バッテリー系回路部が前記車両の前後方向の後方側、前記オルタネータ系回路部が前記車両の前後方向の前方側にそれぞれ位置するように配置していることを特徴とする電気接続箱を提供している。
このように、ヒュージブルリンクユニットのバスバーに、バッテリー系回路部とオルタネータ系回路部を設けている場合は、大電流が流れるバッテリー系回路部を車両後方に配置することにより、該バッテリー系回路部と車両前方に配置されている金属部品等とを離隔させることができる。従って、車両前方から衝撃荷重が負荷された際に、ハウジングの破断部分から、バッテリーと接続されたヒュージブルリンク一体型のバスバーが外部に突出したとしても、大電流が流れるバッテリー系回路部と車両前方に配置されている金属部品等とが接触してショートすることを防止でき、ハウジングの焼損を防止できる。
前記オルタネータ系回路部の共通回路部と、バッテリー系回路部の共通回路部の間に、細幅とした溶断部(第二溶断部)を介在させてもよい。
本発明が対象とする電気接続箱は、エンジンルーム内での搭載位置が、金属製のラジエータサポートのアッパー部に近接した後ろ側の位置であり、前記ハウジングが破断した際に、該ハウジング内部から前記バスバーが突出すると前記ラジエータサポートのアッパー部と接触する可能性を有するものである。
なお、前記搭載位置に搭載されるのは、電気接続箱に限定されず、ハウンジグ内に収容したヒュージブルリンク一体型のバスバーがハウンジグより突出すると、周辺の金属製部材とショートする可能性がある場合には、本発明は好適に採用できる。
上述したように、本発明によれば、バッテリーと接続されるヒュージブルリンク一体型のバスバーの最弱部の位置と、該バスバーを収容するハウジングの最弱部の位置を対向させて設けて、位置ずれを無くしている。これにより、車両衝突時等にハウジングが破断しても、該ハウジングの破断位置と前記バスバーの破断位置とが一致し、バスバーがハウジングの外部に突き出して剥き出しになることを防ぎ、バスバーと外部の金属部品とが接触してショートすることに起因するハウジングの焼損の発生を防止することができる。
また、バッテリーと接続されるヒュージブルリンク一体型のバスバーに、バッテリー系回路部とオルタネータ系回路部とを設けている場合は、バッテリー系回路部を車両前後方向の後ろ側に、オルタネータ系回路部を車両の前側に配置することにより、車両衝突時等にハウジングが破断してバスバーが外部に剥き出しになったとしても、車両前方に配置されている金属部品と前記バッテリー系回路部が離れているため、互いに接触してショートすることを防止でき、焼損の発生を防ぐことができる。
これらにより、ヒュージブルリンク一体型のバスバーを収容するハウジングを高価な難燃材で製造する必要がなく、非難燃材を採用することが可能となるため、コスト低減と安全性の向上の両方の実現が可能となる。
以下、本発明の実施形態を図面を参照して説明する。
いずれの実施形態も、自動車のエンジンルームに搭載される電気接続箱10に本発明を適用している。該電気接続箱10のエンジンルーム内での搭載位置は、図1に示すように、車両前方に配置される金属製のラジエータサポートのアッパー部50に近接した後ろ側である。
図1乃至図5に、本発明の第一実施形態に係る電気接続箱10を示す。
電気接続箱10のケース11の内部には、図2に示すヒュージブルリンク一体型のバスバー21(以下「バスバー」と略す)を専用のハウジング30に収容しているヒュージブルリンクユニット20を上方から垂直に挿入し、前記バスバー21が車両長さ方向の前後方向Xに延在するように取り付けている。
電気接続箱のケース11の上面と下面には、それぞれアッパーカバーとロアカバー(図示せず)とを取り付け、互いにロック結合している。
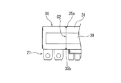
前記ヒュージブルリンクユニット20は、図2に示すように、バスバー21と、該バスバー21を収容する樹脂製のハウジング30とからなる。ハウジング30は、ハウジング本体31と該ハウジング本体31にスライド式に取り付けられるカバー39とからなる。前記バスバー21は、ハウジング30の内部に垂直方向に配置される縦バスバーからなる。
前記バスバー21は、図3に示すように、1枚の導電性金属板を打抜加工して形成され、細幅のS字状とした複数の第一溶断部24A、24Bを設けている。
詳細には、バスバー21の上側部を横長の共通回路部22とし、車両長さ方向の前後方向Xに延在する該共通回路部22の後ろ側Xbをバッテリー系共通回路部22Aとし、前側Xaをオルタネータ系共通回路部22Bとしている。
バッテリー系共通回路部22Aの後ろ側端にバッテリーと接続するバッテリー用端子部23を設けると共に、該バッテリー系共通回路部22Aの下端から間隔をあけて複数の第一溶断部24Aを突設し、該第一溶断部24Aの先端にバッテリー系回路と接続する出力端子部25Aを形成している。一方、前記オルタネータ系共通回路部22Bの下端からは、間隔をあけて複数の第一溶断部24Bを突設し、該第一溶断部24Bの先端にオルタネータ系回路と接続する端子部25Bを形成している。
前記バッテリー系共通回路部22Aとオルタネータ系共通回路部22Bとは、細幅のS字状とした1本の第二溶断部26を介して連続しているが、該第二溶断部26は、前記第一溶断部24A、24Bよりは太幅として断面積を大としている。
前記第二溶断部26は、ヒュージブルリンクユニット20に衝撃荷重が負荷されたときに破断可能なバスバー21の最弱部C1として設定しており、該第二溶断部26を含むバッテリー系共通回路部22Aとオルタネータ系共通回路部22Bの境界部(図3中、一点破線で示す)は、車両前後方向Xに対して直交する垂直縦方向Yに延在している。
前記バッテリー用端子部23にはボルト穴27が穿設され、バッテリーに接続している電源線端末(図示せず)がボルト締めにより接続される。
前記出力端子部25Bはボルト穴28が穿設され、オルタネータ等の電装品に接続されている電線端末(図示せず)がボルト締めにより接続される。
前記出力端子部25Aは、その他の電装品に接続される電線端末(図示せず)が接続される。
前記ハウジング30のハウジング本体31とカバー39はポリプロピレン製の樹脂成形品からなる。
前記ハウジング本体31は、図2に示すように、前記バスバー21を表裏両面から挟む第一ハウジング31Aと第二ハウジング31Bとからなる。第一ハウジング31Aと第二ハウジング31Bには、バスバー21の第一溶断部24A、24Bに対向する位置に、窓開口32A、32Bを設け、該窓開口32A、32Bを通して溶断部24A、24Bの溶断状態を外部から目視できるようにしている。
前記第1ハウジング31Aおよび第2ハウジング31Bは、図4(A)に示すように、内部にバスバー21を挟んだ状態で、第一ハウジング31Aに設けた係止部33Aと第二ハウジング31Bに設けた被係止部33Bとをロック結合する。このように一体化したハウジング本体31の外面側中央には、透明樹脂製で断面コの字状に折り曲げたカバー39をスライドさせて取り付け、前記窓開口32A、32Bを覆う構成としている。
第一ハウジング31Aと第二ハウジング31Bには、図4(A)(B)に示すように、前記バスバー21の最弱部C1と対向する位置を含む縦断面全周に連続する断面コ字状の溝34(34A、34B)を内外両面に凹設して薄肉部を形成している。また、前記カバー39の内外両面にも、前記第一ハウジング31Aおよび第二ハウジング31Bの溝34A、34Bと連続する溝34Cを凹設している。これにより、ハウジング30の縦断面周方向に前記溝34A〜34Cが連続し、一筋の溝34からなる最弱部C2を形成すると共に、該最弱部C2で前記バスバー21の最弱部C1を囲んでいる。該最弱部C2の強度は、衝撃荷重が負荷されたときにハウジング30が破断可能な強度に設定している。
前記構成の電気接続箱10は、図1に示すように、金属製の前記ラジエータサポートのアッパー部50に近接する後方に配置されているため、衝突事故等による衝撃荷重によってヒュージブルリンクユニット20のハウジング30からバスバー21が外部に飛び出して剥き出しになった場合には、前記ラジエータサポートのアッパー部50とバスバー21が接触してショートする恐れがある。
しかしながら、前記ヒュージブルリンクユニット20は、バスバー21の最弱部C1の位置とハウジング30の最弱部C2との位置を合わせているため、図5に示すように、衝撃荷重が負荷された場合にバスバー21とハウジング30は同じ位置で破断する。よって、屈曲したり破断して外部へ突出しようとするバスバー21はハウンジグ30の破断位置から外部に突き出して剥き出しになることを防止でき、前記ショートに起因するハウジング30の焼損を防止できる。
また、バスバー21の配置方向において、バッテリーと接続されて大電流が流れるバッテリー系回路部Aを車両前後方向Xの後ろ側Xbに配置し、前側Xaにはオルタネータ系回路部Bを配置しているため、万が一、バスバー21がハウジング30の破断箇所から剥き出しになったとしても、バッテリー系回路部Aと前記ラジエータサポートのアッパー部50との間にオルタネータ系回路部Bが介在し、バッテリー系回路部Aと前記アッパー部50とが直接接触して焼損が発生する原因となることを防止できる。
これらにより、ヒュージブルリンクユニット20のハウジング30に高価な難燃材を用いなくても該ハウジング30の焼損を防止でき、かつ、ハウジング30に比較的安価な非難燃材を採用してコストダウンを図ることが可能となる。
また、バスバー21のオルタネータ系統回路Bとラジエータサポートのアッパー部50とが接触した場合、第二溶断部が溶断するため、バッテリー側へ電流が流れず、バッテリー系回路部を保護できる。
図6および図7に、本発明の第二実施形態を示す。
本実施形態に係るバスバー21は、オルタネータ系回路は備えず、バッテリー系回路専用のヒュージブルリンク一体型のバスバーとしている。
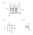
即ち、前記バスバー21は、図6(A)に示すように、上側全体を横長の共通回路部22とし、該共通回路部22の一端にバッテリー用端子部23を設け、該共通回路部22の下端から間隔をあけて細幅とした複数の溶断部24を突設し、該溶断部の先端にバッテリー系回路と接続する出力端子部25を設けている。
前記共通回路部22の所要位置には、図6(A)に示すように、衝撃荷重を受けると破断可能な最弱部C1を、該共通回路部22の上下方向全長に延在させて形成している。該最弱部C1は、図6(B)(C)に示すように、共通回路部22にミシン目状の不連続な穴27をあけて形成している。
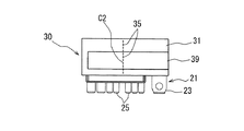
前記第一ハウジング31Aと第二ハウジング31Bとカバー39とで構成され、内部に前記バスバー21を収容するハウジング30は、図7に示すように、バスバー21の最弱部C1と対向する位置の縦断面全周にわたって、ミシン目状の不連続な穴35をあけて最弱部C2を形成している。
本実施形態においては、車両前方や車両斜め前方からの衝撃荷重が負荷された時、バスバー21の最弱部C1とハウジング30の最弱部C2を対向させているため、バスバー21とハウジング30の破断位置が一致し、バスバー21がハウジング30の破断箇所から飛び出して剥き出しになることを防止できる。従って、ラジエータサポートのアッパー部50とバッテリー系回路部Aとの直接接触を回避でき、ショートに起因する焼損発生を防止することができる。
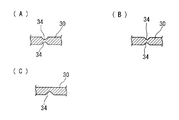
なお、前記各バスバー21に設ける最弱部C1は、図8(A)に示すように、共通回路部22の上下端の対向する位置に一対のノッチ28a、28bを形成し、該一対のノッチ28a、28bに挟まれた部位を最弱部C1としてもよい。
また、図8(B)に示すように、共通回路部22に1つの丸穴28cを形成し、丸穴28cの形成部を最弱部C1としてもよい。
さらに、図8(C)に示すように、共通回路部22の上下より切欠を設けて細幅部28dを形成し、最弱部C1としてもよい。
また、共通回路部22の所要位置の上下方向全長に延在する溝29を、図9(A)に示すように連続的に、あるいは、図9(B)に示すように非連続的に形成してもよい。
前記溝29は、図10(A)に示すように、共通回路部22の表裏両面に断面U字状に凹設しても、図10(B)に示すように断面V字状に凹設しても、図10(C)に示すように断面コ字状に凹設してもよい。また、図10(D)に示すように、表裏どちらかの一面にのみ凹設してもよい。
前記ハウジング30の最弱部C2を溝34によって形成する場合、図11に示すように、該溝34をその延在方向に非連続に形成してもよい。
また、前記溝34は、図12(A)に示すようにハウジング30の内外両面に断面U字状に凹設しても、図12(B)に示すように断面V字状に凹設してもよく、また、図12(C)に示すように、内外どちらか一面にのみ凹設してもよい。
さらに、前記ハウジング30の最弱部C2は、図13に示すように、ハウジング30の上下端の対向する位置に一対のノッチ35a、35bを形成し、該一対のノッチ35a、35bに挟まれた部位を最弱部C2としてもよい。
さらに、図14に示すように、ハウジング30の所要位置の縦断面全周に延在する中空部36を、該周方向全長に連続的に、あるいは、非連続的に形成してもよい。
第一実施形態に係る電気接続箱(アッパーカバー取り外し)のエンジンルーム内での搭載位置を説明する平面図である。 図1に示すヒュージブルリンクユニットの分解斜視図である。 図2に示すバスバーの正面図である。 図2に示すヒュージブルリンクユニットを示し、(A)は斜視図、(B)は(A)のB−B線断面拡大図である。 図4に示すヒュージブルリンクユニットに衝撃荷重が負荷されて破断したときの状態を示す説明断面図である。 第二実施形態に係るヒュージブルリンクユニットのバスバーを示し、(A)は正面図、(B)は要部拡大正面図、(C)は(B)のC−C線断面図である。 第二実施形態に係るヒュージブルリンクユニットの正面図である。 (A)〜(C)はバスバーの最弱部C1の他の例を示す正面図である バスバーに溝を凹設して最弱部C1を形成した例を示し、(A)は連続溝を形成した例を示す正面図、(B)は非連続溝を形成した例を示す正面図である。 (A)(B)(C)(D)は、図11に示す溝の断面形状の例を示す要部断面図である。 ハウジングに非連続溝を凹設して最弱部C2を形成した例を示す正面図である。 (A)(B)(C)は、ハウジングに凹設する溝の断面形状の例を示す要部断面図である。 ハウジングの最弱部C2の他の例を示す正面図である。 ハウジングの最弱部C2の他の例を示す断面図である。 従来例を示す図である 従来例の問題点を示す説明断面図である。
符号の説明
10 電気接続箱
11 ケース
20 ヒュージブルリンクユニット
21 バスバー(ヒュージブルリンク一体型)
22 共通回路部
24、24A、24B 溶断部(第一溶断部)
30 ハウジング
31 ハウジング本体
A バッテリー系回路部
B オルタネータ系回路部
C1、C2 最弱部

Claims (5)

  1. 車両のエンジンルームに搭載される電気接続箱のケース内部に装着され、バッテリーと接続されるヒュージブルリンク一体型のバスバーと、
    前記バスバーの少なくとも一部を収容するハウジングとを備え、
    前記バスバーとハウジングとに外力により破断可能な最弱部を設け、
    前記バスバーとハウジングの最弱部を、少なくとも対向する位置に設けていることを特徴とするヒュージブルリンクユニット。
  2. 前記バスバーは共通回路部に連続してバッテリー用端子部を形成すると共に、該共通回路部から分岐させた複数の細幅とした溶断部を介して出力端子部を形成しており、前記バスバーの共通回路部に前記最弱部を設け、該最弱部の断面積を共通回路部の他の部位よりは小とすると共に、前記溶断部よりは大としている請求項1に記載のヒュージブルリンクユニット。
  3. 請求項1または請求項2に記載のヒュージブルリンクユニットを電気接続箱のケース内に、車両の前後方向に延在するように配置して収容していることを特徴とする電気接続箱。
  4. 車両のエンジンルームに搭載される電気接続箱であって、
    バッテリーと接続され、共通回路部を介して接続されるバッテリー用端子部を含むバッテリー系回路部とオルタネータ用端子部を含むオルタネータ系回路部を有するヒュージブルリンク一体型のバスバーと、該バスバーの少なくとも一部を収容するハウジングとを備えたヒュージブルリンクユニットを、車両の前後方向に延在させて前記電気接続箱のケース内に収容し、前記バスバーの前記バッテリー系回路部が前記車両の前後方向の後方側、前記オルタネータ系回路部が前記車両の前後方向の前方側にそれぞれ位置するように配置していることを特徴とする電気接続箱。
  5. 前記ヒュージブルリンクユニットを収容した前記電気接続箱は、前記車両のエンジンルームにおけるラジエータサポートのアッパー部後方近傍に配置されるものである請求項3または請求項4に記載の電気接続箱。
JP2008237208A 2008-09-16 2008-09-16 ヒュージブルリンクユニットおよび該ヒュージブルリンクユニットを収容した電気接続箱 Expired - Fee Related JP5062118B2 (ja)

Priority Applications (1)

Application Number Priority Date Filing Date Title
JP2008237208A JP5062118B2 (ja) 2008-09-16 2008-09-16 ヒュージブルリンクユニットおよび該ヒュージブルリンクユニットを収容した電気接続箱

Applications Claiming Priority (1)

Application Number Priority Date Filing Date Title
JP2008237208A JP5062118B2 (ja) 2008-09-16 2008-09-16 ヒュージブルリンクユニットおよび該ヒュージブルリンクユニットを収容した電気接続箱

Publications (2)

Publication Number Publication Date
JP2010073377A true JP2010073377A (ja) 2010-04-02
JP5062118B2 JP5062118B2 (ja) 2012-10-31

Family

ID=42204984

Family Applications (1)

Application Number Title Priority Date Filing Date
JP2008237208A Expired - Fee Related JP5062118B2 (ja) 2008-09-16 2008-09-16 ヒュージブルリンクユニットおよび該ヒュージブルリンクユニットを収容した電気接続箱

Country Status (1)

Country Link
JP (1) JP5062118B2 (ja)

Cited By (3)

* Cited by examiner, † Cited by third party
Publication number Priority date Publication date Assignee Title
JP2010089646A (ja) * 2008-10-08 2010-04-22 Yazaki Corp バッテリー直付けヒューズユニット
CN106784509A (zh) * 2017-03-10 2017-05-31 江苏索尔新能源科技股份有限公司 一种电芯纵向排布的电池组件
CN107681008A (zh) * 2017-09-20 2018-02-09 苏州宇邦新型材料股份有限公司 一种光伏组件用汇流带

Citations (4)

* Cited by examiner, † Cited by third party
Publication number Priority date Publication date Assignee Title
JP2003061227A (ja) * 2001-08-10 2003-02-28 Sumitomo Wiring Syst Ltd 自動車用電気接続箱
JP2003061228A (ja) * 2001-08-10 2003-02-28 Sumitomo Wiring Syst Ltd 自動車用電気接続箱
JP2004213906A (ja) * 2002-12-26 2004-07-29 Yazaki Corp ヒュージブルリンクユニット
JP2007028821A (ja) * 2005-07-19 2007-02-01 Yazaki Corp 電気接続箱

Patent Citations (4)

* Cited by examiner, † Cited by third party
Publication number Priority date Publication date Assignee Title
JP2003061227A (ja) * 2001-08-10 2003-02-28 Sumitomo Wiring Syst Ltd 自動車用電気接続箱
JP2003061228A (ja) * 2001-08-10 2003-02-28 Sumitomo Wiring Syst Ltd 自動車用電気接続箱
JP2004213906A (ja) * 2002-12-26 2004-07-29 Yazaki Corp ヒュージブルリンクユニット
JP2007028821A (ja) * 2005-07-19 2007-02-01 Yazaki Corp 電気接続箱

Cited By (4)

* Cited by examiner, † Cited by third party
Publication number Priority date Publication date Assignee Title
JP2010089646A (ja) * 2008-10-08 2010-04-22 Yazaki Corp バッテリー直付けヒューズユニット
CN106784509A (zh) * 2017-03-10 2017-05-31 江苏索尔新能源科技股份有限公司 一种电芯纵向排布的电池组件
CN107681008A (zh) * 2017-09-20 2018-02-09 苏州宇邦新型材料股份有限公司 一种光伏组件用汇流带
CN107681008B (zh) * 2017-09-20 2024-01-30 苏州宇邦新型材料股份有限公司 一种光伏组件用汇流带

Also Published As

Publication number Publication date
JP5062118B2 (ja) 2012-10-31

Similar Documents

Publication Publication Date Title
JP4769621B2 (ja) 車載用電気接続箱に収容されるバスバー
JP4917927B2 (ja) 車両用多連型ヒューズ装置
JP4533827B2 (ja) ヒュージブルリンク
JP4527042B2 (ja) 電気接続箱
US6545585B2 (en) Fuse
KR100695195B1 (ko) 버스바
JP5062118B2 (ja) ヒュージブルリンクユニットおよび該ヒュージブルリンクユニットを収容した電気接続箱
JP5339843B2 (ja) バッテリー直付けヒューズユニット
JP6861690B2 (ja) カバーとハウジングとの組付構造、及び、ヒュージブルリンクユニット
JP2018026310A (ja) ヒューズユニット
US6734780B2 (en) Fuse assembly
JP6327596B2 (ja) 電気接続箱
JP2020080586A (ja) バスバー押さえ構造、電気接続箱、及びワイヤハーネス
JP2020080587A (ja) バスバー組み付け構造、電気接続箱、及びワイヤハーネス
JP5318469B2 (ja) ヒュージブルリンクユニットの接続構造
JP2021190212A (ja) ヒューズユニット
KR102738424B1 (ko) 멀티 퓨즈 모듈
JP7816396B2 (ja) 電気接続箱
JP3994908B2 (ja) 自動車用電気接続箱
JP7572247B2 (ja) ヒューズユニット
WO2026028793A1 (ja) ヒューズ
JP5707160B2 (ja) ノイズフィルタ付ヒューズ
JP2026020694A (ja) ヒューズ
JP2005185036A (ja) バスバー構造とそれを備えた電気接続箱及びバスバーの形成方法
WO2026028792A1 (ja) ヒューズ

Legal Events

Date Code Title Description
A621 Written request for application examination

Free format text: JAPANESE INTERMEDIATE CODE: A621

Effective date: 20101209

A977 Report on retrieval

Free format text: JAPANESE INTERMEDIATE CODE: A971007

Effective date: 20120628

TRDD Decision of grant or rejection written
A01 Written decision to grant a patent or to grant a registration (utility model)

Free format text: JAPANESE INTERMEDIATE CODE: A01

Effective date: 20120710

A01 Written decision to grant a patent or to grant a registration (utility model)

Free format text: JAPANESE INTERMEDIATE CODE: A01

A61 First payment of annual fees (during grant procedure)

Free format text: JAPANESE INTERMEDIATE CODE: A61

Effective date: 20120723

R150 Certificate of patent or registration of utility model

Free format text: JAPANESE INTERMEDIATE CODE: R150

FPAY Renewal fee payment (event date is renewal date of database)

Free format text: PAYMENT UNTIL: 20150817

Year of fee payment: 3

LAPS Cancellation because of no payment of annual fees