JP2010071914A - 感圧センサ - Google Patents

感圧センサ Download PDF

Info

Publication number
JP2010071914A
JP2010071914A JP2008242104A JP2008242104A JP2010071914A JP 2010071914 A JP2010071914 A JP 2010071914A JP 2008242104 A JP2008242104 A JP 2008242104A JP 2008242104 A JP2008242104 A JP 2008242104A JP 2010071914 A JP2010071914 A JP 2010071914A
Authority
JP
Japan
Prior art keywords
pressure
electrodes
ink layer
base material
pair
Prior art date
Legal status (The legal status is an assumption and is not a legal conclusion. Google has not performed a legal analysis and makes no representation as to the accuracy of the status listed.)
Granted
Application number
JP2008242104A
Other languages
English (en)
Other versions
JP5350725B2 (ja
Inventor
Takao Hashimoto
孝夫 橋本
雄一郎 ▲高▼井
Yuichiro Takai
Current Assignee (The listed assignees may be inaccurate. Google has not performed a legal analysis and makes no representation or warranty as to the accuracy of the list.)
Nissha Printing Co Ltd
Original Assignee
Nissha Printing Co Ltd
Priority date (The priority date is an assumption and is not a legal conclusion. Google has not performed a legal analysis and makes no representation as to the accuracy of the date listed.)
Filing date
Publication date
Application filed by Nissha Printing Co Ltd filed Critical Nissha Printing Co Ltd
Priority to JP2008242104A priority Critical patent/JP5350725B2/ja
Publication of JP2010071914A publication Critical patent/JP2010071914A/ja
Application granted granted Critical
Publication of JP5350725B2 publication Critical patent/JP5350725B2/ja
Active legal-status Critical Current
Anticipated expiration legal-status Critical

Links

Images

Landscapes

  • Push-Button Switches (AREA)

Abstract

【課題】小さな荷重でも圧力を検出することができ、かつ消費電力の無駄をなくすることができる圧力センサを提供する。
【解決手段】感圧センサ120は、一対の電極7a,7bが形成された基材6と、前記基材6に積層配置された可撓性フィルム5とを備える。前記可撓性フィルム5は、前記一対の電極7a,7bの双方を被覆可能な位置に配置され、加えられた押圧力により電気特性が変化する感圧インキ層8を備え、前記基材6に設けられた電極7a,7bの表面の前記感圧インキ層8に対向する位置にドットスペーサ10が設けられていることを特徴とする。
【選択図】図1

Description

本発明は、面に加わった外力のうち、当該面に垂直な方向成分の圧力分布を測定するための感圧センサに関する。
従来、ある面に加わった外力の圧力を分布するセンサとしては、例えば、特許文献1に記載されているような構成のセンサが挙げられる。かかるセンサは、引用文献1の図1に示されているように、2枚のフィルムをスペーサで空気層を解するように積層し、上層に上部電極、下層に下部電極を配置し、両者の間に感圧インク層を配置した構成である。
そして、上側のフィルムに圧力が加わると、圧力が加えられている部分だけが上下方向に導通状態となるため、その交差点に対応する下部電極にのみ出力が得られ圧力分布の検出を行うように構成されている。そして、当該感圧センサを例えば、車両用シートの内部に設けることによって、当該シートに乗員が座っているかを判断するとともに、圧力分布から乗員の体格を判断することができる。
すなわち、引用文献1に開示の感圧センサは、上部と下部のフィルムとの間に空気層を設けるためにスペーサが上部と下部のフィルムで挟まれるようにして配置されている。そして、圧力が加わったときに、上部のフィルムが撓むことによって、感圧インク層が電極に接触する。その場合の感圧インク層を介しての両電極の短絡及び、感圧インク層に加わる圧力に応じた抵抗値の変動を検出することにより、上部フィルムに加わった圧力を測定するものである。
しかし、経年の使用によりフィルムがへたってくると、上部フィルムが垂れ下がる等の問題により、感圧インキ層と電極の接触を荷重によって安定して制御することが困難であった。そのため、荷重による感圧インキと電極間の抵抗値の再現性は低く、圧力を高精度に測定することが困難であった。また、上記構成の感圧センサでは、フィルムの面の大部分に電極を配置するように構成されているため、感圧センサを透過性に構成することはできなかった。
また、かかる問題を解消するために本出願人は、下部フィルムに一対の電極を設け、当該一対の電極を被覆するように感圧導電層インキで被覆する構成の感圧センサを出願している。かかる感圧センサは下部フィルムに一対の電極が設けられ、上部電極に設けられている感圧導電層インキが通常時において電極を被覆しているので、空気層のためのスペーサを上部フィルムと下部フィルムの間に配置する必要がない。したがって、電極設置形状に応じて任意の形状のセンサとすることができる。そして、一対の電極を枠状に構成することにより、感圧センサの中央部分を透明に構成し、当該透明部分にタッチパネルなどを配置することができる。
特開2002−48658号公報
しかし、かかる構成の感圧センサでは、小さな荷重では荷重による感圧導電層インキの抵抗値変化が小さいため、感圧導電層インキと電極間に流れる電流の量はほとんど一定であり、圧力検出を高精度に行うことは困難であった。
また、荷重をかけない場合にも一対の電極間には導電性があるため、無駄な電力を消費することとなっていた。
したがって、本発明が解決しようとする技術的課題は、上記問題を解決し、小さな荷重でも圧力を検出することができ、かつ消費電力の無駄をなくすることができる圧力センサを提供することである。
本発明は、上記技術的課題を解決するために、以下の構成の感圧センサを提供する。
本発明の第1態様によれば、一対の電極が表面に形成された基材と、
前記基材に積層配置され、加えられた押圧力により電気特性が変化する感圧インキ層を表面の前記基材に設けられた一対の電極の双方について少なくとも一部分を同時に被覆可能な位置に備える可撓性フィルムと、
前記基材に設けられた電極の表面の前記感圧インキ層に対向する位置に設けられたスペーサと、を有することを特徴とする感圧センサを提供する。
本発明の第2態様によれば、前記スペーサは前記電極の表面上にドット状に設けられていることを特徴とする、第1態様の感圧センサを提供する。
本発明の第3態様によれば、前記一対の電極は、前記基材の周囲に枠状に設けられており、
前記インキ層は、枠状に設けられた一対の電極のコーナー部分を被覆するように前記可撓性フィルムに設けられていることを特徴とする、第1又は第2態様の感圧センサを提供する。
本発明の第4態様によれば、前記一対の電極は、前記基材の周囲に枠状に設けられており、
前記インキ層は、枠状に設けられた一対の電極の全周にわたって前記可撓性フィルムに設けられていることを特徴とする、第1又は第2態様の感圧センサ。
本発明の第5態様によれば、前記基材及び可撓性フィルムは透明な材料で構成されており、前記一対の電極及び感圧インキ層が設けられていない部分に透明窓部分が形成されていることを特徴とする、第1から第4態様のいずれか1つの感圧センサを提供する。なお、上記態様において、透明窓部分は、透明材料自体が存在しており当該透光部分が透明窓として機能していてもよいし、透明な材料のうち電極及び感圧インキ層が設けられていない部分をくり抜くことによって形成されていてもよい。
本発明の第6態様によれば、前記可撓性フィルムの表面に積層配置された支持材を備えることを特徴とする、第1から第5態様のいずれか1つの感圧センサを提供する。
本発明の第7態様によれば、前記基材と可撓性フィルムは、前記感圧インキ層の周囲の少なくとも一部に位置する粘着剤により貼着されており、前記支持材は、前記感圧インキ層が設けられている位置の裏面側であって前記粘着剤による粘着領域以外に設けられていることを特徴とする、第5態様の感圧センサを提供する。
本発明の第8態様によれば、前記可撓性フィルムは、前記基材の上層に積層配置されていることを特徴とする、第1から第7態様のいずれか1つの感圧センサを提供する。
本発明によれば、電極の表面に配置したスペーサにより、通常時は、感圧インキ層と一対の電極とが隔離した状態となっている。すなわち、感圧インキ層が重力により下方にへたっても、荷重がかけられていない状態でのスペーサにより電極と感圧インキ層との通電を阻止することができる。また、たとえ、可撓性フィルムが経時により撓んだとしても、スペーサは変形しないので感圧インキ層と一対の電極とは直接接触することがない。一方、押圧力が加わると、感圧インキ層と電極間とは容易に接触して導通する。したがって、感圧インキ層と電極間との抵抗値を荷重によって制御することが可能であり、低荷重であっても確実にセンシングを行うことができる。なお、感圧インキ層は、一対の電極を短絡させるように構成されていればよいため、電極の全てを被覆するように配置されている必要はなく、少なくとも一部分の一対の電極を同時に被覆するように構成されていればよい。例えば、枠状電極のコーナー部などにのみ設けられていてもよい。
本発明の第5態様によれば、可撓性フィルムと基材を、スペーサを介して絶縁を保ったまま接触させることができるため、電極の形状を任意とすることができる。したがって、電極を枠状に形成することにより、感圧センサに透明窓部分を設けることができる。
本発明の第6態様によれば、支持材を設けることで、センサに加わる荷重を粘着剤側に分散させないようにすることができる。したがって、センサに加わった荷重を可撓性フィルムのたわみとして確実に伝えることができ、センシングの精度を高めることができる。
以下、本発明の一実施形態に係る感圧センサについて、図面を参照しながら説明する。
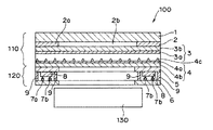
本実施形態の感圧センサは、タッチパネルと一体に構成されたタッチ入力デバイス100を構成する。タッチ入力デバイス100は、タッチパネル110での位置検出に加えて感圧センサ120での押圧力強さを検出することができる。
タッチ入力デバイス100は、たとえば、タッチパネルを有する電子機器特に、携帯電話やゲーム機などの携帯型電子機器のディスプレイのタッチ入力デバイスとして好適に機能する。図2に示すように、加飾領域101及び透明窓部分102とが設けられている。タッチ入力デバイス100が電子機器の筐体のディスプレイ表示窓に配置された場合には、透明窓部分102からタッチ入力デバイス100の下方に設けられる液晶パネル130を視認することができる。加飾領域101は、後述するように、タッチ入力デバイス100の周囲に設けられた枠状の加飾部2aを有する加飾フィルム2によって形成され、加飾部2aが形成されていない部分が透明窓部分101として形成される。
図1は、本実施形態にかかるタッチ入力デバイスの層構成を示す断面図である。タッチ入力デバイス100は、上部電極フィルム20と下部電極シート30を備える。上部電極フィルム20と下部電極シート30とは、電極間に空気層25を介してその周縁部において両面接着テープ(図示なし)により接着される。
上部電極フィルム20と下部電極シート30のそれぞれには、透明上部電極3aや透明下部電極4aと同一面にバスバーや引き回し線等の所定のパターンの引き回し回路(図示なし)が形成され、外部と通電する。透明上部電極3と透明下部電極4aの間には、スペーサ4cが設けられており、それぞれの対向面に設けられている透明上部電極3と透明下部電極4aが誤接触しないように構成されている。
スペーサ4cとしては、透明な光硬化型樹脂をフォトプロセスで微細なドット状に形成して得ることができる。また、印刷法により微細なドットを多数形成してスペーサ4cとすることもできる。
上部電極フィルム20は、透明なハードコートフィルム1の裏面に加飾フィルム2が透明粘着剤(図示なし)によって貼着され、さらに、透明な電極支持フィルム3bが積層された構成となっている。電極支持フィルム3bの下面に透明上部電極3a及び引き回し回路などが形成されている。また、加飾フィルム2は、透明窓部を有する加飾層2aが少なくとも一方の面、好ましくは、ハードコートフィルム1に接触する側の面に形成されている。
ハードコートフィルム1は、透明であればよく、無色透明、有色透明を問わない。透明カバーフィルムと加飾層の模様を適宜組み合わせることにより、入力デバイス100の加飾領域101の模様を種々のデザインとすることができる。例えば、ハードコートフィルム1を有色透明とし、金属光沢を有する金属層で加飾層2aを構成すると、入力デバイス100の加飾領域101は、有色の金属光沢を有するチント色にすることができる。
上記ハードコートフィルム1の材質としては、透視性に優れ、表面耐擦性に優れる材質を用いる。例えば、ポリエチレンテレフタレート、ポリスチレン系樹脂、ポリオレフィン系樹脂、ABS樹脂、AS樹脂、アクリル系樹脂、AN樹脂などの汎用樹脂を挙げることができる。また、ポリスチレン系樹脂、ポリカーボネート系樹脂、ポリアセタール系樹脂、ポリカーボネート変性ポリフェニレンエーテル樹脂、ポリブチレンテレフタレート樹脂、超高分子量ポリエチレン樹脂などの汎用エンジニアリング樹脂や、ポリスルホン樹脂、ポリフェニレンサルファイド系樹脂、ポリフェニレンオキシド系樹脂、ポリアリレート樹脂、ポリエーテルイミド樹脂、ポリイミド樹脂、液晶ポリエステル樹脂、ポリアリル系耐熱樹脂などのスーパーエンジニアリング樹脂を用いる。
上記加飾フィルム2は上記の通り、タッチ入力デバイス100の加飾領域101が加飾部分2aにより形成され、加飾部2aが設けられていない部分がタッチ入力デバイス1の透明窓部102となる。加飾部分2は、加飾フィルム2の周囲に枠状に設けられ、中央部分に透明窓部3が形成されるように形成することにより、例えば、タッチパネル110の電極部分や、感圧センサの電極(図1参照)の隠蔽部としても用いることができる。
加飾フィルム2は、透明フィルムの表面にインキを塗布することにより形成される。加飾部2aを構成するインキとしては、ポリ塩化ビニル系樹脂、ポリアミド系樹脂、ポリエステル系樹脂、ポリアクリル系樹脂、ポリウレタン系樹脂、ポリビニルアセタール系樹脂、ポリエステルウレタン系樹脂、セルロースエステル系樹脂、アルキド樹脂などの樹脂をバインダーとし、適切な色の顔料または染料を着色剤として含有する着色インキを用いるとよい。印刷層の形成方法としては、オフセット印刷法、グラビア印刷法、スクリーン印刷法などの通常の印刷法などを用いるとよい。特に、多色刷りや階調表現を行うには、オフセット印刷法やグラビア印刷法が適している。また、単色の場合には、グラビアコート法、ロールコート法、コンマコート法などのコート法を採用することもできる。印刷層は、表現したい加飾に応じて、全面的に設けてもよいし、部分的に設けてもよい。
また、加飾部2aは、金属薄膜層からなるもの、あるいは印刷層と金属薄膜層との組み合わせからなるものでもよい。金属薄膜層は、加飾部2aとして金属光沢を表現するためのものであり、真空蒸着法、スパッタリング法、イオンプレーティング法、鍍金法などで形成する。この場合、表現したい金属光沢色に応じて、アルミニウム、ニッケル、金、白金、クロム、鉄、銅、スズ、インジウム、銀、チタニウム、鉛、亜鉛などの金属、これらの合金又は化合物を使用する。金属薄膜層は、通常は、部分的に形成する。また、金属薄膜層を設ける際に、他の層との密着性を向上させるために、前アンカー層や後アンカー層を設けてもよい。
下部電極シート30は、透明な電極支持シート4bの表面に透明下部電極4aなどが形成された構成である。
電極支持シート4bの材質としては、透視性に優れた材料を用いる。例えば、ポリスチレン系樹脂、ポリオレフィン系樹脂、ABS樹脂、AS樹脂、アクリル系樹脂、AN樹脂などの汎用樹脂を挙げることができる。また、ポリフェニレンオキシド・ポリスチレン系樹脂、ポリカーボネート系樹脂、ポリアセタール系樹脂、ポリカーボネート変性ポリフェニレンエーテル樹脂、ポリブチレンテレフタレート樹脂、超高分子量ポリエチレン樹脂などの汎用エンジニアリング樹脂や、ポリスルホン樹脂、ポリフェニレンサルファイド系樹脂、ポリフェニレンオキシド系樹脂、ポリアリレート樹脂、ポリエーテルイミド樹脂、ポリイミド樹脂、液晶ポリエステル樹脂、ポリアリル系耐熱樹脂などのスーパーエンジニアリング樹脂を用いることができる。
図1においては、電極支持シート4bの上面は、透明下部電極4a及び電極が形成される。透明下部電極4aは、電極支持シート4bの表面に直接を設けられているが、表面に透明電極が設けられた透明なフィルムを電極支持シート4bに貼り付けることによって形成するようにしてもよい。この場合の透明樹脂フィルムとしては、ポリカーボネート系、ポリアミド系、ポリエーテルケトン系等のエンジニアリングプラスチック、アクリル系、ポリエチレンテレフタレート系、ポリブチレンテレフタレート系などの樹脂フィルムなどを用いることができる。
透明下部電極4aおよび透明上部電極3aは透明導電膜より構成される。透明導電膜の材料としては、酸化錫、酸化インジウム、酸化アンチモン、酸化亜鉛、酸化カドミウム、若しくはITO等の金属酸化物や導電性ポリマーの薄膜がある。透明下部電極4aおよび透明上部電極3aの形成方法としては、例えば、真空蒸着法、スパッタリング、イオンプレーティング、CVD法、ロールコーター法などを用いて下部電極シート30や透明樹脂フィルム22の全面に導電性被膜を形成した後、不要な部分をエッチング除去する。エッチングは、電極として残したい部分にフォトリソ法やスクリーン法などによりレジストを形成した後、塩酸などのエッチング液に浸漬するかあるいはエッチング液を噴射してレジストが形成されていない部分の導電性被膜を除去し、次いで溶剤に浸漬することによりレジストを膨潤または溶解させて除去する。また、レーザーによるエッチングも可能である。
図3に、図1の感圧センサの部分拡大図を示す。感圧センサ120は、タッチパネル110の下側に配置される。感圧センサ120は、上部フィルム5と基材6が両面接着テープなどの粘着層9で積層配置された構成である。基材6には、一対の電極7a,7bが形成される。上部フィルム5には、基材6に設けられた一対の電極7a,7bに対向し、かつ電極7a,7bの双方に同時に接触可能な位置に設けられた感圧インキ層8とを備える。また、一対の電極7a,7bの上面には、ドットスペーサ10が設けられている。
なお、本実施形態において、上部フィルム5、基材6、電極7a,7b、感圧インキ層8の厚み寸法はそれぞれ、100μm,35μm,20μm,20μmである。また、ドットスペーサの厚み寸法Eは、4〜5μmである。また、感圧インキ層8を構成する組成物は、英国、Peratech社から商品名「QTC」で入手可能な量子トンネル性複合材である。
基材6、上部フィルム5は、それぞれ図4A及び図5に示すように、それぞれ枠形状に中央部分が打ち抜かれた形状であり、当該枠部分にそれぞれ、電極7a,7b、感圧インキ層8が設けられている。
基体6の材質としては、フレキシブル基板に使用可能な材質、例えば、ポリエチレンテレフタレート、ポリスチレン系樹脂、ポリオレフィン系樹脂、ABS樹脂、AS樹脂、アクリル系樹脂、AN樹脂などの汎用樹脂を挙げることができる。また、ポリスチレン系樹脂、ポリカーボネート系樹脂、ポリアセタール系樹脂、ポリカーボネート変性ポリフェニレンエーテル樹脂、ポリブチレンテレフタレート樹脂、超高分子量ポリエチレン樹脂などの汎用エンジニアリング樹脂や、ポリスルホン樹脂、ポリフェニレンサルファイド系樹脂、ポリフェニレンオキシド系樹脂、ポリアリレート樹脂、ポリエーテルイミド樹脂、ポリイミド樹脂、液晶ポリエステル樹脂、ポリアリル系耐熱樹脂などのスーパーエンジニアリング樹脂を用いる。
図4Aに示すように、基体6の中央部分に位置する打ち抜き部分6aは、ディスプレイ装置130の視認窓として機能する。また、引き出し領域6bは、一対の電極7a,7bを外部に引き回すための接続部分として機能する。また、一対の電極7a,7bの周囲に粘着層9が配置され、上部フィルム5と接着する。
基体6に設けられた一対の電極7a,7bの材料としては、金、銀、銅、若しくはニッケルなどの金属、あるいはカーボンなどの導電性を有するペーストが用いられる。これらの形成方法としては、スクリーン印刷、オフセット印刷、グラビア印刷、若しくはフレキソ印刷などの印刷法、フォトレジスト法などが挙げられる。また、銅や金メッキ銅などの金属箔を貼り付けて形成してもよいし、銅などの金属をメッキしたFPCの上にレジストで電極パターンを形成し、レジストで保護されていない部分の金属箔をエッチング処理することによって形成してもよい。
図4Bに示すように、基体6に設けられた一対の電極7a,7bの表面には、電極の延在方向に沿って配置された複数のドットスペーサ10が設けられている。ドットスペーサ10は、着色樹脂で構成されていてもよいし、透明樹脂で構成されていてもよい。ドットスペーサ10は、光硬化型樹脂をフォトプロセスで微細なドット状に形成して得ることができる。また、塗布膜の厚みを一定以上とすることができるスクリーン印刷法により形成することもできる。
なお、本実施形態において、一対の電極の幅寸法Aは0.6mm、両電極間の間隔Bは0.2mm、ドットスペーサ10の幅寸法Dは30μmである。
上部フィルム5には、表面耐擦性に優れる材質を用いる。例えば、ポリエチレンテレフタレート、ポリスチレン系樹脂、ポリオレフィン系樹脂、ABS樹脂、AS樹脂、アクリル系樹脂、AN樹脂などの汎用樹脂を挙げることができる。また、ポリスチレン系樹脂、ポリカーボネート系樹脂、ポリアセタール系樹脂、ポリカーボネート変性ポリフェニレンエーテル樹脂、ポリブチレンテレフタレート樹脂、超高分子量ポリエチレン樹脂などの汎用エンジニアリング樹脂や、ポリスルホン樹脂、ポリフェニレンサルファイド系樹脂、ポリフェニレンオキシド系樹脂、ポリアリレート樹脂、ポリエーテルイミド樹脂、ポリイミド樹脂、液晶ポリエステル樹脂、ポリアリル系耐熱樹脂などのスーパーエンジニアリング樹脂を用いる。
図5に示すように、上部フィルムの中央部分に位置する打ち抜き部分5aは、ディスプレイ装置130の視認窓として機能する。感圧インキ層8は、外力に応じて電気抵抗値などの電気特性が変化する部材であり、塗布により上部フィルム5に設けられる。感圧インキ層8の塗布方法としては、スクリーン印刷、オフセット印刷、グラビア印刷、若しくはフレキソ印刷などの印刷法を用いることができる。
上部フィルムに設けられている感圧インキ層8は、図5に示すように、枠の全周にわたって設けられている必要はなく、一対の電極7a,7bを同時に被覆可能な位置であれば、その一部分だけに対向するように設けられていてもよい。例えば、図4Aに示す枠状の一対の電極7a,7bのコーナー部分のみであってもよいし、対の電極の辺の位置部分にのみ設けられていてもよい。
なお、上部フィルム5の上面には、図3に示すように、支持材としてのあて板11を設けてもよい。あて板11は図3に示すように、両面接着テープなどの粘着層9が設けられていない位置に設ける。あて板11を設けることにより、感圧センサのあて板が設けられている部分に荷重がかかったとき、センサに加わる荷重を粘着剤側に分散させないようにすることができるので、加わった荷重を可撓性フィルムのたわみとして確実に伝えることができる。さらに、上部フィルム5のへたりなどによる変化を抑えることができる。よって、感圧インキ層8と電極7a,7b間に加わる上部フィルム5の加重による、感圧インキ層8抵抗値の経時変化を少なくし精度を高くすることができる。なお、あて板11は、上記例では可撓性フィルムの表面に設けられているが、基材6の下面側に設けられていてもよい。
上記構成の感圧センサ120は、通常時は、電極7a、7bの表面に設けられているドットスペーサ10によって、電極7a,7bと感圧インキ層8とが接触しない状態となっている。そして、上層に設けられたタッチパネル110のタッチ入力面に入力のための接触があった場合、タッチパネル110に加えられた加重により、上部フィルム5が下側に撓み、感圧インキ層8が電極7a,7bに押し付けられることによって、電極7a,7bと感圧インキ層8とが接触する。このため、電極7a,7bには電流が流れ、当該電流を検出することにより、タッチ入力デバイス100への入力面への押し付け力を検出する。
なお、さらに、タッチ入力デバイス100への入力面への押圧力が大きくなると、感圧インキ層8に加えられる外力が増大することにより、感圧インキ層8の電気抵抗値が小さくなり、電極7a,7b間に流れる電流が増大する。この電流の変化を電圧値に変換して検出することによって、感圧インキ層8に加えられる外力を検出することで、タッチ入力デバイス100への入力面への押圧力を検出することができる。
なお、図6に示すように、感圧センサ120の電極7a,7bと感圧インキ層8及び粘着層は、タッチパネル110の加飾フィルム2の加飾部2aにより隠蔽されており、外部から視認されることはない。
以上説明したように、本実施形態にかかるタッチ入力デバイスは、タッチパネルでの位置検出に加えて感圧センサ120での押圧力強さを検出することができる。さらに、感圧センサは、通常時には電極7a、7bの表面に設けられているドットスペーサ10によって、電極7a,7bと感圧インキ層8とが接触しない状態となっているため、通常時の消費電力の無駄がない。さらに、経時による上部フィルムのへたり等によって、電極7a,7bと感圧インキ層8との接触の程度が変化することがない。
なお、本発明は上記実施形態に限定されるものではなく、その他種々の態様で実施可能である。押圧されていない状態で感圧インキ層8を介して一対の電極間が通電しないように構成されていれば、スペーサの形状は特に限定されるものではない。たとえば、図4Bに示す例では、スペーサは一対の電極の双方に設けられているが、一方のみに設けられていてもよい。この場合、一方のスペーサが設けられていない側の電極には、感圧インキ層が接触するが他方のスペーサが設けられている側の電極には押圧されていない状態ではスペーサのために絶縁され、その結果一対の電極間は通電することがない。
また、基体6及び上部フィルム5の中央部分に打ち抜き部分を設け、当該部分を透明窓部分として構成していたが、基体6及び上部フィルム5が透明材料で構成されていれば、打ち抜き部分を設けることなく、感圧インキ層や一対の電極が設けられていない透光性の部分を透明窓部分としてもよい。
本実施形態にかかるタッチ入力デバイスの層構成を示す断面図である。 図1のタッチ入力デバイスの外観構成を示す模式図である。 図1の感圧センサの部分拡大図である。 基材の構成を示す模式図である。 基材の部分拡大図である。 上部フィルムの構成を示す模式図である。 基材及び上部フィルムと加飾フィルムとの位置関係を示す図である。
符号の説明
1 ハードコートフィルム
2 加飾フィルム
3a 透明上部電極
3b 電極支持フィルム
4a 透明電極
4b 電極支持シート
4c ドットスペーサ
5 上部フィルム
6 基材
7a,7b 電極
8 感圧インキ層
9 粘着層
10 ドットスペーサ
11 あて板
20 上部電極フィルム
30 下部電極シート
100 タッチ入力デバイス
101 加飾領域
102 透明窓部分
110 タッチパネル
120 感圧センサ
130 LCD

Claims (8)

  1. 一対の電極が表面に形成された基材と、
    前記基材に積層配置され、加えられた押圧力により電気特性が変化する感圧インキ層を表面の前記基材に設けられた一対の電極の双方について少なくとも一部分を同時に被覆可能な位置に備える可撓性フィルムと、
    前記基材に設けられた電極の表面の前記感圧インキ層に対向する位置に設けられたスペーサと、を有することを特徴とする感圧センサ。
  2. 前記スペーサは前記電極の表面上にドット状に設けられていることを特徴とする、請求項1に記載の感圧センサ。
  3. 前記一対の電極は、前記基材の周囲に枠状に設けられており、
    前記インキ層は、枠状に設けられた一対の電極のコーナー部分を被覆するように前記可撓性フィルムに設けられていることを特徴とする、請求項1又は2に記載の感圧センサ。
  4. 前記一対の電極は、前記基材の周囲に枠状に設けられており、
    前記インキ層は、枠状に設けられた一対の電極の全周にわたって前記可撓性フィルムに設けられていることを特徴とする、請求項1又は2に記載の感圧センサ。
  5. 前記基材及び可撓性フィルムは透明な材料で構成されており、前記一対の電極及び感圧インキ層が設けられていない部分に透明窓部分が形成されていることを特徴とする、請求項1から4のいずれか1つに記載の感圧センサ。
  6. 前記可撓性フィルムの表面に積層配置された支持材を備えることを特徴とする、請求項1から5のいずれか1つに記載の感圧センサ。
  7. 前記基材と可撓性フィルムは、前記感圧インキ層の周囲の少なくとも一部に位置する粘着剤により貼着されており、前記支持材は、前記感圧インキ層が設けられている位置の裏面側であって前記粘着剤による粘着領域以外に設けられていることを特徴とする、請求項6に記載の感圧センサ。
  8. 前記可撓性フィルムは、前記基材の上層に積層配置されていることを特徴とする、請求項1から7のいずれか1つに記載の感圧センサ。
JP2008242104A 2008-09-22 2008-09-22 感圧センサ Active JP5350725B2 (ja)

Priority Applications (1)

Application Number Priority Date Filing Date Title
JP2008242104A JP5350725B2 (ja) 2008-09-22 2008-09-22 感圧センサ

Applications Claiming Priority (1)

Application Number Priority Date Filing Date Title
JP2008242104A JP5350725B2 (ja) 2008-09-22 2008-09-22 感圧センサ

Publications (2)

Publication Number Publication Date
JP2010071914A true JP2010071914A (ja) 2010-04-02
JP5350725B2 JP5350725B2 (ja) 2013-11-27

Family

ID=42203830

Family Applications (1)

Application Number Title Priority Date Filing Date
JP2008242104A Active JP5350725B2 (ja) 2008-09-22 2008-09-22 感圧センサ

Country Status (1)

Country Link
JP (1) JP5350725B2 (ja)

Cited By (4)

* Cited by examiner, † Cited by third party
Publication number Priority date Publication date Assignee Title
JP2011221856A (ja) * 2010-04-12 2011-11-04 Nissha Printing Co Ltd 情報入力装置
CN102654585A (zh) * 2011-03-04 2012-09-05 株式会社电装 乘员检测传感器及其制造方法
KR101420038B1 (ko) * 2010-04-08 2014-07-15 니혼샤신 인사츠 가부시키가이샤 압력검출부 및 압력검출부를 구비한 정보입력장치
JP2021170001A (ja) * 2020-04-15 2021-10-28 業成科技(成都)有限公司 圧力感知表示モジュール及びパネル

Citations (7)

* Cited by examiner, † Cited by third party
Publication number Priority date Publication date Assignee Title
JPH04312720A (ja) * 1991-04-09 1992-11-04 Mitsubishi Electric Corp 透明フラットスイッチ
JP2001013015A (ja) * 1999-07-01 2001-01-19 Furukawa Electric Co Ltd:The フィルム状感圧センサー及びそれに用いる半導電性感圧インク
JP2003090773A (ja) * 2001-09-19 2003-03-28 Polymatech Co Ltd 感圧センサーおよび感圧センサーの押圧力検知方法
JP2004028883A (ja) * 2002-06-27 2004-01-29 Denso Corp 感圧センサ
JP2005181031A (ja) * 2003-12-18 2005-07-07 Korg Inc 圧力検出装置
WO2007091600A1 (ja) * 2006-02-09 2007-08-16 Nissha Printing Co., Ltd. 保護パネル付きの電子機器
JP2008046817A (ja) * 2006-08-14 2008-02-28 Alps Electric Co Ltd 表示入力装置及びこれを用いた電子機器

Patent Citations (7)

* Cited by examiner, † Cited by third party
Publication number Priority date Publication date Assignee Title
JPH04312720A (ja) * 1991-04-09 1992-11-04 Mitsubishi Electric Corp 透明フラットスイッチ
JP2001013015A (ja) * 1999-07-01 2001-01-19 Furukawa Electric Co Ltd:The フィルム状感圧センサー及びそれに用いる半導電性感圧インク
JP2003090773A (ja) * 2001-09-19 2003-03-28 Polymatech Co Ltd 感圧センサーおよび感圧センサーの押圧力検知方法
JP2004028883A (ja) * 2002-06-27 2004-01-29 Denso Corp 感圧センサ
JP2005181031A (ja) * 2003-12-18 2005-07-07 Korg Inc 圧力検出装置
WO2007091600A1 (ja) * 2006-02-09 2007-08-16 Nissha Printing Co., Ltd. 保護パネル付きの電子機器
JP2008046817A (ja) * 2006-08-14 2008-02-28 Alps Electric Co Ltd 表示入力装置及びこれを用いた電子機器

Cited By (6)

* Cited by examiner, † Cited by third party
Publication number Priority date Publication date Assignee Title
KR101420038B1 (ko) * 2010-04-08 2014-07-15 니혼샤신 인사츠 가부시키가이샤 압력검출부 및 압력검출부를 구비한 정보입력장치
JP2011221856A (ja) * 2010-04-12 2011-11-04 Nissha Printing Co Ltd 情報入力装置
CN102654585A (zh) * 2011-03-04 2012-09-05 株式会社电装 乘员检测传感器及其制造方法
CN102654585B (zh) * 2011-03-04 2014-11-26 株式会社电装 乘员检测传感器及其制造方法
JP2021170001A (ja) * 2020-04-15 2021-10-28 業成科技(成都)有限公司 圧力感知表示モジュール及びパネル
JP7194225B2 (ja) 2020-04-15 2022-12-21 業成科技(成都)有限公司 圧力感知表示モジュール及びパネル

Also Published As

Publication number Publication date
JP5350725B2 (ja) 2013-11-27

Similar Documents

Publication Publication Date Title
JP4642158B2 (ja) 押圧検出機能を有するタッチパネル及び当該タッチパネル用感圧センサ
JP5026486B2 (ja) 感圧センサを備えたタッチ入力デバイスの実装構造
US8279188B2 (en) Protective panel having touch panel function
JP4880723B2 (ja) 押圧検出機能を有する抵抗膜式タッチパネル
US8243225B2 (en) Electronic device having protection panel
JP4875182B2 (ja) 保護パネル及び電子機器
JP2011133421A (ja) 感圧センサ
WO2010147045A1 (ja) 押圧検出機能を有する抵抗膜式タッチパネル
JP5350725B2 (ja) 感圧センサ
JP2010085233A (ja) 感圧センサ
JP2012103273A (ja) 感圧センサ

Legal Events

Date Code Title Description
A621 Written request for application examination

Free format text: JAPANESE INTERMEDIATE CODE: A621

Effective date: 20110914

A977 Report on retrieval

Free format text: JAPANESE INTERMEDIATE CODE: A971007

Effective date: 20121018

A131 Notification of reasons for refusal

Free format text: JAPANESE INTERMEDIATE CODE: A131

Effective date: 20121023

A521 Request for written amendment filed

Free format text: JAPANESE INTERMEDIATE CODE: A523

Effective date: 20121219

TRDD Decision of grant or rejection written
A01 Written decision to grant a patent or to grant a registration (utility model)

Free format text: JAPANESE INTERMEDIATE CODE: A01

Effective date: 20130813

A61 First payment of annual fees (during grant procedure)

Free format text: JAPANESE INTERMEDIATE CODE: A61

Effective date: 20130822

R150 Certificate of patent or registration of utility model

Ref document number: 5350725

Country of ref document: JP

Free format text: JAPANESE INTERMEDIATE CODE: R150

Free format text: JAPANESE INTERMEDIATE CODE: R150

R250 Receipt of annual fees

Free format text: JAPANESE INTERMEDIATE CODE: R250

R250 Receipt of annual fees

Free format text: JAPANESE INTERMEDIATE CODE: R250

S533 Written request for registration of change of name

Free format text: JAPANESE INTERMEDIATE CODE: R313533

R350 Written notification of registration of transfer

Free format text: JAPANESE INTERMEDIATE CODE: R350

R250 Receipt of annual fees

Free format text: JAPANESE INTERMEDIATE CODE: R250

R250 Receipt of annual fees

Free format text: JAPANESE INTERMEDIATE CODE: R250

R250 Receipt of annual fees

Free format text: JAPANESE INTERMEDIATE CODE: R250

R250 Receipt of annual fees

Free format text: JAPANESE INTERMEDIATE CODE: R250

R250 Receipt of annual fees

Free format text: JAPANESE INTERMEDIATE CODE: R250

R250 Receipt of annual fees

Free format text: JAPANESE INTERMEDIATE CODE: R250

R250 Receipt of annual fees

Free format text: JAPANESE INTERMEDIATE CODE: R250

R250 Receipt of annual fees

Free format text: JAPANESE INTERMEDIATE CODE: R250