JP2010071407A - ポール用の可動ジョイント - Google Patents

ポール用の可動ジョイント Download PDF

Info

Publication number
JP2010071407A
JP2010071407A JP2008240548A JP2008240548A JP2010071407A JP 2010071407 A JP2010071407 A JP 2010071407A JP 2008240548 A JP2008240548 A JP 2008240548A JP 2008240548 A JP2008240548 A JP 2008240548A JP 2010071407 A JP2010071407 A JP 2010071407A
Authority
JP
Japan
Prior art keywords
pole
movable
joint
receiving groove
groove
Prior art date
Legal status (The legal status is an assumption and is not a legal conclusion. Google has not performed a legal analysis and makes no representation as to the accuracy of the status listed.)
Granted
Application number
JP2008240548A
Other languages
English (en)
Other versions
JP5132502B2 (ja
Inventor
Toshiharu Bando
利治 板東
Current Assignee (The listed assignees may be inaccurate. Google has not performed a legal analysis and makes no representation or warranty as to the accuracy of the list.)
ORIZIN KOGYO KK
Original Assignee
ORIZIN KOGYO KK
Priority date (The priority date is an assumption and is not a legal conclusion. Google has not performed a legal analysis and makes no representation as to the accuracy of the date listed.)
Filing date
Publication date
Application filed by ORIZIN KOGYO KK filed Critical ORIZIN KOGYO KK
Priority to JP2008240548A priority Critical patent/JP5132502B2/ja
Publication of JP2010071407A publication Critical patent/JP2010071407A/ja
Application granted granted Critical
Publication of JP5132502B2 publication Critical patent/JP5132502B2/ja
Active legal-status Critical Current
Anticipated expiration legal-status Critical

Links

Images

Landscapes

  • Mutual Connection Of Rods And Tubes (AREA)
  • Clamps And Clips (AREA)

Abstract

【課題】ポールの大小に対する融通性があって、それに取り付けるときに挿入しやすいことはもちろん、大小があってもずれ下がったり傾いたりすることなく姿勢正しく安定して確実に固定することができるポール用の可動ジョイントを提供する。
【解決手段】前方開口の転倒キャップ状の前端幅中央部に二股状に切欠を設けるとともに左右へ開き状に一対の正面盤を突設し中心に後端から摘みネジを螺着したジョイント本体と、幅中央にポールが添えられる受け溝が突設され両方の正面盤にわたってその前面に重ね一体結合される装着物の取付ベース盤と、ジョイント本体に前後動可能に内装されることにより前記受け溝に対面する押え溝が形成されている可動対面材とからなり、可動対面材は、摘みネジの螺進によりポールを押え溝で前記受け溝に締めつけるよう中心部で摘みネジに付されており、加えて、摘みネジと共に後退する従動手段を具備している。
【選択図】 図1

Description

この発明は、例えば、POPスタンド、POP線材スタンドとしてパネルないしその支持部材等の装着物を高さ調製可能に取り付けるために使用するポール用の可動ジョイントに関する。
現在、広告手段や販促手段として、店頭や店内に広告パネルをポールに支持して展示されることが多くなっている。この場合、一本だけで又は数本の組でパネル等を取り付けるのであるが、いずれにしても、取付けのベースとして高さ調製できる可動ジョイントがポールに嵌着され、一般的にそれに支持部材をビス止めし、支持部材にパネルが装着される。
従来のこの種の可動ジョイントとしては、ポールに丁度嵌まり側部に雌ネジを設けた筒体と、その雌ネジに螺入する摘み付きの押すネジとからなる押すネジ式のものや、筒形ではあるが一部が割溝で開放され開放口両側突片を設けた割筒体と、両突片に通すボルト及びナットとからなる締め式のもの等を挙げることができる。
上記のような従来のポール用の可動ジョイントによれば、ポールの外径とほゞ同じ内径の筒体を使用する必要があることから、ポールに取り付けるときには、同じ径どうしであるため挿入が容易ではなく、また、大小あるポールのいずれにも使用できるという融通性に全く欠けていた。この点について、押すネジ式のものでは、内径が大きくとも押すネジにより止めることができるが、押すネジの先端を支点に筒体が傾くことになって安定性が得られない。また、締め式のときであると、内径が大きくとも両突片の締め付けにより内径を縮めてポールに締めつけることができるが、内径が真円ではなくなるので、この場合も安定性が得られなかった。また、押すネジ式の場合であると、過剰にねじ込むとネジの先端でポールを傷めるおそれがあった。
この発明は、上記のような実情に鑑みて、ポールの大小に対する融通性があって、それに取り付けるときに挿入しやすいことはもちろん、大小があってもずれ下がったり傾いたりすることなく姿勢正しく安定して確実に固定することができるポール用の可動ジョイントを提供することを課題とした。
上記の課題を解決するために、この発明は、前方開口の転倒キャップ状の前端幅中央部に二股状に切欠を設けるとともに左右へ開き状に一対の正面盤を突設し中心に後端から摘みネジを螺着したジョイント本体と、幅中央にポールが添えられる受け溝が突設され両方の正面盤にわたってその前面に重ね一体結合される装着物の取付ベース盤と、ジョイント本体に前後動可能に内装されることにより前記受け溝に対面する押え溝が形成されている可動対面材とからなり、可動対面材は、摘みネジの螺進によりポールを押え溝で前記受け溝に締めつけるよう中心部で摘みネジに付されており、加えて、摘みネジと共に後退する従動手段を具備していることを特徴とするポール用の可動ジョイントを提供するものである。
また、可動対面材を案内するガイドを設けたり(請求項2)、そのガイドを溝形に形成し、そのガイド溝にコイルスプリングを挿入することにより(請求項3)、本発明の目的をより有効に達成することができる。
ポール用の可動ジョイントを上記のように構成したから、これをポールに取り付けるときには、受け溝と押え溝との間をポールの外径以上に開いておく必要があり、この開きはコイルスプリングの弾力により保持されるから、ジョイント本体の切欠の口から取付ベース盤の受け溝に沿わせ、所定の高さにおいて摘みネジを回して可動対面材を前進させ、その押え溝で受け溝にポールを押しつける。この力はネジの倍力であり、二つの溝で挟む4点接触となり均等性があるので、強固で安定した状態に固定される。また、摘みネジを戻すと、コイルスプリングの弾力で受け溝から押え溝が離反するので、容易に取り外すこともできる。
以上説明したように、この発明のポール用の可動ジョイントによれば、ポールを受け溝と押え溝との間に挟んで締めつけるために、ポールの径の大小に対する融通性があり、ポールに挿入しやすいことはもちろん、径にある程度の大小があってもずれ下がったり傾いたりする不都合なく、両溝の挟みで姿勢が正される。このときに摘みネジの倍力で強力に挟み付けることから、安定して確実に固定することができるという優れた効果がある。
加えて、請求項2及び請求項3の如く、従動手段を構成したときには、ガイド溝の中にコイルスプリングが納まるので、それに弾力を蓄積しやすい。
次に、この発明の実施形態を図面に基づいて説明する。
図面は一実施の形態を示したもので、そのポール用の可動ジョイントJは、ジョイント本体1と、それに組み合わされてポールPを挟む一方となるとともに広告パネルの受け部材Tの止め側となる取付ベース盤3(これには受け部材Tの他に様々な装着物が取り付けられる)と、このベース盤3と共にポールPを挟む可動対面材5との組み合わせからなり、これらはそれぞれプラスチックで一体成形されており、その他に、摘みネジ7と、一対のコイルスプリング9,9とがジョイント本体1に装備されて組み付けられる。なお、成形のインサート部品はネジ等であり、特別のものは使用されていない。
組立てにおいては(図1,図2)、ジョイント本体1と可動対面材5との双方にわたってポールPの通し口10を有し、通し口10の中で可動対面材5がポールPを取付ベース盤3に押さえる仕組みとなっている。その際に摘みネジ7の回転により、取付ベース盤3に対して可動対面材5をコイルスプリング9,9の弾力に抗して前進させるネジ操作となるが、後退は逆ネジ操作をしてコイルスプリング9,9の弾発力によらせるという従動手段が構成される。
ジョイント本体1は、摘みネジ7が螺入される側の基体部11の前面にV字開きに切欠12を設けるとともに、両開き状に両側に取付ベース盤3と合体する正面盤13,13が左右直列にして突設される。基体部11は、横向きのキャップ形であって、キャップ頭部から中心に摘みネジ7が螺入される。そのため、中心に摘みネジ7が螺入される金属の雌ねじ15がインサート成形により埋め込まれている。また、キャップ内には両側に可動対面材5の案内となるとともにコイルスプリング9,9が伸縮自在に納まるガイド溝17,17が設けられ、両方がビスポケット状の蟻溝に形成される。
また、ジョイント本体1には、取付ベース盤3を一体に取り付けるために、両正面盤13,13にそれぞれ上下両端に逆止爪18,18が長く突出して形成され、また、受け部材Tを取付ベース盤3とともに取り付けるネジ19,19を螺入する雌ネジ21a,21aがインサート成形により埋設される。なお、逆止爪18には爪先18aが外側に、つまり上の逆止爪18には上に、下の逆止爪18には下に設けられる。
取付ベース盤3は、両正面盤13,13と一体になるほゞ矩形であって、裏面には幅中央に沿ってポールPが一部で納まるV字形に凹曲した受け溝23を突設し、左右両端にはジョイント本体1の雌ネジ21a,21aに対応する通し孔21b,21bが設けられる。また、左右両側にはジョイント本体1の上下逆止爪18,18に対応してその差付孔24,24を設け、その内部に爪先18aの引掛りが突設されている。
したがって、基体部11の両正面盤13,13に取付ベース盤3を一致して合わせると、左右において上下差付孔24,24に逆止爪18,18が脱出不能に結合し、それ以上の操作を要することなくワンタッチで一体結合する。したがって、一体結合に先行して基体部11に可動対面材5と両コイルスプリング9,9を内装しておく必要がある。
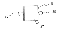
可動対面材5は、矩形の直方体を基本形状とする小ブロック形であって、基体部11の摘みネジ7の先端に中心を合わせて内装しておくもので、その中心には中心受けの軸凹孔25を有する。その反対側の前面には取付ベース盤3の受け溝23のV字形凹溝に対向するほゞ対称のV字形の押え溝27が設けられている。また、左右両端にはガイド溝17,17に先端が係合するスライドアーム29,29がリブ付きで突設され、その先端に丸い係合子30,30が形成される。この係合子30,30の前においてコイルスプリング9,9がガイド溝17,17に納められる。(図6)。
上記の各部品の組み合わせ要領については、こうしてジョイント本体1に可動対面材5と両コイルスプリング9,9を挿入してから、ベース盤3をそのジョイント本体1に合わせながら、その差付孔24,24,24,24に逆止爪18,18,18,18を差し込むと、逆止爪18が脱出不能となってジョイント本体1と取付ベース盤3とが合体し組立てが完了する。
図1および図2は組み立てた状態を示したもので、この状態では、内部の可動対面材5がコイルスプリング9,9の弾力で摘みネジ7のネジ端に押さえられる一方で、逆にコイルスプリング9,9で押さえられている。そこで、摘みネジ7を緩める方向に回して受け溝23と可動対面材5との間を適当な間隔に開いておいて、そこにポールPを差し込んでから(図1)、所定の位置で摘みネジ7を回して受け溝23と可動対面材5との間を縮めることにより締めつけることができる。この時両コイルスプリング9,9が圧縮され弾力が蓄積される。
これでポールPに対して可動ジョイントJが固定して取り付けられるので、それにパネルの受け部材T等を装着する。この場合に、ジョイント本体1に有する雌ネジ21a,21aと取付ベース盤3に有する通し孔21b,21bとが合体しているので、その合体孔にビス19を螺着して受け部材Tを取付ベース盤3に当てた状態に取り付けることができる。
ポールPから取り外すときに、摘みネジ7を緩めると、コイルスプリング9,9の弾力に伴う従動手段により可動対面材5がネジ先ともに後退し、受け溝23から押え溝27が開くので、容易にポールPから抜き取ることができる。なお、摘みネジ7のネジ先とともに可動対面材5が後退する従動手段については、そのネジ先に可動対面材5を回転可能に付着させておく等の他の方法もある。また、コイルスプリング9の代わりに他のバネ類の使用も可能である。
図8は図4に対応する別の実施形態である。この例では、従動手段としてコイルスプリングを使用することなく、摘みネジ7の先端が、リング7aを介して、可動対面材5の内部で掛止する構成がとられている。なお、7bはストッパー用リングである。
用途については、ポールで装着物を支持する場合であれば、特に限定するものではなく、前記した場合の他に、フレーム・パネルの線材直付けインテリアイーゼル、壁面や什器セット直付けパーツのジョイントとして使うことができる。
この発明の可動ジョイントを取付け対象のポール(仮想線で示す)と、装着物としての広告パネルの受け部材(仮想線で示す)との関係において示す斜視図である。 同可動ジョイントを平面から見た断面図である。 同可動ジョイントを部品毎に分解して示す平面図である。 同可動ジョイントを部品毎に分解して示す平面から見た断面図である。 同可動ジョイントのうちのジョイント本体の正面図である。 同じく可動対面材の正面図である。 同じく取付ベース盤の正面図である。 他の実施形態を図4の実施例に対応して示した断面図である。
符号の説明
J 可動ジョイント
P ポール
T 装着物としての広告パネルの受け部材
1 ジョイント本体
3 取付ベース盤
5 可動対面材
7 摘みネジ
7a リング
7b ストッパー用リング
9 従動手段を構成するコイルスプリング
13 正面盤
12 切欠
17 ガイドとしてのガイド溝
18 逆止爪
18a 爪先
23 受け溝
24 差付孔
27 押え溝
29 スライドアーム

Claims (3)

  1. 前方開口の転倒キャップ状の前端幅中央部に二股状に切欠を設けるとともに左右へ開き状に一対の正面盤を突設し中心に後端から摘みネジを螺着したジョイント本体と、幅中央にポールが添えられる受け溝が突設され両方の正面盤にわたってその前面に重ね一体結合される装着物の取付ベース盤と、ジョイント本体に前後動可能に内装されることにより前記受け溝に対面する押え溝が形成されている可動対面材とからなり、可動対面材は、摘みネジの螺進によりポールを押え溝で前記受け溝に締めつけるよう中心部で摘みネジに付されており、加えて、摘みネジと共に後退する従動手段を具備していることを特徴とするポール用の可動ジョイント。
  2. ジョイント本体の内部にて、可動対面材が移動する両側に該可動対面材を案内するガイドを設けたことを特徴とする請求項1記載のポール用の可動ジョイント。
  3. 前記従動手段については、前記ガイドを溝形に形成し、可動対面材にはその両ガイド溝に係合するスライドアームを突設し、両ガイド溝にコイルスプリングを挿入することにより、両コイルスプリングが可動対面材のスライドアームと取付ベース盤との間に介在させてあることを特徴とする請求項2記載のポール用の可動ジョイント。



JP2008240548A 2008-09-19 2008-09-19 ポール用の可動ジョイント Active JP5132502B2 (ja)

Priority Applications (1)

Application Number Priority Date Filing Date Title
JP2008240548A JP5132502B2 (ja) 2008-09-19 2008-09-19 ポール用の可動ジョイント

Applications Claiming Priority (1)

Application Number Priority Date Filing Date Title
JP2008240548A JP5132502B2 (ja) 2008-09-19 2008-09-19 ポール用の可動ジョイント

Publications (2)

Publication Number Publication Date
JP2010071407A true JP2010071407A (ja) 2010-04-02
JP5132502B2 JP5132502B2 (ja) 2013-01-30

Family

ID=42203391

Family Applications (1)

Application Number Title Priority Date Filing Date
JP2008240548A Active JP5132502B2 (ja) 2008-09-19 2008-09-19 ポール用の可動ジョイント

Country Status (1)

Country Link
JP (1) JP5132502B2 (ja)

Cited By (2)

* Cited by examiner, † Cited by third party
Publication number Priority date Publication date Assignee Title
JP2013002768A (ja) * 2011-06-20 2013-01-07 Nojima Kakusei Seisakusho:Kk ダクト形成用筒体連結具
JP2021137110A (ja) * 2020-03-02 2021-09-16 株式会社イソメディカルシステムズ 身体支持装置

Citations (4)

* Cited by examiner, † Cited by third party
Publication number Priority date Publication date Assignee Title
JPH0569777U (ja) * 1992-02-19 1993-09-21 日研工業株式会社 ポップカードホルダー取り付け具
JPH1047566A (ja) * 1996-08-06 1998-02-20 Mitsubishi Heavy Ind Ltd 管状部材の継合締付け装置
JPH1134956A (ja) * 1997-07-19 1999-02-09 Hidetoshi Matsuura 自転車、手押し車等の傘取付け装置
JP2002262421A (ja) * 2001-03-05 2002-09-13 East Japan Railway Co 電線接地用フック金具

Patent Citations (4)

* Cited by examiner, † Cited by third party
Publication number Priority date Publication date Assignee Title
JPH0569777U (ja) * 1992-02-19 1993-09-21 日研工業株式会社 ポップカードホルダー取り付け具
JPH1047566A (ja) * 1996-08-06 1998-02-20 Mitsubishi Heavy Ind Ltd 管状部材の継合締付け装置
JPH1134956A (ja) * 1997-07-19 1999-02-09 Hidetoshi Matsuura 自転車、手押し車等の傘取付け装置
JP2002262421A (ja) * 2001-03-05 2002-09-13 East Japan Railway Co 電線接地用フック金具

Cited By (3)

* Cited by examiner, † Cited by third party
Publication number Priority date Publication date Assignee Title
JP2013002768A (ja) * 2011-06-20 2013-01-07 Nojima Kakusei Seisakusho:Kk ダクト形成用筒体連結具
JP2021137110A (ja) * 2020-03-02 2021-09-16 株式会社イソメディカルシステムズ 身体支持装置
JP7425472B2 (ja) 2020-03-02 2024-01-31 株式会社イソメディカルシステムズ 身体支持装置

Also Published As

Publication number Publication date
JP5132502B2 (ja) 2013-01-30

Similar Documents

Publication Publication Date Title
USD530836S1 (en) Led lamp
KR101156171B1 (ko) 카메라 삼각대용 퀵슈
US6357724B1 (en) Automatic lifting device with illumination ability
US7096768B1 (en) Extension rod assembly
USD556019S1 (en) Combined cable management device with suction cup attachment end and belt clip
US9789593B2 (en) Socket ratchet wrench
US20080108248A1 (en) Mechanism of fastening detachable electronic device to din rail
US20060215836A1 (en) Electronic device holder
US11947248B2 (en) Video camera handle and stop switch assembly
US20190274510A1 (en) Cleaning robot
USD522821S1 (en) Socket capable of being engaged with a spanner for driving a screw
US8172419B1 (en) Enhanced lighting device
US20110278342A1 (en) Nail gun with improved attachable and detachable magazine assembly
US5906426A (en) Light with flexible support and reduced storage length
USD535761S1 (en) Wedge light device
JP5132502B2 (ja) ポール用の可動ジョイント
EP3661698A1 (en) Multi-function skateboard tool
US8363396B2 (en) Position-shifting structure
USD531329S1 (en) Front combination lamp for an automobile
USD521826S1 (en) Socket capable of being engaged with a spanner for driving a screw means
USD531328S1 (en) Rear combination lamp for an automobile
USD529445S1 (en) Electric connector
CN103201574A (zh) 用于大型电气设备的照明单元
USD470337S1 (en) Magazine rack
USD495528S1 (en) Magazine rack

Legal Events

Date Code Title Description
A621 Written request for application examination

Free format text: JAPANESE INTERMEDIATE CODE: A621

Effective date: 20110811

A131 Notification of reasons for refusal

Free format text: JAPANESE INTERMEDIATE CODE: A131

Effective date: 20120530

A977 Report on retrieval

Free format text: JAPANESE INTERMEDIATE CODE: A971007

Effective date: 20120531

A521 Request for written amendment filed

Free format text: JAPANESE INTERMEDIATE CODE: A523

Effective date: 20120619

TRDD Decision of grant or rejection written
A01 Written decision to grant a patent or to grant a registration (utility model)

Free format text: JAPANESE INTERMEDIATE CODE: A01

Effective date: 20121106

A01 Written decision to grant a patent or to grant a registration (utility model)

Free format text: JAPANESE INTERMEDIATE CODE: A01

A61 First payment of annual fees (during grant procedure)

Free format text: JAPANESE INTERMEDIATE CODE: A61

Effective date: 20121106

FPAY Renewal fee payment (event date is renewal date of database)

Free format text: PAYMENT UNTIL: 20151116

Year of fee payment: 3

R150 Certificate of patent or registration of utility model

Ref document number: 5132502

Country of ref document: JP

Free format text: JAPANESE INTERMEDIATE CODE: R150

Free format text: JAPANESE INTERMEDIATE CODE: R150

R250 Receipt of annual fees

Free format text: JAPANESE INTERMEDIATE CODE: R250

R250 Receipt of annual fees

Free format text: JAPANESE INTERMEDIATE CODE: R250

R250 Receipt of annual fees

Free format text: JAPANESE INTERMEDIATE CODE: R250

R250 Receipt of annual fees

Free format text: JAPANESE INTERMEDIATE CODE: R250