JP2010067076A - サービス拡張システム及び連係サーバ - Google Patents

サービス拡張システム及び連係サーバ Download PDF

Info

Publication number
JP2010067076A
JP2010067076A JP2008233778A JP2008233778A JP2010067076A JP 2010067076 A JP2010067076 A JP 2010067076A JP 2008233778 A JP2008233778 A JP 2008233778A JP 2008233778 A JP2008233778 A JP 2008233778A JP 2010067076 A JP2010067076 A JP 2010067076A
Authority
JP
Japan
Prior art keywords
information
extended
user
user terminal
server
Prior art date
Legal status (The legal status is an assumption and is not a legal conclusion. Google has not performed a legal analysis and makes no representation as to the accuracy of the status listed.)
Granted
Application number
JP2008233778A
Other languages
English (en)
Other versions
JP4526583B2 (ja
Inventor
Ryuhei Hirota
竜平 廣田
Hiroaki Kawai
浩陽 川井
Current Assignee (The listed assignees may be inaccurate. Google has not performed a legal analysis and makes no representation or warranty as to the accuracy of the list.)
Konami Digital Entertainment Co Ltd
Original Assignee
Konami Digital Entertainment Co Ltd
Priority date (The priority date is an assumption and is not a legal conclusion. Google has not performed a legal analysis and makes no representation as to the accuracy of the date listed.)
Filing date
Publication date
Application filed by Konami Digital Entertainment Co Ltd filed Critical Konami Digital Entertainment Co Ltd
Priority to JP2008233778A priority Critical patent/JP4526583B2/ja
Priority to PCT/JP2009/062533 priority patent/WO2010029807A1/ja
Priority to CN2009801351002A priority patent/CN102150168A/zh
Priority to TW098129404A priority patent/TW201011556A/zh
Publication of JP2010067076A publication Critical patent/JP2010067076A/ja
Application granted granted Critical
Publication of JP4526583B2 publication Critical patent/JP4526583B2/ja
Active legal-status Critical Current
Anticipated expiration legal-status Critical

Links

Images

Classifications

    • HELECTRICITY
    • H04ELECTRIC COMMUNICATION TECHNIQUE
    • H04LTRANSMISSION OF DIGITAL INFORMATION, e.g. TELEGRAPHIC COMMUNICATION
    • H04L63/00Network architectures or network communication protocols for network security
    • H04L63/08Network architectures or network communication protocols for network security for authentication of entities
    • H04L63/0823Network architectures or network communication protocols for network security for authentication of entities using certificates
    • GPHYSICS
    • G06COMPUTING OR CALCULATING; COUNTING
    • G06FELECTRIC DIGITAL DATA PROCESSING
    • G06F21/00Security arrangements for protecting computers, components thereof, programs or data against unauthorised activity
    • G06F21/30Authentication, i.e. establishing the identity or authorisation of security principals
    • G06F21/31User authentication
    • G06F21/33User authentication using certificates
    • GPHYSICS
    • G06COMPUTING OR CALCULATING; COUNTING
    • G06FELECTRIC DIGITAL DATA PROCESSING
    • G06F21/00Security arrangements for protecting computers, components thereof, programs or data against unauthorised activity
    • G06F21/30Authentication, i.e. establishing the identity or authorisation of security principals
    • G06F21/31User authentication
    • G06F21/41User authentication where a single sign-on provides access to a plurality of computers

Landscapes

  • Engineering & Computer Science (AREA)
  • Computer Security & Cryptography (AREA)
  • Computer Hardware Design (AREA)
  • Theoretical Computer Science (AREA)
  • General Engineering & Computer Science (AREA)
  • Software Systems (AREA)
  • Physics & Mathematics (AREA)
  • General Physics & Mathematics (AREA)
  • Computing Systems (AREA)
  • Computer Networks & Wireless Communication (AREA)
  • Signal Processing (AREA)
  • Information Transfer Between Computers (AREA)

Abstract

【課題】既存のサービス提供システムに負担をかけずに、既存のサービス提供システムがユーザに対して提供するサービスの種類を拡張可能なサービス拡張システムを提供する。
【解決手段】アクセスを許可したユーザ端末2からの要求に応じて、発信元及び発信時刻を含む利用情報をユーザ端末2へ送信するSNSサーバ3と、ユーザ端末2から取得した利用情報の発信元情報及び発信時刻により発信元、かつ、ユーザ端末2がSNSサーバ3にアクセスが許可されていることを確認し、当該確認がされると、ユーザ端末2に対して拡張サービスの提供を開始する拡張提供システム4と、SNSサーバ3にアクセスが許可された状態で、ユーザの操作に応じてSNSサーバ3に利用情報を要求して取得すると、その利用情報を拡張提供システム4へ転送し、拡張提供システム4から提供される拡張サービスに応じた出力を行うユーザ端末2と、を備える。
【選択図】図1

Description

本発明は、所定のサービスを提供するサービス提供サーバと連係して更なる拡張サービスを提供するサービス拡張システム及び該システムに含まれる連係サーバに関する。
ソーシャル・ネットワーキング・システム(以下「SNS」という。)のように、アクセスを要求してきたユーザの認証を認証情報によって行い、認証が成立したユーザに対してのみアクセスを許可し、例えばユーザ間の情報交換の場としてコミュニティサービスのような所定のサービスを提供するサービス提供システムは既に知られている(例えば、特許文献1)。
特開2001−229282号公報
当該認証されたユーザに対して、既存のサービス提供システムが提供するサービスに加えて新たなサービスを追加する場合、そのサービス提供システムに追加サービスを提供するための追加システムを全て管理させることが考えられる。しかし、このような構成では、サービス提供システムに対して、既存のプログラムの大幅修正や新たな追加システムの運営管理等の負担をかけることになり、特に、追加サービスの情報量や種類が膨大である場合、当該サービスを追加するためのコストや労力も膨大となる。このようにサービス提供システムへの負担が膨大となると、例えば、追加サービスを既存のサービス提供システムの運営会社と異なる会社が提供する場合、当該追加サービスの普及は困難となる。この結果、既存のサービス提供システムにおけるサービスの種類が固定化し、その拡張性が損なわれる。
そこで、本発明は、既存のサービス提供システムに負担をかけずに、既存のサービス提供システムがユーザに対して提供するサービスの種類の幅を拡張可能なサービス拡張システム及び連係サーバを提供することを目的とする。
本発明は、以下の手段により上述した課題を解決する。なお、本発明の理解を容易にするために添付図面の参照符号を括弧書きにて付記するが、それにより本発明が図示の形態に限定されるものではない。
本発明のサービス拡張システム(1、1´、300)は、ユーザの操作を受け付ける操作入力部(23)、及び、所定の情報を出力する出力部(22)を有するユーザ端末(2)と、前記ユーザ端末を操作するユーザの認証処理を行い、前記認証処理により認証が成立したユーザのユーザ端末にアクセスを許可し、前記ユーザ端末の要求に応じて所定のサービスを提供するサービス提供サーバ(3)と、前記アクセスが許可されたユーザ端末のユーザに対して拡張サービスを提供する拡張提供システム(4)と、を備えるサービス拡張システムであって、前記サービス提供サーバは、前記アクセスを許可したユーザ端末から利用情報要求を取得すると、利用情報が前記サービス提供サーバから発信されたことを示す発信元情報及び、前記利用情報が発信される発信時刻情報をその利用情報に含ませて、前記ユーザ端末へ送信する利用情報送信部(30a)を有し、前記拡張提供システムは、前記ユーザ端末から前記利用情報を取得し、前記発信元情報によって、前記利用情報の発信元が前記サービス提供サーバであることを確認し、かつ、前記発信時刻情報に基づいて、前記ユーザ端末に対して前記アクセスが許可されていることを確認する利用確認処理を行う利用確認部(80a、313a)と、前記利用確認処理における確認がされると、前記ユーザ端末に対して、前記拡張サービスに関する情報の提供を開始する拡張サービス提供部(50b、313b)とを、1つのサーバ、または複数のサーバに分離して備え、前記ユーザ端末は、前記アクセスが許可された状態において、前記ユーザによる所定の操作があると、前記利用情報を要求する利用情報要求を前記サービス提供サーバへ送信する利用情報要求部(20a)と、前記サービス提供サーバから前記利用情報を取得すると、その利用情報を前記拡張提供システムの前記利用確認部を備えるサーバへ転送する利用情報転送部(20b)と、前記拡張提供システムから提供される前記拡張サービスに関する情報に応じた出力を、前記出力部にて行う拡張サービス対応部(20f)と、を有することにより、上記の課題を解決する。
本発明のサービス拡張システムによれば、ユーザ端末の利用情報要求部に、認証されたユーザ対してアクセスを許可するサービス提供サーバから発信元情報及び発信時刻情報を含む利用情報を取得させ、更に取得した利用情報を拡張提供システムの利用確認部を有するサーバへ送信させる。利用確認部では、利用情報に含まれる発信元情報及び発信時刻情報に基づいて、ユーザ端末のユーザがサービス提供サーバにアクセスが許可されているか否かが判断される。利用情報の発信時刻情報により、利用情報が発信された発信時刻を特定し、例えば、その発信時刻と現在時刻との差が小さければ現在もユーザ端末がアクセスを許可されているとみなすことができる。また、利用確認部は、利用情報をユーザ端末から取得するため、利用情報がサービス提供サーバから発信されたことを発信元情報によって確認することができる。そして、当該アクセスが許可されていることが確認されると、拡張アクセス提供部によって、拡張サービスに関する情報がユーザ端末へ提供される。
サービス提供サーバにアクセスが許可されているユーザ端末とは、即ち、サービス提供サーバを利用しているユーザ端末であり、本発明によって、サービス提供サーバを利用しているユーザに、拡張サービスを提供することができる。従って、ユーザは既存のサービス提供サーバの認証を受けるだけで拡張サービスが提供されるため、あたかも、既存のサービス提供サーバによって提供されるサービスの種類の幅が広がったように見せることができる。また、利用確認部はユーザ端末から取得した利用情報の発信元を、発信元情報によって確認することができる。更に、利用確認部は、利用情報をサービス提供サーバからではなくユーザ端末を介して取得できるように構成されているため、サービス提供サーバは通常通りの手順によってユーザ端末にアクセスを許可すればよく、ユーザ端末からの要求に応じて発信時刻及び発信元情報を含む利用情報のみを送信すればよい。従って、既存のサービス提供システムに負担をかけずに、既存のサービス提供システムがユーザに対して提供するサービスの種類の幅を拡張することができる。
発信時刻情報は、発信時刻自体である場合と、発信時刻を示す記号や文字である場合、また、発信時刻が属する時間帯である場合を含む。発信時刻情報が時間帯である時は、例えば、利用確認部は、現在時刻が属する時間帯と発信時刻情報が属する時間帯とを比較することにより、現在アクセスが許可されているか否かを判断すればよい。発信時刻は、サービス提供サーバが備えるまたはアクセス可能な従来既知の計時手段によって特定されればよい。なお、サービス提供サーバが採用するデータ通信方式にて送信情報に発信時刻が含まれる場合は、当該情報を利用してもよい。発信元情報はユーザ端末における偽造を回避するために、従来既知の方法によって暗号化されることが望ましい。
「ユーザ端末」の「出力部」による出力は、視覚的な出力及び聴覚的な出力を含む。「拡張サービスの要求操作」は、サービス提供サーバにアクセスが許可された状態のユーザ端末にて行われる操作であって、「拡張サービスの要求操作」として予め設定された操作であればよく、例えば、画面上の所定位置の選択操作、所定の入力部材への入力操作、所定の音声の音声入力等がある。「サービス提供サーバ」は、従来既知の認証処理によって認証が成立したユーザのみにアクセスを許可し、認証されたユーザ、即ち所定範囲のユーザに所定のサービスを提供するサーバであればよい。例えば、サービスとして情報交換の場であるコミュニティサイトを提供するソーシャル・ネットワーキング・サーバ(SNSサーバ)や、サービスとして会員のみに所定の情報を提供する会員制サイトの管理サーバ等である。
「拡張提供システム」は、利用確認部及び拡張サービス提供部を有する1つのサーバで構成されてもよいし、例えば、利用確認部を有する第1のサーバと拡張サービス提供部を有する第2のサーバとで構成する等、各部の機能が複数のサーバによって実現されるように構成されてもよい。なお、複数のサーバによって構成される場合のサーバ間の通信は、従来既知の通信方法を採用すればよく、例えば、上記2つのサーバによって構成される場合は、利用確認処理における確認がされたことを示す情報を、従来既知の通信方法によって第1のサーバから第2のサーバに送信すればよい。また、「拡張サービス」は、ユーザに所定の情報を提供するサービスと、ゲームやバーチャルツアーの参加等所定の状態を継続的に提供するサービスとを含む。
本発明のサービス提供システムにおいて、 前記拡張提供システムは、前記利用確認部と前記拡張サービス提供部を有する拡張サーバ(310)で構成され、前記サービス提供サーバは、前記認証処理によって認証されるべき複数のユーザのそれぞれに関して、少なくとも1つの項目で構成されるユーザ情報を記憶するユーザ情報記憶部(32b)を有し、前記拡張サーバは、所定のテーマに関する複数の情報(RI)を記憶する情報記憶部(312)を更に備え、前記サービス提供サーバの前記利用情報送信部は、前記利用情報要求を送信したユーザ端末のユーザに対応する前記ユーザ情報を前記ユーザ情報記憶部から取得し、取得した前記ユーザ情報を前記利用情報に更に含ませ、前記ユーザ端末の利用情報転送部は、前記利用情報を前記拡張サーバへ送信し、前記拡張サーバの拡張サービス提供部は、取得した前記利用情報の前記ユーザ情報を構成する少なくとも1つの項目の内容に基づいて前記複数の情報から選択情報を生成し、前記選択情報を前記拡張サービスに関する情報として前記ユーザ端末に提供し、前記ユーザ端末の拡張サービス対応部は、前記選択情報に応じた出力を前記出力部にて行ってもよい。
これにより、サービス提供サーバにて保持されているユーザ情報が利用情報に含まれて拡張サーバに送信され、拡張サーバの拡張サービス提供部により、ユーザ情報を構成する少なくとも1つの項目の内容に基づいて選択情報が生成されるので、拡張サービスに関する情報として提供される選択情報にユーザ情報の内容を反映させることができる。ユーザ情報を構成する項目には、ユーザを識別するユーザ識別情報と、ユーザの年齢、身長、趣味等のサーバ提供システムの利用と関係がないユーザ自身に関する情報についての項目と、利用回数やシステム内の他のユーザとの関係等のサーバ提供システムの利用に関する項目とを含む。
複数の情報からユーザ情報の項目の内容に基づいて選択情報を生成する態様としては、例えば、項目の内容をキーワードとして、当該キーワードを含む情報を選択する場合や、情報記憶部の各情報にもキーワードを対応付けておき、キーワードが合致した情報を選択する場合等がある。また、ユーザ情報の項目がユーザ識別情報だけの場合は、例えば、ユーザ識別情報のコード体系に応じて選択情報を生成してもよいし、ユーザ識別情報を拡張サービスを受けるユーザのカウントに使用し、所定のカウント数に達した場合に所定の選択情報を生成するように構成してもよい。ユーザ端末に提供される「拡張サービスに関する情報」には、文字情報、画像情報の他、コンピュータプログラムも含まれる。
本発明のサービス拡張システムは、前記拡張提供システムは、前記ユーザ端末から拡張情報を取得すると、前記ユーザ端末からのアクセスを許可して前記拡張サービスに関する情報の提供を開始する前記拡張サービス提供部を有する拡張サービス提供サーバ(5)と、前記利用確認部、及び 前記利用確認処理における確認がされると、前記ユーザ端末が前記拡張サービス提供サーバへのアクセスが許可されるための拡張情報を生成して前記ユーザ端末へ送信する拡張情報生成部(80b)を有する連係サーバ(8)と、で構成され、 前記ユーザ端末は、前記連係サーバから前記拡張情報を取得すると、前記拡張サービス提供サーバへ前記拡張情報を送信する拡張情報送信部(20c)を有する構成であってもよい。
これにより、拡張提供システムは、利用確認処理を行う連係サーバと拡張サービス提供サーバとで構成される。従って、ユーザがサービス提供サーバの利用をしているかを確認する処理と、当該確認がされた場合に拡張サービスをユーザに提供する処理とを分離することができる。拡張サービスとして、ユーザ端末に単に情報が提供されて終了するのではなく、所定の状態が継続的に提供される場合、当該状態を継続的に管理する機能が必要となり、特に多数のユーザが拡張サービスを受ける場合に処理負担が大きくなるが、当該構成では、当該処理負担を1つのサーバに負担されることを回避することができる。ユーザ端末のアクセス状態を確認する連係サーバと、拡張サービスを提供する拡張サービス提供サーバとを異なる管理運営会社が管理する場合にも有効である。なお、「拡張情報」は、拡張サービス提供サーバにおいて「拡張情報」として認める情報であれば、特に問わない。
前記拡張提供システムは、前記拡張情報が前記連係サーバから発信されたことを示すための拡張発信元情報を要求する拡張発信元情報要求を、前記連係サーバから取得すると、前記拡張発信元情報を生成して前記連係サーバへ送信する拡張発信元情報生成部(90a)を有する拡張発信元情報生成サーバ(9)を更に有し、前記連係サーバの拡張情報生成部は、前記利用確認部によって確認がされると、生成する拡張情報に対しての前記拡張発信元情報を要求する前記拡張発信元情報要求を前記拡張発信元情報生成サーバへ送信し、前記拡張発信元情報を前記拡張発信元情報生成サーバから取得し、前記拡張発信元情報を対応する前記拡張情報に含ませて前記ユーザ端末へ送信し、前記拡張サービス提供サーバは、前記ユーザ端末から取得した拡張情報に含まれる拡張発信元情報に基づいて、前記拡張情報が前記連係サーバから送信されたことを確認する拡張発信確認部(50a)を有し、前記拡張サービス提供部は、前記拡張発信確認部によって前記拡張情報が前記連係サーバから発信されたことが確認されると、その拡張情報を送信したユーザ端末に対してアクセスを許可し、前記拡張サービスに関する情報の提供を開始してもよい。
これにより、拡張サービス提供サーバは、拡張発信元情報に基づいて、ユーザ端末から取得した拡張情報が、その拡張情報が連係サーバから発信されたものかを確認することができる。拡張発信元情報に基づいて発信元を確認する態様として、「拡張発信元情報」が所定の情報の場合は、拡張発信元情報生成部に拡張発信元情報を従来既知の暗号方法によって暗号化させ、拡張発信確認部に暗号化された拡張発信元情報をデコードさせてその情報を確認させるように構成してもよいし、拡張発信元情報生成部に各拡張情報に対して固有の拡張発信元情報を生成させ、生成された拡張発信元情報を拡張発信元情報生成サーバにて保持させ、拡張発信確認部に、ユーザ端末から取得した拡張発信元情報が拡張発信元情報生成サーバによって保持されている場合に、当該拡張情報は連係サーバから発信されたものと確認されるように構成してもよい。
前記サービス提供サーバは、前記認証処理によって認証されるべき複数のユーザのそれぞれに関する情報が、各ユーザを識別するユーザ識別情報を含むユーザ情報を記憶するユーザ情報記憶部(32b)を有し、前記利用情報送信部は、前記利用情報要求を送信したユーザ端末のユーザに対応する前記ユーザ情報を前記ユーザ情報記憶部から取得し、取得した前記ユーザ情報を前記利用情報に更に含ませ、前記連係サーバの拡張情報生成部は、前記利用確認処理における確認がされると、前記利用情報に含まれるユーザ情報の少なくとも前記ユーザ識別情報を含む前記拡張情報を生成し、前記拡張サービス提供サーバの拡張サービス提供部は、前記拡張情報に含まれる前記ユーザ識別情報に基づいて各ユーザを識別した処理を行ってもよい。
これにより、サービス提供サーバが保持するユーザ識別情報によって、各ユーザを識別した拡張サービスを提供することができる。特に、拡張サービスが複数のユーザが参加するゲームである場合に有効である。
前記連係サーバは、前記ユーザ端末から取得した前記ユーザ情報を記憶する拡張ユーザ情報記憶部(82c)を有し、前記連係サーバの拡張情報生成部は、前記利用確認処理における確認がされると、前記取得した利用情報に含まれるユーザ情報を前記拡張ユーザ情報記憶部に記憶し、前記ユーザ情報のユーザ識別情報を含む前記拡張情報を生成し、前記拡張サービス提供サーバの拡張サービス提供部は、前記アクセスが許可されたユーザ端末のユーザのユーザ識別情報を検索キーにして、前記拡張ユーザ情報記憶部に記憶されたユーザ情報を参照し、前記ユーザ情報に基づいて前記拡張サービスに関する情報を生成してもよい。
これにより、拡張サービス提供サーバは、サービス提供サーバが保持するユーザ情報を反映させた拡張サービスを提供することができる。利用情報に含まれるユーザ情報に、ユーザ識別情報の他、ユーザに関する様々な情報が含まれるように構成すれば、ユーザの様々な局面に応じた拡張サービスを提供することができる。ユーザ識別情報の他にユーザ情報に含まれる情報には、例えば、ユーザの年齢、身長、趣味等のサーバ提供システムの利用とは関係がないユーザ自身に関する情報と、利用回数やシステム内の他のユーザとの関係等のサーバ提供システムの利用に関する情報とを含む。
前記連係サーバの拡張情報生成部は、前記利用確認処理における確認がされると、前記ユーザ情報に含まれるユーザ識別情報に対して、前記拡張サービス提供サーバ用の識別情報である拡張ユーザ識別情報を生成し、前記ユーザ情報を対応する拡張ユーザ情報と対応付けて前記拡張ユーザ情報記憶部に記憶し、前記拡張ユーザ識別情報を前記ユーザ識別情報として前記拡張アクセス情報に含ませ、前記拡張サービス提供サーバの拡張サービス提供部は、前記拡張ユーザ識別情報によって各ユーザを識別した処理を行ってもよい。これにより、拡張提供システムにおいては、拡張ユーザ識別情報がユーザを識別する情報として利用されるので、拡張提供システム独自のコード体系でユーザを識別することができる。例えば、連係サーバが拡張ユーザ情報記憶部を備える場合は、拡張ユーザ識別情報を検索キーとしてユーザ情報を検索するように構成すればよい。
前記拡張提供システムには、前記ユーザ端末にて起動し、前記ユーザ端末を前記利用情報要求部、前記利用情報転送部、及び前記拡張サービス対応部として機能させる起動プログラムを記憶する提供プログラム記憶部(62)と、前記ユーザ端末からプログラム要求を取得すると前記起動プログラムを前記ユーザ端末へ送信するプログラム提供部(60a)とを有するプログラム提供サーバ(6)が更に備えられ、前記ユーザ端末は、前記アクセスが許可された後に、前記拡張サービスの要求操作があると、前記プログラム提供サーバにプログラム要求を送信して、前記起動プログラムを取得し、前記起動プログラムを起動させるプログラム起動部(20e)を更に備えてもよい。これにより、拡張サービスの要求操作があったユーザ端末に起動プログラムが提供されて起動されるため、ユーザ端末に起動プログラムを予め設定しておく必要がない。従って、サービス提供サーバにアクセスが許可されているユーザ端末でさえあれば、常に拡張サービスを受けることが可能となる。
前記拡張提供システムには、前記ユーザ端末にて起動し、前記ユーザ端末を前記利用情報要求部及び前記利用情報転送部として機能させる起動プログラム(111)と、前記ユーザ端末を、前記拡張情報送信部及び前記拡張サービス対応部として機能させるように構成された拡張サービスプログラム(112)と、を含むユーザ端末用プログラム(110)が、前記所定の拡張サービスに固有のサービス識別情報に対応付けられて記憶された提供プログラム記憶部(62)と、前記ユーザ端末に前記ユーザ用プログラムを送信するプログラム提供部(60a)とを有するプログラム提供サーバが更に備えられ、前記サービス提供サーバは、前記アクセスが許可されたユーザ端末の出力部に、複数種類の拡張サービスからいずれか1つの拡張サービスを選択可能な選択メニューを出力させ、拡張サービスの提供の要求操作として1つの拡張サービスが選択されると、選択された拡張サービスに対応するサービス識別情報を含むプログラム要求を前記プログラム提供サーバへ送信させるように構成された画面プログラムを記憶する画面プログラム記憶部(32a)を有し、前記ユーザ端末は、前記画面プログラムを前記サービス提供サーバから取得すると、前記画面プログラムに従って機能する画面プログラム実行部(20d)と、前記ユーザ端末用プログラムを取得すると前記起動プログラムを起動させるプログラム起動部(20e)と、を有し、前記プログラム提供サーバのプログラム提供部は、前記ユーザ端末から送信されたプログラム要求に含まれるサービス識別情報に対応するユーザ端末用プログラムを、前記ユーザ端末に送信してもよい。
これにより、拡張サービスの要求操作があったユーザ端末に起動プログラムが提供されて起動されるため、ユーザ端末に起動プログラムを予め設定しておく必要がない。従って、サービス提供サーバにアクセスが許可されているユーザ端末でさえあれば、常に拡張サービスを受けることが可能となる。これにより、拡張サービスの要求操作があったユーザ端末に起動プログラムが提供されて起動されるため、ユーザ端末に起動プログラムを予め設定しておく必要がない。従って、サービス提供サーバにアクセスが許可されているユーザ端末であれば、常に拡張サービスを受けることが可能となる。拡張サービス提供サーバとの通信が必要な拡張サービスプログラムに、対応する拡張サービスの拡張サービス提供サーバと通信するように設定することにより、各拡張サービス提供サーバ用のユーザ端末プログラムを構成することができる。従って、拡張サービスの種類によって異なる拡張サービス提供サーバが設けられている場合に有効である。
本発明の連係サーバ(8)は、ユーザ端末を操作するユーザの認証処理を行い、前記認証処理により認証が成立したユーザのユーザ端末(2)にアクセスを許可し、前記ユーザ端末の要求に応じて所定のサービスを提供するサービス提供サーバ(3)と、前記ユーザ端末から拡張サービスの提供を許可するための拡張情報を取得すると、前記ユーザ端末に対して拡張サービスの提供を開始する拡張サービス提供サーバ(5)と、前記ユーザ端末と所定の情報を送受信する連係サーバと、前記サービス提供サーバから利用情報の発信元情報及び発信時刻情報を含む前記利用情報を取得して前記連係サーバへ送信し、前記拡張情報を前記連係サーバから取得して前記拡張サービス提供サーバへ送信するユーザ端末と、を備えるサービス拡張システム(1、1´)に含まれる前記連係サーバであって、前記ユーザ端末から前記利用情報を取得すると、前記発信元情報によって、前記利用情報の発信元が前記サービス提供サーバであることを確認し、かつ、前記発信時刻情報に基づいて、前記ユーザ端末に対して前記アクセスが許可されていることを確認する利用確認処理を行う利用確認部(80a)と、前記利用確認処理における確認がされると、前記拡張情報を生成して前記ユーザ端末へ送信する拡張情報生成部(80b)とを有する、ことにより、上記の課題を解決する。本発明の連係サーバにより、利用確認部を拡張サービス提供部と独立させた本発明の拡張提供システムを提供することができる。
上述したように、本発明によれば、サービス提供サーバは、アクセスを許可したユーザ端末からの要求に応じて、発信元情報及び発信時刻情報を含む利用情報をユーザ端末へ送信するように構成され、少なくとも1つのサーバで構成される拡張提供システムは、ユーザ端末から取得した利用情報の発信元情報及び発信時刻情報により発信元、かつ、ユーザ端末がサービス提供サーバにアクセスが許可されていることを確認する利用確認部と、当該確認がされると、ユーザ端末に対して拡張サービスの提供を開始する拡張サービス提供部とを有するように構成され、サービス提供サーバにアクセスが許可された状態のユーザ端末は、ユーザの操作に応じてサービス提供サーバに利用情報を要求して取得し、その取得した利用情報を拡張提供システムへ転送し、拡張提供システムから提供される拡張サービスに応じた出力を行うように構成することにより、既存のサービス提供システムに負担をかけずに、既存のサービス提供システムがユーザに対して提供するサービスの種類の幅を拡張可能なサービス拡張システム等を提供することができる。
(1)第1の形態
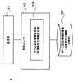
図1は、本発明の第1の形態としてのサービス拡張システム1の一例を示すシステム構成図である。サービス拡張システム1は、ユーザの操作を受け付けるユーザ端末2と、認証処理により認証したユーザに対して所定のサービスを提供するサービス提供サーバ3と、サービス提供サーバ3を利用するユーザに対して拡張サービスを提供するため拡張提供システム4とで構成される。本形態のサービス提供サーバ3は、認証したユーザに対して、ユーザ間の情報交換の場としてのコミュニティサイトを提供するソーシャル・ネットワーキング・システム(以下「SNS」という。)を運用管理し、従来既知のいわゆるSNSサーバとしての機能を有する。以下、本形態におけるサービス提供サーバ3をSNSサーバ3といい、SNSサーバ3によって管理されるコミュニティサイト名は、例えば“MySNS”である場合について説明する。
“MySNS”を利用するために、新規のユーザは、まず、“MySNS”への登録処理を行って認証情報を得る。登録処理では、例えば、“MySNS”の登録画面にて登録に必要な項目(ニックネームや出身地等)がユーザによって入力されると、SNSサーバ3によりユーザID及びパスワードが認証情報として発行される。以後、ユーザは“MySNS”の認証情報入力画面にて、取得したユーザID及びパスワードを入力することにより、SNSサーバ3に認証され、即ち、アクセスが許可され、“MySNS”を利用できるようになる。
本形態の拡張提供システム4は、“MySNS”を利用するユーザに対して、拡張サービスとして複数種類のオンラインゲーム(以下、「ゲーム」という。)への参加を可能にするシステムである。拡張提供システム4は、ゲーム進行を管理するゲームサーバ5と、複数種類のゲームのそれぞれに対応するユーザ端末用プログラムを保持しているプログラム提供サーバ6と、拡張提供システム4が用意する各ユーザ端末用プログラムが存在するURLを管理するURL解決サーバ7と、SNSサーバ3の情報をゲームサーバ5へ連係するための連係サーバ8と、ユーザ端末2がゲームサーバ5にアクセスする際に必要なゲーム認証情報を発行するゲーム認証情報発行サーバ9とで構成される。
サービス拡張システム1における各サーバ3、5〜9及びユーザ端末2はネットワークNを介して通信可能である。本形態では、ネットワークNとしてインターネットを採用する。なお、図1では1つのゲームサーバ5が示されているが、ゲームサーバ5は複数種類のゲームのそれぞれに対して設けられている。例えば、拡張提供システム4によって3種のゲームA、B,Cが提供可能である場合、各ゲームに対してゲームサーバ5、即ち3つのゲームサーバ5が用意される。以下、本形態の拡張提供システム4は、拡張サービスとして3種のゲームA、B、Cを提供でき、図1に示すゲームサーバ5は特に断りのない時はゲームAのゲームサーバである場合について説明する。
サービス拡張システム1を構成するユーザ端末2及び各サーバ3、5〜6のハードウェア構成について説明する。まず、ユーザ端末2は、図2に示すように、ネットワークNを介して他の構成と情報を送受信するための通信部21と、所定の情報を出力する出力部22と、ユーザの操作を受け付けるキーボードやマウス等を含む操作入力部23と、ユーザ端末2の各構成21〜23の動作を制御する制御ユニット20とを有する。出力部22には、所定の情報を表示するモニタや所定の音声情報を出力するスピーカが含まれる。制御ユニット20は、CPU及びその動作に必要な記憶域で構成され、主に、利用情報要求部20a、利用情報転送部20b、拡張情報送信部20c、画面プログラム実行部20d、プログラム起動部20e、及び拡張サービス対応部20fとして機能する。各部20a〜20fの機能については後述する。
SNSサーバ3のハードウェア構成を図3に示す。ネットワークNを介してユーザ端末2と情報を送受信するための通信部31と、コミュニティサイト“MySNS”の運営管理するために必要な各種情報が記憶された記憶部32と、SNSサーバ3の各構成31、32の動作を制御する制御ユニット30とで構成される。制御ユニット30は、CPU及びその動作に必要な記憶域で構成され、従来既知のSNSサーバとしての動作制御を行う他、主に、利用情報送信部30aとして機能する。利用情報送信部30aの機能については後述する。
記憶部32には、画面プログラム記憶部32aとユーザ関連情報記憶部32bが含まれる。画面プログラム記憶部32aは、コミュニティサービスを提供するために、ユーザ端末2のモニタに表示すべき画面情報が記載された画面プログラムが記憶されている。当該画面プログラムによって表示される画面には、例えば、ユーザに認証情報を入力させる認証情報入力画面や入力された認証情報が確認されると表示されるコミュニティ開始画面SIがある。
コミュニティ開始画面SIの一例を、図4に示す。コミュニティ開始画面SIには、例えば、“MySNS”内の友人リストエリアSIa、サイト管理者からのお知らせエリアSIb、友人からのメッセージエリアSIcが設けられている。更に、コミュニティ開始画面SIには、ゲームA〜ゲームCから1つのゲームを選択可能な選択エリアSIdが設けられている。画面プログラムにはいずれかのゲームが選択されると、URL解決サーバ7へ選択されたゲームの種類を識別するゲーム識別情報を送信するように構成されている。
ユーザ関連情報記憶部32bは、“MySNS”に登録された各ユーザに関する情報がユーザ毎にまとめられたユーザ関連情報100を記憶する。本形態のユーザ関連情報100においては、例えば、図5に示すように、各ユーザを識別するためのユーザID101に対して、ニックネーム102、マイフレンド情報103、パスワード情報104、興味情報105、及び出身地106が対応付けられている。ユーザID101及びパスワード104は、上述した登録処理にてユーザに発行される認証情報として機能する。マイフレンド情報103は、ユーザID101のユーザが“MySNS”内において友人として認めるユーザのユーザID101を示す。ニックネーム102、興味情報104、及び出身地105は、例えば、“MySNS”の登録画面にて入力された内容に基づいて設定される。なお、ユーザID101、二ックネーム102、及びマイフレンド情報103は、ユーザ情報107として、後述する処理により、連係サーバ8へ送信される。
URL解決サーバ7のハードウェア構成を図6に示す。URL解決サーバ7は、従来既知のURL解決サーバ7と同様の構成を有し、ネットワークNを介して他の構成と情報の送受信を行うための通信部71と、各ユーザ端末用プログラムが記憶されているURL場所を記憶するURL記憶部72と、URL解決サーバ7の各構成71、72の動作を制御する制御ユニット70とで構成される。URL記憶部72には、ゲーム種を識別するゲーム識別情報120と、URL情報121とが対応付けられて記憶されている。URL情報121は、ゲーム識別情報120が示すゲームに対応するユーザ端末用プログラムが保持されているURLを示す情報である。制御ユニット70は、CPU及びその動作に必要な記憶域で構成され、主にURL決定部70aとして機能する。URL決定部70aの機能については後述する。
プログラム提供サーバ6のハードウェア構成を図7に示す。プログラム提供サーバ6は、ネットワークNを介して他の構成と情報を送受信するための通信部61と、ユーザ端末2へ提供するユーザ端末用プログラム110を記憶する提供プログラム記憶部62と、プログラム提供サーバ6の各構成61、62の動作を制御する制御ユニット60とを有する。制御ユニット60は、CPU及びその動作に必要な記憶域で構成され、主に、プログラム提供部60aとして機能する。プログラム提供部60aの機能については後述する。本形態の提供プログラム記憶部62には、拡張提供システム4が提供する3つのゲームA、B,Cのそれぞれに対応するユーザ端末用プログラム110a、110b、110cが記憶されている。即ち、各ユーザ端末用プログラム110a、110b、110cは、対応するゲームA、B、Cのゲーム識別情報120に対応付けられて記憶されている。
各ユーザ端末用プログラム110は、図8に示すように、起動プログラム部111と拡張サービスプログラムとしてのゲームプログラム部112とで構成される。起動プログラム部111は、ユーザ端末2にユーザ端末用プログラム110がダウンロードされるとまず最初に起動され、ユーザ端末2の制御ユニット20を利用情報要求部20a及び利用情報転送部20bとして機能させるプログラムである。起動プログラム部111は各ユーザ端末用プログラム110a、110b、110cに共通である、即ち各ゲームに共通である。ゲームプログラム部112は、ゲームの種類ごとに異なり、拡張情報送信部20c及び拡張サービス対応部20fとして機能させ、ゲームサーバ5によって提供されるゲームのゲームクライアントとして動作させるように構成されている。例えば、ゲームAに対応するユーザ端末用プログラム110aのゲームプログラム部112は、ユーザ端末2をゲームAのゲームサーバ5にアクセスさせ、ゲームAのゲームクライアントとして動作させるように構成されている。
連係サーバ8のハードウェア構成を図9に示す。連係サーバ8は、ネットワークNを介して他の構成と情報の送受信を行うための通信部81と、ゲームサーバ5に提供する情報を記憶する記憶部82と、連係サーバ8の各構成81、82の動作を制御する制御ユニット80とで構成される。制御ユニット80は、CPU及びその動作に必要な記憶域で構成され、主に、利用確認部80a及び拡張情報生成部80bとして機能する。各部80a、80bの機能については後述する。記憶部82には、ユーザID記憶部82aと個人情報記憶部82bが記憶される。ユーザID記憶部82aには、図10に示すように、ユーザ関連情報100のユーザID101と後述する方法によって生成される拡張ユーザID130とが対応付けられて記憶される。個人情報記憶部82bには、SNSサーバ3から取得したユーザ情報107が記憶される。ユーザID記憶部82a及び個人情報記憶部82bを合わせた概念が、拡張ユーザ情報記憶部82cとして機能する。
ゲーム認証情報発行サーバ9のハードウェア構成を図11に示す。ゲーム認証情報発行サーバ9は、ネットワークNを介して他の構成と情報の送受信を行うための通信部91と、生成したゲーム認証情報を記憶するゲーム認証情報記憶部92と、CPU及びその構成に必要な記憶域で構成され、各構成91、92の動作を制御することにより、ゲーム認証情報生成部90aとして機能する制御ユニット90とで構成される。ゲーム認証情報発行部90aの機能については後述する。なお、ゲーム認証情報は、後述するように、連係サーバ8から発信される情報がその連係サーバ8から発信されたことを証明するための情報であり、これにより拡張発信元情報として機能する。従って、ゲーム認証情報発行部90aは拡張発信元情報生成部として機能し、ゲーム認証情報記憶部92は拡張発信元情報記憶部として機能する。
ゲームサーバ5は、図12に示すように、ネットワークNを介して他の構成と情報の送受信を行うための通信部51と、ゲームサーバとして動作するために必要な情報が記憶された記憶部52と、ゲームサーバ5の各構成51、52の動作を制御して、ゲームサーバ5をオンラインゲームのゲームサーバとして機能させる制御ユニット50とで構成される。制御ユニット50は、CPU及びその動作に必要な記憶域で構成され、主に、拡張発信確認部としてのゲーム認証部50a及び拡張サービス提供部50bとして機能する。各部50a、50bの機能については後述する。
以下、SNSサーバ3が提供する“MySNS”を利用しているユーザが、拡張提供システム4が提供するゲームAに参加するまでの処理の流れについて、図13〜図15に示すシーケンス図に従って説明する。各構成2、3、5〜9における処理は、各構成の制御ユニット20、30、50〜90によって制御される。
まず、SNSサーバ3はユーザ端末2のユーザに関する認証処理を行い、認証が成立するとユーザ端末2のアクセスを許可する、即ち、ユーザ端末とのリンクを確立する。この認証処理、及びリンクを確立する処理は、従来既知のSNSサーバによって行われる処理でよい。例えば、SNSサーバ3は、ユーザにユーザID101及びパスワード104の入力を要求する認証情報入力画面を表示させ、ユーザによって入力されたユーザID101等がユーザ関連情報記憶部32bに記憶されているか否か判断し、記憶されている場合に当該ユーザの認証を成立させる。
リンクの確立後、SNSサーバ3は、“MySNS”のコミュニティ開始画面SIを、ユーザ端末2のモニタに表示するための画面プログラムを送信する(ステップS100)。当該画面プログラムを受信したユーザ端末2は、取得した画面プログラムに従って、モニタにコミュニティ開始画面SIを表示する(ステップS200)。コミュニティ開始画面SIの表示後、拡張サービスを要求する操作として、ユーザの選択操作により「ゲームA」が選択されると、ゲームAのゲーム識別情報120を含むURL要求を、URL解決サーバ7へ送信する(ステップS202)。ステップS200及びステップS202は、画面プログラムに従った動作であり、これにより、ユーザ端末2の制御ユニット20は画面プログラム実行部20dとして機能する。その後、ユーザ端末2は「準備中」のメッセージをモニタに表示する(ステップS204)。URL要求を受信したURL解決サーバ7は、URL記憶部72を参照して、ゲームAのゲーム識別情報120に対応付けられたURL情報121を検索し、ユーザ端末2へ返信する(ステップS300)。
本形態のURL情報121は、ゲームAのユーザ端末用プログラム110aが記憶されたURL、即ち、プログラム提供サーバ6の提供プログラム記憶部62においてユーザ端末用プログラム110aが記憶された記憶場所を示す。URL情報121を取得したユーザ端末2は、URL情報121が示すURLへプログラム要求を送信する(ステップS206)。プログラム要求を取得したプログラム提供サーバ6のプログラム提供部60aは、プログラム要求が示すURLに記憶されているユーザ端末用プログラム110aをユーザ端末2へダウンロードする(ステップS400)。そして、ユーザ端末2は、取得したユーザ端末用プログラム110aを起動する(ステップS208)。これにより、ユーザ端末2の制御ユニット20はプログラム起動部20eとして機能する。当該起動により、ユーザ端末用プログラム110aの起動プログラム部111の実行が開始され、以後、ユーザ端末2は、ユーザ端末用プログラム110aに従って動作する。
続いて、ユーザ端末用プログラム110aが起動されたユーザ端末2では、制御ユニット20は起動プログラム11に従って動作し、まず、利用情報要求がSNSサーバ3へ送信される(ステップS210)。これにより、制御ユニット20は利用情報要求部20aとして機能する。利用情報要求を受信したSNSサーバ3は、利用情報送信部30aにより、利用情報を生成してユーザ端末2へ送信する(ステップS102)。利用情報には、ユーザ端末2を操作するユーザのユーザ情報107と、電子署名情報と、利用情報の発信時刻を示す発信時刻情報とが含まれる。SNSサーバ3は、ユーザ端末2と既にリンクを確立していることから、例えばポート番号からユーザ端末2のユーザを特定でき、その特定したユーザのユーザ情報107をユーザ関連情報100から抽出する。電子署名情報は、利用情報がSNSサーバ3から発信されたことを証明するための情報である。電子署名情報の方式は問わないが、例えば、公開鍵暗号方式の場合は、SNSサーバ3の署名情報が公開鍵によって暗号化される。公開鍵は、例えば、プログラム要求に含ませてSNSサーバ3へ送信すればよい。
利用情報を取得したユーザ端末2は、その利用情報を連係サーバ8へ送信する(ステップS212)。これにより、制御ユニット20は利用情報転送部20bとして機能する。利用情報を取得した連係サーバ8では、利用確認部80aにより利用確認処理が行われる(ステップS500)。利用確認処理では、利用情報に基づいて、利用情報に対応するユーザ、即ち利用情報を送信したユーザ端末2のユーザが、SNSサーバ3によって認証されている、即ち“MySNS”を利用しているユーザか否かが確認される。利用確認処理により、“MySNS”を利用しているユーザであることが確認された場合は確認結果に“確認”が設定され、“MySNS”を使用しているユーザであることが確認されない場合は確認結果に“エラー”が設定される。利用確認処理の詳細については後述する。
続いて、利用確認処理の確認結果により、“MySNS”を利用しているユーザであることが確認がされたか否かが判断され(ステップS502)、確認結果が“エラー”である場合は、エラーメッセージをユーザ端末2へ送信する(ステップS504)。エラーメッセージを受信したユーザ端末2では、例えば、エラーメッセージがモニタに表示される(ステップS214)。一方、利用確認処理の確認結果が“確認”である場合は、連係サーバ8はユーザ情報107に含まれるユーザIDに対応付ける拡張ユーザID130を生成する(ステップS506)。
拡張ユーザID130は、拡張提供システム4内にてユーザを識別するための識別情報である。従って、拡張提供システム4内で各ユーザに固有の識別情報であればよい。本形態では、拡張提供システム4が提供するゲーム内において、ユーザを識別する情報として使用される。続いて、連係サーバ8は、生成された拡張ユーザID130とユーザID101とを対応付けてユーザID記憶部82aに記憶し、取得した利用情報107を個人情報記憶部82bに記憶する(ステップS508)。そして、ゲーム認証情報要求をゲーム認証情報発行サーバ9へ送信する(ステップS510)。
ゲーム認証情報要求を取得したゲーム認証情報発行サーバ9は、当該要求に対して固有のゲーム認証情報を生成する(ステップS600)。ゲーム認証情報は、後述する拡張アクセス要求が連係サーバ8から発信されたことを証明するための情報である。1つのゲーム認証情報要求に対して1つの拡張アクセス情報が生成されるので、各ゲーム認証情報要求に対して固有のゲーム認証情報は、各拡張アクセス情報に対しても固有の情報である。生成されたゲーム認証情報は、連係サーバ8へ送信されるとともに、ゲーム認証情報記憶部92に記憶される(ステップS602)。
連係サーバ8は、ゲーム認証情報発行サーバ9から取得したゲーム認証情報と、拡張ユーザID130とを含む拡張アクセス情報を拡張情報として生成し(ステップS512)、生成された拡張アクセス情報をユーザ端末2へ送信する(ステップS514)。 これにより、制御ユニット80は、拡張情報生成部80bとして機能する。拡張アクセス情報を取得したユーザ端末2は、ユーザ端末プログラム110aのゲームプログラム部112に従った処理を開始する。ゲームプログラム部112に従った処理として、ユーザ端末2は、まず、取得した拡張アクセス情報をゲームサーバ5へ送信する(ステップS216)。これにより、制御ユニット20は、拡張情報送信部20cとして機能する。
拡張アクセス情報を取得したゲームサーバ5は拡張確認処理を行う(ステップS700)。拡張確認処理では、ゲームサーバ5は、取得した拡張アクセス情報が連係サーバ8から発信されたことを確認する。具体的には、ゲーム認証情報発行サーバ9にアクセスして、拡張アクセス情報に含まれるゲーム認証情報がゲーム認証情報記憶部92に存在するか否かを確認する。これにより、ゲーム認証情報発行サーバ9の制御ユニット90は、ゲーム認証情報生成部90a、即ち、拡張発信元情報生成部として機能する。
ゲーム認証情報記憶部92に当該ゲーム認証情報が存在する場合に、確認結果に“確認”が設定され、存在しない場合には確認結果に“エラー”が設定される。続いて、確認結果が“確認”か否かが判断され(ステップS702)、確認結果が“エラー”の場合は、ゲームサーバ5はエラーメッセージをユーザ端末2へ送信する(ステップS704)。当該エラーメッセージを取得したユーザ端末2では、例えば、エラーメッセージがモニタに表示される(ステップS218)。
拡張確認処理の確認結果が“確認”の場合、ゲームサーバ5は、拡張アクセス情報を送信したユーザ端末2とリンクを確立してユーザ端末2からのアクセスを許可する(ステップS706)。 その後、ユーザ端末2をゲームクライアントの1つに設定し、例えば、拡張サービスに関する情報としてゲーム開始画面を送信する(ステップS708)。これにより、制御ユニット50は拡張サービス提供部50bとして機能する。更に、拡張サービス提供部50bは従来既知のゲームサーバとしての機能を有する。例えば、ゲームクライアントであるユーザ端末2からユーザの操作情報を受け付け、当該操作情報に応じて、ゲーム状況を更新し、更新情報を拡張サービス提供情報に関する情報としてユーザ端末2へ送信する。
一方、ゲームサーバ5とリンクが確立されたユーザ端末2は、ゲームAのゲームクライアントとしてゲームサーバ5との通信が可能になり、従来既知のゲームクライアントとして動作する。例えば、ゲームサーバ5からのゲーム開始画面をモニタに表示し、その後、ユーザの操作情報をゲームサーバ5へ送信し、ゲームサーバ5からの更新情報に応じた画面を表示する(ステップS220)。ゲームクライアントとしての動作は、制御ユニット20の拡張サービス対応部20fによって制御される。
なお、ユーザ端末2とリンクを確立したゲームサーバ5は、拡張ユーザID130を検索キーとして含む個人情報参照要求を連係サーバ8に送信し(ステップS710)、拡張ユーザIDに対応するニックネーム102及びマイフレンド情報103を取得し、当該取得した情報に基づいて処理を行うことができる。取得したニックネーム102は、例えば、ゲーム画面に登場するユーザのアバターの名前として設定される。また、マイフレンド情報103により、例えば、友人のユーザと協力してゲームを進めるように設定することも可能である。その際、ゲームサーバ5は、マイフレンド情報103に設定されたユーザのユーザIDを、連係サーバ8に問い合わせることにより対応する拡張ユーザIDを取得すればよい。
一方、個人情報参照要求をゲームサーバ5から取得した連係サーバ8は、検索キーである拡張ユーザIDに対応するユーザのニックネーム102及びマイフレンド情報103を提供情報として、ゲームサーバ5へ送信する(ステップS516)。具体的には、ユーザID記憶部82aを参照することにより、個人情報参照要求に検索キーとして含まれる拡張ユーザID130に対応するユーザID101を特定し、更に、個人情報記憶部82bを参照することにより、特定されたユーザID101に対応するユーザ情報107を検索し、検索されたユーザ情報107のニックネーム102及びマイフレンド情報103を抽出することにより提供情報を生成する。
利用確認処理において行われる処理の流れについて、図16のフローチャートに従って説明する。利用確認処理は連係サーバ8の利用確認部80aによって制御される。利用確認処理は、利用情報を送信したユーザ端末2のユーザがSNSサーバ3によって認証されているユーザ(“MySNS”を利用しているユーザ)であることを確認するための処理である。まず、ステップS800にて、発信元確認処理が行われる。発信元確認処理では、利用情報に含まれる電子署名情報により、利用情報の発信元がSNSサーバ3であるか否かが確認される。例えば、公開鍵暗号方式の場合は、SNSサーバ3で使用された公開鍵とペアの秘密鍵によって暗号化された署名をデコードし、デコードされた署名情報がSNSサーバ3を示すか否かにより確認する。
デコードされた署名がSNSサーバ3を示す場合、ステップS802にて、確認エラーではないと判断され、ステップS804へ進む。ステップS804では、発信時刻確認処理が行われる。発信時刻確認処理においては、利用情報に含まれる発信時刻情報に基づいて、ユーザ端末2のユーザが現在SNSサーバ3に認証されているユーザか否かを判断する。本形態では、発信時刻情報により、利用情報がSNSサーバ3から送信された発信時刻を特定し、特定した発信時刻と現在時刻とのタイムラグを算出する。
そして、当該タイムラグが所定範囲内である場合は、ユーザ端末2のユーザはSNSサーバ3に認証されているユーザとして確認される。認証されているユーザとして確認された場合は、ステップS806にて確認エラーではないと判断され、ステップS808へ進み、確認結果を“確認”に設定し、利用確認処理を終了する。このように、本形態では、タイムラグが所定範囲である場合は、利用情報がSNSサーバ3からユーザ端末2へ送信されてから所定時間以上経っていないことを示すため、利用情報を送信したユーザ端末2のユーザを、SNSサーバ3に認証されているユーザとしてみなしている。
ステップS800の発信元確認処理にて、暗号化された署名情報がデコードできない場合、またはデコードされた署名情報がSNSサーバ3を示さない場合は、ステップS802にて、確認エラーと判断し、ステップS810へ進み、確認結果を“エラー”に設定して利用確認処理を終了する。また、ステップS804の発信時刻確認処理における上記タイムラグが、所定範囲を超えている場合は、ユーザ端末2がSNSサーバ3に認証されてから所定時間を超えているため、現在は認証されているユーザとして確認できないため、ステップS806にて確認エラーと判断し、ステップS810へ進み、確認結果を“エラー”に設定し、利用確認処理を終了する。
本発明は、上記の形態に限らず種々の形態にて実行されてよい。例えば、サービス提供サーバ3は、コミュニティサイトを提供するSNSサーバ3に限らず、所定の認証情報に基づいて認証されたユーザにアクセスを許可し、そのアクセスを許可したユーザに所定のサービスを提供するサーバであればよい。サービス拡張システム1のネットワークNは、所定数のユーザ端末のみがアクセス可能なクローズ型ネットワークでもよく、また、ネットワークNを設けず、例えば、サービス拡張システム1内の各構成は専用回線で接続されていてもよい。ユーザ端末用プログラム110が保持されるURLが固定されている場合は、URL解決サーバ7を設けなくてもよい。この場合は、画面プログラムに、URL要求の代わりに、目的のユーザ端末用プログラム110が保持されているプログラム提供サーバ6のURLを送信先とするプログラム要求を設定すればよい。
1つのゲームサーバ5が3つのゲームA、B、Cのサーバとして機能するように構成してもよい。この場合、全てのゲームのユーザ端末プログラム110に、ユーザ端末2が拡張アクセス情報を同じゲームサーバ5へ送信するように設定し、また、送信される拡張アクセス情報に、選択されたゲームのゲーム識別情報120を含ませるように設定すればよい。そして、ゲームサーバ5では、ゲーム識別情報120に応じた処理が行われるように構成すればよい。
複数のSNSサーバ3に対して、1つの拡張提供システム4を対応させてもよい。この場合、例えば、各SNSサーバ3が管理するコミュニティを識別するためのコミュニティIDが利用情報に含まれるように構成する。コミュニティIDとして、一般の通信方式の伝送データに含まれる送信元情報を示す情報を利用してもよい。そして、連係サーバ8は、個人情報記憶部82bにユーザ情報107とコミュニティIDを対応付けて記憶する。ゲームサーバ5は、特定のユーザのコミュニティIDをニックネーム102と同様の方法で連係サーバ8から取得し、例えば、同じコミュニティに属するユーザ間でゲームが行われるように処理する。
更に、連係サーバ8は、拡張ユーザIDと同様に、拡張システム内4で使用される拡張コミュニティIDを各コミュニティIDに対して生成し、その対応関係を記憶するコミュニティID記憶部を記憶部82に設けてもよい。
拡張サービスとして提供されるゲームが1つの場合、URL解決サーバ7及びプログラム提供サーバ8は設けなくてもよい。この場合のサービス拡張システム1´のシステム構成図を図17に示す。サービス拡張システム1´では、ユーザ端末用プログラム110を連係サーバ8の記憶部82に保持させ、ゲームサーバ5と連係サーバ8とゲーム認証情報発行サーバ9とで拡張提供システム4が構成される。サービス拡張システム1´においては、コミュニティ開始画面SIにてゲームが選択されると、プログラム要求がユーザ端末2から連係サーバ5へ送信されるようにコミュニティ開始画面SIの画面プログラムを構成すればよい。そして、ユーザ端末2は連係サーバ5から取得したプログラムを起動すればよい。
また、特定のユーザ端末2のみがサービス拡張システム1を構成する場合は、ユーザ端末用プログラム110を予めユーザ端末2に記憶させておいてもよい。その場合は、コミュニティ開始画面SIの画面プログラムに、コミュニティ開始画面SIにて所定のゲームが選択されると、選択されたゲームに対応するユーザ端末用プログラム110がユーザ端末2にて直ちに起動するように構成すればよい。
なお、ゲーム認証情報発行サーバ9のゲーム認証情報生成部90a及びゲーム認証情報記憶部92を、連係サーバ8の制御ユニット80及び記憶部82にそれぞれ設け、ゲーム認証情報発行サーバ9を省略してもよい。その場合は、ゲームサーバ5における拡張確認処理では、連係サーバ8にアクセスすることにより、ユーザ端末2から取得したゲーム認証情報の真偽を確認する。
(2)第2の形態
拡張サービスは、第1の形態のように他のユーザとネットワークゲームに限らず、例えば、ユーザに対して所定の情報(1人のユーザによってプレイされるゲームも含む)を提供するサービスであってもよい。このような拡張サービスを提供する第2の形態としてのサービス拡張システム300の一例を図18に示す。以下、主に、第1の形態と異なる部分について説明する。図18のサービス拡張システム300においては、拡張提供システム4は拡張サーバ310のみで構成される。サービス拡張システム300のSNSサーバ3は、サービスとして、特定の料理学校の生徒用のコミュニティサイトを提供し、拡張サーバ310は、拡張サービスとして、SNSサーバ3に認証されているユーザ(生徒)に対して「お薦めレストラン情報」を提供する場合について説明する。
拡張サーバ310のハードウェア構成は、図19に示すように、通信部311、記憶部312、及び制御ユニット313を有し、記憶部312には、ユーザ端末用プログラム110´及びレストラン情報RIを保持し、制御ユニット313は主に利用確認部313a及び拡張サービス提供部313bとして機能する。レストラン情報RIは、複数のレストランのそれぞれについて、料理種別、価格、場所、利用年齢層等の項目等レストランに関する情報が設定されている。ユーザ端末用プロラム110´は、ユーザ端末2に、利用情報をSNSサーバ3へ要求させ、SNSサーバ3から取得した利用情報を拡張サーバ310へ送信させ、更に、拡張サーバ310からの「お薦めレストラン情報」をモニタに表示させるように構成されている。即ち、ユーザ端末2の制御ユニット20を、利用情報要求部20a、利用情報転送部20b及び、拡張サービス提供部20bとして機能させるように構成されている。、
SNSサーバ3が保持するユーザ関連情報100´は、例えば、ユーザIDとしての生徒ID、パスワード、年齢及び生徒が所属する所属クラスで構成され、ユーザ情報107´には生徒ID、年齢及び所属クラスが含まれる。コミュニティ開始画面SIの画面プログラムは、「お薦めレストラン情報」を選択するための選択エリアSIdが表示され、当該選択エリアが選択されるとプログラム要求が拡張サーバ310に送信されるように構成されている。
ユーザ端末2がSNSサーバ3に認証され、モニタに「お薦めレストラン情報」が表示されるまでの処理の流れについて、図20のシーケンス図に従って説明する。各構成における処理は、各構成の制御ユニット20、30、313により制御される。まず、ステップS110及びステップS230を経て、ユーザ端末2にコミュニティ開始画面SIが表示される処理は第1の形態と同様である。コミュニティ開始画面SIにて「お薦めレストラン情報」が選択されると、ユーザ端末2はプログラム要求を拡張サーバ310へ送信する(ステップS232)。プログラム要求を取得した拡張サーバ310は、ユーザ端末用プログラム110´をユーザ端末2へダウンロードする(ステップS520)。
ユーザ端末用プログラム110´を取得したユーザ端末2は、これを起動し(ステップS234)、利用情報要求をSNSサーバ3へ送信する(ステップS236)。これにより、ユーザ端末2の制御ユニット20は、利用情報要求部20aとして機能する。利用情報を取得したSNSサーバ3は、ユーザ情報107´、発信時刻情報、及び電子署名情報を含む利用情報を生成して送信する(ステップS112)。これにより、SNSサーバ3の制御ユニット30は、利用情報送信部30aとして機能する。利用情報を取得したユーザ端末2は、その利用情報を拡張サーバ310へ送信する(ステップS238)。これにより、ユーザ端末2の制御ユニット20は、利用情報転送部20bとして機能する。利用情報を取得した拡張サーバ310は、第1の形態と同様の利用確認処理を行う(ステップS522)。これにより、拡張サーバ310の制御ユニット313は、利用確認部313aとして機能する。
続いて、利用確認処理による確認結果が参照され(ステップS524)、確認結果が“エラー”の場合は、拡張サーバ310はエラーメッセージをユーザ端末2へ送信する(ステップS526)。そして、ユーザ端末2は取得したエラーメッセージをモニタに表示する(ステップS240)。確認結果が“確認”の場合は、拡張サーバ310は選択情報としての「お薦めレストラン情報」を生成してユーザ端末2へ送信する(ステップS528)。これにより、拡張サーバ310の制御ユニット313は、拡張サービス提供部313bとして機能する。
「お薦めレストラン情報」は、例えば、利用情報に含まれるユーザ情報107´の年齢及び所属クラスを参照し、年齢及び所属クラスに応じた料理や価格のレストランをレストラン情報RIから抽出することにより生成する。「お薦めレストラン情報」を取得したユーザ端末2は当該情報をモニタに表示する(ステップS242)。こにより、ユーザ端末の制御ユニット20は拡張サービス対応部20cとして機能する。
以上の処理により、コミュニティ開始画面SIにて「お薦めレストラン情報」を選択したユーザに、そのユーザが所属するクラス及び年齢に応じたレストラン情報を提供することができる。なお、拡張サーバ310が提供する情報が特定された情報である場合は、ユーザ情報107´を利用情報に含ませる必要はなく、拡張サーバ310は、利用情報を送信したユーザ端末2に対して、当該特定された情報を拡張サービスに関する情報として、ユーザ端末2へ送信すればよい。
更に、複数の拡張サーバ310が備えられ、各拡張サーバ310が互いに異なるテーマの情報を拡張サービスとしてユーザに提供する場合は、拡張提供システム4を、URL解決サーバ7、プログラム提供サーバ6、及び複数の拡張サーバ310で構成すればよい。プログラム提供サーバ6は、各拡張サーバ310用のユーザ端末用プログラム110´を保持する。各のユーザ端末用プロプログラム110´は、サービス拡張システム300におけるユーザ端末プログラム110´と同様であるが、利用情報の送信先が、選択された拡張サービスを提供する拡張サーバ310となるように設定されている。
コミュニティ開始画面SIの画面プログラムには、コミュニティ画面SIに複数種類の拡張サービスが一覧された選択エリアSIdが表示され、ユーザの選択操作により選択された拡張サービスのサービス識別情報を含むURL要求がURL解決サーバ7に送信されるように設定する。その後のURL解決サーバ7及びプログラム提供サーバ6の動作は第1の形態と同様に、サービス識別情報に対応するユーザ端末用プログラム110´がプログラム提供サーバ6からユーザ端末2へダウンロードされる。
なお、第1の形態と同様に、特定のユーザ端末2のみがサービス拡張システム300を構成する場合は、ユーザ端末用プログラム110´を予めユーザ端末2に記憶させておいてもよい。その場合は、コミュニティ開始画面SIにて所定のゲームが選択されると、ユーザ端末2にてユーザ端末用プログラム110´が直ちに起動されるように構成すればよい。
本発明のゲーム拡張システムの第1の形態の一例を示す図。 第1の形態のゲーム拡張システムにおけるユーザ端末のハードウェア構成を示す図。 第1の形態のゲーム拡張システムにおけるサービス提供サーバのハードウェア構成を示す図。 サービス提供サーバによってユーザ端末に表示されるコミュニティ開始画面の一例を示す図。 ユーザ関連情報のデータ項目の一例を示す図。 第1の形態のゲーム拡張システムにおけるURL解決サーバのハードウェア構成を示す図。 第1の形態のゲーム拡張システムにおけるプログラム提供サーバのハードウェア構成を示す図。 ユーザ端末用プログラムの一例を示す図。 第1の形態のゲーム拡張システムにおける連係サーバのハードウェア構成を示す図。 ユーザID記憶部に記憶されているデータのデータ構造を示すフローチャート。 第1の形態のゲーム拡張システムにおけるゲーム認証情報発行サーバのハードウェア構成を示す図。 第1の形態のゲーム拡張システムにおけるゲームサーバのハードウェア構成を示す図。 ユーザ端末がユーザ端末用プログラムを取得するまでの処理の流れを示すシーケンス図。 ユーザ端末が拡張アクセス情報を取得するまでの処理の流れを示すシーケンス図。 ユーザ端末にてゲームが開始されるまでの処理の流れを示すシーケンス図。 連係サーバが実行する利用確認処理における処理の流れを示すフローチャート。 第1の形態のサービス拡張システムの他の例を示す図。 本発明のサービス拡張システムの第2の形態の一例を示す図。 第2の形態のサービス拡張システムの拡張サーバのハードウェア構成を示す図。 第2の形態のサービス拡張システムにおける各構成の処理の流れを示すシーケンス図。
符号の説明
1、1´、300 サービス拡張システム
2 ユーザ端末
3 サービス提供サーバ
4 拡張提供システム
5 ゲームサーバ
6 プログラム提供サーバ
7 URL解決サーバ
8 連係サーバ
9 拡張発信元情報発行サーバ
N ネットワーク
310 拡張サーバ

Claims (10)

  1. ユーザの操作を受け付ける操作入力部、及び、所定の情報を出力する出力部を有するユーザ端末と、
    前記ユーザ端末を操作するユーザの認証処理を行い、前記認証処理により認証が成立したユーザのユーザ端末にアクセスを許可し、前記ユーザ端末の要求に応じて所定のサービスを提供するサービス提供サーバと、
    前記アクセスが許可されたユーザ端末のユーザに対して拡張サービスを提供する拡張提供システムと、
    を備えるサービス拡張システムであって、
    前記サービス提供サーバは、
    前記アクセスを許可したユーザ端末から利用情報要求を取得すると、利用情報が前記サービス提供サーバから発信されたことを示す発信元情報及び、前記利用情報が発信される発信時刻情報をその利用情報に含ませて、前記ユーザ端末へ送信する利用情報送信部を有し、
    前記拡張提供システムは、
    前記ユーザ端末から前記利用情報を取得し、前記発信元情報によって、前記利用情報の発信元が前記サービス提供サーバであることを確認し、かつ、前記発信時刻情報に基づいて、前記ユーザ端末に対して前記アクセスが許可されていることを確認する利用確認処理を行う利用確認部と、
    前記利用確認処理における確認がされると、前記ユーザ端末に対して、前記拡張サービスに関する情報の提供を開始する拡張サービス提供部とを、1つのサーバ、または複数のサーバに分散して備え、
    前記ユーザ端末は、
    前記アクセスが許可された状態において、前記ユーザによって前記拡張サービスの要求操作があると、前記利用情報を要求する利用情報要求を前記サービス提供サーバへ送信する利用情報要求部と、
    前記サービス提供サーバから前記利用情報を取得すると、その利用情報を前記拡張提供システムの前記利用確認部を備えるサーバへ転送する利用情報転送部と、
    前記拡張提供システムから提供される前記拡張サービスに関する情報に応じた出力を、前記出力部にて行う拡張サービス対応部と、を有する
    ことを特徴とするサービス拡張システム。
  2. 前記拡張提供システムは、前記利用確認部と前記拡張サービス提供部を有する拡張サーバで構成され、
    前記サービス提供サーバは、前記認証処理によって認証されるべき複数のユーザのそれぞれに関して、少なくとも1つの項目で構成されるユーザ情報を記憶するユーザ情報記憶部を有し、
    前記拡張サーバは、所定のテーマに関する複数の情報を記憶する情報記憶部を更に備え、
    前記サービス提供サーバの前記利用情報送信部は、前記利用情報要求を送信したユーザ端末のユーザに対応する前記ユーザ情報を前記ユーザ情報記憶部から取得し、取得した前記ユーザ情報を前記利用情報に更に含ませ、
    前記ユーザ端末の利用情報転送部は、前記利用情報を前記拡張サーバへ送信し、
    前記拡張サーバの拡張サービス提供部は、取得した前記利用情報の前記ユーザ情報を構成する少なくとも1つの項目の内容に基づいて前記複数の情報から選択情報を生成し、前記選択情報を前記拡張サービスに関する情報として前記ユーザ端末に提供し、
    前記ユーザ端末の拡張サービス対応部は、前記選択情報に応じた出力を前記出力部にて行う、ことを特徴とする請求項1に記載のサービス拡張システム。
  3. 前記拡張提供システムは、
    前記ユーザ端末から拡張情報を取得すると、前記ユーザ端末からのアクセスを許可して前記拡張サービスに関する情報の提供を開始する前記拡張サービス提供部を有する拡張サービス提供サーバと、
    前記利用確認部、及び
    前記利用確認処理における確認がされると、前記ユーザ端末が前記拡張サービス提供サーバへのアクセスが許可されるための拡張情報を生成して前記ユーザ端末へ送信する拡張情報生成部を有する連係サーバと、で構成され、
    前記ユーザ端末は、
    前記連係サーバから前記拡張情報を取得すると、前記拡張サービス提供サーバへ前記拡張情報を送信する拡張情報送信部を有する、ことを特徴とする請求項1に記載のサービス拡張システム。
  4. 前記拡張提供システムは、前記拡張情報が前記連係サーバから発信されたことを示すための拡張発信元情報を要求する拡張発信元情報要求を、前記連係サーバから取得すると、前記拡張発信元情報を生成して前記連係サーバへ送信する拡張発信元情報生成部を有する拡張発信元情報生成サーバを更に有し、
    前記連係サーバの拡張情報生成部は、前記利用確認部によって確認がされると、生成する拡張情報に対しての前記拡張発信元情報を要求する前記拡張発信元情報要求を前記拡張発信元情報生成サーバへ送信し、前記拡張発信元情報を前記拡張発信元情報生成サーバから取得し、前記拡張発信元情報を対応する前記拡張情報に含ませて前記ユーザ端末へ送信し、
    前記拡張サービス提供サーバは、前記ユーザ端末から取得した拡張情報に含まれる拡張発信元情報に基づいて、前記拡張情報が前記連係サーバから送信されたことを確認する拡張発信確認部を有し、
    前記拡張サービス提供部は、前記拡張発信確認部によって前記拡張情報が前記連係サーバから発信されたことが確認されると、その拡張情報を送信したユーザ端末に対してアクセスを許可し、前記拡張サービスに関する情報の提供を開始する、ことを特徴とする請求項3に記載のサービス拡張システム。
  5. 前記サービス提供サーバは、前記認証処理によって認証されるべき複数のユーザのそれぞれに関する情報が、各ユーザを識別するユーザ識別情報を含むユーザ情報を記憶するユーザ情報記憶部を有し、
    前記利用情報送信部は、前記利用情報要求を送信したユーザ端末のユーザに対応する前記ユーザ情報を前記ユーザ情報記憶部から取得し、取得した前記ユーザ情報を前記利用情報に更に含ませ、
    前記連係サーバの拡張情報生成部は、前記利用確認処理における確認がされると、前記利用情報に含まれるユーザ情報の少なくとも前記ユーザ識別情報を含む前記拡張情報を生成し、
    前記拡張サービス提供サーバの拡張サービス提供部は、前記拡張情報に含まれる前記ユーザ識別情報に基づいて各ユーザを識別した処理を行う、ことを特徴とする請求項3又は4に記載のサービス拡張システム。
  6. 前記連係サーバは、前記ユーザ端末から取得した前記ユーザ情報を記憶する拡張ユーザ情報記憶部を有し、
    前記連係サーバの拡張情報生成部は、前記利用確認処理における確認がされると、前記取得した利用情報に含まれるユーザ情報を前記拡張ユーザ情報記憶部に記憶し、前記ユーザ情報のユーザ識別情報を含む前記拡張情報を生成し、
    前記拡張サービス提供サーバの拡張サービス提供部は、前記アクセスが許可されたユーザ端末のユーザのユーザ識別情報を検索キーにして、前記拡張ユーザ情報記憶部に記憶されたユーザ情報を参照し、前記ユーザ情報に基づいて前記拡張サービスに関する情報を生成する、ことを特徴とする請求項5に記載のサービス拡張システム。
  7. 前記連係サーバの拡張情報生成部は、前記利用確認処理における確認がされると、前記ユーザ情報に含まれるユーザ識別情報に対して、前記拡張サービス提供サーバ用の識別情報である拡張ユーザ識別情報を生成し、前記ユーザ情報を対応する拡張ユーザ情報と対応付けて前記拡張ユーザ情報記憶部に記憶し、前記拡張ユーザ識別情報を前記ユーザ識別情報として前記拡張アクセス情報に含ませ、
    前記拡張サービス提供サーバの拡張サービス提供部は、前記拡張ユーザ識別情報によって各ユーザを識別した処理を行う、ことを特徴とする請求項5又は6に記載のサービス提供システム。
  8. 前記拡張提供システムには、
    前記ユーザ端末にて起動し、前記ユーザ端末を前記利用情報要求部、前記利用情報転送部、及び前記拡張サービス対応部として機能させる起動プログラムを記憶する提供プログラム記憶部と、前記ユーザ端末からプログラム要求を取得すると前記起動プログラムを前記ユーザ端末へ送信するプログラム提供部とを有するプログラム提供サーバが更に備えられ、
    前記ユーザ端末は、
    前記アクセスが許可された後に、前記拡張サービスの要求操作があると、前記プログラム提供サーバにプログラム要求を送信して、前記起動プログラムを取得し、前記起動プログラムを起動させるプログラム起動部を更に備えることを特徴とする、請求項1又は2に記載のサービス拡張システム。
  9. 前記拡張提供システムには、
    前記ユーザ端末にて起動し、前記ユーザ端末を前記利用情報要求部及び前記利用情報転送部として機能させる起動プログラムと、前記ユーザ端末を、前記拡張情報送信部及び前記拡張サービス対応部として機能させるように構成された拡張サービスプログラムと、を含むユーザ端末用プログラムが、前記所定の拡張サービスに固有のサービス識別情報に対応付けられて記憶された提供プログラム記憶部と、前記ユーザ端末に前記ユーザ用プログラムを送信するプログラム提供部とを有するプログラム提供サーバが更に備えられ、
    前記サービス提供サーバは、前記アクセスが許可されたユーザ端末の出力部に、複数種類の拡張サービスからいずれか1つの拡張サービスを選択可能な選択メニューを出力させ、拡張サービスの提供の要求操作として1つの拡張サービスが選択されると、選択された拡張サービスに対応するサービス識別情報を含むプログラム要求を前記プログラム提供サーバへ送信させるように構成された画面プログラムを記憶する画面プログラム記憶部を有し、
    前記ユーザ端末は、
    前記画面プログラムを前記サービス提供サーバから取得すると、前記画面プログラムに従って機能する画面プログラム実行部と、
    前記ユーザ端末用プログラムを取得すると前記起動プログラムを起動させるプログラム起動部と、を有し、
    前記プログラム提供サーバのプログラム提供部は、前記ユーザ端末から送信されたプログラム要求に含まれるサービス識別情報に対応するユーザ端末用プログラムを、前記ユーザ端末に送信する、ことを特徴とする請求項4〜8のいずれか1項に記載のサービス拡張システム。
  10. ユーザ端末を操作するユーザの認証処理を行い、前記認証処理により認証が成立したユーザのユーザ端末にアクセスを許可し、前記ユーザ端末の要求に応じて所定のサービスを提供するサービス提供サーバと、
    前記ユーザ端末から拡張サービスの提供を許可するための拡張情報を取得すると、前記ユーザ端末に対して拡張サービスの提供を開始する拡張サービス提供サーバと、
    前記ユーザ端末と所定の情報を送受信する連係サーバと、
    前記サービス提供サーバから利用情報の発信元情報及び発信時刻情報を含む前記利用情報を取得して前記連係サーバへ送信し、前記拡張情報を前記連係サーバから取得して前記拡張サービス提供サーバへ送信するユーザ端末と、
    を備えるサービス拡張システムに含まれる前記連係サーバであって、
    前記ユーザ端末から前記利用情報を取得すると、前記発信元情報によって、前記利用情報の発信元が前記サービス提供サーバであることを確認し、かつ、前記発信時刻情報に基づいて、前記ユーザ端末に対して前記アクセスが許可されていることを確認する利用確認処理を行う利用確認部と、
    前記利用確認処理における確認がされると、前記拡張情報を生成して前記ユーザ端末へ送信する拡張情報生成部とを有する、ことを特徴とする連係サーバ。
JP2008233778A 2008-09-11 2008-09-11 サービス拡張システム及び連係サーバ Active JP4526583B2 (ja)

Priority Applications (4)

Application Number Priority Date Filing Date Title
JP2008233778A JP4526583B2 (ja) 2008-09-11 2008-09-11 サービス拡張システム及び連係サーバ
PCT/JP2009/062533 WO2010029807A1 (ja) 2008-09-11 2009-07-09 サービス拡張システム及び連係サーバ
CN2009801351002A CN102150168A (zh) 2008-09-11 2009-07-09 服务扩展系统以及联系服务器
TW098129404A TW201011556A (en) 2008-09-11 2009-09-01 Service extending system and link server

Applications Claiming Priority (1)

Application Number Priority Date Filing Date Title
JP2008233778A JP4526583B2 (ja) 2008-09-11 2008-09-11 サービス拡張システム及び連係サーバ

Publications (2)

Publication Number Publication Date
JP2010067076A true JP2010067076A (ja) 2010-03-25
JP4526583B2 JP4526583B2 (ja) 2010-08-18

Family

ID=42005068

Family Applications (1)

Application Number Title Priority Date Filing Date
JP2008233778A Active JP4526583B2 (ja) 2008-09-11 2008-09-11 サービス拡張システム及び連係サーバ

Country Status (4)

Country Link
JP (1) JP4526583B2 (ja)
CN (1) CN102150168A (ja)
TW (1) TW201011556A (ja)
WO (1) WO2010029807A1 (ja)

Cited By (3)

* Cited by examiner, † Cited by third party
Publication number Priority date Publication date Assignee Title
WO2013069641A1 (ja) * 2011-11-09 2013-05-16 株式会社コナミデジタルエンタテインメント 情報連動システム
KR101308025B1 (ko) * 2011-04-05 2013-09-12 현주훈 소셜 네트워크 구성을 통한 정보 확산 시스템 및 방법
JP2013257858A (ja) * 2012-06-12 2013-12-26 Line Corp メッセンジャープラットフォームの人間関係を基盤とするソーシャルグラフを活用したメッセンジャー連携サービスシステムおよび方法

Families Citing this family (2)

* Cited by examiner, † Cited by third party
Publication number Priority date Publication date Assignee Title
WO2018233586A1 (en) * 2017-06-20 2018-12-27 Beijing Didi Infinity Technology And Development Co., Ltd. SYSTEMS AND METHODS FOR PROCESSING DATA RELATING TO ONLINE-OFFLINE SERVICE
US12432069B2 (en) * 2020-12-26 2025-09-30 Xi'an Creation Keji Co. , Ltd. Blockchain-based electronic medical record sharing method and electronic device

Citations (6)

* Cited by examiner, † Cited by third party
Publication number Priority date Publication date Assignee Title
JPH1196099A (ja) * 1997-09-19 1999-04-09 Hitachi Ltd サービス提供システム
JP2004062876A (ja) * 2002-06-05 2004-02-26 Hitachi Ltd 従業員向けトータルサービス支援システム及びその支援方法
JP2005107821A (ja) * 2003-09-30 2005-04-21 Sony Corp 通信装置、通信装置の通信方法、および通信装置の通信プログラム
JP2005525622A (ja) * 2002-02-04 2005-08-25 ジェネラル・インスツルメント・コーポレーション 許可の第三者認証を提供するための方法およびシステム
JP2007018489A (ja) * 2005-03-25 2007-01-25 Zeroeks Kk プログラム,サービス提供システム及び情報提供方法
WO2007038761A2 (en) * 2005-09-28 2007-04-05 Feeva, Inc. Systems and methods of network operation and information processing, including data acquisition, processing and provision and/or interoperability features

Patent Citations (6)

* Cited by examiner, † Cited by third party
Publication number Priority date Publication date Assignee Title
JPH1196099A (ja) * 1997-09-19 1999-04-09 Hitachi Ltd サービス提供システム
JP2005525622A (ja) * 2002-02-04 2005-08-25 ジェネラル・インスツルメント・コーポレーション 許可の第三者認証を提供するための方法およびシステム
JP2004062876A (ja) * 2002-06-05 2004-02-26 Hitachi Ltd 従業員向けトータルサービス支援システム及びその支援方法
JP2005107821A (ja) * 2003-09-30 2005-04-21 Sony Corp 通信装置、通信装置の通信方法、および通信装置の通信プログラム
JP2007018489A (ja) * 2005-03-25 2007-01-25 Zeroeks Kk プログラム,サービス提供システム及び情報提供方法
WO2007038761A2 (en) * 2005-09-28 2007-04-05 Feeva, Inc. Systems and methods of network operation and information processing, including data acquisition, processing and provision and/or interoperability features

Cited By (6)

* Cited by examiner, † Cited by third party
Publication number Priority date Publication date Assignee Title
KR101308025B1 (ko) * 2011-04-05 2013-09-12 현주훈 소셜 네트워크 구성을 통한 정보 확산 시스템 및 방법
WO2013069641A1 (ja) * 2011-11-09 2013-05-16 株式会社コナミデジタルエンタテインメント 情報連動システム
JP2013257858A (ja) * 2012-06-12 2013-12-26 Line Corp メッセンジャープラットフォームの人間関係を基盤とするソーシャルグラフを活用したメッセンジャー連携サービスシステムおよび方法
US11388119B2 (en) 2012-06-12 2022-07-12 Line Corporation Messenger-linked service system and method using a social graph of a messenger platform
US11863506B2 (en) 2012-06-12 2024-01-02 Line Corporation Messenger-linked service system and method using a social graph of a messenger platform
US12184596B2 (en) 2012-06-12 2024-12-31 Ly Corporation Messenger-linked service system and method using a social graph of a messenger platform

Also Published As

Publication number Publication date
WO2010029807A1 (ja) 2010-03-18
TW201011556A (en) 2010-03-16
JP4526583B2 (ja) 2010-08-18
CN102150168A (zh) 2011-08-10

Similar Documents

Publication Publication Date Title
JP4764451B2 (ja) 属性情報開示システム、属性情報開示方法および属性情報開示処理プログラム
US8600360B1 (en) Method and system for connecting people in a social network
US9661092B2 (en) Method and apparatus for providing presence information
KR20090017629A (ko) 프레즌스 서버의 사용자 상태 원격 업데이트
JP5309496B2 (ja) 認証システムおよび認証方法
CN105706416B (zh) 用于网络接入的用户设备和计算机可读介质
WO2007006008A2 (en) Capturing contacts via people near me
JP2013161284A (ja) アプリケーションシステム、アプリケーションインストール方法、アプリケーションサーバ、プログラム
JP4526583B2 (ja) サービス拡張システム及び連係サーバ
JP2011081575A (ja) プロフィール情報管理システム
JPWO2014128836A1 (ja) 情報処理システム
JP2005197880A (ja) 情報配信システム、情報配信方法、移動体、サーバ及び情報配信端末
JP2009176289A (ja) サービス提供システム、サービス提供方法およびサービス提供プログラム
EP2309390B1 (en) Data distribution system
JP2009043043A (ja) Sipを用いた認証システムおよび認証方法
KR20090006504A (ko) 아이피 멀티미디어 서브시스템에서 피투피 서비스 제공방법 및 장치
JP2005056246A (ja) 情報端末装置、サーバ装置およびプログラム
EP2712148A1 (en) Method and system for providing presence information
JP6348622B2 (ja) 情報処理システム
KR100640512B1 (ko) 메신저 서비스 시스템을 이용한 서버와 사용자 단말기간에 데이터 동기화 방법 및 그 시스템
JP4846624B2 (ja) 認証代理装置、認証代理方法、及び認証代理プログラム
JP4370849B2 (ja) 情報端末装置、サーバ装置およびプログラム
JP4826627B2 (ja) 情報端末装置、情報端末装置の処理方法およびプログラム
JPWO2020039494A1 (ja) 仮想通貨管理システム及び方法
JP2005258671A (ja) 情報処理端末、システムおよび情報処理端末のグループ形成方法

Legal Events

Date Code Title Description
A131 Notification of reasons for refusal

Free format text: JAPANESE INTERMEDIATE CODE: A131

Effective date: 20100309

A521 Request for written amendment filed

Free format text: JAPANESE INTERMEDIATE CODE: A523

Effective date: 20100507

TRDD Decision of grant or rejection written
A01 Written decision to grant a patent or to grant a registration (utility model)

Free format text: JAPANESE INTERMEDIATE CODE: A01

Effective date: 20100525

A01 Written decision to grant a patent or to grant a registration (utility model)

Free format text: JAPANESE INTERMEDIATE CODE: A01

A61 First payment of annual fees (during grant procedure)

Free format text: JAPANESE INTERMEDIATE CODE: A61

Effective date: 20100601

FPAY Renewal fee payment (event date is renewal date of database)

Free format text: PAYMENT UNTIL: 20130611

Year of fee payment: 3

R150 Certificate of patent or registration of utility model

Free format text: JAPANESE INTERMEDIATE CODE: R150

Ref document number: 4526583

Country of ref document: JP

Free format text: JAPANESE INTERMEDIATE CODE: R150

FPAY Renewal fee payment (event date is renewal date of database)

Free format text: PAYMENT UNTIL: 20130611

Year of fee payment: 3

RD04 Notification of resignation of power of attorney

Free format text: JAPANESE INTERMEDIATE CODE: R3D04

FPAY Renewal fee payment (event date is renewal date of database)

Free format text: PAYMENT UNTIL: 20130611

Year of fee payment: 3

FPAY Renewal fee payment (event date is renewal date of database)

Free format text: PAYMENT UNTIL: 20140611

Year of fee payment: 4

R250 Receipt of annual fees

Free format text: JAPANESE INTERMEDIATE CODE: R250

R250 Receipt of annual fees

Free format text: JAPANESE INTERMEDIATE CODE: R250

R250 Receipt of annual fees

Free format text: JAPANESE INTERMEDIATE CODE: R250

R250 Receipt of annual fees

Free format text: JAPANESE INTERMEDIATE CODE: R250

R250 Receipt of annual fees

Free format text: JAPANESE INTERMEDIATE CODE: R250

R250 Receipt of annual fees

Free format text: JAPANESE INTERMEDIATE CODE: R250

R250 Receipt of annual fees

Free format text: JAPANESE INTERMEDIATE CODE: R250

R250 Receipt of annual fees

Free format text: JAPANESE INTERMEDIATE CODE: R250

R250 Receipt of annual fees

Free format text: JAPANESE INTERMEDIATE CODE: R250

R250 Receipt of annual fees

Free format text: JAPANESE INTERMEDIATE CODE: R250

R250 Receipt of annual fees

Free format text: JAPANESE INTERMEDIATE CODE: R250

R250 Receipt of annual fees

Free format text: JAPANESE INTERMEDIATE CODE: R250

R250 Receipt of annual fees

Free format text: JAPANESE INTERMEDIATE CODE: R250