JP2010066610A - トナーの製造方法およびトナー、現像剤、現像装置ならびに画像形成装置 - Google Patents
トナーの製造方法およびトナー、現像剤、現像装置ならびに画像形成装置 Download PDFInfo
- Publication number
- JP2010066610A JP2010066610A JP2008233978A JP2008233978A JP2010066610A JP 2010066610 A JP2010066610 A JP 2010066610A JP 2008233978 A JP2008233978 A JP 2008233978A JP 2008233978 A JP2008233978 A JP 2008233978A JP 2010066610 A JP2010066610 A JP 2010066610A
- Authority
- JP
- Japan
- Prior art keywords
- toner
- liquid
- particles
- resin fine
- fine particles
- Prior art date
- Legal status (The legal status is an assumption and is not a legal conclusion. Google has not performed a legal analysis and makes no representation as to the accuracy of the status listed.)
- Granted
Links
Images
Classifications
-
- G—PHYSICS
- G03—PHOTOGRAPHY; CINEMATOGRAPHY; ANALOGOUS TECHNIQUES USING WAVES OTHER THAN OPTICAL WAVES; ELECTROGRAPHY; HOLOGRAPHY
- G03G—ELECTROGRAPHY; ELECTROPHOTOGRAPHY; MAGNETOGRAPHY
- G03G9/00—Developers
- G03G9/08—Developers with toner particles
- G03G9/093—Encapsulated toner particles
- G03G9/09392—Preparation thereof
-
- G—PHYSICS
- G03—PHOTOGRAPHY; CINEMATOGRAPHY; ANALOGOUS TECHNIQUES USING WAVES OTHER THAN OPTICAL WAVES; ELECTROGRAPHY; HOLOGRAPHY
- G03G—ELECTROGRAPHY; ELECTROPHOTOGRAPHY; MAGNETOGRAPHY
- G03G9/00—Developers
- G03G9/08—Developers with toner particles
- G03G9/0802—Preparation methods
- G03G9/0808—Preparation methods by dry mixing the toner components in solid or softened state
-
- G—PHYSICS
- G03—PHOTOGRAPHY; CINEMATOGRAPHY; ANALOGOUS TECHNIQUES USING WAVES OTHER THAN OPTICAL WAVES; ELECTROGRAPHY; HOLOGRAPHY
- G03G—ELECTROGRAPHY; ELECTROPHOTOGRAPHY; MAGNETOGRAPHY
- G03G9/00—Developers
- G03G9/08—Developers with toner particles
- G03G9/0802—Preparation methods
- G03G9/081—Preparation methods by mixing the toner components in a liquefied state; melt kneading; reactive mixing
-
- G—PHYSICS
- G03—PHOTOGRAPHY; CINEMATOGRAPHY; ANALOGOUS TECHNIQUES USING WAVES OTHER THAN OPTICAL WAVES; ELECTROGRAPHY; HOLOGRAPHY
- G03G—ELECTROGRAPHY; ELECTROPHOTOGRAPHY; MAGNETOGRAPHY
- G03G9/00—Developers
- G03G9/08—Developers with toner particles
- G03G9/0825—Developers with toner particles characterised by their structure; characterised by non-homogenuous distribution of components
-
- G—PHYSICS
- G03—PHOTOGRAPHY; CINEMATOGRAPHY; ANALOGOUS TECHNIQUES USING WAVES OTHER THAN OPTICAL WAVES; ELECTROGRAPHY; HOLOGRAPHY
- G03G—ELECTROGRAPHY; ELECTROPHOTOGRAPHY; MAGNETOGRAPHY
- G03G9/00—Developers
- G03G9/08—Developers with toner particles
- G03G9/097—Plasticisers; Charge controlling agents
- G03G9/09733—Organic compounds
Landscapes
- Physics & Mathematics (AREA)
- General Physics & Mathematics (AREA)
- Developing Agents For Electrophotography (AREA)
Abstract
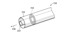
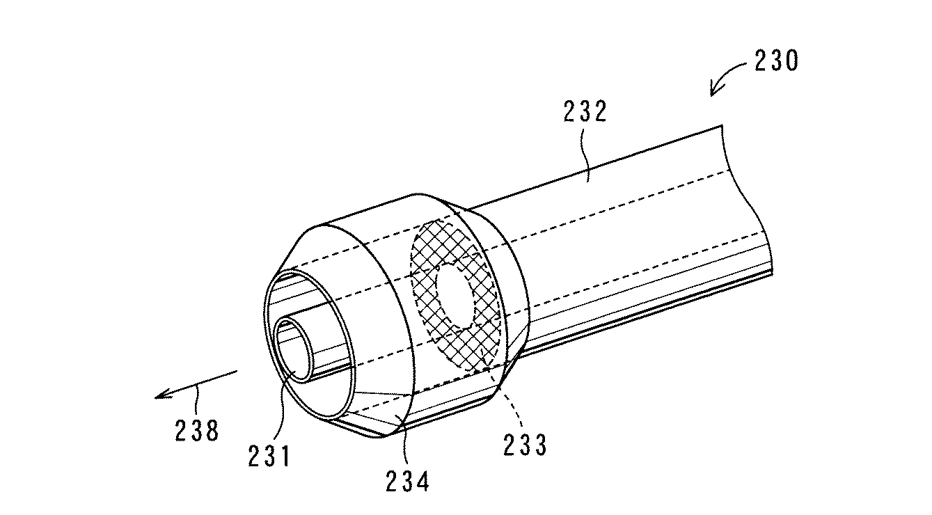
【解決手段】 トナーの製造方法は、回転撹拌装置を用いる。回転撹拌装置は、循環手段と、温度調整手段と、二流体ノズル230からなる噴霧手段とを少なくとも備える。前記二流体ノズル230は、液管231と空気管232とを含み、液管231および空気管232の軸が一致するよう空気管232の内部に液管231が挿入され、液管231および空気管232の少なくとも一部をそれらの管の中心がずれないように固定する。粉体流路内で、温度調整を行いトナー母粒子および樹脂微粒子を循環させながら、前記二流体ノズル230で前記液体を一定速度で噴霧し、トナー母粒子表面を膜化する。
【選択図】 図4
Description
粉体流路の少なくとも一部に設けられ、粉体流路内および回転攪拌手段の温度を所定の温度に調整する温度調整手段と、
トナー母粒子と樹脂微粒子との付着を補助するための液体を液管から噴霧し、空気管からキャリアガスを噴霧する二流体ノズルを含む噴霧手段とを少なくとも備える回転撹拌装置を用いる樹脂層被覆トナーの製造方法において、
前記二流体ノズルは、液管と空気管とを含み、液管および空気管の軸が一致するよう空気管の内部に液管が挿入され、液管および空気管の少なくとも一部をそれらの管の中心がずれないように固定し、
粉体流路内で、温度調整を行い、トナー母粒子および樹脂微粒子を循環させながら前記二流体ノズルで前記液体を一定速度で噴霧し、トナー母粒子表面を膜化することを特徴とするトナーの製造方法である。
回転撹拌手段が回転している粉体流路内にトナー母粒子および樹脂微粒子を投入して、トナー母粒子表面に樹脂微粒子を付着させる樹脂微粒子付着工程と、
流動状態にあるトナー母粒子および樹脂微粒子に、それらの粒子を可塑化させる液体を噴霧手段からキャリアガスによって噴霧する噴霧工程と、
トナー母粒子に付着した樹脂微粒子が軟化して膜化するまで回転撹拌手段の回転を続けてトナー母粒子および樹脂微粒子を流動させる膜化工程とを含み、
温度調整工程において、粉体流路内全体および回転撹拌手段の温度が温度調整手段によって所定の温度に調整されることを特徴とする。
台形の互いに平行な2辺のうち、長い方の辺が空気管の外周に接していることを特徴とする。
また本発明は前記トナーの製造方法によって製造されることを特徴とするトナーである。
また本発明は、前記トナーとキャリアとから成る2成分現像剤であることを特徴とする。
像担持体に潜像を形成する潜像形成手段と、
前記現像装置とを備えることを特徴とする画像形成装置である。
本発明の第1の実施形態であるトナーの製造方法は、回転撹拌装置を用いる。回転撹拌装置は、回転羽根を周設した回転盤と回転軸を含む回転撹拌手段によってトナー母粒子および樹脂微粒子を回転撹拌室および循環管を含む粉体流路内において繰り返し循環させ回転攪拌室に戻す循環手段と、粉体流路の少なくとも一部に設けられ、粉体流路内および回転攪拌手段の温度を所定の温度に調整する温度調整手段と、トナー母粒子および樹脂微粒子の付着を補助するための液体、ならびに空気を噴霧する二流体ノズルからなる噴霧手段とを少なくとも備える。
ステップS1のトナー母粒子作製工程では、樹脂層によって被覆されるべきトナー母粒子を作製する。トナー母粒子は、結着樹脂および着色剤を含む粒子であり、その作製方法は特に限定されることなく、公知の方法によって得ることができる。トナー母粒子の作製方法としては、たとえば、粉砕法などの乾式法、ならびに懸濁重合法、乳化凝集法、分散重合法、溶解懸濁法および溶融乳化法などの湿式法が挙げられる。以下、粉砕法によってトナー母粒子を作製する方法を説明する。
粉砕法を用いるトナー母粒子の作製方法では、結着樹脂、着色剤およびその他の添加剤を含むトナー組成物を、混合機で乾式混合した後、混練機によって溶融混練する。溶融混練によって得られる混練物を冷却固化し、固化物を粉砕機によって粉砕する。その後必要に応じて分級などの粒度調整を行い、トナー母粒子を得る。
前述のように、トナー母粒子は、結着樹脂と着色剤とを含む。結着樹脂としては、特に限定されるものではなく、黒トナーまたはカラートナー用の公知の結着樹脂を使用することができ、たとえば、ポリスチレン、スチレン−アクリル酸エステル共重合樹脂などのスチレン系樹脂、ポリメチルメタクリレートなどのアクリル系樹脂、ポリエチレンなどのポリオレフィン系樹脂、ポリエステル、ポリウレタン、エポキシ樹脂などが挙げられる。また原料モノマー混合物に離型剤を混合し、重合反応を行って得られる樹脂を用いてもよい。結着樹脂は1種を単独で使用できまたは2種以上を併用できる。
ステップS2の樹脂微粒子調製工程では、乾燥された樹脂微粒子を調製する。樹脂微粒子は、後の被覆工程S3において、トナー母粒子表面に膜化する材料として用いられる。樹脂微粒子をトナー母粒子表面の膜化材料として用いることによって、たとえば保存中にトナー母粒子に含まれる離型剤などの低融点成分の溶融による凝集の発生を防止することができる。またトナー母粒子を被覆するときの膜状態を調整することによって、得られるトナーにトナー母粒子の形状を残したり、樹脂微粒子の凹凸形状をトナー母粒子表面に残したまま膜化することができるので、平滑な表面を有するトナーに比べて、クリーニング性に優れるトナーを得ることができる。
<回転撹拌装置>
ステップS3の被覆工程では、少なくとも循環手段と、温度調整手段と、噴霧手段とを備える回転撹拌装置を用いる。図2は、回転撹拌装置201の構成を示す正面図である。図3は、図2に示す回転撹拌装置201を切断面線A200―A200からみた概略断面図である。ステップS3の被覆工程では、たとえば図2に示すような回転撹拌装置201を用い、ステップS1のトナー母粒子作製工程で作製したトナー母粒子に、ステップS2の樹脂微粒子調製工程で調製した樹脂微粒子を付着させて、前記装置内での循環手段による循環と、撹拌による衝撃力と、温度調整手段による温度調整との相乗効果でトナー母粒子表面に樹脂膜を形成する。
粉体流路202は、撹拌部208と、粉体流過部209とから構成される。撹拌部208は、内部空間を有する円筒形状の容器状部材である。回転撹拌室である撹拌部208には、開口部210、211が形成される。開口部210は、撹拌部208の軸線方向一方側の面208aにおける略中央部において、撹拌部208の面208aを含む側壁を厚み方向に貫通するように形成される。また、開口部211は、撹拌部208の前記軸線方向一方側の面208aに垂直な側面208bにおいて、撹拌部208の側面208bを含む側壁を厚み方向に貫通するように形成される。循環管である粉体流過部209は、一端が開口部210と接続され、他端が開口部211と接続される。これによって撹拌部208の内部空間と粉体流過部209の内部空間とが連通され、粉体流路202が形成される。この粉体流路202を、トナー母粒子および樹脂微粒子および気体が流過する。粉体流路202は、トナー母粒子および樹脂微粒子が流動する方向である粉体流動方向が一定の方向となるように設けられる。
回転撹拌手段204は、回転軸部材218と、円盤状の回転盤219と、複数の撹拌羽根220とを含む。回転軸部材218は、撹拌部208の軸線に一致する軸線を有しかつ撹拌部208の軸線方向他方側の面8cに、面8cを含む側壁を厚み方向に貫通するように形成される貫通孔221に挿通されるように設けられ、図示しないモータによって軸線回りに回転する円柱棒状部材である。回転盤219は、その軸線が回転軸部材218の軸線に一致するように回転軸部材218に支持され、回転軸部材218の回転に伴って回転する円盤状部材である。複数の撹拌羽根220は、回転盤219の周縁部分によって支持され、回転盤219の回転に伴って回転する。
噴霧手段203は、粉体流路202の粉体流過部209において、トナー母粒子および樹脂微粒子の流動方向における開口部211に最も近い側の粉体流過部に設けられる。噴霧手段203は、液体を貯留する図示しない液体貯留部と、キャリアガスを供給する図示しないキャリアガス供給部と、噴霧手段203は、トナー母粒子および樹脂微粒子の付着を補助する液体およびキャリアガスを粉体流路202内に存在するトナー母粒子および樹脂微粒子に向けて噴射し、液体の液滴をトナー母粒子および樹脂微粒子に噴霧する二流体ノズル230を備える。
図2および図3に戻って、温度調整手段である図示しない温度調整用ジャケットは、粉体流路202の外側の少なくとも一部に設けられ、前記ジャケット内部の空間に冷却媒または加温媒を通して粉体流路202内および回転撹拌手段204の温度を所定の温度に調整する。これによって、後述の温度調整工程S3aにおいて、粉体流路内および回転撹拌手段の外側の温度を樹脂微粒子付着工程S3bにおいて投入されるトナー母粒子および樹脂微粒子が軟化変形しない温度以下に制御することができる。後述の噴霧工程S3cおよび膜化工程S3dにおいては、トナー母粒子、樹脂微粒子および液体にかかる温度にばらつきが少なくなり、トナー母粒子および樹脂微粒子の安定な流動状態を保つことが可能となる。
粉体流路202の粉体流過部209には、粉体投入部206と、粉体回収部207とが接続される。図7は、粉体投入部206および粉体回収部207まわりの構成を示す正面図である。粉体投入部206は、トナー母粒子および樹脂微粒子を供給する図示しないホッパと、ホッパと粉体流路202とを連通する供給管212と、供給管212に設けられる電磁弁213とを備える。ホッパから供給されるトナー母粒子および樹脂微粒子は、電磁弁213によって供給管212内の流路が開放されている状態において、供給管212を介して粉体流路202に供給される。粉体流路202に供給されるトナー母粒子および樹脂微粒子は、回転撹拌手段204による撹拌によって、一定の粉体流動方向に流過する。また電磁弁213によって供給管212内の流路が閉鎖されている状態においては、トナー母粒子および樹脂微粒子が粉体流路202に供給されない。
ステップS3aの温度調整工程では、回転撹拌手段204を回転させながら、粉体流路202内および回転撹拌手段204の温度をこれらの外側に配設した温度調整用ジャケットに媒体を通じることによって所定の温度に調整する。これによって、粉体流路202内の温度を後述する樹脂微粒子付着工程S3bにおいて投入されるトナー母粒子および樹脂微粒子が軟化変形しない温度以下に制御することができる。
ステップS3bの樹脂微粒子付着工程では、回転撹拌手段204の回転軸部材218が回転する状態で、粉体投入部206からトナー母粒子および樹脂微粒子を粉体流路202に供給する。粉体流路202に供給されたトナー母粒子および樹脂微粒子は、回転撹拌手段204によって撹拌され、粉体流路202の粉体流過部209を矢符214方向に流動する。これによって、樹脂微粒子がトナー母粒子表面に付着する。
ステップS3cの噴霧工程では、流動状態にあるトナー母粒子と樹脂微粒子との付着を補助し、それらの粒子を溶解せず、可塑化させる効果のある液体を噴霧手段203からキャリアガスによって噴霧する。液体は、送液ポンプによって一定流量で噴霧手段203に送液され、噴霧手段203によって噴霧された液体はガス化し、トナー母粒子および樹脂微粒子表面にガス化した液体が展延する。これによってトナー母粒子および樹脂微粒子が可塑化する。
トナー母粒子および樹脂微粒子の付着を補助し、それらの粒子を溶解せず可塑化させる効果のある液体としては、特に限定されないけれども、液体の噴霧後にトナー母粒子および樹脂微粒子から除去される必要があるので、蒸発し易い液体であることが好ましい。このような液体としては、低級アルコールを含む液体が挙げられる。低級アルコールとしては、たとえば、メタノール、エタノール、プロパノールなどが挙げられる。液体がこのような低級アルコールを含むと、被覆材料である樹脂微粒子のトナー母粒子に対する濡れ性を高めることができ、トナー母粒子の表面全面または大部分に樹脂微粒子を付着させ、さらに変形および膜化させることが容易となる。また低級アルコールは蒸気圧が大きいので、液体を除去するときの乾燥時間を一層短縮することができ、トナー母粒子同士の凝集を抑制することができる。
キャリアガスとしては、圧縮エアなどを用いることができる。キャリアガスの好ましい流量は、回転撹拌装置201のスケールとトナー母粒子および樹脂微粒子の量とによって異なる液体の噴霧速度に依存し、液体の噴霧速度に合わせて適宜調整する。
ステップS3dの膜化工程では、液体を噴霧しながら、回転撹拌装置1による温度調整と循環と撹拌による衝撃力との相乗効果、さらに撹拌による熱的エネルギーによって、樹脂微粒子が軟化して連続した膜となり、トナー母粒子に樹脂層が形成されるまで所定温度で回転撹拌手段204の撹拌を続け、トナー母粒子および樹脂微粒子を流動させる。
ステップS3eの回収工程では、噴霧手段からの液体の噴霧を終了し、回転撹拌手段204の回転を停止させて、粉体回収部207から樹脂層被覆トナーを装置外に排出し、樹脂層被覆トナーを回収する。
本発明の第2の実施形態であるトナーは、第1の実施形態であるトナーの製造方法で製造される。第1の実施形態のトナーの製造方法によって得られるトナーは、樹脂微粒子の被覆量が均一であり、個々のトナー粒子間における帯電特性などのトナー特性が均一である。また、本発明のトナーは、トナー表面の樹脂層による内包成分保護効果が発揮されるので耐久性に優れる。このようなトナー用いて画像を形成すると、高精細であり、濃度むらのない良好な画質の画像を安定して形成することができる。
本発明の第3の実施形態である現像剤は、第2の実施形態であるトナーを含む。これによって、個々のトナー粒子間における帯電特性などのトナー特性が均一である現像剤とすることができるので、良好な現像性を維持することのできる現像剤が得られる。本実施形態の現像剤は、1成分現像剤としても2成分現像剤しても使用することができる。1成分現像剤として使用する場合、キャリアを用いることなくトナー単体で使用する。また1成分現像剤として使用する場合、ブレードおよびファーブラシを用い、現像スリーブで摩擦帯電させてスリーブ上にトナーを付着させることによってトナーを搬送し、画像形成を行う。2成分現像剤として使用する場合、第2の実施形態のトナーをキャリアとともに用いる。本発明のトナーは、個々のトナー粒子間における帯電特性などのトナー特性が均一であるので、高精細で、濃度むらのない良好な画質の画像を安定して形成することができる。
キャリアとしては、公知のものを使用でき、たとえば、鉄、銅、亜鉛、ニッケル、コバルト、マンガン、クロムなどからなる単独または複合フェライトおよびキャリアコア粒子を被覆物質で表面被覆した樹脂被覆キャリア、または樹脂に磁性を有する粒子を分散させた樹脂分散型キャリアなどが挙げられる。被覆物質としては公知のものを使用でき、たとえば、ポリテトラフルオロエチレン、モノクロロトリフルオロエチレン重合体、ポリフッ化ビニリデン、シリコン樹脂、ポリエステル樹脂、ジターシャーリーブチルサリチル酸の金属化合物、スチレン系樹脂、アクリル系樹脂、ポリアミド、ポリビニルブチラール、ニグロシン、アミノアクリレート樹脂、塩基性染料、塩基性染料のレーキ物、シリカ微粉末、アルミナ微粉末などが挙げられる。また樹脂分散型キャリアに用いられる樹脂としても特に制限されないけれども、たとえば、スチレンアクリル樹脂、ポリエステル樹脂、フッ素系樹脂、およびフェノール樹脂などが挙げられる。いずれも、トナー成分に応じて選択するのが好ましく、1種を単独で使用できまたは2種以上を併用できる。
図8は、本発明の第4の実施形態である画像形成装置100の構成を模式的に示す断面図である。画像形成装置100は、複写機能、プリンタ機能およびファクシミリ機能を併せ持つ複合機であり、伝達される画像情報に応じて、記録媒体にフルカラーまたはモノクロの画像を形成する。すなわち、画像形成装置100においては、コピアモード(複写モード)、プリンタモードおよびFAXモードという3種の印刷モードを有しており、図示しない操作部からの操作入力、パーソナルコンピュータ、携帯端末装置、情報記録記憶媒体またはメモリ装置を用いた外部機器からの印刷ジョブの受信などに応じて、図示しない制御部によって、印刷モードが選択される。
制御手段で制御される。感光体ドラム11は、図示しない導電性基体と、導電性基体の表面に形成される図示しない感光層とを含んで構成される。導電性基体は種々の形状を採ることができ、たとえば、円筒状、円柱状、薄膜シート状などが挙げられる。これらの中でも円筒状が好ましい。導電性基体は導電性材料によって形成される。
図9は、図8に示す画像形成装置100に備わる現像装置14を模式的に示す概略図である。現像装置14は、現像槽20とトナーホッパ21とを含む。現像槽20は感光体ドラム11表面を臨むように配置され、感光体ドラム11の表面に形成される静電潜像にトナーを供給して現像し、可視像であるトナー像を形成する容器状部材である。現像槽20は、その内部空間にトナーを収容しかつ現像ローラ50、供給ローラ51、撹拌ローラ52などのローラ部材を収容して回転自在に支持する。また、ローラ状部材の代わりにスクリュー部材を収容してもよい。本実施形態の現像装置14は、トナーとして、前述の実施の一形態のトナーを現像槽20に収容する。
[結着樹脂およびトナー母粒子のガラス転移温度]
示差走査熱量計(商品名:DSC220、セイコー電子工業株式会社製)を用い、日本工業規格(JIS)K7121−1987に準じ、試料1gを昇温速度毎分10℃で加熱してDSC曲線を測定した。得られたDSC曲線のガラス転移に相当する吸熱ピークの高温側のベースラインを低温側に延長した直線と、ピークの立ち上がり部分から頂点までの曲線に対して勾配が最大になるような点で引いた接線との交点の温度をガラス転移温度(Tg)として求めた。
流動特性評価装置(商品名:フローテスターCFT−100C、株式会社島津製作所製)において、荷重20kgf/cm2(9.8×105Pa)を与えて試料1gがダイ(ノズル口径1mm、長さ1mm)から押出されるように設定し、昇温速度毎分6℃で加熱し、ダイから試料の半分量が流出したときの温度を求め、軟化温度(Tm)とした。
示差走査熱量計(商品名:DSC220、セイコー電子工業株式会社製)を用い、試料1gを温度20℃から昇温速度毎分10℃で200℃まで昇温させ、次いで200℃から20℃に急冷させる操作を2回繰返し、DSC曲線を測定した。2回目の操作で測定されるDSC曲線の融解に相当する吸熱ピークの頂点の温度を離型剤の融点として求めた。
電解液(商品名:ISOTON−II、ベックマン・コールター社製)50mlに、試料20mgおよびアルキルエーテル硫酸エステルナトリウム1mlを加え、超音波分散器(商品名:卓上型2周波超音波洗浄器VS−D100、アズワン株式会社製)によって超音波周波数20kHzで3分間分散処理して測定用試料を調製した。この測定用試料について、粒度分布測定装置(商品名:Multisizer3、ベックマン・コールター社製)を用い、アパーチャ径:100μm、測定粒子数:50000カウントの条件下に測定を行い、試料粒子の体積粒度分布から体積平均粒径を求めた。
二流体ノズルとしては以下の二流体ノズル1〜6を使用した。固定部材にはメッシュ材料を用いた。付着防止部材としては、図5,6に示すような断面形状が台形の付着防止部材を用いた。
〔トナー母粒子作製工程S1〕
トナー母粒子原料およびその添加量を以下とする。
・ポリエステル樹脂(商品名:ダイヤクロン、三菱レイヨン株式会社製、ガラス転移温度55℃、軟化温度100℃) 87.5%(100部)
・C.I.Pigment Blue 15:3 5.0%(5.7部)
・離型剤(カルナウバワックス、融点82℃) 6.0%(6.9部)
・帯電制御剤(商品名:ボントロンE84、オリエント化学工業株式会社)
1.5%(1.7部)
スチレンとアクリル酸ブチルとアクリル酸とを重合したものを凍結乾燥し、樹脂微粒子として、体積平均粒径が0.15μmであるスチレン−アクリル酸ブチル−アクリル酸共重合体微粒子(ガラス転移温度65℃、軟化温度117℃)を得た。
図2,3に示す装置に準ずるハイブリダイゼーションシステム(商品名:NHS−1型、株式会社奈良機械製作所製)に、噴霧手段を取付けた装置によって、トナー母粒子および樹脂微粒子を撹拌、流動させた状態で液体としてエタノールを噴霧した。液体噴霧ユニットとしては、液体を送液ポンプ(商品名:SP11−12、株式会社フロム製)を通して表1に示す二流体ノズル1に定量送液するように接続したものを使用することができる。液体の噴霧速度および液体ガス排出速度は市販のガス検知器(商品名:XP−3110、新コスモス電機株式会社製)を使用して観察することができる。
被覆工程S3において、二流体ノズル1の代わりに二流体ノズル2を用いたこと以外は実施例1と同様にして、実施例2のトナーを得た。
被覆工程S3において、二流体ノズル1の代わりに二流体ノズル3を用いたこと以外は実施例1と同様にして、実施例3のトナーを得た。
被覆工程S3において、二流体ノズル1の代わりに二流体ノズル4を用いたこと以外は実施例1と同様にして、実施例4のトナーを得た。
被覆工程S3において、温度調整用ジャケットを、粉体流過部および撹拌部壁面の全面に設けず、粉体流過部と撹拌部壁面の一部とに設けて温度調整を行ったこと以外は実施例3と同様にして実施例5のトナーを得た。
被覆工程S3において、二流体ノズル1の代わりに二流体ノズル5を用いたこと以外は実施例1と同様にして、比較例1のトナーを得た。
被覆工程S3において、二流体ノズル1の代わりに二流体ノズル6を用いたこと以外は実施例1と同様にして、比較例2のトナーを得た。
噴霧工程において、エタノールを噴霧速度毎分1.0gで30分間噴霧する代わりに、液体の噴霧手段として注射器を用い、エタノール30gを30分間投入したこと以外は実施例1と同様にして、比較例3のトナーを得た。
得られた実施例1〜5および比較例1〜3のトナーについて、次のようにして収率、粗粉含有率、被覆均一性の評価を行った。
下記式(1)によって、トナーの収率を算出し、実施例1〜5および比較例1〜3の製造方法で製造されるトナーの収率を評価した。
トナーの収率(%)={回収されたトナーの重量
/(投入したトナー母粒子の重量
+投入した樹脂微粒子固形分の重量)}×100…(1)
○:良好。算出されたトナーの収率が90%以上である。
×:不良。算出されたトナーの収率が90%未満である。
実施例1〜5および比較例1〜3のトナーの粒径を粒度分布測定装置(商品名:Multisizer3、ベックマン・コールター社製)を用いて測定し、実施例1〜5および比較例1〜3のトナーの体積粒度分布から12μm以上のトナー粒子(以下「粗粉」と記載する)の含有率をそれぞれ求めた。
○:良好。トナー中の粗粉含有率が3%未満である。
△:実用上問題なし。トナー中の粗粉含有率が3%以上5%未満である。
×:不良。トナー中の粗粉含有率が10%以上である。
実施例1〜5および比較例1〜3のトナー100重量部に、シランカップリング剤で疎水化処理された平均一次粒径20nmのシリカ粒子1.0重量部を混合して外添し、そのシリカを外添したトナーを用いて高温保存後の凝集物の有無によって被膜均一性を評価した。トナー20gをポリ容器に密閉し、50℃で48時間放置した後、トナーを取り出して200メッシュのふるいに掛けた。ふるい上に残存するトナーの重量を測定し、この重量のトナー全重量に対する割合である残存量を求め、下記の基準で評価した。数値が低いほど、トナーがブロッキングを起こさず、保存性が良好であることを示す。
○:凝集微量。残存量が3%未満である。
×:凝集少量。残存量が3%以上である。
上記の収率、粗粉含有率と被覆均一性との評価に基づき、実施例1〜5および比較例1〜3のトナーの製造方法の総合評価を行った。
○:良好。全ての評価結果が○である。
△:可。収率または被覆均一性の評価結果が○であるが粗粉含有率が△である。
×:不良。収率、粗粉含有率または被覆均一性の評価結果に×がある。
202 粉体流路
203 噴霧手段
204 回転攪拌手段
206 粉体投入部
207 粉体回収部
220 攪拌羽根
230 二流体ノズル
231 液管
232 空気管
233 固定部材
Claims (13)
- 回転羽根を周設した回転盤と回転軸を含む回転撹拌手段によってトナー母粒子および樹脂微粒子を回転撹拌室および循環管を含む粉体流路内において繰り返し循環させ回転攪拌室に戻す循環手段と、
粉体流路の少なくとも一部に設けられ、粉体流路内および回転攪拌手段の温度を所定の温度に調整する温度調整手段と、
トナー母粒子と樹脂微粒子との付着を補助するための液体を液管から噴霧し、空気管からキャリアガスを噴霧する二流体ノズルを含む噴霧手段とを少なくとも備える回転撹拌装置を用いる樹脂層被覆トナーの製造方法において、
前記二流体ノズルは、液管と空気管とを含み、液管および空気管の軸が一致するよう空気管の内部に液管が挿入され、液管および空気管の少なくとも一部をそれらの管の中心がずれないように固定し、
粉体流路内で、温度調整を行い、トナー母粒子および樹脂微粒子を循環させながら前記二流体ノズルで前記液体を一定速度で噴霧し、トナー母粒子表面を膜化することを特徴とするトナーの製造方法。 - 温度調整手段によって粉体流路内および回転撹拌手段の温度を所定の温度に調整する温度調整工程と、
回転撹拌手段が回転している粉体流路内にトナー母粒子および樹脂微粒子を投入して、トナー母粒子表面に樹脂微粒子を付着させる樹脂微粒子付着工程と、
流動状態にあるトナー母粒子および樹脂微粒子に、それらの粒子を可塑化させる液体を噴霧手段からキャリアガスによって噴霧する噴霧工程と、
トナー母粒子に付着した樹脂微粒子が軟化して膜化するまで回転撹拌手段の回転を続けてトナー母粒子および樹脂微粒子を流動させる膜化工程とを含み、
温度調整工程において、粉体流路内全体および回転撹拌手段の温度が温度調整手段によって所定の温度に調整されることを特徴とする請求項1に記載のトナーの製造方法。 - 前記空気管の先端部に、前記空気管の外周面の半径方向外方に所定の厚みを有する付着防止部材が設けられていることを特徴とする請求項1または2に記載のトナーの製造方法。
- 前記空気管の軸線方向における前記付着防止部材の断面形状は、台形であり、
台形の互いに平行な2辺のうち、長い方の辺が空気管の外周に接していることを特徴とする請求項1〜3のいずれか1つに記載のトナーの製造方法。 - 噴霧工程では、トナー母粒子および樹脂微粒子の流動速度が安定してから噴霧手段によって液体を噴霧することを特徴とする請求項1〜4のいずれか1つに記載のトナーの製造方法。
- 噴霧工程で噴霧された液体は、粉体流路内が一定のガス濃度になるようにガス化されることを特徴とする請求項1〜5のいずれか1つに記載のトナーの製造方法。
- 粉体流路内でのガス濃度が一定になるように、ガス化した液体を粉体流路外へ排出することを特徴とする請求項6に記載のトナーの製造方法。
- 前記液体は、少なくともアルコールを含むことを特徴とする請求項1〜7のいずれか1つに記載のトナーの製造方法。
- 請求項1〜8のいずれか1つに記載のトナーの製造方法によって製造されることを特徴とするトナー。
- 請求項9に記載のトナーを含むことを特徴とする現像剤。
- 前記トナーとキャリアとから成る2成分現像剤であることを特徴とする請求項10に記載の現像剤。
- 請求項10または11に記載の現像剤を用いて、像担持体に形成される潜像を現像してトナー像を形成することを特徴とする現像装置。
- 潜像が形成される像担持体と、
像担持体に潜像を形成する潜像形成手段と、
請求項12に記載の現像装置とを備えることを特徴とする画像形成装置。
Priority Applications (3)
| Application Number | Priority Date | Filing Date | Title |
|---|---|---|---|
| JP2008233978A JP4660580B2 (ja) | 2008-09-11 | 2008-09-11 | トナーの製造方法およびトナー、現像剤、現像装置ならびに画像形成装置 |
| US12/556,996 US8236474B2 (en) | 2008-09-11 | 2009-09-10 | Method for manufacturing toner, toner, developer, developing device and image forming apparatus |
| CN2009101743602A CN101673064B (zh) | 2008-09-11 | 2009-09-11 | 调色剂及其制造方法、显影剂、显影装置及图像形成装置 |
Applications Claiming Priority (1)
| Application Number | Priority Date | Filing Date | Title |
|---|---|---|---|
| JP2008233978A JP4660580B2 (ja) | 2008-09-11 | 2008-09-11 | トナーの製造方法およびトナー、現像剤、現像装置ならびに画像形成装置 |
Publications (2)
| Publication Number | Publication Date |
|---|---|
| JP2010066610A true JP2010066610A (ja) | 2010-03-25 |
| JP4660580B2 JP4660580B2 (ja) | 2011-03-30 |
Family
ID=41799427
Family Applications (1)
| Application Number | Title | Priority Date | Filing Date |
|---|---|---|---|
| JP2008233978A Active JP4660580B2 (ja) | 2008-09-11 | 2008-09-11 | トナーの製造方法およびトナー、現像剤、現像装置ならびに画像形成装置 |
Country Status (3)
| Country | Link |
|---|---|
| US (1) | US8236474B2 (ja) |
| JP (1) | JP4660580B2 (ja) |
| CN (1) | CN101673064B (ja) |
Families Citing this family (5)
| Publication number | Priority date | Publication date | Assignee | Title |
|---|---|---|---|---|
| JP4967033B2 (ja) * | 2010-01-20 | 2012-07-04 | シャープ株式会社 | カプセルトナーの製造方法およびカプセルトナー |
| US8568951B2 (en) * | 2011-03-16 | 2013-10-29 | Ricoh Company, Ltd. | Toner, method of manufacturing toner, image forming method, image forming apparatus, and process cartridge |
| JP6876467B2 (ja) * | 2017-03-02 | 2021-05-26 | 株式会社東芝 | 画像形成装置 |
| CN115708417B (zh) * | 2021-06-18 | 2026-01-30 | 日本碍子株式会社 | 柱状蜂窝过滤器的检查装置以及检查方法 |
| WO2023102996A1 (zh) | 2021-12-07 | 2023-06-15 | 惠州华星光电显示有限公司 | 显示器的驱动方法及显示器 |
Citations (7)
| Publication number | Priority date | Publication date | Assignee | Title |
|---|---|---|---|---|
| JPS6283029A (ja) * | 1985-10-07 | 1987-04-16 | Nara Kikai Seisakusho:Kk | 固体粒子の表面改質方法 |
| JPS63204092A (ja) * | 1987-02-19 | 1988-08-23 | 株式会社 徳寿工作所 | 真空回転乾燥機 |
| JPS6442660A (en) * | 1987-08-07 | 1989-02-14 | Hosokawa Micron Kk | Method and device for producing toner |
| JPH04146187A (ja) * | 1990-10-09 | 1992-05-20 | Seiko Epson Corp | 粉体インクの製造方法 |
| JPH04211269A (ja) * | 1990-02-22 | 1992-08-03 | Seiko Epson Corp | マイクロカプセルの製造法 |
| JPH06118688A (ja) * | 1992-10-05 | 1994-04-28 | Konica Corp | 静電像現像剤 |
| JPH0724339A (ja) * | 1993-07-12 | 1995-01-27 | Chichibu Onoda Cement Corp | 粉粒体の処理装置 |
Family Cites Families (9)
| Publication number | Priority date | Publication date | Assignee | Title |
|---|---|---|---|---|
| EP0224659B1 (en) * | 1985-10-07 | 1992-12-02 | Nara Machinery Co., Ltd. | Method of improving quality of surface of solid particles and apparatus thereof |
| US5296266A (en) * | 1990-02-22 | 1994-03-22 | Seiko Epson Corporation | Method of preparing microcapsule |
| JPH0510971A (ja) | 1990-07-30 | 1993-01-19 | Nhk Spring Co Ltd | 導電性接触子 |
| JP3101416B2 (ja) * | 1992-05-08 | 2000-10-23 | キヤノン株式会社 | 衝突式気流粉砕機及び静電荷像現像用トナーの製造方法 |
| JP4211269B2 (ja) | 2002-03-27 | 2009-01-21 | 栗田工業株式会社 | 脱臭方法 |
| US20080166156A1 (en) * | 2007-01-09 | 2008-07-10 | Sharp Kabushiki Kaisha | Toner and method of manufacturing the same, two-component developer, developing apparatus, and image forming apparatus |
| JP5054570B2 (ja) | 2007-05-10 | 2012-10-24 | 株式会社リコー | 粉体及び電子写真用トナーの製造方法並びに電子写真用トナー |
| US7790344B2 (en) * | 2007-05-10 | 2010-09-07 | Ricoh Company Limited | Method of preparing powder and toner for electrophotography, and toner therefor |
| CN101122755B (zh) * | 2007-09-24 | 2010-06-09 | 王建新 | 蓝色墨粉及其制备方法 |
-
2008
- 2008-09-11 JP JP2008233978A patent/JP4660580B2/ja active Active
-
2009
- 2009-09-10 US US12/556,996 patent/US8236474B2/en not_active Expired - Fee Related
- 2009-09-11 CN CN2009101743602A patent/CN101673064B/zh not_active Expired - Fee Related
Patent Citations (7)
| Publication number | Priority date | Publication date | Assignee | Title |
|---|---|---|---|---|
| JPS6283029A (ja) * | 1985-10-07 | 1987-04-16 | Nara Kikai Seisakusho:Kk | 固体粒子の表面改質方法 |
| JPS63204092A (ja) * | 1987-02-19 | 1988-08-23 | 株式会社 徳寿工作所 | 真空回転乾燥機 |
| JPS6442660A (en) * | 1987-08-07 | 1989-02-14 | Hosokawa Micron Kk | Method and device for producing toner |
| JPH04211269A (ja) * | 1990-02-22 | 1992-08-03 | Seiko Epson Corp | マイクロカプセルの製造法 |
| JPH04146187A (ja) * | 1990-10-09 | 1992-05-20 | Seiko Epson Corp | 粉体インクの製造方法 |
| JPH06118688A (ja) * | 1992-10-05 | 1994-04-28 | Konica Corp | 静電像現像剤 |
| JPH0724339A (ja) * | 1993-07-12 | 1995-01-27 | Chichibu Onoda Cement Corp | 粉粒体の処理装置 |
Also Published As
| Publication number | Publication date |
|---|---|
| US8236474B2 (en) | 2012-08-07 |
| CN101673064B (zh) | 2012-01-25 |
| CN101673064A (zh) | 2010-03-17 |
| JP4660580B2 (ja) | 2011-03-30 |
| US20100061767A1 (en) | 2010-03-11 |
Similar Documents
| Publication | Publication Date | Title |
|---|---|---|
| JP4512657B2 (ja) | トナーの製造方法およびトナー、現像剤、現像装置ならびに画像形成装置 | |
| JP4489109B2 (ja) | トナーおよびその製造方法、二成分現像剤 | |
| JP5022801B2 (ja) | トナーの製造方法、トナー、二成分現像剤、現像装置および画像形成装置 | |
| JP4812845B2 (ja) | カプセルトナーの製造方法 | |
| JP4842315B2 (ja) | トナーの製造方法、トナー、現像剤、現像装置および画像形成装置 | |
| JP5135251B2 (ja) | トナーおよびトナーの製造方法、現像剤、現像装置ならびに画像形成装置 | |
| JP4660580B2 (ja) | トナーの製造方法およびトナー、現像剤、現像装置ならびに画像形成装置 | |
| JP4718594B2 (ja) | 樹脂層被覆トナーの製造方法 | |
| JP4966878B2 (ja) | トナーおよびその製造方法、二成分現像剤、現像装置ならびに画像形成装置 | |
| CN101833254B (zh) | 调色剂及双组分显影剂 | |
| JP4662568B2 (ja) | トナーの製造方法およびトナー、現像剤、現像装置ならびに画像形成装置 | |
| JP4764935B2 (ja) | トナー製造方法 | |
| JP4764934B2 (ja) | トナー製造方法 | |
| JP5103410B2 (ja) | トナーの製造方法およびトナー、現像剤、現像装置ならびに画像形成装置 | |
| JP2010230733A (ja) | トナーの製造方法およびトナー、2成分現像剤、現像装置ならびに画像形成装置 | |
| JP2009015083A (ja) | トナーおよびその製造方法、二成分現像剤、現像装置ならびに画像形成装置 | |
| JP2011065193A (ja) | トナーの製造方法およびトナー、現像剤、現像装置ならびに画像形成装置 | |
| JP2010139779A (ja) | トナーの製造方法およびトナー、現像剤、現像装置ならびに画像形成装置 | |
| JP2011070034A (ja) | カプセルトナーの製造方法、カプセルトナー、現像剤、現像装置および画像形成装置 | |
| JP2010204215A (ja) | トナー製造方法、および当該方法によって得られるトナー、2成分現像剤、現像装置、画像形成装置 |
Legal Events
| Date | Code | Title | Description |
|---|---|---|---|
| A977 | Report on retrieval |
Free format text: JAPANESE INTERMEDIATE CODE: A971007 Effective date: 20100729 |
|
| A131 | Notification of reasons for refusal |
Free format text: JAPANESE INTERMEDIATE CODE: A131 Effective date: 20100824 |
|
| A521 | Request for written amendment filed |
Free format text: JAPANESE INTERMEDIATE CODE: A523 Effective date: 20101020 |
|
| TRDD | Decision of grant or rejection written | ||
| A01 | Written decision to grant a patent or to grant a registration (utility model) |
Free format text: JAPANESE INTERMEDIATE CODE: A01 Effective date: 20101207 |
|
| A01 | Written decision to grant a patent or to grant a registration (utility model) |
Free format text: JAPANESE INTERMEDIATE CODE: A01 |
|
| A61 | First payment of annual fees (during grant procedure) |
Free format text: JAPANESE INTERMEDIATE CODE: A61 Effective date: 20101228 |
|
| FPAY | Renewal fee payment (event date is renewal date of database) |
Free format text: PAYMENT UNTIL: 20140107 Year of fee payment: 3 |
|
| R150 | Certificate of patent or registration of utility model |
Ref document number: 4660580 Country of ref document: JP Free format text: JAPANESE INTERMEDIATE CODE: R150 Free format text: JAPANESE INTERMEDIATE CODE: R150 |
