JP2010064735A - 二対のタンクを含むバンドル及びこのようなバンドルを含む空中発射ランチャー - Google Patents

二対のタンクを含むバンドル及びこのようなバンドルを含む空中発射ランチャー Download PDF

Info

Publication number
JP2010064735A
JP2010064735A JP2009202304A JP2009202304A JP2010064735A JP 2010064735 A JP2010064735 A JP 2010064735A JP 2009202304 A JP2009202304 A JP 2009202304A JP 2009202304 A JP2009202304 A JP 2009202304A JP 2010064735 A JP2010064735 A JP 2010064735A
Authority
JP
Japan
Prior art keywords
bundle
tanks
launcher
tank
pairs
Prior art date
Legal status (The legal status is an assumption and is not a legal conclusion. Google has not performed a legal analysis and makes no representation as to the accuracy of the status listed.)
Granted
Application number
JP2009202304A
Other languages
English (en)
Other versions
JP5566643B2 (ja
Inventor
Daniel Peyrisse
ペイリス ダニエル
Louedec Dominique Le
ル ルエデック ドミニク
Jean-Marie Conrardy
マリー コンラルディ ジャン
Current Assignee (The listed assignees may be inaccurate. Google has not performed a legal analysis and makes no representation or warranty as to the accuracy of the list.)
Safran Aircraft Engines SAS
Original Assignee
SNECMA SAS
Priority date (The priority date is an assumption and is not a legal conclusion. Google has not performed a legal analysis and makes no representation as to the accuracy of the date listed.)
Filing date
Publication date
Application filed by SNECMA SAS filed Critical SNECMA SAS
Publication of JP2010064735A publication Critical patent/JP2010064735A/ja
Application granted granted Critical
Publication of JP5566643B2 publication Critical patent/JP5566643B2/ja
Expired - Fee Related legal-status Critical Current
Anticipated expiration legal-status Critical

Links

Images

Classifications

    • BPERFORMING OPERATIONS; TRANSPORTING
    • B64AIRCRAFT; AVIATION; COSMONAUTICS
    • B64GCOSMONAUTICS; VEHICLES OR EQUIPMENT THEREFOR
    • B64G1/00Cosmonautic vehicles
    • B64G1/22Parts of, or equipment specially adapted for fitting in or to, cosmonautic vehicles
    • B64G1/40Arrangements or adaptations of propulsion systems
    • B64G1/401Liquid propellant rocket engines
    • BPERFORMING OPERATIONS; TRANSPORTING
    • B64AIRCRAFT; AVIATION; COSMONAUTICS
    • B64GCOSMONAUTICS; VEHICLES OR EQUIPMENT THEREFOR
    • B64G1/00Cosmonautic vehicles
    • B64G1/22Parts of, or equipment specially adapted for fitting in or to, cosmonautic vehicles
    • B64G1/40Arrangements or adaptations of propulsion systems
    • B64G1/402Propellant tanks; Feeding propellants
    • B64G1/4022Arrangements of tanks in or on spacecraft
    • BPERFORMING OPERATIONS; TRANSPORTING
    • B64AIRCRAFT; AVIATION; COSMONAUTICS
    • B64GCOSMONAUTICS; VEHICLES OR EQUIPMENT THEREFOR
    • B64G1/00Cosmonautic vehicles
    • B64G1/002Launch systems

Landscapes

  • Engineering & Computer Science (AREA)
  • Chemical & Material Sciences (AREA)
  • Combustion & Propulsion (AREA)
  • Remote Sensing (AREA)
  • Aviation & Aerospace Engineering (AREA)
  • Physics & Mathematics (AREA)
  • Plasma & Fusion (AREA)
  • Toys (AREA)
  • Filling Or Discharging Of Gas Storage Vessels (AREA)
  • Nozzles (AREA)
  • Containers And Packaging Bodies Having A Special Means To Remove Contents (AREA)
  • Cylinder Crankcases Of Internal Combustion Engines (AREA)

Abstract

【課題】空中発射ランチャーに関して、ランチャーの軸線に沿って互いに前後に整合した円形断面のタンクを使用することにより生じていた、大きさについての所定数の制限、詳細には、ランチャーを固定し、解放するためのシステムに関する制限、及び着陸装置の位置に関する制限の問題を解決する。
【解決手段】バンドルは、同じ容積の二対の円筒形タンク((11、11)、(12、12))を含み、バンドルの各タンク対は、同じ容積流量で流れるのに適した同じ密度の推進剤が入った二つのタンクを含み、四つのタンクは、推進剤が流れているとき、対の各々の重心が常にバンドル(10)の軸線上にあり続けるように強化フープ(20)を介して互いに直接的に取り付けられている。
【選択図】図1

Description

本発明は、タンクのバンドル(bundle)及びこのようなバンドルを含む空中発射ランチャー(airborne launcher) に関する。
当該技術の現状では、空中発射ランチャーは、ランチャーの軸線に沿って互いに前後に整合した円形断面のタンクを使用する。
この形状により、大きさについての所定数の制限、詳細には、ランチャーを固定し、解放するためのシステムに関する制限、及び着陸装置の位置に関する制限がキャリヤ航空機に課せられる。
本発明は、同じ容積の二対の円筒形タンクを含むバンドルを提供することによって、上述の欠点を緩和する。各対は、同じ容積流量で流れるのに適した同じ密度の推進剤を収容した二つのタンクを含む。四つのタンクは、推進剤が流れているときに前記対の各々の重心が常に前記バンドルの軸線上にとどまるように、強化フープを介して互いに直接取り付けられる。
特定の実施例では、強化フープはタンクの一体の部分を形成する。
タンクをバンドルにするという考えは、空中発射ランチャーに関して使用されてこなかった。
前記タンクから供給されるエンジンは、タンクが設けられた段の重心が常にバンドルの軸線上にとどまるように、四つのタンクが同時に空になるように制御されなければならないということは当業者に理解されよう。
非限定的例として、一方のタンク対が過酸化窒素(化学式:N24)を収容し、他方のタンク対がモノメチルヒドラジン(MMH)を収容する。
空中発射ランチャーでバンドルを使用する場合、バンドルは、有利には、ランチャーの長さを大幅に減少するのに役立つ。これは、タンクが、もはや、互いに前後に整合していないためである。
実際には、及び所与の質量について、本発明のバンドルが設けられた段(第1段)の長さと幅との間の比は、タンクが整合した従来の段の比と等しい。
有利には、本発明を使用することによる主断面の増大は、ランチャーのノーズコーンの大きさのため、それ程重要ではない。
本発明の特定の実施例では、第1段の断面は、隅部に丸味のある正方形である。
この特徴は、有利には、主断面を制御下に置くのに役立つ。
更に、本発明の特定の実施例では、エンジン用又はペイロード用のファスナ手段が強化フープの幾つかに設けられている。
換言すると、及び最も有利には、タンク自体がランチャーの構造を形成する。
かくして、特に推力を送出する場合の機械的な力を、タンク及びこれらのタンクのファスナ手段が受け止める。従って、本発明によれば、従来のランチャー構造のようにスラストコーンを使用する必要がなく、これによって、質量を最も有利に削減する。
第2の特徴では、本発明は、上文中に説明したタンクのバンドル及びバンドルのタンクのうちの二つのタンクに固定されたファスナ手段を含む空中発射ランチャーを提供する。これによって、ランチャーの翼をタンクに直接的に取り付けることができる。
本発明のこの特徴では、ランチャーの翼を、タンクのバンドルに、例えばタンクに固定された継手を介して直接的に取り付けてもよい。
本発明のこの他の特徴及び利点は、特徴を限定しない一実施例を示す添付図面を参照して以下の説明を読むことにより明らかになるであろう。
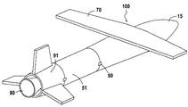
図1は、本発明の特定の実施例による空中発射ランチャーの斜視図である。 図2は、図1の空中発射ランチャーの部分断面斜視図である。 図3は、ペイロード及びエンジンをランチャーのバンドルに取り付ける方法が見えるように細部を拡大図で示す、図1の空中発射ランチャーの長さ方向断面図である。 図4は、図3のIV−IV線に沿った断面図である。 図5は、図3の拡大詳細図である。
図1は、本発明による空中発射ランチャー100の一実施例の概略斜視図である。
この図では、ペイロード(この図には示さず)を保護するように設計された弾丸形状のノーズコーンに参照番号15が付してある。このノーズコーンは、必要な空力学的形状をランチャー100に提供する。
ノーズコーンの後側には段間スカート51が設けられており、これに続いて固体燃料段91が設けられている。固体燃料段91には、参照番号80を付した固体燃料ブロックが設けられている。
この図では、段間の取り付け部には参照番号90が付してある。
本発明によるバンドルは、ノーズコーン15及び段間スカート51によって覆われた第1段に設けられている。
図1の実施例では、本発明による空中発射ランチャー100は、翼70及びその後部の複数のテールフィンを含む。
図2は、ランチャー100の内部構造を概略に示す部分断面図である。
ノーズコーン15の下には、ペイロード60、例えば衛星が収容されている。
参照番号10は、強化フープ20によって互いに直接的に取り付けられた四つのタンクを含むバンドル全体に付してある。
強化フープ20は、図3の詳細図に示すように、タンクの一体の部分である。
図2でわかるように、バンドルの軸線は、空中発射ランチャー100の軸線と一致する。
本発明によれば、ペイロード60は、エンジン50と同様にバンドルに直接的に取り付けられている。
本発明によれば、翼70はバンドル10に直接的に取り付けられている。
本明細書中に説明する例では、空中発射ランチャー100は、参照番号30を付した4個の高圧ヘリウム球を有する。これらの目的は、推進剤を放出することである。
図3は、図2に示すランチャー100の長さ方向断面図であり、二つの細部を拡大して示す。これは、第1に、ペイロード60及びヘリウム球30をバンドル10に取り付ける方法を示すため、及び第2に、エンジン50をバンドル10に取り付ける方法を示すためである。
本明細書に説明した実施例では、スカート51は、実質的にフォーク形態の二叉部分を形成し、これにより、
・ノーズコーン15を分離するため、爆発性第1火工コードが設けられたファスナ90によってノーズコーン15に連結された外リング、及び
・図5に詳細に示す連結タブ80によって強化フープ20に連結された内リングを形成する。タブ80は、段間スカート51を分離するため、第1火工コードが設けられている。
図4は、図3のIV−IV線での断面図である。この実施例では、第1断面75のケーシングは、隅部に丸味を付けた実質的に正方形断面である。この形状は、主断面をできるだけ小さくするのに役立つ。
本明細書中に説明したバンドル10は、参照番号11を付した一対の第1タンク及び参照番号12を付した一対の第2タンクを有する。
各対の両タンクには同じ推進剤が入っており、これらのタンクは、推進剤を同じ容積流量で送出する。
タンクは、強化フープ20を介して、参照番号25を付した継手によって互いに直接的に取り付けられている。
継手25は、二つのタンク間の距離を最小にするように構成されている。
ヘリウム球30は、強化フープ20にリンク31によって取り付けられている。
本明細書中に説明した例では、ペイロード60は支持プレート61に取り付けられており、この支持プレートは、シュラウドセクタ62によってタンク11及び12に連結されている。シュラウドセクタ62は、図4に示すように、強化フープ20に溶接されている。
本発明によれば、空中発射ランチャー100のインジェクション手段52は、四つのタンク11、12が全て同時に空になるようにエンジン50への供給を制御するようになっている。
本明細書中に説明した実施例では、エンジン50は、その推力の方向を変化する目的で操向可能である。
この目的のため、エンジン50は支持プレート53によって強化フープ20に連結されたユニバーサルブロック52に取り付けられている。エンジンが差し向けられる方向は、操向可能アクチュエータ54によって調節できる。
本明細書中に説明した実施例では、アクチュエータ54用の支持体は、継手55によって強化フープ20に取り付けられている。
本明細書中に説明した実施例では、翼70は、タンクに固定されたファスナ手段71によって、空中発射ランチャー100のタンク11、12に直接取り付けられている。
本明細書中に説明した実施例では、翼70は、更に詳細には、アイレット71を含み、これらのアイレット71がピン74によってマウンティング即ちフォーク72に連結される。これらのフォーク72自体は、強化フープ20に溶接されている。ピン74は、爆発性剪断ピンであり、これにより、翼70を投げ捨てる(jettison)ことができる。
100 空中発射ランチャー
10 バンドル
15 ノーズコーン
20 強化フープ
51 段間スカート
60 ペイロード
70 翼
80 固体燃料ブロック
91 固体燃料段

Claims (5)

  1. 同じ容積の二対の円筒形タンク((11、11)、(12、12))を含むバンドル(10)において、
    各対は、同じ容積流量で流れるのに適した同じ密度の推進剤が入った二つのタンクを含み、
    前記四つのタンクは、前記推進剤が流れているとき、前記対の各々の重心が常に前記バンドル(10)の軸線上にあり続けるように強化フープ(20)を介して互いに直接的に取り付けられている、ことを特徴とするバンドル。
  2. 請求項1に記載のバンドル(10)において、
    前記強化フープ(20)は、前記タンク(11、12)の一体の部分を形成する、ことを特徴とするバンドル。
  3. 請求項1又は2に記載のバンドルにおいて、
    前記強化フープ(20)のうちの少なくとも幾つかが、エンジン(50)用及びペイロード(60)用のファスナ手段(25、73)を含む、ことを特徴とするバンドル。
  4. 空中発射ランチャー(100)において、
    請求項1、2、又は3に記載のタンクのバンドル(10)を含み、
    前記タンク(11、12)のうちの二つに固定されたファスナ手段(71)を含み、これにより、前記ランチャー(100)の翼(70)を前記タンクに直接的に取り付けることができる、ことを特徴とする空中発射ランチャー。
  5. 請求項4に記載の空中発射ランチャーにおいて、
    前記バンドル(10)が設けられた第1段(75)の断面は、隅部に丸味を付けた正方形形状の断面である、ことを特徴とする空中発射ランチャー。
JP2009202304A 2008-09-08 2009-09-02 二対のタンクを含むバンドル及びこのようなバンドルを含む空中発射ランチャー Expired - Fee Related JP5566643B2 (ja)

Applications Claiming Priority (2)

Application Number Priority Date Filing Date Title
FR0856002 2008-09-08
FR0856002A FR2935686B1 (fr) 2008-09-08 2008-09-08 Fagot comportant deux paires de reservoirs et lanceur aeroporte comportant un tel fagot

Publications (2)

Publication Number Publication Date
JP2010064735A true JP2010064735A (ja) 2010-03-25
JP5566643B2 JP5566643B2 (ja) 2014-08-06

Family

ID=40651694

Family Applications (1)

Application Number Title Priority Date Filing Date
JP2009202304A Expired - Fee Related JP5566643B2 (ja) 2008-09-08 2009-09-02 二対のタンクを含むバンドル及びこのようなバンドルを含む空中発射ランチャー

Country Status (7)

Country Link
US (1) US8226045B2 (ja)
EP (1) EP2161198B1 (ja)
JP (1) JP5566643B2 (ja)
CN (1) CN101670888B (ja)
FR (1) FR2935686B1 (ja)
RU (1) RU2509039C2 (ja)
UA (1) UA102064C2 (ja)

Cited By (1)

* Cited by examiner, † Cited by third party
Publication number Priority date Publication date Assignee Title
JP2016524092A (ja) * 2013-07-08 2016-08-12 エアバス ディフェンス アンド スペース エスアーエス 再使用可能な打ち上げロケット用の推進ユニット

Families Citing this family (4)

* Cited by examiner, † Cited by third party
Publication number Priority date Publication date Assignee Title
FR2980177B1 (fr) * 2011-09-20 2014-07-11 Centre Nat Etd Spatiales Baie propulsive
US20140077506A1 (en) * 2012-09-14 2014-03-20 Kohler Co. Modular configuration for an lp towable genset
DE102018129898B4 (de) * 2018-11-27 2021-02-04 Airbus Defence and Space GmbH Vorrichtung zum Mitführen von Treibstoff in einem Luft- und Raumfahrzeug
CN110155371B (zh) * 2019-06-03 2021-06-01 北京航空航天大学 一种充气喷射起飞滑翔回收的火星飞行器及其使用方法

Citations (2)

* Cited by examiner, † Cited by third party
Publication number Priority date Publication date Assignee Title
US5816539A (en) * 1994-02-18 1998-10-06 Lockheed Martin Corporation Orbital assist module and interstage
JP2003291899A (ja) * 2002-04-01 2003-10-15 Mitsubishi Electric Corp 人工衛星構体

Family Cites Families (10)

* Cited by examiner, † Cited by third party
Publication number Priority date Publication date Assignee Title
US3180084A (en) * 1961-02-13 1965-04-27 Ciary Corp Thrust device
US3243150A (en) * 1964-04-09 1966-03-29 Boeing Co Aerospace vehicle and tank structure
US3286629A (en) * 1964-10-07 1966-11-22 Jay H Laue Multi-mission module
US4699339A (en) * 1985-03-01 1987-10-13 Hughes Aircraft Company Apparatus and method for transporting a spacecraft and a fluid propellant from the earth to a substantially low gravity environment above the earth
US4741502A (en) * 1985-10-01 1988-05-03 Hughes Aircraft Company Method and apparatus for launching a spacecraft by use of a recoverable upper rocket stage
RU2059858C1 (ru) * 1993-09-14 1996-05-10 Конструкторское бюро "Арсенал" им.М.В.Фрунзе Отсек жидкостной ракетной двигательной установки космического аппарата
US5533331A (en) * 1994-05-25 1996-07-09 Kaiser Marquardt, Inc. Safe propulsion system for missile divert thrusters and attitude control thrusters and method for use of same
RU2094333C1 (ru) * 1995-01-12 1997-10-27 Научно-производственное объединение им.С.А.Лавочкина Ракетный летательный аппарат (его варианты) и ракетный двигатель
US6412274B1 (en) * 2000-06-02 2002-07-02 Bwx Technologies, Inc. Solar thermal rocket
RU2309092C2 (ru) * 2006-01-12 2007-10-27 Федеральное государственное унитарное предприятие "Центральный научно-исследовательский институт машиностроения" (ФГУП ЦНИИмаш) Орбитальный модуль-заправщик

Patent Citations (2)

* Cited by examiner, † Cited by third party
Publication number Priority date Publication date Assignee Title
US5816539A (en) * 1994-02-18 1998-10-06 Lockheed Martin Corporation Orbital assist module and interstage
JP2003291899A (ja) * 2002-04-01 2003-10-15 Mitsubishi Electric Corp 人工衛星構体

Cited By (1)

* Cited by examiner, † Cited by third party
Publication number Priority date Publication date Assignee Title
JP2016524092A (ja) * 2013-07-08 2016-08-12 エアバス ディフェンス アンド スペース エスアーエス 再使用可能な打ち上げロケット用の推進ユニット

Also Published As

Publication number Publication date
CN101670888A (zh) 2010-03-17
US8226045B2 (en) 2012-07-24
FR2935686B1 (fr) 2010-09-24
EP2161198A1 (fr) 2010-03-10
JP5566643B2 (ja) 2014-08-06
US20100059630A1 (en) 2010-03-11
UA102064C2 (uk) 2013-06-10
CN101670888B (zh) 2015-04-29
RU2009133242A (ru) 2011-03-20
EP2161198B1 (fr) 2014-02-19
FR2935686A1 (fr) 2010-03-12
RU2509039C2 (ru) 2014-03-10

Similar Documents

Publication Publication Date Title
JP5566643B2 (ja) 二対のタンクを含むバンドル及びこのようなバンドルを含む空中発射ランチャー
US8894016B2 (en) Bidirectional control surfaces for use with high speed vehicles, and associated systems and methods
JPH03500038A (ja) ロケット推進で、空中配置され、揚力を助長される、軌道飛行、超軌道飛行および低軌道飛行するためのブースタ飛行体
US9745063B2 (en) Airborne rocket launch system
US5245927A (en) Dual-tandem unmanned air vehicle system
CN109018445A (zh) 小卫星运载器
US3202381A (en) Recoverable rocket vehicle
US20240199238A1 (en) System and method for improved air-launch of a launch vehicle from a towed aircraft
US12481287B2 (en) Monolithic attitude control motor frame and system
JP2010269768A (ja) スライド式フェアリング脱頭装置及びスライド式フェアリング脱頭方法
US8002219B2 (en) Multi-functional annular fairing for coupling launch abort motor to space vehicle
JPH0618193A (ja) 飛行体発射装置
US8800934B1 (en) Space access system with reusable booster
US4790499A (en) Aerospike for attachment to space vehicle system
US20190193873A1 (en) High Altitude Air Launched Rocket
US9151579B2 (en) Non-circular cross-section missile components, missiles incorporating same, and methods of operation
EP2917683B1 (en) Rocket propelled payload with divert control system within nose cone
KR102664437B1 (ko) 초경량 우주발사체 동체 및 그 제조 방법
EP3013681B1 (en) Improved airship
US7989744B2 (en) Methods and apparatus for transferring a fluid
Doran et al. Status update report for the Peregrine sounding rocket project: Part III
JP6639676B2 (ja) 軽量の宇宙船用ディスペンサ
RU73468U1 (ru) Многоступенчатая ракета-носитель
CN107628235A (zh) 一种用于电动无人机的载荷配置结构
RU2209331C2 (ru) Твердотопливная разгонная двигательная установка

Legal Events

Date Code Title Description
A621 Written request for application examination

Free format text: JAPANESE INTERMEDIATE CODE: A621

Effective date: 20120712

A131 Notification of reasons for refusal

Free format text: JAPANESE INTERMEDIATE CODE: A131

Effective date: 20130722

A601 Written request for extension of time

Free format text: JAPANESE INTERMEDIATE CODE: A601

Effective date: 20131017

A602 Written permission of extension of time

Free format text: JAPANESE INTERMEDIATE CODE: A602

Effective date: 20131022

A521 Request for written amendment filed

Free format text: JAPANESE INTERMEDIATE CODE: A523

Effective date: 20131224

TRDD Decision of grant or rejection written
A01 Written decision to grant a patent or to grant a registration (utility model)

Free format text: JAPANESE INTERMEDIATE CODE: A01

Effective date: 20140519

A61 First payment of annual fees (during grant procedure)

Free format text: JAPANESE INTERMEDIATE CODE: A61

Effective date: 20140618

R150 Certificate of patent or registration of utility model

Ref document number: 5566643

Country of ref document: JP

Free format text: JAPANESE INTERMEDIATE CODE: R150

R250 Receipt of annual fees

Free format text: JAPANESE INTERMEDIATE CODE: R250

S111 Request for change of ownership or part of ownership

Free format text: JAPANESE INTERMEDIATE CODE: R313113

S533 Written request for registration of change of name

Free format text: JAPANESE INTERMEDIATE CODE: R313533

R350 Written notification of registration of transfer

Free format text: JAPANESE INTERMEDIATE CODE: R350

R250 Receipt of annual fees

Free format text: JAPANESE INTERMEDIATE CODE: R250

LAPS Cancellation because of no payment of annual fees