JP2010062231A - 電解液およびそれを用いた電気二重層キャパシタ - Google Patents
電解液およびそれを用いた電気二重層キャパシタ Download PDFInfo
- Publication number
- JP2010062231A JP2010062231A JP2008224229A JP2008224229A JP2010062231A JP 2010062231 A JP2010062231 A JP 2010062231A JP 2008224229 A JP2008224229 A JP 2008224229A JP 2008224229 A JP2008224229 A JP 2008224229A JP 2010062231 A JP2010062231 A JP 2010062231A
- Authority
- JP
- Japan
- Prior art keywords
- double layer
- electrolytic solution
- layer capacitor
- electric double
- electrolyte solution
- Prior art date
- Legal status (The legal status is an assumption and is not a legal conclusion. Google has not performed a legal analysis and makes no representation as to the accuracy of the status listed.)
- Granted
Links
- 239000008151 electrolyte solution Substances 0.000 title claims abstract description 89
- 239000003990 capacitor Substances 0.000 title claims description 72
- IEJIGPNLZYLLBP-UHFFFAOYSA-N dimethyl carbonate Chemical compound COC(=O)OC IEJIGPNLZYLLBP-UHFFFAOYSA-N 0.000 claims abstract description 55
- RUOJZAUFBMNUDX-UHFFFAOYSA-N propylene carbonate Chemical compound CC1COC(=O)O1 RUOJZAUFBMNUDX-UHFFFAOYSA-N 0.000 claims abstract description 31
- KMTRUDSVKNLOMY-UHFFFAOYSA-N Ethylene carbonate Chemical compound O=C1OCCO1 KMTRUDSVKNLOMY-UHFFFAOYSA-N 0.000 claims abstract description 25
- 239000012046 mixed solvent Substances 0.000 claims abstract description 24
- 239000003792 electrolyte Substances 0.000 claims abstract description 21
- NIZWXTPBHUHBTK-UHFFFAOYSA-N azane 5-azoniaspiro[4.4]nonane Chemical compound N.C1CCC[N+]21CCCC2 NIZWXTPBHUHBTK-UHFFFAOYSA-N 0.000 claims abstract description 3
- 238000004880 explosion Methods 0.000 abstract 1
- 239000000243 solution Substances 0.000 abstract 1
- 239000002904 solvent Substances 0.000 description 18
- 230000000052 comparative effect Effects 0.000 description 17
- 238000012360 testing method Methods 0.000 description 17
- 239000003208 petroleum Substances 0.000 description 15
- OKTJSMMVPCPJKN-UHFFFAOYSA-N Carbon Chemical compound [C] OKTJSMMVPCPJKN-UHFFFAOYSA-N 0.000 description 11
- 238000012856 packing Methods 0.000 description 9
- XAGFODPZIPBFFR-UHFFFAOYSA-N aluminium Chemical compound [Al] XAGFODPZIPBFFR-UHFFFAOYSA-N 0.000 description 5
- 229910052782 aluminium Inorganic materials 0.000 description 5
- 150000003839 salts Chemical class 0.000 description 5
- 239000005001 laminate film Substances 0.000 description 4
- NZSICTQUKULOSA-UHFFFAOYSA-N 5-azoniaspiro[4.4]nonane Chemical compound C1CCC[N+]21CCCC2 NZSICTQUKULOSA-UHFFFAOYSA-N 0.000 description 3
- 150000003863 ammonium salts Chemical class 0.000 description 3
- 238000009835 boiling Methods 0.000 description 3
- 230000000694 effects Effects 0.000 description 3
- 238000011156 evaluation Methods 0.000 description 3
- 229920002678 cellulose Polymers 0.000 description 2
- 239000001913 cellulose Substances 0.000 description 2
- 239000004020 conductor Substances 0.000 description 2
- 239000000383 hazardous chemical Substances 0.000 description 2
- 239000013056 hazardous product Substances 0.000 description 2
- 239000007788 liquid Substances 0.000 description 2
- 230000002093 peripheral effect Effects 0.000 description 2
- 229920003043 Cellulose fiber Polymers 0.000 description 1
- 239000005062 Polybutadiene Substances 0.000 description 1
- 150000001450 anions Chemical class 0.000 description 1
- 239000011230 binding agent Substances 0.000 description 1
- JPPGWVWBAJLHCE-UHFFFAOYSA-N buta-1,3-diene;ethene Chemical compound C=C.C=CC=C JPPGWVWBAJLHCE-UHFFFAOYSA-N 0.000 description 1
- 150000001768 cations Chemical class 0.000 description 1
- 230000005611 electricity Effects 0.000 description 1
- 230000007613 environmental effect Effects 0.000 description 1
- 230000001747 exhibiting effect Effects 0.000 description 1
- 239000011888 foil Substances 0.000 description 1
- 230000017525 heat dissipation Effects 0.000 description 1
- 238000009434 installation Methods 0.000 description 1
- 239000011810 insulating material Substances 0.000 description 1
- 239000012212 insulator Substances 0.000 description 1
- 150000002500 ions Chemical class 0.000 description 1
- WABPQHHGFIMREM-UHFFFAOYSA-N lead(0) Chemical compound [Pb] WABPQHHGFIMREM-UHFFFAOYSA-N 0.000 description 1
- 230000007257 malfunction Effects 0.000 description 1
- 239000000463 material Substances 0.000 description 1
- 238000005259 measurement Methods 0.000 description 1
- VNWKTOKETHGBQD-UHFFFAOYSA-N methane Chemical class C VNWKTOKETHGBQD-UHFFFAOYSA-N 0.000 description 1
- 238000000034 method Methods 0.000 description 1
- 239000011255 nonaqueous electrolyte Substances 0.000 description 1
- 239000004745 nonwoven fabric Substances 0.000 description 1
- 238000005192 partition Methods 0.000 description 1
- 230000010287 polarization Effects 0.000 description 1
- 229920002857 polybutadiene Polymers 0.000 description 1
- 239000004810 polytetrafluoroethylene Substances 0.000 description 1
- 229920001343 polytetrafluoroethylene Polymers 0.000 description 1
- 238000007789 sealing Methods 0.000 description 1
- 239000003566 sealing material Substances 0.000 description 1
- 238000000926 separation method Methods 0.000 description 1
- 239000000126 substance Substances 0.000 description 1
- 239000000758 substrate Substances 0.000 description 1
- 239000010409 thin film Substances 0.000 description 1
- 238000004804 winding Methods 0.000 description 1
Images
Classifications
-
- Y—GENERAL TAGGING OF NEW TECHNOLOGICAL DEVELOPMENTS; GENERAL TAGGING OF CROSS-SECTIONAL TECHNOLOGIES SPANNING OVER SEVERAL SECTIONS OF THE IPC; TECHNICAL SUBJECTS COVERED BY FORMER USPC CROSS-REFERENCE ART COLLECTIONS [XRACs] AND DIGESTS
- Y02—TECHNOLOGIES OR APPLICATIONS FOR MITIGATION OR ADAPTATION AGAINST CLIMATE CHANGE
- Y02E—REDUCTION OF GREENHOUSE GAS [GHG] EMISSIONS, RELATED TO ENERGY GENERATION, TRANSMISSION OR DISTRIBUTION
- Y02E60/00—Enabling technologies; Technologies with a potential or indirect contribution to GHG emissions mitigation
- Y02E60/13—Energy storage using capacitors
Landscapes
- Electric Double-Layer Capacitors Or The Like (AREA)
Abstract
【解決手段】プロピレンカーボネートとエチレンカーボネートとジメチルカーボネートの混合溶媒にスピロビピロリジニウムアンモニウム塩の電解質を含有し、その発火点が70℃以上である電解液とした。
【選択図】なし
Description
プロピレンカーボネートとエチレンカーボネートとジメチルカーボネートの混合溶媒にスピロビピロリジニウムアンモニウム塩の電解質を含有し、その引火点が70℃以上である
ことを特徴とする。
前記混合溶媒における前記ジメチルカーボネートの混合割合が、3重量%以上5重量%以下である
ことを特徴とする。
前記混合溶媒における前記プロピレンカーボネートの混合割合が、60重量%以上である
ことを特徴とする。
前記プロピレンカーボネートと前記エチレンカーボネートと前記ジメチルカーボネートの混合割合が、60:35〜37:5〜3である
ことを特徴とする。
第1の発明乃至第4の発明の何れか一つに係る電解液を用いて作製されてなる
ことを特徴とする。
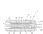
本発明に係る電解液およびそれを用いた電気二重層キャパシタの一実施形態につき図1〜3を参照して説明する。
図1は、電気二重層キャパシタの構成を示す断面図である。図2は、試験体1,2および比較試験体1,2の電気二重層キャパシタの特性評価結果(静電容量および内部抵抗)を示すグラフである。図3は、電解液の溶媒におけるジメチルカーボネートの混合割合と抵抗変化率との関係を示すグラフである。
本実施例に係る電気二重層キャパシタに用いられる電解液では、その電解質塩としてスピロビピロリジニウム(SBP−BF4)アンモニウム塩が用いられ、その溶媒としてプロピレンカーボネート(PC)とエチレンカーボネート(EC)とジメチルカーボネート(DMC)の3種類の溶媒の重量比(混合割合)を60:37:3にて混合した混合溶媒が用いられる。なお、電極として賦活活性炭をPTFEバインダで成形したシート状電極を用いると共に、セパレータとしてセルロース紙を用い、積層型電気二重層キャパシタを組み立てその内部に当該電解液を注入して電気二重層キャパシタ(試験体(No.1))を得た。
本実施例に係る電気二重層キャパシタは、上述した第1の実施例に係る電気二重層キャパシタにおいて、電解液の混合溶媒における混合割合を変更したものであり、それ以外はこの電気二重層キャパシタと同一である。
以下に、比較例1の電気二重層キャパシタについて、具体的に説明する。
比較例1の電気二重層キャパシは、上述した第1の実施例に係る電気二重層キャパシタにおいて、電解液の溶媒を変更したものであり、それ以外はこの電気二重層キャパシタと同一である。
以下に、比較例2の電気二重層キャパシタについて、具体的に説明する。
比較例2の電気二重層キャパシは、上述した第1の実施例に係る電気二重層キャパシタにおいて、電解液の混合溶媒の混合割合を変更したものであり、それ以外はこの電気二重層キャパシタと同一である。
上記試験体(No.1、No.2)および比較試験体(No.1、No.2)について、静電容量および内部抵抗をそれぞれ測定した。
図2において、縦軸に静電容量(F)および内部抵抗(Ω)を示す。白抜き太線は静電容量を示し、ドット付き太線は内部抵抗を示す。図3において、横軸に電解液の混合溶媒におけるジメチルカーボネートの混合割合(Wt%)を示し、縦軸に抵抗変化率(%)を示す。
2 セパレータ
3A,3B 分極性電極
4A,4B 集電極
5A,5B 導電性材料
6 セル
7 電解液
8A,8B 押え板
9 パッキン
11 アルミラミネートフィルム
12A,12B 出力端子
Claims (5)
- プロピレンカーボネートとエチレンカーボネートとジメチルカーボネートの混合溶媒にスピロビピロリジニウムアンモニウム塩の電解質を含有し、その引火点が70℃以上である
ことを特徴とする電解液。 - 請求項1に記載された電解液であって、
前記混合溶媒における前記ジメチルカーボネートの混合割合は、3重量%以上5重量%以下である
ことを特徴とする電解液。 - 請求項1または請求項2に記載された電解液であって、
前記混合溶媒における前記プロピレンカーボネートの混合割合は、60重量%以上である
ことを特徴とする電解液。 - 請求項1乃至請求項3の何れか一項に記載された電解液であって、
前記プロピレンカーボネートと前記エチレンカーボネートと前記ジメチルカーボネートの混合割合は、60:35〜37:5〜3である
ことを特徴とする電解液。 - 請求項1乃至請求項4の何れか一項に記載の電解液を用いて作製されてなる
ことを特徴とする電気二重層キャパシタ。
Priority Applications (1)
| Application Number | Priority Date | Filing Date | Title |
|---|---|---|---|
| JP2008224229A JP5281341B2 (ja) | 2008-09-02 | 2008-09-02 | 電解液およびそれを用いた電気二重層キャパシタ |
Applications Claiming Priority (1)
| Application Number | Priority Date | Filing Date | Title |
|---|---|---|---|
| JP2008224229A JP5281341B2 (ja) | 2008-09-02 | 2008-09-02 | 電解液およびそれを用いた電気二重層キャパシタ |
Publications (2)
| Publication Number | Publication Date |
|---|---|
| JP2010062231A true JP2010062231A (ja) | 2010-03-18 |
| JP5281341B2 JP5281341B2 (ja) | 2013-09-04 |
Family
ID=42188743
Family Applications (1)
| Application Number | Title | Priority Date | Filing Date |
|---|---|---|---|
| JP2008224229A Expired - Fee Related JP5281341B2 (ja) | 2008-09-02 | 2008-09-02 | 電解液およびそれを用いた電気二重層キャパシタ |
Country Status (1)
| Country | Link |
|---|---|
| JP (1) | JP5281341B2 (ja) |
Citations (5)
| Publication number | Priority date | Publication date | Assignee | Title |
|---|---|---|---|---|
| JPH11195429A (ja) * | 1998-01-05 | 1999-07-21 | Hitachi Ltd | 非水電解液二次電池 |
| WO2006075392A1 (ja) * | 2005-01-14 | 2006-07-20 | Mitsui Chemicals, Inc. | ポリビニルアセタール樹脂ワニス、ゲル化剤、非水電解液および電気化学素子 |
| JP2007258067A (ja) * | 2006-03-24 | 2007-10-04 | Gs Yuasa Corporation:Kk | 非水電解質電池 |
| JP2007335536A (ja) * | 2006-06-13 | 2007-12-27 | Sanyo Chem Ind Ltd | 電気化学キャパシタ用電解液及びこれを用いた電気化学キャパシタ |
| JP2008130690A (ja) * | 2006-11-17 | 2008-06-05 | Mitsubishi Chemicals Corp | 電気化学キャパシタ及び電気化学キャパシタ用非水系電解液 |
-
2008
- 2008-09-02 JP JP2008224229A patent/JP5281341B2/ja not_active Expired - Fee Related
Patent Citations (5)
| Publication number | Priority date | Publication date | Assignee | Title |
|---|---|---|---|---|
| JPH11195429A (ja) * | 1998-01-05 | 1999-07-21 | Hitachi Ltd | 非水電解液二次電池 |
| WO2006075392A1 (ja) * | 2005-01-14 | 2006-07-20 | Mitsui Chemicals, Inc. | ポリビニルアセタール樹脂ワニス、ゲル化剤、非水電解液および電気化学素子 |
| JP2007258067A (ja) * | 2006-03-24 | 2007-10-04 | Gs Yuasa Corporation:Kk | 非水電解質電池 |
| JP2007335536A (ja) * | 2006-06-13 | 2007-12-27 | Sanyo Chem Ind Ltd | 電気化学キャパシタ用電解液及びこれを用いた電気化学キャパシタ |
| JP2008130690A (ja) * | 2006-11-17 | 2008-06-05 | Mitsubishi Chemicals Corp | 電気化学キャパシタ及び電気化学キャパシタ用非水系電解液 |
Also Published As
| Publication number | Publication date |
|---|---|
| JP5281341B2 (ja) | 2013-09-04 |
Similar Documents
| Publication | Publication Date | Title |
|---|---|---|
| US4488203A (en) | Electrochemical double-layer capacitor and film enclosure | |
| JP3661725B2 (ja) | 電源装置 | |
| JP3339553B2 (ja) | 電気二重層コンデンサ | |
| US8790811B2 (en) | Flat-wound electricity storage device cell and flat-wound electricity storage device module | |
| KR20180138564A (ko) | 고온용 울트라커패시터 | |
| KR20010111054A (ko) | 전기2중층 콘덴서 및 전지 | |
| JP2016029713A (ja) | 電気化学エネルギー貯蔵装置および製造方法 | |
| JP6765857B2 (ja) | リチウムイオンキャパシタ | |
| WO2012099497A1 (ru) | Углеродный суперконденсатор | |
| US20140036413A1 (en) | Electrochemical capacitor | |
| JP2004349306A (ja) | 電気二重層コンデンサ及び電気二重層コンデンサ積層体 | |
| JP2013201358A (ja) | 蓄電セル及び蓄電セルの異常検出方法 | |
| JP6993277B2 (ja) | 絶縁層形成用組成物、電気化学素子用電極体、および電気化学素子 | |
| JP5281341B2 (ja) | 電解液およびそれを用いた電気二重層キャパシタ | |
| JP2000106327A (ja) | 電気二重層キャパシタ | |
| JP3085250B2 (ja) | 電気二重層コンデンサ | |
| JP6587579B2 (ja) | リチウムイオンキャパシタ | |
| WO2014175212A1 (ja) | 蓄電装置 | |
| JP5852881B2 (ja) | ラミネート型蓄電素子及びその製造方法 | |
| JP6449732B2 (ja) | 電気二重層キャパシタ | |
| KR101637896B1 (ko) | 절연용 액상물질 수용부를 구비한 전극조립체 | |
| KR100720994B1 (ko) | 초박형 전기 이중층 캐패시터의 제조방법 | |
| US10964978B2 (en) | Electric storage device having a wound body with an extension part | |
| JP2004342643A (ja) | 電気二重層コンデンサ | |
| CN1841600B (zh) | 电化学装置 |
Legal Events
| Date | Code | Title | Description |
|---|---|---|---|
| A621 | Written request for application examination |
Free format text: JAPANESE INTERMEDIATE CODE: A621 Effective date: 20110629 |
|
| A977 | Report on retrieval |
Free format text: JAPANESE INTERMEDIATE CODE: A971007 Effective date: 20120523 |
|
| A131 | Notification of reasons for refusal |
Free format text: JAPANESE INTERMEDIATE CODE: A131 Effective date: 20120529 |
|
| A521 | Request for written amendment filed |
Free format text: JAPANESE INTERMEDIATE CODE: A523 Effective date: 20120704 |
|
| A02 | Decision of refusal |
Free format text: JAPANESE INTERMEDIATE CODE: A02 Effective date: 20120724 |
|
| A521 | Request for written amendment filed |
Free format text: JAPANESE INTERMEDIATE CODE: A523 Effective date: 20120921 |
|
| A521 | Request for written amendment filed |
Free format text: JAPANESE INTERMEDIATE CODE: A821 Effective date: 20120921 |
|
| A911 | Transfer to examiner for re-examination before appeal (zenchi) |
Free format text: JAPANESE INTERMEDIATE CODE: A911 Effective date: 20121012 |
|
| A912 | Re-examination (zenchi) completed and case transferred to appeal board |
Free format text: JAPANESE INTERMEDIATE CODE: A912 Effective date: 20121116 |
|
| A61 | First payment of annual fees (during grant procedure) |
Free format text: JAPANESE INTERMEDIATE CODE: A61 Effective date: 20130524 |
|
| R150 | Certificate of patent or registration of utility model |
Free format text: JAPANESE INTERMEDIATE CODE: R150 Ref document number: 5281341 Country of ref document: JP Free format text: JAPANESE INTERMEDIATE CODE: R150 |
|
| S531 | Written request for registration of change of domicile |
Free format text: JAPANESE INTERMEDIATE CODE: R313531 |
|
| R350 | Written notification of registration of transfer |
Free format text: JAPANESE INTERMEDIATE CODE: R350 |
|
| S111 | Request for change of ownership or part of ownership |
Free format text: JAPANESE INTERMEDIATE CODE: R313115 |
|
| R350 | Written notification of registration of transfer |
Free format text: JAPANESE INTERMEDIATE CODE: R350 |
|
| LAPS | Cancellation because of no payment of annual fees |
