JP2010061527A - 自動販売機用リーダライタ - Google Patents

自動販売機用リーダライタ Download PDF

Info

Publication number
JP2010061527A
JP2010061527A JP2008228369A JP2008228369A JP2010061527A JP 2010061527 A JP2010061527 A JP 2010061527A JP 2008228369 A JP2008228369 A JP 2008228369A JP 2008228369 A JP2008228369 A JP 2008228369A JP 2010061527 A JP2010061527 A JP 2010061527A
Authority
JP
Japan
Prior art keywords
vending machine
writer
reader
housing
casing
Prior art date
Legal status (The legal status is an assumption and is not a legal conclusion. Google has not performed a legal analysis and makes no representation as to the accuracy of the status listed.)
Granted
Application number
JP2008228369A
Other languages
English (en)
Other versions
JP5149743B2 (ja
Inventor
Atsushi Takayama
敦 高山
Current Assignee (The listed assignees may be inaccurate. Google has not performed a legal analysis and makes no representation or warranty as to the accuracy of the list.)
Sanden Corp
Original Assignee
Sanden Corp
Priority date (The priority date is an assumption and is not a legal conclusion. Google has not performed a legal analysis and makes no representation as to the accuracy of the date listed.)
Filing date
Publication date
Application filed by Sanden Corp filed Critical Sanden Corp
Priority to JP2008228369A priority Critical patent/JP5149743B2/ja
Publication of JP2010061527A publication Critical patent/JP2010061527A/ja
Application granted granted Critical
Publication of JP5149743B2 publication Critical patent/JP5149743B2/ja
Expired - Fee Related legal-status Critical Current
Anticipated expiration legal-status Critical

Links

Images

Landscapes

  • Control Of Vending Devices And Auxiliary Devices For Vending Devices (AREA)

Abstract

【課題】第1の筐体の取付面側に流れ込んだ水が第1の筐体内に流入することを防止可能な自動販売機用リーダライタを提供する。
【解決手段】自動販売機の前面に設けられた開口部1aに取付可能に形成された第1の筐体10と、自動販売機内に設けられた第2の筐体20と、一端側が第1の筐体10の取付面12aに設けられた挿通孔12eを介して第1の筐体10内の回路10aに接続されるとともに、他端側が第2の筐体20内の回路20aに接続されるワイヤーハーネス30とを備え、挿通孔12eを含む筒状の凸部12dを、第1の筐体10の取付面12aに設けた。
【選択図】図3

Description

本発明は、例えば缶、ビンまたはペットボトル入りの飲料等の商品を販売する自動販売機に設けられ、電子マネー情報が記憶された情報記憶媒体に対して決済処理を行うことの可能な自動販売機用リーダライタに関するものである。
従来、この種の自動販売機用リーダライタとして、自動販売機に設けられ、電子マネー情報が記憶された情報記憶媒体との間で通信を行うものが知られている(例えば特許文献1参照)。
この自動販売機用リーダライタは、一部が自動販売機の前面開口部から露出する一つの筐体で構成されており、該リーダライタから所定範囲内の位置にかざされた非接触ICカード等の情報記憶媒体と非接触通信を行うことができるようになっている。
特開2005−92638号公報
ところで、自動販売機には多種の機器が設けられていることから、自動販売機用リーダライタの筐体のサイズによっては、該リーダライタを自動販売機の前面に設置することが困難になる場合がある。そこで、それぞれサイズが小さく形成された複数の筐体から自動販売機用リーダライタを構成することにより、各筐体のうち一つの筐体を自動販売機の前面に設置することが考えられる。この場合、自動販売機用リーダライタは、自動販売機の前面に設けられた開口部に取付可能に形成された第1の筐体と、自動販売機内に設けられる第2の筐体と、一端側が第1の筐体の取付面に設けられた挿通孔を介して第1の筐体内の回路に接続されるとともに、他端側が第2の筐体内の回路に接続される信号伝送部とから構成される。
しかしながら、この自動販売機用リーダライタでは、第1の筐体が自動販売機の開口部から前方に露出するように設けられているので、例えば自動販売機の前面に降りかかった雨水が第1の筐体の取付面と開口部の間に流れ込んだ場合には、第1の筐体の取付面に沿って流れ込んだ水が挿通孔を介して第1の筐体内に流入することにより、第1の筐体に故障が発生するおそれがあった。
本発明は前記問題点に鑑みてなされたものであり、その目的とするところは、第1の筐体の取付面側に流れ込んだ水が第1の筐体内に流入することを防止可能な自動販売機用リーダライタを提供することにある。
本発明は、前記目的を達成するために、自動販売機に設けられ、電子マネー情報が記憶された情報記憶媒体との間で通信を行う自動販売機用リーダライタにおいて、自動販売機の前面に設けられた開口部に取付可能に形成された第1の筐体と、自動販売機内に設けられた第2の筐体と、一端側が第1の筐体の取付面に設けられた挿通孔を介して第1の筐体内の回路に接続されるとともに、他端側が第2の筐体内の回路に接続される信号伝送部とを備え、前記挿通孔を含む筒状の凸部を、第1の筐体の取付面に設けている。
これにより、第1の筐体の取付面側に流れ込んだ水が凸部の周面に沿って案内されることから、水が挿通孔を介して第1の筐体内に流入するのを防止することが可能になる。
本発明によれば、水が挿通孔を介して第1の筐体内に流入するのを防止することができるので、水の流入による第1の筐体の故障発生を未然に防ぐことができ、自動販売機用リーダライタの維持コストの低減を図ることができるという利点がある。
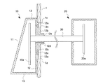
図1乃至図4は本発明の一実施形態を示すもので、図1は自動販売機用リーダライタの第1の筐体の正面側斜視図、図2は第1の筐体の背面側斜視図、図3は自動販売機用リーダライタの断面図、図4は自動販売機用リーダライタの背面部の要部拡大図である。
本実施形態の自動販売機用リーダライタは、例えば電子マネー残高等の電子マネー情報が記憶された情報記憶媒体としての非接触ICカードに対して非接触で該電子マネー情報の読み書きを行う装置である。この自動販売機用リーダライタは、それぞれ中空状の第1の筐体10及び第2の筐体20と、各筐体10,20内にそれぞれ設けられた回路基板10a,20a上の回路に接続された信号伝送部としてのワイヤーハーネス30とから構成されている。
第1の筐体10は、自動販売機の前面側に設けられた外扉1の開口部1aに前方から取付可能に形成されており、前面部11、背面部12、上面部13、側面部14及び底面部15から構成されている。
前面部11には、非接触ICカードに記憶された電子マネー残高や操作案内等の文字情報を表示する表示部11aと、電子マネーサービス等を選択するための2つの選択ボタン11b,11cと、非接触ICカードの形状に合わせて形成された読取面11dとが図1に示すようなレイアウトで設けられている。読取面11dの裏面には、非接触ICカードとの間でデータの送受信を行うためのループアンテナ(図示省略)が回路基板10a上の回路に接続された状態で設けられている。そして、利用者が非接触ICカードを第1の筐体10の前面部11にかざした際に非接触ICカードが読取面11dから所定範囲(例えば5センチメートル)内に存在する場合には、ループアンテナと非接触ICカードとの間の非接触通信が可能となる。また、非接触ICカードから読み出された電子マネー残高等の電子マネー情報は、回路基板10aに設けられた制御部(図示省略)の制御により表示部11aに表示される。
背面部12には、外扉1の開口部1aと嵌合可能に形成された取付面12aが設けられており、取付面12aには、取付面12aの一部を凸状に形成してなる突起部12bと、防水部材としてのパッキン12cと、凸部12dとが図2に示すようなレイアウトで設けられている。突起部12bは、角型に形成されており、第1の筐体10を取付ける際に開口部1aに挿入可能になっている。凸部12dは、ワイヤーハーネス30を挿通させるための挿通孔12eを含む略角筒状に形成されており、突起部12bと一体に設けられている。また、本実施形態では、突起部12b(凸部12dを含む)が取付面12aから着脱可能に形成されており、突起部12bと取付面12aとの間には、パッキン12cが突起部12bと取付面12aとの断面を覆うように設けられている。
ワイヤーハーネス30は、一端側が第1の筐体10の挿通孔12eを介して第1の筐体10内の回路基板10a上の回路に接続されるとともに、他端側が第2の筐体20内の回路基板20a上の回路に接続されている。
以上のように構成された自動販売機用リーダライタにおいて、第1の筐体10は、図3に示すように、取付面12aが外扉1の開口部1aに前方から嵌合するように取付けられる。また、第2の筐体20は、自動販売機内の所定位置に設けられており、各筐体10,20の回路基板10a,20aはワイヤーハーネス30によって相互接続されている。
次に、第1の筐体10の上面部13から背面部12に水Wが流入した場合の動作について図4を参照して説明する。まず、上面部13から背面部12に流入した水Wは、取付面12aに沿って下方に流れる。そして、突起部12bに到達した水Wの一部Wは、突起部12bの上面に沿って突起部12bの幅方向に流れる。ここで、突起部12bと取付面12aとの間にはパッキン12cが設けられているので、突起部12bの上面に沿って流れる水Wが突起部12bと取付面12aとの間を介して第1の筐体10内に流入することがない。また、突起部12bに沿って下方に流れる水Wは、凸部12dに到達すると、凸部12dの上面に沿って幅方向に流れる。そして、凸部12dの上面に沿って流れる水Wは、凸部12dの側面に沿って下方に流れ落ちる。
このようにして、第1の筐体10の取付面12a側に流れ込んだ水Wが凸部12dの周面に沿って案内されることから、水Wが挿通孔12eを介して第1の筐体10内に流入するのを防止することが可能になる。
このように、本実施形態の自動販売機用リーダライタによれば、自動販売機の前面に設けられた開口部1aに取付可能に形成された第1の筐体10と、自動販売機内に設けられた第2の筐体20と、一端側が第1の筐体10の取付面12aに設けられた挿通孔12eを介して第1の筐体10内の回路10aに接続されるとともに、他端側が第2の筐体20内の回路20aに接続されるワイヤーハーネス30とを備え、挿通孔12eを含む筒状の凸部12dを、第1の筐体10の取付面12aに設けたので、第1の筐体10の取付面12a側に流れ込んだ水Wを凸部12dの周面に沿って案内することができる。従って、水Wが挿通孔12eを介して第1の筐体10内に流入するのを防止することができるので、水Wの流入による第1の筐体10の故障発生を未然に防ぐことができ、自動販売機用リーダライタの維持コストの低減を図ることができるという利点がある。
また、凸部12dを含む取付面12aの一部(突起部12b)を、開口部1aに挿入可能な凸状に形成したので、取付面12aに流れ込む水Wの一部を突起部12bの周面に沿って案内することができる。従って、多量の水Wが凸部12dに到達するのを段階的に防ぐことができるので、自動販売機用リーダライタの防水性をより向上させることができる。
さらに、取付面12aにパッキン12cを設けたので、突起部12bの上面に沿って流れる水Wが突起部12bと取付面12aとの間を介して第1の筐体10内に流入するのを防ぐことができ、自動販売機用リーダライタの防水性をさらに向上させることができる。
なお、上記実施形態は本発明の具体例に過ぎず、本発明が上記実施形態のみに限定されることはない。例えば、上記実施形態では、略角筒状の凸部12dを設けたものを示したが、凸部12dを円筒状に形成してもよい。
また、凸部12dを含む突起部12bを、取付面12aと一体に形成することも可能である。
本発明の一実施形態を示す自動販売機用リーダライタの第1の筐体の正面側斜視図 自動販売機用リーダライタの第1の筐体の背面側斜視図 自動販売機用リーダライタの断面図 自動販売機用リーダライタの背面部の要部拡大図
符号の説明
1…外扉、1a…開口部、10…第1の筐体、10a…回路基板、12…背面部、12a…取付面、12b…突起部、12c…パッキン、12d…凸部、12e…挿通孔、20…第2の筐体、20a…回路基板、30…ワイヤーハーネス、W…水。

Claims (3)

  1. 自動販売機に設けられ、電子マネー情報が記憶された情報記憶媒体との間で通信を行う自動販売機用リーダライタにおいて、
    自動販売機の前面に設けられた開口部に取付可能に形成された第1の筐体と、
    自動販売機内に設けられた第2の筐体と、
    一端側が第1の筐体の取付面に設けられた挿通孔を介して第1の筐体内の回路に接続されるとともに、他端側が第2の筐体内の回路に接続される信号伝送部とを備え、
    前記挿通孔を含む筒状の凸部を、第1の筐体の取付面に設けた
    ことを特徴とする自動販売機用リーダライタ。
  2. 前記凸部を含む取付面の一部を、前記開口部に挿入可能な凸状に形成した
    ことを特徴とする請求項1記載の自動販売機用リーダライタ。
  3. 前記取付面に防水部材を設けた
    ことを特徴とする請求項1または2記載の自動販売機用リーダライタ。
JP2008228369A 2008-09-05 2008-09-05 自動販売機用リーダライタ Expired - Fee Related JP5149743B2 (ja)

Priority Applications (1)

Application Number Priority Date Filing Date Title
JP2008228369A JP5149743B2 (ja) 2008-09-05 2008-09-05 自動販売機用リーダライタ

Applications Claiming Priority (1)

Application Number Priority Date Filing Date Title
JP2008228369A JP5149743B2 (ja) 2008-09-05 2008-09-05 自動販売機用リーダライタ

Publications (2)

Publication Number Publication Date
JP2010061527A true JP2010061527A (ja) 2010-03-18
JP5149743B2 JP5149743B2 (ja) 2013-02-20

Family

ID=42188232

Family Applications (1)

Application Number Title Priority Date Filing Date
JP2008228369A Expired - Fee Related JP5149743B2 (ja) 2008-09-05 2008-09-05 自動販売機用リーダライタ

Country Status (1)

Country Link
JP (1) JP5149743B2 (ja)

Also Published As

Publication number Publication date
JP5149743B2 (ja) 2013-02-20

Similar Documents

Publication Publication Date Title
FR2811787B1 (fr) Methode pour valider un paiement electronique avec une carte de credit
CN103491735A (zh) 可携式电子装置的背夹
US20140197930A1 (en) Field Device for Automation Technology
US8613392B2 (en) Super-casing for contactless reader
KR101786477B1 (ko) 양방향 ic 카드 리드 장치를 이용한 ic 카드 단말기
JP5149743B2 (ja) 自動販売機用リーダライタ
US20140203083A1 (en) Two-part reader for contactless cards
JP2004355580A (ja) Ic用データ通信装置及び方法
KR20130008296A (ko) 복수의 마그네틱 선이 구비된 결제수단용 카드
JP6751985B2 (ja) ブースターアンテナ及び携帯端末スタンド
JP6283867B2 (ja) Icカード用リーダライタ、及びicカード取扱装置
ES2735076T3 (es) Lector de tarjeta inteligente sin contacto
EP1808829A1 (en) Reader/writer unit of automatic vending machine
JP2021114163A (ja) 改札機
KR20100112806A (ko) 전자 상품 표시기
KR100969926B1 (ko) 전자 카드를 내장한 통행료 정산 단말기
KR101866449B1 (ko) 포스 장치의 카드 리더 양방향 장착구조
JP4828943B2 (ja) Icカード及びこのicカードが適用される携帯通信端末
JP4520759B2 (ja) メータ装置およびそれを用いたメータ管理システム
KR200283565Y1 (ko) 광고부를 구비한 버스카드 인식장치
JP7683690B2 (ja) サーバ装置、読取操作支援方法、プログラムおよび読取機器
JP4553264B2 (ja) 非接触型端末装置
JP2016168741A (ja) カード情報読取手段の保持部材及び画像形成装置
JP2018205912A (ja) 自動販売機のリーダライタ取付構造
KR20130088263A (ko) 복합 전자카드

Legal Events

Date Code Title Description
A621 Written request for application examination

Free format text: JAPANESE INTERMEDIATE CODE: A621

Effective date: 20110218

TRDD Decision of grant or rejection written
A01 Written decision to grant a patent or to grant a registration (utility model)

Free format text: JAPANESE INTERMEDIATE CODE: A01

Effective date: 20121031

A61 First payment of annual fees (during grant procedure)

Free format text: JAPANESE INTERMEDIATE CODE: A61

Effective date: 20121130

R150 Certificate of patent or registration of utility model

Ref document number: 5149743

Country of ref document: JP

Free format text: JAPANESE INTERMEDIATE CODE: R150

Free format text: JAPANESE INTERMEDIATE CODE: R150

FPAY Renewal fee payment (event date is renewal date of database)

Free format text: PAYMENT UNTIL: 20151207

Year of fee payment: 3

S533 Written request for registration of change of name

Free format text: JAPANESE INTERMEDIATE CODE: R313533

R350 Written notification of registration of transfer

Free format text: JAPANESE INTERMEDIATE CODE: R350

R250 Receipt of annual fees

Free format text: JAPANESE INTERMEDIATE CODE: R250

R250 Receipt of annual fees

Free format text: JAPANESE INTERMEDIATE CODE: R250

R250 Receipt of annual fees

Free format text: JAPANESE INTERMEDIATE CODE: R250

R250 Receipt of annual fees

Free format text: JAPANESE INTERMEDIATE CODE: R250

S111 Request for change of ownership or part of ownership

Free format text: JAPANESE INTERMEDIATE CODE: R313113

R350 Written notification of registration of transfer

Free format text: JAPANESE INTERMEDIATE CODE: R350

R250 Receipt of annual fees

Free format text: JAPANESE INTERMEDIATE CODE: R250

R250 Receipt of annual fees

Free format text: JAPANESE INTERMEDIATE CODE: R250

R250 Receipt of annual fees

Free format text: JAPANESE INTERMEDIATE CODE: R250

LAPS Cancellation because of no payment of annual fees