JP2010059914A - 内燃機関の燃料噴射装置 - Google Patents

内燃機関の燃料噴射装置 Download PDF

Info

Publication number
JP2010059914A
JP2010059914A JP2008228454A JP2008228454A JP2010059914A JP 2010059914 A JP2010059914 A JP 2010059914A JP 2008228454 A JP2008228454 A JP 2008228454A JP 2008228454 A JP2008228454 A JP 2008228454A JP 2010059914 A JP2010059914 A JP 2010059914A
Authority
JP
Japan
Prior art keywords
fuel injection
cylinder head
delivery pipe
main body
injection valve
Prior art date
Legal status (The legal status is an assumption and is not a legal conclusion. Google has not performed a legal analysis and makes no representation as to the accuracy of the status listed.)
Granted
Application number
JP2008228454A
Other languages
English (en)
Other versions
JP5125909B2 (ja
Inventor
Keisuke Komori
啓介 小森
Takashi Usui
隆 臼井
Current Assignee (The listed assignees may be inaccurate. Google has not performed a legal analysis and makes no representation or warranty as to the accuracy of the list.)
Toyota Motor Corp
Original Assignee
Toyota Motor Corp
Priority date (The priority date is an assumption and is not a legal conclusion. Google has not performed a legal analysis and makes no representation as to the accuracy of the date listed.)
Filing date
Publication date
Application filed by Toyota Motor Corp filed Critical Toyota Motor Corp
Priority to JP2008228454A priority Critical patent/JP5125909B2/ja
Publication of JP2010059914A publication Critical patent/JP2010059914A/ja
Application granted granted Critical
Publication of JP5125909B2 publication Critical patent/JP5125909B2/ja
Expired - Fee Related legal-status Critical Current
Anticipated expiration legal-status Critical

Links

Images

Landscapes

  • Fuel-Injection Apparatus (AREA)

Abstract

【課題】燃料噴射弁の振動のシリンダヘッドへの伝達を効果的に抑えることができる内燃機関の燃料噴射装置を提供する。
【解決手段】シリンダヘッド4の外面4aに形成された孔部10に設けられた燃料噴射弁12を備えた内燃機関1の燃料噴射装置1Aにおいて、燃料噴射弁12は、孔部10内に位置する噴射部17と、孔部10の外側に位置してその孔径よりも大きく形成され、かつ孔部10側に位置する本体部下面16bを持つ本体部16と、を有し、本体部16の本体部下面16bとシリンダヘッド4の外面4aとが非接触状態となるように設けられている。
【選択図】図2

Description

本発明は、シリンダヘッドに設けられた燃料噴射弁を備えた内燃機関の燃料噴射装置に関する。
シリンダヘッドに燃料噴射弁を設けると、その燃料噴射時に生じる振動がシリンダヘッドに伝達されることがある。シリンダヘッドへの振動の伝達を抑える対策として、シリンダヘッドに凹状の支持部を形成し、その支持部の底面にシール部材を介して燃料噴射弁の本体部を押し付け、押圧装置を用いて本体部とシリンダヘッドとの間の密着度合いを小さくする装置が知られている(特許文献1)。また、外周面に複数のOリングが取り付けられたサイドフィード型の燃料噴射弁をシリンダヘッドカバーに形成された弁体収容孔部内に収容し、押えプレートで燃料噴射弁を押し付けることによりOリングを弁体収容孔部の内周面に押し付けて、燃料噴射弁とシリンダヘッドカバーとが直接接触しないようにした装置も提案されている(特許文献2)。その他に、本発明に関連する先行技術文献として特許文献3〜6が存在する。
特開2006−9630号公報 特開2005−83261号公報 特開2008−111411号公報 特開平10−318095号公報 特開2001−65429号公報 実開平3−63762号公報
上述した特許文献1の装置では、燃料噴射弁の本体部とシリンダヘッドとの密着度合を小さくしても、燃料噴射弁はシール部材を介してシリンダヘッドと接しているので、燃料噴射弁で生じた振動はシール部材を介してシリンダヘッドに伝達する。また、特許文献2の装置では、燃料噴射弁がOリングを介してシリンダヘッドカバーに接しているので、燃料噴射弁で生じた振動はOリングを介してシリンダヘッドカバーに伝達するおそれがある。
そこで、本発明は、燃料噴射弁に生じた振動のシリンダヘッドへの伝達を効果的に抑えることができる内燃機関の燃料噴射装置を提供することを目的とする。
本発明の燃料噴射装置は、シリンダヘッドの外面に形成された孔部に設けられた燃料噴射弁を備えた内燃機関の燃料噴射装置において、前記燃料噴射弁は、前記孔部内に位置する噴射部と、前記孔部の外側に位置してその孔径よりも大きく形成され、かつ前記孔部側に位置する本体部下面を持つ本体部と、を有し、前記本体部の前記本体部下面と前記シリンダヘッドの前記外面とが非接触状態となるように設けることにより、上述した課題を解決する(請求項1)。
本発明の燃料噴射装置によれば、本体部の本体部下面とシリンダヘッドの外面とが非接触状態となるように燃料噴射弁が設けられているので、本体部がシリンダヘッドの外面から浮いた状態に維持される。これにより、燃料噴射弁とシリンダヘッドとの間の直接的な振動伝達経路を遮断することができるので、燃料噴射弁に生じた振動のシリンダヘッドへの伝達を効果的に抑えることができる。また、シリンダブロックの振動に基づいてノッキングの発生の有無を検出するノッキング検出手段が設けられた内燃機関に本発明を適用した場合には、燃料噴射弁の振動がシリンダヘッドを介してシリンダブロックに伝達されることにより生じるノッキング検出手段の誤作動を未然に防止することもできる。
本発明の一形態においては、前記シリンダヘッドに接続され、かつ前記孔部の反対側に位置する前記本体部の端部が嵌め込まれる嵌め込み部を有して前記燃料噴射弁に燃料を導くデリバリパイプと、前記デリバリパイプに設けられて前記本体部の前記シリンダヘッド側への移動を制限する移動制限手段と、をさらに備えてもよい(請求項2)。燃料噴射弁は、燃圧によって本体部がシリンダヘッドに向かう方向の力を受けている。また、シリンダヘッド内が負圧の場合にも同様の力を受ける。そのため、本体部の端部をデリバリパイプの嵌め込み部に嵌め込んだ場合、本体部がシリンダヘッド側に移動して本体部下面とシリンダヘッドの外面とが接触するおそれがある。本形態によれば、移動制限手段によって本体部のシリンダヘッド側への移動が制限されるので、本体部とシリンダヘッドとが接触することを防止することができる。また、移動制限手段をシリンダヘッドではなくデリバリパイプに設けているので、燃料噴射弁に生じた振動をデリバリパイプに伝達させることができる。
上記の形態において、前記移動制御手段は、前記本体部の前記端部が前記デリバリパイプの前記嵌め込み部に嵌め込まれた状態で前記デリバリパイプ及び前記本体部を前記燃料噴射弁の長手方向から挟み込む保持部を備え、前記保持部には、前記デリバリパイプの上端面に接する上側突起部が設けられ、前記保持部は、前記デリバリパイプに対して前記燃料噴射弁の長手方向と交差する方向に前記燃料噴射弁と一体に移動可能に設けられ、前記上側突起部は、前記デリバリパイプの前記上端面に対して傾斜できるように形成されてもよい(請求項3)。本形態によれば、本体部及びデリバリパイプが燃料噴射弁の長手方向から保持部によって挟み込まれるので、本体部のシリンダヘッド側への移動が制限される。また、上側突起部をデリバリパイプの上端面に対して傾斜させることで、保持部をデリバリパイプに対して燃料噴射弁の長手方向と交差する方向に燃料噴射弁と一体に移動させることができる。このため、燃料噴射弁の短手方向に関してデリバリパイプの嵌め込み部と孔部との位置がずれている場合であっても、嵌め込み部と孔部との両方に燃料噴射弁を追従させることができる。これにより、嵌め込み部からの燃料漏れや孔部からのガス漏れを防止することができる。
本発明の一形態において、前記移動制御手段は、前記本体部の前記端部が前記デリバリパイプの前記嵌め込み部に嵌め込まれた状態で前記デリバリパイプ及び前記本体部を前記燃料噴射弁の長手方向から挟み込む保持部を備え、前記保持部には、前記本体部の前記本体部下面に接する下側突起部が設けられ、前記保持部は、前記燃料噴射弁に対して当該燃料噴射弁の長手方向と交差する方向に移動可能に設けられ、前記下側突起部は、前記本体部の前記本体部下面に対して傾斜できるように形成されてもよい(請求項4)。本形態によれば、下側突起部を本体部下面に対して傾斜させることで、燃料噴射弁を保持部に対して燃料噴射弁の長手方向と交差する方向に移動させることができる。このため、燃料噴射弁の短手方向に関してデリバリパイプの嵌め込み部と孔部との位置がずれている場合であっても、嵌め込み部と孔部との両方に燃料噴射弁を追従させることができる。これにより、嵌め込み部からの燃料漏れや孔部からのガス漏れを防止することができる。
本発明の一形態において、前記本体部の前記端部には、当該端部の外周面に設けられたシール部材が外れることを阻止する抜止部が形成され、前記デリバリパイプの前記嵌め込み部には、前記抜止部に向かって突出する絞り部が形成されてもよい(請求項5)。この形態によれば、抜止部に向かって突出する絞り部をデリバリパイプの嵌め込み部に形成しているので、絞り部を形成しない場合と比べて、抜止部と絞り部との間のクリアランスを狭くすることができる。これにより、燃料噴射弁に振動が生じて抜止部が移動した際に、クリアランスを通過する燃料の粘性抵抗が抜止部に生じるので、燃料噴射弁の振動を減衰させることができる。
本発明の一形態において、前記噴射部が内燃機関の気筒内に位置しており、前記噴射部の外周面に装着された状態で前記シリンダヘッドと前記本体部との間に設けられ、かつ前記気筒から前記噴射部に伝達した熱を前記シリンダヘッドに伝達するばね部材を備えてもよい(請求項6)。燃料噴射弁の噴射部が気筒内に位置している場合、気筒から噴射部に熱が伝わることでその噴射部にデポジットが付着して燃料噴射弁の燃料の噴射不良といった不具合が生じることがある。本形態によれば、ばね部材を利用して気筒から噴射弁に伝達した熱をシリンダヘッドに伝達させることができるので、噴射部の過熱を抑えることができる。これにより、燃料噴射弁の燃料の噴射不良といった不具合が生じる懸念を排除することができる。また、燃料噴射弁の振動をばね部材で吸収することもできる。
本発明の一形態においては、前記シリンダヘッドに接続されて前記燃料噴射弁に燃料を導くデリバリパイプと、前記シリンダヘッドと前記デリバリパイプとの間に配置された弾性部材と、をさらに備えてもよい(請求項7)。本形態によれば、燃料噴射弁で生じた振動が、デリバリパイプを介してシリンダヘッドに伝達する。しかし、デリバリパイプとシリンダヘッドの間に弾性部材を設けているので、燃料噴射弁からデリバリパイプに伝達した振動を弾性部材で吸収することができる。これにより、燃料噴射弁に生じた振動のシリンダヘッドへの伝達をさらに効果的に抑えることができる。
本発明の一形態においては、前記デリバリパイプを前記シリンダヘッドに固定するための固定手段をさらに備え、前記固定手段は、前記デリバリパイプに対して移動不能な状態で、前記シリンダヘッドに形成された挿入穴部に挿入され、挿入方向と交差する方向に延びる貫通孔が形成された第1保持部材と、前記シリンダヘッドに対して移動不能な状態で前記貫通孔に挿入された第2保持部材と、を有してもよい(請求項8)。本形態によれば、第1保持部材が挿入穴部に挿入された状態で第2保持部材が貫通孔に挿入されているので、第1保持部材が挿入穴部から抜けることを阻止することができる。これにより、デリバリパイプをシリンダヘッドに固定することができる。よって、溶接やボルトなどの固定手段を利用する場合と比較して、デリバリパイプをシリンダヘッドに容易に固定することができる。
以上に説明したように、本発明の燃料噴射装置によれば、本体部の本体部下面とシリンダヘッドの外面とが非接触状態となるように燃料噴射弁が設けられているので、本体部がシリンダヘッドの外面から浮いた状態に維持される。これにより、燃料噴射弁とシリンダヘッドとの間の直接的な振動伝達経路を遮断することができるので、燃料噴射弁に生じた振動のシリンダヘッドへの伝達を効果的に抑えることができる。
(第1の形態)
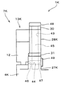
図1は本発明に係る燃料噴射装置が適用された内燃機関の要部を模式的に示した図である。図2は図1のIIーII線に沿った断面図を示している。内燃機関(以下、エンジンと呼ぶことがある。)1Aは、車両に走行用動力源として搭載された火花点火式内燃機関として構成されている。エンジン1Aは、4つの気筒2が形成されたシリンダブロック3と、それらの気筒2を塞ぐようにシリンダブロック3の上部に設けられたシリンダヘッド4と、燃料タンク5から燃料通路6を介して導かれた燃料を各気筒2内に噴射するための燃料噴射装置7Aとを備えている。シリンダブロック3には、シリンダブロック3の振動に基づいてノッキングの有無を検出するノックセンサ8が設けられている。図2に示すように、シリンダヘッド4には、その外面に形成された凹部9の底面から気筒2まで延びる孔部10が形成されている。燃料通路6には、燃料ポンプ11が設けられている(図1参照)。
燃料噴射装置7Aは、気筒2毎に設けられた燃料噴射弁12と、燃料通路6から導かれる燃料を各燃料噴射弁12に導くデリバリパイプ13と、デリバリパイプ13に設けられた移動制限手段としての保持部14とを備えている。デリバリパイプ13は固定部材15にてシリンダヘッド4に固定されている。燃料噴射弁12の基本的な構造は周知のものと同様である。そのため、燃料噴射弁12の詳細な説明は省略し、本発明に関連する部位のみ以下に説明する。図2に示すように、燃料噴射弁12は、凹部9の幅よりも大きく形成された本体部16と、孔部10に位置する噴射部17とを有している。噴射部17は、孔部10を介して気筒2まで延びる小径部17aと、小径部17aの径よりも大きな径を有した大径部17bとを備えている。小径部17aの外周面にはシール部材19が設けられている。これにより、気筒2内の気体が外部に漏れることを防ぐことができる。孔部10の反対側に位置する本体部16の端部16aは、デリバリパイプ13の嵌め込み部20に嵌め込まれている。つまり、燃料噴射弁12は後端側から燃料が導かれるいわゆるトップフィード型燃料噴射弁として構成されている。本体部16とデリバリパイプ13とはクランプ21によって固定されている。本体部16の端部16aには、その外周面に設けられたシール部材としてのOリング21が本体部16から外れることを阻止する抜止部23が形成されている。また、燃料噴射弁12の長手方向の位置は、孔部10側に位置する本体部下面16bとシリンダヘッド4の外面4aとが非接触状態となるように調整されている。
保持部14は、本体部16及びデリバリパイプ13を燃料噴射弁12の長手方向から挟み込むようにして設けられている。保持部14は、デリバリパイプ13の上端面13aに接する上板部24と、上板部24の両端から本体部16に向かって延びる側板部25と、側板部25の端部に設けられて本体部下面16bと接する下板部26とを備えている。デリバリパイプ13及び本体部16と側板部24との間には幾らかの隙間が空いている。
以上のように構成された燃料噴射装置7Aにおいては、本体部16の本体部下面16bとシリンダヘッド4の外面4aとが非接触状態となっているので、本体部16がシリンダヘッド4から浮いた状態に維持される。これにより、燃料噴射弁12とシリンダヘッド4との間の直接的な振動伝達経路を遮断することができるので、燃料噴射弁12に生じた振動のシリンダヘッド4への伝達を効果的に抑えることができる。よって、燃料噴射弁12からシリンダヘッド4を介してシリンダブロック3に伝達される振動も抑えられるので、燃料噴射弁12の振動がシリンダブロック3に伝達されることにより生じるノックセンサ8の誤作動を未然に防止することができる。
燃料噴射弁12は、燃料ポンプ11の燃圧によって本体部16がシリンダヘッド4に向かう方向の力を受ける。また、燃料噴射弁12は、気筒2内が負圧状態の場合にも同様の力を受ける。本形態の燃料噴射装置7Aにおいては、保持部14が設けられているので本体部16のシリンダヘッド4側への移動が制限される。これにより、本体部16とシリンダヘッド4とが接触することを防止することができる。
なお、本形態では、クランプ21に換えてばね部材を使用してもよい。この場合、燃料噴射弁12で生じた振動をばね部材で吸収することができる。また、保持部14は、燃料噴射弁12の外周を囲む筒状に形成してもよい。
(第2の形態)
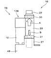
図3は本発明の第2の形態に係る燃料噴射装置7Bが適用された内燃機関1Bの要部を示した図である。なお、上述した第1の形態と共通する部分には同一の参照符号を付し、重複する説明は省略する。図3に示すように、本形態のデリバリパイプ13Bは、燃料噴射弁12と並ぶようにしてシリンダヘッド4Bに形成されたボス部27とそのボス部27の上部に位置するデリバリパイプ支持部28とをボルト29で締付けることによってシリンダヘッド4Bに固定されている。また、本形態の燃料噴射装置7Bには、ボルト29の上端部とデリバリパイプ支持部28との間に配置された受部材30と、ボス部27とデリバリパイプ支持部28との間に配置された弾性部材31とが設けられている。受部材30は、気筒2内が正圧状態の場合にデリバリパイプ支持部28に生じる力を受けることが可能な程度の剛性を有しており、例えば金属などで形成されている。弾性部材31は、気筒2内が負圧状態の場合にデリバリパイプ支持部28に生じる力とボルト27の軸力とに耐え得る強度を有しており、例えばゴムなどで形成されている。
本形態のエンジン1Bにおいて、デリバリパイプ支持部28は、気筒2内が正圧状態の場合に図3の矢印Aの方向の力を受け、気筒2内が負圧状態の場合に図3の矢印Bの方向の力を受ける。また、燃料噴射弁12に生じた振動は、デリバリパイプ支持部28を介してシリンダヘッド4Bに伝達される。本形態の燃料噴射装置7Bによれば、気筒2内が正圧状態の場合に生じる力を受部材30で受けることができる。これにより、ボルト29が損傷することを防止することができる。また、燃料噴射弁12からデリバリパイプ支持部28に伝達された振動を弾性部材31で吸収することができる。これにより、燃料噴射弁12に生じた振動のシリンダヘッド4Bへの伝達をさらに効果的に抑えることができる。なお、本形態においては燃料噴射装置7Bが保持部14を備えていない構成であっても同様の効果を得ることができる。
(第3の形態)
図4は本発明の第3の形態に係る燃料噴射装置7Cを示した図である。なお、図4は図2に対応しており、上述した図2と共通する部分には同一の参照符号を付し、重複する説明は省略する。図4に示すように、本形態の燃料噴射装置7Cには、半球状に形成された上側突起部32が保持部14の上板部24に設けられている。上側突起部32は、その半球面がデリバリパイプ13の上端面13aに接している。上側突起部32と保持部14とは一体に形成されている。
本形態では、上側突起部32が半球状に形成されているので、上側突起部32をデリバリパイプ13の上端面13aに対して傾斜させることができる。つまり、保持部14はデリバリパイプ13に対して燃料噴射弁12の長手方向と交差する方向(図4の矢印の方向)に移動させることができる。また、保持部14の下板部26と本体部16の本体部下面16bとの間には摩擦力が生じているので、保持部14と燃料噴射弁12とを一体に移動させることができる。これにより、燃料噴射弁12の短手方向に関してデリバリパイプ13の嵌め込み部20と孔部10との位置がずれた場合であっても、燃料噴射弁12を追従させることができるので、嵌め込み部20からの燃料漏れや孔部10からの燃焼ガス漏れを防止することができる。
なお、本形態の上側突出部32は、半球状に形成する例に限らず、デリバリパイプ13の上端面13aに対して傾斜させることができる限り、適宜に変更が可能である。例えば、上側突出部32を半弧状に形成してもよいし、先端が尖るように円錐状に形成してもよい。
(第4の形態)
図5は本発明の第4の形態に係る燃料噴射装置7Dを示した図である。図6は図5の特徴部を側面から見た図である。なお、図5は図4に対応しており、上述した図5と共通する部分には同一の参照符号を付し、重複する説明は省略する。図5に示すように、本形態の燃料噴射装置7Dには、半弧状に形成された2つ下側突起部33が保持部14の下板部26に設けられている。下側突起部33は、その半弧面が本体部下面16bに接している。下側突起部33と保持部14とは一体に形成されている。
本形態では、下側突起部33が半弧状に形成されているので、下側突起部33を本体部下面16bに対して傾斜させることができる。つまり、燃料噴射弁12を下側突起部33の半弧面に沿った方向(図6の矢印の方向)に移動させることができる。これにより、上側突起部32のみを設けた場合よりも燃料噴射弁12の可動範囲を増やすことができるので、デリバリパイプ13の嵌め込み部20と孔部10との両方への燃料噴射弁12の追従性を向上させることができる。
なお、本形態の下側突起部33は、半弧状に形成する例に限らず、本体部下面16bに対して傾斜させることができる限り、適宜に変更が可能である。例えば、下側突起部33を半球状に形成してもよいし、先端が尖るように円錐状に形成してもよい。また、下側突起部33の配置する方向は任意に設定してよい。
(第5の形態)
図7は本発明の第5の形態に係る燃料噴射装置7Eを示した図である。なお、図7は図2に対応しており、上述した図2と共通する部分には同一の参照符号を付し、重複する説明は省略する。図7に示すように、本形態の保持部14Eは、上側保持部34と下側保持部35とを有している。上側保持部34の上端部にはボルト36が取り付けられ、球面状に形成されたボルト36の先端部がデリバリパイプ13の上端面13aに接している。また、下側保持部35は上側保持部34に嵌め込まれている。
本形態においては、上側保持部34をデリバリパイプ13の上方から嵌めた後に下側保持部35を上側保持部34に嵌め込み、最後にボルト36を締め込むことにより保持部14Eを組み付けることができる。これにより、保持部14Eの組み付け性を向上させることができる。
(第6の形態)
図8は本発明の第6の形態に係る燃料噴射装置7Fを示した図である。なお、図8は図2に対応しており、上述した図2と共通する部分には同一の参照符号を付し、重複する説明は省略する。図8に示すように、本形態の燃料噴射装置7Fには、保持部14Fの上板部24Fにボルト37が設けられている。ボルト37の先端部は、球面状に形成され、デリバリパイプ13の上端面13aに接している。また、燃料噴射弁12Fの本体部16Fの一部が、デリバリパイプ13の幅Cよりも大きくなるように幾らか外側に突出し、下板部26F間の間隔Dがデリバリパイプ13の幅Cよりも大きくなるように設定されている。
本形態においては、下板部24F間の間隔Dをデリバリパイプ13の幅Cよりも大きく形成しているので、保持部14Fをデリバリパイプ13の上方から被せるようにして取り付けることができる。これにより、保持部14Fを容易に組み付けることができる。
(第7の形態)
図9は本発明の第7の形態に係る燃料噴射装置7Gを示した図である。なお、図9は図2に対応しており、上述した図2と共通する部分には同一の参照符号を付し、重複する説明は省略する。図9に示すように、本形態の側板部25Gには、ばね部材38が設けられている。これにより、燃料噴射弁12から保持部14Gに伝達された振動がばね部材38で吸収されるので、燃料噴射弁12の振動のシリンダヘッドへ4の伝達をさらに効果的に抑えることができる。
なお、本形態の側板部25Gは、第3の形態又は第4の形態にも適用することができる。
(第8の形態)
図10は本発明の第8の形態に係る燃料噴射装置7Hの一部を拡大して示した図である。なお、上述した第1の形態と共通する部分には同一の参照符号を付し、重複する説明は省略する。図10に示すように、本形態のデリバリパイプ13Hの嵌め込み部20Hには、抜止部23に向かって突出する絞り部39が形成されている。絞り部39の突出量は、絞り部39と抜止部23との間のクリアランスが最小限になるように設定されている。
本形態においては、デリバリパイプ13Hの嵌め込み部20Hに絞り部39を設けているので、絞り部39を設けない場合と比べて、絞り部39と抜止部23との間のクリアランスが小さくなる。これにより、燃料噴射弁12に振動が生じて抜止部23が移動した際に、クリアランスを通過する燃料の粘性抵抗が抜止部23に生じるので、燃料噴射弁12の振動を減衰させることができる。
なお、本形態の絞り部39は、第2の形態〜第7の形態のいずれかの形態にも適用することができる。
(第9の形態)
図11は本発明の第9の形態に係る燃料噴射装置7Iを示した図である。なお、図11は図2に対応しており、上述した図2と共通する部分には同一の参照符号を付し、重複する説明は省略する。図11に示すように、本形態の燃料噴射装置7Iには、本体部下面16bと下板部26との間に弾性部材40が設けられている。弾性部材40としては、例えば皿はねやコイルばね等を用いることができる。この形態においては、燃料噴射弁12の振動を弾性部材40で吸収することができるので、燃料噴射弁12に生じた振動のシリンダヘッド4への伝達をさらに効果的に抑えることができる。
なお、本形態の弾性部材40は、第2の形態、第3の形態及び第5の形態〜第8の形態のいずれかの形態に適用することができる。
(第10の形態)
図12は本発明の第10の形態に係る燃料噴射装置7Jを示した図である。なお、図12は図2に対応しており、上述した図2と共通する部分には同一の参照符号を付し、重複する説明は省略する。図12に示すように、本形態の燃料噴射装置7Jには、小径部17aの外周面に装着された状態でシリンダヘッド4と大径部17bとの間に設けられ、かつ気筒2から噴射部17に伝達した熱をシリンダヘッド4に伝達するばね部材41が設けられている。ばね部材41としては、金属製のコイルばねが用いられる。
本形態においては、燃料噴射弁12の振動をばね部材41で吸収することができるので、燃料噴射弁12の振動のシリンダヘッド4への伝達をさらに効果的に抑えることができる。また、ばね部材41が小径部17aの外周面に装着されているので、気筒2から噴射部17に伝わる熱をばね部材41に伝達させてシリンダヘッド4及び大気に放出させることができる。これにより、噴射部17の過熱を抑えることができるので、気筒2から噴射部17に熱を受けることで燃料噴射孔(不図示)にデポジットが付着して燃料噴射弁12の燃料の噴射不良といった不具合が生じる懸念を排除することができる。また、ばね部材41が金属製であるので噴射部17の熱を効率よくシリンダヘッド4に伝達することができる。
なお、本形態のばね部材は金属製に限らず、気筒2から噴射部17に伝達した熱をシリンダヘッド4に伝達することができる限り、適宜に変更することができる。また、本形態のばね部材41は、第2の形態〜第9の形態のいずれかの形態にも適用することができる。
(第11の形態)
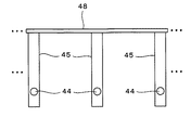
図13は本発明の第11の形態に係る燃料噴射装置7Kが適用された内燃機関1Kの要部を示した図である。なお、図13は図3に対応しており、上述した図3と共通する部分には同一の参照符号を付し、重複する説明は省略する。図13に示すように、本形態の燃料噴射装置7Kには、デリバリパイプ13をシリンダヘッド4に固定するための固定装置42が設けられている。固定装置42は、受部材30からデリバリパイプ支持部28K及び弾性部材31を介してシリンダヘッド4のボス部27Kまで延びる第1挿入穴部43に挿入され、挿入方向と交差する方向に延びる貫通孔44が形成された第1保持部材45と、第1挿入穴部43に連通するようにボス部27Kに形成された第2挿入穴部46に挿入された状態で第1保持部材45の貫通孔44に挿入された第2保持部材47とを備えている。保持部材45、47としては、鉄製の丸棒が利用される。第1保持部材45は、第1挿入穴部43に挿入されることによりデリバリパイプ13Kに対して移動不能な状態となる。また、第2保持部材47は、第2挿入穴部46に挿入されることによりシリンダヘッド4Kに対して移動不能な状態となる。
図14及び図15に示すように、各保持部材45、47は燃料噴射弁12毎に設けられている。第1保持部材45のそれぞれは、その一端部を第1連結部材48で連結することにより一体に構成されている。同様にして、第2保持部材47のそれぞれは、その一端部を第2連結部材49で連結することにより一体に構成されている。第2保持部材47の先端はテーパ状に形成されている。
本形態では、第1挿入穴部43に第1保持部材45を挿入した後に第2保持部材47を貫通孔44に差し込むことにより、第1保持部材45が第1挿入穴部43から抜けることを阻止することができる。また、第1保持部材45は弾性部材31を圧縮するようにシリンダヘッド4K側に沈み込むので、その圧縮した弾性部材31の復元力により第2保持部材47がデリバリパイプ支持部28K側に持ち上げられる。これにより、第2保持部材47が第2挿入穴部46から抜けることを阻止することができる。
本形態においては、保持部材45、47を所定の位置に挿入するだけでデリバリパイプ13Kをシリンダヘッド4Kに固定することができるので、溶接やボルトなどの固定手段を利用する場合と比較して、デリバリパイプ13Kをシリンダヘッド4Kに容易に固定することができる。また、第2保持部材47の先端をテーパ状に形成しているので、第2保持部材47の貫通孔44への差し込みが容易になる。さらに、第1保持部材45及び第2保持部材47のそれぞれが連結部材48、49により連結されているので、部品点数を少なくすることができる。なお、本形態においては燃料噴射装置7Kが保持部14を備えていない構成であっても同様の効果を得ることができる。
(第12の形態)
図16は本発明の第12の形態に係る燃料噴射装置7Lが適用された内燃機関1Lの要部を示した図である。なお、図16は図13に対応しており、上述した図13と共通する部分には同一の参照符号を付し、重複する説明は省略する。図16に示すように、本形態では、図13の第1連結部材48及び受部材30が省略され、第1挿入穴部43が弾性部材31からシリンダヘッド4Kのボス部27Kまでの区間に短縮されている。また、第1保持部材45Lとデリバリパイプ支持部28Lとが一体に形成されている。これにより、図13の第1連結部材48及び受部材30が不要になるので、部品点数が少なくなり、デリバリパイプ13Lのシリンダヘッド4Kへの組み付け性を向上させることができる。なお、本形態においては燃料噴射装置7Lが保持部14を備えていない構成であっても同様の効果を得ることができる。
(参考例)
図17は本発明と関連する参考例に係る燃料噴射装置7Mを示した図である。なお、図17は図2に対応しており、上述した図2と共通する部分には同一の参照符号を付し、重複する説明は省略する。図17に示すように、本参考例の燃料噴射装置7Mには、保持部14の下板部26とシリンダヘッド4との間にOリング50が設けられている。これにより、内燃機関1の低温始動時の状況でシール部材19が劣化してシール不足が生じた場合でも、Oリング50によって気筒2内の燃焼ガス漏れを防ぐことができる。
本発明に係る燃料噴射装置が適用された内燃機関の要部を模式的に示した図。 図1のIIーII線に沿った断面図。 本発明の第2の形態に係る燃料噴射装置が適用された内燃機関の要部を示した図。 本発明の第3の形態に係る燃料噴射装置を示した図。 本発明の第4の形態に係る燃料噴射装置を示した図。 図5の特徴部を側面から見た図。 本発明の第5の形態に係る燃料噴射装置を示した図。 本発明の第6の形態に係る燃料噴射装置を示した図。 本発明の第7の形態に係る燃料噴射装置を示した図。 本発明の第8の形態に係る燃料噴射装置の一部を拡大して示した図。 本発明の第9の形態に係る燃料噴射装置を示した図。 本発明の第10の形態に係る燃料噴射装置を示した図。 本発明の第11の形態に係る燃料噴射装置が適用された内燃機関の要部を示した図。 第1保持部材を説明するための図。 第2保持部材を説明するための図。 本発明の第12の形態に係る燃料噴射装置が適用された内燃機関の要部を示した図。 参考例に係る燃料噴射装置を示した図。
符号の説明
1A、1B、1K、1L 内燃機関
2 気筒
4、4K シリンダヘッド
4a シリンダヘッドの外面
7A、7B、7C、7D、7E、7F、7G、7H、7I、7J、7K、7L 燃料噴射装置
9 凹部
10 孔部
12 燃料噴射弁
13、13B、13H、13K、13L デリバリパイプ
14、14E、14F、14G 保持部(移動制限手段)
16 本体部
16a 孔部の反対側に位置する本体部の端部
16b 本体部下面
17 噴射部
17a 小径部
17b 大径部
20 嵌め込み部
22 Oリング(シール部材)
23 抜止部
31 弾性部材
32 上側突起部
33 下側突起部
39 絞り部
41 ばね部材
43、43L 第1挿入穴部(挿入穴部)
44 貫通孔
45、45L 第1保持部材
47 第2保持部材

Claims (8)

  1. シリンダヘッドの外面に形成された孔部に設けられた燃料噴射弁を備えた内燃機関の燃料噴射装置において、前記燃料噴射弁は、前記孔部内に位置する噴射部と、前記孔部の外側に位置してその孔径よりも大きく形成され、かつ前記孔部側に位置する本体部下面を持つ本体部と、を有し、前記本体部の前記本体部下面と前記シリンダヘッドの前記外面とが非接触状態となるように設けられていることを特徴とする内燃機関の燃料噴射装置。
  2. 前記シリンダヘッドに接続され、かつ前記孔部の反対側に位置する前記本体部の端部が嵌め込まれる嵌め込み部を有して前記燃料噴射弁に燃料を導くデリバリパイプと、前記デリバリパイプに設けられて前記本体部の前記シリンダヘッド側への移動を制限する移動制限手段と、をさらに備える請求項1に記載の内燃機関の燃料噴射装置。
  3. 前記移動制御手段は、前記本体部の前記端部が前記デリバリパイプの前記嵌め込み部に嵌め込まれた状態で前記デリバリパイプ及び前記本体部を前記燃料噴射弁の長手方向から挟み込む保持部を備え、前記保持部には、前記デリバリパイプの上端面に接する上側突起部が設けられ、前記保持部は、前記デリバリパイプに対して前記燃料噴射弁の長手方向と交差する方向に前記燃料噴射弁と一体に移動可能に設けられ、前記上側突起部は、前記デリバリパイプの前記上端面に対して傾斜できるように形成されている請求項2に記載の内燃機関の燃料噴射装置。
  4. 前記移動制御手段は、前記本体部の前記端部が前記デリバリパイプの前記嵌め込み部に嵌め込まれた状態で前記デリバリパイプ及び前記本体部を前記燃料噴射弁の長手方向から挟み込む保持部を備え、前記保持部には、前記本体部の前記本体部下面に接する下側突起部が設けられ、前記保持部は、前記燃料噴射弁に対して当該燃料噴射弁の長手方向と交差する方向に移動可能に設けられ、前記下側突起部は、前記本体部の前記本体部下面に対して傾斜できるように形成されている請求項2に記載の内燃機関の燃料噴射装置。
  5. 前記本体部の前記端部には、当該端部の外周面に設けられたシール部材が外れることを阻止する抜止部が形成され、前記デリバリパイプの前記嵌め込み部には、前記抜止部に向かって突出する絞り部が形成されている請求項2〜4のいずれか一項に記載の内燃機関の燃料噴射装置。
  6. 前記噴射部が内燃機関の気筒内に位置しており、前記噴射部の外周面に装着された状態で前記シリンダヘッドと前記本体部との間に設けられ、かつ前記気筒から前記噴射部に伝達した熱を前記シリンダヘッドに伝達するばね部材を備えている請求項1〜5のいずれか一項に記載の内燃機関の燃料噴射装置。
  7. 前記シリンダヘッドに接続されて前記燃料噴射弁に燃料を導くデリバリパイプと、前記シリンダヘッドと前記デリバリパイプとの間に配置された弾性部材と、をさらに備える請求項1に記載の内燃機関の燃料噴射装置。
  8. 前記デリバリパイプを前記シリンダヘッドに固定するための固定手段をさらに備え、前記固定手段は、前記デリバリパイプに対して移動不能な状態で、前記シリンダヘッドに形成された挿入穴部に挿入され、挿入方向と交差する方向に延びる貫通孔が形成された第1保持部材と、前記シリンダヘッドに対して移動不能な状態で前記貫通孔に挿入された第2保持部材と、を有している請求項2〜7のいずれか一項に記載の内燃機関の燃料噴射装置。
JP2008228454A 2008-09-05 2008-09-05 内燃機関の燃料噴射装置 Expired - Fee Related JP5125909B2 (ja)

Priority Applications (1)

Application Number Priority Date Filing Date Title
JP2008228454A JP5125909B2 (ja) 2008-09-05 2008-09-05 内燃機関の燃料噴射装置

Applications Claiming Priority (1)

Application Number Priority Date Filing Date Title
JP2008228454A JP5125909B2 (ja) 2008-09-05 2008-09-05 内燃機関の燃料噴射装置

Publications (2)

Publication Number Publication Date
JP2010059914A true JP2010059914A (ja) 2010-03-18
JP5125909B2 JP5125909B2 (ja) 2013-01-23

Family

ID=42186972

Family Applications (1)

Application Number Title Priority Date Filing Date
JP2008228454A Expired - Fee Related JP5125909B2 (ja) 2008-09-05 2008-09-05 内燃機関の燃料噴射装置

Country Status (1)

Country Link
JP (1) JP5125909B2 (ja)

Citations (6)

* Cited by examiner, † Cited by third party
Publication number Priority date Publication date Assignee Title
JPS55117067A (en) * 1979-03-02 1980-09-09 Bosch Gmbh Robert Fuel injector for internal combustion engine
JPH08246992A (ja) * 1995-03-10 1996-09-24 Mitsubishi Motors Corp 筒内噴射型インジェクタの取り付け構造
JP2000517032A (ja) * 1997-06-25 2000-12-19 ローベルト ボツシユ ゲゼルシヤフト ミツト ベシユレンクテル ハフツング 燃料噴射装置
JP2003049740A (ja) * 2001-08-06 2003-02-21 Keihin Corp 燃料噴射弁保持装置
JP2006037866A (ja) * 2004-07-28 2006-02-09 Nissan Motor Co Ltd 燃料噴射弁の固定構造
JP2008531918A (ja) * 2005-03-03 2008-08-14 ローベルト ボツシユ ゲゼルシヤフト ミツト ベシユレンクテル ハフツング 燃料噴射装置

Patent Citations (6)

* Cited by examiner, † Cited by third party
Publication number Priority date Publication date Assignee Title
JPS55117067A (en) * 1979-03-02 1980-09-09 Bosch Gmbh Robert Fuel injector for internal combustion engine
JPH08246992A (ja) * 1995-03-10 1996-09-24 Mitsubishi Motors Corp 筒内噴射型インジェクタの取り付け構造
JP2000517032A (ja) * 1997-06-25 2000-12-19 ローベルト ボツシユ ゲゼルシヤフト ミツト ベシユレンクテル ハフツング 燃料噴射装置
JP2003049740A (ja) * 2001-08-06 2003-02-21 Keihin Corp 燃料噴射弁保持装置
JP2006037866A (ja) * 2004-07-28 2006-02-09 Nissan Motor Co Ltd 燃料噴射弁の固定構造
JP2008531918A (ja) * 2005-03-03 2008-08-14 ローベルト ボツシユ ゲゼルシヤフト ミツト ベシユレンクテル ハフツング 燃料噴射装置

Also Published As

Publication number Publication date
JP5125909B2 (ja) 2013-01-23

Similar Documents

Publication Publication Date Title
CN101506516B (zh) 用于轴向连接外管件和插入该管件中的同轴的榫件或内管件的装置
JP2012219656A (ja) 燃料噴射弁
CN104564414B (zh) 发动机的密封系统
US20110203542A1 (en) Ignition device for a laser ignition of an internal combustion engine
KR101723367B1 (ko) 밀봉장치
KR20150139781A (ko) 연료 공급 시스템용 밸브
JP2010236645A (ja) コネクタ
US6843233B2 (en) Fuel injection system
CN100385108C (zh) 压电致动器模件及其装配方法
JP2017512938A (ja) 燃料高圧ポンプ
JP5218215B2 (ja) コネクタ
JP5125909B2 (ja) 内燃機関の燃料噴射装置
US9488143B2 (en) Fuel injector
US20150345445A1 (en) fuel injection system including a fuel-guiding component, a fuel injector, and a connecting element
JP2009501291A (ja) 押さえ装置
KR102084874B1 (ko) 파이프 조립체 및 파이프 조립체의 연결 방법
JP2010174656A (ja) 内燃機関の燃料噴射装置
KR20100063435A (ko) 엘피아이 인젝터용 노즐
JP2012036961A (ja) 管継手構造
CN105518286A (zh) 保持件以及具有燃料配给器和多个保持件的组件
WO2014097749A1 (ja) 燃料配管のシール装置及びシール方法
JP2007177711A (ja) 燃料噴射システム及び該燃料噴射システムに適用される燃料噴射弁装置
JP4670748B2 (ja) 燃料供給系装置
KR102914216B1 (ko) 연료 분사 밸브
JP5126057B2 (ja) 内燃機関の燃料噴射装置

Legal Events

Date Code Title Description
A621 Written request for application examination

Free format text: JAPANESE INTERMEDIATE CODE: A621

Effective date: 20110801

A977 Report on retrieval

Free format text: JAPANESE INTERMEDIATE CODE: A971007

Effective date: 20120622

A131 Notification of reasons for refusal

Free format text: JAPANESE INTERMEDIATE CODE: A131

Effective date: 20120703

A521 Request for written amendment filed

Free format text: JAPANESE INTERMEDIATE CODE: A523

Effective date: 20120830

TRDD Decision of grant or rejection written
A01 Written decision to grant a patent or to grant a registration (utility model)

Free format text: JAPANESE INTERMEDIATE CODE: A01

Effective date: 20121002

A01 Written decision to grant a patent or to grant a registration (utility model)

Free format text: JAPANESE INTERMEDIATE CODE: A01

A61 First payment of annual fees (during grant procedure)

Free format text: JAPANESE INTERMEDIATE CODE: A61

Effective date: 20121015

R151 Written notification of patent or utility model registration

Ref document number: 5125909

Country of ref document: JP

Free format text: JAPANESE INTERMEDIATE CODE: R151

FPAY Renewal fee payment (event date is renewal date of database)

Free format text: PAYMENT UNTIL: 20151109

Year of fee payment: 3

LAPS Cancellation because of no payment of annual fees